ФЕДЕРАЛЬНОЕ АГЕНТСТВО
ПО ТЕХНИЧЕСКОМУ РЕГУЛИРОВАНИЮ И МЕТРОЛОГИИ
|
|
НАЦИОНАЛЬНЫЙ |
ГОСТ
Р |
Короткие замыкания в электроустановках
МЕТОДЫ РАСЧЕТА ЭЛЕКТРОДИНАМИЧЕСКОГО
И ТЕРМИЧЕСКОГО ДЕЙСТВИЯ ТОКА
КОРОТКОГО ЗАМЫКАНИЯ
|
|
Москва Стандартинформ 2007 |
Предисловие
Цели и принципы стандартизации в Российской Федерации установлены Федеральным законом от 27 декабря 2002 г. № 184-ФЗ «О техническом регулировании», а правила применения национальных стандартов Российской Федерации - ГОСТ Р 1.0-2004 «Стандартизация в Российской Федерации. Основные положения»
Сведения о стандарте
1 РАЗРАБОТАН Филиалом ОАО «НТЦ электроэнергетики» - ВНИИЭ, Московским энергетическим институтом (Техническим университетом) (МЭИ (ТУ))
2 ВНЕСЕН Техническим комитетом по стандартизации ТК 437 «Токи короткого замыкания»
3 УТВЕРЖДЕН И ВВЕДЕН В ДЕЙСТВИЕ Приказом Федерального агентства по техническому регулированию и метрологии от 12 июля 2007 г. № 174-ст
4 ВЗАМЕН ГОСТ Р 50254-92
Информация об изменениях к настоящему стандарту публикуется ежегодно в издаваемом информационном указателе «Национальные стандарты», а текст изменений и поправок - в ежемесячно издаваемых информационных указателях «Национальные стандарты». В случае пересмотра (замены) или отмены настоящего стандарта соответствующее уведомление будет опубликовано в ежемесячно издаваемом информационном указателе «Национальные стандарты». Соответствующая информация, уведомление и тексты размещаются также в информационной системе общего пользования - на официальном сайте Федерального агентства по техническому регулированию и метрологии в сети Интернет
СОДЕРЖАНИЕ
ГОСТ Р 52736-2007
НАЦИОНАЛЬНЫЙ СТАНДАРТ РОССИЙСКОЙ ФЕДЕРАЦИИ
Короткие замыкания в электроустановках
МЕТОДЫ
РАСЧЕТА ЭЛЕКТРОДИНАМИЧЕСКОГО И ТЕРМИЧЕСКОГО ДЕЙСТВИЯ ТОКА
КОРОТКОГО ЗАМЫКАНИЯ
Short-circuits in electrical installations.
Calculation methods of electrodynamics and thermal effects of short-circuit
current
Дата введения - 2008-07-01
Настоящий стандарт распространяется на трехфазные электроустановки промышленной частоты и определяет методы расчета и проверки проводников и электрических аппаратов на электродинамическую и термическую стойкость при коротких замыканиях (КЗ).
В настоящем стандарте использованы нормативные ссылки на следующие стандарты:
ГОСТ 687-78 Выключатели переменного тока на напряжение свыше 1000 В. Общие технические условия
ГОСТ 16442-80 Кабели силовые с пластмассовой изоляцией. Технические условия
ГОСТ 18410-73 Кабели силовые с пропитанной бумажной изоляцией. Технические условия
Примечание - При пользовании настоящим стандартом целесообразно проверить действие ссылочных стандартов в информационной системе общего пользования - на официальном сайте Федерального агентства по техническому регулированию и метрологии в сети Интернет или по ежегодно издаваемому информационному указателю «Национальные стандарты», который опубликован по состоянию на 1 января текущего года, и по соответствующим ежемесячно издаваемым информационным указателям, опубликованным в текущем году. Если ссылочный документ заменен (изменен), то при пользовании настоящим стандартом следует руководствоваться заменяющим (измененным) документом. Если ссылочный документ отменен без замены, то положение, в котором дана ссылка на него, применяется в части, не затрагивающей эту ссылку.
В настоящем стандарте применены следующие термины с соответствующими определениями:
3.1
|
термическое действие тока короткого замыкания в электроустановке: Изменение температуры элементов электроустановки под действием тока короткого замыкания. [ГОСТ 26522-85, статья 87] |
3.2
|
электродинамическое действие тока короткого замыкания в электроустановке: Механическое действие электродинамических сил, обусловленных током короткого замыкания, на элементы электроустановки. [ГОСТ 26522-85, статья 88] |
3.3
|
интеграл Джоуля: Условная величина, характеризующая тепловое действие тока короткого замыкания на рассматриваемый элемент электроустановки, численно равная интегралу от квадрата тока короткого замыкания по времени, в пределах от начального момента короткого замыкания до момента его отключения. [ГОСТ 26522-85, статья 89] |
3.4
|
ток термической стойкости электрического аппарата при коротком замыкании (ток термической стойкости): Нормированный ток, термическое действие которого электрический аппарат способен выдержать при коротком замыкании в течение нормированного времени термической стойкости. [ГОСТ 26522-85, статья 90] |
3.5
|
ток электродинамической стойкости электрического аппарата при коротком замыкании (ток электродинамической стойкости): Нормированный ток, электродинамическое действие которого электрический аппарат способен выдержать при коротком замыкании без повреждений, препятствующих его дальнейшей работе. [ГОСТ 26522-85, статья 91] |
4.1 Исходные положения
4.1.1 При проверке проводников и электрических аппаратов электроустановок на электродинамическую и термическую стойкость при КЗ предварительно должны быть выбраны расчетные условия КЗ, т.е. расчетная схема электроустановки, расчетный вид КЗ в электроустановке, расчетная точка КЗ, а также расчетная продолжительность КЗ в электроустановке (последнюю используют при проверке на термическую стойкость проводников и электрических аппаратов, а также при проверке на невозгораемость кабелей).
4.1.2 Расчетная схема электроустановки должна быть выбрана на основе анализа возможных электрических схем этой электроустановки при продолжительных режимах ее работы. К последним следует относить также ремонтные и послеаварийные режимы работы.
4.1.3 В качестве расчетного вида КЗ следует принимать:
- при проверке электрических аппаратов и жестких проводников с относящимися к ним поддерживающими и опорными конструкциями на электродинамическую стойкость - трехфазное КЗ;
- при проверке электрических аппаратов и проводников на термическую стойкость - трех- или однофазное КЗ, а на генераторном напряжении электростанций - трех- или двухфазное КЗ, в зависимости от того, какое из них приводит к большему термическому воздействию;
- при проверке гибких проводников по условию их допустимого сближения во время КЗ - двухфазное КЗ.
4.1.4 В качестве расчетной точки КЗ следует принимать такую точку на расчетной схеме, при КЗ в которой проводник или электрический аппарат подвергается наибольшему электродинамическому или термическому воздействию.
Примечание - Исключения из этого требования допустимы лишь при учете вероятностных характеристик КЗ и должны быть обоснованы требованиями соответствующих ведомственных нормативных документов.
4.1.5 Расчетную продолжительность КЗ при проверке проводников и электрических аппаратов на термическую стойкость следует определять путем сложения времени действия основной релейной защиты, в зону которой входят проверяемые проводники и электрические аппараты, и полного времени отключения соответствующего выключателя, а при проверке кабелей на невозгораемость - путем сложения времени действия резервной релейной защиты и полного времени отключения ближайшего к месту КЗ выключателя.
При наличии устройств автоматического повторного включения (АПВ) цепи следует учитывать суммарное термическое действие тока КЗ.
4.1.6 При расчетной продолжительности КЗ до 1 с допустимо процесс нагрева проводников под действием тока КЗ считать адиабатическим, а при расчетной продолжительности КЗ более 1 с и при небыстродействующих АПВ следует учитывать теплоотдачу в окружающую среду.
5.1.1 Электродинамические силы взаимодействиями, двух параллельных проводников с токами следует определять по формуле
, (1)
где 2×10-7 - постоянный параметр, Н/А2;
i1, i2 - мгновенные значения токов проводников, А;
l - длина проводников, м;
а - расстояние между осями проводников, м;
Кф - коэффициент формы.
Для проводников прямоугольного сечения коэффициент формы следует определять по кривым, приведенным на рисунке 1.
Рисунок 1 - Диаграмма для определения коэффициента формы проводников прямоугольного сечения
Для круглых проводников сплошного сечения, проводников кольцевого сечения, а также проводников (шин) корытообразного сечения с высотой профиля 0,1 м и более следует принимать Kф = 1,0.
5.1.2 Наибольшее значение электродинамической силы имеет место при ударном токе КЗ.
5.1.3 Максимальную силу F(3)max, H, (эквивалентную равномерно распределенной подлине пролета нагрузки), действующую в трехфазной системе проводников на расчетную фазу при трехфазном КЗ, следует определять по формуле
где l - длина пролета, м;
i(3)уд - ударный ток трехфазного КЗ, А;
Красп - коэффициент, зависящий от взаимного расположения проводников.
Значения коэффициента Красп для некоторых типов шинных конструкций (рисунок 2) указаны в таблице 1.
Рисунок 2 - Схемы взаимного расположения шинных конструкций
Таблица 1 - Значения коэффициента К
|
Расчетная фаза |
Значение коэффициента Красп для нагрузок |
||||
|
результирующей |
изгибающей |
растягивающей |
сжимающей |
||
|
В одной плоскости (рисунок 2а) |
В |
1,00 |
1,00 |
0 |
0 |
|
По вершинам равностороннего треугольника (рисунок 2б) |
А |
1,00 |
0,94 |
0,25 |
0,75 |
|
В |
1,00 |
0,50 |
1,00 |
0 |
|
|
С |
1,00 |
0,94 |
0,25 |
0,75 |
|
|
По вершинам прямоугольного равнобедренного треугольника (рисунок 2в) |
А |
0,87 |
0,87 |
0,29 |
0,87 |
|
В |
0,95 |
0,43 |
0,83 |
0,07 |
|
|
С |
0,95 |
0,93 |
0,14 |
0,43 |
|
|
По вершинам равностороннего треугольника, но оси изоляторов расположены под углом 2p/3 друг к другу (рисунок 2г) |
А, В, С |
1,00 |
0,50 |
1,00 |
0 |
При двухфазном КЗ максимальную силу определяют по формуле
где i(2)уд - ударный ток двухфазного КЗ, А.
5.2.1 Методику расчета электродинамической стойкости шинных конструкций и гибких проводников следует выбирать на основе расчетной механической схемы, учитывающей их особенности.
5.2.2 Следует различать:
- статические системы, обладающие высокой жесткостью, у которых шины и изоляторы при КЗ остаются неподвижными;
- динамические системы с жесткими опорами, у которых изоляторы при КЗ считаются неподвижными, а шины колеблются;
- динамические системы с упруго податливыми опорами, в которых при КЗ колеблются и шины, и опоры;
- динамические системы с гибкими проводниками.
5.2.3 Расчетные механические схемы шинных конструкций различных типов, обладающих высокой жесткостью, представлены в таблице 2.
Таблица 2 - Расчетные схемы шинных конструкций
|
Расчетная схема |
Тип балки и опоры |
Коэффициент |
|||
|
l |
b |
r1 |
|||
|
1 |
|
Однопролетная: А и В - простые опоры |
8 |
1 |
3,14 |
|
2 |
|
Однопролетная: А - неподвижная опора В - простая опора |
8 |
1,25 |
3,93 |
|
3 |
|
Однопролетная: А и В - неподвижные опоры |
12 |
1 |
4,73 |
|
4 |
|
Двухпролетная: А и В - простые опоры |
8 |
1,25 |
3,93 |
|
5 |
|
Трех и более пролетная: А и В - простые опоры |
10* 12** |
1,13 1 |
4,73 |
|
* Для крайних пролетов. ** Для средних пролетов. Примечание - Коэффициент l используют при определении максимального напряжения в материале проводника, b - при определении нагрузки на изолятор, r1 - параметр основной частоты собственных колебаний шины. |
|||||
Расчетные схемы имеют вид равнопролетной балки, лежащей или закрепленной на жестких опорах и подвергающейся воздействию равномерно распределенной нагрузки.
Различают следующие типы шинных конструкций и соответствующих расчетных механических схем:
- шинная конструкция, длина которой равна длине одного пролета; для нее расчетной схемой является балка с шарнирным опиранием на обеих опорах пролета (таблица 2, схема № 1);
- шинная конструкция, длина которой равна длине одного пролета, с одной простой и одной неподвижной опорами; для нее расчетной схемой является балка с шарнирным опиранием на простой опоре и жестким опиранием (защемлением) на неподвижной опоре пролета (таблица 2, схема № 2);
- шинная конструкция, длина которой равна длине одного пролета, с неподвижными опорами; для нее расчетной схемой является балка с жестким опиранием (защемлением) на обеих опорах пролета (таблица 2, схема № 3);
- шинные конструкции, длина которых равна длине двух, трех и более пролетов; для них расчетной схемой является балка с шарнирным опиранием на каждой из опор (таблица 2, схемы № 4 и 5).
5.2.4 Расчетной схемой шинной конструкции с упруго податливыми опорами следует считать схему, в которой масса шины распределена по длине пролета, а опоры представлены телами с эквивалентной массой М и пружинами с жесткостью Соп.
5.2.5 Для гибких проводников в качестве расчетной схемы применяют схему с жестким стержнем, ось которого очерчена по цепной линии. Гирлянды изоляторов вводят в механическую схему в виде жестких стержней, шарнирно соединенных с проводниками и опорами. Размеры стержней расчетной схемы определяют из статического расчета на действие сил тяжести.
5.3.1 Допустимое напряжение в материале жестких шин sдоп, Па, следует принимать равным 70 % временного сопротивления разрыву материала шин sр
sдоп = 0,7sр. (4)
Допустимое напряжение в материале шин должно быть ниже предела текучести этого материала. Временные сопротивления разрыву и допустимые напряжения в материалах шин приведены в таблице 3.
В зоне сварных соединений шин их временное сопротивление разрыву снижается. Его значение обычно определяют экспериментально; при отсутствии экспериментальных данных значения временного сопротивления разрыву, а также допустимого напряжения следует принимать, используя данные таблицы 3.
Таблица 3 - Основные характеристики материалов шин
|
Марка |
Временное сопротивление разрыву, МПа |
Допустимое напряжение, МПа |
Модуль упругости, 1010 Па |
|||
|
материала |
в области сварного соединения |
материала |
в области сварного соединения |
|||
|
Алюминий |
АО, А |
118 |
118 |
82 |
82 |
7 |
|
АДО |
59 - 69 |
59 - 69 |
41 - 48 |
41 - 48 |
7 |
|
|
Алюминиевый сплав |
АД31Т |
127 |
120 |
89 |
84 |
7 |
|
АД31Т1 |
196 |
120 |
137 |
84 |
7 |
|
|
АВТ1 |
304 |
152 |
213 |
106 |
7 |
|
|
1915Т |
353 |
318 |
247 |
223 |
7 |
|
|
Медь |
МГМ |
245 - 255 |
- |
171,5 - 178 |
- |
10 |
|
МГТ |
245 - 294 |
- |
171,5 - 206 |
- |
10 |
|
5.3.2 В зависимости от взаимного расположения шин и изоляторов последние при воздействии на них электродинамических сил работают на изгиб или растяжение (сжатие) или одновременно на изгиб и растяжение (сжатие). В общем случае допустимую нагрузку на изолятор (изоляционную опору) Fдоп следует принимать равной 60 % минимальной разрушающей нагрузки Fpaзр, приложенной к вершине изолятора (опоры) при изгибе или разрыве
Fдоп = 0,6Fразр. (5)
5.3.3 В случае работы изолятора на изгиб или растяжение (сжатие) значения допустимых нагрузок на изолятор (опору) Fдоп.изг и Fдоп.р, Н, следует принимать соответственно равными:
где Fразр.изг и Fразр.р - задаваемые предприятием-изготовителем минимальные разрушающие нагрузки соответственно при изгибе и растяжении (сжатии) изолятора, Н.
Fдоп = 0,5Fразр ∑, (7)
где Fразр ∑ - суммарное разрушающее усилие спаренных изоляторов (опор), Н.
5.3.5 При удалении центра масс шины от вершины опорного изолятора, например, когда плоская шина поставлена на ребро (рисунок 3а, б), значение допустимой нагрузки на опорный изолятор при изгибе следует пересчитать в соответствии с формулой
Fдоп = NFразр.изгh/H, (8)
где N - коэффициент допустимой нагрузки, равный 0,6 или 0,5 (5.3.2 - 5.3.4);
h и H - расстояния от опасного сечения изолятора соответственно до его вершины и центра масс поперечного сечения шины, м.
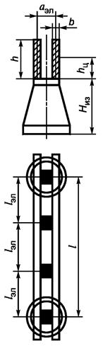
Опасное сечение опорно-стержневых изоляторов с внутренним креплением арматуры (рисунок 3а) следует принимать у опорного фланца, опорно-стержневых изоляторов с внешним креплением арматуры (рисунок 3б, в) - у кромки нижнего фланца, а опорно-штыревых изоляторов (рисунок 3г) - на границе контакта штыря с фарфоровым телом изолятора.
Допустимую изгибающую нагрузку многоярусных изоляционных опор (колонок изоляторов) (рисунок 3г, д) следует принимать равной допустимой нагрузке наименее прочного яруса, определяемой по формуле (8).
Рисунок 3 - Определение допустимых нагрузок на изоляторы и изоляционные опоры
5.3.6 При расположении фаз по вершинам треугольника (рисунок 2б, в, г) изоляторы одновременно испытывают как растягивающие (сжимающие), так и изгибающие усилия. Допустимые изгибающую Fдоп.изг и растягивающую Fдоп.р нагрузки в ньютонах следует определять по формулам (6).
5.3.7 Допустимое напряжение в материале гибких проводников sдоп, МПа, следует принимать равным
sдоп = Nsпр, (9)
где N - коэффициент допустимой нагрузки, равный 0,35 - 0,50;
sпр - предел прочности при растяжении, Н.
5.3.8 Допустимую нагрузку на подвесные изоляторы следует принимать равной 30 % разрушающей нагрузки, т.е.
Fдоп = 0,3Fразр. (10)
5.3.9 Расстояния между проводниками фаз Аф-ф, а также между проводниками и заземленными частями Аф-з шинных конструкций напряжением 35 кВ и выше и проводников ошиновки распределительных устройств и воздушных линий, а также токопроводов к моменту отключения КЗ должны оставаться больше допустимых изоляционных расстояний, определяемых при рабочих напряжениях, т.е.
(11)
где Аф-ф.доп и Аф-з.доп - минимально допустимые расстояния по условиям пробоя соответственно между проводниками фаз и проводниками и заземленными частями при рабочем напряжении.
5.4.1 Расчет шинных конструкций, обладающих высокой жесткостью
5.4.1.1 При расчете шинной конструкции, обладающей высокой жесткостью, шину в любом пролете между изоляторами, кроме крайних, следует рассматривать как стержень (балку). Наличие ответвлений допускается не учитывать.
5.4.1.2 Максимальное напряжение в материале шины smax, Па, и нагрузку на изолятор шинной конструкции высокой жесткости F(3)из, H, при трехфазном КЗ следует определять по формулам:
где F - максимальная сила, возникающая в многопролетной балке при трехфазном КЗ, Н, определяемая по формуле (2);
l - длина пролета, м;
l и b - коэффициенты, зависящие от условия опирания (закрепления) шин, а также числа пролетов конструкции с неразрезными шинами (таблица 2);
W - момент сопротивления поперечного сечения шины, м3; формулы для его расчета приведены в таблице 4.
Таблица 4 - Формулы для определения момента инерции J и момента сопротивления W поперечных сечений шин
|
Расчетные формулы |
||
|
J, м4 |
W, м3 |
|
|
|
|
|
|
|
|
|
|
|
|
|
|
|
|
|
|
|
|
|
|
|
|
|
|
|
|
|
|
|
|
|
|
|
|
|
|
|
|
|
|
|
где |
|
|
|
Jy0 = 2Jy** |
Wy0 = 2Wy** |
|
Примечание - Когда прокладки приварены к обеим полосам пакета, то вместо формул, отмеченных * и **, следует применять формулы: * ** |
||
При двухфазном КЗ
F(2)из = b F(2)max, (15)
где F(2)max - максимальная сила, возникающая в многопролетной балке при двухфазном КЗ, Н, и определяемая по формуле (3).
При расчете напряжений в области сварных соединений, находящихся на расстоянии Z от опорного сечения, в формулы (12) и (14) следует подставлять значения l(Z), вычисленные в соответствии с таблицей А.1 (приложение А).
5.4.1.3 Электродинамические нагрузки на отдельные проводники составных шин (рисунок 4) обусловлены взаимодействием их токов с токами проводников других фаз и с токами других элементов проводника одной и той же фазы. Максимальное напряжение в материале составных шин при КЗ допускается определять по формуле
smax = sф.max + sэл.max, (16)
где sф.max - максимальное напряжение в материале шины, обусловленное взаимодействием тока данного проводника с токами проводников других фаз, Па, которое в зависимости от вида КЗ следует определять по формулам (12) или (14);
sэл.max - максимальное напряжение в материале шины, обусловленное взаимодействием токов отдельных элементов проводника одной фазы, Па, которое следует определять по формуле
(17)
где lэл - расстояние между осями прокладок, м;
аэл - расстояние между осями поперечных сечений элементов составных шин, м (рисунок 4);
Wэл - момент сопротивления поперечного сечения элемента составной шины, м3;
iуд - ударный ток трехфазного или двухфазного КЗ, А;
п - число проводников в одной фазе.
Рисунок 4 - Двухполосная шина
5.4.2 Расчет шинных конструкций с жесткими опорами
5.4.2.1 Шинную конструкцию, изоляторы которой обладают высокой жесткостью, в расчетах на динамическую стойкость при КЗ следует представлять как стержень с защемленными концами, имеющий лишь основную частоту собственных колебаний.
5.4.2.2 Максимальное напряжение в материале шин smax, Па, и нагрузку на изоляторы Fиз, Н, при расположении шин в одной плоскости и высокой жесткости изоляторов шинной конструкции следует определять по формулам:
при трехфазном КЗ
F(3)из = b F(3)maxh; (19)
при двухфазном КЗ
F(2)из = b F(2)maxh, (21)
где h - коэффициент динамической нагрузки, зависящий от основной частоты собственных колебаний шины f1 (5.4.2.3) и от ударного коэффициента тока c. Значения коэффициента h для двухфазного и трехфазного КЗ в зависимости от отношения f1/fсинх (fcинх = 50 Гц) при разных коэффициентах c следует определять по графикам, приведенным на рисунке 5.
Рисунок 5 - Зависимость коэффициента динамической нагрузки для изоляторов и шин от частоты собственных колебаний шины при различных ударных коэффициентах c: 1 - c ³ 1,6; 2 - c = 1,4; 3 - c = 1,25; 4 - c = 1,1; 5 - c = 1,0
5.4.2.3 Расчетную частоту собственных колебаний шины f1, Гц, следует определять по формуле
где r1 - параметр основной частоты собственных колебаний шины. Значения этого параметра зависят от типа шинной конструкции и указаны в таблице 2;
Е - модуль упругости материала шины, Па;
J - момент инерции поперечного сечения шины, м4;
т - масса шины на единицу длины, кг/м.
5.4.2.4 Максимальную нагрузку на проходные изоляторы Fиз, Н, следует определять по формуле
, (23)
где lпр - расстояние от торца проходного изолятора до ближайшего опорного изолятора фазы, м.
5.4.2.5 Максимальное напряжение smax (Па) в материале составных шин шинной конструкции с жесткими опорами допустимо определять по формуле (16). При этом максимальное напряжение в материале шин, обусловленное взаимодействием проводников других фаз, sфmax следует определять в зависимости от вида КЗ по формуле (18) или (20), а максимальное напряжение в материале шин, обусловленное взаимодействием отдельных элементов проводника одной фазы, sэл.max - по формуле
где hэл - коэффициент динамической нагрузки, зависящий от расчетной основной частоты собственных колебаний элементов составной шины f1эл, который следует определять по расчетным графикам, приведенным на рисунке 5.
Расчетную основную частоту собственных колебаний элементов составной шины фазы f1эл, Гц, определяют по формуле
где lэл - расстояние между осями прокладок, м;
J - момент инерции поперечного сечения элемента шины, м4;
mэл - масса элемента шины на единицу длины, кг/м.
5.4.2.6 Максимальное напряжение в материале шин smax, Па, и максимальную нагрузку на опорные и проходные изоляторы Fиз, H, при расположении шин по вершинам треугольника (рисунок 2б, в, г) следует определять с учетом их пространственных колебаний, используя формулы:
; (26)
(27)
(28)
где W - меньший из двух моментов сопротивления поперечного сечения шины, м3, т.е. момента сопротивления при изгибе в плоскости, проходящей через ось изоляторов, и момента сопротивления при изгибе шины в плоскости, проходящей через другую ось шины;
F(3)max и F(2)max - электродинамические силы, определяемые соответственно по формулам (2) и (3);
xs и xF - коэффициенты, значения которых для наиболее распространенных типов шинных конструкций (рисунок 2, б, в, г) приведены в таблице 5.
Таблица 5 - Значения коэффициентов xs и xF шинных конструкций
|
Схема конструкции на рисунке 2 |
Значение коэффициента xF |
Значение коэффициента xs |
||
|
для шин круглого и кольцевого сечений |
для шин квадратного сечения |
|||
|
По вершинам прямоугольного равнобедренного треугольника |
в |
0,95 |
0,95 |
1,16 |
|
По вершинам равностороннего треугольника |
б |
1,0 |
1,0 |
1,39 |
|
г |
1,0 |
1,0 |
1,21 |
|
5.4.3 Расчет подвесного самонесущего токопровода
5.4.3.1 Расчетное максимальное напряжение в материале проводников подвесного самонесущего токопровода sрасч.max, Па, следует определять с учетом собственного веса, веса изоляционных распорок и льда, а также действия напора ветра, т.е.
sрасч.max = smax + sв, (29)
где smax - максимальное напряжение в материале проводников вследствие электродинамического действия тока КЗ;
sв - напряжение в материале проводников от собственного веса, веса изоляционных распорок и льда, а также действия напора ветра.
Нагрузку на изолятор подвесного самонесущего токопровода следует определять по формуле (13).
5.4.4 Расчет шинных конструкций с упругоподатливыми опорами
5.4.4.1 Максимальное напряжение в материале шин и максимальную нагрузку на изоляторы шинных конструкций с упругоподатливыми опорами следует определять соответственно по формулам (18) и (19) или (20) и (21), а частоту собственных колебаний - по формуле (22), учитывая при этом, что параметр основной частоты r1 является функцией безразмерных величин Cопl3/EJ и M/ml, где Соп - жесткость опор, а М - приведенная масса. Значения жесткости опор определяют экспериментально, а приведенной массы - согласно 5.4.4.2. Кривые для определения шин с жестким закреплением на опорах приведены на рисунке 6, а для шин с шарнирным закреплением - на рисунке 7. Для шин с чередующимися жесткими и шарнирными закреплениями на опорах значение параметра допустимо приблизительно оценивать как среднее между его значениями, найденными по кривым рисунков 6 и 7.
Рисунок 6 - Кривые для определения параметра основной частоты собственных колебаний шины при ее жестком закреплении на упругоподатливых опорах
Рисунок 7 - Кривые для определения параметра основной частоты собственных колебаний шины при ее шарнирном закреплении на упругоподатливых опорах
Значения для шин с жестким закреплением на опорах при Cопl3/EJ ³ 5000 и для шин с шарнирным закреплением на опорах при Cопl3/EJ ³ 3000 приведены в таблице 2.
5.4.4.2 Приведенную массу опоры М, кг, определяют по приближенной формуле
(30)
где Моп - масса опоры, кг;
Нц.оп и Нц.ш - расстояния от основания опоры соответственно до центра масс опоры (изолятора) и центра масс поперечного сечения шины (рисунок 8), м.
При известной частоте собственных колебаний опоры, закрепленной на упругом основании, приведенную массу М, кг, следует определять по формуле
где Соп - жесткость опоры, практически равная жесткости изолятора Сиз, Н/м;
fоп - частота собственных колебаний опоры, Гц, равная частоте колебаний изолятора fиз.
5.4.5 Проверка токопроводов на электродинамическую стойкость при наличии устройств АПВ
5.4.5.1 При наличии быстродействующих АПВ токопроводы электроустановок напряжением 35 кВ и выше следует проверять на электродинамическую стойкость при повторном включении на КЗ.
Методика проверки приведена в приложении Б. Такая проверка не требуется, если продолжительность бестоковой паузы tб.п, с
(32)
где f1 - первая (основная) частота собственных колебаний ошиновки, Гц;
d - логарифмический декремент затухания токопровода при горизонтальных колебаниях, значение которого определяется экспериментально для каждой конкретной конструкции токопровода.
Рисунок 8 - К расчету приведенной массы опоры
5.4.6 Расчет гибких проводников
5.4.6.1 При расчете гибких проводников следует определять максимальное тяжение в проводниках и максимальное отклонение проводников при КЗ и после его отключения (приложение В).
5.5.1 При проверке шинных конструкций на электродинамическую стойкость расчетными величинами являются максимальное напряжение в материале шин smax (Па) и максимальная нагрузка на изоляторы Fmax (H).
Для проверки электродинамической стойкости шинных конструкций следует использовать следующие неравенства:
(33)
где sдоп и Fдоп - допустимое механическое напряжение в материале шин, Па, и допустимая механическая нагрузка на изоляторы, Н, которые следует определять в соответствии с 5.3.
Примеры расчета электродинамической стойкости шинных конструкций приведены в приложении Г.
5.5.2 При проверке гибких проводников на электродинамическую стойкость расчетными величинами являются максимальное тяжение Fmaxf и максимальное сближение проводников при КЗ.
Для проверки электродинамической стойкости гибких проводников следует использовать следующие неравенства:
(34)
где Fдоп - допустимое тяжение проводников, которое следует определять в соответствии с 5.3;
а - расстояние между проводниками фаз при отсутствии их смещения;
s - расчетное смещение проводников;
rр - радиус расщепления фазы;
aдоп.min - наименьшее допустимое расстояние между проводниками разных фаз при наибольшем рабочем напряжении.
5.5.3 Электродинамическая стойкость электрических аппаратов в
зависимости от типа и конструкции характеризуется их предельными сквозными
токами iпр.скв и Iпр.скв и
номинальными токами электродинамической стойкости iдин и Iдин или
кратностью тока электродинамической стойкости iдин/(
Iном) = Кдин.
Электродинамическая стойкость электрического аппарата обеспечена, если выполняются условия:
(35)
где Iп0 - начальное действующее значение периодической составляющей тока КЗ в цепи с электрическим аппаратом;
iуд - ударный ток КЗ.
6.1.1 Степень термического воздействия тока КЗ на проводники и электрические аппараты определяется значением интеграла Джоуля Вк, А2×с
(36)
где iкt - ток КЗ в произвольный момент времени t, A;
tоткл - расчетная продолжительность КЗ в электроустановке (4.1.5), с.
Степень термического воздействия тока КЗ на проводники и электрические аппараты допустимо также определять с использованием значений термически эквивалентного тока КЗ
и расчетной продолжительности КЗ.
6.1.2 Интеграл Джоуля Вк допускается определять приближенно как сумму интегралов от периодической Вк.п и апериодической Вк.а составляющих тока КЗ, т.е.
Вк ≈ Вк.п + Вк.а. (38)
а) исходная расчетная схема электроустановки имеет произвольный вид, но для всех генераторов и синхронных компенсаторов КЗ является удаленным, т.е. отношение действующего значения периодической составляющей тока любого генератора или синхронного компенсатора в начальный момент КЗ к его номинальному току менее двух. В этом случае все источники электрической энергии и связывающие их с точкой КЗ элементы расчетной схемы путем преобразования схемы замещения должны быть заменены общим эквивалентным источником (системой), ЭДС которого принимается неизменной по амплитуде, а индуктивное сопротивление равным результирующему эквивалентному индуктивному сопротивлению элементов расчетной схемы;
б) исходная расчетная схема содержит один или несколько однотипных и одинаково удаленных от расчетной точки КЗ генераторов или синхронных компенсаторов, причем расчетное КЗ для них является близким, т.е. начальное действующее значение периодической составляющей тока каждого генератора или синхронного компенсатора превышает его номинальный ток в два и более раза;
в) исходная расчетная схема содержит различные источники энергии, а расчетная точка КЗ делит схему на две независимые части, одна из которых содержит источники энергии, для которых расчетное КЗ является удаленным, а другая - один или несколько генераторов (синхронных компенсаторов), находящихся в одинаковых условиях относительно точки КЗ и связанных с точкой КЗ по радиальной схеме, причем для этой машины или группы машин расчетное КЗ является близким. В этом случае эквивалентную схему замещения следует преобразовать в двухлучевую: все источники энергии, для которых расчетное КЗ является удаленным, и связывающие их с точкой КЗ элементы представить в виде одной ветви с неизменной по амплитуде эквивалентной ЭДС и результирующим эквивалентным сопротивлением, а машину или группу машин, для которых расчетное КЗ является близким, - в виде другой ветви с изменяющейся во времени ЭДС и соответствующим эквивалентным сопротивлением;
г) исходная расчетная схема содержит различные источники энергии, а расчетная точка КЗ делит схему на две независимые части, одна из которых содержит источники энергии, для которых расчетное КЗ является удаленным, а другая - группу однотипных электродвигателей (синхронных или асинхронных), для которых расчетное КЗ является близким. В этом случае эквивалентную схему замещения также следует преобразовать в двухлучевую: все источники энергии, для которых расчетное КЗ является удаленным, и связывающие их с точкой КЗ элементы представить в виде одной ветви с неизменной по амплитуде эквивалентной ЭДС и результирующим эквивалентным сопротивлением, а группу электродвигателей - эквивалентной ЭДС и эквивалентным сопротивлением.
6.1.4 При определении интеграла Джоуля и термически эквивалентного тока КЗ допускается принимать, что апериодическая составляющая тока КЗ от той части расчетной схемы, которая содержит удаленные от места КЗ источники энергии, независимо от конфигурации этой схемы изменяется по экспоненциальному закону с эквивалентной постоянной времени. Последнюю следует определять по одной из следующих формул:
(39)
(40)
(41)
1) Знак «-», расположенный под обозначением (
), означает
комплексную величину (здесь и далее).
где хэк(R=0) и Rэк(х=0) - эквивалентные индуктивное и активное сопротивления относительно точки КЗ, определяемые из схем замещения, в которых все элементы исходной расчетной схемы учтены соответственно только индуктивными и только активными сопротивлениями;
-
комплексное эквивалентное сопротивление схемы замещения относительно расчетной точки
КЗ, определяемое при частоте 50 Гц;
Im
и Re
-
соответственно мнимая и действительная составляющие этого сопротивления;
-
комплексное эквивалентное сопротивление схемы замещения относительно расчетной точки
КЗ, определяемое при частоте 20 Гц;
Im
и Re
-
соответственно мнимая и действительная составляющие этого сопротивления.
Примечание - При определении эквивалентной постоянной времени Tа.эк по любой из этих формул синхронные и асинхронные машины должны быть учтены индуктивным сопротивлением обратной последовательности и активным сопротивлением обмотки статора.
6.1.5 В тех случаях, когда исходная расчетная схема имеет произвольный вид, но для всех генераторов и синхронных компенсаторов КЗ является удаленным (6.1.3, перечисление а), интеграл Джоуля Вк, А2×с, следует определять по формуле
(42)
где Iп.с - действующее значение периодической составляющей тока КЗ от эквивалентного источника энергии (системы), А.
В этом случае термически эквивалентный ток КЗ Iтер.эк, А, равен
(43)
При tоткл > 3Tа.эк интеграл Джоуля допустимо определять по формуле
Вк = I2п.с(tоткл + Та.эк), (44)
а термически эквивалентный ток КЗ по формуле
(45)
6.1.6 В тех случаях, когда исходная расчетная схема содержит один или несколько однотипных и одинаково удаленных от расчетной точки КЗ генераторов (синхронных компенсаторов), причем расчетное КЗ для них является близким (6.1.3, перечисление б), интеграл Джоуля, А2×с, следует определять по формуле
(46)
где Iп0г - начальное действующее значение периодической составляющей тока КЗ от генератора (генераторов, синхронных компенсаторов), А;
В*к.г1) - относительный интеграл Джоуля:
(47)
где Iпtг - действующее значение периодической составляющей тока КЗ от генератора (генераторов, синхронных компенсаторов) в произвольный момент времени, А;
Та.г - постоянная времени затухания апериодической составляющей тока КЗ от генератора (генераторов, синхронных компенсаторов), с.
Значения относительного интеграла Джоуля В*к.г, учитывающего влияние изменения во времени амплитуды периодической составляющей тока КЗ, при разных системах возбуждения генераторов и разных удаленностях расчетной точки КЗ от генераторов, т.е. разных отношениях действующего значения периодической составляющей тока генератора в начальный момент КЗ к номинальному току машины могут быть определены по кривым на рисунках 9 - 11.
При рассматриваемой исходной расчетной схеме термически эквивалентный ток КЗ, А, следует определять по формуле
(48)
1) Знак «*», расположенный под обозначением (В*), означает, что данная величина выражена в относительных единицах (здесь и далее).
При tоткл > 3Та.г интеграл Джоуля допустимо определять по формуле
Вк ≈ I2п0г(Вк.гtоткл + Та.г), (49)
а термически эквивалентный ток КЗ по формуле
(50)
Рисунок 9 - Кривые для определения В*к.г от синхронных генераторов с тиристорной независимой системой возбуждения

Рисунок 10 - Кривые для определения В*к.г от синхронных генераторов с тиристорной системой самовозбуждения
Рисунок 11 - Кривые для определения В*к.г от синхронных генераторов с диодной бесщеточной системой самовозбуждения
6.1.7 В тех случаях, когда исходная расчетная схема содержит различные источники энергии, а расчетное КЗ делит схему на две независимые части, одна из которых содержит источники энергии, для которых КЗ является удаленным, а другая - один или несколько генераторов (синхронных компенсаторов), находящихся в одинаковых условиях относительно точки КЗ и связанных с точкой КЗ по радиальной схеме, причем для этой машины или группы машин расчетное КЗ является близким (6.1.3, перечисление е), интеграл Джоуля следует определять по формуле
где Q*к.г - относительный интеграл от периодической составляющей тока в месте КЗ, обусловленного действием генератора (синхронного компенсатора):
(52)
Значения относительного интеграла Q*к.г при разных системах возбуждения генераторов и разных удаленностях расчетной точки КЗ от генераторов могут быть определены по кривым на рисунках 12 - 14.
В тех случаях, когда 3Та.г > tоткл ³ 3Та.эк, интеграл Джоуля допустимо определять по формуле
а в случае, когда tоткл > 3Та.г, интеграл Джоуля можно определять по формуле
Рисунок 12 - Кривые для определения Q*к.г от синхронных генераторов с тиристорной независимой системой возбуждения

Рисунок 13 - Кривые для определения Q*к.г от синхронных генераторов с тиристорной системой самовозбуждения
Рисунок 14 - Кривые для определения Q*к.г от синхронных генераторов с диодной бесщеточной системой самовозбуждения
При рассматриваемой расчетной схеме термически эквивалентный ток КЗ следует определять по формуле (37), предварительно найдя значение Вк с помощью формулы (51) или (53), или (54).
6.1.8 В тех случаях, когда исходная расчетная схема содержит различные источники энергии, а расчетная точка КЗ делит схему на две независимые части, одна из которых содержит источники энергии, для которых расчетное КЗ является удаленным, а другая - группу однотипных электродвигателей, для которых расчетное КЗ является близким (6.3.1, перечисление г), интеграл Джоуля следует определять по методике, изложенной в 6.1.7, т.е. с использованием формул (51), (53) или (54), в которые вместо Iп0г, Tа.г, В*к.г и Q*к.г следует подставлять соответственно начальное значение периодической составляющей тока КЗ от эквивалентного двигателя Iп0д, постоянную времени затухания апериодической составляющей его тока Та.д и значения функций В*к.д и Q*к.д для эквивалентного электродвигателя. Значения этих функций для синхронных электродвигателей могут быть определены по кривым на рисунках 15 и 16, а для асинхронных электродвигателей - по кривым на рисунках 17 и 18.
Рисунок 15 - Кривые для определения В*к.д от синхронного электродвигателя
Рисунок 16 - Кривые для определения Q*к.д от синхронного электродвигателя
Рисунок 17 - Кривые для определения В*к.д от асинхронного электродвигателя
Рисунок 18 - Кривые для определения Q*к.д от асинхронного электродвигателя
Термически эквивалентный ток КЗ следует определять по формуле (37).
6.2.1 Термическая стойкость электрических аппаратов при сквозных КЗ характеризуется их нормированным током термической стойкости Iтер.норм в амперах и допустимым временем воздействия этого тока tтер.норм в секундах (ГОСТ 687).
6.2.2 Расчетное выражение, которое следует использовать при проверке коммутационных аппаратов на термическую стойкость, зависит от расчетной продолжительности КЗ.
В тех случаях, когда расчетная продолжительность КЗ tоткл в секундах равна или больше допустимого времени воздействия нормированного тока термической стойкости tтep.норм в секундах, для проверки коммутационных аппаратов следует использовать выражение
Вк £ I2тер.нормtтер.норм. (55)
В случае же, когда расчетная продолжительность КЗ меньше допустимого времени воздействия нормированного тока термической стойкости, условием термической стойкости коммутационных аппаратов является выполнение соотношения
Вк £ I2тер.нормtоткл. (56)
6.2.3 Допускается проверку коммутационных электрических аппаратов на термическую стойкость при КЗ проводить путем сравнения термически эквивалентного тока КЗ с допустимым током термической стойкости, учитывая при этом соотношение между допустимым временем воздействия нормированного тока термической стойкости и расчетной продолжительностью КЗ. При tоткл ³ tтер.норм проверку коммутационных аппаратов на термическую стойкость при КЗ следует проводить, используя соотношение
(57)
а при tоткл < tтep.норм условием термической стойкости коммутационного аппарата является выполнение соотношения
Iтер.эк £ Iтер.норм. (58)
6.3.1 Проверка проводников на термическую стойкость при КЗ заключается в определении их температуры нагрева к моменту отключения КЗ и сравнении этой температуры с предельно допустимой температурой нагрева при КЗ. Проводник удовлетворяет условию термической стойкости, если температура нагрева проводника к моменту отключения КЗ qк не превышает предельно допустимую температуру нагрева соответствующего проводника при КЗ qк.доп, т.е. если выполняется условие
qк £ qк.доп. (59)
6.3.2 Допускается проверку проводников на термическую стойкость при КЗ проводить также путем сравнения термически эквивалентной плотности тока КЗ Jтep.эк с допустимой в течение расчетной продолжительности КЗ плотностью тока Jтeр.доп (6.3.7). Проводник удовлетворяет условию термической стойкости при КЗ, если выполняется соотношение
Jтер.эк £ Jтер.доп. (60)
6.3.3 Определение температуры нагрева проводников к моменту отключения КЗ следует проводить с использованием кривых зависимости температуры нагрева проводников q от величины Aq. Такие кривые приведены на рисунке 19 - для жестких шин, кабелей и некоторых проводов и на рисунке 20 - для проводов других марок. Расчеты необходимо вести в следующей последовательности:
Материалы проводников: 1 - ММ; 2 - МТ; 3 - AM; 4 - AT; 5 - АДО, ACT; 6 - АД31Т1; 7 - АД31Т; 8 - Ст3
Рисунок 19 - Кривые для определения температуры нагрева шин, кабелей и проводов из различных материалов при КЗ
Материалы проводов: 1 - сплавы АЖ и АЖКП; 2 - сплавы АН и АНКП; 3 - алюминий марок А, АКП, АпКП и сталеалюминий марок АС, АСКП, АСКС, АСК, АпС, АпСКС, АпСК
Рисунок 20 - Кривые для определения температуры нагрева проводов при КЗ
1) на рисунке 19 или 20 выбрать кривую, соответствующую
материалу проводника, и по этой кривой, исходя из начальной температуры
проводника qн,
определить значение функции
, А×с2/мм4,
при этой температуре;
2) в соответствии с 6.1.5 - 6.1.8 определить значение интеграла Джоуля Вк при расчетных условиях КЗ;
3) найти значение функции
, соответствующее конечной температуре
нагрева проводника qк, по формуле
(61)
где S - площадь поперечного сечения проводника, мм2, а для сталеалюминиевых проводов - площадь поперечного сечения алюминиевой части провода;
4) по найденному значению функции
, используя выбранную кривую
на рисунке 19 или 20, определить конечную температуру
нагрева проводника qк и сравнить ее с предельно допустимой температурой. Предельно
допустимые температуры нагрева проводников при КЗ приведены в таблице 6. Термическая стойкость проводника
обеспечивается, если выполняется условие (59).
Таблица 6 - Предельно допустимые температуры нагрева проводников при КЗ
|
qк.доп, °С |
|
|
Шины алюминиевые |
200 |
|
Шины медные |
300 |
|
Шины стальные, не имеющие непосредственного соединения с аппаратами |
400 |
|
Шины стальные, имеющие непосредственное соединение с аппаратами |
300 |
|
Кабели бронированные и небронированные с бумажной пропитанной изоляцией на напряжение, кВ: |
|
|
1 |
250 |
|
6 - 10 |
200 |
|
20 - 35 |
130 |
|
110 - 220 |
125 |
|
Кабели и изолированные провода с медными и алюминиевыми жилами и изоляцией: |
|
|
из поливинилхлоридного пластиката |
160 |
|
резины |
160 |
|
полиэтилена (кабели до 35 кВ) |
130 |
|
вулканизированного (сшитого) полиэтилена (кабели до 35 кВ) |
250 |
|
Медные неизолированные провода при тяжениях, Н/мм2: |
|
|
менее 20 |
250 |
|
20 и более |
200 |
|
Алюминиевые неизолированные провода при тяжениях, Н/мм2: |
|
|
менее 10 |
200 |
|
10 и более |
160 |
|
Алюминиевая часть сталеалюминиевых проводов |
200 |
|
Самонесущие изолированные провода на напряжение до 1 кВ с изоляцией из: |
|
|
термопластичного полиэтилена |
135 |
|
вулканизированного (сшитого) полиэтилена |
250 |
|
Провода с защитной оболочкой на напряжения 6 - 20 кВ |
250 |
6.3.4 В тех случаях, когда определяющим условием при выборе сечения проводника является его термическая стойкость при КЗ, следует определить минимальное сечение проводника по условию термической стойкости Sтep.min, мм2, используя выражение
(62)
где
- значение
функции Аq, соответствующее предельно допустимой температуре нагрева
проводника при КЗ (таблица 6);
- значение этой функции,
соответствующее температуре проводника до КЗ.
Термическая стойкость проводника обеспечивается, если площадь сечения S, мм2, удовлетворяет неравенству
S ³ Sтер.min. (63)
6.3.5 В тех случаях, когда нагрузка проводника до КЗ близка к продолжительно допустимой, минимальное сечение проводника, отвечающее требованию термической стойкости при КЗ, следует определять по формуле
(64)
где
, А×с1/2/мм2;
- значение функции Aq при
продолжительно допустимой температуре проводника.
Значения параметра Стер для жестких шин приведены в таблице 7, для кабелей - в таблице 8, для проводов - в таблице 9.
Таблица 7 - Значения параметра Стер для жестких шин
|
Материал проводника или марка сплава |
Значение Стер, А×с1/2/мм2, при начальной температуре, °С |
|||
|
70 |
90 |
120 |
||
|
- |
Медь |
170 |
- |
- |
|
Al |
АДО |
90 |
81 |
68 |
|
АД1Н |
91 |
82 |
69 |
|
|
АДОМ, АД 1М |
92 |
83 |
70 |
|
|
Al-Mg-Si |
АД31Т1 |
85 |
77 |
64 |
|
АД31Т |
82 |
74 |
62 |
|
|
АД33Т1 |
77 |
71 |
59 |
|
|
АД33Т |
74 |
67 |
57 |
|
|
АВТ1 |
73 |
66 |
55 |
|
|
АВТ |
71 |
63 |
53 |
|
|
Al-Zn-Mg |
1911 1915, 1915Т |
71 66 |
63 60 |
53 51 |
|
Al-Mg-Mn |
АМг5 |
63 |
57 |
48 |
|
- |
Сталь при qдоп = 400 °С |
70 |
- |
- |
|
Сталь при qдоп = 300 °С |
60 |
- |
- |
|
Таблица 8 - Значения параметра Стер для кабелей
|
Значение Стер, А×с1/2/мм2 |
|
|
Кабели до 10 кВ: |
|
|
с медными жилами |
140 |
|
с алюминиевыми жилами |
90 |
|
Кабели 20 - 30 кВ: |
|
|
с медными жилами |
105 |
|
с алюминиевыми жилами |
70 |
|
Кабели и изолированные провода с поливинилхлоридной или резиновой изоляцией: |
|
|
с медными жилами |
120 |
|
с алюминиевыми жилами |
75 |
|
Кабели и изолированные провода с поливинилхлоридной изоляцией: |
|
|
с медными жилами |
103 |
|
с алюминиевыми жилами |
65 |
Таблица 9 - Значение параметра Стер для проводов
|
Марка провода |
Значение Стер, А×с1/2/мм2, при допустимых температурах нагрева проводов при КЗ, °С |
|||
|
160 |
200 |
250 |
||
|
Медь |
М |
- |
142 |
162 |
|
Алюминий |
А, АКП, Ап, АпКП |
76 |
90 |
- |
|
Алюминиевый сплав |
АН, АНКП АЖ, АЖКП |
69 66 |
81 77 |
- - |
|
Алюминий-сталь |
АСК, АпС, АСКС, АпСКС, АпСК, АС, АСКП |
76 |
90 |
- |
6.3.6 В тех случаях, когда для кабелей и проводов известны значения односекундного тока термической стойкости (допустимого односекундного тока КЗ) Iтер.доп1, их проверку на термическую стойкость при КЗ допустимо проводить путем сравнения интеграла Джоуля Вк с квадратом односекундного тока термической стойкости. Термическая стойкость кабеля или провода обеспечивается при выполнении условия
Вк £ I2тер.доп1. (65)
Значения односекундного тока термической стойкости для кабелей с бумажной пропитанной изоляцией по ГОСТ 18410 приведены в таблице 10. Если нагрузка кабелей до КЗ меньше продолжительно допустимой, то указанные в таблице 10 значения односекундного тока термической стойкости следует умножить на соответствующий поправочный коэффициент. Его значения приведены в таблице 11.
Значения односекундного тока термической стойкости для кабелей с пластмассовой изоляцией напряжением до 6 кВ по ГОСТ 16442, приведены в таблице 12, для кабелей с изоляцией из сшитого полиэтилена напряжением 10 кВ - в таблице 13, для медных экранов этих кабелей - в таблице 14, для самонесущих изолированных проводов напряжением до 1 кВ - в таблице 15 и для проводов с защитной оболочкой напряжением 6 - 20 кВ - в таблице 16.
Таблица 10 - Односекундные токи термической стойкости для кабелей с бумажной пропитанной изоляцией
|
Односекундный ток термической стойкости, кА, при напряжении кабеля, кВ |
||||||
|
6 |
10 |
20 - 35 |
||||
|
Медные жилы |
Алюминиевые жилы |
Медные жилы |
Алюминиевые жилы |
Медные жилы |
Алюминиевые жилы |
|
|
6 |
0,72 |
0,47 |
0,76 |
0,49 |
- |
- |
|
10 |
1,82 |
0,79 |
1,28 |
0,82 |
- |
- |
|
16 |
1,94 |
1,28 |
2,04 |
1,33 |
- |
- |
|
25 |
3,11 |
2,02 |
3,26 |
2,12 |
2,42 |
1,58 |
|
35 |
4,32 |
2,79 |
4,53 |
2,93 |
3,37 |
2,18 |
|
50 |
5,85 |
3,78 |
6,13 |
3,96 |
4,55 |
2,94 |
|
70 |
8,43 |
5,52 |
8,84 |
5,79 |
6,57 |
4,32 |
|
95 |
11,71 |
7,66 |
12,28 |
8,04 |
9,13 |
5,98 |
|
120 |
14,77 |
9,68 |
15,49 |
10,16 |
11,52 |
7,55 |
|
150 |
18,22 |
11,88 |
19,10 |
12,46 |
14,76 |
7,58 |
|
185 |
22,78 |
14,94 |
23,88 |
15,66 |
17,75 |
11,70 |
|
240 |
29,95 |
19,62 |
31,40 |
20,56 |
23,34 |
15,30 |
|
300 |
- |
- |
- |
- |
28,91 |
19,12 |
Таблица 11 - Поправочные коэффициенты на односекундные токи термической стойкости для кабелей с бумажной пропитанной изоляцией, учитывающие предварительную нагрузку кабелей до КЗ
|
Место прокладки кабеля |
Значение поправочного коэффициента на односекундный ток термической стойкости при коэффициенте предварительной нагрузки |
|||||||
|
0,4 |
0,5 |
0,6 |
0,7 |
0,8 |
0,9 |
1,0 |
||
|
1 - 6 |
На воздухе |
1,22 |
1,20 |
1,17 |
1,14 |
1,10 |
1,05 |
1,0 |
|
В земле |
1,26 |
1,24 |
1,20 |
1,16 |
1,11 |
1,06 |
1,0 |
|
|
10 |
На воздухе |
1,17 |
1,15 |
1,13 |
1,11 |
1,07 |
1,04 |
1,0 |
|
В земле |
1,21 |
1,19 |
1,16 |
1,13 |
1,09 |
1,05 |
1,0 |
|
|
20 - 35 |
На воздухе |
1,27 |
1,24 |
1,21 |
1,16 |
1,12 |
1,06 |
1,0 |
|
В земле |
1,35 |
1,29 |
1,25 |
1,21 |
1,15 |
1,08 |
1,0 |
|
Таблица 12 - Односекундные токи термической стойкости для кабелей с пластмассовой изоляцией напряжением до 6 кВ
|
Односекундный ток термической стойкости, кА, для кабелей с изоляцией |
||||||
|
Поливинилхлоридный пластикат |
Полиэтилен |
Сшитый полиэтилен |
||||
|
Медные жилы |
Алюминиевые жилы |
Медные жилы |
Алюминиевые жилы |
Медные жилы |
Алюминиевые жилы |
|
|
1,5 |
0,17 |
- |
0,14 |
- |
0,21 |
- |
|
2,5 |
0,27 |
0,18 |
0,23 |
0,15 |
0,34 |
0,22 |
|
4 |
0,43 |
0,29 |
0,36 |
0,24 |
0,54 |
0,36 |
|
6 |
0,65 |
0,42 |
0,54 |
0,35 |
0,81 |
0,52 |
|
10 |
1,09 |
0,70 |
0,91 |
0,58 |
1,36 |
0,87 |
|
16 |
1,74 |
1,13 |
1,45 |
0,94 |
2,16 |
1,40 |
|
25 |
2,78 |
1,81 |
2,32 |
1,50 |
3,46 |
2,24 |
|
35 |
3,86 |
2,30 |
3,22 |
2,07 |
4,80 |
3,09 |
|
50 |
5,23 |
3,38 |
4,37 |
2,80 |
6,50 |
4,18 |
|
70 |
7,54 |
4,95 |
6,30 |
4,10 |
9,38 |
6,12 |
|
95 |
10,48 |
6,86 |
8,75 |
5,68 |
13,03 |
8,48 |
|
120 |
13,21 |
8,66 |
11,03 |
7,18 |
16,43 |
10,71 |
|
130 |
16,30 |
10,64 |
13,60 |
8,82 |
20,26 |
31,16 |
|
185 |
20,39 |
13,37 |
17,02 |
11,08 |
25,35 |
16,53 |
|
240 |
26,30 |
17,54 |
22,37 |
14,54 |
33,32 |
21,70 |
Таблица 13 - Односекундные токи термической стойкости для кабелей с изоляцией из сшитого полиэтилена напряжением 10 кВ
|
Односекундный ток термической стойкости, кА, для кабелей |
||
|
с медной жилой |
с алюминиевой жилой |
|
|
50 |
7,15 |
4,7 |
|
70 |
10,0 |
6,6 |
|
95 |
13,6 |
8,9 |
|
120 |
17,2 |
11,3 |
|
150 |
21,5 |
14,2 |
|
185 |
26,5 |
17,5 |
|
240 |
34,3 |
22,7 |
|
300 |
42,9 |
28,2 |
|
400 |
57,2 |
37,6 |
|
500 |
71,5 |
47,0 |
|
630 |
90,1 |
59,2 |
|
800 |
114,4 |
75,2 |
Таблица 14 - Односекундные токи термической стойкости медных экранов кабелей с изоляцией из сшитого полиэтилена напряжением 10 кВ
|
Односекундный ток термической стойкости, кА |
|
|
16 |
3,3 |
|
25 |
5,1 |
|
35 |
7,1 |
Таблица 15 - Односекундные токи термической стойкости для самонесущих изолированных проводов напряжением до 1 кВ
|
Число и сечение токопроводящих и нулевой несущей жил, шт.´мм2 |
Односекундный ток термической стойкости, кА, для проводов с изоляцией из |
|
|
термопластичного полиэтилена |
сшитого полиэтилена |
|
|
1´16 + 1´25 |
1,0 |
1,5 |
|
3´16 + 1´25 |
1,0 |
1,5 |
|
3´25 + 1´35 |
1,6 |
2,3 |
|
3´35 + 1´50 |
2,3 |
3,2 |
|
3´50 + 1´95 |
4,5 |
6,5 |
|
3´120 + 1´95 |
5,9 |
7,2 |
Таблица 16 - Односекундные токи термической стойкости для проводов с защитной оболочкой напряжением 6 - 20 кВ
|
Односекундный ток термической стойкости, кА |
Сечение фазных и нулевого проводов, мм2 |
Односекундный ток термической стойкости, кА |
|
|
35 |
3,2 |
120 |
11,0 |
|
50 |
4,3 |
150 |
13,5 |
|
70 |
6,4 |
185 |
17,0 |
|
95 |
8,6 |
240 |
22,3 |
6.3.7 В тех случаях, когда проверку проводников на термическую стойкость при КЗ проводят путем сравнения термически эквивалентной плотности тока КЗ Jтep.эк, А/мм2, с допустимой в течение расчетной продолжительности КЗ плотностью тока Jтep.доп, А/мм2, (6.3.2) следует предварительно определить значения этих величин, используя формулы:
(66)
(67)
где Iтер.доп1 - допустимый ток односекундного КЗ, А;
S - площадь поперечного сечения проводника, мм2.
Термическая стойкость проводника обеспечивается, если выполняется условие (60).
6.4.1 При проверке силовых кабелей на невозгораемость при коротких замыканиях расчетную точку КЗ следует выбирать в начале кабеля независимо от того, является ли он одиночным или частью кабельной линии, содержащей несколько параллельно включенных кабелей. Если одиночный кабель имеет ступенчатое сечение по длине, то для каждого участка с новым сечением кабеля необходимо принимать свою расчетную точку КЗ в начале этого участка.
6.4.2 Расчетную продолжительность КЗ следует принимать в соответствии с 4.1.5.
6.4.3 Для проверки силовых кабелей на невозгораемость при КЗ необходимо в соответствии с 4.1.5 и 6.3.3 определить конечную температуру нагрева их жил qк при расчетной продолжительности КЗ и сравнить ее с предельно допустимой температурой нагрева жил по условию невозгораемости кабелей qнв. Невозгораемость кабелей обеспечивается, если выполняется условие
qк £ qнв. (68)
Предельно допустимые температуры нагрева жил кабелей напряжением 6 - 10 кВ по условию невозгораемости при КЗ приведены в таблице 17.
Таблица 17 - Предельно допустимые температуры нагрева жил кабелей напряжением 6 - 10 кВ по условию невозгораемости при КЗ
|
Предельно допустимая температура нагрева жил кабеля, °С |
|
|
Бронированные кабели с пропитанной бумажной изоляцией на напряжение до 6 кВ |
400 |
|
Бронированные кабели с пропитанной бумажной изоляцией на напряжение 10 кВ |
360 |
|
Небронированные кабели с пропитанной бумажной изоляцией на напряжение до 6 кВ |
350 |
|
Небронированные кабели с пропитанной бумажной изоляцией на напряжение 10 кВ |
310 |
|
Кабели с пластмассовой (поливинилхлоридный пластикат) и резиновой изоляцией |
350 |
|
Кабели с изоляцией из вулканизированного полиэтилена |
400 |
(рекомендуемое)
Таблица А.1
|
Расчетная формула для определения коэффициента l(Z) |
|
|
1 |
|
|
2 |
|
|
3 |
|
|
4 |
|
|
5 |
|
(рекомендуемое)
Наибольшее напряжение в материале шин и максимальную нагрузку на изоляторы при повторном включении на КЗ следует определять по формулам:
(Б.1)
(Б.2)
где s1 и F1max - наибольшее напряжение и максимальная нагрузка при первом КЗ;
Q - коэффициент превышения напряжения и нагрузки при повторном КЗ.
Коэффициент превышения Q определяют по кривым рисунка Б.1а в зависимости от логарифмического декремента затухания d. Номер расчетной кривой на рисунке Б.1а определяют, исходя из продолжительности бестоковой паузы tб.л и частоты собственных колебаний шины f1, используя рисунок Б.1б. Если точка с координатами tб.л и f1 лежит в зоне, ограниченной осями координат и кривой I, то коэффициент Q определяют по кривой 1 рисунка Б.1а. Если эта точка лежит в зоне, ограниченной кривыми I и II, то Q определяют по кривой 2 и т.д. Следует отметить, что расчетные коэффициенты Q получены при наиболее неблагоприятных условиях коммутаций, которые при первом КЗ, в бестоковую паузу и повторном включении на КЗ приводят к наибольшим напряжениям в материале шин и нагрузкам на изоляторы и таким образом обеспечивают оценку электродинамической стойкости ошиновки.
Рисунок Б.1 - Определение коэффициента превышения напряжения и нагрузки Q в зависимости от d, tб.л и f1
(рекомендуемое)
Ниже приводится методика расчета на электродинамическую стойкость гибких проводников, которые закреплены на одном уровне (по высоте), при отсутствии гололеда и ветровой нагрузки. При определении смещений расчетной моделью проводника в пролете служит абсолютно жесткий стержень, который шарнирно закреплен на опорах, а его ось очерчена по цепной линии.
За расчетное принимают двухфазное КЗ. Влияние гирлянд учитывают увеличением погонной силы тяжести проводника.
При проверке гибких проводников на электродинамическую стойкость при КЗ необходимость расчета смещения проводников, у которых провес превышает половину расстояния между фазами, устанавливают значением параметра р, кА2×с/Н, определяемого по формуле
(В.1)
где l - безразмерный коэффициент, учитывающий влияние апериодической составляющей электродинамической силы. Последний определяют по кривой, приведенной на рисунке В.1;
Iп0(2) - начальное действующее значение периодической составляющей тока двухфазного КЗ, кА;
tоткл - расчетная продолжительность КЗ, с;
а - расстояние между фазами, м;
q - погонная сила тяжести провода, Н/м.
Рисунок В.1 - Зависимость коэффициента l от tоткл/Ta
В случае, когда выполняется соотношение р £ 0,4 кА2×с/Н, расчет смещения проводников можно не проводить, так как опасности их чрезмерного сближения нет. В противном случае расчет смещения проводят в следующей последовательности:
1) Определяют предельно допустимую продолжительность КЗ, с
, (В.2)
где М = тпогl - масса проводника пролета, кг;
l - длина пролета, м;
g - ускорение силы тяжести, м/с2;
-
частота малых собственных колебаний расчетного маятника, 1/с, причем L = 2f/3, м;
f - провес провода в середине пролета, м;
Fрасч(2) - расчетная электродинамическая сила при двухфазном КЗ, Н.
Последнюю вычисляют по формуле
(B.3)
где ![]()
F0(2) - постоянная составляющая электродинамической нагрузки на проводник в пролете при двухфазном КЗ, Н;
m - относительная магнитная проницаемость воздушной среды (для воздуха m = 1);
m0 - магнитная проницаемость вакуума, Гн/м.
2) При tоткл < tпред горизонтальное смещение проводника при КЗ, м, вычисляют по формуле
где ![]()
В случае, когда вычисленное по формуле (В.4) значение s оказывается больше стрелы провеса проводника в середине пролета, следует принимать s = f.
3) При tпред < tоткл < 0,6(2p/w0) горизонтальное смещение проводника при КЗ, м, вычисляют по одной из формул:
где amax - угол максимального отклонения проводника от вертикали, рад, определяемый по формуле
amax = arcos[1 - DWк/(MgL)]; (B.6)
-
энергия, накопленная проводником пролета за время КЗ, Дж, и определяемая с
использованием рисунка В.2 (здесь tоткл = tоткл/T0 = tоткл w0/2p - относительная продолжительность КЗ в долях от периода
собственных колебаний проводника в пролете).
4) При tоткл > 0,6(2p/w0) горизонтальное смещение проводника также вычисляют по формулам (В.5), однако входящую в формулы (В.5) и (В.6) энергию DWк, Дж, приближенно оценивают по одной из формул:
(В.7)
где h - высота подъема проводника над его положением до КЗ, м, которую определяют с использованием рисунка В.3.
5) Определяют максимальное сближение проводников (минимальное расстояние между проводниками) по формуле
аmin = а - 2(s + rp). (В.8)
где s - найденное максимальное горизонтальное смещение проводника в середине пролета от равновесного положения, а для расщепленных фаз - это горизонтальное смещение оси расчетного одиночного проводника с поперечным сечением, равным сумме сечений всех проводников фазы, в середине пролета;
rр - радиус расщепления фазы, м.
Рисунок В.2 - Зависимость DWк/(MgL) от относительной продолжительности двухфазного КЗ

Рисунок В.2, лист 2
Рисунок В.3 - Характеристики h/a = f(L/a) при двухфазном КЗ
Максимальное тяжение в проводнике Fmax f следует определять, полагая, что энергия, накопленная проводником во время КЗ, трансформируется в потенциальную энергию деформации растяжения при падении проводника после отключения КЗ, поднятого электродинамическими силами над исходным равновесным положением. При этом значение Fmax f, Дж, составляет
(В.9)
где
-
потенциальная энергия деформации проводника в пролете при тяжении, равном
тяжению в нем до КЗ, Дж;
-
тяжение (продольная сила) в проводнике до КЗ, Н;
т - погонная масса проводника, кг;
Е- модуль упругости материала проводника, Н/м2;
S - площадь поперечного сечения проводника, м2;
Dlпр - удлинение проводника в пролете при усилии в нем, равном Fmax f, м;
lпр - длина проводника в пролете, м, которую допускается принимать равной длине пролета l.
При выполнении условия tоткл < tпред значение DWк допускается определять по приближенной формуле
![]()
При отсутствии характеристики жесткости провода Dl = f(F) приближенное значение максимально возможного тяжения в проводнике допускается определять по формуле
(В.11)
где ES - жесткость поперечного сечения провода при растяжении, Н;
Е - модуль упругости материала проводника, Н/м2;
S - площадь поперечного сечения проводника, м2.
Модуль упругости материалов проводника, полученного скручиванием проволок, следует снижать (вдвое - втрое) по сравнению с модулем упругости материала отдельных проволок.
Значение нижнего предела максимального тяжения в проводнике Fmax2 в случае, когда проводник после отключения КЗ (при относительно малом токе) плавно возвращается в исходное положение, совершая затем затухающие (из-за аэродинамического сопротивления атмосферы) колебания, выбирается наибольшим из двух значений силы тяжения F2, вычисляемых по формулам:
(B.12)
при этом траектория движения центра масс проводника близка к окружности.
Влияние гирлянд изоляторов и ответвлений с гибкой ошиновкой приближенно учитывается увеличением погонной силы тяжести и стрелы провеса проводников путем замены в приведенных выше формулах массы проводника М" приведенной массой Мпр = Mg + Мотв и стрелы провеса f «приведенной» стрелой провеса fпр = f+ lгcosb, где g - коэффициент приведения массы (таблица В.1); Мотв - масса отводов в пролете; lг - длина гирлянды изоляторов; b - угол отклонения натяжных гирлянд от вертикали до КЗ, рад.
Таблица В.1 - Коэффициент приведения массы у при различных отношениях провеса гирлянды к стреле провеса проводника fг/f массы гирлянды к массе проводника в пролете Mг/M
|
fг/f |
Значение коэффициента приведения массы у при различных Mг/M |
||||||||
|
0,01 |
0,02 |
0,05 |
0,10 |
0,20 |
0,50 |
1,00 |
2,00 |
3,00 |
|
|
0,01 |
1,000 |
1,000 |
1,000 |
1,000 |
1,001 |
1,002 |
1,003 |
1,005 |
1,006 |
|
0,02 |
1,000 |
1,000 |
1,000 |
1,001 |
1,002 |
1,004 |
1,007 |
1,010 |
1,012 |
|
0,05 |
1,000 |
1,000 |
1,001 |
1,002 |
1,004 |
1,010 |
1,016 |
1,024 |
1,029 |
|
0,10 |
1,000 |
1,001 |
1,002 |
1,004 |
1,008 |
1,019 |
1,031 |
1,048 |
1,058 |
|
0,20 |
1,001 |
1,002 |
1,004 |
1,008 |
1,015 |
1,034 |
1,059 |
1,090 |
1,110 |
|
0,50 |
1,002 |
1,003 |
1,008 |
0,016 |
1,031 |
1,071 |
1,130 |
1,200 |
1,250 |
|
1,00 |
1,002 |
1,005 |
1,012 |
1,024 |
1,048 |
1,110 |
1,200 |
1,330 |
1,430 |
|
2,00 |
1,003 |
1,007 |
1,017 |
1,033 |
1,065 |
1,150 |
1,290 |
1,500 |
1,670 |
|
3,00 |
1,004 |
1,007 |
1,019 |
1,037 |
1,073 |
1,180 |
1,330 |
1,600 |
1,820 |
|
Примечание - Мг - масса гирлянд (суммарная масса двух натяжных гирлянд у двух опор проводников в пролете или масса одной гирлянды, если на опорах гирлянды подвесные); М - масса проводника в пролете; fг - провес гирлянд; f - стрела провеса проводника. |
|||||||||
(рекомендуемое)
Пример 1
Проверить электродинамическую стойкость трехфазной шинной конструкции, изоляторы которой обладают высокой жесткостью, при действии ударного тока КЗ iуд3 = 155 кА.
Шины прямоугольного сечения (60´6) мм2 выполнены из алюминиевого сплава марки АД31Т1, расположены горизонтально в одной плоскости, имеют четыре пролета и параметры: l = 1,2 м; а = 0,6 м; т = 0,972 кг/м; Е = 7×1010 Па; sдоп = 137 МПа.
Согласно таблице 4
(Г.1)
(Г.2)
Частота собственных колебаний
(Г.3)
где r1 = 4,73 соответствует расчетной схеме 5 (таблица 2).
Для данной шинной конструкции h = 1,1 (рисунок 5); Кф = 1,0 (рисунок 1); Красп = 1,0 (таблица 1); l = 12 (таблица 2).
Максимальная сила, действующая на шинную конструкцию, составляет
(Г.4)
при этом максимальное напряжение в материале шин, определяемое по формуле (18), равно
(Г.5)
Поскольку smax = 254,3 МПа > sдоп = 137 МПа, то шины не удовлетворяют условию электродинамической стойкости. Для снижения максимального напряжения в материале шин необходимо уменьшить длину пролета. Наибольшая допустимая длина пролета при sдоп = 137,2 МПа равна

Примем длину пролета равной 0,8 м; в этом случае f1 = 491 Гц; h = 1,0; Fmax(3) = 5548 Н и smax = 102,7 МПа, что меньше sдоп = 137 МПа.
Исходя из максимальной нагрузки, действующей на изолятор, Fmax(3) = 5548 Н принимаем к установке изоляторы типа ИОР-10-16,00 УХЛ3. Для них согласно формуле (5) допустимая нагрузка составляет Fдоп = 0,6Fразр = 0,6×16000 = 9600 Н. Выбранные изоляторы удовлетворяют условию электродинамической стойкости
Fдоп = 9600 Н > Fmax(3) = 5548 Н. (Г.7)
Таким образом, при уменьшении длины пролета до 0,8 м шинная конструкция отвечает требованиям электродинамической стойкости.
Пример 2
Проверить электродинамическую стойкость трехфазной шинной конструкции в цепи генератора, шины которой состоят из двух элементов корытообразного профиля, при iуд(3) = 120 кА.
Алюминиевые шины марки АД0 сечением 2´3435 мм2 расположены в горизонтальной плоскости и имеют следующие параметры: l = 2 м; а = 0,75 м; mэл = 9,27 кг/м; Е = 7×1010 Па; sдоп = 41 МПа; аэл = 0,2 м; lэл = 1 м; Jэл = 254×10-8 м4; J = 4220×10-8 м4; Wэл = 40×10-6 м3; W = 422×10-6 м3.
Частоты собственных колебаний шины и элемента шины в соответствии с формулами (22) и (25) равны:
(Г.8)
(Г.9)
Для данной шинной конструкции h = 1,0 и hэл = 1,0 (рисунок 5); Кф = 1,0 (5.1.1); Красп = 1,0 (таблица 1); l = 12 (таблица 2).
Максимальная сила, обусловленная взаимодействием токов разных фаз, равна
(Г.10)
При этом максимальные напряжения в материале шин, обусловленные соответственно взаимодействием токов разных фаз, определяемое по формуле (18), и токов отдельных элементов проводника одной фазы, определяемое по формуле (24), равны:
(Г.11)
(Г.12)
Суммарное напряжение в материале шины
smax = sфmax + sэл.max = 2,63 + 7,5 = 10,13 МПа. (Г.13)
Шины удовлетворяют условию электродинамической стойкости, так как sдоп = 41 МПа, что больше smax = 10,13 МПа.
Исходя из максимальной нагрузки, действующей на изолятор, Fmax(3) = 6651 Н, принимаем к установке изоляторы типа ИО-10-20,00 У3.
Для этих изоляторов Fразр = 20000 Н, высота h = 0,134 м. Изолятор имеет внутреннее крепление арматуры, поэтому для него H = h + аэл/2 = 0,134 + 0,2/2 = 0,234 м.
Согласно формуле (8) допустимая нагрузка на изолятор при изгибе равна
Fдоп.изг = NFpaзрh/H = 0,6×20000×0,134/0,234 = 6871,8 Н. (Г.14)
Выбранные изоляторы удовлетворяют условию электродинамической стойкости
Fдоп = 6871,8 H > Fmax(3) = 6651 Н. (Г.15)
Таким образом, шинная конструкция в целом отвечает требованиям электродинамической стойкости.
Пример 3
Проверить электродинамическую стойкость шинной конструкции наружной электроустановки напряжением 110 кВ при iуд(3) = 50 кА.
Трубчатые шины квадратного сечения выполнены из алюминиевого сплава АД31Т и расположены в одной плоскости. Ширина шины H = 125 мм, ширина окна шины h = 109 мм, погонная масса т = 8,96 кг/м. Длина пролета l = 5 м, расстояние между фазами а = 1 м. Допустимое напряжение в материале шины sдоп = 89 МПа, модуль упругости Е = 7×1010 Па. Изоляторы типа ИОС-110-600 (рисунок 3в) имеют Fразр = 6 кН, высоту Низ = 1100 мм, расстояние от центра головки до центра масс шины 80 мм, высоту арматуры нижнего фланца 100 мм, следовательно для них значения Н и h согласно рисунку 3в равны: h = 1100 - 100 = 1000 мм; Н = 1100 - 100 + 80 = 1080 мм. Жесткость изолятора Соп = 1100 кН/м, а частота собственных колебаний fоп = 28 Гц.
Согласно таблице 4 момент инерции и момент сопротивления шины равны:
(Г.16)
(Г.17)
Допустимая нагрузка на изолятор согласно формуле (8) равна
Fдоп = 0,6×6000×1000/1080 = 3333 Н. (Г.18)
Значения жесткости и частоты колебаний опоры допустимо принять равными жесткости и частоте колебаний изоляторов, так как изоляторы шинной конструкции установлены на весьма жестком основании.
Приведенная масса в соответствии с формулой (31) равна
(Г.19)
Необходимые для определения параметра основной частоты собственных колебаний шины значения величин равны:
(Г.20)
(Г.21)
По кривым рисунка 6 параметр r1 = 3,3, поэтому
(Г.22)
По кривой рисунка 5 коэффициент динамической нагрузки h = 0,9.
Максимальные нагрузка на изоляторы и напряжение в материале шины в соответствии с формулами (2) и (18) равны:
(Г.23)
(Г.24)
Для данной шинной конструкции
sдоп = 89 МПа > smax = 5,88 МПа; (Г.25)
Fдоп = 3333 Н > Fmax(3) = 2165 Н. (Г.26)
Таким образом, шинная конструкция удовлетворяет условиям динамической стойкости.
Ключевые слова: ток короткого замыкания, электроустановки, электродинамическая стойкость, термическая стойкость, интеграл Джоуля, невозгораемость