Ambient air. Measurement of the mass of particulate matter on a filter medium. Beta-ray absorption method

ФЕДЕРАЛЬНОЕ АГЕНТСТВО
ПО ТЕХНИЧЕСКОМУ РЕГУЛИРОВАНИЮ И МЕТРОЛОГИИ

НАЦИОНАЛЬНЫЙ
СТАНДАРТ
РОССИЙСКОЙ
ФЕДЕРАЦИИ

ГОСТ Р ИСО
10473-2007

ВОЗДУХ АТМОСФЕРНЫЙ

Измерение массы твердых частиц
на фильтрующем материале.
Метод поглощения бета-лучей

ISO 10473:2000
Ambient air - Measurement of the mass of participate matter
on a filter medium - Beta-ray absorption method
(IDT)

Москва

Стандартинформ

2008

Предисловие

Цели и принципы стандартизации в Российской Федерации установлены Федеральным законом от 27 декабря 2002 г. № 184-ФЗ «О техническом регулировании», а правила применения национальных стандартов Российской Федерации - ГОСТ Р 1.0-2004 «Стандартизация в Российской Федерации. Основные положения»

Сведения о стандарте

1 ПОДГОТОВЛЕН Открытым акционерным обществом «Научно-исследовательский центр контроля и диагностики технических систем» (ОАО «НИЦ КД») на основе собственного аутентичного перевода стандарта, указанного в пункте 4

2 ВНЕСЕН Техническим комитетом по стандартизации ТК 457 «Качество воздуха»

3 УТВЕРЖДЕН И ВВЕДЕН В ДЕЙСТВИЕ Приказом Федерального агентства по техническому регулированию и метрологии от 12 декабря 2007 г. № 354-ст

4 Настоящий стандарт идентичен международному стандарту ИСО 10473:2000 «Воздух атмосферный. Измерение массы твердых частиц на фильтрующем материале. Метод поглощения бета-лучей» (ISO 10473:2000 «Ambient air. Measurement of the mass particulate matter on a filter medium. Beta-ray absorption method»)

5 ВВЕДЕН ВПЕРВЫЕ

Информация об изменениях к настоящему стандарту публикуется в ежегодно издаваемом информационном указателе «Национальные стандарты», а текст изменений и поправок - в ежемесячно издаваемых информационных указателях «Национальные стандарты». В случае пересмотра (замены) или отмены настоящего стандарта соответствующее уведомление будет опубликовано в ежемесячно издаваемом информационном указателе «Национальные стандарты». Соответствующая информация, уведомление и тексты размещаются также в информационной системе общего пользования - на официальном сайте Федерального агентства по техническому регулированию и метрологии в сети Интернет

СОДЕРЖАНИЕ

1 Область применения. 2

2 Термины и определения. 3

3 Основные положения. 3

4 Аппаратура. 4

4.1 Устройства для последовательного или одновременного отбора и анализа проб. 6

4.2 Устройства для раздельного отбора и анализа проб. 8

5 Градуировка измерителя потока бета-излучения. 8

5.1 Установка нуля и оценка его повторяемости. 8

5.2 Калибровка. 9

6 Порядок проведения измерений. 11

6.1 Продолжительность отбора проб. 11

6.2 Измерение автоматическим устройством с последовательным или одновременным отбором и анализом проб. 11

6.3 Измерение автоматическим устройством с раздельным отбором и анализом проб. 12

7 Представление результатов измерений. 12

8 Протокол измерений. 12

Библиография. 12

ГОСТ Р ИСО 10473-2007

НАЦИОНАЛЬНЫЙ СТАНДАРТ РОССИЙСКОЙ ФЕДЕРАЦИИ

ВОЗДУХ АТМОСФЕРНЫЙ

Измерение массы твердых частиц на фильтрующем материале.
Метод поглощения бета-лучей

Ambient air. Measurement of the mass of particulate matter on a filter medium.
Beta-ray absorption method

Дата введения - 2008-09-01

1 Область применения

Настоящий стандарт устанавливает метод измерения массы твердых частиц, содержащихся в атмосферном воздухе, основанный на поглощении бета-лучей1) твердыми частицами.

___________

1) В области измерений ионизирующих излучений в отечественной технической литературе применяется вместо «поглощение бета-лучей» более строгое выражение «ослабление бета-излучения», которое используется в тексте стандарта.

Метод применяют для определения содержания твердых частиц в воздухе городской, сельской или промышленной зон в диапазоне значений массовой концентрации от нескольких микрограмм на кубический метр до нескольких миллиграмм на кубический метр.

Предел обнаружения по данному методу обычно составляет от 15 до 30 мкг массы осажденных частиц на квадратный сантиметр поверхности фильтра S. Это означает, что при времени отбора проб t, равном 3 ч, и расходе q, равном 1 м3/ч, предел обнаружения твердых частиц в воздухе, выраженный в единицах массовой концентрации, будет составлять от 5 до 10 мкг/м3 в соответствии с формулой пересчета:

Поверхностная плотность частиц на фильтре (мкг/см2) .

Методики отбора проб не рассматриваются в настоящем стандарте.

Примечание - Массовую концентрацию твердых частиц вычисляют путем деления массы частиц, осажденных на фильтрующей ленте или отдельном фильтре, на соответствующий объем отобранного воздуха. Однако массовая концентрация частиц зависит от используемой методики отбора проб, например от конструкции входного отверстия пробоотборного устройства. Обычно при отборе проб атмосферного воздуха крупные частицы улавливаются при помощи входного устройства, селективного к определенному размеру частиц (например, с помощью каскадного импактора или циклонного фильтра). Предельный размер частиц определяется параметрами входного устройства для фракционного разделения частиц пробы.

2 Термины и определения

В настоящем стандарте применены термины с соответствующими определениями:

2.1 бета-лучи (beta ray): Радиоактивное излучение, представляющее собой поток электронов и испускаемое при ядерном распаде радиоактивных элементов.

Примечание - В соответствии с настоящим стандартом могут использоваться такие элементы, как 147Рm, 14С или 85Кr.

3 Основные положения

3.1 Описание

Известный объем атмосферного воздуха прокачивают через фильтр, на котором осаждаются твердые частицы. Общую массу твердых частиц определяют путем измерения ослабления бета-излучения. Измерения основаны на следующем эмпирическом законе ослабления излучения

                                                          (1)

где N - число электронов, прошедших через фильтр в единицу времени, зафиксированных после фильтра, с-1;

N0 - число электронов, падающих на фильтр в единицу времени, с-1;

k - коэффициент ослабления на единицу массы, см2/мг;

т - поверхностная плотность частиц, ослабляющих бета-излучение, мг/см2.

На практике нет необходимости определять N0, а поверхностную плотность осажденных твердых частиц определяют следующим образом:

a) Этап 1: проводят измерения на чистом фильтре:

                                                       (2)

где N1 - число электронов, прошедших через чистый фильтр в единицу времени, зафиксированных после фильтра, с-1;

т0 - поверхностная плотность частиц на чистом фильтре, мг/см2.

b) Этап 2: проводят измерения на том же самом фильтре после осаждения на нем твердых частиц:

                                                   (3)

где N2 - число электронов, прошедших через фильтр с осажденными твердыми частицами в единицу времени, зафиксированных после фильтра, с-1;

Δm - поверхностная плотность осажденных на фильтре твердых частиц, мг/см2.

Объединяя формулы (2) и (3), получаем

                                                       (4)

или

                                                     (5)

Данный метод измерений имеет следующие характеристики:

- эмпирический экспоненциальный закон [формула (1)] действует в пределах используемого на практике диапазона измерений. Однако имеется верхний предел, прямо пропорциональный максимальной энергии излучения спектра используемого источника бета-излучения.

3.2 Ограничения

Для больших частиц (диаметром более 20 мкм) ослабление излучения (1) может в некоторой степени зависеть от их плотности и размера. Для уменьшения влияния данной зависимости крупные частицы обычно отфильтровываются с помощью каскадного импактора, установленного в устройстве для фракционного разделения частиц пробы.

Погрешности при определении массы могут быть вызваны неравномерностью пространственного распределения потока бета-излучения и неоднородностью осаждения твердых частиц на фильтре, вызванной ухудшением качества системы отбора проб.

Изменения атмосферного давления и температуры вызывают изменение плотности воздуха между источником и детектором. Это может повлиять на определение массы твердых частиц, осевших на фильтре. Погрешность может быть уменьшена, если время между измерениями N1 и N2 будет, по возможности, минимальным, или скорректирована введением поправки на атмосферное давление и температуру или путем применения системы с двойным детектированием; в этом случае результат второго измерения (N2) необходимо регистрировать непрерывно по мере накопления массы с течением времени.

Элементный и химический состав твердых частиц, содержащихся в атмосферном воздухе, оказывает небольшое влияние на значение коэффициента ослабления на единицу массы k.

Влияние радиоактивности долгоживущих радиоизотопов, входящих в состав твердых частиц, незначительно. Однако в местах с низким уровнем содержания радона и его дочерних элементов сигнал измерителя потока бета-излучения может быть искажен. Погрешность зависит от типа используемой аппаратуры.

4 Аппаратура

Аппаратура должна быть установлена в помещении с контролируемыми температурой и влажностью.

Устройство может быть либо автоматическим с последовательным или одновременным отбором и анализом проб, составляющим единое устройство, либо автоматическим с раздельным отбором и анализом проб, состоящим из устройства для отбора твердых частиц и устройства для их измерения.

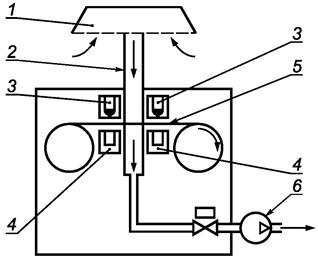
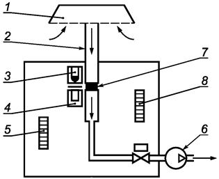
Схемы четырех типовых устройств, используемых для последовательного или одновременного отбора и анализа проб с использованием одного или двух измерителей потока бета-излучения, приведены на рисунке 1:

- автоматическое устройство для одновременного отбора и анализа проб и одним измерителем потока бета-излучения (см. рисунок 1а);

- автоматическое устройство для последовательного отбора и анализа проб и двумя измерителями потока бета-излучения (см. рисунок 1b);

- автоматическое устройство для последовательного отбора и анализа проб и одним измерителем потока бета-излучения (см. рисунок 1с);

- автоматическое устройство для последовательного отбора и анализа проб на отдельных фильтрах с одним измерителем потока бета-излучения (см. рисунок 1d).

1 - устройство для фракционного разделения частиц пробы; 2 - трубка для отбора проб;
3 - блок источника бета-излучения; 4 - блок приемника бета-излучения; 5 - фильтрующая лента; 6 - насос

Примечание - До начала отбора проб проводят отбор холостой пробы на чистый фильтр с выключенным насосом. В процессе отбора проб регистрируют ослабление бета-излучения. По окончании отбора проб в зону для отбора проб подводят новую часть фильтрующей ленты. Для сведения к минимуму воздействий, описанных в разделе 3, может быть использована система с двойным детектированием.

а) Устройство для одновременного отбора и анализа проб с одним измерителем потока бета-излучения

1 - устройство для фракционного разделения частиц пробы; 2 - трубка для отбора проб;
3 - блок источника бета-излучения; 4 - блок приемника бета-излучения;
5 - фильтрующая лента; 6 - насос

Примечание - Параметры холостой пробы определяют на чистом фильтре с помощью первого блока источника бета-излучения. После определения параметров холостой пробы фильтр подводят в зону отбора проб. По окончании отбора пробы фильтр убирают из зоны отбора проб и проводят измерения с помощью второго блока приемника бета-излучения. Барабан вращается только в одном направлении.

b) Устройство для последовательного отбора и анализа проб с двумя измерителями потока бета-излучения

1 - устройство для фракционного разделения частиц пробы; 2 - трубка для отбора проб;
3 - блок источника бета-излучения; 4 - блок приемника бета-излучения;
5 - фильтрующая лента; 6 - насос

Примечание - Параметры холостой пробы определяют на чистом фильтре до начала отбора проб. Затем фильтр подводят в зону отбора проб и по окончании отбора проб проводят повторные измерения с помощью измерителей потока бета-излучения. Барабан с фильтрующей лентой вращается в обоих направлениях.

с) Устройство для последовательного отбора и анализа проб с одним измерителем потока бета-излучения

1 - устройство для фракционного разделения частиц пробы; 2 - трубка для отбора проб;
3 - блок источника бета-излучения; 4 - блок приемника бета-излучения; 5 - чистые фильтры;
6 - насос; 7 - зона отбора проб; 8 - фильтры с осажденными
частицами

Примечание - В данном типе устройства отсутствуют барабаны, а фильтры размещаются внутри устройства в соответствующих держателях для подачи фильтра и хранения. Фильтры перемещают к измерителю потока бета-излучения, в зону отбора проб и обратно к измерителю потока бета-излучения для проведения нескольких измерений на одном и том же фильтре. Фильтр может быть удален из устройства для последующего анализа на содержание индивидуальных соединений. Чистые фильтры и фильтры с осажденными частицами хранят в держателях.

d) Устройство для последовательного отбора и анализа проб на отдельных фильтрах с одним измерителем потока бета-излучения

Рисунок 1 - Типовые автоматические устройства для последовательного или одновременного отбора и анализа проб

Устройство любого типа должно включать в себя следующие основные компоненты.

4.1 Устройства для последовательного или одновременного отбора и анализа проб

4.1.1 Впускное устройство для отбора проб

Впускное устройство для отбора проб (называемое также устройством для фракционного разделения частиц пробы) обычно из нержавеющей стали применяется для отбора твердых частиц, содержащихся в атмосферном воздухе. Эффективность отбора проб определяется характеристиками данного устройства, а также значением расхода при отборе проб.

Устройство для фракционного разделения частиц пробы должно быть изготовлено из коррозионно-стойкого материала.

4.1.2 Трубка для отбора проб

Трубка для отбора проб, предпочтительно прямая, расположенная перпендикулярно к фильтру, из нержавеющей стали, предназначена для переноса отобранных твердых частиц на фильтр.

Данная трубка должна быть сконструирована таким образом, чтобы предотвратить потери твердых частиц до достижения ими фильтра. Кроме того, трубка должна быть нагрета (от 40 °С до 50 °С) для того, чтобы предотвратить образование конденсата на фильтре. Площадь внутреннего поперечного сечения выходного отверстия трубки должна быть равна эффективной площади фильтра.

4.1.3 Уплотнительное устройство

Уплотнительное устройство предназначено для герметичного соединения нижнего конца трубки для отбора проб и фильтра во избежание потерь твердых частиц и попадания воздуха.

Оно может представлять собой выдвижное устройство, которое остается на фильтре во время отбора проб.

Постоянный магнит не должен быть использован в качестве уплотнительного.

4.1.4 Фильтр

Фильтр, на который осаждают отобранные твердые частицы.

При выборе фильтра важны следующие характеристики:

- минимальная эффективность улавливания 99 % для частиц с диаметром более 1 мкм;

- низкое сопротивление потоку воздуха;

- низкая чувствительность к содержанию паров воды в воздухе;

- однородность поверхностной плотности, а также механических и химических свойств;

- термическая стабильность;

- эффективность удерживания.

4.1.5 Фильтродержатель

Для устройств отбора и анализа проб на отдельных фильтрах (см. рисунок 1d), каждый фильтр должен быть размещен в фильтродержателе, имеющем подходящий диаметр.

В процессе отбора проб фильтр должен быть защищен при помощи поддерживающей сетки от любой деформации, обусловленной перепадом давления. Сетка должна быть изготовлена из коррозионно-стойкого материала, иметь гладкую поверхность и достаточно маленькие ячейки для предотвращения разрушения фильтра и обеспечения высокой степени равномерности осаждения твердых частиц.

Фильтродержатель может быть нагрет (от 40 °С до 50 °С) для предотвращения образования конденсата на фильтре в случае повышенной влажности атмосферного воздуха.

Фильтродержатель должен быть сконструирован таким образом, чтобы облегчить операции установки и выемки фильтра, а также обеспечить правильную установку фильтра.

4.1.6 Измеритель потока бета-излучения

Измеритель потока бета-излучения, предназначенный для измерения ослабления бета-лучей твердыми частицами, состоящий из:

- блока источника излучения, представляющего собой герметичный источник бета-излучения, практически не содержащий гамма-излучение;

- блока детектора бета-излучения, например, высокочувствительный счетчик типа Гейгера-Мюллера или твердотельный детектор.

Эти два блока должны быть размещены по разные стороны фильтра.

Для определения оптимального места размещения измерителя потока бета-излучения необходимо:

- проверить симметричность распределения падающего бета-излучения;

- оптимизировать расстояние между блоком источника и блоком детектора излучения с учетом скорости счета импульсов.

Измеритель потока бета-излучения должен быть сконструирован таким образом, чтобы измерения до и после отбора проб проводились в одной и той же зоне фильтра.

Измерение ослабления бета-излучения чистым фильтром до начала отбора проб чрезвычайно важно. Зона фильтра, на которую осаждаются частицы в процессе отбора проб, должна точно воспроизводиться. Если рабочая поверхность фильтра не возвращается точно в то же положение после экспонирования, то при измерении массы могут появиться существенные погрешности.

4.1.7 Регулятор расхода

Регулятор расхода предназначен для поддержания расхода при отборе проб в пределах ± 5 % первоначального значения с помощью электронного регулирования расхода.

4.1.8 Насос

Насос, предназначенный для прокачивания пробы воздуха через всю линию отбора проб, расположен в конце линии отбора проб после измерителя потока бета-излучения.

Обычно расход при отборе проб составляет от 1 до 3 м3/ч.

Важно проверять правильность работы насоса, а также герметичность всей линии отбора проб. Рекомендуется устанавливать индикатор перепада давления между насосом и фильтром.

4.1.9 Расходомер или газовый счетчик

Возможно использование любого из этих устройств. Расходомер позволяет измерять текущее значение расхода потока воздуха через фильтр. Газовый счетчик позволяет измерять общий объем отобранного воздуха при последовательном отборе и анализе проб.

Поскольку в результате измерений получают значения массовой концентрации, необходимо проводить периодическую поверку этих устройств в нормальных условиях эксплуатации (температура, давление и т.д.).

4.1.10 Электронные блоки

Электронные блоки предназначены для обеспечения выполнения различных автоматических процессов, необходимых для отбора и анализа проб, в соответствии с требованиями раздела 6.

С их помощью определяют общую массу осажденных на фильтре твердых частиц непосредственно исходя из поверхностной плотности частиц.

4.2 Устройства для раздельного отбора и анализа проб

4.2.1 Устройство для отбора проб воздуха и сбора твердых частиц, включающее все устройства, приведенные в 4.1.

4.2.2 Устройство для измерений методом ослабления бета-излучения, состоящее из измерителя потока бета-излучения, приведенного в 4.1.6, и электронных блоков, используемых для управления механическими операциями и обработки результатов измерений, как описано в 4.1.10.

5 Градуировка измерителя потока бета-излучения

5.1 Установка нуля и оценка его повторяемости

5.1.1 Основные положения

Данная процедура позволяет пользователю установить на анализаторах различных типов нуль, соответствующий измерениям чистого, без каких-либо частиц, фильтра.

Для единообразия проведения этой процедуры насос отсоединяют от пробоотборного устройства во избежание попадания в него воздуха и частиц.

Рекомендуются следующие процедуры.

5.1.2 Автоматическое устройство с одновременным отбором и анализом проб с одним измерителем потока бета-излучения (см. рисунок 1а)

5.1.2.1 Установка нуля

Включают пробоотборное устройство и регистрируют выходной сигнал в течение 1 ч. Вычисляют и записывают среднее значение и стандартное отклонение результатов измерений. Устанавливают нуль.

5.1.2.2 Повторяемость

Регулярно проводят проверку нуля на нескольких последовательных частях фильтрующей ленты. Оценку повторяемости нуля определяют как стандартное отклонение результатов измерений ослабления потока излучения не менее чем на пяти участках фильтрующей ленты, каждую из которых экспонируют в течение не менее 24 ч.

5.1.3 Автоматическое устройство с последовательным отбором и анализом проб с двумя бета-толщиномерами (см. рисунок 1b)

5.1.3.1 Установка нуля

Устройство программируют на минимальную продолжительность отбора проб и регистрируют выходной сигнал в течение не менее десяти циклов измерений. Вычисляют и записывают среднее значение и стандартное отклонение результатов измерений. Устанавливают нуль.

5.1.3.2 Повторяемость

Для измерения отклонения нуля процедуру повторяют при большей продолжительности отбора проб.

5.1.4 Автоматическое устройство с последовательным отбором и анализом проб с одним измерителем потока бета-излучения (см. рисунок 1с)

Выполняют процедуру, приведенную в 5.1.3.

5.1.5 Автоматическое устройство с последовательным отбором и анализом проб на отдельных фильтрах с одним измерителем потока бета-излучения (см. рисунок 1d)

5.1.5.1 Установка нуля

Для установки нуля устройств для отбора проб на отдельные фильтры проводят несколько измерений (не менее десяти) на одном и том же фильтре при минимальной продолжительности отбора проб. Вычисляют и записывают среднее значение и стандартное отклонение результатов измерений.

5.1.5.2 Повторяемость

Для оценки повторяемости нуля процедуры повторяют для большей продолжительности отбора проб.

Установка нуля для устройств с раздельным отбором и анализом пробы может проводиться путем повторных измерений на одном и том же фильтре для типичного времени счета импульсов. Проводят не менее десяти измерений, вычисляют и записывают среднее значение и стандартное отклонение результатов измерений.

Примечание - Следует помнить, что насос должен быть отсоединен (воздух или частицы не должны отбираться устройством). Повторные измерения на одной и той же части фильтрующей ленты или на одном и том же фильтре будут подчиняться закону распределения Пуассона; в этом случае стандартное отклонение равно квадратному корню из среднего значения числа импульсов. Для проверки выполнения закона распределения Пуассона необходимо прямое измерение общего числа импульсов.

5.2 Калибровка

Примечание - Приведенные процедуры не описывают калибровку пробоотборных устройств, т.к. она является общей для всех устройств отбора проб твердых частиц, содержащихся в атмосферном воздухе.

5.2.1 Метод с использованием мембраны с постоянной массой

Градуировку измерителя потока бета-излучения обычно проводят с помощью мембраны (или пластинки) из инертного материала, например, поликарбоната, алюминия, золота и т.п. (см. рисунок 2), с равномерной поверхностной плотностью, которую определяют гравиметрическим методом с применением весов, погрешность которых составляет не более 0,01 мг. Проводят измерение ослабления бета-излучения чистым фильтром, затем на фильтр помещают пластинку, проводят измерение ослабления бета-излучения фильтром с пластинкой и вычисляют калибровочный коэффициент.

Устройства градуируют непосредственно путем регистрирования выходного сигнала в тот момент, когда пластинка находится на фильтре. Повторяемость градуировочной характеристики может быть оценена путем нескольких повторных измерений. Повторяемость выражают в виде стандартного отклонения результатов измерений.

Проверку линейности проводят с использованием нескольких мембран с различной поверхностной плотностью.

5.2.2 Гравиметрический метод (метод взвешивания осажденных частиц)

Градуировку устройств измерителя потока бета-излучения также можно проводить путем взвешивания осажденных твердых частиц. Взвешивают не менее пяти чистых фильтров и проводят их измерения в устройстве. Затем на эти фильтры отбирают твердые частицы и получают пять различных значений массы твердых частиц. После отбора проб массу отобранных на фильтр твердых частиц измеряют гравиметрическим методом, а калибровочный коэффициент определяют методом линейного регрессионного анализа зависимости между показаниями измерителя потока и значениями массы частиц.

Для устройств, использующих различные типы фильтров, необходимо проводить серии измерений для определения изменения калибровочного коэффициента в зависимости от типа фильтра. Так как экспериментальные наблюдения показывают, что отклик любого измерителя потока бета-излучения зависит от типа используемой мембраны, особое внимание должно уделяться представлению результатов измерений.

Рисунок 2 - График зависимости ослабления потока излучения, рассчитанного на основе экспоненциального закона, от источника 14С, градуировочными материалами от их поверхностной плотности

6 Порядок проведения измерений

6.1 Продолжительность отбора проб

Продолжительность отбора проб рассчитывают таким образом, чтобы измеренная масса была максимальной, но не превышала общей массы, которая уменьшила бы значение N1 более чем на 75 %.

6.2 Измерение автоматическим устройством с последовательным или одновременным отбором и анализом проб

На устройстве с последовательным или одновременным отбором и анализом проб, описанном в 4.1, выполняют следующие действия:

- измеряют ослабление бета-излучения чистым фильтром;

- выбирают продолжительность отбора проб;

- прокачивают соответствующий объем воздуха через фильтрующую ленту для сбора твердых частиц;

- измеряют ослабление бета-излучения фильтрующей лентой с осажденными твердыми частицами либо по окончании отбора проб (режим последовательного отбора и анализа проб), либо в процессе отбора проб (режим одновременного отбора и анализа проб);

- вычисляют общую массу частиц с использованием калибровочного коэффициента; вычисляют массовую концентрацию твердых частиц в анализируемом воздухе.

6.3 Измерение автоматическим устройством с раздельным отбором и анализом проб

Каждому чистому фильтру в лаборатории присваивают идентификационный код. С помощью измерителя потока бета-излучения (см. 4.2.2), расположенного в лаборатории (либо в самом устройстве), измеряют ослабление бета-излучения каждым чистым фильтром. Затем эти фильтры помещают в накопитель пробоотборного устройства.

Затем для сбора твердых частиц через фильтр, установленный в пробоотборном устройстве, прокачивают известный объем воздуха.

Измеряют (в лаборатории или в самом устройстве) ослабление бета-излучения частицами, осажденными на фильтрах. Значения, соответствующие чистым фильтрам, вычитают из значений, соответствующих фильтрам с осажденными частицами, и определяют соответствующую массу твердых частиц.

Влияние влажности одинаково для метода поглощения бета-лучей и для метода прямого микрогравиметрического анализа. Поэтому необходимо предпринимать обычные меры при обработке, подготовке, приведении в равновесное состояние и осушке фильтров (в помещении с кондиционированием воздуха или в камере с контролируемыми условиями окружающей среды).

7 Представление результатов измерений

Записывают средние значения температуры Т и давления р в процессе отбора проб.

Результаты измерений, полученные путем деления массы т отобранных твердых частиц (вычисленной на основе результатов измерений ослабления бета-излучения) на объем пробы, приведенный к стандартным температуре T0 и давлению р0, представляют в микрограммах на кубический метр или миллиграммах на кубический метр.

8 Протокол измерений

Протокол измерений должен включать в себя следующую информацию:

a) ссылку на настоящий стандарт;

b) всю информацию, необходимую для полной идентификации проб;

c) используемый метод отбора проб;

d) результаты измерений;

e) описание любых действий, неустановленных настоящим стандартом, или любых особых обстоятельств, которые могли оказать влияние на результаты измерений.

Библиография

W.J. Courtney, R.W. Shaw and T.G. Dubray

Precision and accuracy of a beta gauge for aerosol mass determination. Environ. Sci. Technol., 16, № 4 (1982)

VDI 2463 Part 5

Particulate matter measurement: measurement of mass concentration in ambient air; filter method; automated filter device FH 621

Измерение твердых частиц: измерение массовой концентрации твердых частиц в атмосферном воздухе; метод с использованием фильтра; автоматическое фильтрующее устройство FH 621

VDI 2463 Part 6

Particulate matter measurement: measurement of mass concentration in ambient air; filter method; automated filter device BETA-Staubmeter F 703

Измерение твердых частиц: измерение массовой концентрации твердых частиц в атмосферном воздухе; метод с использованием фильтра; автоматическое фильтрующее устройство BETA-Staubmeter F 703

NF 43017

Qualité de l’air - Mesure de la concentration des matières en suspension dans l’air ambiant - Méthode par absorption des rayonnements bêta

Качество воздуха - Измерение массовой концентрации твердых частиц в атмосферном воздухе. Метод поглощения бета-лучей

 

 

Ключевые слова: воздух атмосферный, твердые частицы, отбор проб, фильтрующий материал, измерения, метод поглощения бета-лучей