|
|
Открытое акционерное общество Проектно-конструкторский и технологический ОАО ПКТИпромстрой |
|
СХЕМЫ ПРИВЯЗКИ СРЕДСТВ
МАЛОЙ МЕХАНИЗАЦИИ
НА ОБЪЕКТАХ СТРОИТЕЛЬСТВА
38-03
2003
Строительными и строительно-монтажными организациями ежегодно выполняется значительные объемы работ по возведению и реконструкции производственных корпусов, объектов культурно-бытового назначения, спортивных и туристических комплексов. Одним из путей повышения эффективности строительного производства является внедрение в практику строительства средств малой механизации, отвечающих современному техническому уровню и технологии выполнения строительно-отделочных и общестроительных работ.
Применение средств малой механизации регламентируется рядом нормативных документов.
В соответствии со СНиП 3.01.01-85* «Организация строительного производства» механизация строительно-монтажных работ на объекте должна обеспечивать повышение производительности труда и сокращение затрат ручного труда за счет применения наиболее эффективных средств малой механизации.
Машины для бестраншейной прокладки коммуникаций применяются в сжимаемых связных грунтах при температуре окружающего воздуха от минус 20 до +45 °С. В сыпучих, водонасыщенных и мерзлых грунтах использовать пневмопробойники не следует. Длина пробиваемых скважин в грунтовых условиях, а также диаметр забиваемых, затягиваемых и формуемых трубопроводов определяется проектом производства работ.
При выполнении схем учтены следующие организационно-технологические условия:
- схему привязки, изображенную на рисунке 36, рекомендуется использовать для забивания стальных труб и извлечения труб из грунта (длина секции трубы принята равной 3 м), а также для затягивания трубопроводов из асбестоцементных труб пневмопробойником ИП-4603А;
- изображены входные приямки для машины СО-134, поскольку габаритные размеры входного приямка для этой машины наибольшие;
- разрабатываются приямки в суглинке (с соответствующей данным грунтовым условиям величиной откосов);
- глубина заложения принята максимальной в соответствии с рекомендациями завода-изготовителя;
- производство работ ведется в стесненных условиях в направлении забивки (проходки);
- рекомендуемое инвентарное ограждение - ограждение траншей и опасных зон на стройплощадке;
- в комплект средств механизации для выполнения работ с применением пневмопробойников, кроме приведенных в разделе «Б», входит электрическая ручная трамбовка ИЭ-4502А для уплотнения дна приямков.
Целью настоящей работы является комплексное освещение вопросов использования средств малой механизации штукатурных, малярных и общестроительных работ на объектах строительства.
В настоящей работе приведены сведения о последних модификациях строительно-отделочных машин по состоянию на 2003 г.
Работа предназначена для инженерно-технических работников, занимающихся разработкой ППР с использованием машин для штукатурных и малярных работ, бестраншейной прокладки коммуникаций и забивании труб, набрызга бетонной смеси, сверления железобетона, а также линейных ИТР строительных организаций, занятых эксплуатацией указанных средств малой механизации.
В разработке схем привязки средств малой механизации принимали участие сотрудники ОАО ПКТИпромстрой - к.т.н. Едличка С.Ю., Колобов А.В., Бычковский Б.И., Громова Ю.А., Савина О.А.
Предназначена для приема товарного раствора подвижностью не менее 4 см, его побуждения, просеивания, транспортирования к рабочему месту, нанесения на оштукатуриваемые поверхности.
Техническая характеристика
Производительность, м3/ч:
I передача 2
II передача 4
Вместимость приемного бункера, м3 (не менее) 2,5
Напряжение, В 220/380
Установленная мощность, кВт (не более) 35
Дальность подачи раствора при наличии двух колен под углом 90°, м (не менее):
по горизонтали
I передача 250
II передача 150
по вертикали
I передача 60
II передача 30
Минимальная температура окружающей среды, °С -25
Габаритные размеры, мм.
длина 5200
ширина 3000
высота 2500
Масса, кг 5000
Численность и квалификация обслуживающего персонала, чел (разряд) 1 (IV)
Ресурс до первого капитального ремонта, ч 2400
Привод шнека
Частота вращения шнека, с-1 0,6
Электродвигатель
мощность, кВт 5,5
частота вращения, с-1 24
Растворонасос
Тип Противоточный без промежуточной жидкости со свободно действующими клапанами
Производительность, м3/ч:
I передача 2
II передача 4
Максимальное рабочее движение, МПа
I передача 3,5
II передача 1,75
Двигатель:
мощность, кВт 7,5
частота вращения, с-1 24
Система водоснабжения
Электронагреватель:
тип Трубчатый ТЭН-60А
количество, шт. 3
мощность, кВт 0,63
Система обогрева
Электронагреватель
тип Трубчатый ТЭН-85А
количество, шт. 4
мощность, кВт 1
Вентилятор:
тип Центробежный Ц 14-16
мощность двигателя, кВт 0,18
Пневмооборудование
Компрессор
тип У-43102
производительность, м3/ч 25
номинальное давление, МПа 0,6
Гидрооборудование
Насос
тип Шестеренный НШ-32
подача, м3/ч 2,98
давление нагнетания, МПа 8
Двигатель
мощность, кВт 7,5
частота вращения, с-1 16,6
Система вентиляции
Вентилятор
тип Осевой 06-300 № 4
мощность двигателя, кВт 0,12
1 Рукав подачи раствора III (VIII)-16-50-71-У и III (VIII)-16-38-57-У
(ГОСТ
18698-79*), м 70
2 Форсунка пневматическая (от штукатурного агрегата СО-85), шт. 1
3 Кабель КРПТ 3´16 + 1´6, м 50

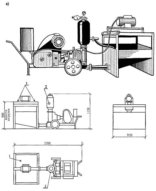
а) общий вид; б) вид спереди; в) вид сборку; г) вид сверху
1 - направление подачи исходного материала; 2 - патрубок выдачи готового продукта
Рисунок 1 - Штукатурная станция СО-114
Подготовительные работы по установке штукатурной станции СО-114
Подготовить спланированную и укатанную горизонтальную площадку.
Установить под полозья станции доски.
Сделать удобный подъезд автосамосвалов к приемному бункеру.
Сделать упоры для предотвращения ударов колеса автосамосвала о бункер.
При отрицательной температуре воздуха должна быть обеспечена надежная теплоизоляция системы водоснабжения и раствороводов.

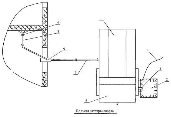
1 - штукатурная станция СО-114;
2 - приямок для отходов; 3 - рукав подачи воды; 4 - форсунка;
5 - сливной желоб; 6 - приемный бункер; 7 - рукав подачи раствора; 8 - рукав
подачи сжатого воздуха;
9 - струбцина
Рисунок 2 - Схема привязки штукатурной станции СО-114
Предназначен для приготовления, процеживания и транспортирования штукатурного раствора подвижностью не менее 7 см при производстве отделочных работ в строительстве.
Техническая характеристика
Производительность агрегата при подвижности 2
раствора 10 см по конусу СтройЦНИЛ, м3/ч
Растворосмеситель
Объем готового замеса, м3 0,065
Вместимость смесительного барабана по загрузке, м3 0,08
Частота вращения вала смесительного барабана, с-1 0,6
Электродвигатель:
мощность, кВт 1,5
напряжение, В 380
частота вращения, с-1 24
Растворонасос
Давление, МПа 1,5
Дальность подачи раствора, м:
по горизонтали 100
по вертикали 20
Электродвигатель:
мощность, кВт 3
напряжение, В 380
частота вращения, с-1 23,75
Вибросито
Электродвигатель
мощность, кВт 0,75
напряжение, В 380
частота вращения, с-1 47,2
Габаритные размеры агрегата, мм:
длина (со сложенным дышлом) 1760
ширина 1350
высота 1400
Масса, кг 750
Основные комплектующие
1 Рукав подачи раствора III (VIII)-16-38-57-У (ГОСТ 18698-79*), м 40
2 Форсунка штукатурная, шт. 1
3 Кабель КРПТ 3´1,5 + 1´1, м 10

а) общий вид; б) вид спереди; в) вид сбоку; г) вид сверху
1 - направление подачи исходных материалов; 2 - патрубок выдачи готового продукта
Рисунок 3 - Агрегат штукатурный СО-57Б
Подготовительные работы по установке штукатурного агрегата СО-57Б
Установить агрегат на спланированной горизонтальной площадке под временным навесом на аутригеры.
В зимнее время агрегат должен устанавливаться в утепленном помещении.
При работе в вечернее время агрегат должен быть освещен.
Силовую и осветительную сети заключить в трубы и оградить от возможных повреждений.
Вращающиеся детали надежно оградить.

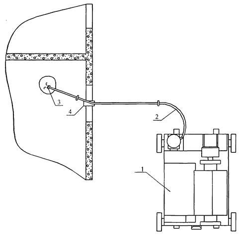
1 - агрегат СО-57Б; 2 - рукав подачи раствора; 3 - форсунка; 4 - струбцина
Рисунок 4 - Схема привязки штукатурного агрегата СО-57Б
Предназначен для приготовления, просеивания, транспортирования к месту укладки и нанесения штукатурного раствора на обрабатываемую поверхность.
Техническая характеристика
Производительность, м3/ч
при приготовлении раствора 2
при работе на готовом растворе 4
Скип-смеситель
Объем готового замеса, м3 0,065
Вместимость смесительного барабана по загрузке, м3 0,08
Частота вращения вала смесительного барабана, с-1 0,53
Частота вращения вала траверсы подъема (опускания) скипа, с-1 0,06
Электродвигатель:
мощность, кВт 1,5
напряжение, В 380
частота вращения, мин-1 1400
Растворонасос
Дальность подачи раствора, м
по горизонтали 250
по вертикали 60
Номинальное рабочее давление, МПа 3,5
Число ходов поршня в минуту 40; 80
Диаметр поршня, мм 110
Ход поршня, мм 120
Электродвигатель
мощность, кВт 7,5
напряжение, В 380
частота вращения, мин-1 1400
Вибросито с бункером
Вместимость бункера, м3 0,13
Мощность вибратора, кВт 0,1
Напряжение, В 380/220
Частота колебаний, Гц 48
Пневмооборудование
Компрессор СО-7А
производительность, м3/ч 30
рабочее давление, МПа 0,6
вместимость ресивера, м3 0,022
Электродвигатель
мощность, кВт 4
напряжение, В 380
частота вращения, с-1 17
Габаритные размеры агрегата, мм
длина 3160
ширина 1460
высота 1510
Масса, кг 1025
Наибольшая скорость транспортирования, км/ч 15
Ресурс до первого капитального ремонта, ч 2000
Численность и квалификация обслуживающего персонала, чел (разряд) 1 (III)
Основные комплектующие
1 Рукав подачи раствора III (VIII)-16-50-71-У и
III (VIII)-16-38-57-У (ГОСТ
18698-79*), м 70
2 Форсунка пневматическая, шт. 1
3 Кабель КРПТ 3´2,5 + 1´1,5, м 14

а) общий вид; б) вид спереди; в) вид сбоку; г) вид сверху
1 - направление загрузки
исходного материала; 2 - патрубок выдачи готового продукта;
3 - патрубок подачи сжатого воздуха
Рисунок 5 - Агрегат штукатурный СО-85А
Подготовительные работы по установке штукатурного агрегата СО-85А
Установить агрегат на спланированной горизонтальной площадке на аутригеры.
При работе в вечернее время агрегат должен быть освещен.

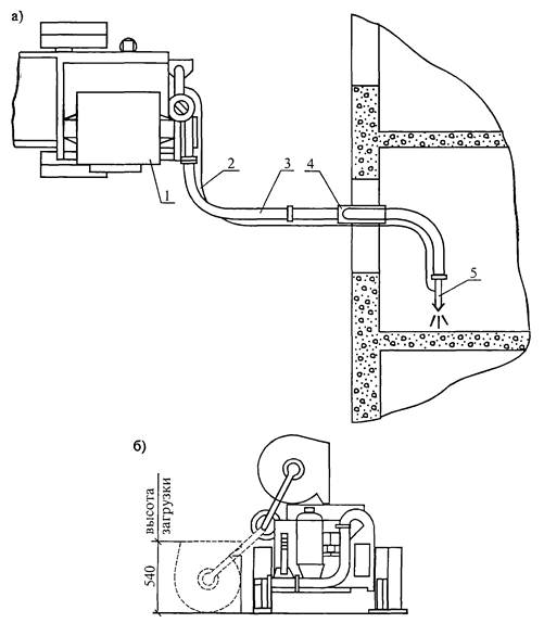
а) схема привязки; б) установка скипа-смесителя при загрузке вручную;
1 - агрегат СО-85А; 2 - рукав подачи сжатого воздуха; 3 - рукав подачи раствора; 4 - струбцина; 5 - форсунка
Рисунок 6 - Схема привязки штукатурного агрегата СО-85А
Предназначен для процеживания, побуждения, транспортирования и нанесения штукатурного раствора на обрабатываемую поверхность при помощи форсунки.
Техническая характеристика
Производительность, м3/ч (не менее) 1,0
Габаритные размеры агрегата, мм:
длина 1850
ширина 1160
высота 870
Растворонасос
Номинальное рабочее давление, МПа 1,0
Дальность подачи раствора, м
по горизонтали 50
по вертикали 15
Число двойных ходов поршня в мин 88 ± 5
Электродвигатель
мощность, кВт 1,1
напряжение, В 380
частота вращения, с-1 25
Габаритные размеры, мм
длина 1285
ширина 350
высота 870
Бункер с виброситом
Вместимость бункера, м3 0,06
Частота вращения вала побудителя, с-1 1,92
Частота колебаний сита, Гц 50
Электродвигатель
мощность, кВт 0,75
напряжение, В 380
частота вращения, с-1 25
Габаритные размеры бункера с виброситом, мм
длина 1160
ширина 540
высота 780
Масса, кг
общая 330
агрегата (без рукава напорного и форсунки) 250
растворонасоса (без рукава напорного) 120
бункера с виброситом 130
Основные комплектующие
1 Рукав подачи раствора III (VIII)-16-38-57-У (ГОСТ 18698-79*), м 30
2 Форсунка, шт. 1
3 Кабель КРПТ 3´1,5 + 1´1,5, м 20

а) общий вид; б) вид спереди; в) вид сбоку; г) вид сверху
1 - направление загрузки исходного материала; 2 - патрубок выдачи готового продукта
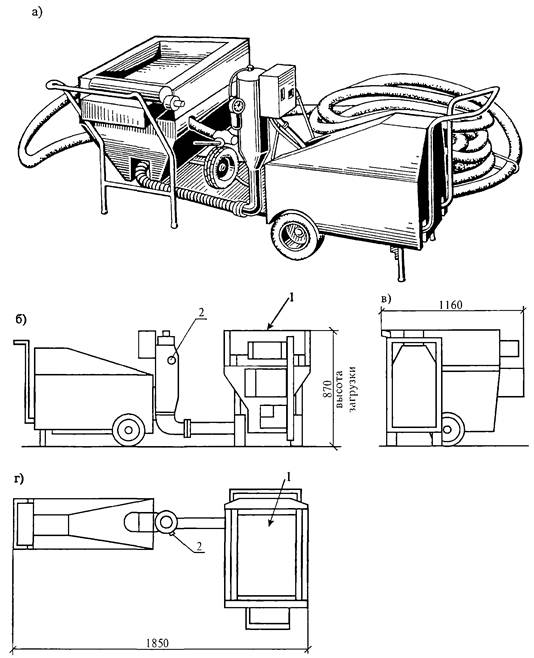
Рисунок 7 - Агрегат штукатурный СО-152 для поэтажных работ
Подготовительные работы по установке агрегата штукатурного СО-152 для поэтажных работ
Установить штукатурный агрегат на спланированной горизонтальной площадке.
Обеспечить подвоз штукатурного раствора.
Подвести водопроводную сеть или установить бак с водой.

1 - штукатурный агрегат СО-152; 2 - рукав подачи раствора; 3 - форсунка
Рисунок 8 - Схема привязки агрегата штукатурного СО-152 для поэтажных работ
Предназначена для приготовления и подачи к месту укладки жестких растворов подвижностью 3 - 5 см.
Техническая характеристика
Производительность, м3/ч 2,5
Вместимость (по загрузке), м3 0,25
Дальность подачи раствора, м
по вертикали 40
по горизонтали 115
Режим работы Повторно-кратковременный
Продолжительность полного цикла, мин. 2 - 7
Предельные значения температуры окружающей среды, °С
минимальная -5
максимальная +40
Система управления машиной Электропневматическая
Рабочее давление сжатого воздуха, МПа 0,588
Расход сжатого воздуха, м3/мин 2,2 - 2,5
Габаритные размеры, мм:
длина 2500
ширина 800
высота 1250
Масса (без напорного рукава, шланга и выходного насадка), кг 690
Масса общая, кг 985
Численность и квалификация обслуживающего 1 (III)
персонала, чел. (разряд)
Ресурс до первого капитального ремонта, ч 2000
Привод мешалки
Электродвигатель
мощность, кВт 7,5
частота вращения приводного вала, мин-1 63
крутящий момент, кг · см 107
напряжение, В 380
частота тока, Гц 50
Основные комплектующие
1 Рукав подачи раствора III (VIII)-10-63-82-У (ГОСТ 18698-79*), м 100
2 Рукав подачи сжатого воздуха 32´43-16 (ГОСТ 10362-76*), м 20
3 Насадок выходной, шт. 1
4 Кабель КРПТ 3´2,5 + 1´1,5, м 50

а) общий вид; б) вид спереди; в) вид сбоку; г) вид сверху
1 - люк для загрузки исходных
материалов; 2 - патрубок выдачи готового продукта;
3 - патрубок подключения к компрессору
Рисунок 9 - Машина СО-126 для приготовления и подачи жестких растворов
Подготовительные работы по установке машины СО-126
Подготовить спланированную горизонтальную площадку.
Наклон машины в продольном и поперечном направлении не должен превышать 5°.
Подсоединить машину к отдельно стоящему компрессору, выполнить заземление.
При отрицательной температуре воздуха должна быть обеспечена надежная теплоизоляция системы водоснабжения и растворопровода.

1 - машина СО-126; 2 - компрессор; 3 - рукав подачи сжатого воздуха; 4 - рукав подачи раствора; 5 - насадок выходной
Рисунок 10 - Схема привязки машины СО-126 для приготовления и подачи жестких растворов
Предназначена для приготовления и подачи к месту укладки цементно-песчаных растворов подвижностью 3 - 5 см по конусу СтройЦНИЛ и бетонов жесткостью 16-32С (ГОСТ 10181-2000) крупностью фракций до 8 мм, а также для приема, побуждения и подачи готовых растворов на строительных объектах промышленного и гражданского назначения.
Техническая характеристика
Производительность, м3/ч 2,5
Вместимость рабочей емкости, м3 0,3
Дальность подачи раствора, м
по вертикали 80
по горизонтали 200
Установленная мощность, кВт 26
Режим работы Повторно-кратковременный
Предельные значения температуры окружающей среды, °С
минимальная -5
максимальная +40
Система управления машиной Электропневматическая
Габаритные размеры машины, мм
длина (со сложенным дышлом) 3500
ширина 1500
высота 1655
Высота загрузки, мм 1000
Масса без напорных рукавов и выходного насадка, кг 1700
Средний ресурс до первого капитального ремонта, ч 2500
Численность и квалификация обслуживающего 1 (III)
персонала, чел (разряд)
Компрессор
Рабочее давление воздуха, МПа 0,7
Расход сжатого воздуха, м3/мин 2,5
Электродвигатель.
мощность, кВт 18,5
частота вращения, с-1 25
напряжение, В 380
Привод мешалки
Электродвигатель:
мощность, кВт 7,5
частота вращения, с-1 25
крутящий момент, кг×см 107
напряжение, В 380
частота тока, Гц 50
Основные комплектующие
1 Рукав подачи раствора III (VIII)-10-63-82-У (ГОСТ 18698-79*), м 104,1
2 Рукав подачи сжатого воздуха 32´43-16 (ГОСТ 10362-76*), м 4,32
3 Насадок выходной, шт. 1
4 Кабель КРПТ 3´6 + 1´4, м 20

а) общий вид; б) вид спереди; в) вид сбоку; г) вид сверху
1 - люк для загрузки исходных материалов; 2 - патрубок выдачи готового продукта
Рисунок 11 - Машина СО-165 для приготовления и транспортирования жестких растворов
Подготовительные работы по установке машины СО-165 для приготовления и транспортирования жестких растворов
Установить машину на спланированной горизонтальной площадке с удобными путями подъезда со стороны резервуара и свободными проходами для осмотра и ремонта механизмов. Наклон в продольном и поперечном направлении не должен превышать 10°.
Напорный рукав у места подсоединения к машине уложить на опору или другое возвышение высотой 0,5 м.

1 - машины СО-165; 2 - рукав подачи раствора; 3 - насадок выходной; 4 - струбцина; 5 - опора инвентарная
Рисунок 12 - Схема привязки машины СО-165 для приготовления и транспортирования жестких растворов
Предназначена для приготовления растворов из сухих смесей на гипсовых вяжущих замедленного схватывания, их транспортирования к рабочему месту и нанесения на оштукатуриваемые поверхности на объектах промышленного, гражданского и сельскохозяйственного назначения.
Техническая характеристика
Производительность, м3/ч 1
Дальность подачи раствора, м:
по вертикали 45
по горизонтали 27
Рабочее давление, МПа 1,96
Расход сжатого воздуха, м3/мин (не менее) 0,25
Влажность сухой смеси, % (не более) 10
Высота загрузки, м 1
Динамическое давление воды на вводе в машину, МПа (не менее) 0,196
Минимальная температура окружающей среды, °С +5
Численность и квалификация обслуживающего 1 (III)
персонала, чел. (разряд)
Частота вращения лопастей бункера, с-1 1,35
Габаритные размеры, мм
длина 1600
ширина 700
высота 1000
Масса (без рукава, форсунки и компрессора), кг 157
Средний срок службы до первого капитального ремонта, ч 1500
Привод
Электродвигатель Мотор-редуктор
мощность, кВт 3
частота вращения, с-1 25
напряжение, В 380
частота тока, Гц 50
Основные комплектующие
1 Рукав подачи раствора III (VIII)-20-25-43-У (ГОСТ 18698-79*), м 15
2 Рукав подачи воды 16´24,5-6,3 (ГОСТ 10362-76*), м 10,5
3 Рукав подачи сжатого воздуха 10´19-10В (ГОСТ 10362-76*), м 25
4 Металлорукав РЗ-Ц-Х-10 (ТУ 22-10.1104-74), м 6
5 Кабель КРПС 3´2,5 + 2´1,5, м 25

а) общий вид; б) вид спереди; в) вид сбоку; г) вид сверху
1 - направление подачи исходного
материала; 2 - патрубок выдачи готового продукта;
3 - патрубок подачи сжатого воздуха; 4 - патрубок подачи воды
Рисунок 13 - Машина СО-149 для приготовления и нанесения гипсовых растворов
Подготовительные работы по установке машины СО-149 для приготовления и нанесения гипсовых растворов
Машина устанавливается и работает в пределах этажа строящегося здания.
Подключение машины производится в следующей последовательности: к электроэнергии, водопроводу, компрессору.
В пределах этажа машину перемещает за ручку один человек. С этажа на этаж машину переносят по частям два человека (бункер с приборами отделяется от привода с затворителем).

1 - машина СО-149; 2 - компрессор; 3, 5 - рукава подачи сжатого воздуха; 4 - рукав подачи воды; 6 - рукав подачи раствора; 7 - форсунка
Рисунок 14 - Схема привязки машины СО-149 для приготовления и нанесения гипсовых растворов
Предназначены для транспортирования штукатурных растворов и могут быть использованы для нанесения растворов на оштукатуриваемые поверхности с помощью сопла.
Техническая характеристика
СО-48В СО-49В
Производительность, м3/ч (не менее) 2 4
Максимальное давление, МПа (кгс/см2) (не менее) 1,5 (15)
Дальность подачи при наличии двух колен под углом 90° и подвижностью раствора 10 см по конусу СтройЦНИЛ, м (не менее)
по горизонтали 100 160
по вертикали 20 35
Подвижность перекачиваемых растворов по конусу СтройЦНИЛ, 7
см (не менее)
Крупность фракций песка в растворе, мм (не более) 5
Мощность электродвигателя, кВт (не менее) 2,2 4
Частота вращения, мин-1 1430 1500
Питание от четырехпроводной сети трехфазного тока с глухозаземленной нейтралью
Напряжение, В 220/380
Частота тока, Гц 50
Номинальная потребляемая мощность, кВт 2,05 3,55
Температура окружающей среды, °С
минимальная +1
максимальная +35
Габаритные размеры растворонасосов (без комплекта рукавов), мм (не более)
длина 3500
ширина 950
высота 1150
Масса, кг (не более) 400 500
Ресурс до первого капитального ремонта, мото-ч (не менее) 2000
Вибросито
Производительность, м3/ч (не менее) 2 4
Мощность вибратора, кВт 0,26
Вместимость бункера, м3 (не менее) 0,11
Основные комплектующие
1 Рукав подачи раствора III (VIII)-16-50-71-У (ГОСТ 18698-79*), м 20 30
2 Рукав подачи раствора III (VIII)-16-38-57-У (ГОСТ 18698-79*), м 10 10
3 Сопло, шт. 1 1

а) общий вид; б) вид спереди; в) вид сбоку; г) вид сверху
1 - направление загрузки исходного материала; 2 - патрубок выдачи готового продукта
Рисунок 15 - Растворонасосы СО-48В, СО-49В
Подготовительные работы по установке растворонасосов СО-48В и СО-49В
Растворонасосы необходимо установить в закрытом помещении или под навесом, при этом радиус изгиба рукава растворонасоса не должен превышать 750 мм.
Со всех сторон растворонасоса необходимо иметь проходы шириной не менее 1 м.

1 - растворонасос; 2 - рукав подачи раствора; 3 - струбцина
Рисунок 16 - Схема привязки растворонасосов СО-48В и СО-49В
Предназначен для транспортирования штукатурных растворов.
Техническая характеристика
Производительность, м3/ч 6
Максимальное давление, МПа 1,5
Дальность подачи раствора, м
по горизонтали 250
по вертикали 50
Мощность электродвигателя, кВт 7,5
Напряжение, В 220/380
Частота тока, Гц 50
Частота вращения, с-1 24,3
Масса, кг 400
Вибросито
Мощность вибратора, кВт 0,25
Основные комплектующие
Рукав подачи раствора III (VIII)-16-63-86-У (ГОСТ 18698-79*), м 40

а) общий вид; б) вид спереди; в) вид сбоку; г) вид сверху
1 - направление загрузки исходного материала; 2 - патрубок выдачи готового продукта
Рисунок 17 - Растворонасос СО-50А
Подготовительные работы по установке растворонасоса СО-50А
Растворонасос необходимо установить в закрытом помещении или под навесом.
Со всех сторон растворонасоса необходимо иметь проходы шириной не менее 1 м.

1 - растворонасос СО-50А; 2 - рукав подачи раствора; 3 - струбцина
Рисунок 18 - Схема привязки растворонасоса СО-50А
Предназначена для приема полуфабрикатов, приготовления, процеживания, транспортирования и нанесения на обрабатываемую поверхность малярных составов.
Техническая характеристика
Производительность технологических линий, м2/ч
линии водных и водноклеевых красок, грунтовок, клеевых колеров 500
линии клеевых и масляных шпатлевок 380
линии масляных колеров 250
Винтовой насос малярного агрегата, производительность, л/с (м3/ч)
минимальная 0,1 (0,36)
максимальная 0,2 (0,72)
давление нагнетания, МПа (кгс/см2) 2 (20)
Винтовой насос загрузчика.
производительность, л/с (м3/ч):
минимальная 0,56 (2)
максимальная 1,12 (4)
давление нагнетания, МПа (кгс/см2) 0,5 (5)
установленная мощность, кВт 38
Дальность подачи малярных составов, м
по горизонтали 120 - 140
по вертикали 40 - 50
Количество одновременно работающих линий 3
Количество и квалификация обслуживающего персонала, чел (разряд) 3 (IV)
Габаритные размеры, мм:
длина 6800
ширина 2500
высота 3400
Технологическое оборудование
Вибросито
Тип СО-130
Производительность, кг/ч 700
Амплитуда колебаний сита, мм 2
Электродвигатель.
мощность, кВт 0,18
напряжение, В 220/380
частота вращения, с-1 50
частота тока, Гц 50
Количество, шт. 1
Краскотерка жерновая
Тип СО-116
Производительность по клеевой краске, кг/ч 110
Тонкость помола, мкм 40
Электродвигатель:
мощность, кВт 2,2
напряжение, В 220/380
частота тока, Гц 50
Количество, шт. 1
Бак красконагнетательный
Тип СО-12А
Вместимость бака, л 20
Давление сжатого воздуха, МПа 0,4
Диапазон регулирования давления воздуха редуктором, МПа 0,05 - 0,4
Количество, шт. 1
Краскораспылитель ручной пневматический
Тип СО-71А
Расход краски при работе, л/мин
от красконагнетательного бака 0,32
с наливным бачком 0,2
Давление на краску, МПа 0,05
Количество, шт. 1
Аппарат для окраски фасадов зданий
Тип СО-66А
Производительность
аппарата, м2/ч 1000
растворонасоса, м3/ч 1
Давление, МПа
растворонасоса 1
при работе удочки 0,4
Мощность электродвигателя растворонасоса, кВт 1,1
Количество, шт. 1
Вибратор общего назначения с круговыми колебаниями электрический
Тип ИВ-99
Частота колебаний, Гц 47
Вынуждающая сила, Н 1960, 2450, 3000, 3920
Электродвигатель
тип Асинхронный трехфазный с
короткозамкнутым ротором
мощность, кВт 0,26
напряжение, В 220/380
ток, А 1,5/0,9
частота тока, Гц 50
Количество, шт. 1
Система водоснабжения
Электроводонагреватель
тип Проточный ЭПВ-2А
мощность, кВт 10,5
Система вентиляции и отопления
Вентилятор
тип Центробежный Ц 14-16
мощность двигателя, кВт 0,18
Электронагреватель
тип Трубчатый ТЭН-60А
мощность, кВт 0,63
количество, шт. 6
Пневмооборудование
Компрессор
тип СО-7А
производительность, м3/ч 0,5
максимальное давление, МПа 0,7
мощность, кВт 4
количество, шт. 2
Масса станции, кг 6000
Шасси Прицеп 2П-5 модели ГКБ-817
Ресурс до первого капитального ремонта, ч, не менее 2700
1 Рукав подачи отделочных материалов III (VIII)-20-40-63-У
(ГОСТ 18698-79*), м 120
2 Рукав подачи отделочных материалов III (VIII)-20-16-32-У
(ГОСТ 18698-79*), м 90
3 Рукав подачи воды 40´49,5-16 (ГОСТ 10362-76*), м 22
4 Рукав подачи сжатого воздуха КМ9-10В (ГОСТ 10362-76*), м 200

а) общий вид; б) вид спереди; в) вид сбоку; г) вид сверху
1 - направление загрузки исходного материала; 2 - патрубки выдачи готового продукта
Рисунок 19 - Станция малярная СО-115
Подготовительные работы по установке малярной станции СО-115
Установить станцию таким образом, чтобы была обеспечена удобная доставка малярных составов на станцию и от станции к местам производства малярных работ.
При выполнении работ в холодное время года необходимо утеплить рукав подачи воды и входной патрубок.

1 - станция малярная СО-115; 2 - рукав подачи отделочных материалов; 3 - рукав подачи сжатого воздуха; 4 - удочка
Рисунок 20 - Схема привязки малярной станции СО-115
Предназначен для окраски фасадов зданий водными, синтетическими и другими фасадными красками вязкостью до 60 с по ВЗ-4 методом воздушного распыления.
Техническая характеристика
Производительность по окраске (при двух малярных удочках), м2/ч 500
Высота подачи, м 40
Красконагнетательный бак
количество, шт. 2
вместимость, м 0,050
Удочка типа СО-21А
количество, шт. 2
давление сжатого воздуха, МПа 0,4
Компрессор СО-7Б
производительность, м3/ч 30
давление сжатого воздуха, МПа 0,6
вместимость ресивера, м3 0,022
Электродвигатель
мощность, кВт 4,0
частота вращения, с-1 48
напряжение, В 380
Температура окружающей среды, °С
минимальная +1
максимальная +40
Габаритные размеры, мм:
длина с дышлом 2760
длина без дышла 1750
ширина 1230
высота 1100
Масса, кг 535
Скорость передвижения, км/ч 15
Ресурс до первого капитального ремонта, ч 4000
Основные комплектующие
1 Рукав подачи сжатого воздуха 10´19-10В (ГОСТ 10362-76*), м 90
2 Рукав подачи отделочных материалов В (П)-10-9-21
(ГОСТ 18698-76*), м 90
3 Кабель КРПТ 3´2,5 + 1´1,5, м 20

а) общий вид; б) вид спереди; в) вид сбоку; г) вид сверху
1 - направление подачи исходного материала; 2 - патрубок выдачи готового продукта; 3 - патрубок подачи сжатого воздуха
Рисунок 21 - Агрегат окрасочный передвижной СО-92А
Подготовительные работы по установке агрегата окрасочного передвижного СО-92А
Агрегат необходимо установить на спланированной горизонтальной площадке под навесом на 4 аутригера. Под пяты аутригеров подложить деревянные колодки.
При выполнении работ в зимнее время с подогретым окрасочным составом необходимо красконагнетательные баки утеплить стекловатой или строительным войлоком.

1 - агрегат окрасочный СО-92А; 2 - рукав подачи отделочных материалов; 3 - рукав подачи сжатого воздуха; 4 - удочка
Рисунок 22 - Схема привязки агрегата окрасочного передвижного СО-92А
Предназначен для приготовления, процеживания, транспортирования и нанесения на обрабатываемую поверхность водных огрунтовочных и окрасочных составов. Допускается использование агрегата для работы на масляных и клеевых шпатлевках.
Техническая характеристика
Производительность, м3/ч (не менее) 0,360
Высота загрузки, мм 1150
Насос
Максимальное рабочее давление, МПа (кгс/см2) 2 (20)
Дальность подачи, м (не менее)
по вертикали 50
по горизонтали 80
Электродвигатель
мощность, кВт 1,5
напряжение, В 380
частота вращения, с-1 23,6
Смеситель
Вместимость бункера, м3 0,06
Электродвигатель
мощность, кВт 1,1
напряжение, В 380
частота вращения, с-1 23,6
Вибросито
Электродвигатель
мощность, кВт 0,25
напряжение, В 380
частота вращения, с-1 46,2
Температура окружающей среды, °С
минимальная 0
максимальная +40
Габаритные размеры агрегата, мм
длина 1300
ширина 600
высота 1250
Количество и квалификация обслуживающего персонала, чел (разряд) 1 (III)
Ресурс до первого капитального ремонта, ч 1500
Основные комплектующие
1 Рукав подачи отделочных материалов III (VIII-20-32-52-У
(ГОСТ 18698-79*), м 40
2 Рукав подачи воды 16В-20, м 10
3 Рукав подачи сжатого воздуха 9Г-10, м 20
4 Кабель КРПТ 3´2,5 + 1´1,5, м 10

а) общий вид; б) вид спереди; в) вид сбоку; г) вид сверху
1 - направление загрузки исходного материала; 2 - патрубок выдачи готового продукта
Рисунок 23 - Агрегат малярный СО-154

1 - агрегат малярный СО-154; 2 - компрессор; 3 - рукав подачи сжатого воздуха; 4 - рукав подачи отделочных материалов; 5 - удочка
Рисунок 24 - Схема привязки малярного агрегата СО-154
Предназначен для подачи и нанесения на обрабатываемую поверхность шпатлевок, грунтовок, замазок, клеевых и водноклеевых красок с содержанием твердой фазы до 50 %, с размерами зерен фракции до 3 мм и подвижностью не менее 7 см.
Техническая характеристика
Производительность, м3/ч
на первой скорости 0,36
на второй скорости 0,72
Дальность подачи материалов, м
по горизонтали 70
по вертикали 35
Рабочее давление, МПа 2,0
Расход сжатого воздуха, м3/мин 0,15
Давление воздуха, подаваемого к распылителю, МПа 0,6
Минимальная температура окружающей среды, °С +1
Численность и квалификация обслуживающего
персонала, чел. (разряд) 1 (III)
Высота по бункеру (загрузочная) 820
Габаритные размеры, мм.
длина 1280
ширина 580
высота 940
Масса, кг 120
Привод
Электродвигатель
мощность, кВт
на первой скорости 1,1
на второй скорости 1,5
напряжение, В 380
частота вращения, с-1
на первой скорости 25
на второй скорости 50
Основные комплектующие
1 Рукав подачи отделочных материалов 25´34-25 (ГОСТ 10362-76*), м 15
2 Рукав подачи отделочных материалов 16´27-25 (ГОСТ 10362-76*), м 10
3 Сопло диаметром 8 мм 1 шт.
4 Сопло диаметром 6 мм 1 шт.
5 Удочка 1 шт.

а) общий вид; б) вид спереди; в) вид сбоку; г) вид сверху
1 - направление подачи исходных материалов; 2 - патрубок выдачи готового продукта
Рисунок 25 - Агрегат шпатлевочный СО-150

1 - агрегат шпатлевочный СО-150; 2 - компрессор; 3 - рукав подачи сжатого воздуха; 4 - рукав подачи отделочных материалов; 5 - удочка
Рисунок 26 - Схема привязки шпатлевочного агрегата СО-150
Предназначен для окраски поверхностей конструкций лакокрасочными материалами с крупностью твердых частиц до 0,08 мм и условной вязкостью до 100 - 200 с по вискозиметру ВЗ-4.
Техническая характеристика
Насос, тип Специальный, мембранный
Подача без противодавления, м3/ч (л/мин) 0,216 (3,6)
Дальность транспортирования маловязких (до 50 с) материалов, м 40
Высота всасывания, м. вод. ст., не менее 4,0
Давление нагнетания, МПа 23,5+0,5
Электродвигатель, тип Специальный, взрывозащищенный
Мощность, кВт 1,0
Род тока Однофазный
Напряжение, В 220
Частота тока, Гц 50
Частота вращения вала, с-1 22,5
Электрическая защита ввода электропитания - Плавкие вставки в электрощите на ток 10 А
Температура окружающей среды, °С
минимальная -10
максимальная +35
Относительная влажность воздуха при 20 °С, %, не более 80
Температура рабочей среды, °С
минимальная +5
максимальная +50
Температура агрегата при включении, °С (не менее) +5
Габаритные размеры агрегата, мм
длина 845
ширина 435
высота 705
Масса агрегата, кг (не более) 50
Ресурс до первого капитального ремонта, ч 1400
Основные комплектующие
1 Шланг высокого давления, полимерный,
с внутренним диаметром 6 мм, м 10
2 Электрический кабель сечением
токоведущих жил 4 мм2
и наружным диаметром 16 мм, м 6
3 Пистолет Г-10-1 с вставным фильтром с сетками, шт. 1
4 Всасывающая система для дисперсий с фильтром с
сеткой, рукавами
с внутренним диаметром 12 и 25 мм длиной 1 м, шт. 1
5 Полумуфта штепсельного разъема, шт. 1
Предназначен для окраски поверхностей конструкций лакокрасочными материалами с крупностью твердых частиц до 0,14 мм и условной вязкостью до 150 - 300 с по вискозиметру ВЗ-4.
Техническая характеристика
Насос, тип Специальный, мембранный
Подача без противодавления, м3/ч (л/мин) 0,336 (5,6)
Дальность транспортирования маловязких (до 50 с) материалов, м 90
Высота всасывания, м вод ст., не менее 4,7
Давление нагнетания, МПа 24,0+0,5
Электродвигатель, тип Специальный, взрывозащищенный
Мощность, кВт 2,0
Род тока Трехфазный
Напряжение, В 380
Частота тока, Гц 50
Частота вращения вала, с-1 23,5
Электрическая защита ввода электропитания - Плавкие вставки в электрощите на ток 10 А
Температура окружающей среды, °С
минимальная -10
максимальная +35
Относительная влажность воздуха при 20 °С, %, не более 80
Температура рабочей среды, °С
минимальная +5
максимальная +50
Температура агрегата при включении, °С, не менее +5
Габаритные размеры агрегата, мм
длина 975
ширина 500
высота 610
Масса агрегата, кг, не более 80
Ресурс до первого капитального ремонта, ч 1400
Основные комплектующие
1 Шланг высокого давления, полимерный, с внутренним диаметром 6 мм, м 10
2 Электрический кабель сечением токоведущих жил 2,5
мм
и наружным диаметром 16 мм, м 6
3 Пистолет Г-10-1 с вставным фильтром с сетками, шт. 1
4 Всасывающая система для дисперсий с фильтром с
сеткой, рукавами
с внутренним диаметром 12 и 25 мм длиной 1 м, шт. 1
5 Полумуфта штепсельного разъема, шт. 1

Рисунок 27 - Окрасочный агрегат высокого давления 2600Н

Рисунок 28 - Окрасочный агрегат высокого давления 7000Н
Подготовительные работы по установке окрасочных агрегатов высокого давления 2600Н и 7000Н
При производстве малярных работ с взрывоопасными материалами к взрывоопасной зоне следует относить окрасочные камеры, включая пространство в радиусе 5 м от их открытых проемов, окрашиваемые и смежные с ними помещения, а в больших цехах и на открытом воздухе - пространство в радиусе 5 м от места окраски.
Штепсельный разъем располагать за пределами взрывоопасной зоны.
В условиях пониженной температуры окружающего воздуха агрегат необходимо предварительно выдержать в теплом помещении или прогреть корпус гидропередачи.

«а» - масло гидропередачи; «б» - краска; «в» - зазор для циркуляции масла
1 - электродвигатель; 2 - насос с гидропередачей; 3 - эксцентрик; 4 - маслофильтрующая пробка; 5 - поршень с пружиной; 6 - мембрана; 7 - всасывающий клапан; 8 - нагнетательный клапан; 9 - перепускной клапан; 10 - фильтр всасывающей системы; 11 - регулятор давления; 12 - рукав подачи отделочных материалов; 13 - пистолет с фильтром и соплом
Рисунок 29 - Гидравлическая схема агрегата 2600Н

«а» - масло гидропередачи; «б» - краска; «в» - зазор для циркуляции масла
1 - электродвигатель; 2 - насос с гидропередачей; 3 - диск-маховик; 4 - маслофильтрующая пробка; 5 - поршень с пружиной; 6 - мембрана; 7 - всасывающий клапан; 8 - нагнетательный клапан; 9 - перепускной клапан; 10 - фильтр всасывающей системы; 11 - регулятор давления; 12 - рукав подачи отделочных материалов; 13 - пистолет с фильтром и соплом
Рисунок 30 - Гидравлическая схема агрегата 7000Н

Рисунок 31 - Машина для проходки скважин СО-144

Рисунок 32 - Пробойник пневматический реверсивный ИП-4605А

Рисунок 33 - Пробойник пневматический реверсивный ИП-4603А

Рисунок 34 - Машина СО-134 для проходки скважин и забивания труб

Рисунок 35 - Машина СО-166 для забивания труб
Таблица 1 - Область применения средств малой механизации для бестраншейной прокладки коммуникаций
|
Вид работы |
Марка машины |
Максимальная длина трубопровода, м |
Максимальный диаметр трубопровода, мм |
Примечание |
||||
|
СО-144 (ПР-60М) |
ИП-4605А |
ИП-4603А |
СО-134 (ПР-400) |
СО-166 (М-130) |
||||
|
Наиболее характерные для организаций: |
||||||||
|
забивание стальных труб в грунт |
30 |
219 |
В массив грунта |
|||||
|
+ |
+ |
+ |
40* |
530 |
В лидирующую скважину |
|||
|
затягивание асбестоцементных трубопроводов |
+ |
25 |
120 |
|||||
|
формование асбестоцементных трубопроводов |
+ |
+ |
+ |
50 |
155 |
|||
|
Редко встречающиеся проходка вертикальных и наклонных скважин |
+ |
+ |
+ |
+ |
||||
|
формование набивных армированных свай |
+ |
+ |
+ |
+ |
||||
|
глубинное уплотнение грунтов |
+ |
+ |
||||||
|
* по опыту работы организаций максимальная длина трубопроводов может достигать 60 м. |
||||||||
Таблица 2 - Техническая характеристика машин для бестраншейной прокладки коммуникаций и забивания труб
|
Наименование параметра |
Ед. изм. |
Марка машины |
||||
|
СО-144 |
ИП-4605А |
ИП-4603А |
СО-134 |
СО-166 |
||
|
Диаметр корпуса |
мм |
70 |
95 |
130 |
155 |
235 |
|
Диаметр пробиваемых скважин: |
мм |
|||||
|
без расширителя |
70 |
95 |
130 |
155 |
- |
|
|
с расширителем |
100, 120 |
180 |
200 |
245 |
- |
|
|
Диаметр забиваемых труб |
мм |
- |
- |
До 219 |
159 - 273 |
325 - 530 |
|
Энергия единичного удара на прямом ходу, не менее |
Дж |
65 |
100 |
220 |
500 |
1000 |
|
Частота ударов на прямом ходу, не менее |
Гц |
5,5 |
5,4 |
6,2 |
4,1 |
3,3 |
|
Номинальное давление сжатого воздуха |
МПа |
0,6 |
0,6 |
0,6 |
0,6 |
0,6 |
|
Расход сжатого воздуха |
м3/мин |
1,5 |
3,78 |
5 |
8 |
9,9 |
|
Средняя скорость пробивания скважины без расширителя |
м/ч |
10,8 |
1 - 50 |
1 - 40 |
5 - 60 |
0,5 - 15 погружения трубы |
|
Длина корпуса |
мм |
1332 |
1500 |
1400 |
1750 |
1705 |
|
Масса (без расширителя и шланга) |
кг |
28 |
55 |
90 |
150 |
- |
|
Масса общая |
кг |
120 |
500 |
600 |
||
Таблица 3 - Размеры рабочих приямков (не менее), м
|
Вид работы |
Марка пневмопробойника |
Входной приямок |
Приемный приямок |
||||
|
длина |
ширина |
глубина, Н*min |
длина |
ширина |
глубина, Н*min |
||
|
Проходка лидирующих скважин, формование асбестоцементных трубопроводов |
СО-144 |
2,0 |
1,0 |
0,7 ¸ 1,2 + h |
1,5 |
1,0 |
0,7 ¸ 1,2 + h1 |
|
ИП-4605А |
2,0 |
2,5 |
1,5 |
||||
|
ИП-4603А |
2,0 |
2,5 |
1,5 |
||||
|
СО-134 |
4,0 |
2,5 |
1,5 |
||||
|
Забивка стальных труб в грунт |
ИП-4603А |
l** + 2,0 |
1,0 |
1,0 + h |
1,5 |
1,5 |
1,0 + h1 |
|
СО-134 |
1,2 + h |
1,2 + h1 |
|||||
|
СО-166 |
2,5 + h |
2,5 + h1 |
|||||
|
Затягивание асбестоцеметных трубопроводов |
ИП-4603А |
4,0 |
1,0 |
0,8 ¸ 1,2 + h |
2,0 |
1,5 |
0,8 ¸ 1,2 + h1 |
|
* - глубина входного (приемного) приямка определяется суммированием глубины заложения трубопровода и высотой стартового устройства (подкладок) h (10 - 40 см), зависящей от диаметра трубопровода, а также технологической высоты h1 (40 - 50 см). Глубина заложения, определяемая ППР, должна выбираться с учетом диаметра трубопровода и грунтовых условий в соответствии с «Рекомендациями по применению пневмопробойников в строительном производстве», М., Минстрой СССР, 1976; ** - длина секции трубы (по опыту организаций) - 3 или 6 м. |
|||||||
Таблица 4 - Компрессорные станции для подключения пневмопробойников
|
Марка пневмопробойника |
Расход воздуха, м3/мин |
Марка передвижной компрессорной станции |
||
|
АПКС-3 |
ЗИФ-55 (В), ПКС-5, АПКС-6, ПВ-10 |
ДК-9 (М), ПК-10, ПР-10 |
||
|
Производительность, м3/мин |
||||
|
3 |
5 - 7 |
10 |
||
|
Количество одновременно работающих пневмопробойников |
||||
|
СО-144 |
1,5 |
2 |
3 - 4 |
|
|
ИП-4605А |
3,78 |
1 |
||
|
ИП-4603А |
5 |
1 |
2 |
|
|
СО-134 |
8,0 |
1 |
||
|
СО-166 |
9,9 |
1 |
||
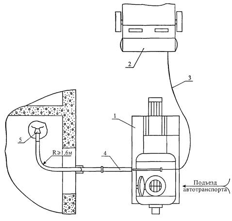
1 - автокран КС-2561К; 2 -
компрессор ДК-9М; 3 - сварочный трансформатор; 4 -машина СО-134;
5 - инвентарное ограждение; 6 - стальная груба Д = 300 мм, L = 3 м; 7 -
сварочный кабель;
8 - рукав подачи сжатого воздуха; 9 - место складирования стальных труб
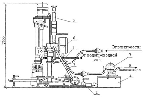
Рисунок 36 - Схема привязки машин СО-134, ИП-4603А, СО-166 при забивке труб в условиях ограниченного пространства (в направлении забивки)

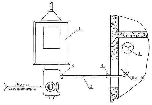
1 - экскаватор ЭО-2621А; 2 - компрессор ДК-9М; 3 - установка СО-126; 4 - машина СО-134; 5 - инвентарное ограждение
Рисунок 37 - Схема привязки машин ИП-4605А, ИП-4603А, СО-134 при формовании асбестоцементных трубопроводов
Предназначена для нанесения на поверхность уплотненного слоя бетонной смеси путем набрызга с помощью сжатого воздуха.
Техническая характеристика
Производительность по расходу сухих материалов, м3/ч: 2
Дальность подачи, м
по горизонтали 45
по вертикали 10
Рабочее давление, МПа (кгс/см2) 0,35 (3,5)
Расход воздуха, м3/мин (не менее) 6
Наибольшая крупность фракций, мм 10
Средняя толщина слоя бетона, наносимого за один раз, мм 20
Наибольшая частота вращения шлюзового барабана, мин-1 5,1
Электродвигатель
мощность, кВт 4
напряжение, В 220/380
частота вращения, мин-1 1000
Габаритные размеры, мм
длина 1245
ширина 815
высота 1330
Масса, кг
без рукавов 643
с полным комплектом рукавов 740
Основные комплектующие
1 Рукав подачи бетонной смеси III (VIII)-10-40-57-У (ГОСТ 18698-79*), м 30
2 Рукав подачи воды В (II)-10-10-У (ГОСТ 18698-79*), м 30
3 Рукав подачи сжатого воздуха Г (IV)-10-25-40-У (ГОСТ 18698-79*), м 9
4 Сопло в сборе, шт. 1
5 Кабель КРПГ 3´1,5 + 1´1, м 25

Рисунок 38 - Цемент-пушка СБ-117

а) вид спереди; б) вид сбоку; г) вид сверху
1 - направление подачи исходного материала; 2 - патрубок выдачи готового продукта; 3 - патрубок подачи сжатого воздуха
Рисунок 39 - Цемент-пушка СБ-117
Подготовительные работы по установке цемент-пушки СБ-117
Цемент-пушка устанавливается на площадке, защищенной от атмосферных осадков. Место проведения работ должно быть достаточно освещено.
Давление воды (Р), подводимой от источника водоснабжения, должно определяться по формуле:
![]()
где Н - высота от уровня подачи воды до уровня сопла.
Для нормальной работы установки необходим источник сжатого воздуха с давлением не менее 0,35 МПа и расходом воздуха не менее 6 м3/мин, например, передвижная компрессорная станция ЗИФ-55В.
Температура сжатого воздуха должна быть не более 50 °С.
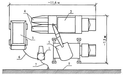
Схема привязки цемент-пушки СБ-117 выполнена с учетом следующих организационно-технологических условий:
- механизированная загрузка цемент-пушки осуществляется из поворотных бункеров конструкции СКБ Мосстрой (проект 5531) или ЦНИИОМТП (РЧ-741-79);
- зона действия цемент-пушки с одной стоянки определяется длиной прилагаемого материального рукава (30 м) и техническими характеристиками (дальность подачи по горизонтали 45 м, по вертикали - 10 м);
- ограниченные размеры стройплощадки в направлении, перпендикулярном обрабатываемой поверхности (длина 11,6 м, ширина 7,5 м).

1 - установка СБ-117; 2 -
автосамосвал ЗИЛ-ММЗ-555; 3 - компрессор ДК-9М; 4 - бункер БП-1,0 (СКБ
Мосстрой);
5 - автокран КС-2561К; 6 - рукав подачи сжатого воздуха; 7 - рукав подачи
бетонной смеси;
8 - обрабатываемая поверхность
Рисунок 40 - Схема привязки установки СБ-117 при загрузке бетонной смеси из бункеров
Предназначена для нанесения на поверхность уплотненной бетонной смеси с помощью сжатого воздуха и применяется для гидроизоляции поверхностей, заделки швов и ремонта бетонных сооружений, безопалубочного бетонирования при температуре окружающей среды не ниже +5 °С.
Техническая характеристика
Производительность номинальная по сухой смеси, м3/ч: 4 ± 10 %
Вместимость по загрузке, м3 0,32
Дальность подачи при прямолинейном бетоноводе, м
по горизонтали 250
по вертикали 45
Рабочее давление, МПа (кгс/см2) 0,6 (6)
Расход сжатого воздуха, м3/мин (не более) 8
Наибольшая крупность фракций заполнителя, мм 20
Электродвигатель
мощность, кВт 3,0
напряжение, В 380
частота вращения, мин-1 960
Габаритные размеры, мм
длина 2000
длина (со снятым дышлом) 1460
ширина 1100
высота 1760
Масса, кг 910
Основные комплектующие
1 Рукав подачи бетонной смеси III (VIII)-10-50-67-У (ГОСТ 18898-79*), м 30
2 Рукав подачи воды В(II)-10-16-27-У (ГОСТ 18698-79*), м 40
3 Рукав подачи сжатого воздуха Г(IV)-10-50-69-У (ГОСТ 18698-79*), м 10
4 Сопло, шт. 1

Рисунок 41 - Установка СБ-67Б-1 для набрызга бетонной смеси

а) вид спереди; б) вид сбоку; г) вид сверху
1 - направление подачи исходного материала; 2 - патрубок выдачи готового продукта; 3 - патрубок подачи сжатого воздуха
Рисунок 42 - Установка СБ-67Б-1 для набрызга бетонной смеси
Подготовительные работы по привязке установки СБ-67Б-1
Схема привязки установки СБ-67Б-1 выполнена с учетом следующих организационно-технологических условий:
- механизированная загрузка установки осуществляется из поворотных бункеров конструкции СКБ Мосстрой (проект 5532) или ЦНИИОМТП (РЧ-742-79);
- зона действия установки с одной стоянки определяется длиной прилагаемого материального рукава (30 м) и техническими характеристиками (дальность подачи по горизонтали - 250 м, по вертикали - 45 м);
- ограниченные размеры стройплощадки в направлении, перпендикулярном обрабатываемой поверхности (длина 12,5 м, ширина 8,5 м).
Установка СБ-67Б-1 устанавливается на площадке, защищенной от атмосферных осадков, с уклоном не более 5°. Колеса должны быть надежно заторможены с помощью башмаков, расположенных с обеих сторон колеса.
При длительной работе (более 1 месяца) на одном месте необходимо разгрузить пневмошины от нагрузки, установив под раму деревянные подставки. Давление в камерах при работе без подставок должно составлять 0,3 МПа.
При укладке материального рукава необходимо стремиться, чтобы количество перегибов было наименьшим, а радиусы изгибов - большими (наименьший радиус изгиба - 750 мм).
Давление воды (Р), подводимой к установке от источника водоснабжения, должно определяться по формуле:
но не более 1 МПа
Н - высота бетонируемой поверхности от уровня расположения питающего водопровода.
Для работы установки необходим источник сжатого воздуха, обеспечивающий давление до 0,6 МПа с расходом воздуха не менее 8 м3/мин при наличии на нем предохранительного клапана, настроенного на указанное давление (например, передвижная компрессорная станция ДК-9М).

1 - установка СБ-67Б-1; 2 - автосамосвал МАЗ-5549; 3 - компрессор ДК-9М; 4 - бункер БП-1,6 (СКБ Мосстрой); 5 - автокран КС-3562А; 6 - рукав подачи сжатого воздуха; 7 - рукав подачи бетонной смеси; 8 - обрабатываемая поверхность
Рисунок 43 - Схема привязки установки СБ-67Б-1 при загрузке бетонной смеси из бункера
Предназначена для сверления вертикальных, горизонтальных и наклонных отверстий алмазными кольцевыми сверлами в железобетонных конструкциях при монтаже сантехнических и других коммуникаций в промышленном, гражданском и жилищном строительстве.
Техническая характеристика
Номинальные диаметры применяемых сверл, мм 50, 60, 80, 100, 125
Глубина сверления (максимальная), мм (не менее)
вертикальных отверстий:
с удлинителем 550
без удлинителя 300
горизонтальных отверстий:
с удлинителем 450
без удлинителя 200
Наибольшее усилие на рукоятке, кг 5
Частота вращения шпинделя, с-1 (об/мин)
1-я скорость 14 ± 0,5 (840 ± 30)
2-я скорость 23,1 ± 0,5 (1390 ± 30)
Подача (ручная), мм/мин 50 - 70
Расход охлаждающей воды, л/мин 4 - 6
Давление воды, МПа (кг/см2) 0,15 (1,5)
Электродвигатель:
мощность, кВт 2,2
напряжение, В 380
частота вращения, мин-1 3000
род тока Трехфазный
частота тока, Гц 50
класс защиты 1
Габаритные размеры, мм
длина 735
ширина 580
высота 1160
Масса без вспомогательных устройств и переносного шкафа, кг 95
Масса общая, кг 130
Основные комплектующие
1 Сверло 3324-0018 диаметром 60 мм ГОСТ 24638-85*, шт. 3
2 Сверло 3324-0022 диаметром 80 мм ГОСТ 24638-85*, шт. 3
3 Сверло 3324-0026 диаметром 100 мм ГОСТ 24638-85*, шт. 3
4 Сверло 3324-0032 диаметром 125 мм ГОСТ 24638-85*, шт. 3
5 Защитно-отключающее устройство ИЭ-9813, шт. 1
6 Распорка (длина 2708 - 4008 мм), шт. 1
7 Кабель КРПТ 3´1,5 + 1´1, м 10,5
8 Трубка 1с 10,0´2,0 (ГОСТ 5496-78*), для отвода воды, м 10

Рисунок 44 - Установка ИЭ-1801А для сверления отверстий в железобетоне
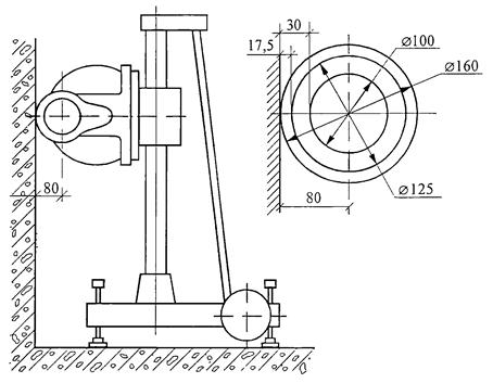
1 - опора; 2 - тележка; 3 -
опорная колонка; 4 - электродвигатель; 5 - сверлильная головка; 6 - сверло;
7 - патрубок для подсоединения водяного рукава; 8 - защитно-отключающее устройство
Рисунок 45 - Установка ИЭ-1801А
Подготовительные работы по установке станка ИЭ-1801А
Перед включением необходимо с помощью регулировочных винтов отрегулировать положение станка так, чтобы основание располагалось горизонтально и колеса не касались пола, как показано на рисунке 45.
Подключить установку к системам:
- водоснабжения (давление не менее 0,15 МПа, расход не менее 4 л/мин);
- электрической сети (напряжение 220/380 В) через защитно-отключающее устройство.

Рисунок 46 - Схема привязки станка ИЭ-1801А при сверлении вертикальных стен

Рисунок 47 - Схема привязки станка ИЭ-1801А при сверлении в углах

Рисунок 48 - Схема привязки станка ИЭ-1801А при сверлении у стен
Предназначена для сверления вертикальных, горизонтальных и наклонных отверстий в железобетоне алмазными кольцевыми сверлами.
Техническая характеристика
Диаметр просверливаемых отверстий, мм 100, 125, 160
Глубина сверления, мм до 380
Подача (вручную), мм/мин 40 - 60
Частота вращения шпинделя, Гц (об/мин) 10 (600)
Расход охлаждающей жидкости, л/мин 4 - 6
Рабочее напряжение, В 380
Габаритные размеры, мм (не более):
длина 735
ширина 620
высота 1600
Масса, кг (не более)
без принадлежностей 130
с принадлежностями 200
Электродвигатель
мощность, кВт 3
частота вращения вала, Гц (об/мин) 47 (2840)
напряжение, В 380
частота тока, Гц 50
класс защиты 1
Электронасос:
тип ПА 22
производительность, л/мин 22
давление, МПа 0,5
номинальная мощность, кВт 0,12
частота вращения, Гц (об/мин) 46 (2800)
напряжение, В 220/380
Основные комплектующие
1 Сверла 3324-0026 СКА-2 диаметром 100 мм ГОСТ 24638-85*, шт. 2
2 Сверло 3324-0032 СКА-2 диаметром 125 мм ГОСТ 24638-85*, шт. 5
3 Сверло 3324-0038 СКА-2 диаметром 160 мм ГОСТ 24638-85*, шт. 2
4 Защитно-отключающее устройство ИЭ-9813, шт. 1
5 Устройство для откачки воды, шт. 1
7 Устройство для отвода воды, шт. 1
8 Распорка, шт. 1
9 Кабель КРПТ 3´1,5 + 1´1, м 11

Рисунок 49 - Установка ИЭ-1805 для сверления отверстий в железобетоне
Подготовка к работе установки ИЭ-1805 для сверления отверстий в железобетоне
Установить станок с помощью регулировочных винтов так, чтобы его колеса не касались пола. При этом все регулировочные винты должны упираться в пол.
Подключить установку к системам:
- водоснабжения (расход охлаждающей жидкости 4 - 6 л/мин);
- канализации;
- электрической сети (напряжение 380 В) через защитно-отключающее устройство Расположение установки должно выбираться с учетом зон и секторов сверления, приведенных на рисунках 52 - 55.
Установка оснащена устройствами для отвода и откачки воды из зоны сверления.

1 - рукав водяной напорный; 2 -
рукав отвода воды; 3 - насос; 4 - водосборник; 5 - распорка;
6 - электрооборудование; 7 - защитно-отключающее устройство
Рисунок 50 - Подготовка установки ИЭ-1805 к работе

1 - рукав водяной напорный; 2 - рукав отвода воды; 3 - насос; 4 - водосборник
Рисунок 51 - Устройство для отвода воды при горизонтальном сверлении
Рисунок 52 - Схема привязки установки ИЭ-1805 при сверлении вертикальных стенок

Рисунок 53 - Схема привязки установки ИЭ-1805 при сверлении в коридорах

Рисунок 54 - Схема привязки установки ИЭ-1805 при сверлении у стен
Рисунок 55 - Схема привязки установки ИЭ-1805 при сверлении в углах
Средства малой механизации, рассматриваемые в работе, подключают к электросети с помощью гибких кабелей марки КРПТ с тремя основными шинами и одной шиной заземления, кроме машины СО-149, где используется кабель марки КРПС и цемент-пушки СБ-117 кабель марки КРПТ. При недостаточной длине кабеля допускается использование вспомогательного кабеля-удлинителя, марка и сечение которого аналогичны основному.
В соответствии со стандартами допускаемые изгибы кабеля КРПТ - не менее 8 диаметров кабеля, КРПС и КРПГ - не менее 5 диаметров кабеля.
Наружный диаметр кабеля КРПТ с тремя основными жилами и одной жилой заземления для строительно-отделочных машин, конструкция основных жил и номинальное сечение жилы заземления представлены в таблице 5.
Таблица 5 - Характеристика кабеля КРПТ
|
Номинальное сечение основных жил, мм |
||||||||
|
1,0 |
1,5 |
2,5 |
4,0 |
6,0 |
10 |
16 |
25 |
|
|
Наружный диаметр, мм |
12,0 |
12,7 |
15,5 |
16,8 |
18,5 |
22,7 |
24,6 |
29,9 |
|
Конструкция основных жил |
19´0,26 |
19´0,32 |
49´0,26 |
49´0,32 |
49´0,40 |
49´0,50 |
56´0,60 |
84´0,60 |
|
Номинальное сечение жилы заземления, мм2 |
1,0 |
1,0 |
1,5 |
2,5 |
4,0 |
6,0 |
6,0 |
10,0 |
Таблица 6 - Технические данные для подключения средств малой механизации к электросети
|
Наименование средств малой механизации |
Марка |
Род тока |
Напряжение, В |
Присоединительный кабель |
Установленная мощность |
Электрозащита |
Номинальный ток плавкой вставки защиты кабеля, А |
||||||
|
длина |
марка или сечение, мм2 |
поставка в комплекте с машиной |
суммарная, кВт |
число потребителей, шт. |
единичная мощность, кВт |
потребителей |
ввода в машину |
||||||
|
1 |
2 |
3 |
4 |
5 |
6 |
7 |
8 |
9 |
10 |
11 |
12 |
13 |
14 |
|
1 Машины для штукатурных и малярных работ |
|||||||||||||
|
1 |
Штукатурная станция |
СО-114 |
3-х фазный |
380 |
50 |
КРПТ 3´16 + 1´6 |
+ |
33,0 |
2 |
7,5 |
Предохранители ПРС-63-П с ПВД-20 |
Автоматический выключатель АЕ2053-10 80 А |
100 |
|
1 |
6,0 |
Предохранители ПРС-63-П с ПВД-25 |
|||||||||||
|
1 |
5,5 |
Предохранители ПРС-63-П с ПВД-40 |
|||||||||||
|
4 |
1,0 |
Предохранители ПРС-20-П с ПВД-20 |
|||||||||||
|
1 |
0,18 |
Предохранители ПК45-1 |
|||||||||||
|
1 |
0,12 |
Предохранители ПК-45-2 |
|||||||||||
|
Прочие |
2,2 |
||||||||||||
|
2 |
Агрегат штукатурный |
СО-57Б |
Трехфазный |
380 |
10 |
КРПТ 3´1,5 + 1´1 |
+ |
5,25 |
1 |
3,0 |
Выключатель автоматический АП-50-3МЗТД |
Пакетный выключатель ПВ-3-25 |
30 |
|
1 1 |
1,5 0,75 |
Выключатель автоматический АП-50-3МТ |
|||||||||||
|
3 |
Агрегат штукатурный |
СО-85А |
То же |
380 |
14 |
КРПТ 3´2,5 + 1´1,5 |
+ |
13,1 |
1 |
7,5 |
Магнитные пускатели |
Автоматический выключатель АП-50-3М 25А |
50 |
|
1 |
4,0 |
ПМЕ-122, 3,2 А |
|||||||||||
|
1 |
1,5 |
ПМЕ-222, 23 А |
|||||||||||
|
1 |
0,1 |
||||||||||||
|
4 |
Агрегат штукатурный для поэтажных работ |
СО-152 |
- « - |
380 |
20 |
КРПТ 3´1,5 + 1´1,0 |
+ |
1,85 |
1 |
1,1 0,75 |
Автоматический выключатель АЕ-2016-12УЗ 10А |
30 |
|
|
5 |
Машина для приготовления и подачи жестких растворов |
СО-126 |
- « - |
380 |
50 |
КРПТ 3´2,5 + 1´1,5 |
+ |
7,5 |
1 |
7,5 |
Предохранители ПР-2-60-500У4 Iп.в = 45 А |
- |
50 |
|
6 |
Машина для приготовления и транспортирования жестких растворов (пневмонагнетатель) |
СО-165 |
- « - |
380 |
20 |
КРПТ 3´6 + 1´4 |
+ |
26,0 |
1 |
18,5 |
Магнитный пускатель ПМА-3100 |
- |
100 |
|
1 |
7,5 |
Предохранители ПРС-63-П с ПВД-40 Магнитный пускатель ПМЕ-211 |
|||||||||||
|
7 |
Машина для приготовления гипсовых растворов |
СО-149 |
- « - |
380 |
25 |
КРПС 3´2,5 + 2´1,5 |
+ |
3,0 |
1 |
3,0 |
Предохранители ПРС-20-П с ПВД-16 Магнитный пускатель ПМЕ-111 |
- |
30 |
|
8 |
Растворонасос |
СО-48В |
- « - |
220/380 |
- |
Подбирается эксплуатирующей организацией* |
- |
2,31 |
1 |
2,05 |
Предохранитель Ц-27 |
- |
30 |
|
1 |
0,26 |
Iп.в = 15 А |
|||||||||||
|
9 |
Растворонасос |
СО-49В |
- « - |
220/380 |
- |
То же |
- |
3,81 |
1 |
3,55 |
Предохранители Ц-27 |
- |
30 |
|
1 |
0,26 |
Iп.в = 20 А |
|||||||||||
|
10 |
Растворонасос |
СО-50А |
- « - |
220/380 |
- |
- « - |
- |
7,75 |
1 |
7,5 |
Магнитный пускатель |
- |
50 |
|
1 |
0,25 |
ПМЕ-222, 23А |
|||||||||||
|
11 |
Малярная станция |
СО-115 |
- « - |
380 |
КРПТ 3´25 + 1´10 |
38,0 не более |
1 |
10,5 |
Предохранители ПРС-63-П |
- |
|||
|
1 |
0,25 |
с ПВД-25 |
|||||||||||
|
1 |
2,2 |
Предохранители ПРС-20-П с ПВД-16 |
Автоматический выключатель АЕ-2053-10УЗ, 100 А |
120 |
|||||||||
|
2 |
2,0 |
Предохранители ПРС-20-П с ПВД-16 |
|||||||||||
|
5 |
1,5 |
Предохранители ПРС-20-П с ПВД-10 |
|||||||||||
|
2 |
0,25 |
Предохранители ПК-45-3 |
|||||||||||
|
2 |
0,18 |
Предохранители ПРС-6-П с ПВД-4 |
|||||||||||
|
12 |
Агрегат окрасочный передвижной |
СО-92А |
Трехфазный |
380 |
20 |
КРПТ 3´2,5 + 1´1,5 |
+ |
4,0 |
1 |
4,0 |
Магнитный пускатель ПМЕ-212, 12,5 А |
Пакетный выключатель ПВМЗ-25-III-III |
30 |
|
13 |
Агрегат малярный |
СО-154 |
- « - |
380 |
10 |
КРПТ 3´2,5 + 1´1,5 |
+ |
2,85 |
1 1 1 |
1,5 1,1 0,25 |
Автоматический выключатель АЕ2016-10УЗ 8 А |
30 |
|
|
14 |
Агрегат шпатлевочный |
СО-150 |
- « - |
380 |
КРПТ 3´1,5 + 1´1,0 |
1,1/1,5 |
1 |
1,1/1,5 |
Магнитные пускатели ПМЕ-111 предохранители ПРС-20-П с ПВД-10 |
Переключатель ПКУЗ-11С 4019-УЗ |
30 |
||
|
15 |
Агрегат окрасочный высокого давления |
2600Н |
Однофазный |
220 |
6 |
Поставляется Венгрией** |
+ |
1,0 |
1 |
1,0 |
Поставляется Венгрией |
30 |
|
|
16 |
Агрегат окрасочный высокого давления |
7000Н |
Трехфазный |
380 |
6 |
То же |
+ |
2,0 |
1 |
2,0 |
То же |
30 |
|
|
2 Машины для набрызга бетонной смеси |
|||||||||||||
|
17 |
Цемент-пушка |
СБ-117 |
То же |
380 |
25 |
КРПТ 3´1,5 + 1´1 |
+ |
4,0 |
1 |
4,0 |
- |
Выключатель пакетный ПВМЗ-25 |
30 |
|
18 |
Установка для набрызга бетонной смеси |
СБ-67Б-1 |
- « - |
380 |
КРПТ 3´1,5 + 1´1 |
2,2 |
1 |
2,2 |
Переключатель ПКУЗ-54С |
Предохранитель Пр-2, Iп.в. = 15 А |
30 |
||
|
3 Установки для сверления отверстий в железобетоне |
|||||||||||||
|
19 |
Установка для сверления отверстий в железобетоне |
ИЭ-1801 А |
Трехфазный |
380 |
10,5 |
КРПТ 3´1,5 + 1´1 |
+ |
2,2 |
1 |
2,2 |
Выключатель автоматический АЕ2016-10УЗ |
Защитно-отключающее устройство ИЭ-9813 |
30 |
|
20 |
То же |
ИЭ-1805 |
То же |
380 |
11,0 |
КРПТ 3´1,5 + 1´1 |
+ |
3,12 |
1 |
3,0 |
Предохранители ПРС-20-П |
Защитно-отключающее устройство ИЭ-9813 |
30 |
|
1 |
0,12 |
с ПРД-20 |
|||||||||||
|
Примечания - * Рекомендуемая марка кабеля КРПТ 3´2,5 + 1´1,5 ** Рекомендуемый кабель отечественного производства КРПТ 3´1,5 + 1´1,0 |
|||||||||||||
Предельное отклонение от номинального наружного диаметра - +10 %, минусовое отклонение не нормируется.
Средний срок службы кабелей: КРПТ, КРПС, КРПГ - 2,5 года (первая категория качества) и 4 года (высшая категория).
Длительно допустимая температура на токопроводящих жилах кабелей должна быть не более 65 °С.
Растягивающие нагрузки на кабель должны быть не более 19,6 Н (2,0 кгс) на 1 мм2 суммарного номинального сечения всех жил
Гарантийный срок эксплуатации - 6 месяцев с момента ввода кабеля в эксплуатацию.
Монтаж и эксплуатация кабелей должны производиться в соответствии с «Правилами устройства электроустановок» и ПОТ Р М-016-2001 «Межотраслевые правила по охране труда (правила безопасности) при эксплуатации электроустановок».
Все силовые электроустановки (кроме агрегата 2600Н) подключаются к 3-фазной электрической сети напряжением 380 В. Это позволяет ограничить номенклатуру используемой низковольтной аппаратуры.
Для подключения рассматриваемых средств малой механизации (кроме СО-115) к электрической сети стройплощадки (объекта) рекомендуется использовать ящики силовые типа ЯБПВУ-1м с отключающим аппаратом в виде блока «предохранитель-выключатель» с предохранителями типа ПН-2-100.
Для подключения малярной станции СО-115 рекомендуется использовать силовой ящик ЯБПВУ-2 с предохранителями типа ПН-2-250
Номинальные токи плавких вставок предохранителей ПН-2-100 и ПН-2-250 приведены в таблице 6.
Таблица 7 - Техническая характеристика низковольтной аппаратуры
|
Наименование |
Тип |
Номинальный ток патрона предохранителя, А |
Габаритные размеры, мм |
Масса, кг |
||
|
длина |
ширина |
глубина |
||||
|
Ящик силовой |
ЯБПВУ-1м |
100 |
376 |
325 |
166 |
6,5 |
|
То же |
ЯБПВУ-2 |
200 |
615 |
430 |
305 |
23,8 |
Общие виды силовых ящиков ЯБПВУ-1м и ЯБПВУ-2 приведены на рисунках 56 и 57.
Принципиальная однолинейная схема подключения строительно-отделочных машин к электрической сети строящегося объекта приведена на рисунке 58.
В целях защиты обслуживающего персонала от поражения электрическим током все металлические нетоковедущие части машин нормально не находящиеся под напряжением, но могущие оказаться под ним в результате пробоя изоляции на корпус, должны быть заземлены путем подсоединения к нулевому проводу сети.
Подключение, заземление и эксплуатация электрооборудования должны выполняться в соответствии с требованиями СНиП 12-03-2001 «Безопасность труда в строительстве Часть 1. Общие требования».
Рисунок 56 - Силовой ящик ЯБПВУ-1м
Рисунок 57 - Силовой ящик ЯБПВУ-2
1 - силовой ящик типа ЯБПВУ-1м
(ЯБПВУ-2); 2 - предохранитель типа ПН-2 (3 шт.);
3 - электрическая сеть строящегося объекта; 4 - кабель питания машины;
5 - потребитель
Рисунок 58 - Принципиальная однолинейная схема подключения машин с использованием силовых ящиков типов ЯБПВУ-1м и ЯБПВУ-2
В средствах малой механизации для транспортирования материалов применяют напорные резиновые рукава с текстильным каркасом следующих классов по ГОСТ 18696-79*:
III (VIII) - подача слабощелочных и слабокислых растворов для штукатурных и малярных работ;
В (II) - подача технической воды (без присадок);
Г (IV) - подача воздуха.
Рукава состоят из внутреннего резинового слоя, одного или нескольких слоев текстильного каркаса из хлопчатобумажной или комбинированной ткани и наружного резинового слоя и рассчитаны на рабочее давление 0,25, 0,63, 1,0, 1,6 и 2,0 МПа.
Рукава должны быть гибкими. Минимально допустимый радиус изгиба при эксплуатации с внутренним диаметром (d) 16 - 32 мм - 12d, 38 - 50 мм - 15d, от 60 мм и выше - 20d.
Рукава должны храниться в помещениях при температуре от минус 25 до +25 °С на расстоянии не менее 1 м от теплоизлучающих приборов и не должны подвергаться воздействию прямых солнечных лучей и веществ, разрушающих резину и текстильный каркас. При минусовых температурах рукава должны храниться в расправленном виде.
При монтаже рукавов необходимо соблюдаться следующие требования:
- затяжка хомутами не должна превышать 40 % толщины стенки рукава, муфты;
- под хомутами не должно быть складок рукавов и муфт;
- зазор между торцами соединяемых муфтой трубопроводов должен быть не менее 30 мм, а несоосность не более 3 мм.
Таблица 8 - Напорные рукава, используемые в средствах малой механизации
|
№ п/п |
Наименование средств малой механизации |
Марка |
Напорный рукав |
|||||
|
рабочая среда |
длина, м |
ГОСТ |
условное обозначение |
внутренний диаметр, мм |
наружный диаметр, мм |
|||
|
1 |
2 |
3 |
4 |
5 |
6 |
7 |
8 |
9 |
|
1 Машины для штукатурных и малярных работ |
||||||||
|
1 |
Штукатурная станция |
СО-114 |
Раствор |
70 |
18698-79* |
III (VIII)-16-50-71-У |
50 |
71 |
|
То же |
18698-79* |
III (VIII)-16-38-57-У |
38 |
57 |
||||
|
2 |
Агрегат штукатурный |
СО-57Б |
- « - |
40 |
18698-79* |
III (VIII)-16-38-57-У |
38 |
57 |
|
3 |
То же |
СО-85А |
- « - |
70 |
18698-79* |
III (VIII)-16-50-71-У |
50 |
71 |
|
18698-79* |
III (VIII)-16-38-57-У |
38 |
57 |
|||||
|
4 |
Агрегат штукатурный для поэтажных работ |
СО-152 |
- « - |
30 |
18698-79* |
III (VIII)-16-38-57-У |
38 |
57 |
|
5 |
Машина для приготовления и подачи жестких растворов |
СО-126 |
- « - |
100 |
18699-79* |
III (VIII)-10-63-82-У |
63 |
82 |
|
Воздух |
20 |
10362-76* |
32´43-16В |
32 |
43 |
|||
|
6 |
Машина для приготовления и транспортирования жестких растворов (пневмонагнетатель) |
СО-165 |
Раствор |
104,1 |
18698-79* |
III (VIII)-10-63-82-У |
63 |
82 |
|
Воздух |
4,32 |
10362-76* |
32´43-16В |
32 |
43 |
|||
|
7 |
Машина для приготовления и нанесения гипсовых растворов |
СО-149 |
Раствор |
15 |
18697-79* |
III (VIII)-20-25-43-У |
25 |
43 |
|
Вода |
10,5 |
10362-76* |
16´24,5-6,3 |
16 |
24,5 |
|||
|
Воздух |
25 |
10362-76* |
10´19-10В |
10 |
19 |
|||
|
8 |
Растворонасос |
СО-48В |
Раствор |
20 |
18698-79* |
III (VIII)-16-50-71-У |
50 |
71 |
|
То же |
10 |
18698-79* |
III (VIII)-16-38-57-У |
38 |
57 |
|||
|
9 |
Растворонасос |
СО-49В |
- « - |
30 |
18698-79* |
III (VIII)-16-50-71-У |
50 |
71 |
|
- « - |
10 |
18698-79* |
III (VIII)-16-38-57-У |
38 |
57 |
|||
|
10 |
Растворонасос |
СО-50А |
- « - |
40 |
18698-79* |
III (VIII)-16-63-86-У |
63 |
86 |
|
11 |
Станция малярная |
СО-115 |
Малярные составы |
120 |
18698-79* |
III (VIII)-20-40-63-У |
40 |
63 |
|
То же |
90 |
18698-79* |
III (VIII)-20-16-32-У |
16 |
32 |
|||
|
Вода |
22 |
10362-76* |
40´49,5-1,6 |
40 |
49,5 |
|||
|
Воздух |
200 |
10362-76* |
10´19-10В |
10 |
19 |
|||
|
12 |
Агрегат окрасочный передвижной |
СО-92А |
Малярные составы |
90 |
18698-79* |
В(II)-10-9-21 |
9 |
21 |
|
Воздух |
90 |
10362-76* |
10´19-10В |
10 |
19 |
|||
|
13 |
Агрегат малярный |
СО-154 |
Малярные составы |
40 |
18698-79* |
III (VIII)-20-32-52-У |
32 |
52 |
|
Вода |
10 |
16В-20 |
16 |
|||||
|
Воздух |
20 |
9Г-10 |
9 |
|||||
|
14 |
Агрегат шпатлевочный |
СО-150 |
Отделочные составы |
10 |
10362-76* |
16´27-25 |
16 |
27 |
|
15 |
10362-76* |
25´34-25 |
25 |
34 |
||||
|
15 |
Агрегат окрасочный высокого давления |
2600Н |
Малярные составы |
10 |
- |
Поставляется Венгрией |
6 |
|
|
16 |
Агрегат окрасочный высокого давления |
7000Н |
То же |
10 |
- |
Поставляется Венгрией |
6 |
|
|
II Машины для бестраншейной прокладки коммуникаций |
||||||||
|
17 |
Машина для проходки скважин |
СО-144 |
Воздух |
40,8 |
10362-76* |
16´28-16В |
16 |
28 |
|
18 |
Пневмопробойник |
ИП-4605А |
То же |
40,8 |
10362-76* |
25´38,5-16В |
25 |
38,5 |
|
19 |
Пневмопробойник |
ИП-4603А |
- « - |
40,8 |
10362-76* |
25´38,5-16В |
25 |
38,5 |
|
20 |
Машина для проходки скважин и забивания труб |
СО-134 |
- « - |
40,8 |
10362-76* |
25´38,5-16В |
25 |
38,5 |
|
21 |
Машина для забивания труб |
СО-166 |
- « - |
40,8 |
10362-76* |
25´38,5-16В |
25 |
38,5 |
|
III Машины для набрызга бетонной смеси |
||||||||
|
22 |
Цемент-пушка |
СБ-117 |
Бетонная смесь |
30 |
18698-79* |
III (VIII)-10-40-57-У |
40 |
57 |
|
Вода |
30 |
18698-79* |
В (II)-10-10-У |
10 |
||||
|
Воздух |
9 |
18698-79* |
Г (IV)-10-25-40-У |
25 |
40 |
|||
|
23 |
Установка для набрызга бетонной смеси |
СБ-67Б-1 |
То же |
30 |
18698-79* |
III (VIIII)-10-50-67-У |
50 |
67 |
|
- « - |
40 |
18698-79* |
В (II)-10-16-27-У |
16 |
27 |
|||
|
- « - |
10 |
18698-79* |
Г (IV)-10-50-69-У |
50 |
69 |
|||
|
IV Установки для сверления отверстий в железобетоне |
||||||||
|
24 |
Установка для сверления отверстий в железобетоне |
ИЭ-1801А |
Вода |
10,0 |
5496-78* |
1 с 10,0´2,0 |
10 |
14 |
|
25 |
Установка для сверления отверстий в железобетоне |
ИЭ-1805 |
То же |
5496-78* |
1 с 10,0´2,0 |
10 |
14 |
|
При монтаже рукавов не допускается скручивание рукава относительно продольной оси.
При демонтаже рукавов необходимо промыть их от прокачиваемого материала, просушить теплым чистым воздухом и закрыть концы специальными пробками-заглушками. Если отсоединение рукава нецелесообразно, необходимо обеспечить полный сток из рукава прокачиваемого материала и надежно защитить конец его от повреждений и загружений.
В процессе эксплуатации не допускается:
- перемещение, перетаскивание рукавов по поверхностям, которые могут повредить рукав, а также трение о предметы, вызывающие механические повреждения рукава или отдельных его элементов;
- провисание рукавов и их работа на растяжение в осевом направлении (рукав должен равномерно распределяться на опорах);
- оставлять в рукаве перекачиваемый материал на длительное время;
- применять проволочные скрутки вместо инвентарных хомутов для крепления рукавов.
Гарантийный срок эксплуатации рукавов со дня ввода их в эксплуатацию - 18 мес.
Для транспортирования жидких и газообразных рабочих сред (воды, воздуха) в некоторых средствах малой механизации применяют рукава резиновые напорные с нитяным усилением, неармированные по ГОСТ 10362-76*.
Подача воды к установкам для сверления отверстий в железобетоне осуществляется посредством резиновых технических трубок по ГОСТ 5496-78*.
Исходные данные для составления таблиц взяты из паспортов, карт технического уровня и качества продукции, конструкторской документации, полученной в строительных организациях, ВНИИСМИ и ЦНИИОМТП.
Таблица 9 - Условия эксплуатации строительно-отделочных машин
|
№ п/п |
Наименование машины |
Марка |
Назначение |
Исполнение по ГОСТ 15150-69* |
Готовый продукт |
Необходимость в подаче воды |
Способ нанесения готового продукта |
Наличие собственного компрессора |
Необходимость в отдельно стоящем компрессоре |
|
||||
|
отделка фасадов |
отделка внутренних помещений |
климатическое исполнение, температура окружающей среды, °С |
категория размещения |
наименование |
требования |
|||||||||
|
компрессорный |
бескомпрессорный |
|
||||||||||||
|
1 |
2 |
3 |
4 |
5 |
6 |
7 |
8 |
9 |
10 |
11 |
12 |
13 |
14 |
|
|
1 |
Штукатурная станция |
СО-114 |
+ |
+ |
У* -15 +40 |
1* |
Штукатурный раствор |
Подвижность не менее 4 см Крупность фракций песка не более 5 мм |
Подключение |
+ |
+ |
+ |
- |
|
|
2 |
Агрегат штукатурный |
СО-57Б |
- |
+ |
У +1 +40 |
1 |
То же |
Подвижность не менее 7 см |
+ |
- |
+ |
- |
- |
|
|
3 |
Агрегат штукатурный |
СО-85А |
+ |
+ |
У 0 +40 |
II* |
- « - |
Подвижность не менее 7 см |
+ |
+ |
- |
+ |
- |
|
|
4 |
Агрегат штукатурный для поэтажных работ |
СО-152 |
- |
+ |
У +1 +40 |
II |
- « - |
Подвижность 10 см |
+ |
- |
+ |
- |
- |
|
|
5 |
Машина для приготовления и подачи жестких растворов |
СО-126 |
+ |
+ |
У -5 +40 |
1 |
Жесткий раствор |
Подвижность 3 - 5 см, крупность заполнителей не более 8 мм, наличие примесей глины, угля, древесины и т.п. в заполнителе не допускается |
+ |
+ |
- |
- |
+ |
|
|
6 |
Машина для приготовления и транспортирования жестких растворов (пневмонагнетатель) |
СО-165 |
+ |
+ |
У -5 +40 |
1 |
Жесткий раствор |
Подвижность 3 - 5 см, крупность заполнителей не более 8 мм, наличие примесей глины, угля, древесины и т.п. в заполнителе не допускается |
+ |
+ |
- |
+ |
- |
|
|
7 |
Машина для приготовления гипсовых растворов |
СО-149 |
- |
+ |
У +5 +40 |
II |
Сухие смеси на гипсовых вяжущих замедленного схватывания |
+ подключение |
+ |
- |
- |
+ |
|
|
|
8 |
Растворонасос |
СО-48В |
+ |
+ |
У +1 +35 |
II |
Штукатурный раствор |
Подвижность не менее 7 см, крупность фракций песка не более 5 мм |
+ |
- |
+ |
- |
- |
|
|
9 |
Растворонасос |
СО-49В |
+ |
+ |
У +1 +35 |
II |
То же |
- « - |
+ |
- |
+ |
- |
- |
|
|
10 |
Растворонасос |
СО-50А |
+ |
+ |
У +1 +35 |
II |
- « - |
- « - |
+ |
- |
+ |
- |
- |
|
|
11 |
Малярная станция |
СО-115 |
+ |
+ |
Водные и водно-клеевые фаски, грунтовки, клеевые и масляные колеры, клеевые и масляные шпатлевки |
+ подключение |
+ |
- |
+ |
- |
|
|||
|
12 |
Агрегат окрасочный передвижной |
СО-92А |
+ |
- |
У +1 +40 |
1 |
Водные синтетические и другие фасадные краски |
Вязкость до 60 с по ВЗ-4 |
+ |
+ |
- |
+ |
- |
|
|
13 |
Агрегат малярный |
СО-154 |
- |
+ |
У 0 +40 |
1 |
Водные огрунтовочные и окрасочные составы, масляные и клеевые шпаклевки |
+ |
+ |
- |
- |
+ |
|
|
|
14 |
Агрегат шпатлевочный |
СО-150 |
- |
+ |
У +1 +40 |
1 |
Шпатлевки, грунтовки, клеевые и водноклеевые краски |
Содержание твердой фазы 50 - 75 %, подвижность не менее 7 см |
+ |
+ |
- |
- |
+ |
|
|
15 |
Агрегат окрасочный высокого давления |
2600Н |
+ |
+ |
У -10 +35 |
1 |
Лакокрасочные материалы, содержащие связующие, твердые включения и растворители |
Вязкость до 100 - 200 с по ВЗ-4, крупность твердых частиц до 0,08 мм |
- |
- |
+ |
- |
- |
|
|
16 |
Агрегат окрасочный высокого давления |
7000Н |
+ |
+ |
У -10 +35 |
1 |
То же |
Вязкость до 150 - 300 с по ВЗ-4, крупность твердых частиц до 0,14 мм |
- |
- |
+ |
- |
- |
|
|
Примечания - 1 - Для эксплуатации на открытом воздухе. II - Для эксплуатации под навесом или в помещениях, где колебания температуры и влажности воздуха несущественно отличаются от колебаний на открытом воздухе и имеется сравнительно свободный доступ наружного воздуха У - Изделия, предназначенные для эксплуатации на суше, реках, озерах, для макроклиматического района с умеренным климатом |
|
|||||||||||||
Таблица 10 - Условия эксплуатации средств малой механизации для общестроительных работ
|
№ п/п |
Наименование средств малой механизации |
Марка |
Исполнение по ГОСТ 15150-69* |
Рабочая среда, исходный материал |
Необходимость подключения воды |
Необходимость в отдельно стоящем компрессоре |
||
|
климатическое исполнение, температура окружающей среды, °С |
категория размещения |
наименование |
требования |
|||||
|
1 Средства малой механизации для бестраншейной прокладки коммуникаций |
||||||||
|
1 |
Машина для проходки скважин |
СО-144 |
У -20 +45 |
1 |
Грунт* |
Размер включений менее 120 мм, размер пустот менее 300 мм |
- |
+ |
|
2 |
Пробойник пневматический реверсивный |
ИП-4605А |
У -20 +45 |
1 |
То же |
Размер включений менее 120 мм, размер пустот менее 300 мм |
- |
+ |
|
3 |
Пробойник пневматический реверсивный |
ИП-4603А |
У -20 +45 |
1 |
- « - |
Размер включений менее 120 мм, размер пустот менее 300 мм |
- |
+ |
|
4 |
Машина для проходки скважин и забивания труб |
СО-134-1 |
У -20 +45 |
1 |
- « - |
Размер включений менее 150 мм, размер пустот менее 500 мм |
- |
+ |
|
5 |
Машина для забивания труб |
СО-166 |
У -20 +45 |
1 |
- « - |
Размер включений менее 150 мм, размер пустот менее 500 мм |
- |
+ |
|
2 Средства малой механизации для набрызга бетонной смеси |
||||||||
|
1 |
Цемент-пушка |
СБ-117 |
У Не менее +5 |
II |
Вода |
Без механических примесей |
+ |
+ |
|
Щебень |
Крупность до 10 мм |
|||||||
|
Песок |
Влажность смеси 4 - 8 % |
|||||||
|
2 |
Установка для набрызга бетонной смеси |
СБ-67Б-1 |
У Не менее +5 |
II |
Вода Щебень Песок |
Рекомендуемый состав бетонной смеси изложен в паспорте на установку |
+ |
+ |
|
3 Оборудование для сверления железобетона |
||||||||
|
1 |
Станок электрический для сверления отверстий в железобетоне |
ИЭ-1801А |
У 0 +40 |
II |
Железобетон |
Толщина до 550 мм |
+ |
- |
|
2 |
Станок электрический для сверления отверстий в железобетоне |
ИЭ-1805 |
У 0 +40 |
II |
Железобетон |
Толщина до 380 мм |
+ |
- |
|
* Грунт, сжимаемый (уплотненный) связный, кроме сыпучего, водонасыщенного, мерзлого 1, 2, 3 групп. При наличии в грунте остатков строительных конструкций, крупных камней, корней деревьев качество работ не гарантируется. |
||||||||
Таблица 11 - Технико-экономические показатели использования средств малой механизации
|
№ п/п |
Наименование средств малой механизации |
Марка |
Обслуживающий персонал |
Средний ресурс до первого кап. ремонта, ч |
Макс. скорость транспортирования на буксире*, км/ч |
Завод-изготовитель |
ГОСТ, ТУ |
Снижение затрат труда**, чел.-год |
|
|
профессия, количество, чел |
разряд |
||||||||
|
1 |
2 |
3 |
4 |
5 |
6 |
7 |
8 |
9 |
10 |
|
Машины для штукатурных и малярных работ |
|||||||||
|
1 |
Штукатурная станция |
СО-114 |
1 |
IV |
2400 |
- |
Днепрорудненский завод СОМ Минстройдормаша СССР |
ТУ 22-5487-83 |
1,8 |
|
2 |
Агрегат штукатурный |
СО-57Б |
1 |
IV |
2200 |
15 |
Лебедянский завод СОМ Минстройдормаша СССР |
ТУ 22-5331-82 |
- |
|
3 |
Агрегат штукатурный |
СО-85А |
1 |
IV |
2000 |
15 |
Днепрорудненский завод СОМ Минстройдормаша СССР |
- |
|
|
4 |
Агрегат штукатурный для поэтажных работ |
СО-152 |
1 |
IV |
2200 |
- |
То же |
ТУ 22-5693-84 |
- |
|
5 |
Машина для приготовления и подачи жестких растворов |
СО-126 |
1 |
III |
2000 |
- |
- « - |
ТУ 22-4755-80 |
1,6 |
|
6 |
Машина для приготовления и транспортирования жестких растворов (пневмонагнетатель) |
СО-165 |
1 |
III |
2500 |
15 |
- « - |
ТУ 22-5682-84 |
0,9 |
|
7 |
Машина для приготовления гипсовых растворов |
СО-149 |
1 |
III |
1500 |
- |
Минский ОЭЗ НПО ВНИИСМИ Минстройдормаша СССР |
ТУ 22-4754-80 |
2,0 |
|
8 |
Растворонасос |
СО-48В |
1 |
IV |
2000 |
- |
Прилукский завод СМ Минстройдормаша СССР |
ТУ 22-5382-82 |
- |
|
9 |
Растворонасос |
СО-49В |
1 |
IV |
2000 |
- |
То же |
ТУ 22-5382-82 |
- |
|
10 |
Растворонасос |
СО-50А |
1 |
IV |
Скопинский завод СОМ Минстройдормаша СССР |
ТУ 22-5493-83 |
0,082 |
||
|
11 |
Малярная станция |
СО-115 |
3 |
IV |
2700 |
25 |
Волковысский завод кровельных и СОМ Минстройдормаша СССР |
ТУ 22-4325-78 |
7,0 |
|
12 |
Агрегат окрасочный передвижной |
СО-92А |
4000 |
15 |
Лебедянский завод СОМ Минстройдормаша ССР |
ТУ 22-5580-83 |
- |
||
|
13 |
Агрегат малярный |
СО-154 |
1 |
III |
1500 |
- |
Волковысский завод кровельных и СОМ Минстройдормаша СССР |
ТУ 22-5673-84 |
- |
|
14 |
Агрегат шпатлевочный |
СО-150 |
1 |
III |
1500 |
- |
Волковысский завод кровельных и СОМ Минстройдормаша СССР |
ТУ 22-5249-82 |
0,5 |
|
15 |
Агрегат окрасочный высокого давления |
2600Н |
1 |
1400 |
- |
Вильнюсское ПО СОМ Минстройдормаша СССР |
ТУ 22-4177-78 |
0,104 |
|
|
16 |
Агрегат окрасочный высокого давления |
7000Н |
1 |
1400 |
- |
То же |
ТУ 22-4177-78 |
0,21 |
|
|
Машины для бестраншейной прокладки коммуникаций |
|||||||||
|
1 |
Машина для проходки скважин |
СО-144 |
1 - 2 оператора |
IV - V |
300 |
- |
Одесский завод СОМ Минстройдормаша СССР |
ТУ 22-4554-79 |
- |
|
1 компрессорщик |
V |
||||||||
|
2 |
Пробойник пневматический реверсивный |
ИП-4605А |
2 оператора |
IV - V |
600 |
- |
То же |
ТУ 22-4950-81 |
0,14 |
|
1 компрессорщик |
V |
||||||||
|
3 |
Пробойник пневматический реверсивный |
ИП-4603А |
2 оператора |
IV - V |
- |
- « - |
ТУ-22-5184-81 |
0,43 |
|
|
1 компрессорщик |
V |
||||||||
|
1 эл. газосварщик |
IV |
||||||||
|
4 |
Машина для проходки скважин и забивания труб |
СО-134 |
2 оператора |
IV - V |
250 |
- |
- « - |
ТУ 22-4572-79 |
- |
|
1 компрессорщик |
V |
||||||||
|
1 эл. газосварщик |
IV |
||||||||
|
5 |
Машина для забивания труб |
СО-166 |
2 оператора |
IV - V |
300 |
- |
- « - |
ТУ 22-5455-83 |
0,4 |
|
1 компрессорщик |
V |
||||||||
|
1 эл. газосварщик |
IV |
||||||||
|
Машины для набрызга бетонной смеси |
|||||||||
|
1 |
Цемент-пушка |
СБ-117 |
1 оператор |
IV |
5500 |
- |
Тюменский завод СМ Минстройдормаша СССР |
ТУ 22-3705-76 |
|
|
1 сопловщик |
IV |
||||||||
|
2 |
Установка для набрызга бетонной смеси |
СБ-67Б-1 |
1 оператор |
IV |
6500 |
5 - 35* |
Прилукский завод им XXV съезда КПСС Минстройдормаша СССР |
ТУ 22-5196-83 |
|
|
1 сопловщик |
IV |
||||||||
|
Оборудование для сверления железобетона |
|||||||||
|
1 |
Станок электрический для сверления отверстий в железобетоне |
ИЭ-1801А |
1 бурильщик |
IV |
2000 |
- |
Одесский завод СОМ Минстройдормаша СССР |
ТУ 22-5318-82 |
0,16 |
|
1 бурильщик |
II |
||||||||
|
2 |
Станок электрический для сверления отверстий в железобетоне |
ИЭ-1805 |
1 бурильщик |
IV |
1800 |
- |
То же |
ТУ 22-3458-75 |
|
|
1 бурильщик |
II |
||||||||
|
* Скорость на дорогах с усовершенствованным покрытием - 35 км/ч, по прочим дорогам и на поворотах - 18 км/ч, на плохих участках дороги и строительных площадках - 5 км/ч. ** Снижение затрат труда (чел.-год) от использования строительно-отделочных машин приведены по данным ВНИИСМИ. |
|||||||||
Эксплуатация строительных машин, механизмов, средств малой механизации должна осуществляться в соответствии с СП 12-135-2002 «Безопасность труда в строительстве. Отраслевые типовые инструкции по охране труда».
До начала работы средств малой механизации руководитель работ должен определить схему движения транспортных средств и место установки машин, места и способы зануления (заземления) машин, имеющих электропривод, указать способы взаимодействия и сигнализации машиниста (оператора) с рабочим-сигнальщиком, обслуживающим машину, а также обеспечить надлежащее освещение рабочей зоны.
Место работы средств малой механизации должно быть выбрано так, чтобы было обеспечено пространство, достаточное для обзора рабочей зоны. Если машинист, управляющий машиной, не имеет достаточной обзорности рабочего пространства или не видит рабочего, подающего ему сигналы, между машинистом и сигнальщиком необходимо установить двустороннюю радио- или телефонную связь. Использование промежуточных сигнальщиков для передачи сигналов машинисту не допускается.
Оставлять без надзора машины с работающим двигателем не допускается.
При эксплуатации машин должны быть приняты меры, предупреждающие их опрокидывание под действием ветра или при наличии уклона местности.
Техническое обслуживание машины осуществляется только после остановки двигателя и снятии давления в пневматической системе и системе водоснабжения. Плавкие вставки предохранителей в цепи питания электродвигателей должны быть вынуты.
Для разогрева узлов машины, а также при наличии течи в масляных системах не допускается использование открытого огня.
При перемещении машины на буксире или транспортных средствах должны соблюдаться Правила дорожного движения.
Манометры в системе пневмо- и гидропривода машин должны быть испытаны и опломбированы.
Рабочее место штукатура (в случае подачи раствора с помощью растворонасосных установок) должно быть обеспечено двусторонней связью с рабочим местом машиниста установки.
Растворонасосы должны устанавливаться строго горизонтально и закрепляться от возможного перемещения с помощью клиньев и колодок, подкладываемых под колеса.
При нанесении раствора вручную на потолочную и вертикальную поверхности штукатур должен находиться сбоку от места набрызга раствора и работать в защитных очках.
В случае прекращения подачи раствора через форсунку или неисправности трубопровода необходимо перекрыть вентиль на растворопроводе и дать сигнал для остановки растворонасоса.
При работе с растворонасосом штукатур должен следить, чтобы давление не превышало допускаемых норм, указанных в паспорте, рукава не образовывали петель и острых углов. Не разрешается прекращать подачу раствора путем перегибания рукава.
Удалять растворные пробки, ремонтировать и разбирать растворонасосы и растворопроводы разрешается только после отключения их от электросети. Нахождение рабочих, непосредственно не участвующих в продувке растворопровода, допускается на расстоянии не ближе 10 м от растворопровода.
Перед началом работы с пневмоинструментом маляр должен:
- проверить наличие и исправность манометра;
- убедиться в исправности рабочей части инструмента;
- проверить надежность крепления рукавов к инструменту и бачку (крепление рукавов должно выполняться с помощью штуцеров и хомутов, применение для этой цели проволоки не допускается).
При обнаружении неисправности пневмоинструмента работа с ним запрещается. Включать электроинструмент разрешается только после установки его в рабочее положение.
При работе с пневмоинструментом маляр обязан постоянно следить за показаниями манометра. Превышение рабочего давления не допускается. При обнаружении неисправности механизмов следует немедленно отключить подачу воздуха, перекрыть воздушный вентиль. Перегибать рукав или завязывать его взлом для прекращения подачи воздуха запрещается.
Пистолет-распылитель следует держать под прямым углом к окрашиваемой поверхности на расстоянии 0,3 м и передвигать вдоль этой поверхности равномерно, без рывков.
В целях обеспечения безопасных и безвредных условий труда запрещается:
- распылять токсичные и взрывоопасные растворители,
- переставлять насосный агрегат и разъединять штепсельный разъем при включенном электродвигателе;
- производить окрасочные работы взрывоопасными материалами при наличии во взрывоопасной зоне открытого огня, невзрывозащищенного оборудования и освещения;
- работать во взрывоопасной зоне инструментом, вызывающим искрообразование;
- производить окрасочные работы без средств индивидуальной защиты и принудительной вентиляции рабочей зоны помещений;
- применять для чистки (обтирки) частей агрегата и мытья рук этилированный бензин, четыреххлористый углерод, толуол, метанол, ароматические растворители и др. ядовитые или неизвестные жидкости.
К работам разрешается приступать только после получения разрешения на производство земляных работ от соответствующих организаций.
При работе с пневмопробойниками существует опасность повреждения подземных коммуникаций, поэтому до начала работ необходимо проверить фактические положение существующих в зоне работ подземных коммуникаций в плане и по высоте, с вызовом в необходимых случаях представителей соответствующих организаций.
Если в процессе производства работ возникла аварийная ситуация, работу необходимо прекратить и о случившемся немедленно сообщить владельцу соответствующей поврежденной коммуникации. Дальнейшее производство работ разрешается только после принятия совместного решения.
Рабочие приямки должны отрываться в соответствии с требованиями СНиП 3.02.01-87 «Земляные сооружения, основания и фундаменты» и, если это требуется по грунтовым условиям, выполняться с откосами или креплениями.
Рабочие приямки должны быть ограждены. На ограждении необходимо вывешивать предупреждающие знаки и надписи, а в темное время суток сигнальное освещение.
При работе с пневмопробойником обязательно пользоваться защитными очками, маской, шлемом, индивидуальными средствами защиты от воздействия звукового давления, а при работе вблизи транспортных магистралей - сигнальными жилетами. Категорически запрещается наблюдать за работой машин через устье скважины.
При внедрении в грунт пневмопробойника или стальной трубы, а также при извлечении трубы из грунта необходимо следить за состоянием стенок приямка и обрушать грунт, отслоившийся в результате вибрации.
При выходе пневмопробойника или оголовка забиваемой трубы в приемный приямок возможно обрушение грунта, поэтому находиться в приямке в это время запрещается.
Подключать рукава к компрессору только через вентили и пробковые краны.
Укладка рукавов должна выполняться в соответствии с приведенными на рисунке 59 способами.
Рисунок 59 - Укладка рукава «петлей» и «змейкой»
Операции по разборке, сборке и ремонту рукавов и ударных узлов пневмопробойника осуществлять при перекрытом вентиле воздушной магистрали (компрессора).
Постоянно следить за исправностью рукавов и их соединений, не допускать перегибов рукава при движении пневмопробойника.
При продувке рукавов струю воздуха направлять вверх и в сторону от обслуживающего персонала.
Машинист компрессора обязан постоянно следить за сигналами работающих с пневмопробойником: подавать или отключать сжатый воздух в магистрали только по их сигналу.
Постоянное рабочее место обслуживающего персонала должно находиться не ближе 10 м от места пуска пневмопробойника.
Пуск пневмопробойника осуществлять при давлении 300 - 400 кПа (3 - 4 кгс/см2) до надежного сцепления машины с грунтом.
Запрещается работать при наличии неисправностей в машине и отсутствии сигнализации между сопловщиком и оператором.
Оператор начинает подачу смеси только по сигналу сопловщика.
Все рабочие должны быть снабжены спецодежной и респираторами.
При подаче воздуха в шланг сопло должно быть направлено в безопасное место.
При работе и обслуживании машины запрещается:
- работать без респираторов;
- определять места образования пробок при наличии давления в системе и устранять их давлением воздуха;
- находиться перед отверстиями выходного патрубка (сопла и шланга) при наличии давления в системе;
- включать электродвигатель при отсутствии смазки в редукторе и при полностью поджатых прижимных устройствах (без материала);
- выполнять чистку, смазку и ремонт машины при наличии давления в пневмосистеме и включенном электродвигателе;
- производить ремонт оборудования, не отключив его от питающей сети;
- работать без манометра или с неисправным манометром;
- подавать воздух в шланг при незакрепленном или неудерживаемом сопле.
При работе на установке СБ-67Б-1 сопловщик должен надеть защитный щиток для лица.
При транспортировании краном установку СБ-67Б-1 захватывают тремя крюками за скобы, имеющиеся на бункере Грузоподъемность подъемных механизмов - не менее 1,5 т. Длина стропов не менее 1 м.
К работе с установкой должны допускаться лица, прошедшие инструктаж и обучение безопасным методам труда, проверку знаний правил безопасности и инструкций в соответствии с занимаемой должностью, применительно к выполняемой работе с присвоением соответствующей квалификационной группы по технике безопасности и не имеющие медицинских противопоказаний, установленных Министерством здравоохранения России.
Работать с установкой разрешается только в резиновых перчатках, галошах (сапогах) и каске при наличии надежного защитного заземления установки. Подключать установку к питающей сети разрешается только через защитно-отключающее устройство с помощью штепсельного соединения, имеющего защитный заземляющий контакт.
Перед началом работы необходимо проверить:
- исправность цепи зануления установки;
- отсутствие замыканий на корпус;
- целостность резиновой оболочки питающего кабеля, резиновых перчаток и галош (сапог);
- правильность подключения нулевого защитного провода переносного питающего кабеля к нулю питающего пункта;
- исправность защитно-отключающего устройства;
- затяжку резьбовых соединений;
- исправность установки внешним осмотром, поворотом шпинделя вручную и пробным включением.
При обнаружении неисправностей необходимо, не приступая к работе, доложить о них мастеру.
При сверлении сквозных отверстий ответственный за производство работ на объекте обязан обеспечить ограждение зоны возможного падения керна.
Кроме того, следует поставить щиты с предупредительными надписями, а на месте предполагаемого падения керна положить мягкое основание.
При перерывах в работе, смене сверла, ремонте, прекращении подачи электроэнергии, проведении работ, не связанных непосредственно со сверлением, установку следует отключить от сети.
Во время работы с установкой следует:
- не допускать скручивания, натяжения, крутых изгибов кабеля;
- не допускать попадания кабеля в рабочие органы установки;
- не допускать попадания пыли и влаги в защитно-отключающее устройство и в штепсельные соединения;
- придерживать сверлильную головку, ослабляя болты поворотного устройства, при поворотах сверлильной головки.
Для обеспечения безопасности работ должны предусматриваться и выполняться организационные и технические мероприятия в соответствии с требованиями ГОСТ 12.1.019-79*.
Запрещается:
- продолжительно нажимать кнопки «Пуск» (ЗОУ) в случае срабатывания защиты на отключение;
- производить включение защитно-отключающего устройства после срабатывания защиты, не устранив повреждение;
- производить работу на открытых площадках во время атмосферных осадков;
- работать в рукавицах, с медицинскими повязками на руках, а также с неподвязанными обшлагами рукавов;
- прикасаться к вращающимся деталям;
- использовать установку не по назначению;
- оставлять возле вращающихся деталей ветошь и обтирочные материалы;
- опираться на установку во время работы;
- нажимать рукоятку подачи сверла усилием, вызывающим заметное замедление вращения сверла;
- допускать к работе посторонних лиц;
- устранять неисправности во время работы.
1 СНиП 3.01.01-85* «Организация строительного производства».
2 СНиП 3.02.01-87 «Земляные сооружения, основания и фундаменты».
3 СНиП 3.05.06-85 «Электротехнические устройства».
4 СНиП 12-03-2001 «Безопасность труда в строительстве Часть 1. Общие требования».
5 СНиП 12-04-2002 «Безопасность труда в строительстве. Часть 2. Строительное производство».
6 ГОСТ 12.1.004-91* ССБТ. Пожарная безопасность. Общие требования.
7 ГОСТ 12.1.019-79* ССБТ. Электробезопасность. Общие требования и номенклатура видов защиты.
8 ГОСТ 12.1.046-85 ССБТ. Строительство. Нормы освещения строительных площадок.
9 ГОСТ 12.2.003-91 ССБТ. Оборудование производственное. Общие требования безопасности.
10 ГОСТ 12.3.002-75* ССБТ Процессы производственные. Общие требования безопасности.
11 ГОСТ 12.3.006-75 ССБТ. Эксплуатация водопроводных и канализационных сооружений и сетей. Общие требования безопасности.
12 ГОСТ 12.3.009-76* ССБТ. Работы погрузочно-разгрузочные. Общие требования безопасности.
13 ГОСТ 5496-78* Трубки резиновые технические. Технические условия.
14 ГОСТ 8267-93* Щебень и гравий из плотных горных пород для строительных работ. Технические условия.
15 ГОСТ 8736-93* Песок для строительных работ. Технические условия.
16 ГОСТ 10181-2000 Смеси бетонные. Методы испытаний.
17 ГОСТ 10362-76* Рукава резиновые напорные с нитяным усилением неармированные. Технические условия.
18 ГОСТ 15150-69* Машины, приборы и другие технические изделия. Исполнения для различных климатических районов. Категории, условия эксплуатации, хранения и транспортирования в части воздействия климатических факторов внешней среды.
19 ГОСТ 18698-79* Рукава резиновые напорные с текстильным каркасом. Технические условия.
20 ГОСТ 24638-85* Сверла алмазные кольцевые для железобетонных конструкций. Технические условия.
21 Дорожно-строительные машины и оборудование. Справочник Киев, Будивельник, 1980.
22 Единые требования безопасности к конструкции строительных и дорожных машин, оборудования для промышленности строительных материалов, строительного механизированного инструмента и строительно-отделочных машин. Утверждены Минстройдормашем.
23 Каталог оборудования для алмазного сверления, резки и разрушения железобетона.
24 Краткий автомобильный справочник. М. Транспорт.
25 Ливинец Н.П. Карманный справочник электрика-строителя. Киев. Будивельник.
26 Вибраторы ручные глубинные и поверхностные электрические для уплотнения бетонных смесей (каталог-справочник). ОАО ПКТИпромстрой. 2000
27 Машины для производства земляных работ. Каталог. Технические характеристики ОАО ПКТИпромстрой. 1996
28 Спецавтотехника на шасси КамАЗ. Каталог.
29 Технологический комплект средств механизации, инструмента и оснастки для выполнения работ по устройству штукатурных покрытий фасадов ОАО ПКТИпромстрой. 1999
30 Правила дорожного движения. Утверждены МВД России
31 ППБ-01-93** Правила пожарной безопасности в Российской Федерации.
32 Правила эксплуатации электроустановок потребителей. 6 издание. 2001
33 ПОТ Р М-016-2001 Межотраслевые правила по охране труда (правила безопасности при эксплуатации электроустановок)
34 Правила устройства и безопасной эксплуатации сосудов, работающих под давлением. Утверждены Госгортехнадзором России.
35 Правила устройства электроустановок. Утверждены Госэнергонадзором Минэнерго.
36 Паспорта, карты технического уровня, рабочие проекты на строительно-монтажные и общестроительные машины.
37 Рекомендации по применению пневмопробойников в строительном производстве.
38 Санитарные правила при окрасочных работах с применением ручных распылителей.
39 Сборник документов по охране труда в строительстве. Нормативные документы и правила. Проектирование и приемка в эксплуатацию. Электробезопасность. Освещение. Грузоподъемные строительные и дорожные машины.
40 СП 12-135-2002 Безопасность труда в строительстве. Отраслевые типовые инструкции по охране труда.
41 ПОТ Р М-007-98 Правила по охране труда при погрузочно-разгрузочных работах и размещении грузов.
42 Методические рекомендации. Технология и организация комплексного применения алмазного инструмента и технологического оборудования при строительстве, реконструкции, техническом перевооружении объектов промышленного и культурно-бытового назначения. АООТ ПКТИпромстрой, М., 1991.
СОДЕРЖАНИЕ