ФЕДЕРАЛЬНОЕ АГЕНТСТВО
ПО ТЕХНИЧЕСКОМУ РЕГУЛИРОВАНИЮ И МЕТРОЛОГИИ
|
|
НАЦИОНАЛЬНЫЙ |
ГОСТ
Р |
Акустика
РЕКОМЕНДУЕМЫЕ МЕТОДЫ
ПРОЕКТИРОВАНИЯ
МАЛОШУМНЫХ РАБОЧИХ МЕСТ
ПРОИЗВОДСТВЕННЫХ ПОМЕЩЕНИЙ
Часть 2
Меры и средства защиты от шума
ISO 11690-2:1996
Acoustics - Recommended practice for the design of low-noise
workplaces
containing machinery - Part
2: Noise control measures
(MOD)
|
|
Москва Стандартинформ 2008 |
Предисловие
Цели и принципы стандартизации в Российской Федерации установлены Федеральным законом от 27 декабря 2002 г. № 184-ФЗ «О техническом регулировании», а правила применения национальных стандартов Российской Федерации - ГОСТ Р 1.0-2004 «Стандартизация в Российской Федерации. Основные положения»
Сведения о стандарте
1 ПОДГОТОВЛЕН Открытым акционерным обществом «Научно-исследовательский центр контроля и диагностики технических систем» (ОАО «НИЦ КД») на основе собственного аутентичного перевода стандарта, указанного в пункте 4
2 ВНЕСЕН Техническим комитетом по стандартизации ТК 358 «Акустика»
3 УТВЕРЖДЕН И ВВЕДЕН В ДЕЙСТВИЕ Приказом Федерального агентства по техническому регулированию и метрологии от 25 декабря 2007 г. № 404-ст
4 Настоящий стандарт является модифицированным по отношению к международному стандарту ИСО 11690-2:1996 «Акустика. Рекомендуемые методы проектирования малошумных рабочих мест производственных помещений. Часть 2. Средства защиты от шума» (ISO 11690-2:1996 «Acoustics - Recommended practice for the design of low-noise workplaces containing machinery - Part 2: Noise control measures») путем внесения технических отклонений, объяснение которых приведено во введении к настоящему стандарту.
Наименование настоящего стандарта изменено относительно наименования указанного международного стандарта для приведения в соответствие с ГОСТ Р 1.5-2004 (подраздел 3.5)
5 ВВЕДЕН ВПЕРВЫЕ
Информация об изменениях к настоящему стандарту публикуется в ежегодно издаваемом информационном указателе «Национальные стандарты», а текст изменений и поправок - в ежемесячно издаваемых информационных указателях «Национальные стандарты». В случае пересмотра (замены) или отмены настоящего стандарта соответствующее уведомление будет опубликовано в ежемесячно издаваемом информационном указателе «Национальные стандарты». Соответствующая информация, уведомление и тексты размещаются также в информационной системе общего пользования - на официальном сайте Федерального агентства по техническому регулированию и метрологии в сети Интернет
СОДЕРЖАНИЕ
Введение
Настоящий стандарт имеет следующие отличия от примененного в нем международного стандарта ИСО 11690-2:1996:
- из раздела 1 исключено примечание, содержащее общую ссылку на структурный элемент «Библиография», сокращенный в результате исключения из него источников, на которые отсутствуют ссылки в тексте стандарта;
- в соответствии с требованиями ГОСТ Р 1.5-2004 раздел «Нормативные ссылки» дополнен стандартами:
ГОСТ 31252-2004, ГОСТ 30457-97, ГОСТ 30691-2001, ГОСТ 31171-2003, ГОСТ 31298.1-2005, ГОСТ 31298.2-2005, ГОСТ 31324-2006, ГОСТ Р 52799, соответствующими международным стандартам, на которые имеются ссылки в тексте примененного международного стандарта;
ГОСТ 27296-87, ГОСТ 30690-2000 для учета потребностей национальной экономики.
Кроме того, заменены отдельные слова и добавлены фразы, более точно раскрывающие смысл некоторых положений. Указанные изменения выделены в тексте курсивом.
НАЦИОНАЛЬНЫЙ СТАНДАРТ РОССИЙСКОЙ ФЕДЕРАЦИИ
Акустика
РЕКОМЕНДУЕМЫЕ
МЕТОДЫ ПРОЕКТИРОВАНИЯ
МАЛОШУМНЫХ РАБОЧИХ МЕСТ ПРОИЗВОДСТВЕННЫХ ПОМЕЩЕНИЙ
Часть 2
Меры и средства защиты от шума
Acoustics. Recommended practice for the
design of low-noise workplaces containing machinery.
Part 2. Noise control measures
Дата введения - 2008-07-01
Настоящий стандарт устанавливает технические меры защиты от шума на рабочих местах. В стандарте рассмотрены различные виды средств и мер защиты, акустические величины для оценки и контроля эффективности этих средств, приведены типичные значения характеристик снижения шума.
Настоящий стандарт имеет отношение к слышимому звуку.
В настоящем стандарте использованы нормативные ссылки на следующие стандарты:
ГОСТ Р 52797.1-2007 (ИСО 11690-1:1996) Акустика. Рекомендуемые методы проектирования малошумных рабочих мест производственных помещений. Часть 1. Принципы защиты от шума
ГОСТ Р 52797.3-2007 (ИСО/ТО 11690-3:1997) Акустика. Рекомендуемые методы проектирования малошумных рабочих мест производственных помещений. Часть 3. Распространение звука в производственных помещениях и прогнозирование шума
ГОСТ Р 52799-2007 (ИСО 11691:1995) Акустика. Измерение вносимых потерь для канальных глушителей при отсутствии потока. Ориентировочный метод в лабораторных условиях
ГОСТ 27296-87 Защита от шума в строительстве. Звукоизоляция ограждающих конструкций зданий. Методы измерения
ГОСТ 30457-97 (ИСО 9614-1-93) Акустика. Определение уровней звуковой мощности источников шума на основе интенсивности звука. Измерение в дискретных точках. Технический метод
ГОСТ 30690-2000 Экраны акустические передвижные. Методы определения ослабления звука в условиях эксплуатации
ГОСТ 30691-2001 (ИСО 4871-96) Шум машин. Заявление и контроль значений шумовых характеристик
ГОСТ 31171-2003 (ИСО 11200:1995) Шум машин. Руководство по выбору метода определения уровней звукового давления излучения на рабочем месте и в других контрольных точках
ГОСТ 31252-2004 (ИСО 3740:2000) Шум машин. Руководство по выбору метода определения уровней звуковой мощности
ГОСТ 31298.1-2005 (ИСО 11546-1:1995) Шум машин. Определение звукоизоляции кожухов. Часть 1. Лабораторные измерения для заявления значений шумовых характеристик
ГОСТ 31298.2-2005 (ИСО 11546-2:1995) Шум машин. Определение звукоизоляции кожухов. Часть 2. Измерения на месте установки для приемки и подтверждения заявленных значений шумовых характеристик
ГОСТ 31299-2005 (ИСО 11957:1996) Шум машин. Определение звукоизоляции кабин. Испытания в лаборатории и на месте установки
ГОСТ 31324-2006 (ИСО 11820:1996) Шум. Определение характеристик глушителей при испытаниях на месте установки
Примечание - При пользовании настоящим стандартом целесообразно проверить действие ссылочных стандартов по указателю «Национальные стандарты», составленному по состоянию на 1 января текущего года, и по соответствующим информационным указателям, опубликованным в текущем году. Если ссылочный стандарт заменен (изменен), то при пользовании настоящим стандартом следует руководствоваться заменяющим (измененным) стандартом. Если ссылочный стандарт отменен без замены, то положение, в котором дана ссылка на него, применяется в части, не затрагивающей эту ссылку.
В настоящем стандарте применены термины по ГОСТ Р 52797.1.
Средства снижения шума могут быть применены к источнику (излучение шума), между источником и приемником (на пути распространения шума) и на рабочем месте (приемник шума).
При вводе оборудования в эксплуатацию или в процессе производства должны быть рассмотрены все средства снижения шума, излучаемого оборудованием (см. раздел 5 и ГОСТ Р 52797.1). Для того чтобы определить, является ли шум практически минимально возможным, необходимо рассмотреть шумовые характеристики. Они могут быть приведены в заявлении поставщика (см. ГОСТ Р 52797.1, раздел 8) или определены путем измерений (выполненных по соответствующим стандартам).
Оценка эффективности средств защиты от шума, таких как ограждения, частичные ограждения, барьеры и экраны, глушители и т.д., может быть проведена с использованием, например, значений вносимых потерь (см. 6.2).
Акустическое качество производственных помещений и зданий оценивают по величине звукоизоляции шума, распространяющегося по воздуху (далее - воздушный шум), и шума, распространяющегося по структуре (далее - структурный шум, см. 6.4), и значениям параметров распространения звука в производственных помещениях (см. 6.3).
Суммарную эффективность средств защиты от шума определяют по значениям иммиссии шума на рабочих местах.
В общем случае на людей, находящихся на рабочем месте или непосредственно вблизи машины, действует прямое излучение шума самой машины. Поэтому наиболее эффективным решением проблемы ослабления шума на рабочем месте является снижение шума в источнике (первичные меры). Дополнительные меры, применяемые на пути распространения шума (вторичные меры), могут оказаться практически неудобными из-за их мешающего воздействия на производственные задачи и процессы. Поэтому при оценке состояния средств и методов снижения шума с точки зрения безопасности труда главным приоритетом является малое излучение шума источником.
Основные меры защиты от шума (см. также ГОСТ Р 52797.1) приведены на рисунке 1. Их обзор приведен в разделах 5 - 7.
Рисунок 1 - Основные меры защиты от шума
Для минимизации шума на рабочем месте следует заранее рассмотреть все средства снижения шума (см. рисунок 2).
Рисунок 2 - Методы реализации мероприятий защиты от шума
Защита от шума наиболее эффективна, если ее осуществляют при планировании, модификации, замене машин и оборудования на предприятиях, в производственных помещениях и зданиях. Все заинтересованные стороны (см. ГОСТ Р 52797.1, раздел 6), в частности эксперты по шуму, с самого начала должны участвовать в данном процессе. Мероприятия по защите от шума наиболее эффективны, если их совмещают со стадией проектирования машин, технологических процессов, рабочих помещений и операций (см. ГОСТ Р 52797.1, раздел 7). На этой стадии должны также быть учтены режимы работы машин, транспортировки материалов, вопросы техники безопасности, эргономики и защиты окружающей среды.
5.1 Общие положения
Мероприятия, описанные в настоящем разделе, имеют отношение к ослаблению шума, излучаемого производственными процессами и машинами. Они могут быть реализованы на стадии проектирования, поскольку ретроспективные меры не только могут воздействовать на эксплуатационные характеристики, но и являются обычно более дорогими. Тем не менее, они также рекомендуются для существующих источников шума, если это практически выполнимо.
Снижение шума в источнике на рабочих местах относится, в частности, к ослаблению шума существующих машин, к разработке и выбору малошумных производственных процессов и технологий, к обновлению части машин и оценке полученных при этом результатов.
Эффективность снижения шума в источнике оценивают путем измерения шумовых характеристик и сравнения их значений, предоставляемых, в частности, поставщиком/производителем (см. ГОСТ Р 52797.1, раздел 8).
5.2 Снижение шума в источнике средствами проектирования
При рассмотрении шума машин (или шума от производственного оборудования) следует различать два типа процессов генерации шума: гидродинамический (газ и/или жидкость) и механический.
Гидродинамический шум возрастает при кратковременных флуктуациях давления и скорости жидкостей. Примерами источников гидродинамического шума являются процессы горения, вентиляторы, выпускные отверстия и гидросистемы.
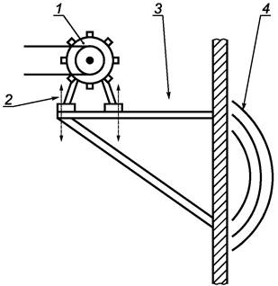
Механически генерируемый шум вызывается вибрацией компонентов машин, возбуждаемых динамическими силами, которые генерируются, например, ударами или дисбалансом масс. Вибрация передается звукоизлучающим поверхностям, таким как корпусы машин, рабочим частям, молотам, вибраторам и механическим прессам (см. рисунок 3).
Для того чтобы уменьшить шум в источнике, следует принимать во внимание механизм генерации шума.
1 - машина; 2 - возбуждение; 3 - передача; 4 - излучение
Рисунок 3 - Процесс генерации механического шума
Примеры способов ослабления гидродинамического шума:
a) ослабление периодических флуктуации давления в источнике возбуждения;
b) снижение скоростей потоков;
c) предупреждение внезапных изменений давления;
d) эффективная конструкция путевой арматуры.
Примеры способов ослабления механического шума:
a) ослабление динамических сил возбуждения (например, применением упругих амортизаторов с целью демпфировать ударные импульсы);
b) уменьшение виброскорости элементов машины в точке возбуждения для заданных динамических сил [например, с помощью ребер жесткости или добавочных масс (инерционные блоки)];
c) уменьшение передачи вибрации (структурного шума) от точки возбуждения к излучающим звук поверхностям [например, применением эластичных элементов и материалов с большим внутренним затуханием (чугун)];
d) уменьшение звука, излучаемого вибрирующими конструкциями, использованием, например:
- тонких стенок с ребрами жесткости вместо толстых плотных стен;
- вибродемпфирующих покрытий по тонким металлическим пластинам;
- перфорированных металлических листов (если обеспечивать звукоизоляцию нет необходимости);
е) звукоизолирующие покрытия или толстостенные конструкции (тонкие демпфированные металлические листы вблизи излучающей поверхности).
Более подробная информация относительно снижения шума в источнике может быть найдена в стандартах [1] и [2].
5.3 Информация по излучению шума
Кроме информации о шумовых характеристиках, представляемой поставщиками/производителями в технических документах (см. ГОСТ Р 52797.1, раздел 8), дополнительно могут существовать сведения о специфических мерах защиты от шума, характерных для отдельных отраслей промышленности. Такую информацию можно найти в базах данных, профессиональных технических журналах, журналах торговых объединений и т.п.
Для машин некоторых семейств существуют перечни шумовых характеристик, полученные в заданных режимах работы. Использование таких перечней помогает потребителям выбрать малошумные машины/оборудование (см. ГОСТ Р 52797.1, приложение А).
5.4 Применение малошумных машин
В некоторых обстоятельствах, прежде чем применять на производстве дорогостоящие меры защиты от шума, целесообразно заменить шумное оборудование его малошумным аналогом.
Это относится и к шумным операциям, которые не привязаны к определенным машинам, например к работе ручным инструментом. В производственных помещениях такие операции часто являются преобладающими источниками шума. Как показано на рисунках 4 - 7, можно добиться значительного снижения шума, если провести тщательный выбор инструмента или соответствующим образом расположить рабочие места (например, демпфированные молоты, амортизированные рабочие столы, малошумные шлифовальные круги, маты с электромагнитным демпфированием).
а - обычный стальной молот, уровень звука LpA = 115
дБА;
b
- демпфированный
молот, уровень звука LpA = 105 дБА
Рисунок 4 - Пример октавного спектра звукового давления процесса поковки

а - твердый шлифовальный круг, уровень звука LpA = 100
дБА;
b - шлифовальный круг со связанным абразивом, уровень звука LpA = 89 дБА
Рисунок 5 - Пример октавного спектра звукового давления процесса
зачистки чугунного корпуса электродвигателя шлифовальным кругом

а - стальная пластина, толщиной 25 мм; b - стальная пластина,
демпфированная слоем вязкого
вибропоглощающего материала толщиной 40 мм; с - стальная пластина
толщиной 200 мм
Рисунок 6 - Уровни звука при поковке
а - без магнитного коврика; b - с магнитным ковриком
Рисунок 7 - Уровень звукового давления при шлифовании стального листа
5.5 Модификация или замена компонентов машин
Можно уменьшить передачу шума внутри машины и излучение шума ее поверхностью (корпусом) без изменения технических характеристик машины путем замены или модификации ее компонентов. В приложении А приведены примеры таких способов снижения шума.
5.6 Малошумные производственные процессы и технологии
Всегда полезно по возможности частично заменять производящие шум машины и станки их малошумными аналогами, например, используя машины, имеющие другой принцип действия (например, заменив ударный шуруповерт на шуруповерт с непрерывным прямым приводом).
По отношению к производственным процессам особое внимание следует уделять возможности замены шумных процессов равными по эффективности малошумными процессами (см. таблицу 1).
Для замещения производственных процессов следует систематически изучать малошумные альтернативы.
Успешная замена машин, производственных единиц и процессов их менее шумными аналогами в перспективе приведет к снижению общего производственного шума, даже при установке малошумных машин рядом с существующим шумным оборудованием.
Таблица 1 - Примеры альтернативных малошумных процессов
|
Малошумный процесс |
|
|
Ударное клепание |
Клепание обжимом и накатом |
|
Пневмопривод или привод с помощью встроенного двигателя внутреннего сгорания |
Электрический привод |
|
Вырезание или пробивка отверстий, например, в камне или бетоне, с помощью пневматических или с двигателем внутреннего сгорания отбойных молотков |
Применение режущих инструментов с алмазными зубьями, которые могут быть приспособлены к дрели или к циркулярной пиле |
|
Высадочная штамповка |
Коническое/прямое прессование |
|
Ударное резание |
Тяговое резание |
|
Высушивание потоком |
Высушивание излучением |
|
Плазменно-кислородное резание |
Плазменное резание под водой |
|
Ударная штамповка, перфорирование |
Перфорирование лазерным лучом |
|
Обычная дуговая сварка/дуговая сварка вольфрамовым электродом в среде инертного газа |
Дуговая сварка вольфрамовым электродом в среде инертного газа с защитой зоны сварки |
|
Пламенная закалка |
Закалка лазерным лучом |
|
Закрепление заклепками |
Закрепление давлением |
|
Ударная формовка |
Гидропрессование |
|
Точечная сварка |
Роликовая сварка |
|
Примечания 1 Замена материала и/или формы изготовляемых деталей может позволить использовать малошумные технологии. 2 Этот перечень не является исчерпывающим. |
|
5.7 Техническое обслуживание машин и средств защиты от шума
Излишне повышенный уровень шума машин или технологических процессов может быть обусловлен недостаточным техническим обслуживанием, отсутствием смазки, несоосносностью, дисбалансом, незакрепленными деталями и т.п. Всегда следует поддерживать оптимальные условия работы. Любые недостатки технического обслуживания обычно приводят к увеличению уровня шума.
Техническое обслуживание средств защиты от шума также имеет первостепенную важность. Поэтому эффективность ограждений, экранов и глушителей должна находиться под постоянным наблюдением.
6.1 Снижение шума посредством подходящего пространственного расположения источников шума
Оптимальное расположение машин может обеспечить существенное снижение уровня шума на рабочих местах. Это применимо главным образом при планировании новых производств и установок, но может быть принято к рассмотрению для существующих предприятий.
Снижение шума может быть получено за счет увеличения расстояния между источниками шума и рабочими местами (см. приложение В).
6.2 Применение технических средств снижения шума
Ограждения (кожухи) (см. приложение С), глушители (см. приложение D) и экраны (см. приложение Е) могут служить эффективными средствами для ослабления шума, излучаемого машинами, установками, системами трубопроводов и отверстиями (щелями, проемами).
Кожухи - это конструкции, полностью охватывающие машину или установку. Они состоят в основном из звукоизолирующих панелей (металл, дерево, бетон и т.п.), покрытых изнутри звукопоглощающей облицовкой. Достигаемое снижение шума зависит от изоляции воздушного шума, обеспечиваемого панелью, и от звукопоглощения внутренней поверхности кожуха. Практически оно ограничено щелями, неэффективным уплотнением и передачей структурного шума. Эти ограничения могут быть минимизированы использованием таких средств, как заглушённые отверстия.
Эффективность защиты от шума с помощью кожухов, глушителей или экранов может быть измерена и оценена по значениям вносимых потерь, потерь при передаче и снижения уровня звукового давления на рабочем месте (определения терминов см. по ГОСТ Р 52797.1, раздел 3).
6.3 Защита от шума с помощью звукопоглощающих материалов
Соотношение между эмиссией и иммиссией шума устанавливается в результате процесса распространения звука в помещении (см. ГОСТ Р 52797.1). Распространение звука и, следовательно, акустическое качество помещения зависят от акустической обработки поверхностей (потолка и стен) звукопоглощающими материалами, которые должны быть выбраны с учетом частотного спектра шума. Применение звукопоглощающих материалов для ослабления шума на низких частотах менее эффективно.
Звуковое поле в помещениях образовано прямым звуком источников и отраженным от ограждений (полы, стены, потолки, оборудование, оснастка и т.п.) звуком. Акустическая (звукопоглощающая) обработка поверхностей ослабляет только отраженный звук.
Можно оценить акустическое качество помещения и, следовательно, эффективность акустической обработки поверхностей с помощью величин, характеризующих распространение звука (характеризующих распределения звукового поля), например скорости пространственного спада DL2 и эксцесса DLf уровней звукового давления. Эти величины вычисляют по кривым пространственного распределения звука (определения см. в ГОСТ Р 52797.1 и ГОСТ Р 52797.3). Рекомендуемые значения для DL2 приведены в таблице 3 ГОСТ Р 52797.1 (см. также таблицу 2 настоящего стандарта). Такая оценка может быть выполнена по значениям измеренных величин (см. раздел 8) или получена вычислением с помощью методов прогнозирования шума (см. ГОСТ Р 52797.3).
Акустическое качество помещения полагают высоким, если DLf мало, a DL2 велико. Типичные значения среднего коэффициента поглощения и параметров распространения звука DL2 и DLf приведены в таблице 2 для различных типов помещений и акустической обработки поверхностей.
Таблица 2 - Типичные значения среднего коэффициента поглощения α и параметров распространения звука DLf и DL2 в средней области
|
α |
DLf, дБ |
DL2, дБ |
|
|
Пустое помещение малого/среднего объема (V < 10000 м3 и h < 5 м) без поглощающего потолка |
Менее 0,2 |
От 8 до 13 |
От 1 до 3 |
|
Помещение большого объема (V ≥ 10000 м3и h ≥ 5 м) без поглощающего потолка с установленным оборудованием |
Менее 0,2 |
От 6 до 9 |
От 2,5 до 4 |
|
Все помещения с поглощающим потолком и установленным оборудованием |
Более 0,3 |
От 5 до 8 |
От 2,5 до 5 |
|
Примечание - DLf - эксцесс уровня звукового давления; DL2 - скорость пространственного спада уровня звукового давления при удвоении расстояния. Определения см. в ГОСТ Р 52797.1. |
|||
Обычно спектр промышленного шума лежит в диапазоне от 500 до 2000 Гц. В такой ситуации для помещений с жесткими стенами и потолком может быть достигнуто следующее снижение уровня звукового давления:
a) снижение уровня звука в ближней зоне от 1 до 3 дБА поскольку акустическая обработка поверхностей здесь оказывает очень слабое действие (определения см. в ГОСТ Р 52797.1);
b) в средней зоне это снижение обычно составляет от 3 до 8 дБ;
c) в дальней зоне снижение уровня звука составляет от 5 до 12 дБ в зависимости от размеров помещения, площади акустически обработанных поверхностей и оборудования.
Для того чтобы оценить эффективность акустической обработки поверхностей вне области прямого поля, необходимо различать помещения, в которых существуют условия для диффузного поля, от помещений, где таких условий нет (см. определения в ГОСТ Р 52797.1 и библиографию к ГОСТ Р 52797.3).
Типичные графики пространственного распределения звука в помещениях различной формы и размеров до и после применения различных вариантов поверхностной обработки приведены на рисунках 8 и 9.
Комбинация поверхностной обработки и шумозащитных барьеров обычно оказывается достаточно эффективной и приводит к более значительному снижению уровня шума, чем достигаемое с помощью одного из этих средств (см. приложения Е и F). В дополнение к такому ослаблению шума, которое может быть объективно измерено, важно субъективное улучшение.
Более подробная информация об акустической обработке поверхностей помещений приведена в приложении F.
|
|
||
|
|
||
|
|
||
|
|
Примечание - Длина, ширина и высота помещения являются величинами одного порядка (соразмерное помещение).
Рисунок 8 - Типичные графики пространственного распределения звука
в помещении
с диффузным полем и обработкой поверхностей
|
|
||
|
|
||
|
|
Примечание - Высота помещения намного меньше двух других его измерений.
Рисунок 9 - Типичные графики пространственного распределения звука
в помещении с размещенным
оборудованием при отсутствии диффузного поля и с потолком без звукопоглощающего
материала
6.4 Распространение звука по структурам и средства защиты от структурного шума
Передачу воздушного шума в смежные помещения или в щели снижают увеличением звукоизоляции стен, потолков, окон и дверей (см. приложение Н).
Возникновение структурного шума следует предотвращать заранее, поскольку его весьма трудно вывести затем из структуры. Меры по ослаблению передачи воздушного и структурного шума (см. приложения G и Н) следует рассматривать на этапе проектирования, в противном случае их невозможно будет реализовать.
Средства снижения шума в источнике и по пути его распространения могут быть дополнены затем средствами защиты от шума на рабочем месте, например экранами и кабинами (см. приложения Е и I).
8.1 Общие положения
Источники звука, средства защиты от шума, распространение звука, уровень звука на рабочих местах и звукоизоляция зданий описываются акустическими величинами. Эти акустические величины и значения снижения уровней звука на рабочем месте с помощью специальных средств часто устанавливают и согласуют в планах, программах и контрактах. Значения этих акустических величин и эффективность мер защиты от шума должны быть подвергнуты контролю на месте установки. При сравнении значений этих величин с заданными (целевыми) значениями следует учитывать неопределенность измерений.
8.2 Источники звука
Заявленные значения шумовых характеристик могут быть проверены методами, установленными в ГОСТ 30691. Шумовые характеристики следует контролировать в соответствии с требованиями специальных стандартов на испытания машин на шум или основополагающих стандартов на методы измерения шума (см. ГОСТ 31252, ГОСТ 30457 и ГОСТ 31171). При контроле заявленных значений важно, чтобы режим работы и условия монтажа были такими же, как указаны в заявлении шумовых характеристик или в технических документах на машину. Средства защиты от шума оценивают по снижению уровня иммиссии (звукового давления на рабочем месте).
8.3 Устройства защиты от шума
Эффективность устройств защиты от шума можно измерить и проверить по значениям вносимых потерь, потерь при передаче или снижения уровней звукового давления (см. приложения С, D, Е и I). Покупатель и продавец должны договориться об используемых для контроля параметрах.
8.4 Рабочие (производственные) помещения
Акустическое качество производственных и офисных помещений можно оценить, применяя следующие параметры распространения звука: пространственный спад DL2 и эксцесс DLf уровня звукового давления и время реверберации. Эти три величины могут быть измерены или вычислены (см. ГОСТ Р 52797.3). Значения, согласуемые сторонами на стадии планирования, обычно устанавливают вычислениями. Контролируемые величины измеряют.
Метод контроля: должен быть применен ненаправленный источник звука с известной звуковой мощностью. Источник располагают низко над полом, все точки измерений - на той же высоте. Если источник звука поворачивать и в каждой точке измерений определять усредненный по направлениям источника уровень звукового давления, то можно избежать влияния характеристики направленности источника.
Параметры распространения звука следует определять по общему уровню звукового давления в заданном частотном диапазоне или октавным полосам. Обычно проводят измерения вдоль направления, обеспечивающего прямую видимость между источником и точкой измерений. При сравнении контролируемых значений с заданными важно, чтобы траектория измерений и диапазон расстояний были теми же самыми.
При измерении пространственного распределения звука уровень звукового давления за препятствиями, такими как машины (например, на рабочих местах) должен быть не более чем на 10 дБ (в среднем от 3 до 4 дБ) ниже уровня звукового давления, измеренного в направлении прямой видимости.
Указанную разность следует учитывать при определении пространственного распределения звука в помещениях и уровня звука на рабочем месте.
8.5 Заданные контрольные точки. Рабочие места
Эффективность средств защиты от шума и иммиссия шума могут быть определены и проконтролированы по значениям уровня звукового давления в контрольных точках, как правило, на рабочих местах. Ситуацию до применения средств защиты от шума возможно сравнивать с ситуацией после их применения при условии идентичности режимов работы и используемых методов измерений.
В некоторых случаях может потребоваться рассмотрение методов защиты от шума с применением новых технологий.
В приложении J приведена информация об одной из таких технологий - активных/адаптивных методах гашения шума, в которых нежелательные механические колебания или акустические волны компенсируются специально генерируемыми колебаниями или волнами с противоположной фазой. В настоящее время отсутствуют подобные экономически доступные системы для рабочих мест.
А.1 Ограничение генерации и передачи шума
Рекомендуются следующие методы (меры):
a) избегать ударов или быстрых постоянных перемещений (использовать медленное поступательное движение) и ограничивать ударный шум уменьшением скоростей соударения (например, уменьшением высоты падения) и применением меньших масс, использовать демпфирующие материалы на соударяющихся поверхностях (например, слоистые или эластичные материалы);
b) избегать трубопроводных систем, конструкция которых ограничивает скорость потока; выбирать большие радиусы изгибов или предпочитать конструкции систем с постоянным поперечным сечением;
c) использовать многотрубные сопла вместо одиночных больших сопел в выпускных отверстиях;
d) избегать использования скоростей, близких к скорости звука, и предупреждать возникновение кавитации применением клапанов сброса давления;
e) использовать шестеренчатые насосы вместо аксиально-поршневых;
f) применять пластмассовые зубчатые колеса, если требования по механической нагрузке позволяют это;
g) использовать спиральные (червячные) редукторы вместо прямозубых;
h) обеспечивать необходимые допуски при использовании вращающихся частей машин, в которых существенно качество трущихся поверхностей;
i) обеспечивать балансировку всех вращающихся масс;
j) выбирать малошумные подшипники (подшипники скольжения обычно менее шумные, чем подшипники качения);
k) обеспечивать монтаж, гарантирующий оптимальные технические характеристики;
l) выбирать материалы, дающие наилучшие сочетания (например, пластик/сталь), и поверхностную смазку элементов в трущемся контакте;
m) проектировать систему, позволяющую применять наиболее предпочтительные с акустической точки зрения методы передачи силовых воздействий (например, эластичные соединения или гидравлические передачи, зацепления, V-образные или плоские ремни, фрикционные колесные приводы вместо зубчатых редукторов, косозубые редукторы и/или редукторы со шлифованными зубьями); выбирать такие пары зубчатых колес, где одно колесо изготовлено из материала с высокими внутренними потерями; применять прямой привод с многополюсными электродвигателями или с двигателями с регулируемой скоростью.
А.2 Снижение излучения шума
Рекомендуются следующие методы (меры):
a) использовать перфорированные пластины с площадью отверстий, приблизительно равной 30 % (если недостаточна звукоизоляция воздушного шума);
b) использовать материалы с высоким внутренним демпфированием (например, серый чугун, многослойные панели, пластмассы);
c) ограничивать передачу структурного шума излучающим поверхностям;
d) ограничивать воздушный шум применением панелей большой массой или двойных стен с заполнением полости поглощающим материалом;
е) покрывать внутренние поверхности обшивок поглощающим материалом; это особенно эффективно, если слабый структурный шум передается поверхностям обшивки;
f) изолировать все ненужные отверстия и цементировать стыки;
g) устанавливать поглотители шума или акустически проектировать отверстия в местах, где отверстия требуются.
Примечание - Правила проектирования можно найти в международном стандарте [1].
Рекомендуются следующие меры.
В.1 Совместное (взаимное) расположение источников шума для минимизации их воздействия на удаленные рабочие места
Расположение рядом двух равных по громкости источников шума увеличивает общий уровень шума во всем окружающем пространстве на 3 дБ. Однако если два источника шума разнесены на некоторое расстояние, то область пространства вблизи каждого из них оказывается под действием только ближайшего источника.
В.2 Размещение источников шума
При планировании технологических процессов машины с высоким уровнем шума следует отделять от менее шумных источников. Для этого сильно шумящие источники располагают в отдельных помещениях или устанавливают перегородки с эффективно изолированными дверями. Когда множество шумных машин сконцентрировано в одном помещении, уровень звука увеличивается в общем лишь на несколько децибел. Это увеличение может быть компенсировано посредством соответствующей обработки поверхностей.
В.3 Размещение вспомогательных операций
Малошумные производственные операции должны быть отделены от шумных. Вспомогательные операции, которые прямо не связаны с источниками шума, например уборка, техническое обслуживание и ремонт отдельных узлов, операции технологической подготовки, другие производственные процессы (упаковка и т.д.), следует выполнять на отдельных малошумных площадках.
В.4 Использование дистанционного управления
Если это практически осуществимо, следует применять системы дистанционного управления, что позволяет оператору находиться на безопасном расстоянии от источника шума.
Различные конструкции кожухов обеспечивают разное ослабление шума, измеряемое, например, как вносимые потери, зависящие от спектра шума источника. Достигаемое ослабление шума меньше для источника, излучающего преимущественно низкочастотный шум.
Типичные значения звукоизоляции по уровню звука:
- приблизительно от 5 до 10 дБА для мягких звукоизолирующих оболочек;
- приблизительно от 10 до 25 дБА для однослойных кожухов со звукопоглощающей облицовкой;
- более 25 дБА для двухслойных кожухов со звукопоглощающей облицовкой.
На рисунке С.1 приведены типичные значения ослабления шума как функции частоты для различных кожухов и при различных конфигурациях машины и кожуха.
Отверстия радикально уменьшают эффективность кожухов особенно на высоких частотах. Однако площадь отверстий может быть сведена к минимуму. Например, для кожухов с отношением несплошности 10 %, 1 % или 0,1 % звукоизоляция по уровню звука ограничена, соответственно, значениями 10, 20 или 30 дБА.
Весьма высокие значения звукоизоляции получают только для хорошо спроектированных полностью замкнутых кожухов с жестким звукоизолированным основанием без отверстий или с отверстиями, снабженными глушителями или облицованными воздуховодами, при должным образом звукоизолированных дверях.
Недостаток тщательного технического обслуживания снижает со временем эффективность кожухов.
ГОСТ 31298.1 и ГОСТ 31298.2 устанавливают методы измерения эффективности кожухов.
1 - без кожуха; 2 - при установленном кожухе; А - уровень звука без кожуха (◦) и при установленном кожухе (•)
Рисунок С.1 - Эффективность звукоизоляции шума при различных конфигурациях машины и кожуха
Глушители можно классифицировать по принципу действия следующим образом:
a) реактивные глушители (отражательные и резонаторные), используемые, например, в двигателях внутреннего сгорания, и эффективные в заданном диапазоне частот;
b) глушители сброса, применяемые в основном при сбросе давления (высокие потери давления);
c) диссипативные глушители на основе поглощающих материалов, предназначенные главным образом для вентиляторов, воздуходувок, компрессоров и систем кондиционирования.
Часто применяют комбинации перечисленных выше глушителей. Звукопоглощение глушителей всех типов зависит от частоты. Это существенно для выбора глушителя на основе предварительной информации о частотном спектре подлежащего ослаблению шума и о реальных условиях его применения, таких как:
- присутствие частиц, влаги и коррозийных составляющих в переносимом потоке;
- плотность среды и объемный расход потока;
- давление;
- температура;
- допустимые потери давления;
- условия установки.
Реальные значения вносимых потерь лежат в диапазоне от 10 до 20 дБ. Иногда достижимы большие значения.
Следующие стандарты устанавливают методы измерения эффективности глушителей некоторых типов: ГОСТ 31324, [3] и ГОСТ Р 52799.
Шумозащитные барьеры и акустические экраны обычно состоят из металлических, деревянных, стеклянных или пластиковых панелей. Они должны быть облицованы звукопоглощающими покрытиями со стороны, обращенной к источнику шума.
Шумозащитные барьеры и акустические экраны могут быть использованы на рабочих местах для предотвращения попадания прямого излучения в заданную точку. Кроме того, они могут быть применены для изоляции мест отдыха от шумной части помещения, в особенности в виде выгородок, имеющих неполную высоту, или незамкнутых по периметру перегородок. Изоляция улучшается по мере уменьшения не перекрытой перегородкой площади поверхности поперечного сечения помещения и по мере увеличения звукопоглощения части поверхностей стен и потолка, смежных с перегородками. Типичное значение снижения уровня звука, достигаемое с помощью барьеров и экранов, составляет до 10 дБА.
В производственных помещениях со стенами без специальной акустической обработки снижение шума свыше 5 дБ (измеренное как вносимые потери в октавной полосе со среднегеометрической частотой 1000 Гц) может быть достигнуто с помощью барьеров и экранов, имеющих высоту, превышающую половину высоты помещения, и в том случае, если расстояние между источником и приемником составляет менее трех высот помещения.
Противошумовые барьеры и экраны являются наиболее эффективными, если их применяют совместно с акустической обработкой стен и потолка. Такая комбинация должна быть применена при невозможности использования других средств.
ГОСТ 30690 и международный стандарт [4] устанавливают методы измерения эффективности передвижных экранов на месте их установки. Метод для измерения эффективности офисных экранов устанавливает международный стандарт [5].
F.1 Помещения с диффузным звуковым полем
В таких помещениях на определенных расстояниях от источника уровень звукового давления постоянен (см. рисунок 8).
Только в таком идеальном случае время реверберации Т может быть использовано для определения снижения уровня шума в диффузном звуковом поле при некотором увеличении звукопоглощения.
Снижение уровня шума, обусловленное применением акустической обработки поверхностей, может быть легко вычислено из эквивалентных площадей звукопоглощения (А1, А2) или времен реверберации (Т1, Т2), где индексы 1 и 2 относятся к величинам до и после акустической обработки соответственно:
10lg(А2/А1) или 10lg(T1/T2).
Время реверберации Т, с, помещения с диффузным звуковым полем вычисляют по формуле
T = 0,163V/A,
где V - объем помещения, м3;
А - эквивалентная площадь звукопоглощения помещения, м2, вычисляемая через площади ограждений помещения Si и соответствующие коэффициенты поглощения αi (см. ГОСТ Р 52797.1).
A = ΣSiαi.
Значения коэффициента звукопоглощения для помещений некоторых типов приведены в таблице 2 и таблице F.1.
Таблица F.1 - Средний коэффициент звукопоглощения в диапазоне частот от 500 до 2000 Гц для помещения с поверхностями без акустической обработки и приблизительно одинаковыми длиной, шириной и высотой (соразмерное помещение)
|
Коэффициент звукопоглощения α |
|
|
Помещения для различного оборудования (компрессоры, вентиляторы и т.п.) |
0,05 - 0,1 |
|
Металлообрабатывающее производство, станочные помещения |
0,1 - 0,2 |
|
Деревообрабатывающее производство |
0,1 - 0,25 |
|
Текстильное производство (ткацкие и прядильные фабрики) |
0,2 - 0,25 |
|
Офисные помещения |
0,15 - 0,2 |
F.2 Помещения с недиффузным звуковым полем
В таких помещениях для оценки эффективности акустической обработки поверхностей применяют параметры, описывающие пространственное распределение звука в помещении.
F.3 Практические рекомендации по акустической обработке поверхностей
Необходимо иметь в виду следующие особенности акустической обработки поверхностей.
a) Если плотность источников шума в помещении высока, рабочие места расположены вблизи от источников шума, обработка поверхностей может быть полезной, если собственное звуковое поле в непосредственной близости от источника является преобладающим над звуком, приходящим от других источников или отраженным от ограждений помещения.
b) Акустическая обработка поверхностей практически эффективна в помещениях с акустически жесткими ограждениями.
c) Акустическую обработку поверхностей необходимо всегда рассматривать как возможное средство защиты от шума на стадии проектирования производственного помещения. На данном этапе целесообразно выбрать стены и потолок со звукопоглощающими свойствами и, где уместно, в комбинации с теплоизоляцией.
d) Коэффициент звукопоглощения материалов, используемых для акустической обработки, зависит от частоты (обычно применяемые материалы наиболее эффективны в диапазоне средних и высоких частот). Поэтому при выборе способа акустической обработки поверхностей необходимо принимать во внимание частотный спектр шума (обычно уровни в октавных полосах частот).
e) Акустическая обработка поверхностей наиболее эффективна в местах, расположенных вблизи источников шума.
f) Нередко субъективная оценка эффективности акустической обработки поверхностей превышает ее объективную эффективность. Одна из причин этого состоит в том, что частотный спектр субъективно сдвигается в низкочастотную, менее раздражающую область частот.
g) Если в помещении применяют дополнительные звукопоглощающие материалы для покрытия потолка и стен, то коэффициент звукопоглощения обрабатываемых поверхностей в соответствующем диапазоне частот должен превышать 0,6.
Применение противошумовых барьеров и акустических экранов без совместного использования акустической обработки поверхностей дает небольшое снижение уровня шума.
Машины передают вибрацию структурам, с которыми они контактируют (пол, стены, элементы закрепления, трубопроводные системы). Часть энергии излучается затем в виде звука.
Звукоизоляция структурного шума необходима, например, в случае, если в смежных помещениях требуются малые значения допустимого уровня шума.
Методы ослабления звука, вызванного структурным шумом, следующие:
a) виброизоляция (установка машин на виброизоляторы). Может потребоваться установка машины на тяжелое не имеющее резонансов основание;
b) демпфирование излучающих звук структур (преобразование энергии структурного звука в тепло);
c) применение в системах трубопроводов эластичных соединений или (если это невозможно из-за условий эксплуатации) облицовок (демпфированных металлических листов).
Использование необходимых крепежных приспособлений (демпфированных пружин, вязкоупругих креплений) предотвращает передачу структурного звука опорным конструкциям труб.
Аналогичные устройства крепления следует применять в конвейерных системах, при необходимости объединяя их с дополнительными сосредоточенными массами, как, например, в основаниях крановых рельсов.
Звукоизоляция воздушного звука однослойными перегородками значительно зависит от поверхностной массы. В общем случае удвоение поверхностной массы приводит к увеличению звукоизоляции на 5 дБ.
При одинаковой поверхностной массе перегородки и соответствующей акустической конструкции двойные стенки могут иметь звукоизоляцию на 10 дБ большую, чем аналогичные одностенные конструкции. Звукоизоляция в значительной степени зависит от массы и упругости, демпфирования полостей звукопоглощающими материалами, расстояния между слоями и наличия или отсутствия жесткого контакта между ними. В случае жестких стен с помощью повышенной звукоизоляции передней панели может быть достигнуто улучшение звукоизоляции от 5 до 10 дБ.
При оценке звукоизоляции стен и потолка следует учитывать, что реальная звукоизоляция собранной конструкции будет несколько меньше, чем у применяемых отдельных панелей из-за передачи звука обходными путями.
Следует учесть, что окна и двери часто обеспечивают меньшую звукоизоляцию, чем стены. Результирующее снижение звукоизоляции зависит от отношения площади окон и дверей к общей площади ограждения.
Требуемая степень звукоизоляции в зависимости от предполагаемой деятельности или способа использования должна быть определена на этапе планировки здания. Сильные источники шума не следует располагать в помещениях, находящихся, например, за лабораториями или комнатами отдыха.
ГОСТ 27296 и международные стандарты [6] - [20] устанавливают методы измерения звукоизоляции элементов зданий. Международные стандарты [21] - [23] устанавливают методы нормирования звукоизоляции элементов зданий.
Люди, подвергающиеся воздействию интенсивного шума, могут быть защищены звукоизолирующими кабинами. Типичными значениями снижения уровня звука являются 15 - 30 дБА. Однако кабины должны иметь соответствующую вентиляцию. Во многих случаях (например, при сильном воздействии тепла) может потребоваться установка кондиционера.
Звукоизолирующие кабины, к преимуществам которых относятся легкость сборки и разборки, во многих случаях являются эффективными средствами снижения шума.
ГОСТ 31299 устанавливает методы измерения эффективности звукоизолирующих кабин.
Иногда барьеры или частичные ограждения также могут быть применены на рабочих местах или в пунктах связи (например, в местах телефонных переговоров), однако снижение уровня звука с их помощью в общем случае составляет менее 10 дБА.
Если после принятия необходимых мер (см. разделы 4 - 7) иммиссия шума на рабочем месте остается высокой, персонал должен применять средства защиты слуха. При выборе необходимых средств индивидуальной защиты слуха наряду с требуемой эффективностью ослабления звука следует рассматривать характеристики комфортности, факторы гигиены и безопасности. Эффективность индивидуальных средств защиты слуха в реальных условиях применения всегда ниже по сравнению с указываемой в каталоге из-за их ненадлежащего использования.
J.1 Метод
Методы активной компенсации шума и вибрации основаны на явлении интерференции акустических или механических волн (см. рисунок J.1).
1 - сигнал исходного шумового поля; 2 - сигнал компенсирующего
поля;
3 - остаточное поле (сигнал ошибки компенсации)
Рисунок J.1 - Принцип активной компенсации шума
Методы активной компенсации эффективны главным образом в диапазоне низких и средних частот (см. рисунок J.2), где классические методы защиты от шума теряют свою эффективность.
1 - снижение шума активными методами; 2 - снижение шума пассивными методами
Рисунок J.2 - Границы применения методов снижения шума в частотной области
В этой области частот ослабление шума может достигать 20 дБ для постоянных (стационарных) шумов и 10 дБ для непостоянных (изменяющихся во времени) шумов.
Примечание - Критерий постоянства шума в данном случае определяется по отношению к быстродействию системы управления гасящим излучением и не связан с определением постоянного шума по ГОСТ 31252.
J.2 Применения
Возможные области промышленного применения методов активной компенсации следующие:
a) шум. Значительное снижение шума может быть получено в замкнутых или ограниченных областях пространства (локальное глушение) главным образом в сочетании с повторяющимися явлениями (периодические, регулярные процессы).
Шум, излучаемый выходными отверстиями выпускных и вентиляционных систем, также может быть успешно ослаблен;
b) вибрация. Возможны два следующих вида компенсации:
- виброкомпенсация, применяемая к большим тяжелым конструкциям;
- виброизоляция, применяемая к малым легким системам.
Таблица К.1
|
Обозначение
ссылочного |
Обозначение и
наименование ссылочного международного стандарта и условное обозначение |
|
(ИСО 11690-1:1996) |
ИСО 11690-1: 1996 «Акустика. Практические рекомендации по проектированию малошумных рабочих мест производственных помещений. Часть 1. Стратегия управления шумом» (MOD) |
|
(ИСО/ТО 11690-3:1997) |
ИСО/ТО 11690-3:1997 «Акустика. Практические рекомендации по проектированию малошумных рабочих мест производственных помещений. Часть 1.Распространение звука в производственных помещениях и прогнозирование шума» (MOD) |
|
(ИСО 11691:1995) |
ИСО 11691:1995 «Акустика. Измерение вносимых потерь глушителями при отсутствии потока. Ориентировочный метод в лабораторных условиях» (MOD) |
|
(ИСО 9614-1:1993) |
ИСО 9614-1:1993 «Акустика. Определение уровней звуковой мощности источников шума по интенсивности звука. Часть 1. Измерения в дискретных точках» (MOD) |
|
(ИСО 4871-96) |
ИСО 4871:1996 «Акустика. Заявление и подтверждение значений шумовых характеристик машин и оборудования» (MOD) |
|
(ИСО 11200:1995) |
ИСО 11200:1995 «Акустика. Шум машин и оборудования. Руководство по применению основополагающих стандартов по методам определения уровней звукового давления излучения на рабочем месте и в других контрольных точках» (MOD) |
|
(ИСО 3740:2000) |
ИСО 3740:2000 «Акустика. Определение уровней звуковой мощности источников шума. Руководство по применению основополагающих стандартов» (MOD) |
|
(ИСО 11546-1:1995) |
ИСО 11546-1:1995 «Акустика. Определение звукоизоляции кожухов. Часть 1. Измерения в лабораторных условиях в целях заявления» (MOD) |
|
(ИСО 11546-2:1995) |
ИСО 11546-2:1995 «Акустика. Определение звукоизоляции кожухов. Часть 2. Измерения на месте установки в целях заявления и приемки» |
|
(ИСО 11957:1996) |
ИСО 11957:1996 «Акустика. Определение звукоизолирующих свойств кабин. Измерения в лаборатории и на месте установки» (MOD) |
|
(ИСО 11820:1996) |
ИСО 11820:1996 «Акустика. Измерения характеристик глушителей на месте их установки» (MOD) |
|
Примечание - В настоящей таблице использовано следующее условное обозначение степени соответствия стандартов: - MOD - модифицированные стандарты. |
|
|
ИСО/ТО 11688-1:1995 |
Акустика. Практические рекомендации по созданию малошумных машин и оборудования. Часть 1. Планирование |
|
|
(ISO/TR 11688-1:1995) |
(Acoustics - Recommended practice for the design of low-noise machinery and equipment - Part 1: Planning) |
|
|
ИСО/ТО 11688-2:1998 |
Акустика. Практические рекомендации по созданию малошумных машин и оборудования. Часть 2. Введение в физические основы малошумного проектирования |
|
|
(ISO/TR 11688-2:1998) |
(Acoustics - Recommended practice for the design of low-noise machinery and equipment - Part 2: Introduction to the physics of low-noise design) |
|
|
ИСО 7235:2003 |
Акустика. Лабораторные измерения для канальных глушителей и воздухораспределителей в воздуховодах. Вносимые потери, шум потока и общее падение давления |
|
|
(ISO 7235:2003) |
(Acoustics - Measurement procedures for ducted silencers. Insertion loss, flow noise and total pressure loss) |
|
|
ИСО 11821:1997 |
Акустика. Измерение ослабления звука передвижными экранами на месте их установки |
|
|
(ISO 11821:1997 |
(Acoustics - Measurement of the in situ sound attenuation of a removable screen) |
|
|
ИСО 10053:1991 |
Акустика. Измерение ослабления звука офисными экранами в специальных лабораторных условиях |
|
|
(ISO 10053:1991) |
(Acoustics - Measurement of office screen sound attenuation under specific laboratory conditions) |
|
|
ИСО 140-1:1997 |
Акустика. Измерение звукоизоляции в зданиях и элементов зданий. Часть 1. Требования к лабораторному испытательному оборудованию с подавлением побочных путей распространения звука |
|
|
(ISO 140-1:1997) |
(Acoustics - Measurement of sound insulation in buildings and of building elements - Part 1: Requirements for laboratory test facilities with suppressed flanking transmission) |
|
|
[7] |
ИСО 140-1:1997. Изм. 1-2004 |
Требования к раме испытательного проема для легких двухслойных перегородок |
|
(ISO 140-1:1997/Amd 1:2004) |
(Specific requirements on the frame of the test opening for lightweight twin leaf partitions) |
|
|
[8] |
ИСО 140-2:1991 |
Акустика. Измерение звукоизоляции в зданиях и элементов зданий. Часть 2. Методы получения, подтверждения и применения результатов измерений |
|
(ISO 140-2:1991) |
(Acoustics - Measurement of sound insulation in buildings and of building elements - Part 2: Determination, verification and application of precision data) |
|
|
[9] |
ИСО 140-3:1995 |
Акустика. Измерение звукоизоляции в зданиях и элементов зданий. Часть 3. Лабораторные измерения звукоизоляции элементами зданий |
|
(ISO 140-3:1995) |
(Acoustics - Measurement of sound insulation in buildings and of building elements - Part 3: Laboratory measurements of airborne sound insulation of building elements) |
|
|
[10] |
ИСО 140-3:1995/Изм. 1:2004 |
Руководство по установке легких двухслойных перегородок |
|
(ISO 140-3:1995/Amd 1:2004) |
(Installation guidelines for lightweight twin leaf partitions) |
|
|
[11] |
ИСО 140-4:1998 |
Акустика. Измерение звукоизоляции в зданиях и элементов зданий. Часть 4. Измерение звукоизоляции между помещениями в реальных условиях |
|
(ISO 140-4:1998) |
(Acoustics - Measurement of sound insulation in buildings and of building elements - Part 4: Field measurements of airborne sound insulation between rooms) |
|
|
[12] |
ИСО 140-5:1998 |
Акустика. Измерение звукоизоляции в зданиях и элементов зданий. Часть 5. Измерение звукоизоляции фасада здания и его частей в реальных условиях |
|
(ISO 140-5:1998) |
(Acoustics - Measurement of sound insulation in buildings and of building elements - Part 5: Field measurements of airborne sound insulation of facade elements and facades) |
|
|
[13] |
ИСО 140-6:1998 |
Акустика. Измерение звукоизоляции в зданиях и элементов зданий. Часть 6. Лабораторные измерения звукоизоляции ударного шума полами |
|
(ISO 140-6:1998) |
(Acoustics - Measurement of sound insulation in buildings and of building elements - Part 6: Laboratory measurements of impact sound insulation of floors) |
|
|
[14] |
ИСО 140-7:1998 |
Акустика. Измерение звукоизоляции в зданиях и элементов зданий. Часть 7. Измерения звукоизоляции ударного шума полами в реальных условиях |
|
(ISO 140-7:1998) |
(Acoustics - Measurement of sound insulation in buildings and of building elements - Part 7: Field measurements of impact sound insulation of floors) |
|
|
[15] |
ИСО 140-8:1997 |
Акустика. Измерение звукоизоляции в зданиях и элементов зданий. Часть 8. Лабораторные измерения ослабления передачи ударного звука полами с тяжелым напольным покрытием |
|
(ISO 140-8:1997) |
(Acoustics - Measurement of sound insulation in buildings and of building elements - Part 8: Laboratory measurements of the reduction of transmitted impact noise by floor coverings on a heavyweight standard floor) |
|
|
[16] |
ИСО 140-10:1991 |
Акустика. Измерение звукоизоляции в зданиях и элементов зданий. Часть 10. Лабораторные измерения звукоизоляции воздушного шума малыми элементами конструкций |
|
(ISO 140-10:1991) |
(Acoustics - Measurement of sound insulation in buildings and of building elements - Part 10: Laboratory measurement of airborne sound insulation of small building elements) |
|
|
[17] |
ИСО 140-11:2005 |
Акустика. Измерение звукоизоляции в зданиях и элементов зданий. Часть 11. Лабораторные измерения ослабления передачи ударного шума напольными покрытиями по облегченному полу |
|
(ISO 140-11:2005) |
(Acoustics - Measurement of sound insulation in buildings and of building elements - Part 11: Laboratory measurements of the reduction of transmitted impact sound by floor coverings on lightweight reference floors) |
|
|
[18] |
ИСО 140-14:2004 |
Акустика. Измерение звукоизоляции в зданиях и элементов зданий. Часть 14. Дополнительные требования и руководство по проведению измерений в особых полевых условиях |
|
(ISO 140-14:2004) |
(Acoustics - Measurement of sound insulation in buildings and of building elements - Part 14: Guidelines for special situations in the field) |
|
|
[19] |
ИСО 140-16:2006 |
Акустика. Измерение звукоизоляции в зданиях и элементов зданий. Часть 16. Лабораторные измерения улучшения звукоизоляции за счет дополнительной облицовки |
|
(ISO 140-16:2006) |
(Acoustics - Measurement of sound insulation in buildings and of building elements - Part 16: Laboratory measurement of the sound reduction index improvement by additional lining) |
|
|
ИСО 140-18:2006 |
Акустика. Измерение звукоизоляции в зданиях и элементов зданий. Часть 18. Лабораторные измерения шума, создаваемого элементами зданий при воздействии осадков |
|
|
(ISO 140-18:2006) |
(Acoustics - Measurement of sound insulation in buildings and of building elements - Part 18: Laboratory measurement of sound generated by rainfall on building elements) |
|
|
ИСО 717-1:1996 |
Акустика. Оценка звукоизоляции в зданиях и элементами зданий. Часть 1. Звукоизоляция воздушного шума |
|
|
(ISO 717-1:1996) |
(Acoustics - Rating of sound insulation in buildings and of building elements - Part 1: Airborne sound insulation) |
|
|
[22] |
ИСО 717-1:1996/Прил. 1:2006 |
Правила округления для одночисловых оценок и величин |
|
(ISO 717-1:1996/Amd 1:2006) |
(Rounding rules related to single number ratings and single number quantities) |
|
|
ИСО 717-2:1996 |
Акустика. Оценка звукоизоляции в зданиях и элементами зданий. Часть 2. Звукоизоляция при ударах |
|
|
(ISO 717-2:1996) |
(Acoustics - Rating of sound insulation in buildings and of building elements - Part 2: Impact sound insulation) |
Ключевые слова: защита от шума, шум на рабочем месте, кожухи, звукоизолирующие кабины, акустические экраны, эффективность снижения шума, акустическая обработка поверхностей, глушители шума, воздушный шум, структурный шум