ФЕДЕРАЛЬНОЕ АГЕНТСТВО
ПО ТЕХНИЧЕСКОМУ РЕГУЛИРОВАНИЮ И МЕТРОЛОГИИ
|
|
НАЦИОНАЛЬНЫЙ |
ГОСТ Р |
Автомобильные транспортные средства
КАМЕРЫ
ТОРМОЗНЫЕ
ПНЕВМАТИЧЕСКИХ ПРИВОДОВ
Технические требования и методы испытаний
|
|
Москва Стандартинформ 2008 |
Предисловие
Цели и принципы стандартизации в Российской Федерации установлены Федеральным законом от 27 декабря 2002 г. № 184-ФЗ «О техническом регулировании», а правила применения национальных стандартов Российской Федерации - ГОСТ Р 1.0-2004 «Стандартизация в Российской Федерации. Основные положения»
Сведения о стандарте
1 РАЗРАБОТАН Федеральным государственным унитарным предприятием «Центральный ордена Трудового Красного Знамени научно-исследовательский автомобильный и автомоторный институт» (ФГУП «НАМИ»)
2 ВНЕСЕН Техническим комитетом по стандартизации ТК 56 «Дорожный транспорт»
3 УТВЕРЖДЕН И ВВЕДЕН В ДЕЙСТВИЕ Приказом Федерального агентства по техническому регулированию и метрологии от 27 декабря 2007 г. № 491-ст
4 ВВЕДЕН ВПЕРВЫЕ
СОДЕРЖАНИЕ
ГОСТ Р 52849-2007
НАЦИОНАЛЬНЫЙ СТАНДАРТ РОССИЙСКОЙ ФЕДЕРАЦИИ
Автомобильные транспортные средства
КАМЕРЫ ТОРМОЗНЫЕ ПНЕВМАТИЧЕСКИХ ПРИВОДОВ
Технические требования и методы испытаний
Vehicles. Chambers of pneumatic brake controls.
Technical requirements and test methods
Дата введения - 2009-01-01
Настоящий стандарт распространяется на тормозные мембранные (диафрагменные) камеры и мембранные (диафрагменные) камеры с пружинными энергоаккумуляторами, предназначенные для создания усилия в тормозных механизмах автотранспортных средств (далее - АТС) категорий М, N и О по ГОСТ Р 52051 с пневматическим приводом тормозов, и устанавливает технические требования и методы их испытаний.
В настоящем стандарте использованы ссылки на следующие стандарты:
ГОСТ Р 8.568-97 Государственная система обеспечения единства измерений. Аттестация испытательного оборудования. Основные положения
ГОСТ Р 41.13-99 (Правила ЕЭКООН № 13) Единообразные предписания, касающиеся официального утверждения механических транспортных средств категорий М, N и О в отношении торможения
ГОСТ Р 52051-2003 Механические транспортные средства и прицепы. Классификация и определения
ГОСТ 4364-81 Приводы пневматические тормозных систем автотранспортных средств. Общие технические требования
ГОСТ 15150-69 Машины, приборы и другие технические изделия. Исполнения для различных климатических районов. Категории, условия эксплуатации, хранения и транспортирования в части воздействия климатических факторов внешней среды
Примечание - При пользовании настоящим стандартом целесообразно проверить действие ссылочных стандартов в информационной системе общего пользования - на официальном сайте национального органа Российской Федерации по стандартизации в сети Интернет или по ежегодно издаваемому информационному указателю «Национальные стандарты», который опубликован по состоянию на 1 января текущего года, и по соответствующим ежемесячно издаваемым информационным указателям, опубликованным в текущем году. Если ссылочный стандарт заменен (изменен), то при пользовании настоящим стандартом следует руководствоваться заменяющим (измененным) стандартом. Если ссылочный стандарт отменен без замены, то положение, в котором дана ссылка на него, применяется в части, не затрагивающей эту ссылку.
3.1 Тормозные камеры, основные параметры и размеры которых приведены в таблицах 1 - 6, могут быть изготовлены в следующих исполнениях:
- со штоком и шпильками для крепления на кронштейне (рисунок 1);
- со штоком и шпильками для крепления на кронштейне, а также с пружинным поршневыми энергоаккумулятором (рисунок 2);
- со штоком и шпильками для крепления на кронштейне, а также с пружинным диафрагменным энергоаккумулятором (рисунок 3);
- с резьбовой трубой для крепления непосредственно на тормозном механизме (рисунок 4);
- с резьбовой трубой для крепления непосредственно на тормозном механизме, а также с пружинным поршневым энергоаккумулятором (рисунок 5);
- с резьбовой трубой для крепления непосредственно на тормозном механизме, а также с диафрагменным энергоаккумулятором (рисунок 6).
Примечание - Рисунки 1-6 не устанавливают требований к конструкции тормозных камер.
Рисунок 1 - Тормозная камера со штоком и шпильками для крепления на кронштейне
Таблица 1 - Основные параметры тормозных камер со штоком и шпильками для крепления на кронштейне
В миллиметрах
|
D, не более |
L, не более |
Ход штока Lx, нe менее |
l, не менее |
А |
Е, не более |
d1 |
d2 |
d3 |
Усилие на штоке, даН**, не менее |
|
|
12 |
146 |
120 |
45 |
25 |
76 ± 0,6 |
92 |
М12 |
М16×1,5 (М22×1,5; К1/4") |
М14×1,5 (М12×1,25; М16×1,5) |
400 |
|
16 |
164 |
138 |
57 |
120 ± 0,7 (76 ± 0,6) |
103 |
550 |
||||
|
20 |
175 |
124 |
32 |
120 ± 0,7 |
109 |
М16×1,5 (М12×1,5) |
650 |
|||
|
24 |
188 |
115 |
750 |
|||||||
|
30 |
208 |
141 |
122 |
1000 |
||||||
|
36 |
230 |
173 |
76 |
134 |
М16×1,5 |
1300 |
||||
|
* Тип тормозной камеры определяют по активной площади его силового элемента в квадратных дюймах (1 квадратный дюйм равен 645,1 мм2). ** Усилие на штоке для всех типов тормозных камер определяют при ходе штока 20 мм и давлении 0,6 МПа (6,0 кгс/см2). *** Резьба К1/4" допускается только для тормозных камер, поставляемых в качестве запасных частей. |
||||||||||
Рисунок 2 - Тормозная камера со штоком и шпильками для крепления на кронштейне и с пружинным поршневым энергоаккумулятором
Таблица 2 - Основные параметры тормозных камер с пружинным поршневым энергоаккумулятором, со штоком и шпильками для крепления на кронштейне
В миллиметрах
|
Тип части камеры* |
D, не более |
D1, не более |
С, не более |
Ход штока Lx, не менее |
d |
l, не менее |
Е, не более |
L, не более |
L1, не более |
L2, не более |
Усилие на штоке, даН**, не менее |
|||
|
силовой |
пружинной |
Силовая часть |
Пружинная часть |
Силовая часть |
Пружинная часть |
|||||||||
|
20 |
20 |
175 |
156 |
90 |
57 |
57 (67) |
М14×1,5 (М12×1,25; М16×1,5) |
32 |
109 |
265 |
166 |
68 |
650 |
650 |
|
24 |
184 |
115 |
750 |
|||||||||||
|
20 |
24 |
175 |
174 |
102 |
38 |
109 |
254 |
154 |
88 |
650 |
750 |
|||
|
24 |
184 |
115 |
750 |
|||||||||||
|
30 |
208 |
122 |
268 |
1000 |
||||||||||
|
24 |
30 |
184 |
200 |
111 |
76 (67) |
67 (57) |
115 |
278 |
200 |
73 |
750 |
1000 |
||
|
30 |
208 |
122 |
293 |
1000 |
||||||||||
|
36 |
230 |
134 |
325 |
1300 |
||||||||||
|
* Тип тормозной камеры определяют по активной площади его силового элемента в квадратных дюймах (1 квадратный дюйм равен 645,1 мм2). ** Усилие на штоке для всех типов тормозных камер определяют при ходе штока 20 мм и давлении 0,6 МПа (6,0 кгс/см2). |
||||||||||||||
Рисунок 3 - Тормозная камера со штоком и шпильками для крепления на кронштейне и с пружинным диафрагменным энергоаккумулятором
Таблица 3 - Основные параметры тормозных камер с пружинным диафрагменным энергоаккумулятором, а также со штоком и шпильками для крепления на кронштейне
В миллиметрах
|
Тип части камеры* |
D, не более |
D1, не более |
С, не более |
Ход штока Lx, не менее |
d |
l, не менее |
Е, не более |
L, не более |
Усилие на штоке, даН**, не менее |
||
|
силовой |
пружинной |
Силовая часть |
Пружинная часть |
||||||||
|
20 |
20 |
175 |
208 |
100 |
57 |
М14×1,5 (М16×1,5) |
38 |
122 |
335 |
650 |
650 |
|
24 |
186 |
750 |
|||||||||
|
20 |
24 |
175 |
650 |
750 |
|||||||
|
24 |
186 |
750 |
|||||||||
|
30 |
208 |
1000 |
|||||||||
|
24 |
30 |
186 |
230 |
111 |
134 |
340 |
750 |
1000 |
|||
|
30 |
208 |
1000 |
|||||||||
|
36 |
230 |
1300 |
|||||||||
|
* Тип тормозной камеры определяют по активной площади его силового элемента в квадратных дюймах (1 квадратный дюйм равен 645,1 мм2). ** Усилие на штоке для всех типов тормозных камер определяют при ходе штока 20 мм и давлении 0,6 МПа (6,0 кгс/см2). |
|||||||||||
Рисунок 4 - Тормозная камера с резьбовой трубой для крепления непосредственно на тормозном механизме
Таблица 4 - Основные параметры тормозных камер с резьбовой трубой для крепления непосредственно на тормозном механизме
В миллиметрах
|
Тип тормозной камеры* |
D, не более |
L, не более |
Ход штока Lх, не менее |
E, не более |
d |
d1 |
Усилие на штоке, даН**, не менее |
|
9 |
136 |
110 |
43 |
90 |
1,75-12UNS-2А (М45×2-6g) |
М16×1,5 |
300 |
|
12 |
146 |
112 |
92 |
400 |
|||
|
16 |
160 |
128 |
101 |
550 |
|||
|
* Тип тормозной камеры определяют по активной площади его силового элемента в квадратных дюймах (1 квадратный дюйм равен 645,1 мм2). ** Усилие на штоке для всех типов тормозных камер определяют при ходе штока 20 мм и давлении 0,6 МПа (6,0 кгс/см2). |
|||||||
Рисунок 5 - Тормозная камера с резьбовой трубой для крепления
непосредственно на тормозном механизме
и пружинным поршневым энергоаккумулятором
Таблица 5 - Основные параметры тормозных камер с пружинным поршневым энергоаккумулятором, резьбовой трубой для крепления непосредственно на тормозном механизме
В миллиметрах
|
Тип части камеры* |
D, не более |
D1, не более |
С, не более |
Ход штока Lx, не менее |
E, не более |
d |
Усилие на штоке, даН, не менее |
||
|
силовой |
пружинной |
Силовая часть |
Пружинная часть |
||||||
|
9 |
9 |
136 |
160 |
87 |
43 |
90 |
1,75-12UNS-2А (М45×2-6g) |
300 |
300 |
|
12 |
148 |
92 |
400 |
||||||
|
9 |
12 |
136 |
90 |
300 |
400 |
||||
|
12 |
148 |
92 |
400 |
||||||
|
9 |
20 |
136 |
175 |
90 |
90 |
300 |
650 |
||
|
* Тип тормозной камеры определяют по активной площади его силового элемента в квадратных дюймах (1 квадратный дюйм равен 645,1 мм2). |
|||||||||
Рисунок 6 - Тормозная камера с резьбовой трубой для крепления
непосредственно на тормозном механизме
и с пружинным диафрагменным энергоаккумулятором
Таблица 6 - Основные параметры тормозных камер с пружинным диафрагменным энергоаккумулятором, с резьбовой трубой для крепления непосредственно на тормозном механизме
В миллиметрах
|
D, не более |
D1, не более |
С, не более |
Ход штока Lx, не менее |
E, не более |
d |
Усилие на штоке, даН, не менее |
|||
|
силовой |
пружинной |
Силовая часть |
Пружинная часть |
||||||
|
9 |
20 |
136 |
208 |
100 |
43 |
122 |
1,75-12UNS-2А (М45×2-6g) |
300 |
650 |
|
12 |
148 |
50 |
400 |
||||||
|
* Тип тормозной камеры определяют по активной площади его силового элемента в квадратных дюймах (1 квадратный дюйм равен 645,1 мм2). |
|||||||||
3.2 Длина штоков тормозных камер должна быть установлена по соглашению между изготовителем и потребителем.
3.3 Давление отключения пружинных энергоаккумуляторов тормозных камер должно быть 0,51+0,05 МПа (5,1+0,5 кгс/см2).
3.4 Если тормозные камеры оснащены пружинным энергоаккумулятором быстрорастормаживающего устройства* (далее - БРУ), давление его включения должно быть не более 0,65 МПа (6,5 кгс/см2).
* Быстрорастормаживающим устройством является механизм отсоединения жесткой связи между поршнем (диафрагмой) пружинного энергоаккумулятора и штоком камеры.
4.1 Тормозные камеры должны соответствовать требованиям настоящего стандарта, ГОСТ Р 41.13, ГОСТ 4364 и технической документации (далее - ТД), утвержденной в установленном порядке.
4.2 Тормозные камеры должны оставаться герметичными при давлении не менее 0,8 МПа (8,0 кгс/см2).
Утечка воздуха из диафрагменной или пружинной части камеры при давлении 0,75 МПа (7,5 кгс/см2) должна быть не более:
- 4 см3/мин;
- 20 см3/мин после испытаний по 5.6;
- 100 см3/мин в процессе испытаний по 5.7.
4.3 Тормозные камеры должны оставаться работоспособными после испытаний на воздействие циклического нагружения по 5.6.
4.4 При соблюдении правил технического обслуживания и эксплуатации, изложенных в инструкции по эксплуатации на конкретное АТС, ресурс тормозных камер должен быть не менее ресурса данного АТС. В течение срока службы до капитального ремонта допускается заменять комплектующие изделия, срок службы которых установлен в ТУ и менее срока службы АТС.
5.1 Общие требования
5.1.1 Испытания проводят по методикам предприятия-изготовителя.
5.1.2 Тормозные камеры подвергают следующим испытаниям:
- проверке работоспособности;
- проверке герметичности;
- проверке функциональных свойств;
- проверке долговечности в условиях циклического нагружения;
- проверке стойкости к воздействию повышенной и пониженной температур.
5.1.3 Испытания, за исключением проверки долговечности в условиях циклического нагружения, проводят путем циклического нагружения при температуре от 15 °С до 20 °С.
5.1.4 Перед испытаниями проверяют соответствие габаритных и присоединительных размеров тормозных камер, установленным в ТД.
5.2 Испытательное оборудование
5.2.1 Испытательное оборудование должно быть аттестовано в соответствии с ГОСТ Р 8.568.
5.2.2 Схемы испытательного оборудования приведены на рисунках А.1 - А.6 приложения А.
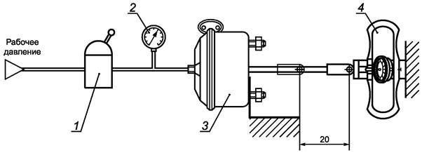
5.2.3 Стендовые установки, используемые для проверки функциональных свойств, должны быть оснащены динамометром, установленным на расстоянии 20 мм от конца штока камеры в расторможенном состоянии.
5.2.4 Стендовые установки для проведения проверки долговечности в условиях циклического нагружения должны:
- обеспечивать циклическое изменение входного давления не менее чем от 0 до 0,8 МПа (8,0 кгс/см2), частотой не менее 20 циклов в минуту;
- быть оснащены противодействующим устройством. Нагрузка на штоке противодействующего устройства должна быть не более 5 % номинальной нагрузки соответствующей части испытуемой камеры.
Нагрузка на штоке противодействующего цилиндра должна быть не менее 60 % номинальной нагрузки на штоке камеры при 2/3 хода штока.
При длине выхода штока камеры более 2/3 полной длины хода шток противодействующего устройства должен дойти до упора. Дальнейшее увеличение нагрузки на штоке камеры должно происходить без перемещения штока противодействующего устройства.
5.2.5 Стендовые установки для проведения проверки стойкости к воздействию повышенных и пониженных температур должны быть оборудованы термической камерой с диапазоном температур от минус 60 °С до плюс 80 °С.
5.2.6 Погрешность измерения параметров должны быть не более:
- нагрузки - 3 %;
- давления - 3 %;
- температуры - 2,5 %;
- линейных размеров - 5 %;
- частоты - 3 %;
- времени - 5 %.
5.3 Проверка работоспособности
5.3.1 Три раза впустить и выпустить воздух под давлением 0,8 МПа (8,0 кгс/см2) в(из) рабочую(ей) полость(и) камеры (вход I). В тормозных камерах с пружинным энергоаккумулятором предварительно впустить в рабочую полость воздух под давлением 0,75 МПа (7,5 кгс/см2) во вход II. Измерить длину хода штока. При этом фиксируют плавность перемещения штока: шток камеры должен без заеданий быстро выдвигаться и возвращаться в исходное положение.
5.3.2 В тормозных камерах с пружинным энергоаккумулятором три раза впустить и выпустить воздух под давлением 0,75 МПа (7,5 кгс/см2) в(из) вход(а) II (пружинный энергоаккумулятор). Измерить длину хода штока. При этом фиксируют плавность перемещения штока.
5.3.3 В тормозных камерах с пружинным энергоаккумулятором вывернуть и ввернуть винт растормаживающего устройства, при этом шток не должен переместиться.
5.3.4 В тормозных камерах с пружинным энергоаккумулятором, оборудованных быстрорастормаживающим устройством, привести данное устройство в действие, впустив воздух под давлением 0,65 МПа (6,5 кгс/см2) во вход II. Затем снизить давление до нулевого значения и убедиться, что включилось БРУ.
5.3.5 Признаки неработоспособности камеры:
- шток камеры не перемещается или медленно или с заеданием выдвигается и возвращается в исходное положение;
- ход штока не соответствует указанному в 3.1;
- не сравнивает или не включается БРУ.
5.4 Проверка герметичности
В процессе проверки штоктормозных камер не должен быть нагружен.
Воздух под давлением 0,75 МПа (7,5 кгс/см2) впускают в рабочую полость камеры (вход I). В тормозных камерах с пружинным энергоаккумулятором воздух последовательно впускают во входы I и II и определяют значения утечки воздуха из каждой части камеры. Значение утечки воздуха допускается определять по падению давления в пневмосистеме, определяемому по показаниям манометра.
Утечка воздуха не должна превышать значения, указанного в 4.2.
5.5 Проверка функциональных свойств
5.5.1 Проверка тормозных камер, не оснащенных энергоаккумулятором
Воздух под давлением 0,60 МПа (6,0 кгс/см2) впускают в тормозную камеру. Показание динамометра должно быть не менее значения, указанного в 3.1 для данного типоразмера тормозной камеры или в ТД.
5.5.2 Проверка тормозных камер, оснащенных энергоаккумулятором
5.5.2.1 Растормозить пружинный энергоаккумулятор. Для этого в тормозных камерах, оснащенных винтовым растормаживающим устройством, вывернуть винт растормаживания до упора, а в камерах, оснащенных БРУ, привести его в действие.
5.5.2.2 Воздух под давлением 0,60 МПа (6,0 кгс/см2) впустить во вход I тормозной камеры. Показание динамометра должно быть не менее значения, указанного в 3.1 для данного типоразмера тормозной камеры или в ТД.
5.5.2.3. Привести в действие пружинный энергоаккумулятор. Для этого в тормозных камерах, оснащенных винтовым растормаживающим устройством, ввернуть винт растормаживания до упора, а в камерах, оснащенных БРУ, впустить сжатый воздух во вход II под давлением 0,75 МПа (7,5 кгс/см2), после чего медленно его выпустить.
Показание динамометра должно быть не менее значения, указанного в 3.1 для данного типоразмера камеры или в ТД.
5.5.2.4 Давление воздуха на входе II плавно повышают и определяют давление, при котором нагрузка на штоке уменьшается до нуля. Давление должно соответствовать значению, указанному в 3.3.
5.6 Проверка долговечности в условиях циклического нагружения
5.6.1 Проверка тормозных камер, не оснащенных энергоаккумулятором
5.6.1.1 Проводят 1×106 включений испытуемой камеры частотой не более 16 включений в минуту в любой последовательности следующим образом:
- 6 включений при давлении 0,20 МПа (2,0 кгс/см2);
- 1 включение при давлении 0,75 МПа (7,5 кгс/см2).
Примечание - Допускается проводить 0,2×106 включений при давлении 0,75 МПа (7,5 кгс/см2).
5.6.1.2 После испытаний тормозная камера должна соответствовать требованиям 4.2 и 5.3.
5.6.2 Проверка тормозных камер, оснащенных энергоаккумулятором
5.6.2.1 Растормозить пружинный энергоаккумулятор. Для этого в камерах, оснащенных растормаживающим устройством, вывернуть винт растормаживания до упора, а в камерах, оснащенных БРУ, привести его в действие.
5.6.2.2 Проверку проводят согласно 5.6.1.1.
5.6.2.3 Проводят 0,25×106 включений путем подачи во вход II воздуха под давлением 0,75 МПа (7,5 кгс/см2), с частотой не более 20 включений в минуту.
5.6.2.4 Не менее 30 раз вывинчивают винт растормаживания. При каждом вывинчивании выпускают воздух из входа II. Винт следует вывинчивать на 2/3 его полной длины после подачи воздуха во вход II.
5.6.2.5 При наличии БРУ производят не менее 30 его включений и выключений.
5.6.2.6 После испытаний тормозная камера должна соответствовать требованиям 4.2 и 5.3.
5.7 Проверка стойкости к воздействию повышенных и пониженных температур
5.7.1 Выдерживают тормозную камеру в течение 2 ч при температуре от 74 °С до 80 °С. После испытания тормозная камера должна соответствовать требованиям 4.2 и 5.3.
5.7.2 Выдержать тормозную камеру в течение 2 ч при температуре от минус 40 °С до минус 46 °С. После испытания тормозная камера должна соответствовать требованиям 4.2 и 5.3.
5.7.3 Выдержать тормозную камеру исполнения ХЛ по ГОСТ 15150 в течение 2 ч при температуре от минус 54 °С до минус 60 °С. После испытания тормозная камера должна соответствовать требованиям 4.4 и 5.3. При этом допускается увеличение времени возвращения штока в первоначальное положение.
Примечание - При проверке тормозных камер на воздействие отрицательных температур сжатый воздух должен быть таким, чтобы исключалась возможность образования и замерзания конденсата в полости камеры.
6.1 По результатам испытаний составляют протокол, в котором указывают идентификационные данные объекта испытаний и приводят результаты испытаний, а также заключение о соответствии объекта испытаний требованиям технических и нормативных документов.
6.2 Рекомендуемая форма протокола приведена в приложении Б.
1 - кран точного регулирования; 2 - манометр; 3 - тормозная камера
Рисунок А.1 - Схема оборудования проверки работоспособности и на герметичность тормозных камер

1 - кран точного регулирования; 2 - манометр; 3 - тормозная камера; 4 - динамометр
Рисунок А.2 - Схема оборудования проверки функциональных свойств тормозных камер

1 - кран точного регулирования; 2 - манометр; 3 - тормозная камера; 4 - нагрузочный цилиндр; 5 - направляющий рычаг
Рисунок А.3 - Схема оборудования проверки долговечности тормозных камер

1, 2 - краны точного регулирования; 3, 4 - манометры; 5
- тормозная камера;
I - вход пружинной полости; II - вход диафрагменной
полости
Рисунок
А.4 - Схема оборудования проверки работоспособности и
на герметичность тормозных камер
с пружинным энергоаккумулятором

1, 2 - краны точного регулирования; 3, 4 - манометры; 5
- тормозная камера; 6 - динамометр;
I - вход пружинной полости; II - вход диафрагменной
полости
Рисунок А.5 - Схема оборудования проверки функциональных свойств
тормозных камер с пружинным
энергоаккумулятором
1, 2 - краны точного регулирования; 3, 4 - манометры; 5
- тормозная камера; 6 - нагрузочный цилиндр противодавления;
7 - винт растормаживания пружинного энергоаккумулятора; 8 -
направляющий рычаг; I - вход пружинной полости;
II - вход диафрагменной полости
Рисунок А.6 - Схема оборудования проверки долговечности тормозных камер с пружинным энергоаккумулятором
|
УТВЕРЖДАЮ Руководитель испытательного подразделения |
||||||||||||||||||||||||
|
_____________________ |
____________________ |
|||||||||||||||||||||||
|
(подпись) |
(Ф.И.О) |
|||||||||||||||||||||||
|
____________________________________________ |
||||||||||||||||||||||||
|
(дата) |
||||||||||||||||||||||||
|
ПРОТОКОЛ ИСПЫТАНИЙ № ________ 1 Идентификационные данные испытуемого изделия ___________________________ 2 Цель испытаний: определение соответствия тормозных камер требованиям технических и нормативных документов (ТД, ГОСТ Р 52849-2007, ГОСТ 4364-81) 3 Метод испытаний: метод испытаний изложен в ГОСТ Р 52849-2007 «Автомобильные транспортные средства. Камеры тормозные пневматических приводов. Технические требования и методы испытаний» 4 Результаты испытаний
5 Заключение: испытуемое изделие соответствует (не соответствует) требованиям технических и нормативных документов |
||||||||||||||||||||||||
|
________________________ |
________________________ |
_______________________ |
|||||||||||||||||||||
|
(должность испытателя) |
(подпись) |
(Ф.И.О) |
|||||||||||||||||||||
|
______________________________ |
|||||||||||||||||||||||
|
(дата) |
|||||||||||||||||||||||
Ключевые слова: автомобильные транспортные средства, камеры тормозные, камеры мембранные, привод пневматический, пружинные энергоаккумуляторы, типы тормозных камер, размеры присоединительные, размеры тормозные