ОТРАСЛЕВОЙ СТАНДАРТ
РЕЛЕ ЭЛЕКТРОМАГНИТНЫЕ
|
ОСТ 1 00393-80Введен впервые |
Распоряжением Министерства от 16 сентября 1980 г. № 087-16 срок введения установлен с 1 июля 1981 г.
Настоящий стандарт устанавливает правила выбора, установки и эксплуатации электромагнитных коммутационных нейтральных реле (в дальнейшем изложении - реле), применяемых в качестве встроенных элементов для внутреннего монтажа в изделиях авиационной техники и средствах их наземного обслуживания и изготавливаемых в соответствии с техническими требованиями по ОСТ 1 01033-82 и ОСТ 1 00799-84.
1.1. В разрабатываемой или модернизируемой аппаратуре должны применяться реле, включенные в перечни разрешенных для применения во вновь разрабатываемых и модифицируемых изделиях.
1.2. Выбор реле должен производиться в соответствии с требованиями, изложенными в настоящем стандарте, по картам технической информационной картотеки Министерства и техническим условиям (ТУ).
1.3. Согласование применения реле должно проводиться в установленном порядке.
2.1. Правила выбора реле
2.1.1. Реле предназначены для коммутации цепей постоянного и переменного тока и не должны применяться в качестве измерительного элемента по напряжению (току) срабатывания и отпускания.
Не допускается также использовать временные характеристики реле при построении логических схем автоматики.
2.1.2. Реле подразделяются:
- по номинальному коммутируемому току;
- по виду контактов - замыкающие и переключающие;
- по числу коммутируемых цепей;
- по роду тока в цепи управления - постоянного и переменного;
- по номинальному напряжению в цепи управления;
- по максимально допустимой температуре окружающей среды;
- по конструктивному исполнению (степень защищенности, модификации и т.п.).
Расшифровка обозначения реле, характеризующего их конструктивно-технические данные, приведена в справочном приложении 1.
2.1.3. Правильный выбор реле обеспечивает его надежную работу.
При выборе реле для конкретного применения необходимо руководствоваться требованиями технической документации, учитывать все условия, в которых они должны работать (режим коммутации электрической цепи, климатические и механические воздействия, условия установки).
Реле должны эксплуатироваться в пределах норм, оговоренных в технической документации.
2.1.4. При выборе реле следует учитывать вид коммутируемой нагрузки.
Виды характерных нагрузок, определение их параметров, а также согласование параметров коммутационных аппаратов и нагрузки - по ОСТ 1 00392-80.
При выборе реле для коммутации обмоток аппаратов, выпускаемых с техническими требованиями по ОСТ 1 01033-82, сопоставление этих нагрузок с эквивалентным испытательным дросселем не требуется, при этом для коммутации контакторов, имеющих пусковую обмотку, необходимо применять реле с номинальной силой тока не менее 2 А.
При выполнении указанных условий обеспечивается срок службы реле по числу включений, не менее указанного в технических условиях на него, для индуктивной нагрузки.
2.1.5. При невыполнении одного из условий, оговоренных в ОСТ 1 00392-80, для конкретного вида нагрузки выбирается реле с большим номинальным током или по согласованию с разработчиком для него назначается меньший срок службы.
2.1.6. Работоспособное состояние реле зависит от коммутационной износостойкости, диапазона напряжения в цепи управления и от теплоизносостойкости.
2.1.7. Коммутационная износостойкость выражается допустимым количеством срабатываний в каждом конкретном режиме и зависит от характера нагрузки, частоты срабатываний, диапазона коммутируемых токов и напряжений, условий коммутации (повышенная температура, пониженное атмосферное давление).
2.1.8. Максимальная частота срабатывания устанавливается из условия обеспечения устойчивой коммутации контактами реле электрических цепей с учетом значения коммутируемой нагрузки в режимах, оговоренных в технической документации.
Увеличение частоты срабатывания может привести к повышенному износу контактной системы, нарушению работоспособности реле.
2.1.9. Для обеспечения надежной работы реле необходимо соблюдать соответствующий режим в цепи контактов.
При значениях напряжения и тока, превышающих допустимые по технической документации на конкретные реле, может иметь место выход из строя контактов из-за их разрушения или сваривания.
Коммутация токов менее значений, указанных в технической документации, может явиться причиной нарушения контактирования (кратковременного или длительного).
2.1.10. При длительном воздействии на реле максимальной повышенной температуры имеет место предельный нагрев деталей.
Снижение атмосферного давления окружающей среды ухудшает теплоотдачу, а также влияет на электрическую прочность воздушных промежутков между токоведущими деталями, что приводит к старению изоляции.
2.1.11. Рабочее напряжение в цепи управления указывается в технической документации в виде диапазона, в пределах которого гарантируется работоспособное состояние реле при воздействии климатических и механических факторов.
Для обеспечения надежной работы реле рекомендуется, чтобы длительность подачи напряжения в цепи управления была не менее 0,2 с.
2.1.12. Теплостойкость реле выражается допустимым суммарным временем работы обмотки при наихудшем (по нагреву) сочетании условий работы, т.е. в условиях повышенной температуры окружающей среды, при максимальном напряжении в цепи управления реле и при минимальном атмосферном давлении.
2.1.13. В изделиях, где измерение сопротивления обмотки или потребляемых токов требует распайки схемы, допускается оценку нагрева обмотки реле производить по нагреву колпака, измеренного с помощью термопары, закрепленной на нем.
Допустимая температура нагрева колпака, соответствующая допустимой температуре нагрева обмотки для конкретных реле, указана в рекомендуемом приложении 2.
2.1.14. Негерметичные реле в значительной степени подвержены воздействию окружающих условий.
При неблагоприятном сочетании таких факторов как температура и влажность окружающей среды, атмосферное давление, время включенного и выключенного состояния обмотки могут возникнуть ненормальные условия для работы реле. При этом может создаться путь для протекания тока через контакты, когда они разомкнуты при образовании капель влаги внутри реле или, наоборот, может произойти разрыв цепи при замкнутых контактах при обледенении подвижных деталей реле.
Оба эти явления проявляются в меньшей степени в условиях механических воздействий, и их возникновение носит вероятностный характер, однако в особо ответственных цепях целесообразно применять дублирование и герметичные реле.
2.1.15. Основными показателями ресурса реле является суммарное количество срабатываний при определенном характере коммутируемой нагрузки, а также суммарное время пребывания обмотки под током.
Исходя из допустимого количества срабатываний (NК) или суммарного времени пребывания обмотки под током (Т0), определяется ресурс в часах (ТЛ):
![]()
где ηК - количество срабатываний за 1 ч полета;
η0 - время включенного состояния за 1 ч полета.
За допустимое Тл берется меньшее значение, найденное по приведенным формулам.
2.1.16. Указываемое в технической документации на реле допустимое суммарное время пребывания обмотки под током (например, 500 ч) относится к условиям, при которых обмотка может иметь предельный нагрев, т.е. при максимальной температуре окружающей среды, минимальном атмосферном давлении и максимальном напряжении на выводах обмотки.
При использовании реле при меньших значениях температуры окружающей среды и напряжения в цепи управления и больших значениях атмосферного давления время нахождения обмотки под напряжением может быть увеличено.
При необходимости увеличения суммарного времени пребывания обмотки под током сверх указанного в технической документации, следует применять реле, расчета иное на работу при более высокой температуре окружающей среды, или применять реле при более низких температурах окружающей среды.
Нагрев обмотки реле определяется по потребляемой силе тока или сопротивлению обмотки. Пересчет производится по формулам:
![]()
![]()
или ![]()
где ∆t - превышение температуры обмотки над температурой окружающей среды, °С;
JXC - потребляемая сила тока обмотки в холодном состоянии, А;
JHC - потребляемая сила тока обмотки в нагретом состоянии, А;
t1 - температура окружающей среды, при которой была измерена сила тока JXC или RXC, °С;
t2 - температура окружающей среды, при которой была измерена сила тока JHC или RHC, °С;
RXC - сопротивление обмотки в холодном состоянии, Ом;
RHC - сопротивление обмотки в нагретом состоянии. Ом.
При небольшом отклонении напряжения питания от заданного можно считать, что превышение температуры обмотки над температурой окружающей среды изменится пропорционально квадрату отношения напряжений.
Понижение атмосферного давления приводит к увеличению превышения температуры нагрева обмотки. Так, например, при снижении атмосферного давления от нормального до 0,665 кПа (5 мм рт.ст.) превышение температуры нагрева обмотки может возрасти на 10 - 20 °С в зависимости от мощности и исполнения реле.
Таким образом, при гарантированном снижении напряжения на выводах обмотки до диапазона от 24 до 27 В (при заданном в технической документации диапазоне от 24,0 до 29,4 В) и снижении фактической температуры окружающего воздуха на несколько десятков градусов по сравнению с максимальной, указанной в технической документации, ресурс реле может быть увеличен.
Всякое возможное увеличение ресурса реле в результате снижения температуры нагрева обмотки производится с учетом обеспечения надежной работы контактов и всего реле в целом и должно быть оформлено протоколом согласования применения при рассмотрении предприятием-разработчиком фактических материалов по условиям применения температуры окружающей среды, диапазона напряжения на выводах обмотки и атмосферного давления.
Примечание. Измерение потребляемых токов производится при одном и том же напряжении питания.
2.2. Меры повышения надежности работы реле в аппаратуре
2.2.1. Для обеспечения надежной работы аппаратуры, устанавливаемые в ней реле должны применяться в схемах таким образом, чтобы единичный их отказ не приводил к созданию аварийной ситуации в полете.
2.2.2. К рекомендуемым мерам повышения надежности работы реле в аппаратуре относятся:
- схемные решения, обеспечивающие эксплуатацию реле в непредельных режимах или условиях, указанных в технической документации на реле;
- резервирование по цепям обмоток или контактов реле;
- искроподавляющие устройства для облегчения работы контактов реле;
- конструктивные меры защиты реле по уменьшению воздействия внешних климатических и механических факторов.
2.2.3. Резервирование обмоток, главным образом, сводится к их дублированию, т.к. большинство отказов обмоток происходит в результате их обрыва.
При резервировании контактов для повышения надежности схемы к отказам контактов по незамыканию следует контакты соединять параллельно, а к отказам по неразмыканию - последовательно.
При последовательном включении контактов необходимо учитывать, что падение напряжения в цепи контактов может изменяться в широких пределах.
Не рекомендуется последовательное включение большого количества контактов при малых токах нагрузки и напряжениях источника питания.
При параллельном включении контактов коммутируемый суммарный ток не должен превышать максимально допустимого значения для одной пары контактов.
2.2.4. В зоне номинальных значений токов и напряжений при индуктивной нагрузке для облегчения режима работы контактов, уменьшения их износа, повышения надежности работы реле рекомендуется применять искроподавляющие устройства, которые следует включать параллельно контактам или нагрузке.
При этом необходимо учитывать, что применение искрогасящих контуров может приводить к снижению надежности контактирования, т.к. уменьшает энергию, выделяющуюся на контактах, и снижает эффективность их самозачищения.
2.2.5. Конструктивные меры защиты предусматривают:
- амортизацию реле и блоков с целью исключения явления резонанса и уменьшения воздействия вибрационных и ударных нагрузок;
- вентиляцию и теплоотвод для создания благоприятных температурных условий работы реле;
- герметизацию и вакуумплотную изоляцию блоков или реле в аппаратуре;
- применение различных осушительных средств с целью уменьшения влажности в местах установки реле.
2.2.6. При коммутации электрических цепей с помощью реле могут возникать электрические помехи в подводящих проводах, электромагнитные поля, излучаемые как самими реле, так и подводящими проводами, а также импульсы повышенного напряжения, которые в случае необходимости следует устранять соответствующими способами (экранирование, применение разрядников и т.п.).
3.1. Входной контроль
3.1.1. Каждое реле перед установкой на изделие должно пройти входной контроль.
3.1.2. Входной контроль проводится в нормальных климатических условиях.
Средства измерения должны быть поверены в соответствии с требованиями ГОСТ 8.513-84 и иметь класс точности не менее 1,5; мегомметр применять с выходным напряжением 500 В.
3.1.3. При входном контроле проводится:
- внешний осмотр;
- проверка сопротивления изоляции;
- проверка работоспособности.
3.1.4. При внешнем осмотре:
- проверяется наличие и правильность заполнения сопроводительной документации;
- производится осмотр реле, чтобы убедиться в отсутствии повреждений лакокрасочного покрытия, трещин, вмятин, погнутых выводов, которые могли появиться при транспортировании и распаковке.
3.1.5. При проверке сопротивления изоляции:
- проводится выдержка реле в нормальных климатических условиях в течение 2 ч;
- проверяется сопротивление изоляции между корпусом и токоведущими цепями, а также между отдельными токоведущими цепями, не связанными между собой электрически, и цепями, разъединяющимися в процессе работы реле;
- производится отсчет показания мегомметра, определяющего сопротивление изоляции, через 1 мин после подачи на реле напряжения от измерительной схемы или через меньшее время, за которое показание мегомметра практически установится.
Результат проверки считается положительным, если сопротивление изоляции не менее значений, указанных в технической документации на конкретные реле для нормальных климатических условий.
3.1.6. Проверку работоспособности производить путем пятиразового включения и отключения реле при минимальном напряжении в цепях коммутации и управления, и минимальном токе в цепи коммутации, указанных в технической документации.
Контроль работоспособности производить по замыканию и размыканию контактов индикаторами.
При проверке работоспособности допускается последовательное соединение контактов.
Реле работоспособно, если при включении и отключении не было отказа по контактированию.
3.1.7. На реле, прошедшее входной контроль, наносится специальная отметка.
3.1.8. При необходимости проверки электрической прочности изоляции реле в составе аппаратуры на предприятии-изготовителе разрешается провести ее полным испытательным напряжением только один раз. При повторных проверках электрической прочности изоляции на предприятии-изготовителе аппаратуры испытательное напряжение должно снижаться каждый раз на 15 %.
3.1.9. При необходимости введения в технически обоснованных случаях дополнительных проверок при входном контроле предприятие-потребитель должно согласовывать их с предприятием-разработчиком и предприятием-изготовителем реле, а также с представителями заказчика на этих предприятиях.
3.2. Установка и монтаж
3.2.1. Место установки реле в изделии должно удовлетворять следующим требованиям:
- вибрация и ударная перегрузка мест крепления должны быть не более значений, указанных в технической документации на конкретные реле;
- реле устанавливаются в местах, защищенных от прямого попадания воды, керосина, масел, кислот, грязи, металлических опилок и др., а также от динамического воздействия пыли;
- при размещении реле рядом с элементами, нагретыми выше допустимой температуры окружающей среды, должны быть приняты меры, обеспечивающие необходимую защиту: рациональное размещение, принудительную вентиляцию, применение теплоотводов и экранов и т.п.
3.2.2. Расстояние между реле, расположенными рядом, должно исключать возможность их механических контактов, при этом необходимо учитывать взаимное тепловое влияние. Температура нагрева колпака не должна превышать допустимую.
3.2.3. Для периодического внешнего осмотра, проверки исправности крепления и надежности контакта внешних присоединений, как правило, должен быть обеспечен доступ.
3.2.4. Реле должны устанавливаться на поверхность с неплоскостностью не более 0,2 мм в пределах размеров реле и с шероховатостью поверхности не грубее RZ = 80 мкм, причем при креплении корпус и другие детали реле не должны деформироваться.
Конструкция реле предусматривает следующие виды крепления:
- крепление через отверстия во фланце;
- крепление через глухие резьбовые втулки;
- крепление за резьбовые отверстия в монтажной скобе;
- крепление приклеиванием при монтаже на печатную плату.
3.2.5. Рабочее положение реле выбирается в соответствии с указаниями технической документации.
3.2.6. Необходимо правильно выбирать крепежные винты, т.к. чрезмерная их длина может привести к деформации резьбовых стоек и колпака.
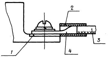
3.2.7. Крепление реле на печатных платах осуществляется приклеиванием клеем или эпоксидной замазкой (при этом температура сушки не должна превышать 120 °С) и пайкой за выводы в соответствии с черт. 1.
1 - реле; 2 - клей или эпоксидная замазка; 3 - печатная плата; 4 - припой
Черт. 1
При установке реле на печатные платы допускается промывка реле в спирто-бензиновой смеси в соответствии с действующей документацией.
Наличие воздушного зазора между опорными поверхностями реле и платой не допускается. Рекомендуемая толщина платы 1,5 - 2,0 мм.
При подпайке выводов реле к печатным проводникам платы (при этом выводы реле по надобности укоротить) необходимо обеспечивать прочное соединение и надежный электрический контакт. Усилие гибки выводов не должно передаваться на их заделку в реле.
Пайку производить припоем марки ПОССу 61-0,5 ГОСТ 21931-76 со спирто-канифольным флюсом. Пайка с другими флюсами запрещается.
Во избежании растрескивания стеклянной изоляции выводов температура нагрева паяльника не должна превышать 270 °С (рекомендуется пользоваться паяльником мощностью 50 Вт).
Время пайки выводов реле к проводнику печатной платы не должно быть более 5 с.
Печатную плату покрыть лаком в соответствии с действующей документацией.
С учетом указанных выше мер допускаются отличные от указанного на черт. 1 способы крепления реле (например, на двухсторонних печатных платах без загибки выводов и с подпайкой их через металлизированные отверстия платы), обеспечивающие надежную работу реле в аппаратуре.
3.2.8. Для реле с номинальной коммутируемой силой тока не более 10 А, имеющих выводы в виде лепестка с отверстием, подвод тока осуществляется проводами, которые подсоединяются к выводам пайкой в соответствии с черт. 2.
Для реле с номинальной коммутируемой силой тока не более 10 А, имеющих круглые выводы, подвод тока осуществляется проводами, которые подсоединяются к выводам пайкой при помощи наконечника в соответствии с черт. 3.
Площадь сечения монтажного провода при коммутации номинальных токов выбирается в соответствии с таблицей.
1 - трубка изоляционная; 2 - провод; 3 - вывод
Черт. 2
1 - вывод; 2 - трубка изоляционная; 3 - наконечник; 4 - провод
Черт. 3
|
Номинальная коммутируемая сила тока, А |
Площадь сечения провода, мм2, не более |
|
|
в коммутируемой цепи |
в цепи управления |
|
|
0,5 |
0,75 |
0,50 |
|
1,0 |
||
|
2,0 |
||
|
5,0 |
1,00 |
0,75 |
|
10,0 |
2,50 |
|
К одному выводу допускается пайка не более двух проводов общей площадью сечения в соответствии с таблицей.
В зависимости от условий применения следует выбирать марки припоя:
- ПСрОСу 8 ГОСТ 19738-74 - для температуры окружающей среды не более 85° С;
- ПСрЗКд ГОСТ 19738-74 - для температуры окружающей среды не более 150 °С
Допускается применение припоев других марок, рекомендованных для применения в отрасли.
Пайка проводов должна обеспечить надежный электрический контакт и прочное соединение.
Гибка выводов и расширение отверстий в них не допускается. Не допускается чрезмерный нагрев проводов при пайке, а также попадание флюса и припоя на панель.
На места пайки следует надеть изоляционные трубки соответствующего диаметра (маркировочная бирка по ОСТ 1 00571-7 9 или термоусаживаемая трубка Радпласт Т-2 ТУ 6-19-299-86).
Допускается не более грех перепаек проводов.
3.2.9. Для реле с номинальной коммутируемой силой тока 25 А подвод тока осуществляется проводами, снабженными кабельными наконечниками, которые подсоединяются к выводам с помощью винта в соответствии с черт. 4.
1 - шина; 2 - трубка изоляционная; 3 - провод; 4 - наконечник
Черт. 4
Под один выводной винт разрешается ставить не более двух наконечников.
Площадь сечения монтажных проводов при коммутации номинальной силы тока 25 А:
- в коммутируемой цепи - не более 4,00 мм2;
- в цепи управления - не более 0,75 мм2.
Подвод тока к выводным винтам может также осуществляться шинами, имеющими отверстие, площадь сечения и площадь соприкосновения с контактной поверхностью, соответствующие наконечнику.
Кабельные наконечники или токоподводящие шины должны прилегать непосредственно к контактным поверхностям.
Прокладка шайб под наконечники не допускается.
Для обеспечения надежного контакта выводные винты необходимо затянуть до полного сжатия пружинных шайб. При этом дополнительная затяжка не должна превышать одной четверти оборота.
Присоединение проводов и шин производить так, чтобы панель и другие детали реле не деформировались.
4.1. Эксплуатация реле может осуществляться как до выработки назначенного ресурса, так и по техническому состоянию.
Вид эксплуатации определяется разработчиком авиационной техники и указывается в технической документации на нее.
При эксплуатации по техническому состоянию межремонтные и назначенные ресурсы не устанавливаются. Реле эксплуатируются до безопасного отказа* или выработки назначенного ресурса изделия.
_______________________
* Безопасный отказ - потеря работоспособности, не приводящая к возникновению опасных последствий в полете.
Эксплуатация до безопасного отказа предусматривает на изделии необходимое резервирование и фиксацию факта отказа.
4.2. Реле выпускаются предприятием в отрегулированном виде, поэтому в процессе эксплуатации разбирать их не разрешается.
4.3. В процессе эксплуатации внешние поверхности реле рекомендуется периодически очищать от загрязнения и проверять исправность внешнего монтажа.
4.4. Реле на протяжении всего срока эксплуатации должны работать с нагрузкой одного типа.
Изменение типа нагрузки в процессе эксплуатации не допускается.
Справочное
1. Обозначение реле состоит из набора букв и цифр, определяющих их основные конструктивно-технические данные.
Максимальное количество знаков (букв и цифр) - девять.
Буквы и цифры пишутся слитно без каких-либо разделительных знаков и промежутков.
2. Порядок размещения цифр и букв в обозначении реле и их условное значение показаны на чертеже.

Первое место. Проставляется буквенное обозначение номинального напряжения в цели обмотки управления аппаратом:
![]()
С - 115В - переменного тока.
Второе место. Проставляется буквенное обозначение аппарата:
К - коммутационное реле с питанием цепи управления постоянным током;
П - реле с питанием цепи управления переменным током.
Третье и четвертое места. Проставляется буквенное и цифровое обозначение значения номинальной сипы тока в цепи главных контактов, причем буква на третьем месте обозначает разряд:
Н - нуль целых;
Е - единицы;
Д - десятки,
а цифра на четвертом месте указывает количество единиц данного разряда.
Пятое и шестое места. Проставляются две цифры или цифра и буква «П», обозначающие количество и вид контактов данного аппарата.
Цифра «0», стоящая на пятом месте, обозначает отсутствие независимых размыкающих контактов.
Цифра, стоящая на шестом месте, обозначает количество независимых замыкающих контактов.
Цифра, стоящая на пятом месте, и буква «П», стоящая на шестом месте, обозначают количество переключающих контактов.
Седьмое место. Проставляется цифровое обозначение максимально-допустимой длительно действующей температуры окружающей среды:
0 - 85 °С;
1 - 100 ° С;
2 - 155 °С.
В ранее выпущенных реле обозначение температуры окружающей среды:
ОД - 85 °С,
1 - 100° С,
1П - 150 °С.
Восьмое и девятое места. Проставляются буквы, условно обозначающие дополнительные конструктивные особенности и модификации реле.
Для обозначения отличий по конструктивному исполнению могут быть использованы любые буквы русского алфавита, при этом буква «Г» на восьмом месте обозначает герметичное исполнение.
Пример обозначения реле

Рекомендуемое
|
Тип реле |
Температура нагрева колпака, °С, не более |
|
ТКН21П1ДГ |
115 |
|
ТКН21П0ДГМ |
125 |
|
ТКЕ1010ДГ |
|
|
ТКЕ22П1Г |
145 |
|
ТКЕ22П1ГА |
|
|
ТКЕ22П1ГБ |
150 |
|
ТКЕ24П1Г |
|
|
ТКЕ24П1ГА |
130 |
|
ТКЕ26П1Г |
150 |
|
ТКЕ26П1ГА |
130 |
|
ТКЕ52П0ДГ |
115 |
|
ТКЕ52П0ДГБ |
130 |
|
ТКЕ52П1ПГБ |
195 |
|
ТКЕ54П0ДГ |
115 |
|
ТКЕ54П0ДГБ |
130 |
|
ТКЕ56П0ДГ |
125 |
|
ТКЕ56П0ДГБ |
130 |
|
ТКЕ56П1ПГБ |
195 |
|
ТКД12П0ДГ |
115 |
|
ТКД12П1ПГБ |
195 |
|
ТКД1020ДГ |
125 |
|
ТКД1020ДГБ |
130 |
|
ТКД2010ДГ |
|
|
ТКД2010ДГБ |
|
|
ТД2020ДГБ |
125 |
СОДЕРЖАНИЕ
|
2. Правила выбора реле и обеспечение надежной работы его в аппаратуре. 1 3. Правила установки и монтажа. 5 |