ОТРАСЛЕВЫЕ СТАНДАРТЫ
|
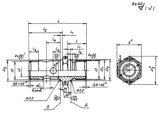
Конструкция и размеры |
ОСТ 1 12523-76 ОСТ 1 12524-76 Взамен 5808А, 5809А Проверено в 1987 г. |
|
Распоряжением Министерства от 3 мая 1976 г. срок введения установлен с 1 января 1977 г. |
№ 087-16 |
Несоблюдение стандарта преследуется по закону
1. Настоящий стандарт распространяется на проходные штуцера, предназначенные для соединения поворотных угольников и тройников с гнездами агрегатов жидкостных и газовых систем самолетов и вертолетов.
2. Конструкция и размеры проходных штуцеров должны соответствовать указанным на чертеже и в таблице.

____________
* Размер для справок.
** D5 ≈ S
Размеры, мм
|
Наружный диаметр труб D*Н |
Применяемость |
d |
d1 |
D |
D1 |
D2 Пред. откл. d11 |
D3 |
D4 |
S |
l |
l1 |
l2 |
l3 |
l4 |
l5 |
l6 |
L |
Масса 100 шт., кг |
|
|
38ХА |
14X17Н2 |
||||||||||||||||||
|
3 |
1,7 |
1,0 |
М8 |
8,2 |
11 |
16,2 |
8 |
14 |
14 |
2,5 |
23 |
8,5 |
6,0 |
4 |
2,0 |
42 |
1,94 |
||
|
4 |
2,7 |
2,0 |
6,5 |
2,08 |
|||||||||||||||
|
6 |
3,7 |
М10 |
10,2 |
13 |
19,6 |
10 |
17 |
17 |
24 |
46 |
3,05 |
||||||||
|
8 |
5,5 |
3,5 |
М12×1,5 |
12,2 |
15 |
12 |
27 |
9,5 |
9,0 |
5 |
49 |
3,74 |
|||||||
|
10 |
7,5 |
4,5 |
М14×1,5 |
14,2 |
17 |
21,9 |
14 |
19 |
18 |
30 |
11,0 |
6 |
53 |
4,66 |
|||||
|
12 |
9,5 |
5,5 |
М16×1,5 |
16,2 |
19 |
25,4 |
16 |
22 |
32 |
12,0 |
7 |
56 |
6,33 |
||||||
|
14 |
11,5 |
6,5 |
М18×1,5 |
18,2 |
21 |
27,7 |
18 |
24 |
19 |
36 |
10,0 |
14,0 |
8 |
61 |
7,75 |
||||
|
16 |
13,5 |
7,5 |
М20×1,5 |
20,2 |
23 |
31,2 |
20 |
27 |
20 |
37 |
15,0 |
63 |
9,50 |
||||||
|
15,5 |
9,0 |
М22×1,5 |
22,2 |
25 |
34,6 |
22 |
30 |
21 |
3,0 |
41 |
17,0 |
10 |
2,5 |
69 |
12,40 |
||||
____________
* Размер для справок.
3. Материал: сталь 38ХА ТУ 14-1-950-86 и сталь 14Х17Н2 (1Х17Н2) ТУ 14-1-377-72, ТУ 14-1-3957-85.
4. Термическая обработка: 29,0 … 35,5 HRCэ - для штуцеров из стали 38ХА; 23,0 … 32,0 HRCэ - для штуцеров из стали 14Х17Н2*. Группа контроля 4 ОСТ 1 00021-78.
5. Резьба - по ОСТ 1 00105-83, поле допуска 6е.
6. Сбег, фаски и проточка резьбы - по ОСТ 1 00010-81.
7. Отверстия для контровки - по ОСТ 1 03815-76, исполнение 5.
8. Неуказанные предельные отклонения размеров, формы и расположения поверхностей - по ОСТ 1 00022-80.
9. Допуск радиального биения поверхностей D2, относительно осей соответствующих резьб - не более 0,07 мм; допуск торцового биения поверхностей А и Б относительно осей соответствующих резьб - не более 0,05 мм.
10. Покрытие: Кд9.фос.окс. - для штуцеров из стали 38ХА; Хим, Пас - для штуцеров из стали 14Х17Н2*.
____________
* По действующему в отрасли документу.
11. Маркировать и клеймить - по ОСТ 1 00804-76.
12. Таблица соответствия проходных штуцеров по настоящим стандартам проходным штуцерам по нормалям 5808А, 5809А приведена в справочном приложении.
13. Технические условия - по ОСТ 1 00804-76.
Пример наименования и обозначения проходного штуцера к трубопроводу с DH = 8 мм из стали 38ХА:
Штуцер проходной 8-ОСТ 1 12523-76
То же, из стали 14Х17Н2:
Штуцер проходной 8-ОСТ 1 12524-76
Справочное
|
по стандарту |
по нормали |
|
3-ОСТ 1 12523-76 |
5808А-2 |
|
4-ОСТ 1 12523-76 |
5808А-3 |
|
6-ОСТ 1 12523-76 |
5808А-4 |
|
8-ОСТ 1 12523-76 |
5808А-6 |
|
10-ОСТ 1 12523-76 |
5808А-8 |
|
12-ОСТ 1 12523-76 |
5808А-10 |
|
14-ОСТ 1 12523-76 |
5808А-12 |
|
16-ОСТ 1 12523-76 |
5808А-14 |
|
18-ОСТ 1 12523-76 |
5808А-16 |
|
3-ОСТ 1 12524-76 |
5809А-2 |
|
4-ОСТ 1 12524-76 |
5809А-3 |
|
6-ОСТ 1 12524-76 |
5809А-4 |
|
8-ОСТ 1 12524-76 |
5809А-6 |
|
10-ОСТ 1 12524-76 |
5809А-8 |
|
12-ОСТ 1 12524-76 |
5809А-10 |
|
14-ОСТ 1 12524-76 |
5809А-12 |
|
16-ОСТ 1 12524-76 |
5809А-14 |
|
18-ОСТ 1 12524-76 |
5809А-16 |
ЛИСТ РЕГИСТРАЦИИ ИЗМЕНЕНИЙ
|
Номер изменения |
Номер листа (страницы) |
Номер документа |
Подпись |
Дата внесения изм. |
Дата введения изм. |
|||
|
измененного |
замененного |
нового |
аннулированного |
|||||
|
1 |
1 - 4 |
- |
6 |
- |
10510 |
17.07.87 |
1.01.88 |
|
|
2 |
1, 4 |
- |
- |
- |
11353 |
10.05.90 |
1.07.90 |
|
СОДЕРЖАНИЕ