ОТРАСЛЕВОЙ СТАНДАРТ
СОЕДИНИТЕЛЬНАЯ ЧАСТЬ АРМАТУРЫКонструкция и размеры |
ОСТ 112925-77Введен впервые Проверено в 1985 г. |
Распоряжением Министерства от 22 декабря 1977 г. № 087-16 срок введения установлен с 1 января 1979 г.
Несоблюдение стандарта преследуется по закону
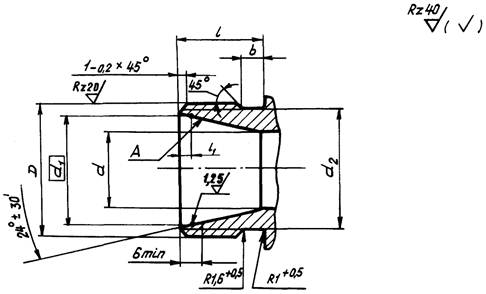
1. Настоящий стандарт распространяется на соединительную часть арматуры соединений трубопроводов с углом конуса 24°.
2. Конструкция и размеры соединительной части арматуры должны соответствовать указанным на чертеже и в таблице.
мм
|
D |
d |
d1 |
d2 |
l |
L1 Пред. откл. ± 0,1 |
b |
|
|
MR12´1,25** |
8,0 |
10,2 |
1,3 |
2,5 |
|||
|
MR12´1,5 |
9,8 |
3,0 |
|||||
|
MR14´1,5 |
10,0 |
11,8 |
|||||
|
MR16´1,5 |
12,0 |
13,8 |
|||||
|
MR18´1,5 |
14,0 |
15,8 |
|||||
|
MR20´1,5 |
16,0 |
17,8 |
|||||
|
MR22´1,5 |
18,0 |
19,8 |
|||||
|
18** |
MR24´1,5 |
20,0 |
21,8 |
||||
|
MR27´1,5 |
22,4 |
24,8 |
1,5 |
||||
|
22** |
MR30´1,5 |
24,4 |
27,8 |
||||
|
MR33´1,5 |
27,4 |
30,8 |
|||||
|
28** |
MR36´1,5 |
30,4 |
33,8 |
||||
|
30** |
MR39´1,5 |
33,0 |
36,8 |
2,3 |
|||
|
MR42´2 |
35,0 |
39,0 |
|||||
|
34** |
36,6 |
2,1 |
|||||
|
36** |
MR45´2 |
39,0 |
42,0 |
2,3 |
|||
|
MR48´2 |
41,0 |
45,0 |
|||||
|
MR52´2 |
45,0 |
49,0 |
|||||
|
MR60´2 |
53,0 |
57,0 |
______________
* Размер для справок.
** Применять в технически обоснованных случаях.
3. Неуказанные предельные отклонения размеров, формы и расположения поверхностей - по ОСТ 1 00022-80.
4. Допуск радиального биения поверхности А относительно оси резьбы - 0,05 мм.
5. Технические условия - по ОСТ 1 00943-79.
ЛИСТ РЕГИСТРАЦИИ ИЗМЕНЕНИЙ
|
Номера страниц |
Номер «Изв. об изм.» |
Подпись |
Дата |
Срок введения изменения |
||||
|
Измененных |
Замененных |
Новых |
Аннулированных |
|||||
|
Переиздан с учетом изменений № 1, 2, 3, 4, 5. |
||||||||