ОТРАСЛЕВЫЕ СТАНДАРТЫ
|
ТРОЙНИКИ ФЛАНЦЕВЫЕ ГЕРМЕТИЗИРУЕМЫЕ Конструкция и размеры |
ОСТ 1 13669-80 ОСТ 1 13670-80 ОСТ 1 13671-80 ОСТ 1 14700-90 Введен впервые Проверено в 1985 г. |
Распоряжением Министерства от 14 мая 1980 г. № 087-16 срок введения установлен с 1 января 1981 г.
Несоблюдение стандарта преследуется по закону
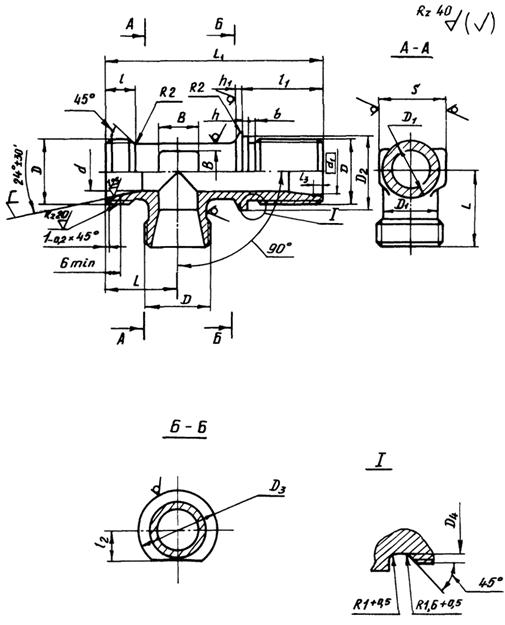
1, Настоящие стандарты распространяются на фланцевые герметизируемые тройники (в дальнейшем изложении - тройники), предназначенные для разъемных соединений трубопроводов.
2. Конструкция и размеры тройников должны соответствовать указанным на чертеже и в таблице.
Размеры, мм
|
D |
D1 |
D2 |
D3 |
D4 |
d |
d1 |
S |
l |
l1 Пред. откл. ±0,1 |
l2 |
l3 Пред. откл. ±0,1 |
L |
L1 Пред. откл. ±0,1 |
h |
h1 |
b |
B |
Масса, г |
||
|
Титановый сплав |
Сталь |
|||||||||||||||||||
|
6 |
MR12×1,25 |
9 |
12,2 |
16 |
10,2 |
5 |
8,0 |
9 |
9 |
24,0 |
6,1 |
1,3 |
19 |
55 |
2 |
1,5 |
2,5 |
7 |
20,6 |
35,3 |
|
MR12×1,5 |
9,8 |
3,0 |
||||||||||||||||||
|
8 |
MR14×1,5 |
11 |
14,2 |
17 |
11,8 |
7 |
10,0 |
11 |
25,5 |
7,1 |
20 |
68 |
2,0 |
24,3 |
41,6 |
|||||
|
10 |
MR16×1,5 |
13 |
16,2 |
19 |
13,8 |
9 |
12,0 |
13 |
10 |
27,5 |
8,1 |
22 |
69 |
9 |
28,1 |
48,3 |
||||
|
12 |
MR18×1,5 |
15 |
18,2 |
22 |
15,8 |
10 |
14,0 |
17 |
11 |
9,1 |
24 |
70 |
10 |
42,6 |
73,0 |
|||||
|
14 |
MR20×1,5 |
17 |
20,2 |
25 |
17,8 |
12 |
16,0 |
10,1 |
25 |
72 |
12 |
48,2 |
82,6 |
|||||||
|
16 |
MR22×1,5 |
19 |
22,2 |
28 |
19,8 |
14 |
18,0 |
19 |
28,5 |
11,1 |
27 |
76 |
2,5 |
14 |
57,6 |
98,9 |
||||
|
18 |
MR24×1,5 |
21 |
24,2 |
30 |
21,8 |
16 |
20,0 |
22 |
29,0 |
12,1 |
28 |
78 |
16 |
64,6 |
110,6 |
|||||
|
20 |
MR27×1,5 |
24 |
27,2 |
34 |
24,8 |
18 |
22,4 |
24 |
30,0 |
13,6 |
1,5 |
30 |
83 |
18 |
92,6 |
158,9 |
||||
|
22 |
MR30×1,5 |
27 |
30,2 |
37 |
27,8 |
20 |
24,4 |
27 |
31,0 |
15,1 |
31 |
86 |
116,5 |
199,4 |
||||||
|
25 |
MR33×1,5 |
30 |
33,2 |
39 |
30,8 |
23 |
27,4 |
30 |
32,0 |
16,6 |
33 |
91 |
3 |
22 |
138,0 |
236,2 |
||||
|
28 |
MR36×1,5 |
33 |
36,2 |
43 |
33,8 |
26 |
30,4 |
36 |
33,0 |
18,1 |
35 |
96 |
25 |
170,0 |
290,6 |
|||||
|
30 |
MR39×1,5 |
35 |
39,2 |
46 |
36,8 |
28 |
33,0 |
12 |
19,1 |
2,3 |
38 |
99 |
28 |
215,0 |
368,6 |
|||||
|
32 |
MR42×2 |
37 |
42,2 |
48 |
39,0 |
30 |
35,0 |
41 |
33,5 |
21,1 |
40 |
105 |
3,0 |
4,0 |
30 |
256,0 |
439,3 |
|||
|
34 |
38 |
32 |
36,6 |
2,1 |
202,0 |
346,8 |
||||||||||||||
|
36 |
MR45×2 |
41 |
45,1 |
55 |
42,0 |
34 |
39,0 |
22,0 |
2,3 |
109 |
247,0 |
423,0 |
||||||||
|
38 |
MR48×2 |
43 |
48,2 |
56 |
45,0 |
36 |
41,0 |
46 |
34,5 |
24,1 |
42 |
112 |
308,0 |
529,8 |
||||||
|
42 |
MR52×2 |
47 |
52,2 |
58 |
49,0 |
40 |
45,0 |
50 |
26,1 |
44 |
119 |
32 |
363,0 |
629,0 |
||||||
* Размер для справок.
3. Материал; титановые сплавы ВТ3-1, ВТ6 заготовка-штамповка ОСТ 1 90000-70, группа контроля Ш; сталь 13Х11Н2В2МФ-Ш заготовка-штамповка ОСТ 1 90176-75, группа контроля III; сталь 15Х16Н2АМ-Ш ТУ 14-1-948-74, заготовка-штамповка ОСТ 1 90176-75, группа контроля III.
4. Неуказанные штамповочные радиусы - 2,5 мм.
5. Неуказанные предельные отклонения размеров необрабатываемых поверхностей - по ОСТ 1 41187-78, класс точности 5.
6. Термическая обработка: тройники из титанового сплава - отжечь, группа контроля 5 ОСТ 1 00021-78; из стали - 25 ... 35 HRCэ, группа контроля 4 ОСТ 1 00021-78.*
7. Неуказанные предельные отклонения размеров, формы и расположения поверхностей - по ОСТ 1 00022-80.
8. Допуск радиального биения поверхности Г относительно оси резьбы - 0,05 мм.
9. Покрытие: тройников из стали - Хим.Пас, из титанового сплава Ан.Окс 2-3*.
* По действующему в отрасли документу.
10. Маркировать обозначение и клеймить окончательную приемку на бирке для партии деталей.
11. Технические условия - по ОСТ 1 00943-79.
Пример наименования и обозначения фланцевого герметизируемого тройника к трубопроводу наружным диаметром Dн = 12 мм из титанового сплава ВТ3-1:
Тройник фланцевый 12 - ОСТ 1 13669-80
То же, из титанового сплава ВТ6:
Тройник фланцевый 12 - ОСТ 1 14700-90
То же, из стали 13Х11Н2В2МФ-Ш:
Тройник фланцевый 12 - ОСТ 1 13670-70
То же, из стали 15Х16Н2АМ-Ш:
Тройник фланцевый 12 - ОСТ 1 13671-80
В обозначение фланцевого герметизируемого тройника к трубопроводу наружным диаметром Dн = 6 мм с резьбой MR12×1,5 дополнительно вводится шаг резьбы, например:
Тройник фланцевый 6-1,5 - ОСТ 1 13671-80
ЛИСТ РЕГИСТРАЦИИ ИЗМЕНЕНИЙ
|
Номера страниц |
Номер «Изв. об изм.» |
Подпись |
Дата |
Срок введения изменения |
||||
|
Измененных |
Замененных |
Новых |
Аннулированных |
|||||
|
Переиздан с учетом изменений № 1, 2, 3, 4, 5. |
||||||||