ОТРАСЛЕВЫЕ СТАНДАРТЫ

ТРОЙНИКИ ВВЕРТНЫЕ

Конструкция и размеры

ОСТ 1 13678-80

ОСТ 1 13679-80

ОСТ 1 13680-80

ОСТ 1 14703-90

Введен впервые

Проверено в 1985 г.

Распоряжением Министерства от 14 мая 1980 г. № 087-16

Срок введения установлен с 1 января 1981 г.

Несоблюдение стандарта преследуется по закону

1. Настоящие стандарты распространяются на ввертные тройники (в дальнейшем изложении - тройники), предназначенные для разъемных соединений трубопроводов.

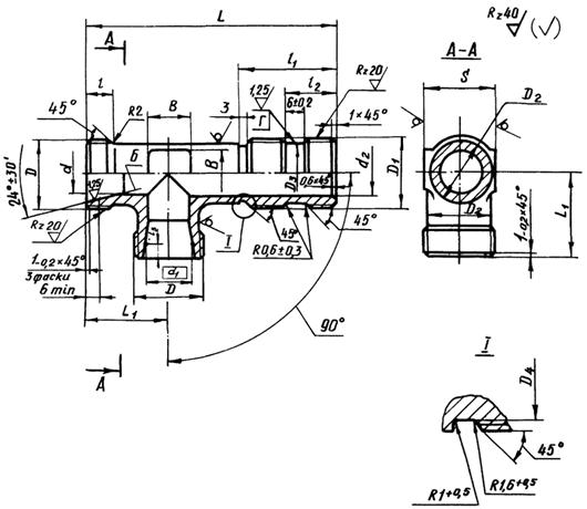
2. Конструкция и размеры тройников должны соответствовать указанным на черт. 1, 2 и в таблице.

Для D1 < D

Описание: Untitled-1

Черт. 1

Для D1 = D

Остальное - см. черт. 1

Описание: Untitled-1

Черт. 2

Размеры, мм

Наружный диаметр трубы Dн*

D

D1

D2

D3

D4

d

d1

d2

S

l

l1

l2

l3

L

L1

B

Масса, г

Пред. откл. h11

Пред. откл.

±0,1

Титановый

сплав

Сталь

6

MR12×1,25

MR10

9

7,6

7,8

5

8,0

4

9

9

24

13

1,3

51

19

7

21,2

36,6

54

22,0

37,8

62

23,9

41,0

MR12×1,5

51

21,2

36,6

54

22,0

37,8

62

23,9

41,0

8

MR14×1,5

MR12×1,5

11

9,6

9,8

7

10,0

6

11

25

14

54

20

24,4

42,1

60

26,4

45,2

68

29,7

51,0

10

MR16×1,5

MR14×1,5

13

11,6

11,8

9

12,0

8

13

10

58

22

9

30,9

53,4

66

34,2

58,6

76

37,8

64,8

12

MR18×1,5

MR16×1,5

15

13,6

13,8

10

14,0

10

17

11

27

15

63

24

10

43,3

74,8

71

47,2

80,9

81

52,1

89,4

MR18×1,5

15,6

-

24

63

47,5

82,0

71

50,5

87,2

81

55,9

96,4

14

MR20×1,5

MR20×1,5

17

17,6

12

16,0

12

26

16

67

25

12

51,7

89,2

72

54,6

93,6

82

60,4

103,5

16

MR22×1,5

MR22×1,5

19

19,6

14

18,0

14

19

69

27

14

56,7

97,8

78

62,4

107,0

88

69,0

118,2

18

MR24×1,5

MR24×1,5

21

21,6

16

20,0

16

22

28

18

73

28

16

66,9

115,4

86

76,0

130,2

98

84,7

145,2

20

MR27×1,5

MR27×1,0

24

24,6

18

22,4

18

24

1,5

78

30

18

92,9

160,2

88

102,5

175,7

100

114,0

196,0

22

MR30×1,5

MR30×1,5

27

27,6

20

24,4

20

27

30

19

86

31

118,1

203,7

97

131,5

226,0

110

146,6

251,9

25

MR33×1,5

MR30×1,5

30

27,6

27,8

23

27,4

22

30

33

19

88

33

22

138,5

238,9

99

155,5

267,1

112

173,0

296,6

28

MR36×1,5

MR33×1,5

33

30,6

30,8

26

30,4

25

36

35

20

90

35

25

160,0

276,0

105

185,6

319,0

118

205,0

352,1

30

MR39×1,5

MR36×1,5

35

33,6

33,8

28

33,0

27

12

21

96

38

28

213,0

367,3

108

235,0

404,0

2,3

121

261,0

447,7

32

MR42×2

MR39×1,5

37

36,6

36,8

30

35,0

41

36

22

100

40

30

246,6

425,3

116

275,0

471,5

130

304,0

521,3

34

38

32

36,6

30

2,1

100

185,7

320,3

116

218,0

374,0

130

241,0

413,4

36

MR45×2

MR42×1,5

41

39,6

39,8

34

39,0

32

105

241,5

416,5

116

269,0

461,0

130

297,0

509,8

38

MR48×2

MR45×1,5

43

42,6

42,8

36

41,0

34

46

2,3

107

42

280,6

483,8

118

309,0

530,0

132

344,0

589,2

42

MR52×2

MR48×1,5

47

45,6

45,8

40

45,0

37

50

114

44

32

349,1

601,9

125

380,0

658,0

139

426,0

738,0

* Размер для справок.

3. Материал: титановые сплавы ВТ3-1, ВТ6 заготовка-штамповка ОСТ 1 90000-70, группа контроля III сталь 13Х11Н2В2МФ-Ш заготовка-штамповка ОСТ 1 90176-75, группа контроля III; сталь 15Х16Н2АМ-Ш ТУ 14-1-948-74, заготовка-штамповка ОСТ 1 90176-75, группа контроля III.

4. Неуказанные штамповочные радиусы - 2,5 мм.

5. Неуказанные предельные отклонения размеров необрабатываемых поверхностей - по ОСТ 1 41187-78, класс точности 5.

6. Термическая обработка: тройники из титанового сплава - отжечь, группа контроля 5 ОСТ 1 00021-78; из стали - 25 ... 35 HRCэ, группа контроля 4 ОСТ 1 00021-78*.

7. Неуказанные предельные отклонения размеров, формы и расположения поверхностей - по ОСТ 100022-80.

8. Допуск радиального биения поверхности Б относительно оси резьбы D1 - 0,05 мм.

9. Допуск радиального биения поверхности Г относительно оси резьбы D1 - 0,08 мм.

10. Покрытие: тройников из титанового сплава - Ан.Окс 2-3; из стали -Хим.Пас*.

____________

* По действующему в отрасли документу.

11. Маркировать обозначение и клеймить окончательную приемку на бирке для партии деталей.

12. Технические условия - по ОСТ 1 00943-79.

Пример наименования и обозначения ввертного тройника к трубопроводу наружным диаметром Dн = 12 мм и длиной L = 71 мм из титанового сшива ВТ3-1:

Тройник ввертной 12-71 - ОСТ 1 13678-80

То же, из титанового сплава ВТ6:

Тройник ввертной 12-71 - ОСТ 1 14703-90

То же, из стали 13Х11Н2В2МФ-Ш:

Тройник ввертной 12-71 - ОСТ 1 13679-80

То же, из стали 15Х16Н2АМ-Ш:

Тройник ввертной 12-71 - ОСТ 1 13680-80

В обозначение ввертного тройника к трубопроводу Dн = 6 мм с резьбой D = MR12×1,5 дополнительно вводится шаг резьбы, например:

Тройник ввертной 6-1,5-54 - ОСТ 1 13680-80

В обозначение ввертного тройника к трубопроводу Dн = 12 мм с резьбой D1 = MR18×1,5 дополнительно вводится диаметр резьбы, например:

Тройник ввертной 12-71-18 - ОСТ 1 13680-80.

ЛИСТ РЕГИСТРАЦИИ ИЗМЕНЕНИЙ

№ изм.

Номера страниц

Номер «Изв. об изм.»

Подпись

Дата

Срок введения изменения

измененных

замененных

новых

аннулированных

Передан с учетом изменений № 1, 2, 3, 4, 5.

6

3, 4

-

-

-

12258

26.10.94

01.07.94