|
ФЕДЕРАЛЬНОЕ
АГЕНТСТВО |
||
|
|
НАЦИОНАЛЬНЫЙ |
ГОСТ Р |
Сосуды и аппараты
НОРМЫ
И МЕТОДЫ РАСЧЕТА
НА ПРОЧНОСТЬ
Сосуды и аппараты с рубашками
|
|
Москва |
Предисловие
Цели и принципы стандартизации в Российской Федерации установлены Федеральным законом от 27 декабря 2002 г. № 184-ФЗ «О техническом регулировании», а правила применения национальных стандартов Российской Федерации - ГОСТ Р 1.0-2004 «Стандартизация в Российской Федерации. Основные положения»
Сведения о стандарте
1. РАЗРАБОТАН Открытым акционерным обществом «Научно-исследовательский и конструкторский институт химического машиностроения» (ОАО НИИХИММАШ); Закрытым акционерным обществом «Петрохим Инжиниринг» (ЗАО Петрохим Инжиниринг); Открытым акционерным обществом «Всероссийский научно-исследовательский и проектно-конструкторский институт нефтяного машиностроения» (ОАО ВНИИНЕФТЕМАШ); Федеральной службой по экологическому, технологическому и атомному надзору (Ростехнадзор)
2. ВНЕСЕН Техническим комитетом по стандартизации ТК 260 «Оборудование химическое и нефтегазоперерабатывающее»
3. УТВЕРЖДЕН И ВВЕДЕН В ДЕЙСТВИЕ Приказом Федерального агентства по техническому регулированию и метрологии от 27 декабря 2007 г. № 503-ст
4. В настоящем стандарте учтены основные нормативные положения следующих международных и европейских стандартов: Директивы 97/23 ЕС Европейского Парламента и Совета от 29 мая 1997 г. по сближению законодательств государств-членов, касающейся оборудования, работающего под давлением; ЕН 13445-3:2002 «Сосуды, работающие под давлением. Часть 3. Расчет» (EN 13445-3:2002 «Unfired pressure vessel - Part 3: Design»)
5. ВВЕДЕН ВПЕРВЫЕ
Информация об изменениях к настоящему стандарту публикуется в ежегодно издаваемом информационном указателе «Национальные стандарты», а текст изменений и поправок - в ежемесячно издаваемых информационных указателях «Национальные стандарты». В случае пересмотра (замены) или отмены настоящего стандарта соответствующее уведомление будет опубликовано в ежемесячно издаваемом информационном указателе «Национальные стандарты». Соответствующая информация, уведомление и тексты размещаются также в информационной системе общего пользования - на официальном сайте Федерального агентства по техническому регулированию и метрологии в сети Интернет
СОДЕРЖАНИЕ
ГОСТ Р 52857.8-2007
НАЦИОНАЛЬНЫЙ СТАНДАРТ РОССИЙСКОЙ ФЕДЕРАЦИИ
|
Сосуды и аппараты НОРМЫ И МЕТОДЫ РАСЧЕТА НА ПРОЧНОСТЬ Сосуды и аппараты с рубашками Vessels
and apparatus.
|
Дата введения - 01-04-08
Настоящий стандарт распространяется на сосуды с U-образной или цилиндрической рубашкой, с рубашкой, сопряженной анкерными трубами или отбортовкой, а также с рубашкой в виде змеевиковых или регистровых каналов для обогрева или охлаждения сосуда, нагруженные избыточным давлением в сосуде или (и) в рубашке, собственной массой и стесненностью температурных деформаций.
Настоящий стандарт применяется совместно с ГОСТ Р 52857.1.
В настоящем стандарте использованы нормативные ссылки на следующие стандарты:
ГОСТ Р 52857.1-2007 Сосуды и аппараты стальные. Нормы и методы расчета на прочность. Общие требования
ГОСТ Р 52857.2-2007 Сосуды и аппараты. Нормы и методы расчета на прочность. Расчет цилиндрических и конических обечаек, выпуклых и плоских днищ и крышек
ГОСТ Р 52857.6-2007 Сосуды и аппараты. Нормы и методы расчета на прочность. Расчет на прочность при малоцикловых нагрузках
Примечание - При пользовании настоящим стандартом целесообразно проверить действие ссылочных стандартов в информационной системе общего пользования - на официальном сайте Федерального агентства по техническому регулированию и метрологии в сети Интернет или по ежегодно издаваемому информационному указателю «Национальные стандарты», который опубликован по состоянию на 1 января текущего года, и по соответствующим ежемесячно издаваемым информационным указателям, опубликованным в текущем году. Если ссылочный стандарт заменен (изменен), то при пользовании настоящим стандартом следует руководствоваться заменяющим (измененным) стандартом. Если ссылочный стандарт отменен без замены, то положение, в котором дана ссылка на него, применяется в части, не затрагивающей эту ссылку.
В настоящем стандарте применены следующие обозначения:
A - коэффициент осевого усилия;
Aк - площадь поперечного сечения канала, мм2;
a - размер сварного шва, мм;
B - коэффициент сопряжения с помощью конуса;
b - наибольший свободный интервал между двумя жесткими элементами для цилиндрической обечайки с кольцами жесткости, мм;
b0 - ширина кольца, мм;
b1 - толщина ленты направляющей спирали, мм;
b2 - ширина канала, мм;
c - сумма всех прибавок к расчетным толщинам стенок, мм;
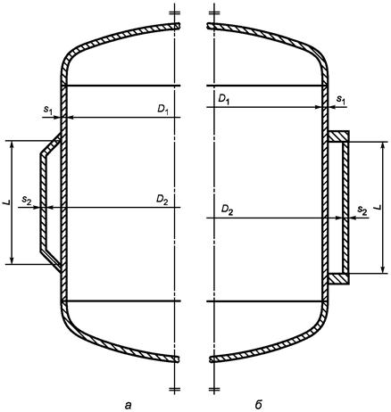
D1 - внутренний диаметр сосуда, мм;
D2 - внутренний диаметр рубашки, мм;
D3 - средний диаметр сосуда (D3 = D1 + s1), мм;
D4 - средний диаметр рубашки (D4 = D2 + s2), мм;
Dк - наибольший внутренний диаметр компенсатора, мм;
Dр - расчетный диаметр, мм: для цилиндрической обечайки Dр = D1, для днища Dр = D1;
d0 - наружный диаметр отбортовки или анкерной трубы, мм;
d1 - диаметр окружности сопряжения рубашки с днищем сосуда, мм; если рубашка присоединена не к днищу, то d1 принимают равным нулю;
E1 - модуль упругости материала сосуда при расчетной температуре, МПа;
E2 - модуль упругости материала рубашки или канала при расчетной температуре, МПа;
e0 - расстояние от середины стенки рубашки до наружной стороны стенки сосуда, мм;
е2 - расстояние от центра тяжести поперечного сечения канала до середины стенки сосуда, мм;
F - осевое усилие от собственной массы, Н;
Fк - осевое усилие на компенсатор, Н;
f1, f2, f3, f4 - коэффициенты прочности сопряжений при помощи конуса;
f5, f6 - коэффициенты прочности сопряжений анкерными трубами и отбортовками;
G1 - собственная масса сосуда и его содержимого, Н;
G2 - собственная масса рубашки и ее содержимого, Н;
Н - относительный размер кольца;
h0 - исполнительная толщина кольца, мм;
h0р - расчетная толщина кольца, мм;
h1 - ширина ленты направляющей спирали, мм;
h2 - высота канала [h2 = r3(1 - cosg)], мм;
Iк - момент инерции поперечного сечения канала относительно оси, проходящей через центр его тяжести параллельно стенке сосуда, мм4;
K0, K1, K2 - коэффициенты для расчета напряжений в зоне сопряжения с помощью конуса;
K3, K4, K5, K6, K7, K8 - коэффициенты для расчета напряжений в сопряжении анкерными трубами или отбортовкой;
K9, K10, K11 - коэффициенты для расчета напряжений в каналах;
L - расчетная длина рубашки, мм;
l1, l2 - расчетные длины цилиндрических обечаек с кольцами жесткости, мм;
l3 - длина примыкающего элемента, учитываемая при определении расчетной длины, мм; определяют по ГОСТ Р 52857.2;
le - эффективная длина стенки обечайки, учитываемая при определении эффективного момента инерции кольца или канала, мм;
lR - исполнительная длина укрепления стенки рубашки в месте сопряжения с помощью конуса или расстояние от первого кольцевого шва до отбортовки, мм;
M0 - относительный момент нагружения;
M1, M2, M3 - относительные реактивные моменты;
m - относительный реактивный момент в месте сопряжения анкерными трубами или отбортовками;
N - число рабочих циклов;
[N]i - допускаемое число рабочих циклов рассматриваемого материала при расчетной температуре и размахе напряжений Dsi по 2.6.3 (i = 0; 1; 2; ... 6);
n1 - число витков направляющей спирали;
n2 - число витков змеевикового канала;
n3 - число замыканий змеевикового канала;
P - относительное давление, МПа;
p1 - расчетное давление в сосуде при эксплуатации или испытании, МПа. Если абсолютное давление больше атмосферного (избыточное давление), то p1 > 0; если абсолютное давление меньше атмосферного (вакуум), то p1 < 0;
p2 - расчетное давление в рубашке или в канале в состоянии эксплуатации или испытания, МПа;
[p2] - допускаемое внутреннее избыточное давление в рубашке или в канале, МПа;
Q - геометрический параметр кольца;
R1 - радиус кривизны в вершине днища сосуда по внутренней поверхности, мм;
R2 - радиус кривизны в вершине днища рубашки по внутренней поверхности, мм;
r0 - внутренний радиус кривизны отбортовки для конических сопряжений, мм;
r1 - внутренний радиус кривизны отбортовки для сопряжений с отбортовкой, мм;
r2 - наружный радиус канала, мм;
r3 - средний радиус канала (r3 = r2 - 0,5s2), мм;
s0 - исполнительная толщина стенки анкерной трубы, мм;
s0р - расчетная толщина стенки анкерной трубы, мм;
s1 - исполнительная толщина стенки цилиндрической обечайки сосуда, мм;
s1р - расчетная толщина стенки цилиндрической обечайки сосуда, мм;
s2 - исполнительная толщина стенки цилиндрической обечайки рубашки и конуса или канала, мм;
s2р - расчетная толщина стенки цилиндрической обечайки рубашки и конуса или канала, мм;
s3 - исполнительная толщина стенки днища сосуда, мм;
s4 - исполнительная толщина стенки днища рубашки, мм;
sр - расчетная толщина стенки рубашки, мм; на цилиндрической обечайке sр = s2, на выпуклом днище sр = s4;
T - рабочая температура, °C;
DT1 - разность между средней температурой стенки сосуда и температурой 20 °C;
DT2 - разность между средней температурой стенки рубашки или канала и температурой 20 °C;
t0 - эффективный шаг анкерных труб или отбортовок, мм;
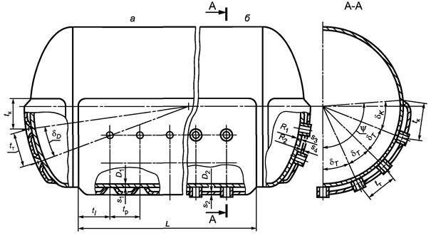
t1, t2 - расчетный шаг анкерных труб или отбортовок, мм;
tр - шаг анкерных
труб или отбортовок вдоль оси на цилиндрической обечайке
мм;
tт - шаг анкерных труб или отбортовок по окружности, мм:
на цилиндрической
обечайке ![]()
на днище ![]()
tl - расстояние вдоль оси от края рубашки до первого ряда анкерных труб или отбортовок, мм;
tк - расстояние по
окружности от края рубашки до первого ряда анкерных труб или отбортовок
мм;
ts - шаг направляющей спирали или змеевикового канала, мм;
V - коэффициент понижения прочности при наличии отверстий в канале в зоне штуцеров;
W1 - момент сопротивления сварного шва на единицу его длины между корпусом сосуда и кольцом, мм2;
W2 - момент сопротивления сварного шва на единицу его длины между кольцом и рубашкой, мм2;
X1, X2, X3 - вспомогательные величины;
a - угол конического сопряжения, ...°;
a1 - коэффициент температурного удлинения материала сосуда, 1/°C;
a2 - коэффициент температурного удлинения материала рубашки или канала, 1/°C;
bк1, bк2 - эффективные коэффициенты концентрации;
gк - общий эффективный коэффициент концентрации;
g - половина центрального угла канала, ...°;
δT - угол шага анкерных труб или отбортовок на цилиндрической обечайке по окружности, ...°;
δD - угол шага анкерных труб или отбортовок на днище,...°;
δK - угол по окружности от края рубашки до первого ряда анкерных труб или отбортовок, ...°;
Dsi - размахи напряжений (i = 0; 1; 2; ... 6), МПа;
eр - относительное продольное удлинение в рубашке;
[eр] - допускаемое относительное продольное удлинение в рубашке;
eт - разность температурных относительных удлинений;
e - коэффициент, учитывающий расстояние между корпусом сосуда и рубашкой;
η - коэффициент нагружения;
λ - коэффициент длины сопряжения;
μ - относительная эффективная несущая длина конуса;
ρ - коэффициент радиуса отбортовки;
sА - амплитуда напряжений, МПа;
[s]0 - допускаемое напряжение для кольца сопряжения или анкерной трубы при расчетной температуре, МПа;
[s]1 - допускаемое напряжение для стенки сосуда при расчетной температуре, МПа;
[s]2 - допускаемое напряжение для стенки рубашки или канала при расчетной температуре, МПа;
[sА] - допускаемая амплитуда напряжения рассматриваемого материала при расчетной температуре и при числе рабочих циклов N, МПа;
- допускаемый
размах напряжений (i = 0; 1; 2; ...,
6), МПа;
j0 - расчетный коэффициент прочности сварного шва на направляющей спирали;
j1 - коэффициент снижения допускаемых напряжений при расчете на устойчивость;
j2 - коэффициент прочности сварного шва;
j3, j4 - коэффициенты понижения прочности канала;
jр1, jр2, jр3, jр4, jр5, jр6 - расчетные коэффициенты прочности сварных швов;
jп0 - коэффициент прочности сварного радиального шва в кольце сопряжения;
jп1 - коэффициент прочности сварного продольного шва сосуда;
jп2 - коэффициент прочности сварного продольного шва рубашки;
jт1 - коэффициент прочности сварного кольцевого шва сосуда;
jт2 - коэффициент прочности сварного кольцевого шва рубашки;
χ - коэффициент отношения прочности корпуса сосуда и рубашки;
ψ - половина угла обхвата рубашки с сопряжением анкерными трубами или отбортовкой, ...°.
4.1. Общие условия применения расчетных формул
4.1.1. Формулы применимы, если в рубашке действует только избыточное внутреннее давление (p2 ³ 0).
4.1.2. Формулы для проверок малоцикловой прочности (см. разделы 5 - 8) применимы, если рабочие температуры не превышают значений, при которых следует учитывать ползучесть материалов, то есть когда допускаемое напряжение, приведенное в ГОСТ Р 52857.1, определяют только по пределу текучести или временному сопротивлению (пределу прочности). Если нет точных данных, то формулы применимы, если расчетная температура не превышает следующих значений:
380 °C - для углеродистой стали;
420 °C - для низколегированной стали;
525 °C - для аустенитной стали.
4.1.3.
Формула для определения допускаемого размаха напряжений
действительна,
если радиусы кривизны, полученные методом холодной деформации (r0, r1, r2), больше
четырехкратной толщины стенки.
4.1.4. Проверка на малоцикловую прочность приведена только для мест сопряжения сосуда с рубашкой или каналом. Для всех других элементов, испытывающих циклическую нагрузку, расчет следует проводить по ГОСТ Р 52857.6.
4.1.5. Проверка на малоцикловую прочность приведена для напряжений, вызываемых изменениями средних температур стенок. Если возникающая разница температур между соседними точками составляет больше 15 °C, то расчет на малоцикловую прочность проводят по ГОСТ Р 52857.6.
4.2. Условия применения формул для сосудов с U-образной и цилиндрической рубашкой
4.2.1. Формулы применимы при соотношении:
- диаметров
![]()
- толщины стенки и диаметров

- толщин стенок
![]()
4.2.2. Формулы для сопряжений с помощью конуса применимы для углов a = 30°, a = 45° и радиуса отбортовки
![]()
4.2.3. Формулы для сопряжений с помощью конуса применимы при условии полностью проваренных сварных швов, а для числа циклов нагружения N > 103 - при условии двустороннего сварного шва между конусом и рубашкой (см. рисунок А.1, приложение А).
4.2.4. Формулы для сопряжения с помощью кольца применимы при толщине кольца
h0 ³ 1,5s2 - для U-образной рубашки,
- для
цилиндрической рубашки.
4.2.5. Формулы для сопряжений с помощью кольца применимы при условии полностью проваренных сварных швов между кольцом и рубашкой (см. рисунок А.2, приложение А).
4.2.6. Диаметр окружности сопряжения рубашки с днищем сосуда должен удовлетворять условию
d1 £ 0,4D2.
Расчет сопряжения рубашки с днищем сосуда не проводят, если оно соответствует рисунку А.3, приложение А.
4.3. Условия применения формул для сосудов с рубашками, сопряженными анкерными трубами или отбортовками
4.3.1. Угол шага δТ сопряжения анкерными трубами или отбортовками должен удовлетворять условию

4.3.2. Формулы по 4.3 - 4.5 применимы при соотношении шагов
![]()
4.3.3. Формула для сопряжения отбортовкой применима при углах отбортовки 30° и 45° (см. рисунок А.4, приложение А) и при проваренных сварных швах.
4.3.4. Формулы для анкерных труб применимы при размере сварного шва
a ³ 0,7min{s0; s2}.
4.3.5. Расчет на усталость по 4.6 применим при соотношении толщин стенок
![]()
4.4. Условия применения формул для сосудов с каналами
4.4.1. Расчетные формулы по разделу 5 применимы при:
- ширине канала b2 £ 0,1D1;
- высоте канала h2 ³ s2;
- половине центрального угла канала 20° £ g £ 90°.
4.4.2. Формулы для каналов применимы при V-образных сварных швах с полным проваром, а для каналов полукруглого сечения также и при угловых швах.
4.4.3. Расчет на усталость по 8.6 применим при соотношении толщин стенок
![]()
5.1. Цилиндрические обечайки
5.1.1. Расчет цилиндрических обечаек на внутреннее избыточное давление проводят по ГОСТ Р 52857.1. Расчетное давление для рубашки равно p2 и расчетное давление для сосуда - p1, если p1 > 0.
5.1.2. Расчет цилиндрической обечайки сосуда на наружное давление проводят по ГОСТ Р 52857.2. При p1 < 0 за расчетное давление для сосуда вне рубашки принимают |p1|, а для обечайки корпуса под рубашкой p2 + |p1|.
При р1 > 0 расчетное давление в зоне рубашки равно p2 или p2 - р1, если обеспечивается одновременное действие давления p1 и р2.
Расчетную длину L следует определять по ГОСТ Р 52857.2.
5.1.3. Цилиндрическую стенку сосуда с кольцами жесткости рассчитывают по ГОСТ Р 52857.2.
Направляющие спирали можно рассматривать как кольца жесткости, если выполнены следующие условия:
а) шаг спирали ts должен быть не более 0,3D1. Если n1 £ 1, то цилиндрическую обечайку следует рассчитывать как гладкую обечайку;
б) за расчетную длину l2 принимают расстояние вдоль оси сосуда от конечной точки расчетной длины (см. рисунок А.5, приложение А) до точки замыкания первого витка направляющей спирали, охватывающего всю окружность сосуда. Для направляющих спиралей, выполненных с концевыми кольцами, действительно определение l2 по ГОСТ Р 52857.2;
в) расчетные длины b, l1 и lе при расчете по ГОСТ Р 52857.2 вычисляют по формулам:
|
b = max{ts - b1; l2 - 0,5b1}, |
(1) |
|
|
(2) |
|
|
(3) |
г) поперечное
сечение направляющей спирали (см. рисунок А.6, приложение А)
должно удовлетворять условию
чтобы исключить
потерю устойчивости из плоскости;
д) для обеспечения прочности обоих угловых швов на направляющей спирали должно быть выполнено условие
|
|
(4) |
Коэффициент сварного шва j0 определяют как отношение длины сварного шва к общей длине спирали. При этом расстояние между двумя концами прерванного шва не должно превышать восьмикратной толщины стенки обечайки s1, а сумма длин сварных швов не должна быть меньше половины окружности направляющей спирали на одном витке. Оба конца спирали должны начинаться швом.
5.2. Днища
5.2.1. Расчет выпуклых днищ на внутреннее избыточное и наружное давления проводят по ГОСТ Р 52857.2. Расчетные давления принимают согласно 5.1.1 и 5.1.2. Для днища сосуда, нагруженного избыточным давлением р2, допускается проводить расчет по другим методам, которые учитывают отсутствие давления на участке в пределах d1.
5.2.2. При расчете днища рубашки отверстие диаметром d1 не учитывают.
5.3. Сопряжение рубашки с корпусом сосуда с помощью конуса (см. рисунок А.1, приложение А)
5.3.1. Вспомогательные параметры вычисляют по формулам:
а) коэффициент осевого усилия:
|
(5) |
б) коэффициент, учитывающий расстояние между корпусом сосуда и рубашкой:
|
(6) |
в) коэффициент радиуса конической отбортовки:
|
|
(7) |
г) коэффициент длины сопряжения:
|
|
(8) |
д) коэффициент отношения прочности корпуса сосуда и рубашки:
|
(9) |
Если в сосуде вакуум (p1 < 0), то в формулу (9) подставляют p1 = 0;
е) расчетные коэффициенты прочности сварного шва:
|
|
(10) |
|
|
(11) |
ж) относительную эффективную несущую длину конуса
|
|
(12) |
5.3.2. Допускаемое избыточное давление в рубашке вычисляют по формуле
|
(13) |
5.3.3. Коэффициент сопряжения с помощью конуса вычисляют по формуле
|
(14) |
где
|
|
(15) |
|
|
(16) |
|
|
(17) |
f1, f2, f3 и f4 определяют в зависимости от вспомогательных параметров.
Коэффициент f1:
- для ![]()

- для ![]()
f1 = λ + min(1; χ).
Коэффициент f2:
- для a = 30°
f2 = 1,22(1 + 0,51ρ + 2ez),
- для a = 45°
f2 = 0,71 + 0,52ρ + ez,
где
![]()
![]()
![]()
Коэффициент f3:
- для a = 30°

- для a = 45°

Коэффициент f4:
- для a = 30°

- для a = 45°

5.3.4. Определение размеров сопряжения с помощью конуса
Толщина стенки конуса должна быть не менее толщины стенки сопряженной цилиндрической рубашки. Если необходимо увеличить толщину стенки конуса, то следует одновременно увеличить и толщину стенки сопряженной цилиндрической обечайки рубашки на длине
![]()
Толщину стенки конуса рассчитывают методом итерации по формулам:
|
|
(18) |
|
s2 ³ s2ρ + c. |
(19) |
Коэффициент A вычисляют по формуле (5), а B - по формуле (14), причем в качестве исходного значения для s2 берут исполнительную толщину стенки цилиндрической рубашки.
5.4. Сопряжение рубашки с корпусом сосуда с помощью кольца (см. рисунок А.2, приложение А).
5.4.1. Вспомогательные параметры определяют по формулам:
а) расчетные коэффициенты прочности сварного шва
|
|
(20) |
|
|
(21) |
б) параметры кольца
|
|
(22) |
|
|
(23) |
|
|
(24) |
в) относительный момент нагружения
|
|
(25) |
г) относительный реактивный момент в стенке сосуда
|
(26) |
если p1 > p2 > 0, то в формулу (26) подставляют p1, равное 0;
д) относительный реактивный момент в стенке рубашки
|
|
(27) |
е) относительный реактивный момент в месте сопряжения кольца со стенкой сосуда
|
М3 = min {QH2; (1 + 2Н)M1}. |
(28) |
5.4.2. Допускаемое избыточное давление в рубашке вычисляют по формуле
|
(29) |
5.4.3. Высоту кольца вычисляют по формуле
|
(30) |
|
|
h0 ³ h0р + c. |
(31) |
При наличии в формуле (30) отрицательного значения под знаком радикала соответствующий член при определении максимума не учитывают. Если в обоих членах значения под знаком радикала отрицательны, то толщину кольца определяют по 4.2.4.
5.4.4. Расчет сварных швов
Размер сварного шва между сосудом и кольцом при сопряжениях (см. рисунок А.2а, б, г, приложение А) вычисляют по формуле
|
|
(32) |
5.5. Нагрузка от собственной массы
Собственные массы G1 и G2 вызывают в конусе или в кольце осевое усилие
![]()
Проверку несущей способности от совместного действия осевого усилия и избыточного давления в рубашке следует проводить по формуле
|
|
(33) |
где [p2] - допускаемое избыточное давление по формуле (13) для сопряжения с помощью конуса и по формуле (29) для сопряжения с помощью кольца.
5.6. Проверка на малоцикловую прочность
Размах напряжений приближенно вычисляют по формуле
|
|
(34) |
где ![]()
[p2] - допускаемое избыточное давление по формуле (13) для сопряжения с помощью конуса, по формуле (29) - для сопряжения с помощью кольца.
5.6.1. Разность температурных относительных удлинений вычисляют по формуле
|
eт = (a1DT1 - a2DT2). |
(35) |
За расчетное принимают наибольшее абсолютное значение eт, которое получается за время рабочего цикла.
5.6.2. Общий эффективный коэффициент концентрации gк определяют по таблице 1.
Таблица 1 - Эффективные коэффициенты концентрации
|
Тип сосуда |
Номер рисунка |
bк1 |
bк2 |
gк |
|
- |
- |
4,0 |
||
|
- |
- |
|||
|
- |
- |
|||
|
- |
- |
|||
|
- |
- |
3,5 |
||
|
- |
- |
3,5 |
||
|
- |
- |
3,0 |
||
|
- |
- |
5,5 |
||
|
Сосуды с цилиндрической рубашкой по рисунку А.6, приложение А |
2,0 |
1,6 |
2,5 |
|
|
2,5 |
||||
|
2,0 |
||||
|
2,0 |
||||
|
2,0 |
1,6 |
2,5 |
||
|
1,6 |
1,6 |
2,5 |
||
|
2,0 |
1,2 |
2,0 |
||
|
2,0 |
2,0 |
3,5 |
||
|
Сосуды с рубашкой, сопряженной анкерными трубами или отбортовкой по рисунку А.8, приложение А |
2,0 |
- |
- |
|
|
2,0 |
- |
- |
||
|
2,0 |
- |
- |
5.6.3. Проверку на малоцикловую прочность проводят из условий
|
|
(36) |
Допускаемый
размах напряжений
вычисляют по
формуле
|
|
(37) |
Допускаемую амплитуду напряжения определяют по ГОСТ Р 52857.6. Допускаемое число рабочих циклов [N]0 определяют для соответствующей амплитуды напряжений по ГОСТ Р 52857.6.
|
|
(38) |
6.1. Цилиндрические обечайки
Цилиндрические обечайки рассчитывают в соответствии с 5.1.1 - 5.1.3.
6.2. Сопряжение с помощью конуса (см. рисунок А.1, приложение А)
Конические сопряжения удовлетворяют требованиям прочности, если они выполнены с толщиной стенки, равной толщине стенки цилиндрической обечайки рубашки, и если они соответствуют требованиям 4.2.2 и условиям формулы
|
|
(39) |
6.3. Сопряжение с помощью кольца (см. рисунок А.2, приложение А)
6.3.1. Высоту кольца вычисляют по формулам:
|
|
(40) |
|
h0 ³ max{s2; h0р + c}. |
(41) |
6.3.2. Сварные швы
Размер сварного шва между сосудом и кольцом при сопряжениях, приведенных на рисунках А.2а, б, г, приложение А, вычисляют по формуле
|
|
(42) |
- для колец при сопряжении, приведенном на рисунке А.2в, приложение А,
|
a = h0. |
(43) |
6.4. Компенсаторы
Если по результатам расчета на малоцикловую прочность необходимо встроить в рубашку компенсатор (см. 6.6.3), то допускаемое избыточное давление [p2] в рубашке вычисляют для сопряжений с помощью конуса по формуле (13) и для сопряжений с помощью кольца по формуле (29). При этом коэффициент осевого усилия A вычисляют по формуле
|
|
(44) |
Компенсатор рассчитывают при нагружении давлением p2 и силой реакции
![]()
6.5. Нагрузка от собственной массы сосуда или рубашки
Проверку несущей способности при нагружении конических или кольцевых сопряжений собственной массой сосуда или рубашки проводят по формуле
|
(45) |
где [p2] - допускаемое избыточное давление по формуле (13) для сопряжения с помощью конуса и по формуле (29) для сопряжения с помощью кольца.
При наличии компенсатора на рубашке формула (45) применима при условии, если опорные элементы сосуда не расположены на рубашке.
6.6. Проверка на малоцикловую прочность
6.6.1. Сопряжение рубашки с корпусом сосуда с помощью конуса (см. рисунок А.1, приложение А)
Относительное продольное удлинение в рубашке вычисляют по формуле
|
|
(46) |
где eт определяют согласно 5.6.1;
|
|
(47) |
e вычисляют по формуле (6).
Относительное продольное удлинение рубашки должно удовлетворять условию
|
|
(48) |
Расчетный коэффициент прочности сварного шва
|
|
(49) |
где j1 - коэффициент снижения допускаемых напряжений при расчете на устойчивость по ГОСТ Р 52857.2, определенный для рубашки.
Размах напряжений в сварном шве между сосудом и конусом вычисляют по формуле
|
|
(50) |
где bк1, gк - см. таблицу 1;
|
|
(51) |
где
|
|
(52) |
Размах напряжений в сварном шве между рубашкой и конусом, приведенный на рисунке А.1а, б, приложение А, вычисляют по формулам:
|
|
(53) |
|
|
(54) |
Проверку на малоцикловую прочность проводят по формуле (55), а для конусов - по рисункам А.1а, б, приложение А, - дополнительно по формуле (56)
|
(55) |
|
|
(56) |
Допускаемые
размахи напряжений
и
или допускаемое
число рабочих циклов [N]1 и [N]2 определяют
согласно 2.6.3. Индекс 1 относится к сварному
шву между корпусом сосуда и сопряжением с помощью конуса, а индекс 2 к сварному
шву между рубашкой и сопряжением с помощью конуса.
6.6.2. Сопряжение рубашки с корпусом сосуда с помощью кольца (см. рисунок А.2, приложение А)
Относительное продольное удлинение в рубашке вычисляют по формуле
|
|
(57) |
где eт - см. 5.6.3.
Относительное продольное удлинение рубашки должно удовлетворять условию
|
|
(58) |
Расчетный коэффициент прочности сварного шва вычисляют по формуле
|
|
(59) |
где j1 - коэффициент снижения допускаемых напряжений при расчете на устойчивость по ГОСТ Р 52857.2, определенный для рубашки;
j2 - по таблице 2.
Таблица 2 - Погонный момент инерции и коэффициент прочности сварного шва
|
W1 |
W2 |
j2 |
|
|
|
|
jт2 |
|
|
|
|
jт2 |
|
|
|
|
jт2 |
|
|
|
|
0,5 |
Размах напряжений в сварном шве между сосудом и кольцом вычисляют по формуле
|
|
(60) |
Размах напряжений в сварном шве между рубашкой и кольцом вычисляют по формуле
|
|
(61) |
Проверку
на малоцикловую прочность проводят по формулам (55) и (56), при этом допускаемые
размахи напряжений
и
или допускаемое
число рабочих циклов [N]1 и [N]2
определяют согласно 5.6.3. Индекс 1 относится к сварному шву между
корпусом сосуда и кольцом, а индекс 2 к сварному шву между рубашкой и кольцом.
6.6.3. Если не удовлетворяются требования малоцикловой прочности по 6.6.1 или 6.6.2, необходимо произвести конструктивные изменения, например, предусмотреть компенсатор.
В этом случае он должен воспринимать температурное удлинение, равное Leт при рабочем числе циклов. Дальнейший расчет следует выполнять по 6.4.
6.6.4. Допускается определять уточненное значение размаха напряжений, а также допускаемую амплитуду или допускаемое число циклов в соответствии с ГОСТ Р 52857.6.
7.1. Цилиндрическая обечайка
7.1.1. Цилиндрическую обечайку сосуда рассчитывают по ГОСТ Р 52857.2 на внутреннее избыточное давление с расчетным давлением p1, если p1 > 0.
7.1.2. Если p1 < 0, то цилиндрическую обечайку сосуда рассчитывают по ГОСТ Р 52857.2 на наружное давление с расчетным давлением |р1|.
7.1.3. Части цилиндрической обечайки сосуда, охваченные рубашкой, и цилиндрические части рубашки при нагружении давлением p2 рассчитывают по 7.4.3, как плоские участки.
Если р1 < 0, следует дополнительно выполнять условие по формуле (62) и требование 7.3.1, чтобы исключить появление вмятин на цилиндрической обечайке сосуда
|
(62) |
7.2. Днища
7.2.1. Выпуклые днища рассчитывают по ГОСТ Р 52857.2 на внутреннее избыточное давление с расчетным давлением p1, если p1 > 0, и на наружное давление с расчетным давлением |p1|, если p1 < 0.
7.2.2. Части днища сосуда, охваченные рубашкой, и части рубашки в зоне днища при нагружении давлением p2 рассчитывают по 7.3, как плоские участки. При этом в формулы вместо толщины стенки цилиндрической обечайки s1 подставляют толщину днища сосуда s3 и вместо толщины стенки цилиндрической обечайки s2 толщину днища рубашки s4.
7.3. Плоские участки
7.3.1. Допускаемое избыточное давление в рубашке вычисляют по формуле
- для стенки сосуда:
|
|
(63) |
- для стенки рубашки:
|
|
(64) |
Коэффициенты прочности f5 и f6 определяют в зависимости от отношения d0/t0 и от относительного реактивного момента m, вычисленного по формулам (66),
|
(65) |
|
|
|
|
|
(66) |
|
|
|
|
7.3.2. Расчет размеров плоских участков
Шаг вычисляют по формулам:
|
|
(67) |
|
|
(68) |
|
(69) |
Для заданного отношения d0/t0 и m определяют коэффициенты прочности f5 и f6. Если задаться диаметром d0, то t1 и t2 можно получить методом итерации. При определении tр и tт по формулам (69) и (65) необходимо учитывать требование 4.3.2.
Толщину стенок вычисляют по формулам:
|
|
(70) |
|
s1 ³ s1р + c, |
(71) |
|
|
(72) |
|
s2 ³ s2р + c. |
(73) |
Для сосудов с рубашками на анкерных трубах значение s2 определяют методом последовательных приближений с учетом зависимости s2 от m.
7.3.3. Краевые зоны рубашек, сопряженных с корпусом анкерными трубами или отбортовками
Размеры сопряжений с помощью конуса определяют по 6.2 и размеры сопряжений с помощью кольца - по 6.3.
Расстояния от края рубашки до первого ряда анкерных труб или отбортовок должны удовлетворять условиям:
|
|
(74) |
|
|
(75) |
где f6 вычисляют по формуле (66).
7.4 Определение толщины отбортовок (см. рисунок А.4, приложение А)
Толщину отбортовок вычисляют по формуле
|
|
(76) |
|
где s2 = a ³ s2р + c, |
(77) |
|
(78) |
t0 вычисляют по формуле (65).
7.5. Определение толщины анкерных труб (см. рисунок А.4, приложение А)
Толщину анкерных труб вычисляют по формуле
|
|
(79) |
где η вычисляют по формуле (78).
|
(80) |
Размер сварного шва должен удовлетворять условию:
|
(81) |
Определяемые по формулам (80) и (81) размеры угловых швов и анкерных труб должны отвечать требованию 4.3.4.
7.6. Проверка на малоцикловую прочность
7.6.1. Размах напряжений в сварных швах вычисляют по формулам:
а) сопряжение отбортовкой
|
|
(82) |
б) сопряжение анкерными трубами
|
|
(83) |
- для рубашки на цилиндрической обечайке:
|
|
(84) |
|
|
(85) |
- для рубашки на выпуклом днище:
|
|
(86) |
|
|
(87) |
- для сопряжений анкерными трубами:

![]()
7.6.2. Размах напряжений в плоских участках вычисляют по формуле
|
|
(88) |
где ![]()

|
|
(89) |
7.6.3. Проверку на малоцикловую прочность проводят по формулам:
|
|
(90) |
|
|
(91) |
Допускаемые
размахи напряжений
или
или допускаемое
число рабочих циклов [N]3 и [N]4 определяют
согласно 5.6.3.
Индекс 3 относится к сварному шву между корпусом сосуда и сопряжением
отбортовкой или к сварному шву между рубашкой и анкерной трубой, индекс 4
относится к рубашке.
7.7. Допускается применение методики, указанной в разделе 7, для приближенного расчета сосудов, полностью охваченных рубашками.
8.1. Цилиндрическая обечайка
8.1.1. Цилиндрическую обечайку сосуда рассчитывают по ГОСТ Р 52857.2 на внутреннее избыточное давление с расчетным давлением p1, если p1 > 0.
8.1.2. Если р1 < 0, то цилиндрическую обечайку сосуда рассчитывают по ГОСТ Р 52857.2. на наружное давление с расчетным давлением |p1|.
8.1.3. В сосудах со змеевиковым каналом (рисунок А.9, приложение А) его можно рассматривать как кольцо жесткости и цилиндрическую обечайку рассчитывать, как укрепленную кольцами жесткости по ГОСТ Р 52857.2, при условии, что учитываются следующие особенности:
а) шаг змеевикового канала ts должен быть не более 0,3D1. Если n2 £ n3 + 1, то цилиндрическую обечайку рассчитывают, как гладкую обечайку;
б) расчетную длину l2 при расчете по ГОСТ Р 52857.2 определяют, как осевое расстояние от начала или конца расчетной длины (см. рисунок А.9а, приложение А) до места окончания первого витка змеевикового канала, охватывающего всю окружность рубашки;
в) расчетные значения b, l1 и le при расчете по ГОСТ Р 52857.2 вычисляют по формулам:
|
b = max{ts - b2; l2 - 0,5b2; b2}, |
(92) |
|
|
(93) |
|
|
(94) |
г) используемые в ГОСТ P 52857.2 величины e, Iк и Aк вычисляют по формулам:
|
|
(95) |
|
|
(96) |
|
|
(97) |
8.1.4. Цилиндрическую обечайку сосуда при нагружении давлением p2 в каналах вычисляют, как полосу обечайки шириной b2 по 8.3.
8.2. Днища
8.2.1. Выпуклые днища рассчитывают по ГОСТ Р 52857.2 на внутреннее избыточное давление с расчетным давлением p1, если p1 > 0, и на наружное давление с расчетным давлением p1, если p1 < 0.
8.2.2. Выпуклые днища при нагружении давлением p2 в каналах вычисляют, как полосу обечайки шириной b2 по 8.3.2.
8.3. Полоса обечайки под каналами
8.3.1. Каналы по окружности цилиндрической обечайки должны отвечать условию:
|
|
(98) |
Если p1 < 0, то должно дополнительно выполняться условие:
|
|
(99) |
Если p2 > p1 > 0, то должно дополнительно выполняться условие:
|
|
(100) |
8.3.2. Каналы вдоль оси цилиндрической обечайки и каналы на днище вычисляют по формуле
|
|
(101) |
8.4. Каналы
8.4.1. Вспомогательные параметры
Коэффициент понижения прочности V в зоне сопряжения штуцера с каналом рассчитывают по ГОСТ Р 52857.3. Если канал и штуцер выполнены из трубы одинаковых размеров и материала, то коэффициент V вычисляют по формуле
|
|
(102) |
Коэффициент прочности сварного шва:
- для V-образного шва (см. рисунок А.9а, б, приложение А):
|
jр5 = jр6 = jт2, |
(103) |
- для углового шва (см. рисунок А.9б, приложение А):
|
|
(104) |
|
jр6 = 0,4. |
(105) |
Коэффициенты понижения прочности каналов j3 и j4 вычисляют по формулам:
|
j3 = min{V; jр5}; |
(106) |
|
j4 = min{V; jр6}. |
(107) |
8.4.2. Допускаемое избыточное давление в канале вычисляют по формуле
|
|
(108) |
8.4.3. Толщину стенки канала вычисляют по формулам:
|
|
(109) |
|
s2 ³ s2р + c, |
(110) |
при этом размер сварного шва для угловых швов
|
a ³ 0,6s2р. |
(111) |
8.5. Распределительные каналы в сосудах с регистровыми каналами (см. рисунок А.9б, приложение А).
Расчет проводят в соответствии с 8.4, причем следует использовать величины V, j3, j4 по формулам:
|
|
(112) |
|
j3 = Vjр5, |
(113) |
|
j4 = Vjр6. |
(114) |
8.6. Проверка на усталостную прочность
8.6.1. Размах напряжений в сварных швах между сосудом и каналом вычисляют по формуле
|
|
(115) |
|
где |
(116) |
|
|
(117) |
|
|
(118) |
8.6.2. Размах напряжений в поперечном сечении канала вычисляют по формуле
|
|
(119) |
8.6.3. Проверку на малоцикловую прочность проводят из условий:
|
|
(120) |
|
|
(121) |
Допускаемые
размахи напряжений
и
или допускаемое
число рабочих циклов [N]5 и [N]6 определяют
согласно 5.6.3.
Индекс 5 относится к сварному шву между корпусом сосуда и каналом, а индекс 6 -
к каналам.
Рисунки, поясняющие текст стандарта и расчетные размеры
Рисунок А.1 - Сопряжение рубашки с корпусом сосуда с помощью конуса
Рисунок А.2 - Сопряжение рубашки с корпусом сосуда с помощью кольца
а - коническое б - кольцевое
Рисунок А.3 - Сопряжение рубашки с днищем
Рисунок А.4 - Сопряжение рубашки с корпусом сосуда отбортовкой
а - с сопряжением с помощью конуса; б - с сопряжением с помощью кольца
Рисунок А.5 - Сосуды с U-образной рубашкой
Рисунок А.6 - Направляющая спираль
а - с сопряжением с помощью конуса; б - с сопряжением с помощью кольца
Рисунок А.7 - Сосуды с цилиндрической рубашкой
а - с отбортовкой; б - с анкерными трубами
Рисунок А.8 - Сосуды с рубашками, сопряженными с корпусом сосуда анкерными трубами или отбортовкой
Рисунок А.9а - Сосуды со змеевиковыми каналами
Рисунок А.9б - Сосуды с регистровыми каналами
Рисунок А.10 - Сопряжение рубашки с корпусом сосуда анкерными трубами
а - полукруглое сечение с V-образным швом; б - полукруглое сечение с угловым швом;
в - сегментное сечение
Рисунок А.11 - Каналы
|
Ключевые слова: сосуды и аппараты с рубашками, нормы и методы расчета на прочность |