Information technology. Physical security techniques. Classification and methods of tests for resistance to fire. Data rooms and data containers

ФЕДЕРАЛЬНОЕ АГЕНТСТВО
ПО ТЕХНИЧЕСКОМУ РЕГУЛИРОВАНИЮ И МЕТРОЛОГИИ

НАЦИОНАЛЬНЫЙ
СТАНДАРТ
РОССИЙСКОЙ
ФЕДЕРАЦИИ

ГОСТ Р
52919-
2008

(ЕН 1047-2:1999)

Информационная технология

МЕТОДЫ И СРЕДСТВА
ФИЗИЧЕСКОЙ ЗАЩИТЫ.
КЛАССИФИКАЦИЯ И МЕТОДЫ
ИСПЫТАНИЙ НА ОГНЕСТОЙКОСТЬ

Комнаты и контейнеры данных

(EN 1047-2:1999,
Secure storage units - Classification and methods of test
for resistance to fire - Part 2: Data rooms and data containers, MOD)

Москва

Стандартинформ

2018

Предисловие

1 ПОДГОТОВЛЕН ООО «ГРУППА МОДУЛЬ» на основе собственного перевода на русский язык англоязычной версии стандарта, указанного в пункте 4

2 ВНЕСЕН Техническим комитетом по стандартизации ТК 22 «Информационные технологии»

3 УТВЕРЖДЕН И ВВЕДЕН В ДЕЙСТВИЕ Приказом Федерального агентства по техническому регулированию и метрологии от 14 мая 2008 г. № 99-ст

4 Настоящий стандарт является модифицированным по отношению к европейскому стандарту ЕН 1047-2:1999 «Средства защищенного хранения. Классификация и методы испытаний на сопротивляемость огню. Часть 2. Комнаты и контейнеры данных» (EN 1047-2:1999 «Secure storage units - Classification and methods of test for resistance to fire - Part 2: Data rooms and data containers», MOD).

При этом дополнительные положения, учитывая потребности национальной экономики, приведены в 6.6.2 и в приложениях А и В, которые выделены одиночной вертикальной линией, расположенной слева от текста.

Наименование настоящего стандарта изменено относительно наименования указанного европейского стандарта для приведения в соответствие с ГОСТ Р 1.5-2012 (пункт 3.5)

5 ВВЕДЕН ВПЕРВЫЕ

6 ПЕРЕИЗДАНИЕ. Октябрь 2018 г.

Правила применения настоящего стандарта установлены в статье 26 Федерального закона от 29 июня 2015 г. № 162-ФЗ «О стандартизации в Российской Федерации». Информация об изменениях к настоящему стандарту публикуется в ежегодном (по состоянию на 1 января текущего года) информационном указателе «Национальные стандарты», а официальный текст изменений и поправок - в ежемесячном информационном указателе «Национальные стандарты». В случае пересмотра (замены) или отмены настоящего стандарта соответствующее уведомление будет опубликовано в ближайшем выпуске ежемесячного информационного указателя «Национальные стандарты». Соответствующая информация, уведомление и тексты размещаются также в информационной системе общего пользования - на официальном сайте Федерального агентства по техническому регулированию и метрологии в сети Интернет (www.gost.ru)

Содержание

1 Область применения. 3

2 Нормативные ссылки. 3

3 Термины и определения. 4

4 Классификация, блокировки и вспомогательные средства. 4

4.1 Классификация. 4

4.2 Двери и блокировки. 5

4.3 Средства вентиляции и отверстия. 5

5 Сопроводительная документация, образцы материалов, физическая компоновка, испытуемые образцы и их соответствие. 5

5.1 Документация, сопровождающая испытуемые образцы.. 5

5.2 Образцы материалов. 5

5.3 Физическая компоновка. 5

5.4 Испытуемый образец комнаты данных типа А.. 6

5.5 Испытуемый образец комнаты данных типа В.. 7

5.6 Испытуемый образец контейнеров данных. 8

5.7 Соответствие испытуемого образца и документации. 8

6 Методы испытаний. 8

6.1 Основные положения. 8

6.2 Испытательная установка. 8

6.3 Подготовка образца к испытанию.. 9

6.4 Подготовка печи. 12

6.5 Создание условий для проведения испытаний. 13

6.6 Процедура испытания на огнестойкость. 14

6.7 Испытание на удар. 15

6.8 Представление результатов испытания. 15

6.9 Отчет об испытании. 15

7 Маркировка. 16

Приложение А (справочное)  Применение результатов испытаний. 16

Приложение В (справочное) Давление в печи и состав воздуха. 16

Библиография. 17

 

Введение

Настоящий стандарт устанавливает требования к огнестойкости комнат и контейнеров, предназначенных для сохранения оборудования и данных информационно-коммуникационных технологий (ИКТ), и включает в себя также метод проведения испытаний для определения способности комнат и контейнеров защищать свое содержимое, чувствительное к температуре и влажности, от воздействия огня за их пределами. Устанавливается метод измерения стойкости комнат и контейнеров к таким воздействиям.

Определяются также требования к сопроводительной документации на испытуемые образцы, к образцам материалов, физической компоновке и соответствию испытуемых образцов документации, подготовке их к испытаниям и процедурам испытаний.

Результаты испытаний используют для классификации комнат и контейнеров данных.

Ссылка на европейский стандарт ЕН 206 «Бетон. Эксплуатационные свойства, производство и соответствие» (EN 206 «Concrete - Performance, production and conformity»), содержащий требования к бетону марки С 20/25, заменена ссылкой на ГОСТ 24452-80 «Бетоны. Методы определения призменной прочности, модуля упругости и коэффициента Пуассона» с аналогичной отечественной маркой бетона В 35/40, выделенной в тексте курсивом.

ГОСТ Р 52919-2008 (EH 1047-2:1999)

НАЦИОНАЛЬНЫЙ СТАНДАРТ РОССИЙСКОЙ ФЕДЕРАЦИИ

Информационная технология

МЕТОДЫ И СРЕДСТВА ФИЗИЧЕСКОЙ ЗАЩИТЫ.
КЛАССИФИКАЦИЯ И МЕТОДЫ ИСПЫТАНИЙ НА ОГНЕСТОЙКОСТЬ

Комнаты и контейнеры данных

Information technology. Physical security techniques. Classification and methods
of tests for resistance to fire. Data rooms and data containers

Дата введения - 2009-01-01

1 Область применения

1.1 Настоящий стандарт распространяется на средства физической защиты от воздействия огня оборудования и данных информационно-коммуникационных технологий (ИКТ) и устанавливает основные требования к проведению испытаний на огнестойкость специальных комнат и контейнеров, разрабатываемых для сохранения оборудования и данных ИКТ при наличии огня вне комнат и контейнеров.

1.2 Положения настоящего стандарта предназначены для применения организациями, расположенными на территории Российской Федерации, в том числе коммерческими, общественными, научными и саморегулируемыми организациями, объединениями юридических лиц, организующими проведение сертификационных испытаний, использование покупных, создание новых или совершенствование существующих образцов средств физической защиты ИКТ.

2 Нормативные ссылки

В настоящем стандарте использована нормативная ссылка на следующий стандарт:

ГОСТ 24452 Бетоны. Методы определения призменной прочности, модуля упругости и коэффициента Пуассона

Примечание - При пользовании настоящим стандартом целесообразно проверить действие ссылочных стандартов в информационной системе общего пользования - на официальном сайте Федерального агентства по техническому регулированию и метрологии в сети Интернет или по ежегодному информационному указателю «Национальные стандарты», который опубликован по состоянию на 1 января текущего года, и по выпускам ежемесячного информационного указателя «Национальные стандарты» за текущий год. Если заменен ссылочный стандарт, на который дана недатированная ссылка, то рекомендуется использовать действующую версию этого стандарта с учетом всех внесенных в данную версию изменений. Если заменен ссылочный стандарт, на который дана датированная ссылка, то рекомендуется использовать версию этого стандарта с указанным выше годом утверждения (принятия). Если после утверждения настоящего стандарта в ссылочный стандарт, на который дана датированная ссылка, внесено изменение, затрагивающее положение, на которое дана ссылка, то это положение рекомендуется применять без учета данного изменения. Если ссылочный стандарт отменен без замены, то положение, в котором дана ссылка на него, рекомендуется применять в части, не затрагивающей эту ссылку.

3 Термины и определения

В настоящем стандарте применены следующие термины с соответствующими определениями:

3.1 испытуемый образец (test specimen): Комната данных типа А или В или контейнер данных, предназначенные для установки внутри зданий и спроектированные для физической защиты оборудования ИКТ, данных и других ценностей от воздействия огня.

3.2 комната данных типа A (data room type А): Комната, обеспечивающая огнестойкость, определенную в настоящем стандарте, при установке ее в пределах стен, удовлетворяющих требованиям к целостности, изолированности и способности выдерживать нагрузку при испытаниях на сопротивляемость огню в соответствии с установленными требованиями к окружающим ее строительным конструкциям.

Примечание - Комната данных типа А также известна как комната внутри комнаты.

3.3 внешняя секция (exterior cell): Строительная конструкция, предназначенная для проведения испытаний и имитирующая комнату, в которой устанавливается внутренняя секция.

3.4 внутренняя секция (internal cell): Независимая автономная конструкция, предназначенная для установки комнаты типа А внутри здания в условиях, удовлетворяющих требованиям к стенам, потолку и полу.

Примечание - Определения внешней и внутренней секций применимы только для комнат данных типа А.

3.5 комната данных типа В (data room type В): Комната, обеспечивающая огнестойкость, определенную в настоящем стандарте, в случае, когда пол, на который она устанавливается, отвечает требованиям целостности, изолированности и способности выдерживать нагрузку при испытаниях на огнестойкость.

3.6 контейнер данных (data container): Автономная переносная конструкция с площадью внутреннего основания не более 3 м2 и высотой не более 2,20 м, обладающая огнестойкостью, определенной в настоящем стандарте, когда она устанавливается в здании на полу, удовлетворяющему требованиям целостности, изолированности и способности выдерживать нагрузку при испытаниях на огнестойкость.

3.7 носитель данных (media): Материал, содержащий информацию, включая бумажные документы, магнитные ленты, фильмы, кассеты, оптические диски, аудио- и видеокассеты, за исключением тех, которые теряют информацию при температурах ниже 70 °С.

3.8 вспомогательные средства (accessories): Герметизирующие уплотнители, через которые проходят кабели или трубы, входящие в комнаты или контейнеры данных, и вентиляционные установки, которые могут применяться для этих комнат и контейнеров.

4 Классификация, блокировки и вспомогательные средства

4.1 Классификация

Комнаты и контейнеры данных должны обеспечивать защиту своего содержимого от воздействия огня и отвечать требованиям, указанным в таблице 1.

Таблица 1 - Требования по классам защиты

Класс защиты

Максимальная температура

Максимальная относительная влажность

R60D

50 °С

85 %

C60D

50 °С

85 %

Примечание - R - обозначает комнаты данных; С - контейнеры данных; 60 - время воздействия огня в минутах; D - вид носителей данных и системных устройств, которые подлежат защите и включают все виды носителей данных, за исключением тех, которые утрачивают данные при температуре ниже 70 °С.

Наряду с сопротивляемостью огню правильно установленные комнаты и контейнеры данных должны защищать свое содержимое от ударов, обусловленных разрушением элементов или предметов, находящихся снаружи этих комнат или контейнеров.

Примечание - Комнаты данных типа А не испытывают на сопротивляемость ударам, так как их устанавливают только внутри строительных сооружений, имеющих надлежащую степень огнестойкости.

4.2 Двери и блокировки

Двери комнат и контейнеров данных должны быть снабжены замками. При пожаре двери комнат должны автоматически закрываться.

4.3 Средства вентиляции и отверстия

Если комнаты и контейнеры данных снабжены средствами для вентиляции воздуха, то при пожаре они должны автоматически закрываться. Комнаты и контейнеры данных могут также иметь отверстия, через которые подводят кабели и трубы.

5 Сопроводительная документация, образцы материалов, физическая компоновка, испытуемые образцы и их соответствие

5.1 Документация, сопровождающая испытуемые образцы

К испытуемому образцу следует прилагать конструкторскую документацию (детализированные конструкторские чертежи), включающую:

a) основные сведения об испытуемом образце (комната данных типа А, комната данных типа В или контейнер данных);

b) данные о высоте, ширине и глубине испытуемого образца и его принадлежностей, толщине всех материалов, размерах соединений, используемых материалах, сварочных швах, крепежных деталях и клеящих средствах с указанием соответствующих методов их исполнения, герметизации и т. п., а также сведения о других технических особенностях;

c) подробные данные о других размерах комнат или контейнеров данных, на которые заказчик предполагает распространить результаты испытаний (см. приложение А);

d) инструкции по монтажу испытуемых образцов.

Примечание -Лабораторией, проводящей испытания, должна быть подтверждена подлинность трех комплектов конструкторской документации. Один комплект документации возвращают заказчику, второй используют в качестве контрольной документации в целях сертификации и выполнения гарантийных обязательств, а третий хранят в испытательной лаборатории.

5.2 Образцы материалов

Вместе с испытуемым образцом в лабораторию, проводящую испытания, должны быть представлены образцы применяемых в нем материалов.

Ко всем термозащитным материалам и герметичным уплотнителям, используемым в испытуемом образце, следует прилагать документацию в соответствии с 5.1.

5.3 Физическая компоновка

Комнаты и контейнеры данных должны быть укомплектованы кабелями (с учетом их числа и размеров), необходимыми для безопасного и полноценного функционирования размещаемого в них оборудования.

Средства вентиляции для забора свежего и выпуска отработанного воздуха следует встраивать в стену испытуемого образца в соответствии с требованиями настоящего стандарта. Однако классификация будет применима и в тех случаях, когда такие же вентиляционные устройства устанавливают в другие стены.

5.4 Испытуемый образец комнаты данных типа А

5.4.1 Внешняя секция должна быть смонтирована в печи и в ее пределах; в качестве внутренней секции должен быть установлен испытуемый образец комнаты данных типа А таким образом, как если бы он был комнатой данных, установленной в пределах здания или другой комнаты.

5.4.2 Стены, основание и потолок внешней секции должны проектироваться из отдельных заранее изготовленных и соединяемых между собой элементов из армированного бетона марки В 35/40 (ГОСТ 24452).

Примечание - Для соединения сборных армированных бетонных элементов могут использоваться болты; защиту этих болтов от воздействия огня следует обеспечивать специальными мерами.

Внешняя секция должна иметь следующие габаритные размеры:

- высоту - (2800 ± 100) мм,

- ширину - (3000 ± 100) мм,

- длину - (4000 ± 100) мм.

5.4.3 Панели стен внутренней секции должны быть изготовлены из одного материала, одинаковой толщины и конструкции. Пол и потолок должны иметь те же самые защитные материалы, что и панели стен, а их толщина должна быть не меньше толщины панелей стен.

Внутренняя секция должна иметь минимум два соединения между стенами (см. рисунок 1). Дополнительные соединения между стенами должны пройти испытания, если их необходимо применять в каких-либо конструкциях, требующих сертификации.

1 - внешняя секция (бетонные блоки заводского изготовления); 2 - внутренняя секция; 3 - соединения;
4 - внешняя сторона комнаты данных; 5 - облицовка

Рисунок 1 - Расположение комнаты данных при проведении испытаний
(горизонтальное сечение)

5.4.4 Если на испытуемый образец монтируют вспомогательные средства, то их необходимо устанавливать следующим образом:

- вентиляционные отверстия должны быть в стене напротив двери;

- подводка кабелей и труб должна проходить через стену с дверью;

- любые вспомогательные средства следует монтировать на высоте, превышающей 2/3 внутренней высоты испытуемого образца.

На рисунке 2 приведены конструкция и точки измерений в комнатах данных.

1 - вход кабеля; 2 - половина высоты двери; 3 - 2/3 внутренней высоты испытуемого образца; 4 - дверь

Рисунок 2 - Конструкция и точки измерений (18 - 25) в комнатах данных

5.5 Испытуемый образец комнаты данных типа В

5.5.1 Панели стен комнат данных типа В должны быть изготовлены из одного материала, иметь одинаковую толщину и конструкцию. Пол и потолок должны иметь те же самые защитные материалы, что и стены, а потолок должен иметь толщину не меньшую, чем панели стен.

Пол комнаты данных должен иметь толщину не менее половины толщины стен и те же самые средства защиты от проникания водных испарений, что стены и потолок. Испытуемый образец должен иметь следующие габаритные размеры:

- высоту - (2800 ± 100) мм,

- ширину - (3000 ±100) мм,

- длину - (4000 ± 100) мм.

5.5.2 Испытуемый образец должен иметь не менее двух соединений между стенами, потолком и полом (см. рисунок 1). Дополнительные соединения должны пройти испытания, если их необходимо применять в каких-либо конструкциях, требующих сертификации.

5.5.3 Если в испытуемый образец монтируют дополнительные вспомогательные средства, то их необходимо устанавливать следующим образом: стена, противоположная двери, должна иметь вентиляционные отверстия; подводка кабелей и труб должна осуществляться через стену с дверью (см. рисунок 2). Любые дополнительные вспомогательные средства должны устанавливаться на высоте более 2/3 внутренней высоты испытуемого образца.

5.5.4 Для испытания на удар комнаты типа В должна быть подготовлена дополнительная стеновая панель. Панель, подвергающаяся ударным воздействиям, должна быть изготовлена из того же материала, иметь ту же толщину и конструкцию, что и стены испытуемого образца. Высота и ширина образца, подвергающегося испытанию на удар, должны соответствовать максимальной высоте и ширине панели, указанных в перечислениях b) и c) 5.1, за исключением случаев, когда эти размеры больше требуемых; в таких случаях размеры панелей, подвергающихся испытаниям на удар, должны быть ограничены высотой и шириной 3,0´3,0 м.

5.6 Испытуемый образец контейнеров данных

5.6.1 Испытуемый образец контейнеров данных должен иметь независимую конструкцию и включать в себя все необходимые вспомогательные средства.

5.6.2 При испытании на ударное воздействие контейнеры данных должны быть оборудованы дополнительными стеновыми панелями. Панель при испытании на удар должна иметь ту же конструкцию, те же материалы и ту же толщину, что и стены испытуемого образца контейнера. Высота и ширина образца, испытываемого на удар, должны соответствовать максимальной высоте и ширине любой панели, указанных в перечислениях b) и c) 5.1, за исключением случаев, когда эти размеры больше требуемых; в таких случаях панель должна быть ограничена высотой и шириной 3,0´3,0 м.

5.7 Соответствие испытуемого образца и документации

Испытательная лаборатория должна проверить испытуемый образец, сопроводительную документацию и чертежи на соответствие проектным требованиям относительно размеров, типов материалов и конструкции. Все проведенные измерения должны быть зафиксированы на чертежах и отмечены любые отклонения от указанных в них размеров.

Должна быть сделана фотографическая регистрация деталей конструкции испытуемого образца, включая внешнюю и внутреннюю секции, кромки и уплотнения.

6 Методы испытаний

6.1 Основные положения

6.1.1 Огнестойкость испытуемых комнат данных типов А, В и контейнеров данных оценивают путем нагревания в специальной печи в соответствии со стандартными температурно-временными графиками нагревания и охлаждения. В процессе испытаний измеряют также температуру воздуха и относительную влажность внутри испытуемого образца.

6.1.2 Сопротивляемость механическим воздействиям комнат данных типа В и контейнеров данных должна быть оценена посредством испытания на удар во время испытания на огнестойкость.

6.2 Испытательная установка

6.2.1 Печь, способная обеспечивать условия равномерного нагревания и охлаждения, приведенные в настоящем стандарте, должна быть сконструирована таким образом, чтобы:

a) расстояние между внутренними стенками печи и вертикальными поверхностями испытуемого образца было не менее 750 мм;

b) для комнат данных типов А и В - три стены и потолок испытуемого образца могли подвергаться одинаковым условиям нагревания и охлаждения без прямого воздействия огня на испытуемый образец;

c) для контейнеров данных - четыре стены и потолок испытуемого образца могли подвергаться одинаковым условиям нагревания и охлаждения без прямого воздействия огня на испытуемый образец.

6.2.2 Установка для испытания на удар должна содержать оборудование, обеспечивающее маятниковое падение на испытуемый образец мешка со свинцовой дробью общей массой 200 кг с высоты 1,5 м для выполнения удара в 3000 Нм.

6.2.3 Контрольно-измерительные приборы в комплекте с проводкой для всех термопар и измерительных приборов должны быть защищены с целью предотвращения ложных показаний вследствие воздействия на них высокой температуры и влажности. Отверстия, через которые такие провода пропускают в испытуемый образец, следует герметизировать (см. рисунок 3).

1 - кабель контрольно-измерительных приборов; 2 - силикон; 3 - внутренняя сторона;
4 - внешняя сторона; 5 - минеральное волокно

Рисунок 3 - Герметизация отверстий для входа кабелей

6.2.4 Термопары, образованные проводами диаметром 0,5 мм из сплавов хром-никель/никель-алюминий или железо/константан, должны быть способны измерять температуру воздуха внутри испытуемого образца с точностью ± 1 %.

6.2.5 Хронометр должен вести отсчет времени непрерывно в течение всего периода испытаний.

6.2.6 Приборы для измерения влажности внутри испытуемого образца в диапазоне от 45 % до 85 % относительной влажности должны работать при температуре от 15 °С до 7 °С с точностью ± 3 %.

6.2.7 Оборудование для взвешивания испытуемых образцов должно иметь точность ± 1 %.

6.3 Подготовка образца к испытанию

6.3.1 Испытуемые образцы комнат и контейнеров данных должны быть размещены в печи в соответствии с инструкциями изготовителей так же, как для использования их в здании или каком-либо помещении здания.

6.3.2 При проведении испытаний комнат данных типов А и В термопары (см. 6.2.3) внутри испытуемого образца должны быть установлены в следующих точках:

a) четыре точки измерений в верхних углах, каждая на расстоянии (100 ± 10) мм от потолка и стен (см. рисунок 4, точки измерений 1, 3, 5 и 7);

b) четыре точки измерений в середине боковых стен, каждая на расстоянии (100 ± 10) мм от потолка и стен (см. рисунок 4, точки измерений 2, 4, 6 и 8);

c) четыре точки измерений на середине высоты испытуемого образца в углах, каждая на расстоянии (100 ± 10) мм от потолка и стен (см. рисунок 4, точки измерений 10, 12, 14 и 16);

d) одна точка для измерений в середине каждой поверхности на расстоянии (100 ± 10) мм от соответствующей поверхности (см. рисунок 4, точки измерений 9, 11, 13 и 17);

e) семь точек измерений, три на каждой стороне двери и одна по центру над дверью, каждая на расстоянии (100 ± 10) мм от дверного проема и стены (см. рисунок 2, точки измерений 18 - 24);

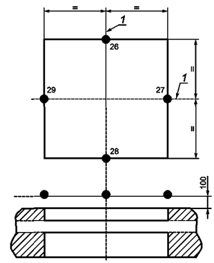
f) дополнительные точки измерений на расстоянии (100 ± 10) мм от отверстий для вентиляции, кабелей и труб, соединений теплоизолирующего материала и т. п. (см. рисунок 2, точка измерения 25 и рисунок 5, точки измерений 26 - 29), а также любые дополнительные точки измерений при наличии более одного отверстия.

1 - центр комнаты; 2 - высота; 3 - ширина; 4 - длина; 5 - центр испытуемого образца (комната данных)

Рисунок 4 - Точки измерений (1 - 17) в испытуемом образце

1 - центральные линии отверстий

Рисунок 5 - Точки измерений (26 - 29) для вентиляционных отверстий

6.3.3 Для испытания комнат данных типов А и В следует установить приборы измерения влажности в четырех точках в центре каждой четверти испытуемого образца.

6.3.4 Для испытания контейнеров данных следует модифицировать основание испытуемого образца так, чтобы через него могли свободно пройти кабели термопар и датчиков измерения влажности. Термопары необходимо устанавливать внутри испытуемого образца в следующих точках:

a) четыре точки измерений в верхних углах, каждая на расстоянии (100 ± 10) мм от стен, двери и потолка (см. рисунок 6, точки измерений 1, 2, 3 и 4);

b) четыре точки измерений на середине высоты испытуемого образца, каждая на расстоянии (100 ± 10) мм от углов (см. рисунок 6, точки измерений 5, 6, 7 и 8);

c) дополнительные точки измерений на расстоянии (100 ± 10) мм от отверстий для вентиляции, кабелей, труб, соединений теплоизоляционного материала и т. п. (см. рисунок 2, точка измерения 25 и рисунок 5, точки измерений с 26 по 29), а также дополнительные точки - при наличии более одного отверстия.

6.3.5 Для испытания контейнеров данных следует в двух точках установить приборы для измерения влажности: один - в центре верхней половины испытуемого образца, а второй - в центре нижней его половины (см. рисунок 6, точки измерений 9 и 10).

6.3.6 Измерительные приборы в комнатах и контейнерах данных должны быть установлены таким образом, чтобы:

a) термопары и датчики влажности поддерживались в определенных позициях (в соответствии с 6.3.2 - 6.3.5) креплениями, которые имеют настолько малую теплоемкость, что их присутствие не оказывает заметного влияния на повышение измеряемой температуры;

b) зазоры вокруг кабелей, проходящих через входные отверстия в основании или неподверженной воздействию стене, были герметизированы силиконом или аналогичным материалом (см. рисунок 3).

6.3.7 Испытуемые образцы, подвергающиеся испытаниям на удар, должны быть подготовлены с учетом 5.5.4 и 5.6.2.

6.3.8 Испытуемые образцы должны быть пустыми, за исключением приборов, требуемых в соответствии с 6.3.2 - 6.3.5.

- расположение термопар;  - расположение датчиков влажности

Рисунок 6 - Точки измерений (1 - 10) в испытуемых образцах контейнеров данных

6.4 Подготовка печи

6.4.1 Для испытания комнат данных необходимо установить приборы, измеряющие температуру (см. 6.2.4) в следующих позициях (см. рисунок 7):

а) две точки измерений на половине высоты каждой из трехметровых стен испытуемого образца на расстоянии (750 ± 20) мм от углов (точки измерений 1, 2, 6 и 7);

А - испытуемый образец; В - стена печи

Рисунок 7 - Точки измерений (1 - 9) в печи

b) три точки измерений вдоль четырехметровой стены на середине высоты испытуемого образца: одна - в центре, а две - на расстоянии (750 ± 10) мм от углов (точки измерений 3, 4 и 5);

c) две точки измерений над потолком испытуемого образца: на расстоянии (1500 ± 20) мм от четырехметровых стен и на расстоянии (1000 ± 20) мм от трехметровых стен (точки измерений 8 и 9).

Все точки измерений должны находиться на расстоянии (100 ± 10) мм от стен или потолка испытуемого образца.

6.4.2 При испытании контейнеров данных следует устанавливать приборы для измерения температуры в печи (см. 6.2.4) на расстоянии (100 ± 10) мм от испытуемого образца и в середине каждой из его вертикальных стен.

6.5 Создание условий для проведения испытаний

После установки измерительных приборов испытуемый образец и печь должны пройти не менее чем 12-часовой процесс создания условий для проведения испытаний. При этом необходимо:

a) в испытуемом образце закрыть двери и все вентиляционные заслонки;

b) до начала испытания внутри испытуемого образца поддерживать температуру (20 ± 5) °С и влажность от 40 % до 55 %;

c) до начала испытания в печи поддерживать температуру на уровне (20 ± 5) °С.

6.6 Процедура испытания на огнестойкость

6.6.1 Все комнаты и контейнеры данных должны быть объектом испытаний на огнестойкость.

Примечание - Во время испытания могут проводиться наблюдения за деформациями испытуемого образца или его составных частей. Изменения в зазорах между составными частями или ситуации возгорания следует регистрировать и, по возможности, фотографировать.

6.6.2 Испытания на огнестойкость проводят путем воздействия на испытуемый образец средней температуры в печи в течение 60 мин в соответствии с графиками нагревания и охлаждения печи, приведенными в таблицах 2 и 3. На протяжении всего испытания выходной сигнал каждой термопары следует регистрировать с интервалами не более одной минуты, а значения относительной влажности - с интервалами, не превышающими двух минут.

Давление в печи и состав воздуха должны соответствовать значениям, указанным в приложении В.

Таблица 2 - Стандартный график нагрева печи

Время нагрева, мин

Температура в печи, °С

0

20

5

576

10

678

15

738

20

781

30

842

45

902

60

945

Примечание - В данной таблице с целью более полного освещения процедуры испытания на огнестойкость представлена дополнительная информация из европейского стандарта ЕН 1363-1:1999 [1], ссылка на который приведена в ЕН 1047-2.

Через 60 мин нагрев прекращается, и температура в печи поддерживается в соответствии с режимом охлаждения, приведенным в таблице 3. Во время охлаждения температуру измеряют только в точках на середине высоты печи.

Таблица 3 - Стандартный график охлаждения печи

Время после прекращения нагрева, мин

Температура в печи, °С

0

945

15

440

30

295

45

180

60

125

90

95

120

70

180

60

240

45

360

40

480

35

720

30

960

25

Допустимые отклонения для измеренных термопарами температур в печи, приведенных в таблице 2, могут отличаться на ± 5 % для первого значения, на ± 10 % для всех значений свыше 100 °С и ± 10 °С для температур ниже 100 °С.

Измеряют и регистрируют значения температуры и относительной влажности в указанных точках измерений для комнат данных типов А и В (см. 6.3.2 и 6.3.3) и контейнеров (см. 6.3.4 и 6.3.5). Фиксируют время, когда температура внутри испытуемого образца перестала повышаться и стала падать, то есть прошла пиковое значение.

6.6.3 После испытания состояние испытуемого образца проверяют следующим образом:

a) демонтируют дверь, части стен и вентиляционные узлы (если они установлены), исследуют их конструкцию и измеряют толщину материалов;

b) сравнивают материалы стены, двери и вентиляционных узлов (если они установлены) с чертежами (см. 5.1) и образцами материалов (см. 5.2), прилагаемыми к испытуемому образцу;

c) фотографируют испытуемый образец;

d) проводят оценку легкости открывания испытуемого образца.

6.7 Испытание на удар

Испытание на удар (см. 5.5.4 и 5.6.2) следует проводить, пока испытуемый образец панели нагрет, как при испытании на огнестойкость (см. 6.6.2). На 46-й минуте нагревания должно быть произведено одно ударное воздействие по испытуемому образцу с точкой удара, расположенной как можно ближе к центру испытуемой панели. После удара график нагревания следует выдерживать до истечения 60 мин, как указано в 6.6.2.

6.8 Представление результатов испытания

6.8.1 Во время испытания внутри всех испытуемых образцов необходимо фиксировать:

a) максимальное повышение температуры;

b) максимальную относительную влажность.

6.8.2 Для комнат данных типа В и контейнеров данных следует описать повреждения и деформации, вызванные испытанием на удар.

6.8.3 Для всех испытуемых образцов необходимо зафиксировать, были ли удовлетворены требования по классу защиты (см. таблицу 1).

6.9 Отчет об испытании

Отчет об испытании должен содержать следующую информацию:

a) ссылку на настоящий стандарт;

b) реквизиты изготовителя, место и год производства, серийный номер и наименование испытуемого образца;

c) описание испытуемого образца в соответствии с чертежами, конструкционные материалы и размеры;

d) наименование испытательной лаборатории;

e) идентификационный номер отчета об испытании;

f) перечень проверенных чертежей с указанием всех замеченных отклонений (см. 5.7);

g) дату и место проведения испытания;

h) подробности измерения влажности и температуры, зафиксированные во время подготовки (см. 6.5), испытания на огнестойкость (см. 6.6) и испытания на ударное воздействие (см. 6.7);

i) описание повреждений или деформаций, возникших вследствие испытания на удар (если оно проводилось);

j) любые заслуживающие внимания наблюдения, сделанные до, во время и после испытания;

k) описание испытуемого образца после испытания;

l) фотографии, сделанные до, во время и после испытания;

m) заключение о соответствии или несоответствии требованиям класса защиты R 60D или С 60D.

7 Маркировка

Комнаты и контейнеры данных, соответствующие настоящему стандарту, должны иметь разборчивую и несмываемую маркировку со следующей информацией:

a) идентификацией изготовителя;

b) номером и датой принятия настоящего стандарта;

c) классом защиты (R 60D для комнат данных типов А и В или С 60D для контейнеров данных);

d) годом производства.

Дополнительно может быть представлена следующая информация:

е) тип, номер модели, ее описание;

f) серийный номер.

Приложение А
(справочное)
Применение результатов испытаний

А.1 Комнаты и контейнеры данных, имеющие одну и ту же конструкцию, защиту и конструктивные характеристики (типы и толщины конструкционных и защитных материалов, фальцевых (шпунтовых) соединений, запирающихся дверей и т. п.), будут относиться к тем же классам по огнестойкости, что и испытуемый образец, если их максимальные отличия в размерах по сравнению с испытуемым образцом не превышают допустимых отклонений, указанных в таблице А.1.

Таблица А.1 - Допустимые отклонения в размерах комнат и контейнеров данных

Тип размера

Допустимые отклонения от размера испытуемого образца

минимальное

максимальное

Контейнеры данных:

внутренние ширина, глубина, высота

-15 %

+50 %

Высота и ширина дверного проема

-15 %

+15 %

Толщина стен и потолков

0 % (нет)

Нет ограничений

Приложение В
(справочное)

Давление в печи и состав воздуха

B.1 Распределение давления по высоте печи образуется за счет естественного перемешивания газов; в целях контроля давления допустимо, чтобы его градиент составлял примерно 8,5 Па на метр высоты печи.

Система, измеряющая давление, не должна реагировать на быстрые его изменения, связанные, например, с турбулентностью. Давление следует измерять на одинаковой высоте как вне, так и внутри печи.

Давление в печи следует непрерывно наблюдать и контролировать так, чтобы за 5 мин от начала испытания оно составляло ± 5 Па, а через 10 мин и далее ± 3 Па от давления, установленного для конкретного испытуемого элемента.

B.2 Печь должна работать так, чтобы плоскость нейтрального давления (условный нуль давления) располагалась на расстоянии 500 мм над уровнем пола. Независимо от этого давление на верху испытуемого образца не должно превышать 20 Па, и это требование должно выполняться путем настройки высоты нейтрали.

B.3 Должно быть установлено отношение топливо/воздух в горелках и подвод любого вторичного воздуха таким образом, чтобы обеспечить минимальное содержание кислорода в атмосфере печи 4 % при испытании образцов, не содержащих горючих материалов. Отношение топливо/воздух в горелках, включая любую установку для подвода вторичного воздуха, не должно изменяться после последней проверки работы печи.

Библиография

[1]

EN 1363-1:1999

Fire resistance tests - Part 1: General requirements

 

(EH 1363-1:1999)

(Испытания на огнестойкость. Часть 1. Общие требования)

 

Ключевые слова: методы и средства физической защиты, комнаты и контейнеры данных, испытуемый образец, испытательная установка, процедура испытания на огнестойкость