United russian insurance fund of documentation. Insuranse copies of cinemadocumentation and photodocumentation. General specifications

ФЕДЕРАЛЬНОЕ АГЕНТСТВО
ПО ТЕХНИЧЕСКОМУ РЕГУЛИРОВАНИЮ И МЕТРОЛОГИИ

НАЦИОНАЛЬНЫЙ
СТАНДАРТ
РОССИЙСКОЙ
ФЕДЕРАЦИИ

ГОСТ Р
33.1.02-2008

Единый российский страховой фонд
документации

СТРАХОВЫЕ КОПИИ
КИНОДОКУМЕНТОВ И ФОТОДОКУМЕНТОВ

Общие технические условия

Москва

Стандартинформ

2009

Предисловие

Цели и принципы стандартизации в Российской Федерации установлены Федеральным законом от 27 декабря 2002 г. № 184-ФЗ «О техническом регулировании», а правила применения национальных стандартов Российской Федерации - ГОСТ Р 1.0-2004 «Стандартизация в Российской Федерации. Основные положения»

Сведения о стандарте

1 РАЗРАБОТАН Государственным учреждением «Российский государственный архив научно-технической документации» («РГАНТД») совместно с ФГУП «НИИР» при участии рабочей группы специалистов отраслей экономики (сфер деятельности)

2 ВНЕСЕН Техническим комитетом по стандартизации ТК 255 «Страховой фонд документации»

3 УТВЕРЖДЕН И ВВЕДЕН В ДЕЙСТВИЕ Приказом Федерального агентства по техническому регулированию и метрологии от 15 декабря 2008 г. № 408-ст

4 ВВЕДЕН ВПЕРВЫЕ

Информация об изменениях к настоящему стандарту публикуется в ежегодно издаваемом информационном указателе «Национальные стандарты», а текст изменений и поправок - в ежемесячно издаваемых информационных указателях «Национальные стандарты». В случае пересмотра (замены) или отмены настоящего стандарта соответствующее уведомление будет опубликовано в ежемесячно издаваемом информационном указателе «Национальные стандарты». Соответствующая информация, уведомление и тексты размещаются также в информационной системе общего пользования - на официальном сайте Федерального агентства по техническому регулированию и метрологии в сети Интернет

СОДЕРЖАНИЕ

1 Область применения. 2

2 Нормативные ссылки. 2

3 Термины, определения и сокращения. 3

3.1 Термины и определения. 3

3.2 Обозначения и сокращения. 4

4 Общие положения. 5

5 Классификация, основные параметры и размеры.. 5

6 Технические требования. 6

6.1 Общие требования. 6

6.2 Конструктивные требования к построению и оформлению страховых копий. 7

6.3 Требования надежности. 7

6.4 Требования к технологии изготовления страховой копии. 8

6.5 Требования к материалам.. 8

7 Контроль страховых копий при изготовлении. 8

8 Упаковка, маркировка, транспортирование. 10

9 Требования безопасности. 11

Приложение А (обязательное) Схема технологического процесса изготовления страховых копий кинодокументов. 11

Приложение Б (обязательное) Схема технологического процесса изготовления страховых копий фотодокументов. 13

Библиография. 15

ГОСТ Р 33.1.02-2008

НАЦИОНАЛЬНЫЙ СТАНДАРТ РОССИЙСКОЙ ФЕДЕРАЦИИ

Единый российский страховой фонд документации

СТРАХОВЫЕ КОПИИ КИНОДОКУМЕНТОВ И ФОТОДОКУМЕНТОВ

Общие технические условия

United Russian insurance fund of documentation.
Insurance copies of cine
madocumentation and photodocumentation. General specifications

Дата введения - 2010-01-01

1 Область применения

Настоящий стандарт устанавливает общие технические условия к страховым копиям уникальных и особо ценных кинодокументов и фотодокументов, являющихся национальным научным, культурным и историческим наследием, которые изготовляют в соответствии с требованиями ГОСТ Р 33.505, [1] и [2].

Настоящий стандарт должны применять все расположенные на территории Российской Федерации субъекты хозяйственной деятельности независимо от их организационно-правовой и ведомственной принадлежности, а также федеральные и территориальные органы исполнительной власти Российской Федерации, участвующие в установленном порядке в проведении работ по созданию федерального и территориального страховых фондов документации.

Стандарт распространяется на страховые копии кинодокументов и фотодокументов, созданные с применением аналоговых технологий.

2 Нормативные ссылки

В настоящем стандарте использованы нормативные ссылки на следующие стандарты:

ГОСТ Р 33.3.02-2008 Единый российский страховой фонд документации. Страховые копии документации, являющейся национальным научным, культурным и историческим наследием. Общие требования к условиям хранения

ГОСТ Р 33.505-2003 Единый российский страховой фонд документации. Порядок создания страхового фонда документации, являющейся национальным научным, культурным и историческим наследием

ГОСТ Р 51141-98 Делопроизводство и архивное дело. Термины и определения

ГОСТ Р 51232-98 Вода питьевая. Общие требования к организации и методам контроля качества

ГОСТ Р 52407-2005 Вода питьевая. Методы определения жесткости

ГОСТ 7.65-92 Система стандартов по информации, библиотечному и издательскому делу. Кинодокументы, фотодокументы и документы на микроформах. Общие требования к архивному хранению

ГОСТ 7.69-95 (ИСО 5127-11-87) Система стандартов по информации, библиотечному и издательскому делу. Аудиовизуальные документы. Основные термины и определения

ГОСТ 12.0.004-90 Система стандартов безопасности труда. Организация обучения безопасности труда. Общие положения

ГОСТ 12.1.007-76 Система стандартов безопасности труда. Вредные вещества. Классификация и общие требования безопасности

ГОСТ 12.1.019-79 Система стандартов безопасности труда. Электробезопасность. Общие требования и номенклатура видов защиты

ГОСТ 13.0.002-84 Репрография. Термины и определения

ГОСТ 20.39.108-85 Комплексная система общих технических требований. Требования по эргономике, обитаемости и технической эстетике. Номенклатура и порядок выбора

ГОСТ 4097-78 Коробки для кинопленок, магнитных лент и фильмовых материалов. Технические условия

ГОСТ 4430-78 Контейнеры для кинопленок, фильмовых материалов и магнитных лент. Технические условия

ГОСТ 8449-79 Кинопленка. Требования безопасности и методы испытаний на безопасность

ГОСТ 8828-89 Бумага-основа и бумага двухслойная водонепроницаемая упаковочная. Технические условия

ГОСТ 8910-75 Приборы для измерения длины кинопленки. Расчетные шаги перфорации. Передаточные числа

ГОСТ 14192-96 Маркировка грузов

ГОСТ 18322-78 Система технического обслуживания и ремонта техники. Термины и определения

ГОСТ 18510-87 Бумага писчая. Технические условия

ГОСТ 25063.1-81 Материалы фотографические. Метод определения тиосульфата

ГОСТ 25063.3-81 Материалы фотографические. Метод определения влияния света на остаточные соединения серебра

ГОСТ 25706-83 Лупы. Типы, основные параметры. Общие технические требования

Примечание - При пользовании настоящим стандартом целесообразно проверить действие ссылочных стандартов в информационной системе общего пользования - на официальном сайте Федерального агентства по техническому регулированию и метрологии в сети Интернет или по ежегодно издаваемому информационному указателю «Национальные стандарты», который опубликован по состоянию на 1 января текущего года, и по соответствующим ежемесячно издаваемым информационным указателям, опубликованным в текущем году. Если ссылочный стандарт заменен (изменен), то при пользовании настоящим стандартом следует руководствоваться заменяющим (измененным) стандартом. Если ссылочный стандарт отменен без замены, то положение, в котором дана ссылка на него, применяется в части, не затрагивающей эту ссылку.

3 Термины, определения и сокращения

3.1 Термины и определения

В настоящем стандарте применены термины по ГОСТ 13.0.002, ГОСТ Р 33.505, ГОСТ 7.69 и ГОСТ Р 51141, ГОСТ 18322, а также следующие термины с соответствующими определениями.

3.1.1 единица хранения кинодокумента: Физически обособленный рулон кинопленки или магнитной ленты с записью изобразительной и/или звуковой информации [2].

3.1.2 единица хранения фотодокумента: Физически обособленный кадр [негатив, дубль/негатив, позитив, слайд (диапозитив), несколько кадров панорамной съемки, фотоотпечаток, рулон диафильма, фотоальбом] [2].

3.1.3 единица учета кинодокумента: Часть единицы хранения, одна или несколько единиц хранения с записью определенного фильма, журнала, спецвыпуска, сюжета [2].

3.1.4 единица учета фотодокумента: Одна или несколько единиц хранения с записью определенного диафильма [2].

3.1.5 контрольная копия: Позитивная копия документа (оригинала или копии на правах оригинала), полученная контактным способом или методом репродуцирования с последующей химико-фотографической обработкой для выявления соответствия технических характеристик копии установленным показателям.

3.1.6 негатив репродукции: Страховая копия оригинала фотодокумента (фотоотпечатка на правах оригинала), полученная методом репродуцирования и последующей химико-фотографической обработки.

3.1.7 химико-фотографическая обработка: Последовательные операции обработки светочувствительной фотографической пленки в специальных растворах, в результате которых образуется видимое почернение фотослоя.

3.1.8 оптическая плотность вуали: Оптическая плотность почернения, образовавшегося в экспонированном светочувствительном фотографическом материале, прошедшем все стадии химико-фотографической обработки.

3.2 Обозначения и сокращения

В настоящем стандарте приняты следующие обозначения и сокращения:

АФ РФ - Архивный фонд Российской Федерации;

ДН - дубль-негатив;

ДНН - документальное национальное наследие;

ДП - дубль-позитив;

ДР - тип пленки для получения ПП;

ед.уч. - единица учета;

ед.хр. - единица хранения;

КД - кинодокумент;

К - контратип;

КК - контрольная копия;

Н - негатив;

HP - негатив репродукции;

НЦ-основа - полимерная многокомпонентная пленка, изготовленная из нитроцеллюлозы;

ПЭТФ-основа - полимерная многокомпонентная пленка, изготовленная из полиэтилентерефталата;

П - позитив;

ПП - промежуточный позитив;

СФ - страховой фонд;

СФД - страховой фонд документации;

ТАЦ-основа - полимерная многокомпонентная пленка, изготовленная из триацетатцеллюлозы;

ТТР - типовой технологический регламент;

Ф - фонограмма;

ФД - фотодокумент;

ФО - фотоотпечаток;

ФП - фонд пользования;

ХЧ - химически чистый;

ХФО - химико-фотографическая обработка;

ЧДА - чистый для анализа.

4 Общие положения

4.1 Настоящий стандарт устанавливает классификацию, основные размеры, технические требования и методы контроля качества страховых копий уникальных и особо ценных КД и ФД АФ РФ, создаваемых с целью сохранения документной информации (на случай утраты, недоступности или повреждения оригиналов ДНН) и предназначенных для постоянного хранения.

4.2 Одновременно с изготовлением копий страхового фонда необходимо изготовлять комплект копий ФП особо ценных и уникальных КД и ФД [2].

4.3 Технология изготовления страховых копий КД и ФД должна соответствовать ТТР на каждый тип копии, утвержденному в установленном порядке.

4.4 Очередность страхового копирования определяют с учетом физического состояния и интенсивности использования КД и ФД.

4.5 Страховые копии КД и ФД должны соответствовать оригиналам документов по содержащейся в них информации и содержать все элементы, зафиксированные в оригинале.

5 Классификация, основные параметры и размеры

5.1 Тип страховой копии, соответствующий требованиям ГОСТ Р 33.505, определяется видом оригинала.

5.2 Оригиналами черно-белых и цветных КД для изготовления страховых копий являются:

- Н изображения;

- НФ перезаписи и магнитная Ф перезаписи (для звуковых фильмов).

Для КД к оригиналам, в случае отсутствия последних в архиве, относят следующие копии на правах оригиналов:

- ПП изображения;

- К изображения;

- П изображения с фотографической Ф.

5.3 Оригиналами черно-белых и цветных ФД для изготовления страховых копий являются:

- Н на фотопленке;

- П на фотопленке (диапозитив);

- П на фотобумаге (по технологии «Полароид»);

- фотоальбом.

Для ФД к оригиналам, в случае отсутствия последних в архиве, относят следующие копии на правах оригиналов:

- ДН на фотопленке;

- ДП на фотопленке;

- ФО на фотобумаге.

5.4 Страховыми копиями КД должны быть:

- для оригинала, содержащего негативное изображение, - ПП;

- для оригинала, содержащего позитивное изображение, - К;

- для оригинала звукового фильма - совмещенные копии изображения и фонограммы ПП или К, соответствующие типу изображения в оригинале.

В таблице 1 приведены обобщенные данные по соответствию получаемых страховых копий виду оригинала КД.

Таблица 1

Вид оригинала КД

Тип страховой копии КД

Черно-белый и цветной Н изображения - для КД без звука

ПП изображения

Черно-белый и цветной Н изображения и НФ перезаписи или магнитная Ф перезаписи - для КД со звуком

1 ПП изображения с фотографической Ф

или

2 К изображения с фотографической Ф

П изображения с фотографической Ф

К изображения с фотографической Ф

5.5 Страховыми копиями ФД должны быть:

- для оригинала, изготовленного на фотопленке (просветного оригинала) и содержащего негативное изображение, - ПП;

- для оригинала, изготовленного на фотопленке (просветного оригинала) и содержащего позитивное изображение, - ДН;

- для оригинала или копии на правах оригинала, изготовленных на фотобумаге (отражательного оригинала) и содержащих позитивное изображение, - HP.

В таблице 2 приведены обобщенные данные по соответствию технологических схем и получаемых страховых копий виду оригинала ФД.

Таблица 2

Вид оригинала ФД

Метод копирования

Тип страховой копии ФД

Черно-белый Н

Контактная печать

ПП

Черно-белый диапозитив

Контактная печать

ДН

Черно-белый ФО

Репродукционная съемка

HP

Цветной Н

Контактная печать

ПП

Цветной диапозитив

Контактная печать

ДН

Цветной ФО

Репродукционная съемка

HP

Фотоальбом

Репродукционная съемка

HP

5.6 Комплект копий ФП, изготовляемый одновременно со страховыми копиями, включает в себя:

- для КД:

одну позитивную совмещенную копию,

один ПП изображения (совмещенная копия) и один КФ (для звуковых фильмов);

- для ФД:

один позитивный ФО и один ДН.

Примечание - Допускается дополнительное изготовление ФП КД и ФД с использованием цифровых технологий, а также магнитной видеозаписи.

5.7 Страховые копии КД и ФД должны соответствовать оригиналам по размерам:

- страховые копии КД - по длине и ширине светочувствительного материала, использованного для копирования оригинала;

- страховые копии ФД, изготовленные методом контактной печати (ПП, ДН), - по высоте и ширине воспроизведенного в копии изображения оригинала;

- страховые копии ФД, изготовленные методом репродуцирования, - по соотношению сторон воспроизведенного в копии изображения оригинала.

6 Технические требования

6.1 Общие требования

6.1.1 Страховые копии КД и ФД не должны иметь дефектов фотографического и механического происхождения, кроме пропечатанных с оригинала неустранимых дефектов.

Допускается на стыке отдельных смежных планов страховых копий КД выпадение по плотности в пределах одного кадра, не влияющее на зрительное восприятие изображения и обусловленное технологическими особенностями использованных копировальных систем.

6.1.2 Фотографическое изображение в страховых копиях должно быть резким, ровным по плотности и контрасту.

6.1.3 Оптическая плотность вуали в страховых копиях не должна превышать значения, установленного для типа пленки, которая использована для изготовления страховой копии.

6.1.4 Страховые копии звуковых КД должны содержать копию изображения и фотографическую Ф оригинала. Ф должна быть синхронизирована с изображением с точностью ± 0,5 кадра (по синхронным отметкам на стандартных ракордах).

6.1.5 Страховая копия ФД, изготовленная с оригинала ФО, при наличии пометок или палеографических особенностей на обратной стороне оригинала должна содержать изображение обеих сторон оригинала ФД.

6.1.6 Страховая копия ФД, изготовленная с оригинала-фотоальбома, должна содержать изображения обложки, страниц фотоальбома (для обеспечения при необходимости восстановления первоначального монтажа ФО) и копию каждого отдельного ФО.

6.2 Конструктивные требования к построению и оформлению страховых копий

6.2.1 Каждая часть страховой копии КД должна иметь начальный и конечный печатные стандартные ракорды, к которым подклеивают защитные концы из прозрачной пленки, без изображения и Ф, длиной не менее 5 м.

Таблица 3

Наименование показателя

Значение показателей контрольной шкалы

Предельное отклонение

Допустимое различие в ед.хр. копии, не более

Промежуточный позитив:

интервал плотностей ΔД(2-9)

ΔД(2-9) негатива ×1,4

±0,10

0,15

оптические плотности:

Д9

0,6

±0,10

0,10

Д2, Д6

Не нормируют

-

-

Контратип:

интервал плотностей ΔД(2-9)

ΔД(2-9) негатива

±0,10

0,10

оптические плотности:

Д2

0,6

±0,10

0,15

Д6, Д9

Не нормируют

-

-

Позитив:

-

коэффициент контрастности γкоп.

2,6

±0,20

-

оптическая плотность Д6

1,1

±0,15

-

6.2.2 Печатные стандартные части ракордов страховой копии КД должны соответствовать обратному изображению печатной части аналогичного ракорда оригинала. Начальные печатные части ракордов должны содержать отпечаток контрольной шкалы, по которому осуществляют контроль процессов печати и химико-фотографической обработки страховых копий. Рекомендуемые значения контролируемых параметров контрольных шкал приведены в таблице 3. Допускается отсутствие отпечатка контрольной шкалы в печатных частях ракордов страховых копий, изготовленных с оригиналов КД до 1972 года выпуска.

6.2.3 Первая часть страховой копии каждой ед.уч. КД между начальным печатным ракордом и защитным концом должна содержать впечатанную контрольную сенситограмму.

6.2.4 В каждой части страховой копии КД должна быть пропечатана с оригинала порядковая нумерация монтажных планов. Номера монтажных планов должны быть четкими и не должны затрагивать изображения и Ф.

6.3 Требования надежности

6.3.1 Содержание остаточных продуктов ХФО (тиосульфата натрия и солей серебра) в фотослое страховых копий должно быть:

- для копий КД - в соответствии с ГОСТ Р 33.505;

- для копий ФД - равно нулю.

6.3.2 В каждой ед.хр. страховой копии КД типа ПП допускается не более 6, а в страховой копии типа К не более пяти склеек, включая пленочные. Склейки у печатных ракордов и защитных концов не учитывают.

6.4 Требования к технологии изготовления страховой копии

6.4.1 Страховые копии КД и ФД изготавливают по ТТР для каждого вида документов, используя соответственно технологические схемы, приведенные в приложениях А и Б.

6.4.2 Страховые копии КД и ФД изготавливают на оборудовании, для поддержания работы которого в оптимальных режимах осуществляют регламентированный средний и капитальный ремонт в соответствии с ГОСТ 18322, а также ежедневный контроль характеристик в соответствии с инструкцией по эксплуатации оборудования каждого конкретного типа.

6.4.3 Страховые копии КД и ФД изготовляют с использованием растворов для ХФО, приготовленных из химических веществ квалификации ЧДА или ХЧ и воды по ГОСТ 2874, жесткость которой, определенная по ГОСТ Р 52407, не должна превышать 7 мг.экв./л в пересчете на ионы кальция.

6.5 Требования к материалам

6.5.1 Используемые для изготовления страховых копий светочувствительные материалы должны быть безопасными по ГОСТ 8449 и иметь ТАЦ-основу или ПЭТФ-основу. Сведения о безопасности основы использованных пленок должны быть внесены в акты технического состояния страховых копий в соответствии с ГОСТ Р 33.505.

6.5.2 Страховые копии КД и ФД изготовляют на черно-белых галогенидо-серебряных кинофотопленках соответствующего для каждого типа страховой копии ассортимента. Допускается при изготовлении страховых копий использование для цветных оригиналов КД и ФД цветных кинофотопленок с гидрофобными компонентами.

6.5.3 Кинопленка на ТАЦ-основе, используемая для изготовления страховых копий КД и ФД шириной 35 мм, должна быть перфорирована и иметь маркировку, нанесенную фотографическим способом при ее изготовлении, которая проявляется после химико-фотографической обработки пленки. Кинопленка на ТАЦ-основе отечественного производства обозначается буквой «Б» или словом «Безопасная», а импортного производства - буквой «S» или словом «Sufety». Для фотопленок на ПЭТФ-основе, не маркируемых по безопасности при изготовлении, вид основы определяют по ГОСТ Р 33.3.02.

6.5.4 Для копирования цветных оригиналов используют пленки с панхроматической или изопан-хроматической сенсибилизацией и равномерной чувствительностью ко всей видимой зоне спектра.

6.5.5 Страховые копии КД типа ПП изготовляют на ДП пленке, а типа К - на ДН пленке.

Позитивную копию ФП изготовляют на позитивной пленке.

6.5.6 При изготовлении страховых копий ФД пленки для копирования должны иметь фотографическую широту не менее интервала оптических плотностей оригинала.

7 Контроль страховых копий при изготовлении

7.1 Контролю подлежат 100 % копий, изготовляемых при страховом копировании. Порядок проведения контроля определяется ТТР на каждый тип изготовляемых копий.

7.2 В процессе изготовления страховых копий КД контролируют:

- страховые копии после изготовления - в условиях оптической проекции, на фильмоконтрольном столе в проходящем и отраженном свете, а также измерением параметров отпечатка контрольной шкалы на денситометре;

- оригиналы документов после копирования - на фильмоконтрольном столе в проходящем и отраженном свете.

7.2.1 При контроле в условиях оптической проекции проверяют:

- качество фотографического изображения и Ф;

- резкость поля изображения и поля Ф;

- устойчивость кадра изображения;

- наличие повреждений, пропечатанных с оригинала;

- наличие дефектов пленки, использованной для страхового копирования;

- наличие помех при смене планов и других дефектов, возникающих на страховой копии в процессе копирования и химико-фотографической обработки (засветок, следов электроразрядов).

7.2.2 При контроле на фильмоконтрольном столе в проходящем и отраженном свете проверяют:

- качество фотографического изображения (резкость поля изображения и Ф, отсутствие засветок, следов электроразрядов);

- техническое состояние поверхностей (наличие царапин, отпечатков пальцев, надколов и надсечек перфораций, локальных повреждений пленки, пятен);

- нумерацию планов;

- наличие стандартных и защитных ракордов;

- количество и качество склеек;

- размер шага перфорации (усадка) - линейкой УЛШ;

- длину страховой копии - прибором для измерения длины кинопленки по ГОСТ 8910;

- расположение фотографической Ф - прибором типа РИФ-3;

- наличие отпечатка контрольной шкалы в начальном ракорде;

- наличие в акте технического состояния копии данных о количественном содержании тиосульфата натрия и отсутствии солей серебра в фотослое.

7.2.3 Измерения оптических плотностей Ф (на позитивных копиях), отпечатка контрольной шкалы в начальном ракорде страховых копий КД осуществляют на откалиброванном денситометре с диапазоном измерений от 0 до 4,0 ед. оптической плотности и диаметром диафрагмы от 0,5 до 2,0 мм, погрешность измерения которого не должна превышать ±0,05 ед.

7.3 При контроле страховых копий ФД визуально при просмотре в отраженном и проходящем свете с использованием 7 - 10× лупы по ГОСТ 25706 проверяют:

- соответствие копии оригиналу по полноте содержащейся в ней информации;

- качество фотографического изображения (резкость, плотность изображения и вуали, контрастность, проработку деталей, отсутствие засветок и электроразрядов, полос, точек, наличие дефектов, пропечатанных с оригинала);

- техническое состояние поверхностей (отсутствие царапин, отпечатков пальцев, надколов и надсечек перфораций, локальных повреждений пленки, пятен);

- наличие данных о количественном содержании тиосульфата натрия и отсутствии солей серебра в фотослое.

7.3.1 Контроль качества негатива репродукции и ДН осуществляют по контрольному отпечатку, изготовленному сданной страховой копии.

7.3.2 Измерение плотности почернения в страховых копиях ФД осуществляют на откалиброванном денситометре с диапазоном измерений от 0 до 4,0 ед. оптической плотности и диаметром диафрагмы от 0,5 до 2,0 мм, погрешность измерения которого не должна превышать ±0,05 ед.

7.4 Содержание тиосульфата натрия после ХФО определяют по ГОСТ 25063.1, солей серебра - по ГОСТ 25063.3.

7.5 Полученные при контроле страховой копии данные по 7.2 - 7.4 вносят в акт технического состояния по форме в соответствии с ГОСТ Р 33.505.

8 Упаковка, маркировка, транспортирование

8.1 Упаковка страховых копий КД и ФД должна соответствовать требованиям ГОСТ 7.65. Перед упаковкой после изготовления и контроля качества страховые копии КД и ФД должны быть обеспылены. Страховые копии КД должны быть намотаны на сердечник плотно без выступающих витков пленки эмульсионным слоем наружу с конца на начало.

8.2 Маркировку формируют из названия архива-держателя оригинала, номера ед.уч. копии страхового фонда, архивного номера ед.уч. документа, с добавлением индекса «СФ». Шифровку страховых копий осуществляют фотографическим способом при копировании оригинала путем нанесения несмываемой тушью или процарапыванием иглой архивного шифра ед.уч. страховой копии.

8.3 Упаковку страховых копий КД маркируют путем нанесения на этикетку следующих данных:

- названия архива - держателя оригинала;

- архивного номера ед. учета КД с добавлением индекса «СФ»;

- вида КД (фильм, киножурнал, спецвыпуск, кинотелесюжет);

- названия КД;

- архивного номера ед. учета КД;

- номера ед.хр. (части) КД/ед.хр. СФ;

- цветности КД/цветности СФ;

- озвученности;

- количество ед.хр. (частей) в ед. учета КД;

- типа страховой копии (К, ПП, совмещенная);

- года выпуска КД, года изготовления СФ.

8.3.1 На упаковку и свободное от изображения поле (ближе к краю) страховой копии ФД наносят постоянный шифр учета страхового фонда, соответствующий учетному номеру страхового фонда, учетному номеру ФД с добавлением названия архива - держателя оригинала и индекса «СФ».

8.4 Наличие и содержание маркировки предприятия - изготовителя страховых копий КД и ФД согласуют с заказчиком при заключении конкретного договора.

8.5 При транспортировании страховых копий должна быть обеспечена сохранность транспортной тары. Транспортирование следует осуществлять при температуре наружного воздуха (15 ± 5) °С и относительной влажности воздуха (60 ± 5) %.

8.6 При транспортировании должна быть исключена возможность перемещения страховых копий внутри упаковочной тары, проникания внутрь упаковки влаги, пыли и солнечных лучей, а также образования конденсационной влаги.

8.7 Каждая ед.хр. страховой копии КД для транспортирования должна быть упакована в полиэтиленовый пакет и уложена в металлическую коробку по ГОСТ 4097. В случае неплотной укладки в коробку по внутреннему борту вкладывают полоски картона. Металлические коробки укладывают в металлические ящики по ГОСТ 4430 и опломбировывают.

8.8 Страховые копии ФД в первичной упаковке должны быть уложены вертикально в один ряд в закрывающиеся коробки жесткой конструкции, соответствующие размерам страховых копий. По стыку крышки и корпуса коробку заклеивают лейкопластырем или писчей бумагой по ГОСТ 18510. Коробки укладывают в деревянные или металлические ящики, выложенные внутри влагонепроницаемой бумагой по ГОСТ 8828 так, чтобы страховые копии находились в вертикальном положении.

8.9 Транспортная тара должна содержать основные и дополнительные надписи и предупредительные знаки по ГОСТ 14192: «Беречь от нагрева», «Беречь от влаги», «Верх».

9 Требования безопасности

9.1 Техническое обеспечение изготовления страховых копий КД и ФД при выполнении работ должно быть согласовано с эргономическими характеристиками и свойствами человека, установленными ГОСТ 20.39.108.

При изготовлении страховых копий должны быть обеспечены общие требования безопасности по ГОСТ 12.1.007.

9.2 К работе по изготовлению страховых копий допускаются лица, прошедшие соответствующий инструктаж и сдавшие технический минимум по технике безопасности в соответствии с ГОСТ 12.0.004.

9.3 Оборудование, используемое при изготовлении страховых копий, должно быть заземлено в соответствии с ГОСТ 12.1.019, содержаться в чистоте и быть свободным от посторонних предметов.

9.4 Работу с документами и страховыми копиями осуществляют в перчатках из неэлектризующихся и неворсистых материалов и в чистых хлопчатобумажных халатах. Брать документы и страховые копии необходимо только за края, не касаясь поля изображения и Ф.

9.5 Перемотку документов и страховых копий КД осуществляют равномерно, без рывков, не допуская образования выступающих витков. Нельзя допускать выравнивание выступающих витков ударами по торцу рулона.

9.6 Оригиналы КД и ФД на НЦ-основе или ТАЦ-основе с признаками разложения основы («гидролиза» или «уксусного синдрома») после завершения работы с ними должны быть убраны из рабочего помещения в помещение временного хранения или постоянное хранилище.

9.7 В процессе работы с документами на НЦ-основе запрещается:

- содержать на рабочем столе более одного рулона, подлежащего контролю;

- оставлять документы без присмотра на рабочем столе;

- пользоваться при перемотке КД электроприводом и перематывать со скоростью более 50 об/мин;

- размещать документы вблизи отопительных приборов;

- допускать воздействие на документы прямого солнечного света;

- бросать коробки с пленкой, ударять их друг о друга и другие предметы.

Приложение А
(обязательное)

Схема технологического процесса изготовления страховых копий кинодокументов

А.1 Технология изготовления страховых копий кинодокументов включает в себя последовательное выполнение операций, перечень, взаимосвязь и последовательность которых приведена на рисунках А.1, А.2.

Рисунок А1 - Технологический процесс изготовления СК кинодокументов в зависимости от вида оригинала

Рисунок А.2 - Технологический процесс изготовления СК кинодокументов на обращаемой пленке

А.2 Выбор схемы копирования зависит от вида оригинала.

Приложение Б
(обязательное)

Схема технологического процесса изготовления страховых копий фотодокументов

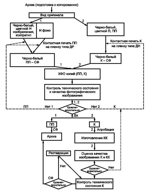
Б.1 Технология изготовления страховых копий фотодокументов включает в себя последовательное выполнение операций, перечень, взаимосвязь и последовательность которых приведена на рисунке Б.1.

Рисунок Б.1 - Технология изготовления страховых копий (СК) ФД

Б.2 Выбор схемы копирования зависит от вида оригинала и включает в себя выполнение следующих операций:

- выбор схемы копирования (1, 2, 3);

- подготовку копировального и съемочного оборудования;

- контактную печать на пленку соответствующего типа ПП-1, ДН-3;

- репродукционную съемку HP-2;

- составление обрабатывающих растворов;

- ХФО копий;

- контроль качества фотографического изображения и технического состояния поверхностей копий;

- апробацию качества HP (2) и ДН (3) печатью контрольного отпечатка (ФО);

- контроль качества фотографического изображения по ФО;

- контроль технического состояния HP (2) и ДН (3) после копирования ФО;

- сдачу оригинала, страховой копии и ФО заказчику.

Библиография

[1] Федеральный закон

от 22.10.2004 № 125-ФЗ

«Об архивном деле в Российской Федерации»

[2] Приказ Минкультуры РФ от 18.01.2007 № 19, регистрационный № 9059 от 06.03.2007 Минюста России

«Правила организации хранения, комплектования, учета и использования документов Архивного фонда Российской Федерации и других архивных документов в государственных и муниципальных архивах, музеях и библиотеках, организациях Российской академии наук»

[3] Правила по стандартизации ПР 50.2.006-94

Государственная система обеспечения единства измерений. Порядок проведения поверки средств измерений

 

Ключевые слова: страховые копии кинодокументов, страховые копии фотодокументов, технология изготовления, требования