Fire equipment. Fire valves. General technical requirements. Test methods

ФЕДЕРАЛЬНОЕ АГЕНТСТВО
ПО ТЕХНИЧЕСКОМУ РЕГУЛИРОВАНИЮ И МЕТРОЛОГИИ

НАЦИОНАЛЬНЫЙ
СТАНДАРТ
РОССИЙСКОЙ
ФЕДЕРАЦИИ

ГОСТ Р
53278-
2009

ТЕХНИКА ПОЖАРНАЯ.
КЛАПАНЫ ПОЖАРНЫЕ ЗАПОРНЫЕ.

Общие технические требования. Методы испытаний

Москва
Стандартинформ
2009

Предисловие

Цели и принципы стандартизации в Российской Федерации установлены Федеральным законом от 27 декабря 2002 г. № 184-ФЗ «О техническом регулировании», а правила применения национальных стандартов Российской Федерации - ГОСТ Р 1.0-2004 «Стандартизация в Российской Федерации. Основные положения».

Сведения о стандарте

1. РАЗРАБОТАН Федеральным государственным учреждением «Всероссийский ордена «Знак Почета» научно-исследовательский институт противопожарной обороны» (ФГУ ВНИИПО МЧС России)

2. ВНЕСЕН Техническим комитетом по стандартизации ТК 274 «Пожарная безопасность»

3. УТВЕРЖДЕН И ВВЕДЕН В ДЕЙСТВИЕ Приказом Федерального агентства по техническому регулированию и метрологии от 18 февраля 2009 г. № 50-ст

4. ВВЕДЕН ВПЕРВЫЕ

Информация об изменениях к настоящему стандарту будет публиковаться в ежегодно издаваемом информационном указателе «Национальные стандарты», а текст изменений и поправок - в ежемесячно издаваемых информационных указателях «Национальные стандарты». В случае пересмотра (замены) или отмены настоящего стандарта соответствующее уведомление будет опубликовано в ежемесячно издаваемом информационном указателе «Национальные стандарты». Соответствующая информация, уведомление и тексты размещаются также в информационной системе общего пользования - на официальном сайте Федерального агентства по техническому регулированию и метрологии в сети Интернет.

СОДЕРЖАНИЕ

1. Область применения. 2

2. Нормативные ссылки. 2

3. Термины и определения. 2

4. Технические требования. 3

5. Правила приемки. 4

6. Методы испытаний. 5

Приложение А (обязательное) Порядок введения стандарта в действие. 7

ГОСТ Р 53278-2009

НАЦИОНАЛЬНЫЙ СТАНДАРТ РОССИЙСКОЙ ФЕДЕРАЦИИ

ТЕХНИКА ПОЖАРНАЯ.

КЛАПАНЫ ПОЖАРНЫЕ ЗАПОРНЫЕ.

Общие технические требования. Методы испытаний

Fire equipment. Fire valves.

General technical requirements. Test methods

Дата введения - 2009-05-01

1. Область применения

Настоящий стандарт распространяется на клапаны пожарные запорные, которые применяются в пожарных кранах и устанавливаются в системе внутреннего противопожарного водопровода сооружений.

2. Нормативные ссылки

В настоящем стандарте использованы нормативные ссылки на следующие стандарты:

ГОСТ Р 15.201-2000 Система разработки и постановки продукции на производство. Продукция производственно-технического назначения. Порядок разработки и постановки продукции на производство

ГОСТ Р 52720-2007 Арматура трубопроводная промышленная. Термины и определения

ГОСТ Р 52760-2007 Арматура трубопроводная. Требования к маркировке и отличительной окраске

ГОСТ 12.2.047 ССБТ Пожарная техника. Термины и определения

ГОСТ 9.302-88 ЕСЗКС. Покрытия металлические и неметаллические, неорганические. Методы контроля

ГОСТ 9.303-84 ЕСЗКС. Покрытия металлические и неметаллические, неорганические. Общие требования к выбору

ГОСТ 15.309 Система разработки и постановки продукции на производство. Испытание и приемка выпускаемой продукции. Основные положения

ГОСТ 166-89 Штангенциркули. Технические условия

ГОСТ 1412-85 Чугун с пластинчатым графитом для отливок. Марки

ГОСТ 2822-78 Концы цапковые и штуцерные судовой арматуры и соединительных частей. Основные параметры, размеры и технические требования

ГОСТ 6357-81 Основные нормы взаимозаменяемости. Резьба трубная цилиндрическая

ГОСТ 6527-68 Концы муфтовые трубной цилиндрической резьбой. Размеры

ГОСТ 9544-2005 Арматура трубопроводная. Нормы герметичности затворов

ГОСТ 15150-69 Машины, приборы и другие технические изделия. Исполнения для различных климатических районов. Категории, условия эксплуатации, хранения и транспортирования в части воздействия климатических факторов внешней среды

ГОСТ 15527-70 Сплавы медно-цинковые (латуни), обрабатываемые давлением. Марки

ГОСТ 18922-73 Пробки резьбовые со вставками с полным профилем для трубной цилиндрической резьбы диаметром 1/16" до 4". Конструкция и основные размеры

ГОСТ 18929-73 Кольца резьбовые с полным профилем для трубной цилиндрической резьбы диаметром от 1/16" до 33/4". Конструкция и основные размеры

ГОСТ 21752-76 Система «человек-машина». Маховики управления и штурвалы. Общие эргономические требования

ГОСТ 25347-82 Основные нормы взаимозаменяемости. ЕСДП. Поля допусков и рекомендуемые посадки

ГОСТ 26349 Соединения трубопроводов и арматура. Давления номинальные (условные)

Примечание - При пользовании настоящим стандартом целесообразно проверить действие ссылочных стандартов в информационной системе общего пользования - на официальном сайте Федерального агентства по техническому регулированию и метрологии в сети Интернет или по ежегодно издаваемому информационному указателю «Национальные стандарты», который опубликован по состоянию на 1 января текущего года, и по соответствующим ежемесячно издаваемым информационным указателям, опубликованным в текущем году. Если ссылочный документ заменен (изменен), то при пользовании настоящим стандартом следует руководствоваться заменяющим (измененным) стандартом. Если ссылочный стандарт отменен без замены, то положение, в котором дана ссылка на него, применяется в части, не затрагивающей эту ссылку.

3. Термины и определения

В настоящем стандарте применены следующие термины с соответствующими определениями:

3.1 пожарный кран: Комплект, состоящий из клапана, установленного на пожарном трубопроводе и оборудованного пожарной соединительной головкой, а также пожарного рукава с ручным стволом.

[ГОСТ 12.2.047 пункт 48].

3.2 клапан пожарного крана: Запорный клапан, который входит в комплект пожарного крана и предназначен для открытия потока воды в пожарном кране.

3.3 запорный клапан: Запорная арматура, конструктивно выполненная в виде клапана.

[ГОСТ Р 52720 статья 5.28].

3.4 запорная арматура: Арматура, предназначенная для перекрытия потока рабочей среды с определенной герметичностью.

[ГОСТ Р 52720 статья 3.1].

3.5 условный проход (номинальный диаметр): Параметр, применяемый для трубопроводных систем в качестве характеристики присоединяемых частей, например соединений трубопроводов, фитингов и арматуры. Условный проход (номинальный диаметр) не имеет единицы измерения и приблизительно равен внутреннему диаметру присоединяемого трубопровода, выраженному в миллиметрах.

[ГОСТ 28338 пункт 1].

3.6 номинальное давление PN: Наибольшее избыточное рабочее давление при температуре рабочей среды 293 К (20 °C), при котором обеспечивается заданный срок службы (ресурс) корпусных деталей арматуры, имеющих определенные размеры, обоснованные расчетом на прочность при выбранных материалах и характеристиках прочности их при температуре 293 К (20 °C).

[ГОСТ Р 52720 статья 6.1].

3.7 пробное давление рпр; ph: Избыточное давление, при котором следует проводить гидравлическое испытание арматуры на прочность и плотность водой при температуре не менее 278 К (5 °C) и не более 343 К (70 °C), если в документации не указана другая температура.

[ГОСТ 52720-2007 статья 6.5].

4. Технические требования

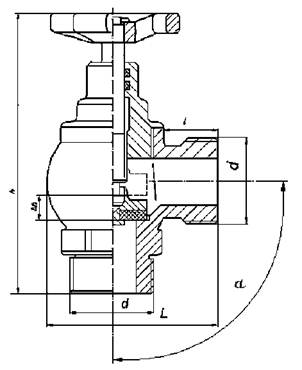
4.1. Основные параметры и размеры клапана должны соответствовать показателям, приведенным на рисунке 1 и в таблице 1.

Примечание - Рисунок не определяет конструкцию

Рисунок 1

Таблица 1

Наименование параметра

Значение параметра

1. Условный проход (номинальный диаметр DN)

40

50

65

2. Рабочее давление клапана (номинальное давление PN) по ГОСТ 26349, МПа, не менее

1,0

3. Коэффициент гидравлического сопротивления

8,5

7,5

6,5

4. Угол между присоединительными патрубками a, градусов

От 90 до 135 включ.

5. Присоединительная трубная цилиндрическая резьба d по ГОСТ 6357, класс В, дюймы

1,5

2

2,5

6. Размеры муфтовых концов

По ГОСТ 6527

7. Размеры цапковых концов с трубной цилиндрической резьбой

По ГОСТ 2822

8. l, мм, не менее

21

23

26

9. Высота клапана в закрытом положении h, мм, не более

190

10. Габаритный размер L, мм, не более

160

11. Ход клапана, Dh, мм, не менее

10

12,5

16,5

12. Количество оборотов до открытия клапана на величину Dh, не более

4

5

6

13. Направление подачи рабочей среды

Под клапан

14. Направление вращения маховика при открытии

Против часовой стрелки

15. Размер маховика, мм, не более

100

16. Цвет маховика

красный

17. Климатическое исполнение

УХЛ4 по ГОСТ 15150 температура окружающего воздуха при эксплуатации от плюс 1 до 35 °C

Допускаются другие климатические исполнения клапанов в соответствии с условиями их эксплуатации

18. Условия транспортирования и хранения

2 по ГОСТ 15150 температура окружающего воздуха при транспортировании и хранении от минус 50 до плюс 40 °C

4.2. Присоединительная трубная цилиндрическая резьба клапана должна быть полного профиля, без вмятин, забоин, подрезов и сорванных ниток.

Местные срывы и дробления ниток трубной цилиндрической и метрической резьбы должны занимать не более 10 % длины нарезки, при этом на одном витке не более 20 % его длины.

4.3. Поверхности литых деталей должны быть без трещин, посторонних включений и других дефектов, снижающих прочность и ухудшающих внешний вид. Острые кромки наружных поверхностей должны быть притуплены.

На поверхностях литых деталей клапана допускаются раковины, наибольший размер которых не должен превышать 2 мм, а глубина - не более 10 % от толщины стенок деталей.

4.4. Резьбовые части шпинделя должны быть смазаны синтетической смазкой.

4.5. Шпиндель и ходовая резьба клапана должны быть изготовлены из материалов, имеющих антикоррозионные свойства не ниже, чем у латуни по ГОСТ 15527.

4.6. Корпусные детали клапана должны быть изготовлены из материалов, имеющих антикоррозионные свойства не ниже, чем у чугуна марки СЧ 15-32 по ГОСТ 1412.

4.7. Стальные детали клапана должны иметь покрытия, соответствующие требованиям ГОСТ 9.303 для условий эксплуатации не ниже групп V по ГОСТ 15150.

4.8. Конструкция клапана должна обеспечивать легкость и плавность хода шпинделя.

4.9. Герметичность затвора клапана должна соответствовать классу «А» по ГОСТ 9544.

4.10. Конструкция клапана должна обеспечивать герметичность сальникового уплотнения, прочность и плотность литых корпусных деталей и их соединений при пробном гидравлическом давлении, превышающем на 50 % рабочее давление (номинальное давление) клапана.

4.11. Клапан должен выдерживать без разрушения и нарушения герметичности наработку на отказ 1500 циклов.

4.12. Назначенный срок службы клапана должен быть не менее 5 лет.

4.13. Комплектность

В комплект поставки клапана должны входить:

- клапан в сборе;

- паспорт.

4.14. Паспорт должен содержать следующие разделы:

- технические характеристики (условный проход, рабочее давление, масса, средний срок службы);

- сведения о сертификации;

- свидетельство о приемке;

- гарантии изготовителя;

- заметки по эксплуатации, транспортированию и хранению.

4.15. Маркировка

На клапане в месте, предусмотренном конструкторской документацией, должна быть нанесена маркировка, содержащая следующие данные:

- наименование предприятия-изготовителя или товарный знак;

- год выпуска;

- условный проход (номинальный диаметр);

- рабочее давление клапана (номинальное давление);

- стрелку-указатель направления потока среды.

Маркировка должна сохраняться в течение всего срока эксплуатации клапана.

Маркировка должна соответствовать ГОСТ Р 52760.

4.16. Упаковка

Упаковка должна обеспечивать сохранность комплекта клапана при транспортировании и хранении.

5. Правила приемки

5.1. Объем испытаний

5.1.1. Для проверки качества клапанов проводят следующие испытания:

- приемочные;

- квалификационные;

- приемосдаточные;

- периодические;

- типовые.

5.1.2. Правила приемки - в соответствии с ГОСТ 15.309.

5.1.3. Предварительные, приемочные и квалификационные испытания проводят в соответствии с ГОСТ Р 15.201.

5.1.4. Объем квалификационных, периодических и приемосдаточных испытаний приведен в таблице 2.

Таблица 2

Перечень испытаний

Пункт

Вид испытаний

Технические требования

Методы испытаний

Квалификационные

Периодические

Приемосдаточные

Основные параметры и размеры

п. 4.1

Размер присоединительной трубной цилиндрической резьбы

п. 5, таб. 1

6.3.4

+

+

+

Размеры муфтовых цапковых концов

пп. 6, 7, табл. 1

6.3.5

+

-

+

Ход клапана, Dh

п. 11, табл. 1

6.3.5

+

+

-

Цвет маховика

п. 16, табл. 1

6.14

+

-

+

Климатическое исполнение

п. 17, 18, таб. 1

6.3.7

+

+

-

Условия транспортирования и хранения

Качество резьбы клапана

4.2

6.4

+

-

+

Качество поверхностей литых деталей

4.3

6.5

+

-

+

Наличие смазки шпинделя

4.4

6.6

+

-

+

Антикоррозионные свойства материалов клапана

4.5, 4.6

6.7

+

-

-

Наличие покрытий металлических деталей клапана

4.7

6.8

+

-

+

Легкость и плавности хода шпинделя

4.8

6.9

+

-

+

Герметичность затвора клапана

4.9

6.10

+

+

-

Герметичность сальникового уплотнения клапана, прочность и плотность литых корпусных деталей и их соединений

4.10

6.11

+

-

+

Наработка на отказ

4.11

6.12

+

+

-

Проверка комплектности

4.13

6.14

+

-

+

Проверка маркировки

4.15

6.14

+

+

-

Проверка упаковки

4.16

6.14

+

-

+

5.1.5. При проведении приемочных испытаний клапаны проверяют на соответствие всем требованиям настоящего стандарта.

5.1.6. Периодические испытания

Периодические испытания проводят по показателям, приведенным в таблице 2, на клапанах, прошедших приемосдаточные испытания. Периодичность проведения испытаний по каждому показателю определяется в конструкторской документации в зависимости от способности технологического оборудования обеспечивать технические характеристики выпускаемой продукции.

5.1.7. Типовые испытания проводят при изменении конструкции клапана, технологии изготовления или замене сырья и покупных полуфабрикатов, изделий. Испытания проводят по программе и методике испытаний в соответствии с ГОСТ 15.309. Количество образцов клапанов для испытаний определяют в соответствии с программой и методикой типовых испытаний.

6. Методы испытаний

6.1. Условия проведения испытаний

6.1.1. Все испытания должны проводиться в нормальных климатических условиях по ГОСТ 15150.

6.1.2. Испытательное оборудование и средства измерений должны иметь соответствующие свидетельства государственной поверки.

6.1.3. Перед проведением испытаний образцы должны быть подвергнуты выдержке в нормальных климатических условиях в течение 24 ч.

6.1.4. При гидравлических испытаниях должно быть обеспечено вытеснение воздуха из внутренних полостей испытываемых клапанов. Температура испытательной среды - от 5 до 40 °C.

6.1.5. На испытания должно быть представлено не менее 5 образцов.

6.2. Проверка основных параметров и размеров (пункт 4.1)

6.2.1. Условный проход, значение рабочего давления (номинального давления клапана), направление подачи рабочей среды (пункты 1, 2, 13 таблица 1) определяют по маркировке и сличением с конструкторской документацией.

6.2.2. Коэффициент гидравлического сопротивления клапана ξ (пункт 3 таблица 1) определяют по формуле

                                                         (1)

где DP - потери напора на клапане, Па или Н/м2;

Q - расход воды, м3/с;

d - внутренний диаметр трубы, м;

ρ - плотность рабочей среды, кг/м3 (плотность воды 1000 кг/м3).

Рабочая среда при испытаниях - вода.

Клапан устанавливают в системе водопровода испытательного оборудования с насосом, обеспечивающим расход воды 0,004 - 0,005 м3/с. Перед клапаном и после него устанавливают манометры или дифференциальный манометр для определения потерь напора на клапане с диапазоном измерения от 1 до 1,6 МПа и классом точности 0,6. На конце водопроводной линии устанавливают ручной пожарный стол с насадками в соответствии с таблицей 2.

Для определения расхода воды устанавливают расходомеры или стволы-расходомеры. Расход воды допускается определять объемным способом, измеряя объем и время заполнения мерной емкости проходящей через клапан жидкости. Измерение времени проводят секундомером.

Включают насос и устанавливают расход воды в соответствии с таблицей 3 и определяют потери напора на клапане по манометрам. По формуле вычисляют коэффициент гидравлического сопротивления.

Таблица 3

Условный проход (номинальный диаметр) клапана

Расход воды, м3

Диаметр насадка ствола, мм

40

0,002

13

50

0,004

16

65

0,006

19

Коэффициент гидравлического сопротивления определяют на гидравлических расходных стендах по специальным методикам на конкретный клапан.

6.2.3. Угол между присоединительными патрубками α (пункт 4 таблица 1) проверяют визуально внешним осмотром и сличением с данными в конструкторской документации.

6.2.4. Размеры присоединительной трубной цилиндрической резьбы клапана (пункт 5 таблица 1) проверяют резьбовыми пробками по ГОСТ 18922 и резьбовыми кольцами по ГОСТ 18929.

6.2.5. Линейные размеры L, h, Dh, l, размеры муфтовых и цапковых концов, размер маховика (пункты 6 - 11, 15 таблица 1) проверяют с помощью штангенциркуля по ГОСТ 166. Погрешность измерения должна быть не более 0,1 мм.

6.2.6. Проверку количества оборотов маховика клапана и направления его вращения (пункты 12, 14 таблица 1) проводят при манипуляциях с маховиком клапана в процессе измерения Dh в 6.2.5.

6.2.7. Климатическое исполнение клапана проверяют на работоспособность клапана после воздействия климатических факторов в условиях эксплуатации, транспортирования, хранения (пункты 17, 18 таблица 1). Климатическое исполнение УХЛ4 проводят в такой последовательности:

- выдержка при температуре минус 50 °C в камере холода не менее 2 ч;

- выдержка в нормальных условиях не менее 6 ч;

- испытание на герметичность в соответствии с 6.9;

- выдержка при температуре плюс 40 °C в камере тепла не менее 2 ч;

- выдержка в нормальных условиях не менее 6 ч;

- испытание на герметичность в соответствии с 6.9.

Клапан считается выдержавшим испытание, если не была нарушена его герметичность.

Климатические исполнения клапанов, отличные от УХЛ4, проверяют по специальным программам и методикам испытаний.

6.3. Общую длину срывов и дробления ниток трубной цилиндрической резьбы клапана (пункт 4.2) проверяют штангенциркулем по ГОСТ 166, с погрешностью измерения не более 0,1 мм.

6.4. Качество поверхностей литых деталей (пункт 4.3) проверяют визуально внешним осмотром, размер раковин измеряют штангенциркулем по ГОСТ 166, с погрешностью измерения не более 0,1 мм.

6.5. Наличие смазки шпинделя (пункт 4.4) проверяют визуально внешним осмотром и сличением с конструкторской документацией.

6.6. Антикоррозионные свойства материалов, применяемых для изготовления деталей клапанов, согласно требованиям (пункты 4.5, 4.6) проверяют по конструкторской документации изготовителей.

6.7. Качество металлических и неметаллических покрытий стальных деталей клапанов (пункт 4.7) проверяют визуально внешним осмотром по ГОСТ 9.302.

6.8. Легкость и плавность хода шпинделя (пункт 4.8) проверяют трехкратным открыванием и закрыванием клапана. Должна обеспечиваться легкость хода шпинделя без заеданий.

6.9. Герметичность затвора клапана (пункт 4.9) проверяют по ГОСТ 9544. Клапан устанавливают в системе водопровода испытательного оборудования в положении «Закрыто». Испытание проводят водой. Воду подают в один из патрубков так, чтобы давление подавалось под клапан. При испытании должно соблюдаться условие пункта 6.1.4. Клапан закрывают с усилием, отвечающим требованиям ГОСТ 21752. Усилие закрывания клапана не должно превышать момента силы 125 кг · см. Воздействуют гидравлическим давлением по ГОСТ 9544. Давление устанавливают по манометру класса точности 1. Видимые протечки воды не допускаются. Крутящий момент измеряют при помощи динамометра или других средств измерения силы не более ± 5 кг · см.

6.10. Герметичность сальникового уплотнения, прочность и плотность литых корпусных деталей и их соединений проверяют при подсоединении клапана к магистрали испытательного оборудования в открытом положении при закрытом выходном патрубке. Испытания проводят водой. При испытании должно соблюдаться условие (пункта 6.1.4). Воздействуют пробным гидравлическим давлением, превышающим на 50 % рабочее давление (номинальное давление) клапана. Давление устанавливают по манометру класса точности 1. Видимые протечки воды через сальниковые уплотнения, а также появление ее в виде капель на наружных поверхностях литых деталей и в местах их соединений не допускаются.

6.11. Проверку наработки клапанов на отказ (пункт 4.12) проводят при следующих исходных данных:

- количество циклов - 1500;

- количество испытываемых клапанов - 3.

Циклом следует считать воздействие на клапан поднимающимся гидравлическим давлением от 0 до рабочего гидравлического давления (номинального давления), выдержку под этим давлением в течение (60 ± 10) с, снижение давления до нуля. Рабочая среда при испытаниях - вода. Повышение и снижение давления проводится открытием до крайнего положения и закрытием клапана.

Отказом следует считать нарушение герметичности или поломку одной из деталей клапана. Герметичность сальникового уплотнения соединений клапана проверяют в начале испытаний, а затем через каждые 500 циклов и по окончании испытаний. За период установленной наработки допускается подтягивание сальника.

6.12. Назначенный срок службы проверяют по эксплуатационной документации на клапан.

6.13. Цвет маховика (пункт 16 таблица 1), комплектность (пункт 4.13), содержание разделов паспорта (пункт 4.14), маркировку (пункт 4.15), упаковку (пункт 4.16) проверяют визуально внешним осмотром и сличением с конструкторской документацией. Маркировку (пункт 4.15) проверяют визуально внешним осмотром, сличением с ГОСТ Р 52760 и конструкторской документацией.

Приложение А

(обязательное)

Порядок введения стандарта в действие

Для клапанов с углом a больше 135° (проходные клапаны), разработанных до момента введения настоящего стандарта, испытания проводить по всем параметрам, заложенным в стандарте, кроме п. 4 таблицы 1 (угол между присоединительными патрубками α), в течение трех лет с момента введения настоящего стандарта.

Ключевые слова: техника пожарная, клапаны пожарных кранов, пожарное оборудование.