Fire equipment. Helmets for firefighters. General technical requirements. Test methods

ФЕДЕРАЛЬНОЕ АГЕНТСТВО
ПО ТЕХНИЧЕСКОМУ РЕГУЛИРОВАНИЮ И МЕТРОЛОГИИ

НАЦИОНАЛЬНЫЙ
СТАНДАРТ
РОССИЙСКОЙ
ФЕДЕРАЦИИ

ГОСТ Р
53269-
2009

Техника пожарная

КАСКИ ПОЖАРНЫЕ

Общие технические требования.

Методы испытаний

Москва
Стандартинформ
2009

Предисловие

Цели и принципы стандартизации в Российской Федерации установлены Федеральным законом от 27 декабря 2002 г. № 184-ФЗ «О техническом регулировании», а правила применения национальных стандартов Российской Федерации - ГОСТ Р 1.0-2004 «Стандартизация в Российской Федерации. Основные положения»

Сведения о стандарте

1. РАЗРАБОТАН ФГУ ВНИИПО МЧС России

2. ВНЕСЕН Техническим комитетом по стандартизации ТК 274 «Пожарная безопасность»

3. УТВЕРЖДЕН И ВВЕДЕН В ДЕЙСТВИЕ Приказом Федерального агентства по техническому регулированию и метрологии от 18 февраля 2009 г. № 40-ст

4. ВВЕДЕН ВПЕРВЫЕ

Информация об изменениях к настоящему стандарту публикуется в ежегодно издаваемом информационном указателе «Национальные стандарты», а текст изменений и поправок - в ежемесячно издаваемых информационных указателях «Национальные стандарты». В случае пересмотра (замены) или отмены настоящего стандарта соответствующее уведомление будет опубликовано в ежемесячно издаваемом информационном указателе «Национальные стандарты». Соответствующая информация, уведомление и тексты размещаются также в информационной системе общего пользования - на официальном сайте Федерального агентства по техническому регулированию и метрологии в сети Интернет

СОДЕРЖАНИЕ

1. Область применения. 2

2. Нормативные ссылки. 2

3. Термины и определения. 3

4. Общие технические требования. 4

5. Правила приемки. 6

6. Методы испытаний. 7

Приложение А (обязательное) Расчет энергии удара падающего груза - молота. 18

Приложение Б (обязательное) Методика испытаний по определению устойчивости каски пожарной к воздействию открытого пламени на стенде «Термоманекен». 19

НАЦИОНАЛЬНЫЙ СТАНДАРТ РОССИЙСКОЙ ФЕДЕРАЦИИ

Техника пожарная

КАСКИ ПОЖАРНЫЕ

Общие технические требования.

Методы испытаний

Fire equipment. Helmets for firefighters.

General technical requirements. Test methods

Дата введения - 2010-01-01

с правом досрочного применения

1. Область применения

Настоящий стандарт распространяется на выпускаемые, вновь разработанные и приобретенные за рубежом каски пожарные, предназначенные для оснащения пожарно-спасательных подразделений МЧС России, и может применяться при сертификационных испытаниях.

2. Нормативные ссылки

В настоящем стандарте использованы нормативные ссылки на следующие стандарты:

ГОСТ Р 1.0-2004 Стандартизация в Российской Федерации. Основные положения

ГОСТ Р 15.201-2000 Система разработки и постановки продукции на производство. Продукция производственно-технического назначения. Порядок разработки и постановки продукции на производство

ГОСТ Р 15.309-98 Система разработки и постановки продукции на производство. Испытания и приемка выпускаемой продукции. Основные положения

ГОСТ 2.601-2006 Единая система конструкторской документации. Эксплуатационные документы

ГОСТ 12.4.128-83* Каски защитные. Общие технические требования и методы испытаний

ГОСТ 166-89 (ИСО 3599-76) Штангенциркули. Технические условия

ГОСТ 427-75* Линейки измерительные металлические. Технические условия

ГОСТ 2184-77* Кислота серная техническая. Технические условия

ГОСТ 2263-79* Натрий едкий технический. Технические условия

ГОСТ 4204-77* Реактивы. Кислота серная. Технические условия

ГОСТ 4328-77 Реактивы. Натрия гидроокись. Технические условия

ГОСТ 4543-71* Сталь легированная конструкционная. Технические условия

ГОСТ 7502-98 Рулетки измерительные металлические. Технические условия

ГОСТ 15150-69* Машины, приборы и другие технические изделия. Исполнения для различных климатических районов. Категории, условия эксплуатации, хранения и транспортирования в части воздействия климатических факторов внешней среды

ИСО 6941-2003* Ткани. Характеристики горения. Определение способности к распространению пламени на вертикально ориентированных образцах

Примечание - При пользовании настоящим стандартом целесообразно проверить действие ссылочных стандартов в информационной системе общего пользования - на официальном сайте Федерального агентства по техническому регулированию и метрологии в сети Интернет или по ежегодно издаваемому информационному указателю «Национальные стандарты», который опубликован по состоянию на 1 января текущего года, и по соответствующим ежемесячно издаваемым информационным указателям, опубликованным в текущем году. Если ссылочный стандарт заменен (изменен), то при пользовании настоящим стандартом следует руководствоваться заменяющим (измененным) стандартом. Если ссылочный стандарт отменен без замены, то положение, в котором дана ссылка на него, применяется в части, не затрагивающей эту ссылку.

3. Термины и определения

В настоящем стандарте использованы следующие термины с соответствующими определениями:

3.1 каска пожарная (шлем пожарный): Каска, предназначенная для защиты головы, шеи и лица человека от механических и термических воздействий, агрессивных сред, поверхностно-активных веществ (ПАВ), воды при тушении пожаров и проведении аварийно-спасательных работ, а также от неблагоприятных климатических воздействий.

3.2 корпус каски: Внешняя прочная оболочка каски, определяющая ее общую форму.

3.3 внутренняя оснастка: Комплекс элементов, фиксирующих каску на голове и обеспечивающих совместно с корпусом каски распределение нагрузки и поглощение кинетической энергии удара, а также защиту от повышенных тепловых воздействий.

3.4 подбородочный ремень: Конструктивный элемент внутренней оснастки, предназначенный для обеспечения прочной фиксации и подгонки каски на голове и закрепляемый на подбородке.

3.5 лицевой щиток (забрало): Конструктивный элемент, предназначенный для защиты лица, органов зрения и дыхания от механических и термических воздействий, агрессивных сред, ПАВ, воды и неблагоприятных климатических воздействий.

3.6 пелерина: Конструктивный элемент каски, закрепленный в затылочной области, защищающий шею и затылок от теплового излучения, открытого пламени, падающих искр и воды.

3.7 боевая одежда пожарного: Комплект многослойной специальной защитной одежды пожарного общего назначения, состоящий из куртки, брюк (полукомбинезона), подшлемника, средств защиты рук и предназначенный для защиты пожарного от опасных и вредных факторов окружающей среды, возникающих при тушении пожаров и проведении аварийно-спасательных работ, а также от неблагоприятных климатических воздействий.

3.8 подшлемник пожарного: Подшлемник из термостойкого трикотажного полотна, используемый в комплекте с боевой одеждой пожарного и предназначенный для дополнительной защиты головы пожарного от тепловых и климатических воздействий.

3.9 горизонтальный кольцевой зазор: Минимальное горизонтальное расстояние между внутренней поверхностью корпуса каски или любым выступом внутренней поверхности корпуса и несущей лентой.

3.10 несущая лента: Часть внутренней оснастки, охватывающая голову и удерживающая каску от боковых смещений.

3.11 поворотно-фиксирующее устройство: Конструктивный элемент лицевого щитка, обеспечивающий возможность приведения щитка в рабочее положение и его фиксацию.

3.12 оплавление: Искажение поверхности материала в виде провалов, натеков, пузырей, образующихся в результате размягчения и последующего плавления материала под действием тепла.

3.13 расслаивание: Физическое ослабление или потеря связи между слоями материала, при котором происходит разделение сложного по структуре материала по плоскости слоев.

4. Общие технические требования

4.1. Требования к климатическому исполнению

Каски пожарные должны изготовлять в климатическом исполнении для значений температуры эксплуатации от минус 40 °C до 50 °C.

4.2. Требования к конструкции

4.2.1. В конструкцию каски пожарной должны входить:

а) корпус;

б) лицевой щиток;

в) внутренняя оснастка;

г) подбородочный ремень;

д) пелерина.

Конструктивное исполнение каски пожарной должно предусматривать возможность ношения подшлемника пожарного.

4.2.2. Масса каски пожарной (без дополнительного оборудования) должна быть не более 1800 г.

4.2.3. Конструкция внутренней оснастки должна обеспечивать регулировку по размеру головы в пределах от 54 до 62 размеров.

4.2.4. В нерабочем положении лицевой щиток должен убираться внутрь каски или помещаться снаружи ее корпуса, при этом он должен переводиться из одного фиксированного положения в другое одной рукой без снятия каски с головы (в случае расположения лицевого щитка снаружи корпуса каски он должен сниматься без применения каких-либо приспособлений).

4.2.5. Крепление лицевого щитка к каске должно обеспечивать надежную его фиксацию в рабочем и нерабочем положении. Усилие фиксирования лицевого щитка должно быть не менее 3 Н.

4.2.6. Подбородочный ремень должен регулироваться по длине, иметь ширину в пределах от 15 до 20 мм.

4.2.7. Ширина несущих лент внутренней оснастки должна быть не менее 15 мм (для касок, имеющих внутреннюю оснастку ленточной конструкции).

4.2.8. Горизонтальный кольцевой зазор должен быть не менее 5 мм (для касок, имеющих внутреннюю оснастку ленточной конструкции).

4.2.9. Края корпуса каски пожарной и лицевого щитка не должны иметь острых кромок и заусенцев.

Наружные элементы корпуса каски, изготовляемые из токопроводящего материала, не должны иметь контакта с кожей человека или должны быть защищены слоем электроизолирующего материала.

4.2.10. Для повышения безопасности работы личного состава в условиях плохой видимости и в темное время суток на корпус каски пожарной следует наносить сигнальные элементы или покрытия, изготовленные из флюоресцентного либо люминесцентного материала.

4.3. Требования стойкости к внешним воздействиям

4.3.1. Каска пожарная должна выдерживать вертикальный удар тупого предмета энергией (80 ± 3) Дж (механическая прочность).

4.3.2. При вертикальном ударе тупым предметом энергией (50 ± 2) Дж усилие (амортизация), переданное каской на муляж головы, не должно быть более 5 кН.

4.3.3. При вертикальном ударе острым предметом энергией (30 ± 1,2) Дж должно быть исключено его касание поверхности муляжа головы.

4.3.4. Лицевой щиток должен выдерживать одиночные удары груза энергией (1,20 ± 0,05) Дж с сохранением работоспособности поворотно-фиксирующего устройства.

4.3.5. Деформация каски при действии на нее статической нагрузки (465 ± 20) Н, направленной вдоль продольной или поперечной оси, не должна быть более 40 мм. Остаточная деформация не должна превышать 15 мм.

4.3.6. Подбородочный ремень должен выдерживать статическую нагрузку (500 ± 5) Н, при этом удлинение ремня не должно быть более 25 мм.

4.3.7. Каска должна сохранять защитные свойства (удовлетворять требованиям 4.3.2 и 4.3.3) при воздействии температуры окружающей среды (150 ± 5) °C в течение не менее 30 мин.

4.3.8. Продолжительность остаточного горения и тления каски при испытании на стенде «Термоманекен» не должна быть более 3 с после воздействия на него открытого пламени в течение 5 с.

4.3.9. Каска должна обладать устойчивостью к воздействию температуры окружающей среды (200 ± 5) °C в течение не менее 3 мин.

4.3.10. Каска должна обладать устойчивостью к воздействию теплового потока мощностью 5 кВт/м2 (40 кВт/м2) в течение не менее 4 мин (5 с), при этом температура на поверхности муляжа головы не должна быть более 50 °C.

4.3.11. При соприкосновении с токоведущими деталями корпус каски должен защищать от поражения электрическим током напряжением 400 В. Утечка тока через корпус при напряжении 1200 В не должна быть более 0,5 мА.

4.3.12. Корпус каски должен сохранять свои прочностные свойства (удовлетворять требованию 4.3.3) после воздействия на каску воды в течение не менее 4 ч.

4.3.13. Корпус каски должен сохранять свои прочностные свойства (удовлетворять требованию 4.3.3) после воздействия на него в течение не менее 4 ч следующих агрессивных сред:

а) серной кислоты плотностью 1,21 г/см3 в соответствии с ГОСТ 4204 или ГОСТ 2184;

б) натрия едкого в соответствии с ГОСТ 2263 или натрия гидроокиси плотностью 1,25 г/см3 в соответствии с ГОСТ 4328;

в) масла трансформаторного или другого минерального масла плотностью от 0,875 г/см3 до 0,905 г/см3.

4.3.14. Водонепроницаемость пелерины должна быть не менее 1 мин при давлении 1000 мм вод. ст.

4.4. Требования надежности

4.4.1. Наработка на отказ поворотно-фиксирующего устройства лицевого щитка должна быть не менее 7500 циклов.

4.4.2. Срок хранения - не менее 2 лет с даты изготовления.

4.5. Требования к комплектности и маркировке

4.5.1. В комплект поставки должны входить:*

___________

* Примечание - Допускается комплектовать каску пожарную дополнительным оборудованием: средствами связи, контроля за параметрами окружающей среды, индивидуальным фонарем, а также подшлемником пожарного, выпускаемыми по нормативной документации (НД) и имеющими сертификат соответствия.

а) каска пожарная в сборе;

б) техническое описание, паспорт, инструкция по эксплуатации в соответствии с ГОСТ 2.601;

в) индивидуальная упаковка.

4.5.2. Каждая каска пожарная должна иметь маркировку. Маркировку наносят с внутренней стороны корпуса в доступном для осмотра месте. Маркировка должна содержать:

а) товарный знак или наименование предприятия-изготовителя;

б) размер;

в) дату изготовления (месяц, год).

Маркировка должна быть четкой и сохраняться в течение всего срока эксплуатации.

5. Правила приемки

5.1. Для контроля качества касок в процессе разработки и производства проводят следующие испытания:

- приемо-сдаточные;

- приемочные;

- квалификационные;

- периодические;

- типовые;

- сертификационные.

Приемо-сдаточные и периодические испытания проводят в соответствии с ГОСТ Р 15.309.

Приемочные и квалификационные испытания проводят в соответствии с ГОСТ Р 15.201.

Типовые испытания проводят при изменении конструкции, материалов или технологии изготовления каски. Типовые испытания проводят по специально разработанной программе.

5.2. Технические показатели и номера пунктов (подпунктов), в которых изложены технические требования и методы испытаний касок, приведены в таблице 1.

Таблица 1

Вид проверки технического показателя

Пункты (подпункты) настоящего стандарта

технические требования

методы испытаний

Проверка комплектности, внешнего вида и маркировки

4.2.1, 4.2.4, 4.2.9, 4.2.10

6.2

Проверка размера каски пожарной

4.5, 4.2.3

6.3

Проверка ширины подбородочного ремня и несущих лент внутренней оснастки

4.2.6, 4.2.7

6.4

Проверка горизонтального кольцевого зазора

4.2.8

6.5

Проверка массы

4.2.2

6.6

Проверка механической прочности

4.3.1

6.7

Проверка амортизационных свойств после воздействия температуры окружающей среды 50 °C

4.1, 4.3.2

6.8

Проверка сопротивления проколу после воздействия температуры окружающей среды 50 °C

4.1, 4.3.3

6.9

Проверка амортизационных свойств после воздействия температуры окружающей среды минус 40 °C

4.1

6.10

Проверка сопротивления проколу после воздействия температуры окружающей среды минус 40 °C

4.1

6.11

Проверка амортизационных свойств после воздействия температуры окружающей среды 150 °C

4.3.2, 4.3.7

6.12

Проверка сопротивления проколу после воздействия температуры окружающей среды 150 °C

4.3.3, 4.3.7

6.13

Проверка надежности поворотно-фиксирующего устройства лицевого щитка

4.2.5, 4.4.1

6.14

Проверка механической прочности лицевого щитка

4.3.4

6.15

Проверка жесткости (деформации) каски пожарной

4.3.5

6.16

Проверка прочности подбородочного ремня

4.3.6

6.17

Проверка огнестойкости каски пожарной

4.3.8

6.18

Проверка устойчивости каски пожарной к воздействию температуры окружающей среды 200 °C

4.3.9

6.19

Проверка устойчивости каски пожарной к воздействию теплового потока мощностью 5 кВт/м2

4.3.10

6.20

Проверка устойчивости каски пожарной к воздействию теплового потока мощностью 40 кВт/м2

4.3.10

6.21

Проверка электрозащитных свойств корпуса каски пожарной

4.3.11

6.22

Проверка устойчивости каски пожарной к воздействию воды

4.3.12

6.23

Проверка устойчивости каски пожарной к воздействию агрессивных сред

4.3.13

6.24

Проверка водонепроницаемости пелерины

4.3.14

6.25

6. Методы испытаний

6.1. Общие положения

6.1.1. Каски пожарные испытывают в состоянии, в котором они предлагаются потребителю, включая любые отверстия в корпусе и другие средства крепления вспомогательных частей специального назначения.

6.1.2. Все испытания должны проводиться в нормальных климатических условиях в соответствии с ГОСТ 15150.

6.1.3. Перед испытаниями образцы выдерживают в нормальных климатических условиях в течение 24 ч, если не оговорено другое требование.

6.1.4. Для проведения комплекса испытаний в объеме раздела 6 должно быть не менее 16 образцов касок пожарных.

6.1.5. Образцы для испытаний выбирают методом случайной выборки из числа представленных на испытания.

6.1.6. При проведении испытаний допускается использовать другие средства измерения, по точности не уступающие показателям, указанным в разделе 6.

6.2. Проверка комплектности, внешнего вида и маркировки

Комплектность, внешний вид и маркировку каски проверяют на соответствие требованиям 4.2.1, 4.2.4, 4.2.9, 4.2.10, а также требованиям НД на конкретную продукцию внешним осмотром.

6.3. Проверка размера каски пожарной

6.3.1. Отбор образцов

Если конструкция внутренней оснастки позволяет осуществлять регулировку по размеру головы в пределах от 54 до 62 размеров, отбирают один образец каски.

Если конструкция внутренней оснастки не позволяет осуществлять регулировку по размеру головы, отбирают такое количество образцов, которое позволило бы провести проверку касок на соответствие требованию 4.2.3.

6.3.2. Проведение испытаний

Размер каски проверяют металлической рулеткой. Замеряют внутренний периметр надеваемого на голову элемента оснастки, обеспечив при этом плотное прилегание полотна рулетки к указанному элементу.

6.3.3. Оценка результатов

Результат испытаний считают положительным, если конструкция внутренней оснастки каски позволяет осуществлять регулировку по размеру головы в пределах от 54 до 62 размеров.

6.4. Проверка ширины подбородочного ремня и несущих лент внутренней оснастки

6.4.1. Отбор образцов

Испытаниям подвергают три образца касок.

6.4.2. Испытательное оборудование

Линейка металлическая 1000 мм с ценой деления 1 мм в соответствии с ГОСТ 427.

6.4.3. Проведение испытаний

Ширину подбородочного ремня и несущих лент внутренней оснастки определяют с помощью линейки на соответствие требованиям 4.2.6 и 4.2.7. Все измерения проводятся с погрешностью ± 1 мм.

6.4.4. Оценка результатов

Результат испытаний считают положительным, если каждый из трех отобранных образцов соответствует требованиям 4.2.6 и 4.2.7.

6.5. Проверка горизонтального кольцевого зазора

6.5.1. Отбор образцов

Испытаниям подвергают три образца касок.

6.5.2. Испытательное оборудование

Оборудование включает в себя:

а) шаблон - стальной пруток диаметром (5,0 ± 0,2) мм, длиной (200 ± 5) мм;

б) муляж головы.

6.5.3. Проведение испытаний

Каску пожарную надевают на муляж головы. Плотность посадки каски на муляже головы обеспечивается следующим образом:

- верхнюю часть корпуса каски нагружают усилием (50 ± 5) Н;

- каску закрепляют на муляже с помощью подбородочного ремня;

- снимают нагрузку.

Величину горизонтального кольцевого зазора проверяют с помощью шаблона. Шаблон должен свободно (без усилия) проходить по всему периметру корпуса каски в пространство между несущими элементами внутренней оснастки, непосредственно соприкасающимися с головой пользователя, и внутренней поверхностью корпуса каски или любым выступом внутренней поверхности корпуса. Допускается величину зазора определять с помощью штангенциркуля с точностью до 1 мм в соответствии с ГОСТ 166.

6.5.4. Оценка результатов

Результат испытаний считают положительным, если каждый из трех отобранных образцов соответствует требованию 4.2.8.

6.6. Проверка массы

6.6.1. Отбор образцов

Испытаниям подвергают два образца касок (минимального и максимального размеров).

6.6.2. Испытательное оборудование

Весы настольные с погрешностью взвешивания не более ± 5 г.

6.6.3. Проведение испытаний

Каску взвешивают на весах с погрешностью ± 5 г.

6.6.4. Оценка результатов

Результат испытаний считают положительным, если каждый из двух отобранных образцов соответствует требованию 4.2.2.

6.7. Проверка механической прочности

6.7.1. Отбор образцов

Испытаниям подвергают один образец каски.

6.7.2. Испытательное оборудование

Оборудование включает в себя:

а) муляж головы;

б) испытательный стенд - должен обеспечивать падение ударника с ускорением от 9,00 м/с2 до 9,81 м/с2; отклонение продольной оси ударника от оси его движения не должно быть более 10°. Принципиальная схема стенда приведена на рисунке 1.

1 - силоизмерительный датчик; 2 - муляж головы; 3 - каска; 4 - ударник; 5 - каретка

Рисунок 1 - Принципиальная схема стенда

Ударник должен быть выполнен из стали с твердостью поверхности HRC 45 - 50 в соответствии с ГОСТ 4543. Нижняя часть ударника должна иметь сферическую поверхность с радиусом (50 ± 2) мм.

Основание испытательного стенда должно быть выполнено из материалов, обеспечивающих условия проведений испытаний на удар.

6.7.3. Проведение испытаний

Каску пожарную надевают на муляж головы согласно 6.5.3.

Каску подвергают одному вертикально направленному удару груза энергией (80 ± 3) Дж. Расчет энергии удара падающего груза - молота приведен в приложении А.

6.7.4. Оценка результатов

Результат испытаний считают положительным, если после удара в корпусе не образовались сквозные трещины и вмятины, искажающие форму корпуса, а также отсутствуют разрушения всех элементов внутренней оснастки и подбородочного ремня, включая элементы крепления к корпусу каски.

6.8. Проверка амортизационных свойств после воздействия температуры окружающей среды 50 °C

6.8.1. Отбор образцов

Испытаниям подвергают один образец каски.

6.8.2. Испытательное оборудование

Оборудование включает в себя:

а) секундомер с погрешностью измерения не более ± 0,2 с;

б) муляж головы;

в) термокамеру - должна иметь принудительную циркуляцию воздуха и позволять поддерживать температуру (50 ± 2) °C в течение не менее 4 ч.

Каска, помещенная в термокамеру, не должна соприкасаться со стенками камеры;

г) испытательный стенд - в соответствии с 6.7.2.

Устройство для регистрации максимального значения силы должно обеспечивать измерение силы с относительной погрешностью не более ± 10 % в диапазоне от 1 до 10 кН.

6.8.3. Подготовка к испытаниям

Перед испытаниями каску выдерживают в термокамере при температуре (50 ± 2) °C в течение не менее 4 ч.

6.8.4. Проведение испытаний

Каску пожарную надевают на муляж головы согласно 6.5.3.

Испытания на амортизацию проводят не позднее чем через 2 мин после выдержки в термокамере.

Каску подвергают одному вертикально направленному удару груза энергией (50 ± 2) Дж.

6.8.5. Оценка результатов

Результат испытаний считают положительным, если усилие, переданное каской на муляж головы, не превышает 5 кН, и после удара в корпусе каски не образовались сквозные трещины и вмятины, искажающие форму корпуса; отсутствуют разрушения всех элементов внутренней оснастки и подбородочного ремня, включая элементы крепления к корпусу каски.

6.9. Проверка сопротивления проколу после воздействия температуры окружающей среды 50 °C

6.9.1. Отбор образцов

Испытаниям подвергают один образец каски.

6.9.2. Испытательное оборудование

Оборудование включает в себя:

а) секундомер с погрешностью измерения не более ± 0,2 с;

б) штангенциркуль с погрешностью измерения не более ± 0,1 мм в соответствии с ГОСТ 166;

в) муляж головы;

г) термокамеру - должна иметь принудительную циркуляцию воздуха и позволять поддерживать температуру (50 ± 2) °C в течение не менее 4 ч.

Каска, помещенная в термокамеру, не должна соприкасаться со стенками камеры;

д) испытательный стенд - в соответствии с 6.7.2.

Пробойник из стали с ударной частью в виде конуса в соответствии с ГОСТ 4543 должен иметь следующие характеристики:

- угол конусности ударной части пробойника, град................

(60 ± 1)

- радиус сферического закругления острия ударной части пробойника, мм...............................................................................

(0,5 ± 0,1)

- высота конуса, не менее, мм.....................................................

40

- твердость ударной части по Роквеллу, HRC...........................

45 - 50

Устройство стенда должно обеспечивать фиксацию контакта острия пробойника с поверхностью муляжа головы.

6.9.3. Подготовка к испытаниям

Перед испытаниями каску пожарную выдерживают в термокамере при температуре (50 ± 2) °C в течение не менее 4 ч.

Каску подвергают испытаниям не позднее чем через 2 мин после выдержки в термокамере.

6.9.4. Проведение испытаний

Каску пожарную надевают на муляж головы согласно 6.5.3.

Испытания на сопротивление проколу проводят путем нанесения трех ударов пробойником с энергией (30,0 ± 1,2) Дж по внешней поверхности корпуса каски, внутри окружности радиусом (50 ± 2) мм, проведенной из центра корпуса каски. Удары наносят в разные точки.

6.9.5. Оценка результатов

Результат испытаний считают положительным, если отсутствует контакт между пробойником и муляжом головы во всех трех точках удара.

6.10. Проверка амортизационных свойств после воздействия температуры окружающей среды минус 40 °C

Испытания проводят в соответствии с 6.8 со следующим изменением: образец каски перед испытаниями выдерживают в камере холода при температуре минус (40 ± 2) °C в течение не менее 4 ч.

Результат испытаний считают положительным, если усилие, переданное ею на муляж головы, не превышает 5 кН, и после удара в корпусе каски не образовались сквозные трещины и вмятины, искажающие форму корпуса.

6.11. Проверка сопротивления проколу после воздействия температуры окружающей среды минус 40 °C

Испытания проводят в соответствии с 6.9 со следующим изменением: образец каски перед испытаниями выдерживают в камере холода при температуре минус (40 ± 2) °C в течение не менее 4 ч.

6.12. Проверка амортизационных свойств после воздействия температуры окружающей среды 150 °C

Испытания проводят в соответствии с 6.8 со следующим дополнением: образец каски перед испытаниями выдерживают в термокамере при температуре (150 ± 5) °C в течение не менее 30 мин.

6.13. Проверка сопротивления проколу после воздействия температуры окружающей среды 150 °C

Испытания проводят в соответствии с 6.9 со следующим дополнением: образец каски перед испытаниями выдерживают в термокамере при температуре (150 ± 5) °C в течение не менее 30 мин.

6.14. Проверка надежности поворотно-фиксирующего устройства лицевого щитка

6.14.1. Отбор образцов

Испытаниям подвергают один образец каски.

6.14.2. Испытательное оборудование

Оборудование включает в себя:

а) секундомер с погрешностью измерения не более ± 0,2 с;

б) весы настольные с погрешностью взвешивания не более ± 5 г;

в) муляж головы.

6.14.3. Проведение испытаний

Каску пожарную надевают на муляж головы согласно 6.5.3.

Производят перемещение лицевого щитка из нерабочего положения в рабочее и обратно с периодом одного цикла не более 1,5 с. Через каждые 500 циклов проводят проверку усилия фиксирования лицевого щитка в закрытом и открытом положениях, при этом допускается регулировка поворотно-фиксирующего устройства лицевого щитка.

Допускается проверять усилие фиксирования путем подвешивания к лицевому щитку груза массой (0,32 ± 0,01) кг.

Общее количество циклов должно быть не менее 7500.

За цикл принимают перемещение лицевого щитка из нерабочего положения в рабочее и обратно.

6.14.4. Оценка результатов

За положительный результат испытаний принимают способность поворотно-фиксирующего устройства после проведения испытаний обеспечивать фиксацию лицевого щитка в требуемом положении с усилием не менее 3 Н или при подвешивании к лицевому щитку груза массой (0,32 ± 0,01) кг.

6.15. Проверка механической прочности лицевого щитка

6.15.1. Отбор образцов

Испытаниям подвергают один образец каски.

6.15.2. Испытательное оборудование

Оборудование включает в себя:

а) штангенциркуль с погрешностью измерения не более ± 0,1 мм в соответствии с ГОСТ 166;

б) линейку металлическую 1000 мм с ценой деления 1 мм в соответствии с ГОСТ 427;

в) весы настольные с погрешностью взвешивания не более ± 5 г;

г) муляж головы;

д) испытательный стенд - в соответствии с 6.7.2.

е) ударник из стали с бойком твердостью HRC 45 - 50 в соответствии с ГОСТ 4543.

Боек должен быть выполнен в форме полусферы с радиусом (11 ± 1) мм и иметь массу, обеспечивающую нанесение удара по лицевому щитку энергией (1,20 ± 0,05) Дж.

6.15.3. Проведение испытаний

Каску пожарную надевают на муляж головы согласно 6.5.3.

Муляж с каской закрепляют на стенде (см. рисунок 1) горизонтально, лицевой частью кверху. Лицевой щиток приводят в рабочее положение.

Точки приложения ударов бойка должны находиться внутри окружности, проведенной из центра лицевого щитка, радиусом (15 ± 1) мм.

Ударнику придают свободное падение на поверхность лицевого щитка с высоты, обеспечивающей удар груза энергией (1,20 ± 0,05) Дж.

В процессе испытаний производят три удара по лицевому щитку.

6.15.4. Оценка результатов

Результат испытаний считают положительным, если после трех ударов на поверхности лицевого щитка не образовались трещины, сколы и другие повреждения; поворотно-фиксирующее устройство при этом обеспечивает фиксацию лицевого щитка в требуемом положении в соответствии с 6.14.4.

6.16. Проверка жесткости (деформации) каски

6.16.1. Отбор образцов

Испытаниям подвергают два образца касок, причем одну каску используют для испытаний при фронтальном нагружении, а другую - при боковом нагружении.

6.16.2. Испытательное оборудование

Оборудование включает в себя:

а) секундомер с погрешностью измерения не более ± 0,2 с;

б) линейку металлическую 1000 мм с ценой деления 1 мм в соответствии с ГОСТ 427;

в) две пластины, расположенные параллельно друг другу, между которыми должна размещаться каска. Пластины должны позволять прилагать к каске нагрузку с фронтальной или боковой стороны.

Непараллельность между пластинами не должна превышать 1,0 мм на длине 50,0 мм.

6.16.3. Проведение испытаний

Каску пожарную размещают между пластинами так, чтобы нагрузка действовала на нее с фронтальной или боковой стороны. К пластинам прикладывают первоначальную нагрузку, равную (65 ± 2) Н; по истечении (2,0 ± 0,1) мин измеряют расстояние между пластинами Д1 с погрешностью 1,0 мм. Через каждые (2,0 ± 0,1) мин нагрузку увеличивают на (100 ± 5) Н до максимального значения (465 ± 20) Н. После действия нагрузки (465 ± 20) Н в течение (2,0 ± 0,1) мин снова измеряют расстояние между пластинами Д2. Затем нагрузку на пластины уменьшают до (65 ± 2) Н и поддерживают на этом уровне в течение (5,0 ± 0,1) мин, после чего вновь измеряют расстояние между пластинами Д3.

6.16.4. Обработка результатов

Деформацию каски Дк вычисляют по формуле

Дк = Д1 - Д2,                                                            (1)

где Д1 - расстояние между пластинами после первоначальной нагрузки, мм;

Д2 - расстояние между пластинами после максимальной нагрузки, мм.

Остаточную деформацию Дост вычисляют по формуле

Дост = Д1 - Д3,                                                          (2)

где Д3 - расстояние между пластинами после уменьшения нагрузки, мм.

Результат испытаний считают положительным, если деформация каски Дк при приложении к ней статической нагрузки, направленной с фронтальной или боковой стороны, составляет не более 40 мм. При этом остаточная деформация Дост не должна быть более 15 мм.

6.17. Определение прочности подбородочного ремня

6.17.1. Отбор образцов

Испытаниям подвергают один образец каски.

6.17.2. Испытательное оборудование

Оборудование включает в себя:

а) секундомер с погрешностью измерения не более ± 0,2 с;

б) линейку металлическую 1000 мм с ценой деления 1 мм в соответствии с ГОСТ 427;

в) устройство для проведения испытаний - состоит из опоры для каски и приспособления для нагружения, состоящего из одного или двух роликов. В однороликовом приспособлении диаметр ролика должен быть 70 - 100 мм, а в двухроликовом - (12,5 ± 0,5) мм. Расстояние между центрами роликов должно быть (75,0 ± 1,0) мм. Принципиальная схема устройства приведена на рисунке 2.

1 - приспособление; 2 - подбородочный ремень; 3 - каска; 4 - ограничитель; 5 - опора

Рисунок 2 - Принципиальная схема устройства для проверки прочности подбородочного ремня

6.17.3. Проведение испытаний

Каску пожарную устанавливают краями на соответствующую опору. Подбородочный ремень застегивают в соответствии с требованиями производителя. К подбородочному ремню подвешивают приспособление (см. рисунок 2). Приспособление нагружают усилием (50 ± 2) Н. Не ранее чем через 30 с определяют удлинение ремня после первоначальной нагрузки. В последующие (30 ± 2) с увеличивают нагрузку до (500 ± 5) Н с равномерной скоростью. Через (120 ± 10) с определяют удлинение ремня после дополнительной нагрузки, а также проводят визуальный осмотр подвесной системы на наличие повреждений ремня и крепежной системы.

6.17.4. Обработка результатов

Удлинение подбородочного ремня Ду вычисляют по формуле

Ду = Д2 - Д1;                                                            (3)

где Д2 - удлинение ремня после дополнительной нагрузки, мм;

Д1 - удлинение ремня после первоначальной нагрузки, мм.

Результат испытаний считают положительным, если удлинение ремня Ду не превышает 25 мм, а при визуальном осмотре подвесной системы не обнаружены повреждения ремня или крепежной системы.

6.18. Проверка огнестойкости каски пожарной

6.18.1. Отбор образцов

Испытаниям подвергают один образец каски.

6.18.2. Испытательное оборудование

Оборудование включает в себя:

а) стенд «Термоманекен» (описание см. в приложении Б);

б) секундомер с погрешностью измерения не более ± 0,2 с.

6.18.3. Подготовка к испытаниям

Каску пожарную испытывают в сборе с лицевым щитком и пелериной.

Определяют место в центре стенда, где будет находиться специальный манекен. Надевают на манекен боевую одежду пожарного, каску, застегивают подбородочный ремень и опускают лицевой щиток. Манекен устанавливают на передвижном устройстве.

6.18.4. Проведение испытаний

Включают огневую установку. С помощью передвижного устройства манекен вводят в рабочую зону. Одновременно с двух сторон воздействуют открытым пламенем на каску. Время выдержки каски в зоне пламени должно составлять (5,0 ± 0,2) с. По истечении этого времени манекен выводят из зоны пламени и проверяют состояние каски. С помощью секундомера фиксируют время остаточного горения и время остаточного тления материала каски.

6.18.5. Оценка результатов

Результат испытаний считают положительным, если:

- на корпусе каски, лицевом щитке, пелерине отсутствуют сквозные прогары;

- время остаточного горения и время остаточного тления материала корпуса каски не превышает 3 с;

- время остаточного горения и время остаточного тления материала лицевого щитка не превышает 3 с;

- время остаточного горения и время остаточного тления материала пелерины не превышает 3 с.

6.19. Определение устойчивости каски пожарной к воздействию температуры окружающей среды 200 °C

6.19.1. Отбор образцов

Испытаниям подвергают один образец каски, который не подвергался прочностным и термическим испытаниям.

6.19.2. Испытательное оборудование

Оборудование включает в себя:

а) секундомер с погрешностью измерения не более ± 0,2 с;

б) муляж головы.

На муляж головы должен быть надет подшлемник пожарного так, чтобы исключить контакт с ним элементов каски;

в) термокамеру с принудительной циркуляцией воздуха, позволяющую поддерживать температуру (200 ± 5) °C в течение не менее (3,0 ± 0,2) мин.

Внутренние размеры термокамеры должны позволять разместить образец каски, надетый на муляж головы, так, чтобы он не касался стенок камеры.

6.19.3. Проведение испытаний

Каску пожарную надевают на муляж головы согласно 6.5.3.

Лицевой щиток приводят в рабочее положение.

Термокамеру предварительно нагревают до температуры (200 ± 5) °C.

Муляж с каской помещают в термокамеру и выдерживают в ней в течение (3,0 ± 0,2) мин. После этого образец каски охлаждают до температуры окружающей среды и проводят его визуальный осмотр.

6.19.4. Оценка результатов

Результат испытаний считают положительным, если на корпусе каски, лицевом щитке, пелерине и деталях внутренней оснастки не наблюдаются оплавления, обугливания и расслаивания материала. При этом ни один из конструктивных элементов каски не должен размягчиться настолько, чтобы изменить свою первоначальную форму.

6.20. Определение устойчивости каски пожарной к воздействию теплового потока мощностью 5 кВт/м2

6.20.1. Отбор образцов

Испытаниям подвергают один образец каски, который не подвергался прочностным и термическим испытаниям.

6.20.2. Испытательное оборудование

Оборудование включает в себя:

а) секундомер с погрешностью измерения не более ± 0,2 с;

б) муляж головы.

На муляж головы надевают подшлемник пожарного так, чтобы исключить контакт с ним элементов каски;

в) источник теплового излучения мощностью не менее 40 кВт/м2;

г) датчик теплового потока, имеющий погрешность градуировки приемника не более 8 % в диапазоне от 5 до 40 кВт/м2;

д) термоэлектрический преобразователь (или другой термочувствительный элемент), обеспечивающий измерение температуры с погрешностью не более ± 1 °C в диапазоне от 0 °C до 100 °C.

6.20.3. Проведение испытаний

На поверхности муляжа головы (в месте воздействия теплового потока) закрепляют термочувствительный элемент.

Каску пожарную надевают на муляж головы согласно 6.5.3.

Включают источник теплового излучения. Регулируя мощность источника теплового излучения или изменяя расстояние между этим источником и датчиком теплового потока, устанавливают плотность теплового потока (5,0 ± 0,4) кВт/м2, регистрируемую датчиком. Затем датчик теплового потока удаляют, на его место помещают муляж с каской так, чтобы зона воздействия теплового потока совпадала с местом расположения датчика на каске, при этом термочувствительный элемент на муляже головы должен находиться в зоне воздействия теплового потока на каску. Зона воздействия теплового потока должна находиться на внешней поверхности каски на расстоянии не менее 70 мм от края корпуса каски.

Образец каски выдерживают под воздействием теплового потока в течение (4,0 ± 0,2) мин и с помощью термочувствительного элемента проводят измерение температуры на поверхности муляжа головы.

После прекращения воздействия теплового потока и охлаждения образца каски до температуры окружающей среды проводят внешний осмотр каски.

6.20.4. Оценка результатов

Результат испытаний считают положительным, если на корпусе, лицевом щитке, пелерине и деталях внутренней оснастки каски не наблюдались оплавления, обугливания и расслаивания материала. При этом температура на поверхности муляжа головы в процессе испытаний не должна быть более 50 °C.

6.21. Определение устойчивости каски пожарной к воздействию теплового потока мощностью 40 кВт/м2

Испытания проводят в соответствии с 6.20 со следующим дополнением: образец каски подвергают воздействию теплового потока мощностью (40,0 ± 3,2) кВт/м2 в течение (5,0 ± 0,2) с.

6.22. Проверка электрозащитных свойств корпуса каски пожарной

Испытаниям подвергают один образец каски.

Испытания проводят в соответствии с ГОСТ 12.4.128 со следующим дополнением: уровень раствора электролита должен быть ниже края корпуса каски или монтажных отверстий на корпусе каски на (10 ± 2) мм.

6.23. Проверка устойчивости каски пожарной к воздействию воды

6.23.1. Отбор образцов

Испытаниям подвергают один образец каски.

6.23.2. Испытательное оборудование

Оборудование включает в себя:

а) секундомер с погрешностью измерения не более ± 0,2 с;

б) емкость для воды размерами, позволяющими погрузить каску полностью под воду;

в) муляж головы.

6.23.3. Подготовка к испытаниям

Образец каски погружают в емкость с водопроводной водой, имеющей температуру окружающей среды, и выдерживают в ней в течение не менее 4 ч. Затем каску извлекают и высушивают.

6.23.4. Проведение испытаний

Каску пожарную надевают на муляж головы согласно 6.5.3.

Каску испытывают в соответствии с 6.9.4 не позднее чем через 10 мин после извлечения ее из емкости с водой.

6.23.5. Оценка результатов

Результат испытаний считают положительным, если отсутствует контакт ударника с муляжом головы во всех трех точках удара.

6.24. Проверка устойчивости каски пожарной к воздействию агрессивных сред

6.24.1. Отбор образцов

Испытаниям подвергают три образца касок. Устойчивость к воздействию каждого реагента проверяют на одном образце каски.

6.24.2. Испытательное оборудование

Оборудование включает в себя:

а) секундомер с погрешностью измерения не более ± 0,2 с;

б) реактивы:

- кислота серная плотностью 1,21 г/см3 в соответствии с ГОСТ 2184 или ГОСТ 4204;

- натрий едкий плотностью 1,25 г/см3 в соответствии с ГОСТ 2263 или ГОСТ 4328;

- масло трансформаторное или другие минеральные масла плотностью 0,875 - 0,905 г/см3;

в) муляж головы.

6.24.3. Подготовка к испытаниям

Каску пожарную внешней поверхностью корпуса опускают в один из реагентов так, чтобы смоченная поверхность образовала эллипс с длиной по большой оси в пределах от 100 до 120 мм. Корпус каски не должен касаться стенок и дна емкости. Температура реактива должна быть в пределах от 17 °C до 25 °C.

Каску выдерживают в реагенте в течение не менее 24 ч, а затем извлекают, промывают водой после щелочи, кислоты и пенообразователя, или растворителем (ацетон, толуол и др.) после минеральных масел и высушивают.

6.24.4. Проведение испытаний

Каску пожарную надевают на муляж головы согласно 6.5.3.

Каску после воздействия одного из реагентов испытывают на сопротивление проколу в соответствии с 6.9.4 не позднее чем через (10,0 ± 0,2) мин после извлечения ее из реагента.

Испытания следует повторить с другой каской в следующем реагенте.

6.24.5. Оценка результатов

Результат испытаний считают положительным, если у каждого из четырех образцов касок после выдержки в соответствующем реагенте отсутствует контакт ударника с муляжом головы во всех трех точках удара.

6.25. Проверка водонепроницаемости пелерины

6.25.1. Отбор образцов

Испытанию подвергают один образец пелерины.

6.25.2. Испытательное оборудование и средства измерения:

Оборудование и средства измерения включают в себя:

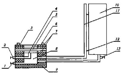
- установку для определения водоупорности (водонепроницаемости) материалов (см. рисунок 3);

- линейку металлическую 1000 мм с ценой деления 1 мм в соответствии с ГОСТ 427;

- секундомер с погрешностью измерения не более ± 0,2 с.

1 - сливной кран; 2 - кран для удаления воздуха из испытательной камеры; 3 - кольцо для зажима образца; 4 - трубка для определения уровня воды в испытательной камере и слива; 5 - образец; 6 - «гайки-барашки»; 7 - резиновые прокладки; 8 - испытательная камера; 9 - основание камеры; 10 - емкость с водой, создающая давление на образец; 11 - трубка со шкалой делений для измерения давления на образец; 12 - крепление трубки со шкалой делений к емкости с водой; 13 - кран подачи воды в испытательную камеру

Рисунок 3 - Схема установки для определения водоупорности (водонепроницаемости) материалов

6.25.3. Порядок проведения испытаний

Основание зажимного приспособления испытательной камеры заполняют водой до краев. Перемещая линейку, совмещают деление «0» на шкале линейки с уровнем жидкости в мерной трубке.

Образец пелерины, обращенный наружной стороной вниз, вкладывают в основание зажимного приспособления, закрывают кольцом и плотно прижимают с помощью «гаек-барашков». Открывают кран, расположенный между емкостью с водой и испытательной камерой, и в течение (60 ± 5) с доводят давление до значения (1000 ± 10) мм вод. ст. Выдерживают образец под указанным давлением в течение (60 ± 5) с. Проводят осмотр внутренней поверхности образца.

6.25.4. Оценка результатов

Результат испытаний считают положительным, если на образце пелерины отсутствуют следы воды.

Приложение А

(обязательное)

Расчет энергии удара падающего груза - молота

Кинетическая энергия свободно падающего груза T равна

                                                             (A.1)

где т - масса груза, кг;

V - скорость в конце падения, м/с.

Потенциальная энергия груза П, поднятого на высоту, равна

П = m · g · h,                                                            (A.2)

где g - ускорение свободного падения, исходя из экспериментальных расчетов, принимается g = 9,81 м/с2;

h - высота подъема груза, м.

При свободном падении потенциальная энергия П переходит в кинетическую Т. Кинетическую энергию груза в момент удара для конкретного испытательного оборудования определяют по формуле

Т = m · к · g · h,                                                           (A.3)

где к - коэффициент, определенный для конкретного испытательного оборудования и учитывающий трение в механических соединениях. Имеет значение в пределах от 0,95 до 1.

Приложение Б

(обязательное)

Методика испытаний по определению устойчивости каски пожарной
к воздействию открытого пламени на стенде «Термоманекен»

Б.1. Введение

Б.1.1. Настоящая методика устанавливает:

- объем и порядок проведения испытаний каски пожарной;

- общие требования техники безопасности при проведении испытаний.

Б.1.2. Испытания проводит испытательная лаборатория, имеющая соответствующую аккредитацию.

Б.1.3. Все средства измерения должны пройти метрологический контроль и быть поверены.

Б.2. Цель испытаний

Определение соответствия устойчивости каски пожарной к воздействию открытого пламени.

Б.3. Условия проведения испытаний

В помещении должны быть соблюдены следующие условия окружающей среды:

- температура 18 °C - 25 °C;

- относительная влажность воздуха 60 % - 80 %.

Б.4. Порядок проведения испытаний

Б.4.1. Каску пожарную испытывают в сборе с лицевым щитком и пелериной.

Б.4.2. Испытания должны быть проведены на стенде по определению устойчивости каски пожарной к воздействию пламени («Термоманекен») (см. рисунок Б.1):

1 - баллоны газовые; 2 - редуктор; 3 - горелки газовые; 4 - клапан электромагнитный;
5 - манекен с надетыми на него боевой одеждой пожарного и каской; 6 - система поджига

Рисунок Б.1 - Схема стенда «Термоманекен»

Б.4.2.1. Стенд следует размещать в специально выделенном помещении с размерами не менее 6000´9000´3000 мм. Стены и потолок помещения должны быть из негорючих материалов.

Б.4.2.2. Помещение должно иметь смотровое окно из термостойкого стекла и входную металлическую дверь.

Б.4.2.3. В помещении должны быть расположены:

- манекен, изготовленный из негорючих материалов;

- передвижное устройство для крепления манекена, а также автоматического ввода и вывода его в рабочую зону и из нее;

- газовая система для моделирования очага возгорания, включающая в себя 4 горелки (см. рисунок Б.2), автоматическую систему поджига, подводку из труб и гибких шлангов, газовые баллоны;

- принудительная система вентиляции, которая расположена над испытательным стендом и предназначена для удаления продуктов горения.

1 - диффузор; 2 - трубка поджига; 3 - сопло

Рисунок Б.2 - Схема горелки

Б.5. Требования безопасности и охраны окружающей среды

Б.5.1. Все участники испытаний должны пройти общий инструктаж по правилам техники безопасности и расписаться в специальном журнале инструктажа по технике безопасности.

Б.5.2. Ответственность за организацию работ по обеспечению техники безопасности при проведении испытаний несет руководитель испытаний. Перед началом испытаний он обязан:

- проинструктировать личный состав о порядке проведения испытаний и уточнить функции всех участников испытаний;

- установить единый сигнал оповещения людей об опасности;

- проверить исправность технологического и измерительного оборудования, а также средств пожаротушения.

Б.5.3. Во время испытаний газовые баллоны должны находиться на открытом воздухе вне зоны испытаний.

Б.5.4. Обслуживающий персонал и регистрирующая аппаратура должны находиться в безопасной зоне.

Б.5.5. Страхующие лица занимают, по возможности, близкую позицию (вне опасной зоны) и наблюдают за проведением испытаний. При необходимости, безотлагательно приступают к тушению манекена.

Б.5.6. Для общей страховки в непосредственной близости от манекена должны находиться первичные средства пожаротушения (рукавная линия со стволом от пожарного крана и огнетушитель объемом не менее 5 л). Перед испытаниями пожарный кран должен быть проверен на работоспособность.

Б.5.7. Исполнение электрического оборудования должно быть огнезащищенным.

Ключевые слова: каска пожарная (шлем пожарный), общие технические требования, методы испытаний