ДОКУМЕНТЫ ПО СТАНДАРТИЗАЦИИ
Конструкции металлические
|
|
«ЦНИИПСК им. Мельникова» |
|
|
ЗАО «ОЗЛК» |
СТАНДАРТ ОРГАНИЗАЦИИ
КОНСТРУКЦИИ СИСТЕМ ВЕНТИЛИРУЕМЫХ ФАСАДОВ
С НЕСУЩИМ КАРКАСОМ ИЗ СТАЛЬНЫХ ГНУТЫХ
ПРОФИЛЕЙ И НАРУЖНОЙ ОБЛИЦОВКОЙ
ИЗ РАЗЛИЧНЫХ МАТЕРИАЛОВ
Расчет, проектирование, монтаж
СТО 0060-2008
(02494680, 70383480)
Москва
2008
Предисловие
1 РАЗРАБОТАН ЗАО Центральный научно-исследовательский и проектный институт строительных металлоконструкций им. Н.П. Мельникова (ЗАО «ЦНИИПСК им. Мельникова») и Закрытым акционерным обществом «Одинцовский завод легких конструкций» (ЗАО «ОЗЛК»).
2 ВНЕСЕН организациями-разработчиками стандарта.
3 ПРИНЯТ на секции Научно-технического Совета ЦНИИПСК им. Мельникова от 25.12.2008 г.
4 ВВЕДЕН впервые.
5 Разработка, согласование, утверждение, издание, обновление (изменение или пересмотр) и отмена настоящего стандарта производится организациями-разработчиками.
Введение
Настоящий стандарт разработан в соответствии с положениями статей 11 и 17 Федерального закона «О техническом регулировании» № 184-ФЗ от 27 декабря 2002 г., ГОСТ Р 1.0-2004 «Стандартизация в Российской Федерации. Основные положения», ГОСТ Р 1.4-2004 «Стандартизация в Российской Федерации. Стандарты организаций. Общие положения» и ГОСТ Р 1.5-2004 «Стандарты национальные Российской Федерации. Правила построения, изложения, оформления и обозначения», которые устанавливают порядок разработки, утверждения, учета и изменения, правила применения стандартов организаций.
Стандарт организации закрепляет требования, нормы и правила, необходимые для обеспечения деятельности ЗАО «ОЗЛК» в области изготовления, расчета, проектирования, монтажа и эксплуатации систем вентилируемого фасада ЗАО «ОЗЛК».
Настоящий стандарт может использоваться организациями, выполняющими работы по проектированию, расчету и монтажу фасадных систем с несущим каркасом из стальных гнутых профилей.
Системы вентилируемого фасада являются многослойной конструкцией, состоящей из несущего стального каркаса, утепляющего слоя, наружной облицовки из металлических и неметаллических материалов и различных доборных элементов для обрамления швов, проёмов, сливов, парапетов. Между внутренней поверхностью облицовки и утеплителем, предусматривается воздушный вентилируемый зазор.
Основанием для систем вентилируемого фасада являются несущие конструкции наружных стен зданий из кирпича, монолитного или сборного бетона и других материалов плотностью не менее 600 кг/м3.
В настоящем стандарте рассматриваются фасадные системы с несущим каркасом из стальных гнутых профилей, выпускаемых ЗАО «ОЗЛК».
Целью разработки стандарта является создание обобщающего нормативного документа, учитывающего особенности работы элементов каркаса с учетом результатов проведенных экспериментальных исследований, что позволит повысить качество, надежность и конкурентоспособность фасадных систем, выполненных с применением конструкций ЗАО «ОЗЛК».
СОДЕРЖАНИЕ
СТАНДАРТ ОРГАНИЗАЦИИ
КОНСТРУКЦИИ
СИСТЕМ ВЕНТИЛИРУЕМЫХ ФАСАДОВ
С НЕСУЩИМ КАРКАСОМ ИЗ СТАЛЬНЫХ ГНУТЫХ
ПРОФИЛЕЙ И НАРУЖНОЙ ОБЛИЦОВКОЙ
ИЗ РАЗЛИЧНЫХ МАТЕРИАЛОВ
Расчет, проектирование, монтаж
Утвержден и введен в действие:
|
Приказом ЗАО «ЦНИИПСК им. Мельникова» |
от 29.12.2008 г. № 412 |
|
Приказом ЗАО «ОЗЛК» |
от 30.12.2008 г. № 4511 |
Дата введения 2008-12-30
Настоящий стандарт организации (далее - СТО) устанавливает требования, необходимые при проектировании, монтаже и эксплуатации фасадных систем со стальным каркасом из гнутых профилей, изготовляемых ЗАО «ОЗЛК», в том числе:
- требования к стали, применяемой для несущих и ограждающих конструкций систем вентилируемого фасада;
- требования к анкерам;
- требования к соединениям стальных элементов фасадной системы между собой;
- требования к несущей способности каркаса при расчетных нагрузках;
- требования к безопасным методам работы при монтаже конструкций фасада;
- требования к огнестойкости фасадной системы;
- требования к коррозионной защите стальных конструкций системы.
СТО не распространяется на фасадные системы, эксплуатируемые в особых условиях (под воздействием сильноагрессивной среды или в районах с сейсмичностью более 7 баллов).
В настоящем СТО использованы ссылки на следующие нормативные документы:
ГОСТ 14918-80* Сталь тонколистовая оцинкованная с непрерывных линий. Технические условия.
ГОСТ 19904-90 Прокат листовой холоднокатаный. Сортамент.
ГОСТ 28778-90 Болты самоанкерующиеся распорные для строительства. Технические условия.
ГОСТ Р 52146-2003 Прокат тонколистовой холоднокатаный и холоднокатаный горячеоцинкованный с полимерным покрытием с непрерывных линий. Технические условия.
ГОСТ Р 52246-2004 Прокат листовой горячеоцинкованный. Технические условия.
ГОСТ 30246-94 Прокат тонколистовой рулонный с защитно-декоративным лакокрасочным покрытием для строительных конструкций. Технические условия.
СНиП 2.01.07-85* Нагрузки и воздействия.
СНиП 2.03.11-85 Защита строительных конструкций от коррозии.
СНиП 23-02-2003 Тепловая защита зданий.
В настоящем СТО применены следующие термины и определения:
3.1 стандарт организации (СТО): Стандарт, утвержденный и применяемый организацией для целей стандартизации, а также для совершенствования производства и обеспечения качества продукции, выполнения работ, оказания услуг, а также для распространения и использования полученных в различных областях знаний результатов исследований (испытаний), измерений и разработок.
3.2 вентилируемый фасад (система вентилируемого фасада (СВФ)): Составная конструкция, включающая стальной каркас, утеплитель и облицовку фасадной стены здания с вентилируемым воздушным зазором между утеплителем и облицовкой.
3.3 кронштейн: Консольная опорная деталь для крепления направляющих профилей к стене, представляющая собой стальной гнутый уголок с ребром жёсткости. Различают 2 типа кронштейнов - кронштейн опорный (непосредственно крепится к стене) и кронштейн подвижной
3.4 составной кронштейн: Кронштейн опорный соединенный с кронштейном подвижным.
3.5 анкер: Крепёжное устройство, заделываемое в стене для закрепления кронштейнов.
3.6 направляющий элемент: Гнутый стальной профиль «шляпного», L-образного или Z-образного сечения, расположенный вертикально или горизонтально параллельно поверхности стены и закрепленный на кронштейнах.
3.7 утеплитель: Минераловатные плиты плотностью не менее 70 кг/м3, прикрепленные к стене дюбелями.
3.8 облицовка: Металлические профилированные листы (сайдинг фасадный, профнастил стеновой), кассеты, плиты из фиброцемента, керамогранита и других материалов.
3.9 кассета: Гнутая панель из листовой оцинкованной стали, окаймленная по периметру гнутыми ребрами жесткости.
3.10 кляммер: Стальная пластина для крепления плит из керамогранита или фиброцемента.
4.1 Системы вентилируемого фасада применяются для декоративной отделки, защиты от неблагоприятных погодных воздействий и утепления наружных стен возводимых и реконструируемых зданий при следующих условиях:
- в климатических районах с расчетной температурой не ниже -50 °С;
- при неагрессивном или слабоагрессивном воздействии среды, соответствующей требованиям СНиП 2.03.11-85;
- в I - IV районах по скоростному напору ветра, соответствующих СНиП 2.01.07-85;
- для зданий высотой не более 90 м;
- для зданий с наружными стенами из сборного или монолитного бетона, кирпича и других материалов плотностью не менее 600 кг/м3;
- в районах с сейсмичностью не более 7 баллов.
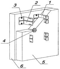
4.2 Несущий каркас вентилируемого фасада выполняется из стальных гнутых профилей и крепится к наружной стене с помощью опорных кронштейнов или кронштейнов составных. Кронштейны крепятся к стене анкерами распорной конструкции (рисунок 1).
4.3 К кронштейнам крепятся направляющие гнутые профили «шляпного» или L- образного сечения, расположенные вертикально, горизонтально или перекрёстно (рисунки 3 - 5).
4.4 Облицовка выполняется из стальных фасадных кассет (рисунок 6), профилированных листов (рисунок 7), фиброцементных, керамогранитных плит (рисунки 8, 9) или другого материала. [3].
4.5 В качестве утеплителя должны применяться негорючие минераловатные плиты плотностью не менее 70 кг/м3. Толщина утеплителя определяется по результатам теплотехнического расчета стены согласно СНиП 23-02-2003, и не должна превышать 200 мм. Зазор между наружной поверхностью утеплителя и облицовкой должен быть не менее 50 мм.
Плиты утеплителя крепятся к стене с помощью стальных или пластмассовых дюбельных упоров со стержнем диаметром 4 - 6 мм и пластмассовыми или стальными шайбами (рисунок 2). Для защиты наружной поверхности утеплителя применяют ветрозащитные пленки или пародиффузионные мембраны.
1 - кронштейн составной; 2 - кронштейн опорный; 3 - анкер; 4 - заклепки (самонарезающие винты); 5 - стена.
Рисунок 1 - Крепление кронштейнов
1 - кронштейн составной; 2 - кронштейн опорный; 3 - анкер; 4 - упор дюбельный для крепления утеплителя; 5 - утеплитель; 6 - стена.
Рисунок 2 - Крепление кронштейнов и утеплителя
1 - профиль шляпный 23; 2 - профиль L-образный; 3 - кронштейн составной; 4 - кронштейн опорный; 5 - анкер; 6 - стена.
Рисунок 3 - Конструкция каркаса СВФ с вертикальной схемой расположения направляющих

1 - профиль шляпный 23 (60); 2 - кронштейн составной; 3 - заклепки (самонарезающие винты); 4 - анкер; 5 - стена.
Рисунок 4 - Конструкция каркаса СВФ с горизонтальной схемой расположения направляющих
1 - профиль шляпный 23 (60); 2 - профиль шляпный 60; 3 - кронштейн составной; 4 - анкер; 5 - заклепки (самонарезающие винты); 6 - стена;
Рисунок 5 - Конструкция каркаса СВФ с перекрестной схемой расположения направляющих
1 - кронштейн составной; 2 - кронштейн опорный; 3 - профиль шляпный 23; 4 - профиль L-образный; 5 - кассета фасадная; 6 - фоновая пластина; 7 - утеплитель; 8 - упор дюбельный для крепления утеплителя; 9 - стена.
Рисунок 6 - Конструкция СВФ с вертикальной схемой расположения направляющих и облицовкой из фасадных кассет
1 - кронштейн составной; 2 - профиль шляпный 23 (60); 3 - профилированный лист; 4 - утеплитель; 5 - упор дюбельный для крепления утеплителя; 6 - стена.
Рисунок 7 - Конструкция СВФ с горизонтальной схемой расположения направляющих и облицовкой из профилированных листов
1 - кронштейн составной; 2 - кронштейн опорный; 3 - шляпный профиль 60П; 4 - профиль L - образный; 5 - фиброцементная плита; 6 - резиновая пластина EPDM; 7 - упор дюбельный для крепления утеплителя; 8 - утеплитель; 9 - стена.
Рисунок 8 - Конструкция СВФ с вертикальной схемой расположения направляющих и облицовкой из фиброцементных плит
1 - кронштейн составной; 2 - профиль шляпный (23, 60); 3 - профиль шляпный 60; 4 - керамогранитная плитка; 5 - клямерная пластина; 6 - утеплитель; 7 - упор дюбельный для крепления утеплителя; 8 - стена.
Рисунок 9 - Конструкция СВФ с перекрестной схемой расположения направляющих и облицовкой из плит керамогранита
4.6 Стальные элементы каркаса и облицовки соединяются между собой с помощью самосверлящих самонарезающих винтов диаметром не менее 5,5 мм или вытяжных заклепок со стальной гильзой диаметром не менее 4,8 мм.
5.1 Для изготовления стальных элементов вентилируемого фасада должны использоваться следующие материалы:
- сталь тонколистовая оцинкованная по ГОСТ 14918-80 группы ХП или ПК с толщиной цинкового покрытия I или повышенного класса;
- прокат листовой горячеоцинкованный марок 250 - 350 по ГОСТ Р 52246-2004 с общей массой цинкового покрытия, нанесенного с двух сторон листа, не менее 275 г/м2;
- прокат тонколистовой холоднокатаный горячеоцинкованный с полимерным покрытием с непрерывных линий по ГОСТ Р 52146-2003;
- импортные тонколистовые оцинкованные стали, отвечающие требованиям ГОСТ 14918, ГОСТ Р 52246 и ГОСТ Р 52146.
5.2 Предел текучести стали для изготовления кронштейнов должен быть не менее 230 МПа.
5.3 Материалы, цвет и толщина лакокрасочного защитно-декоративного покрытия элементов вентилируемого фасада должны соответствовать свойствам материалов, соответствующих требованиям ГОСТ 30246-94.
5.4 Общая толщина минераловатных плит утеплителя (от 50 до 200 мм) должна обеспечивать характеристики, соответствующие теплотехническому расчету стены.
5.5 При облицовке фиброцементными или керамогранитными плитами применяются материалы разрешенные и предназначенные для применения в качестве облицовки в системах вентилируемых фасадов.
6.1 Элементы несущего стального каркаса и металлической облицовки вентилируемых фасадов изготавливаются по ТУ 5285-001-70383480-2007.
6.2 Опорный кронштейн изготавливается из оцинкованной стали толщиной 2 мм, имеет 2 полки: опорную и несущую. Опорной полкой кронштейн крепится к стене, несущая полка определяет вынос от стены от 75 мм до 250 мм. Внешний вид кронштейна и возможные размеры полок показаны на рисунок А.1 (Приложение А). На опорной полке выполнены два овальных отверстия размером 9×15 мм для установки анкеров диаметром 8 мм. На несущей полке выполнены четыре овальных отверстия размерами 9×20 мм для крепления подвижного кронштейна двумя болтами М8.
6.3 Подвижной кронштейн изготавливается из оцинкованной стали толщиной 2 мм, имеет 2 полки: подвижную и монтажную. Внешний вид кронштейна и размеры полок показаны на рисунке А.2 (Приложение А). Подвижная полка имеет 2 овальных отверстия для болтового соединения с опорным кронштейном. Монтажная полка используется для крепления направляющих профилей.
6.4 Направляющие профили «шляпного» сечения высотой 20 мм с шириной полки 23, 60 или 80 мм выполняются из оцинкованной стали толщиной 1,2 или 1,4 мм (рисунки А.3 - А.5 приложения А). Направляющие крепятся к монтажной полке подвижного уголка кронштейна самонарезающими винтами или вытяжными заклепками. Расчетные характеристики профилей шляпного сечения приведены в таблице А.1 (Приложение А).
6.5 Направляющие профили L-образного сечения с шириной полок, монтажной 40 мм и крепежной от 50 до 67 мм выполняются из оцинкованной стали толщиной 1,2 или 1,4 мм (рисунки А.6, А.7 приложения А), используются при вертикальной схеме расположения направляющих. Крепятся самонарезающими винтами или вытяжными заклепками к несущей полке опорных кронштейнов. Расчетные характеристики профилей L-образного сечения приведены в таблице А.1 (Приложение А).
6.6 Для обрамления углов здания, дверных и оконных проемов в вентилируемых фасадах используются направляющие в виде гнутых профилей Z-образного сечения высотой 20 мм и шириной 70 или 90 мм, выполненные из оцинкованной стали толщиной 1,2 или 1,4 мм (рисунки А.8, А.9, приложения А).
6.7 Максимальная длина направляющих - от 3 до 6 м в зависимости от типа профиля.
6.8 Кассеты высотой от 185 до 1025 мм и длиной от 200 до 2500 мм для облицовки фасада выполняются по ТУ 5285-001-70383480-2007 из оцинкованной стали толщиной от 0,5 до 1,2 мм (рисунок А.10. приложения А).
На нижних продольных отгибах кассет должны быть предусмотрены дренажные овальные отверстия размерами 5×15 мм (по три отверстия на каждый погонный метр продольной стороны кассет).
7.1 Для крепления кронштейнов к бетонным, кирпичным и другим стенам используются анкеры в виде самоанкерующихся распорных болтов БСР диаметром 8 мм по ГОСТ 28778 или распорных дюбелей диаметром 8 мм импортного производства, например, марок HST (HILTI), FSA (Fischer) или MBR(mungo). Длина анкера должна быть не менее 80 и не более 250 мм. Допускаемое вырывающее усилие, передаваемое на один анкер, должно быть не менее 2,5 кН и определяться по сертификатам фирм или результатам испытаний с учетом материала и состояния стены.
7.2 Временные монтажные соединения опорного и подвижного кронштейнов в составном кронштейне выполняются на болтах М8.
7.3 После фиксации положения подвижного кронштейна с помощью самонарезающих винтов диаметром не менее 5,5 мм или вытяжных стальных заклепок диаметром не менее 4,8 мм монтажные болты могут быть сняты.
7.4 Предельное срезающее
усилие
,
кН, которое может воспринять один самонарезающий винт, определяется по
формуле
где t - толщина более тонкого из соединяемых профилей, мм;
d - диаметр винта, мм;
|
|
(2) |
- расчетное сопротивление стали соединяемых профилей, кН/мм2.
7.5 Предельные растягивающие (выдергивающие) усилия на один самонарезающий винт марки S-MD (HILTI) при различной толщине прикрепляемого и опорного профилей приводятся в таблице 1.
Таблица 1 - Предельные растягивающие усилия Q1, кгс, на один винт S-MD (Hilti) диаметром 5,5 мм в соединениях профилей различной толщины.
|
Толщина присоединяемого профиля, мм |
|||||||
|
0,5 |
0,6 |
0,7 |
1,0 |
1,2 |
1,4 |
2,0 |
|
|
1,0 |
60 |
80 |
110 |
140 |
- |
- |
- |
|
1,2 |
70 |
90 |
120 |
160 |
180 |
- |
- |
|
1,4 |
70 |
100 |
160 |
220 |
260 |
360 |
- |
|
2,0 |
70 |
100 |
190 |
230 |
290 |
410 |
460 |
7.6 Предельные срезающие и растягивающие усилия на одну вытяжную заклепку со стальной гильзой диаметром 4,8 мм фирмы BRALO в соединениях профилей каркаса и облицовки фасада, полученные по результатам испытаний, приводятся в таблице 2.
Таблица 2 - Предельные расчетные усилия на одну заклепку BRALO 4,8 в соединениях стальных элементов
|
Предельное расчетное усилие, кгс |
|||
|
|
|
При срезе |
При растяжении |
|
1 |
2 |
3 |
4 |
|
0,7 |
0,7 |
190 |
65 |
|
0,5 - 0,7 |
1,2 |
160 - 265 |
60 - 140 |
|
1,5 |
90 - 210 |
||
|
1,0 |
1,0 |
290 |
160 |
|
1,2 - 2,0 |
170 |
||
|
1,5 - 2,0 |
220 |
||
|
1,2 |
1,2 - 2,0 |
290 |
170 |
|
1,5 - 2,0 |
220 |
||
|
1,5 - 2,0 |
220 |
||
|
1,5 |
1,5 - 2,0 |
290 |
220 |
|
Примечание 1 Значения усилий в таблице 2 приводятся для соединений, в которых тонкий элемент крепится к более толстому, т.е. шляпка заклепки расположена со стороны более тонкого элемента. 2 Если в соединении шляпка заклепки расположена со стороны более толстого элемента, предельное расчетное усилие на эту заклепку при растяжении снижается в 1,6 - 1,8 раза. |
|||
7.7 Крепление вертикальных и горизонтальных направляющих к кронштейнам и между собой выполняются с помощью самонарезающих самосверлящих винтов или вытяжных стальных заклепок. В каждом соединении должно быть установлено не менее двух винтов или заклепок.
7.8 Для крепления облицовки из стальных кассет или профилированных листов (профнастил стеновой, сайдинг фасадный) к направляющим используются самосверлящие винты диаметром не менее 5,5 мм либо вытяжные стальные заклепки диаметром не менее 4,8 мм.
7.9 Для крепления облицовки из фиброцементных плит к направляющим используют самосверлящие самонарезающие винты из коррозионностойкой стали, рекомендованные производителями фиброцементных плит.
7.10 Для крепления плиток керамогранита к направляющим используют клямерные пластины.
Несущие стальные конструкции СВФ следует расчитывать на нагрузки и воздействия и их сочетания в соответствии со СНиП 2.01.07.
При расчете следует учитывать следующие нагрузки и воздействия:
- собственный вес облицовочных материалов, направляющих элементов и кронштейнов;
- ветровые нагрузки;
- нагрузки от двухстороннего обледенения облицовки;
- температурные и климатические воздействия;
- особые нагрузки (сейсмические, взрывные, нагрузки, связанные с деформацией основания и т.д.), в случае необходимости.
8.1.1 Нагрузки от собственного веса элементов принимают по паспортным данным предприятий-изготовителей и должны учитывать их возможное изменение в процессе расчетного срока эксплуатации конструкций.
Вертикальная нормативная нагрузка от веса облицовки:
|
|
(3) |
где g, кг/м3 - плотность материала облицовки,
d, м - толщина облицовки.
Вертикальная расчетная нагрузка от веса плит:
|
|
(4) |
где
- коэффициент перегрузки,
= 1,05 для металлической облицовки,
= 1,2 для облицовки из фиброцементных или керамограниеных
плит.
Расчетная нагрузка от собственного веса фасадной системы определяется с учетом возможного обледенения облицовки.
8.1.2 Гололедную нагрузку на элементы облицовки следует принимать по фактическим данным. При отсутствии таких данных и возможном образовании двухсторонней наледи величину нагрузки следует определять по формуле:
|
|
(5) |
где b, мм - толщина наледи, по таблице 11 СНиП 2.01.07,
k - коэффициент по таблице 13 СНиП 2.01.07,
= 0,6 - коэффициент, учитывающий
двухстороннее равномерное обледенение,
r = 0,9 г/см3 - плотность льда,
g = 9,81 м/сек2 - ускорение свободного падения,
g = 1,3 - коэффициент надежности по гололедной нагрузке.
При учете гололедной нагрузки
ветровая нагрузка принимается равной 25 % её нормативного значения
.
8.1.3 Ветровые нагрузки для прямоугольных в плане зданий высотой до 90 м принимаютс учетом следующих положений.
При проектировании несущих конструкций и элементов крепления СВФ необходимо учитывать положительное (W+) и отрицательное (W-) воздействия ветровой нагрузки, каждое из которых определяют как сумму их средних и
пульсационных составляющих.
Воздействия W+ и W- соответствуют положительным и отрицательным значениям
аэродинамических коэффициентов давления
.
Для каждого элемента рассматриваемой системы СВФ в качестве расчетной ветровой нагрузки принимают ее значение (нагрузка W+ или W-), реализующее наиболее неблагоприятный вариант нагружения.
Давление ветра
,
действующее на высоте Z, наветренных
фасадов зданий, следует определять по формуле:
где
- нормативное значение
давление ветра по таблице 5 СНиП 2.01.07,
Z, м - растояние от поверхности земли,
Ср - аэродинамический коэффициент давления,
Ср = 1,0 при положительном давлении ветра,
Ср = -2,0 при отрицательном давлении ветра для угловых участков фасада,
Ср = -1,1 при отрицательном давлении ветра для остальной поверхности здания.
- коэффициент, учитывающий динамические
свойства несущих конструкций фасадов, а также изменение суммарной (средней и
пульсационной
составляющих) ветровой нагрузки по высоте Z наветренной поверхности здания,
- коэффициент надежности по
ветровой нагрузке, принимаемый равным 1,4.
Значения коэффициента
для
местности типа А и В приведены в таблице 3.
При его определении принято, что несущие конструкции СВФ и их крепление к
зданию являются достаточно жесткими и в них не возникает заметных динамических
усилий и перемещений.
Отрицательное давление ветра (отсос) W- распределено равномерно по высоте боковых фасадов зданий и определяют по формуле (6), где Z - высота здания.
зависит от высоты здания Z и формы его поперечного сечения. Для прямоугольных в плане
зданий, коэффициенты приведены в таблице 3.
Таблица 3 - Значения коэффициента
для местности типа А
и В
|
Z, м |
Тип местности |
|
Z, м |
Тип местности |
||
|
|
А |
В |
|
|
А |
В |
|
5 |
1,5 |
1,09 |
|
50 |
2,59 |
2,19 |
|
10 |
1,76 |
1,34 |
|
55 |
2,65 |
2,25 |
|
15 |
1,94 |
1,51 |
|
60 |
2,71 |
2,32 |
|
20 |
2,07 |
1,65 |
|
65 |
2,76 |
2,38 |
|
25 |
2,19 |
1,77 |
|
70 |
2,81 |
2,43 |
|
30 |
2,29 |
1,87 |
|
75 |
2,86 |
2,49 |
|
35 |
2,37 |
1,96 |
|
80 |
2,9 |
2,54 |
|
40 |
2,45 |
2,04 |
|
90 |
2,95 |
2,59 |
|
45 |
2,52 |
2,12 |
|
|
|
|
8.2.1 Для вертикальных направляющих используются профили «шляпного» или L-образного сечения.
Расчетные геометрические характеристики профилей приводятся в таблице А.1 (приложение А).
8.2.2 Расчетная схема
вертикальных профилей - неразрезная балка с консолями по концам (рисунок 14). В направлении горизонтальной оси X, в плоскости стены, шаг профилей
, в
направлении вертикальной оси Z, в
плоскости стены пролеты профилей
, вылеты консолей -
К профилю приложена
вертикальная нагрузка от облицовки с эксцентриситетом относительно ее центра
тяжести ее сечения -
(рисунок 14,а) и горизонтальная ветровая нагрузка (рисунок 14,б).
Рисунок 14 - Расчетные схемы вертикальной направляющей.
8.2.3 Вертикальные расчетные нагрузки от веса облицовки на 1 м длины профиля определяются по формуле:
|
|
(7) |
Или с учетом гололедной нагрузки
|
|
(8) |
Изгибающие моменты от вертикальной расчетной нагрузки определяются по формуле:
|
|
(9) |
где ![]()
- растояние от облицовки до центра
тяжести профиля (по таблице А.1
приложения А).
При этом продольное усилие на профиль равно:
|
|
(10) |
8.2.4 Горизонтальные нагрузки
на 1 м профиля при отрицательном давлении ветра (отсосе) с учетом
аэродинамического коэффициента
определяется по формулам:
Нормативная ветровая нагрузка равна:
|
|
(11) |
где
- коэффициент по
таблице 3.
Расчетная ветровая нагрузка равна:
|
|
(12) |
При учете гололедной вертикальной нагрузки расчетная ветровая нагрузка принимается равной:
|
|
(13) |
Изгибающие моменты от нормативной и расчетной ветровой нагрузки равны соответственно:
|
|
(14) |
|
|
(15) |
где К1 = 0,125 - для неразрезной двухпролетной схемы направляющей;
K1 = 0,1 - для неразрезной трехпролетной схемы направляющей;
K1 = 0,107 - для нерзрезной четырехпролетной схемы направляющей;
8.2.5 Прочность вертикальной направляющей проверяется при растяжении с изгибом по формуле:
|
|
(16) |
где
- коэффициент
надежности по назначению,
- коэффициент условия работы.
и
- площадь и момент сопротивления
сечения профиля (см. таблицу А.1
приложения А).
8.2.6 Прогиб вертикальной направляющей от нормативной ветровой нагрузки определяется по формуле:
|
|
(17) |
где
- момент инерции
сечения направляющей (см. Таблицу А.1
приложения А),
= 0,0052 - для неразрезной двухпролетной
схемы направляющей,
= 0,00675 - для неразрезной трехпролетной схемы направляющей,
= 0,0063 - для неразрезной четырехпролетной схемы направляющей,
[f] - предельный прогиб направляющей, принимаемый равным
- для облицовки из
металлических материалов и
для облицовки из неметаллических
материалов.
8.3.1 Расчетная схема горизонтальных направляющих зависит от принятой системы каркаса СВФ: в системе с направляющими, расположенными только горизонтально, расчетные нагрузки приложены по рисунку 15а, в перекрестной системе направляющих - по рисунку 15б.
Рисунок 15 - Расчетные схемы горизонтальной направляющей.
8.3.2 В системах СВФ без вертикальных направляющих горизонтальные направляющие расчитываются как неразрезные балки на поперечный изгиб в двух плоскостях: параллельной и перпендикулярной плоскости стены.
Вертикальная равномерная
нагрузка
от
веса облицовки, приложенная к направляющей с эксцентриситетом
, определяется по формуле:
|
|
(18) |
Изгибающие моменты в
плоскости направляющей от вертикальной нагрузки
определяется по формуле:
|
|
(19) |
Изгибающие моменты из
плоскости направляющей от вертикальной нагрузки
определяется по формуле:
|
|
(20) |
8.3.3 В этих системах горизонтальная нормативная и расчетная нагрузки на направляющую от ветрового давления равны соответственно:
|
|
(21) |
|
|
(22) |
Изгибающие моменты от этих нагрузок равны соответственно:
|
|
(23) |
|
|
(24) |
8.3.4 Прочность сечения горизонтальной направляющей в стержне крайнего пролета при её изгибе в двух плоскостях определяется по формуле:
|
|
(25) |
где
и
- моменты
сопротивления сечения профиля по таблице А.1.
8.3.5 Прогиб горизонтальной направляющей от нормативной ветровой нагрузки проверяется по формуле:
|
|
(26) |
8.3.6 В системах СВФ с перекрестными направляющими расчетные нагрузки на горизонтальную направляющую показаны на рисунке 15б.
Вертикальная сосредоточенная нагрузка в плоскости параллельной стене от собственного веса облицовки определяется по формуле:
|
|
(27) |
Горизонтальная сосредоточенная нагрузка от ветрового давления передается на горизонтальные направляющие через вертикальные, расположенные с шагом a, и равна:
|
|
(28) |
Изгибающие моменты от
нагрузок
и
в
середине крайнего пролета неразрезной горизонтальной направляющей равны
соответственно:
|
|
(29) |
|
|
(30) |
где
- для двухпролетной направляющей,
- для трехпролетной направляющей,
- для четырехпролетной направляющей.
8.3.7 Проверка прочности горизонтальной направляющей в крайнем пролете выполняется по формуле:
|
|
(31) |
8.3.8 Проверка прогиба горизонтальной направляющей в крайнем пролете от нормативной ветровой нагрузки выполняется по формуле:
|
|
(32) |
где
- для двухпролетной
направляющей,
- для трехпролетной направляющей,
- для четырехпролетной направляющей,
- при металлической облицовке,
- при облицовке из неметаллических материалов.
8.4.1 Расчетная схема
кронштейна представлена в виде консольной прямоугольной пластины толщиной t = 2,0 мм, расположенной вертикально и жестко заделанной в
стене. Ширина пластины h = 110 мм, консольный вылет
от 75 до 250 мм (рисунок 16).
Рисунок 16 - Расчетная схема кронштейна
8.4.2 Вертикальное усилие на кронштейн от собственного веса облицовки (с учетом гололедной нагрузки) равно:
|
|
(33) |
Изгибающий момент от вертикальной нагрузки равен:
|
|
(34) |
Горизонтальное (отрывающее) усилие на кронштейн от отрицательного давления ветра определяется по формуле:
|
|
(35) |
8.4.3 Прочность кронштейна на растяжение с изгибом проверяется по формуле:
|
|
(36 |
где
- площадь
сечения кронштейна;
- момент сопротивления сечения кронштейна;
8.4.4 Устойчивость кронштейна из плоскости считается обеспеченной в системе с горизонтальными направляющими.
Предельные расчетные значения
для
кронштейна в системе без горизонтальных связей должны определяться по
эксперементальным данным. Для кронштейнов в системах ОЗЛК расчетные значения
при
не должно превышать 42 кгс по результатам испытаний
[7] или с учетом коэффициентов
запаса по устойчивости
[5].
При
предельное значение
допускается пропорционально увеличить.
8.4.5 При выборе шага установки кронштейнов по длине и высоте стены необходимо учитывать следующие факторы:
- архитектурно-планировочные решения здания включая размеры оконных и дверных проемов, балконов, лоджий;
- материал и состояние наружных стен;
- тип облицовки вентилируемого фасада;
- толщину утеплителя;
- конструкцию несущего каркаса (систем направляющих) СВФ;
- тип и несущую способность анкеров, закрепляющих кронштейн на данной стене;
- ветровую нагрузку на стены здания с учетом его высоты по СНиП 2.01.07;
8.5.1 Несущая способность одного анкера на отрыв проверяется по формуле:
|
|
(37) |
где n = 2 - количество анкеров для кронштейна системы ОЗЛК;
в - расстояние между анкерами кронштейна;
[Na] - предельное усилие на анкер при отрыве от стены (по результатам испытаний);
gm - коэффициент запаса по прочности,
gm = 0,2 - для анкеров HST (HILTI), FSA (Fisher), БСР (Россия), m2 и m3 (mungo).
gm = 0,14 - для анкеров MBR (mungo).
8.5.2 Требуемое количество
самонарезных винтов или вытяжных заклепок для соединений опорного и подвижного
кронштейнов определяется с учетом срезающих усилий
и
(без учета работы
монтажных болтов):
|
|
(38) |
где
- по таблице 2 для заклепок или по формуле (1) для винтов;
8.5.3 Количество само нарезающих винтов или вытяжных заклепок для соединения направляющих между собой и с кронштейнами определяются с учетом действия срезающих и растягивающих усилий на эти соединения.
Проверка прочности соединений направляющих между собой выполняется по формулам:
|
при срезе |
|
(39) |
|
при растяжении (отрыве) |
|
(40) |
где [N1] и [Q1] - предельное усилие на один метиз крепления при срезе и растяжении соответственно (таблица 1, 2).
8.5.4 В связи с тем, что в конструкциях СВФ предусмотрены температурные швы, климатические воздействия при расчете соединений не учитываются (рисунок 17). Для компенсации температурных деформаций длину направляющих следует принимать не более 8 м.
8.5.5 В районах с сейсмичностью 7 баллов следует применять конструкцию с перекрёстной схемой расположения направляющих, обеспечивающую достаточную жесткость конструкции СВФ без дополнительных связей и метизов крепления.
9.1 Монтаж конструкций вентилируемого фасада следует осуществлять после завершения строительных и ремонтных работ на стенах здания (включая ворота, окна, двери, балконы, лоджии).
9.2 Процесс монтажа утепленного вентилируемого фасада включает следующие этапы: [8]
- разметка мест расположения кронштейнов на утепляемой поверхности стены;
- крепление опорного кронштейна к стене с помощью анкеров;
- закрепление на стене плит утеплителя и закрывающей его пленки с помощью дюбельных упоров;
- установка и временное закрепление подвижного кронштейна с помощью монтажных болтов М8;
- корректировка и фиксация положения подвижных кронштейнов на опорных кронштейнах таким образом, чтобы монтажные полки подвижных кронштейнов располагались в вертикальной плоскости на заданном растоянии от стены, зависящем от толщины утеплителя и ширины воздушного зазора. После закрепления подвижных кронштейнов с помощью самонарезающих винтов или вытяжных заклепок монтажные болты могут быть сняты;

1 - Облицовка; 2 - Направляющая; 3 - Кронштейн опорный; 4 - Утеплитель.
Рисунок 17 - Схемы выполнения температурного шва:
а - горизонтального; б - вертикального.
- установка и крепление доборных профилей, нащельников и сливов по проекту;
- установка фасадных кассет или другой облицовки и их крепление к направляющим;
9.3 При выполнении облицовки фасада без утепления допускается направляющие профили крепить непосредственно к плоским поверхностям стен без кронштейнов с помощью соответствующих метизов.
9.4 Резка кассет и профилей автогеном или их сварка не допускается.
9.5 Строповка пакетов кассет и профилей при их погрузке и разгрузке не должна допускать появления дефектов и вмятин на их поверхности.
9.6 Удары по кассетам и профилям при их монтаже не допускаются.
9.7 Монтаж кронштейнов, направляющих и кассет следует производить с лесов или «альпинистским» способом.
10.1 Защитное покрытие стальных элементов каркаса и облицовки вентилируемого фасада должно соответствовать степени агрессивных воздействий среды согласно СНиП 2.03.11.
10.2 Толщина двухстороннего цинкового покрытия листовой стали для изготовления элементов каркаса и облицовки СВФ должна соответствовать 1 классу цинкования или повышенному по ГОСТ 14918-80 (не менее 19 мкм).
10.3 Кассеты и профилированные листы облицовки для вентилируемых фасадов зданий, находящихся под воздействием слабоагрессивной среды по СНиП 2.03.11 должны выполняться из холоднокатанной горячецинковой стали с дополнительным полимерным покрытием по ГОСТ Р 52146.
10.4 Защитные покрытия метизов крепления элементов вентилируемого фасада должны соответствовать по коррозионной стойкости защите этих элементов и не должны вызывать контактной коррозии.
Метизы крепления (винты, болты, анкеры, заклепки) должны быть оцинкованы или кадмированы при толщине защитного покрытия не менее 15 мкм.
11.1 Наружные стены, предусматривающие СВФ, по своим пожарно-техническим характеристикам разделяют на 4 класса пожарной опасности: К0, К1, К2, и К3 [5]
При установлении класса пожарной опасности СВФ необходимо учитывать пожарно-технические характеристики стен, на которых монтируется конструкции СВФ.
Стенам, выполненным из кирпича, бетона, железобетона и других, подобных по механическим и теплотехническим характеристикам, негорючих материалов толщиной не менее 60 мм со смонтированной на них системой СВФ по ТУ 5285-001-70383480-2007 присваивается класс пожарной опасности системы утепления.
11.2 Классы пожарной опасности систем утепления определяют для зданий, отвечающих следующим условиям:
- величина пожарной нагрузки в помещениях не превышает 700 МДж/м2;
- условная продолжительность пожара не превышает 35 мин;
- расстояние между верхом окна и подоконником вышележащего этажа должны быть не менее 1,2 м.
11.3 Признаки пожарной опасности СВФ, сочетания этих признаков и критерии их оценки при определении классов пожарной безопасности приведены в таблице 4.
Таблица 4
|
Наличие |
|||
|
теплового эффекта, % |
вторичного источника зажигания |
обрушения элементов весом 1 кг и более |
|
|
К0 |
< 5 |
не допускается |
не допускается |
|
К1 |
< 20 |
не допускается |
не допускается |
|
К2 |
< 20 |
не допускается |
не регламентируется |
|
К3 |
не регламентируется |
||
11.4 Оконные проемы по контуру, в местах их сопряжения с фасадной системой должны иметь обрамления из листовой стали толщиной не менее 0,6 мм или негорючих материалов с высокими термомеханическими свойствами.
Конструктивные решения обрамления оконных проемов и способы его крепления к стене должны исключать возможность изменения их проектного положения в процессе теплового воздействия при возможном пожаре.
11.5 При использовании в качестве облицовки фиброцементных плит или керамогранита количество метизов их крепления к направляющим должно быть увеличено вдвое на участках простенков над оконными проемами.

|
Обозначение |
А, мм |
Масса 1 м п. кг |
|
ОЗКО-75-75 |
75 |
0,25 |
|
ОЗКО-75-100 |
100 |
0,29 |
|
ОЗКО-75-125 |
125 |
0,33 |
|
ОЗКО-75-150 |
150 |
0,37 |
|
ОЗКО-75-175 |
175 |
0,41 |
|
ОЗКО-75-200 |
200 |
0,45 |
|
ОЗКО-75-225 |
225 |
0,49 |
|
ОЗКО-75-250 |
250 |
0,53 |
Размеры приняты в соответствии с ТУ 5285-001-70383480-2007.
Рисунок А.1 - Кронштейн опорный

|
Обозначение |
А, мм |
В, мм |
Масса 1 м п. кг |
|
ОЗКП-75-35 |
75 |
35 |
0,18 |
|
ОЗКП-75-50 |
75 |
50 |
0,2 |
|
ОЗКП-75-100 |
75 |
100 |
0,29 |
|
ОЗКП-75-150 |
75 |
150 |
0,37 |
|
ОЗКП-100-35 |
100 |
35 |
0,22 |
|
ОЗКП-100-50 |
100 |
50 |
0,25 |
|
ОЗКП-100-100 |
100 |
100 |
0,33 |
|
ОЗКП-100-150 |
100 |
150 |
0,41 |
|
ОЗКП-125-35 |
125 |
35 |
0,26 |
|
ОЗКП-125-50 |
125 |
50 |
0,29 |
|
ОЗКП-125-100 |
125 |
100 |
0,37 |
|
ОЗКП-125-150 |
125 |
150 |
0,45 |
Размеры приняты в соответствии с ТУ 5285-001-70383480-2007.
Рисунок А.2 - Кронштейн подвижной.
|
Наименование |
Обозначение |
А, мм |
Б, мм |
В, мм |
S, мм |
|
Профиль шляпный 60 м |
ОЗПШМ 20-60-1,2 |
60 |
88 |
108 |
1,2 |
|
Профиль шляпный 60 м |
ОЗПШМ 20-60-1,4 |
60 |
88 |
108 |
1,4 |
|
Профиль шляпный 80 м |
ОЗПШМ 20-80-1,2 |
80 |
108 |
128 |
1,2 |
|
Профиль шляпный 80 м |
ОЗПШМ 20-80-1,4 |
80 |
108 |
128 |
1,4 |
Размеры приняты в соответствии с ТУ 5285-001-70383480-2007.
Рисунок А.3 - Профиль шляпный 60 (80)

|
Наименование |
Обозначение |
А, мм |
S, мм |
|
Профиль шляпный 23м |
ОЗПШУ 20-23-73-1,2 |
73 |
1,2 |
|
Профиль шляпный 23м |
ОЗПШУ 20-23-73-1,4 |
73 |
1,4 |
|
Профиль шляпный 23 |
ОЗПШУ 20-23-85-1,2 |
85 |
1,2 |
|
Профиль шляпный 23 |
ОЗПШУ 20-23-85-1,4 |
85 |
1,4 |
Размеры приняты в соответствии с ТУ 5285-001-70383480-2007.
Рисунок А.4 - Профиль шляпный 23
|
Обозначение |
S, мм |
|
ОЗПШП 20-60-1,2 |
1,2 |
|
ОЗПШП 20-60-1,4 |
1,4 |
Размеры приняты в соответствии с ТУ 5285-001-70383480-2007.
Рисунок А.5 - Профиль шляпный 60П
|
Наименование |
Обозначение |
А, мм |
S, мм |
|
Профиль L-образный 50 |
ОЗПУ40-50-1,2 |
50 |
1,2 |
|
Профиль L-образный 50 |
ОЗПУ-40-50-1,4 |
50 |
1,4 |
|
Профиль L-образный 65 |
ОЗПУ-40-65-1,2 |
65 |
1,2 |
|
Профиль L-образный 65 |
ОЗПУ-40-65-1,4 |
65 |
1,4 |
Размеры приняты в соответствии с ТУ 5285-001-70383480-2007.
Рисунок А.6 - Профили L-образные
|
Обозначение |
S, мм |
Масса 1 м п., кг |
|
ОЗПУУ 40-67-1,2 |
1,2 |
1,17 |
|
ОЗПУУ 40-67-1,4 |
1,4 |
1,42 |
Размеры приняты в соответствии с ТУ 5285-001-70383480-2007.
Рисунок А.7 - Профиль L-образный усиленный
|
Обозначение |
S, мм |
Масса 1 м п., кг |
|
ОЗПЗУ 20-90-1,2 |
1,2 |
1,132 |
|
ОЗПЗУ 20-90-1,4 |
1,4 |
1,378 |
Размеры приняты в соответствии с ТУ 5285-001-70383480-2007.
Рисунок А.8 - Профиль Z-образный усиленный
|
Обозначение |
S, мм |
Масса 1 м п., кг |
|
ОЗПЗ 20-70-1,2 |
1,2 |
1,04 |
|
ОЗПЗ 20-70-1,4 |
1,4 |
1,266 |
Размеры приняты в соответствии с ТУ 5285-001-70383480-2007.
Рисунок А.9 - Профиль Z-образный 70
Размеры приняты в соответствии с ТУ 5285-001-70383480-2007.
Рисунок А.10 - Кассета фасадная прямая
Таблица А1 - Расчетные характеристики гнутых профилей.
|
Толщина t, мм |
Площадь сечения А, см2 |
Масса 1 м длины, кг |
Расчетные справочные величины для профилей при изгибе |
|||||
|
Момент инерции 1х, см4, |
Момент сопротивления Wx, см3, |
Момент инерции iy, см4, |
Момент сопротивления Wy, см3 |
Zo, см |
||||
|
1 |
2 |
3 |
4 |
5 |
6 |
7 |
8 |
9 |
|
ОЗПШМ 20-60 |
1,0 |
1,45 |
1,18 |
14,29 |
2,65 |
1,1 |
0,91 |
0,99 |
|
ОЗПШМ 20-60 |
1,2 |
1,74 |
1,40 |
17,05 |
3,16 |
131 |
1,1 |
1,11 |
|
ОЗПШМ 20-60 |
1,4 |
2,03 |
1,64 |
19,79 |
3,67 |
1,51 |
1,27 |
1,19 |
|
ОЗПШМ 20-80 |
1,0 |
1,65 |
1,34 |
24,22 |
3,78 |
1,15 |
0,91 |
1,28 |
|
ОЗПШМ 20-80 |
1,2 |
1,98 |
1,60 |
28,91 |
4,52 |
1,47 |
1,1 |
1,29 |
|
ОЗПШМ 20-80 |
1,4 |
2,31 |
1,86 |
33,55 |
5,24 |
1,7 |
1,28 |
1,3 |
|
ОЗПШУ 20-23-73 |
1,0 |
1,10 |
0,89 |
3,85 |
1,06 |
0,72 |
0,62 |
0,85 |
|
ОЗПШУ 20-23-73 |
1,2 |
1,32 |
1,07 |
4,61 |
1,26 |
0,86 |
0,74 |
0,85 |
|
ОЗПШУ 20-23-73 |
1,4 |
1,54 |
1,24 |
5,36 |
1,47 |
0,99 |
0,86 |
0,86 |
|
ОЗПШУ 20-23-85 |
1,0 |
1,20 |
0,97 |
5,78 |
1,36 |
0,79 |
0,64 |
0,77 |
|
ОЗПШУ 20-23-85 |
1,2 |
1,44 |
1,16 |
6,92 |
1,63 |
0,94 |
0,76 |
0,77 |
|
ОЗПШУ 20-23-85 |
1,4 |
1,68 |
1,35 |
8,06 |
1,9 |
1,08 |
0,88 |
0,78 |
|
ОЗПШП 20-60 |
1,0 |
1,85 |
1,50 |
31,01 |
4,19 |
1,35 |
0,94 |
0,92 |
|
ОЗПШП 20-60 |
1,2 |
2,22 |
1,79 |
37,14 |
5,02 |
1,74 |
1,32 |
0,93 |
|
ОЗПШП 20-60 |
1,4 |
2,59 |
2,08 |
43,24 |
5,84 |
2,06 |
1,68, |
0,94 |
|
ОЗПЗ 20-70 |
1,0 |
0,90 |
0,74 |
2,78 |
0,79 |
0,75 |
0,55 |
0,95 |
|
ОЗПЗ 20-70 |
1,2 |
1,08 |
0,87 |
3,32 |
0,94 |
0,94 |
0,75 |
0,95 |
|
ОЗПЗ 20-70 |
1,4 |
1,26 |
1,01 |
3,86 |
1,09 |
1,08 |
0,89 |
0,95 |
|
ОЗПЗУ 20-90 |
1,0 |
1,25 |
1,01 |
9,81 |
1,81 |
0,83 |
0,63 |
0,91 |
|
ОЗПЗУ 20-90 |
1,2 |
1,50 |
1,21 |
11,74 |
2,17 |
1,04 |
0,82 |
0,91 |
|
ОЗПЗУ 20-90 |
1,4 |
1,75 |
1,41 |
13,65 |
2,54 |
1,26 |
1,04 |
0,91 |
|
ОЗПУ 40-50 |
1,0 |
0,95 |
0,77 |
2,61 |
0,78 |
2,0 |
0,75 |
1,19 |
|
ОЗПУ 40-50 |
1,2 |
1,14 |
0,92 |
3,12 |
0,93 |
2,5 |
0,9 |
1,19 |
|
ОЗПУ 40-50 |
1,4 |
1,33 |
1,07 |
3,61 |
1,09 |
3,01 |
1,06 |
1,19 |
|
ОЗПУ 40-65 |
1,0 |
1,10 |
0,89 |
5,27 |
1,25 |
2,0 |
0,75 |
1,03 |
|
ОЗПУ 40-65 |
1,2 |
1,32 |
1,07 |
6,29 |
1,5 |
2,5 |
0,91 |
1,03 |
|
ОЗПУ 40-65 |
1,4 |
1,54 |
1,24 |
7,29 |
1,75 |
3,01 |
1,06 |
1,04 |
|
ОЗПУУ 40-67 |
1,0 |
1,25 |
1,01 |
7,11 |
1,74 |
2,74 |
1,32 |
0,89 |
|
ОЗПУУ 40-67 |
1.2 |
1,5 |
1,21 |
8,48 |
2,08 |
3,25 |
1.55 |
0,89 |
|
ОЗПУУ 40-67 |
1,4 |
1,75 |
1,41 |
9,83 |
2,43 |
3,75 |
1,78 |
0,89 |
|
Примечания 1 Расчетные характеристики определены с учетом редукционных коэффициентов для сжатых граней профиля. 2 Масса профиля в таблице 1 определена с учетом массы цинкового покрытия 275 г/м2 заготовки. |
||||||||
[1] Федеральный закон «О техническом регулировании» от 27 декабря 2002 г. № 184-ФЗ
[2] ТУ-1122-150-02494680-2005. Профили металлические гнутые для облицовки фасадов зданий.
[4] СТО 0043-2005. Настилы стальные профилированные для покрытий зданий и сооружений. ЗАО «ЦНИИПСК им. Мельникова», ЗАО «Хилти Дистрибьюшн Лтд», М., 2005
[5] Фасадные теплоизоляционные системы с воздушным зазором. Рекомендации Госстроя СССР, М., 2004.
[6] Рекомендации по проектированию и применению для строительства и реконструкции зданий в г. Москве «Краспан». Москомархитектура, М., 2002.
ЛИСТ РЕГИСТРАЦИИ ИЗМЕНЕНИЙ
|
Номер изменения |
Номера разделов, пунктов (подпунктов) |
Срок введения изменения |
Подпись |
|||
|
измененных |
замененных |
новых |
аннулированных |
|||
|
|
|
|
|
|
|
|
Ключевые слова: вентилируемый фасад, несущий каркас, гнутые профили, оцинкованная сталь, кронштейн, анкер, утеплитель, облицовка, самонарезающий винт, вытяжная заклепка.