МИНИСТЕРСТВО ЗДРАВООХРАНЕНИЯ СССР
ГОСАГРОПРОМ СССР
МЕТОДИЧЕСКИЕ УКАЗАНИЯ
ПО ОПРЕДЕЛЕНИЮ НИТРАТОВ И НИТРИТОВ
В ПРОДУКЦИИ РАСТЕНИЕВОДСТВА
МОСКВА 1989 г.
|
УТВЕРЖДАЮ Начальник Госинспекции по качеству продукции, стандартизации и метрологии Госагропрома СССР |
УТВЕРЖДАЮ Заместитель Председателя ВНПО Союзсельхозхимия |
УТВЕРЖДАЮ Начальник Главного санитарно-профилактического управления Минздрава СССР |
|
___________________ |
___________________ |
___________________ |
|
Ленарский Ю.И. |
Росенко А.Ф. |
Чибураев В.И. |
|
19 апреля 1989 года |
18 апреля 1989 года |
04 апреля 1989 года |
|
№ 5048-89 |
МЕТОДИЧЕСКИЕ УКАЗАНИЯ ПО ОПРЕДЕЛЕНИЮ НИТРАТОВ И НИТРИТОВ В ПРОДУКЦИИ РАСТЕНИЕВОДСТВА
Методические указания включают ионометрический метод анализа нитратов и фотометрический метод анализа нитратов и нитритов в продукции растениеводства. Ионометрический метод является наиболее простым и экспрессным, однако не может быть использован при контроле продукции, содержащей галогениды и ряд других примесей, в связи с этим его следует применять только при анализе свежей растениеводческой продукции, представленной в табл. 1 (см. по тексту). Фотометрический метод более универсален и может применяться как при анализе нитратов, так и нитритов во всех видах продукции, в том числе прошедшей кулинарную обработку и технологическую переработку.
Результаты анализов содержания нитратов в продукции сельскохозяйственного производства, для которой не установлены гигиенические регламенты, и результаты анализа содержания нитритов необходимо направлять в Институт Питания АМН СССР по адресу: 109240, Москва, Устинский пр. д. 2/14 и в Центральный институт агрохимического обслуживания сельского хозяйства (ЦИНАО) по адресу: 127550, Москва, ул. Прянишникова, д. 31, корп. 2 для обобщения и использования их при разработке гигиенических регламентов допустимого содержания нитратов и нитритов в сельскохозяйственной продукции.
Методические указания по определению нитратов и нитритов в продукции растениеводства предназначены для учреждений и организаций Минздрава СССР, осуществляющих государственный санитарный надзор, и организаций Госагропрома СССР, осуществляющих контроль качества продукции.
С выходом настоящих методических указаний отменяется действие методических указаний № 4228-86 от 24.11.86 г. и дополнений к методическим указаниям № 4415 от 29.07.87 г.
Срок введения методических указаний с 1 января 1990 года.
Для Москвы и Московской области - с 1 августа 1989 года.
Методические указания по определению нитратов и нитритов в продукции растениеводства разработаны:
Институтом Питания АМН СССР (Тутельян В.А., Жукова Г.Ф., Дерягина В.П.), Центральным институтом агрохимического обслуживания сельского хозяйства Госагропрома СССР (Самохвалов С.Г., Прижукова В.Г., Молканова Л.И.), Заочным институтом советской торговли (Устюгов Г.П.), Научно-исследовательским институтом овощного хозяйства (Новиков B.C.), Таллинским НИИ санитарии и гигиены МЗ ЭССР (Митченков В.Т.), Тартусской горСЭС МЗ ЭССР (Ильмоя К.А.), НПО «Квант» (Капустин A.M.), Киевским институтом гигиены питания МЗ УССР (Емченко Н.Д.).
Общее руководство работами осуществляли Санитарно-гигиенический отдел Главного санитарно-профилактического управления МЗ СССР (Селиванова Л.В.), Госинспекция по качеству продукции, стандартизации и метрологии (Ленарский Ю.И., Козелькин А.Я.), Объединение Союзсельхозхимия (Гуленко А.Т., Серебряков С.Г.).
Отбор растительных проб «на корню» проводят в утренние часы после схода росы до наступления жары (с 7 до 11 часов). Пробы нельзя отбирать во время дождя и полива или сразу же после них.
Для составления средней пробы используют метод прохода по диагонали с отбором точечных проб через равные расстояния. Для формирования смешанной пробы нельзя брать растения, имеющие площадь питания большую или меньшую по сравнению с остальными растениями (из крайних борозд, гряд, рядов, из гнезд с выпавшими растениями, а также из соседних с ними гнезд), отставшие в развитии или слишком мощные отдельные растения. При этом плоды должны быть без признаков заболевания, механических повреждений, без налипшей почвы.
Перед отбором проб растений для определения нитратов следует подготовить:
- чистые мешки или сетки для упаковки и перевозки отобранных проб корнеклубнеплодов, бахчевой продукции;
- ящики для овощной продукции;
- полиэтиленовые или целлофановые пакеты с упаковочными резинками для отбора смешанных проб, чтобы не допустить потери влаги.
Отобранные пробы сопровождаются этикеткой и актом отбора проб сельскохозяйственной продукции в 2-х экз. (приложение 1, 2).
1.2. Отбор проб с поля («на корню»)
1.2.1. Картофель. С участка площадью до 10 га по диагонали выкапывают без выбора не менее 20 кустов, расположенных через равные промежутки. Клубни отряхивают от земли и отделяют от столонов. Из каждого куста отбирают по одному среднему и крупному клубню.
1.2.2. Капуста белокочанная, краснокочанная и цветная. Отбирают не менее 10 типичных кочанов, равномерно расположенных по диагонали с каждого участка площадью 5 га. С кочанов снимают верхние кроющие листья.
1.2.3. Овощные корнеплоды. С участка площадью до 3 га по диагонали через равные промежутки отбирают не менее 20 корнеплодов столовой свеклы, моркови, петрушки, сельдерея, редьки, редиса.
1.2.4. Томаты, огурцы, баклажаны, перец сладкий. Томаты в зонах товарного производства являются многосборовой культурой и пробы плодов для анализа отбирают по достижении ими съемной зрелости. В пробу должно войти не менее 20 типичных плодов, отобранных по диагонали с площади 3 га.
Методы отбора проб огурцов, баклажанов, перца аналогичны отбору проб томатов.
1.2.5. Лук репчатый. Отбор проб лука репчатого проводят, когда большая часть мелких луковиц уже созрела и имеет усыхающие листья, а крупные луковицы - частично неполегшие зеленые листья. Выкапывают не менее 20 луковиц с участка до 5 га равномерно по диагонали.
1.2.6. Кабачки, тыква, патиссоны. Отбор проб проводят по мере созревание плодов в период массового сбора. В среднюю пробу должно войти не менее 10 типичных плодов с растений, расположенных равномерно по диагонали поля с участка до 5 га.
1.2.7. Листовые (зеленые овощи - лук-перо, салат, шпинат, кориандр, петрушка, сельдерей, щавель, укроп и др.). Отбор проб проводят по диагонали участка до 1 га из 20 точек массой не менее 0,5 кг через равные промежутки.
1.2.8. Овощные культуры защищенного грунта. Общее количество плодов в объединенной пробе должно быть для огурца короткоплодного - 35 - 40, для огурца длинноплодного - 20 - 25, для томата - 40 - 50, для перца - 60 - 80.
Общая масса объединенной пробы плодов должна составлять не менее 3 кг, для длинноплодного огурца не менее 10 кг.
Масса объединенной пробы листовых овощей должна быть не менее 1,5 кг.
В ангарных теплицах площадью 1000 м2 при отборе проб теплицу визуально делят двумя диагоналями и отбор продукции проводят с растений, равномерно расположенных по диагонали, за исключением подлежащих выбраковке (с признаками сильных повреждений).
При количестве плодов в объединенной пробе - 40 штук по каждой диагонали отбирают с 10 растений по 2 плода (по 1 с каждого из двух верхних ярусов) и по 20 растений листовых овощей.
В блочной теплице площадью 10000 м2 выбирают три полусекции (пробных площадок) площадью около 1000 м2 в начале, середине и конце теплицы.
Общее число плодов (растений), которые необходимо отобрать с 10000 м2 делят на 3 пробные площадки, с которых отбор проб производят, как для ангарных теплиц.
Для многосборовых культур (томаты, огурцы, перец) пробы отбираются из сформированных партий собранной продукции согласно п. 1.3.
1.2.9. Семечковые культуры (яблоки, груши). Представительную пробу семечковых культур отбирают с участка площадью не более 2 га. С каждого четвертого дерева, проходя по диагонали участка, снимают плодосъемником по 3 плода с южной и северной стороны дерева.
1.3. Oтбор проб при приемке свежей плодоовощной продукции на торгово-заготовительных предприятиях
1.3.1. Отбор проб из открытых автотранспортных средств. Для оценки содержания нитратов в свежей плодоовощной продукции и картофеле, поставляемых на торгово-заготовительные предприятия в открытых автотранспортных средствах, отбор проб для химического анализа производится независимо от формы поставок (навалом, в мешках, в ящиках, в контейнерах и т.п.) непосредственно в транспортном средстве путем взятия 8 выборок по системе двойного конверта из верхнего и более глубоких слоев (например, из нижних ящиков или другой тары при открытии бортов кузова).
Каждая выборка продукции должна иметь массу около 0,5 кг. Если отдельные образцы имеют массу более 0,5 кг (например, кочаны капусты или крупные корнеплоды свеклы), то за выборку принимается отдельный её экземпляр (например, кочан капусты).
1.3.2. Отбор проб из вагонов, автофургонов и других транспортных средств. При поставке продукции в крытом железнодорожном вагоне, автофургоне или другом транспортном средстве, в котором нет свободного доступа к верхнему или другим слоям продукции, или в случае, когда оперативный возврат продукции невозможен, отбор пробы производится при разгрузке транспортного средства путем взятия выборок из разных мест, равномерно распределенных по всему объему партии продукции и удаленных друг от друга на равные расстояния. Независимо от массы партии продукции число выборок равно 12.
1.3.3. Отбор проб из баржи и другого водного транспорта. При поставке продукции водным транспортом допускается размещение в одном транспортном средстве (барже) нескольких партий при условии их раздельного размещения. В этом случае для химического анализа от каждой партии отбирается отдельная проба. Отбор пробы производится путем взятия 12 выборок из продукции, отобранной от одной партии для проверки её качества в соответствии с действующим ГОСТ.
Если число единиц упаковки (ящики, поддоны, контейнеры) отобранной продукции больше 12, то выборки берутся из произвольно выбранных 12 единиц упаковки. Если число единиц упаковки меньше 12, то из каждой единицы упаковки отбирается по несколько выборок. Места выборок из одной упаковки (например, из контейнера) должны быть равномерно рассредоточены по её объему.
В случае возникновения разногласий между получателем и поставщиком отбор проб продукции проводят в соответствии с ГОСТ 1724-85, ГОСТ 1721-85, ГОСТ 26768-85, ГОСТ 1722-85, ГОСТ 26766-85, ГОСТ 7194-81, ГОСТ 26545-85, ГОСТ 1725-85, ГОСТ 1726-85, ГОСТ 1723-67, ГОСТ 7177-80, ГОСТ 7178-85, ГОСТ 7975-68, ГОСТ 13907-86, ГОСТ 13908-68, ГОСТ 7967-68, ГОСТ 7968-68, ГОСТ 7977-67, с последующим проведением анализа только стандартной части экспортируемой продукции. Пробы от стандартной части продукции отбирают методом конверта (по 0,5 кг из каждой точки отбора).
___________
Пункты 1.1, 1.2 и 1.3 даны в соответствии с «Временными методическими указаниями по отбору проб растительной продукции и кормов для определения нитратов и остаточных количеств пестицидов», утвержденными председателем Мособлагропрома (Ю.В. Королевым) и председателем Мосгорагропрома (Ю.М. Лужковым) 3 апреля 1989 года.
1.4. Подготовка проб для анализа
Пробы к анализу готовят следующим образом:
1.4.2. Свекла и другие корнеплоды. Корнеплоды моют водой, вытирают чистой тканью досуха, срезают шейку и тонкий конец корня и разрезают крестообразно вдоль вертикальной оси на 4 равные части. Доли, представляющие четвертую часть от каждого корнеплода используют для анализа.
1.4.3. Капуста. Кочаны разрезают крестообразно вдоль вертикальной оси на 4 или 8 равных частей и берут соответственно по 1/4 или 1/8 части от каждого кочана в пробу для анализа. При этом отбрасывают верхние несъедобные листья и остаток кочерыжки.
1.4.4. Луковичные растения. Отбрасывают несъедобные части, С луковиц удаляют чешуи, срезают и отбрасывают основания корня и сухую шейку, разрезают их крестообразно вдоль вертикальной оси на 4 равные части и от каждой луковицы берут четвертую часть в пробу для анализа.
1.4.5. Томаты, огурцы, кабачки. Плоды моют водой, вытирают чистой тканью досуха, удаляют плодоножки и разрезают крестообразно вдоль оси на 4 равные части. От каждого плода в пробу для анализа берут по 1/4 части.
1.4.6. Бахчевые культуры. Плода разрезают вдоль оси на сегменты шириной 6 - 8 см по окружности плода и в пробу для анализа от каждого плода берут по 2 - 4 сегмента с противоположных сторон таким образом, чтобы в их число попали затемненные и освещенные солнцем части. С отобранных частей плода снимают верхний слой, не употребляемый в пищу, удаляют семена.
1.4.7. Перец сладкий. Плоды моют водой, вытирают чистой тканью досуха, разрезают крестообразно вдоль оси на 4 равные части и берут в пробу для анализа по 1/4 части от каждого плода, при этом вырезают и отбрасывают семена и остаток плодоножки.
1.4.8. Зеленые овощи (салат, шпинат, капуста салатная, петрушка, щавель, сельдерей, кинза, укроп и т.д.). Обрезают и отбрасывают несъедобные части растений. Растения моют водой и подсушивают сначала между листьями фильтровальной бумаги, или слоями чистой ткани, а затем на воздухе.
1.4.9. Яблоки, груши. Плоды моют водой, вытирают чистой тканью досуха, разрезают крестообразно вдоль оси на 4 равные части и берут в пробу для анализа по 1/4 части от каждого плода. При этом вырезают и отбрасывают остаток семенного гнезда и плодоножку.
Примечание: пробы по п.п. 1.4.1. - 1.4.10. необходимо готовить в количестве не менее двух, так как в случае повышенного содержания нитратов может возникнуть необходимость повторения анализа.
Ионометрический метод используют при количественном определении нитратов в растениеводческой продукции, представленной в таблице 1.
Сущность метода состоит в извлечении нитратов из анализируемого материала раствором алюмокалиевых квасцов с последующим измерением их концентрации в полученной вытяжке с помощью ионоселективного электрода. Для ускорения анализа вместо вытяжки может быть использован сок анализируемой продукции, разбавленный раствором алюмокалиевых квасцов. При анализе капусты для разрушения примесей, мешающих определению нитратов, дополнительно проводят их окисление марганцевокислым калием.
Метод непригоден, если содержание хлоридов в анализируемом материале более чем в 25 раз превышает содержание нитратов при их концентрации до 50 мг/кг и в 50 раз при более высоких.
Нижний предел обнаружения нитратов - 6 мг на 1 дм3 анализируемого раствора. Предел надежного определения нитратов в анализируемой пробе - 30 млн-1 (мг/кг).
2.1. Аппаратура, материалы и реактивы
Для проведения анализа применяют:
Иономер тип И-120 М, И-115 М, ЭВ-74, милливольтметры рН-340, рН-121, нитратомер НМ-002 или аналогичный прибор с погрешностью измерения не более 5 мВ (0,05 pNO3).
Ионоселективный нитратный электрод ЭM-NO3-01, ЭИМ-11 или другой электрод, имеющий такие же метрологические характеристики.
Электрод вспомогательный лабораторный хлорсеребряный ЭВЛ-1М1 или ЭВЛ-1МЗ.М, ТУ 25-05-2181-77.
Весы лабораторные ВЛКТР-500 или другие лабораторные весы общего назначения с наибольшим пределом взвешивания 500 г, ГОСТ 24104-80.
Таблица 1
Допустимые уровни содержания нитратов в продуктах растительного происхождения СанПиН 42-123-4619-88
от 30 мая 1988 года
|
Содержание нитратов, мг/кг |
||
|
из открытого грунта |
из защищенного грунта |
|
|
Картофель |
250 |
№ - |
|
Капуста белокочанная |
||
|
ранняя (до 1 сентября) |
900 |
- |
|
поздняя |
500 |
|
|
Морковь ранняя (до 1 сентября) |
400 |
- |
|
поздняя |
250 |
- |
|
Томаты |
150 |
300 |
|
Огурцы |
150 |
400 |
|
Свекла столовая |
1400 |
- |
|
Лук репчатый |
80 |
- |
|
Лук-перо |
600 |
800 |
|
Зеленые культуры (салаты, шпинат, щавель, капуста салатная, петрушка, сельдерей, кинза, укроп и т.д.) |
2000 |
3000 |
|
Дыни |
90 |
- |
|
Арбузы |
60 |
- |
|
Перец сладкий |
200 |
400 |
|
Кабачки |
400 |
400 |
|
Тыква (для изготовления консервов для питания детей)4 |
200 |
- |
|
Виноград столовых сортов |
60 |
- |
|
Яблоки |
60 |
- |
|
Груши |
60 |
- |
|
* Дополнения к СанПиН № 4722-88 от 14.11.88 г. |
||
Весы АДВ-200 или другие лабораторные весы общего назначения 2-го класса точности с наибольшим пределом взвешивания 200 г, ГОСТ 24104-80.
Колбы мерные 2-го класса точности вместимостью 50, 100 и 1000 см3, ГОСТ 1770-74.
Дозатор вместимостью 50 см3 с погрешностью дозирования не более 1 % или мерный цилиндр вместимостью 50 см3, ГОСТ 1770-74.
Пипетки вместимостью 1, 5, 10, 50 и 100 см3.
Стаканы лабораторные вместимостью 100, 200, 500 и 1000 см3.
Ступка фарфоровая с пестиком, ГОСТ 9146-80.
Капельница.
Встряхиватель BB-1 или блок экстрагирования БЭ-1.
Мешалка лабораторная электромеханическая или магнитная.
Мезгообразователь МЛ-1, пластмассовая терка, механическая или электромеханическая мясорубка, ножницы, нож.
Гомогенизатор с частотой вращения ножевой системы не менее 6000 мин-1.
Измельчитель PT-1 и РТ-2.
Соковыжималка с электрическим удалением выжимок.
Механическая соковыжималка.
Шпатель.
Стеклянные палочки.
Квасцы алюмокалиевые (Kal(SO4)2×12H2O, ГОСТ 4329-77, чда.
Калий хлористый (KCl), ГОСТ 4234-77, хч.
Калий азотнокислый (KNO3), ГОСТ 4217-77, хч.
Калий марганцевокислый (KMnO4), ГОСТ 20490-75, тч.
Кислота серная (H2SO4), ГОСТ 4204-77, ч.
Вода дистиллированная (Н2O), ГОСТ 6709-72.
Перекись водорода (H2O2), 33 %-ный раствор.
Бумага масштабно-координатная марки Д2, ГОСТ 334-73.
2.2. Подготовка к исследованию
2.2.1. Отбор проб для анализа проводят в соответствии с разделом 1.
2.2.2. Подготовка проб к испытанию. Пробы, отобранные в соответствии с разделом 1, измельчают до однородной массы или отжимают из них сок (как это описано в п. 2.3), которые и используют для анализа.
Раствор хранят в склянке с притертой пробкой в течение года, не более. При появления мути или осадка его заменяют на свежеприготовленный.
2.2.4. Приготовление основного
раствора азотнокислого калия концентрации С(КNO3) = 0,1 моль/дм3 (
= -lgCNO3 =1). 10,11 г азотнокислого калия, высушенного при
температуре 110 - 120 °С до постоянной массы, взвешивают c
точностью до третьего десятичного знака, помещают в мерную колбу вместимостью
1000 см3, растворяют в экстрагирующем растворе по п. 2.2.3 и доводят объем до метки тем же
раствором.
Раствор хранят в склянке с притертой пробкой не более года, при появлении мути или осадка его заменяют на свежеприготовленный.
2.2.5. Растворы сравнения азотнокислого калия готовят из основного раствора азотнокислого калия (п. 2.2.4) в день проведения анализа, используя для разбавления раствор алюмокалиевых квасцов по п. 2.2.3, который применяется для анализа.
2.2.5.1. Раствор сравнения с
концентрацией
= 0,01 моль/дм3 (
= 2).
Основной раствор азотнокислого калия, приготовленный по 2.2.4, разбавляют в 10 раз раствором алюмокалиевых квасцов.
Для этого в мерную колбу вместимостью 100 см3 отбирают пипеткой 10
см3 основного раствора с
= 1, доводят до метки раствором
алюмокалиевых квасцов и перемешивают.
2.2.5.2. Раствор сравнения с
концентрацией
= 0,001 моль/дм3 (
= 3).
Раствор, приготовленный по п. 2.2.5.1, разбавляют в 10 раз раствором алюмокалиевых квасцов,
как указано в п. 2.2.5.1.
2.2.5.3. Раствор сравнения с
концентрацией
= 0,0001 моль/дм3 (
= 4).
Раствор, приготовленный до п. 2.2.5.2, разбавляют в 10 раз раствором алюмокалиевых квасцов
(по п. 2.2.3.).
Растворы сравнения, приготовленные по п. 2.2.1, 2.2.5.1, 2.2.5.2, 2.2.5.3, используют для градуировки прибора и построения градуировочного графика.
2.2.6. Подготовка мембранного ионоселективного нитратного электрода и хлорсеребряного электрода сравнения к работе. Мембранный ионоселективный нитратный электрод и хлорсеребряный электрод сравнения готовят к работе в соответствии с инструкциями, прилагаемыми к ним.
В промежутках между исследованиями мембранный
ионоселективный электрод погружают в раствор с
= 4. Если перерывы в работе
составляют сутки и более, его хранят в растворе азотнокислого калия с
концентрацией
= 0,001 моль/дм3. При
длительных перерывах между исследованиями (более 5 суток) электрод хранят на
воздухе и перед началом работы вымачивают 1 - 2 часа в растворе азотнокислого
калия с концентрацией
= 0,1 моль/дм3. В обоих
случаях перед началом измерений электрод промывают в дистиллированной воде не
менее 3 раз.
Хлорсеребряный электрод сравнения в перерывах между исследованиями погружают в стакан с дистиллированной водой.
Пробы для анализа, приготовленные в соответствии с разделом 1.4, измельчают с помощью терки, механической, электромеханической мясорубки или мезгообразователя. Зеленые культуры режут ножницами или ножом до частиц размером 0,5 - 1,0 см или измельчают на мясорубке. 10,0 г измельченного материала взвешивают с точностью до второго десятичного знака, помещают в стакан гомогенизатора или измельчителя, наливают 50 см3 1 %-ного раствора алюмокалиевых квасцов и гомогенизируют в течение 1 мин при частоте вращения 6000 мин-1.
При отсутствии гомогенизатора или измельчителя 10,0 г взвешенного до первого десятичного знака измельченного на терке, мясорубке или мезгообразователе материала помещают в технологическую емкость вместимостью 200 см3 или в стакан вместимостью около 100 см3, наливают 50 см3 1 %-ного раствора алюмокалиевых квасцов и перемешивают с помощью мешалки в течение трех минут.
При анализе материала, содержащего твердые ткани и отсутствии гомогенизатора пробу массой 10,0 г растирают в ступке с прокаленным песком или битым стеклом до однородной массы, переносят её с помощью 50 см3 1 %-го раствора алюмокалиевых квасцов в технологическую емкость вместимостью 200 см3 или в стакан вместимостью 100 см3, перемешивают в течение трех минут с помощью мешалки. Вместо растирания в ступке с песком или битым стеклом возможно 15-минутное нагревание суспензии в кипящей водяной бане с последующим охлаждением и доведением до метки.
В полученной суспензии, приготовленной одним из описанных способов, измеряют концентрацию нитрат-ионов.
При анализе капусты 10,0 г измельченного материала взвешивают с точностью до первого десятичного знака, помещают в стакан вместимостью 100 см3, наливают 50 см3 экстрагирующего раствора, приготовленного по п. 2.2.3.1, перемешивают с помощью мешалки в течение трех минут. Затем при перемешивании добавляют по каплям (2 - 3 капли) 33 %-ный раствор перекиси водорода до обесцвечивания раствора. В полученной суспензии измеряют концентрацию нитрат-ионов.
Для растениеводческой продукции, кроме зеленых культур, с целью ускорения и снижения трудоемкости анализа возможно использование для анализа сока. Для получения сока пробы, подготовленные в соответствии с п. 1.4, пропускают через электромеханическую соковыжималку. Полученный сок собирают в одну емкость и перемешивают.
При анализе всех культур, кроме капусты, от полученного сока с помощью пипетки отбирают аликвотную часть объемом 10,0 см3, измеренным с точностью до 0,1 см3, помещают ее в технологическую емкость вместимостью 200 см3 или в стакан вместимостью 100 см3, прибавляют 50 см3 1 %-го раствора алюмокалиевых квасцов, перемешивают и в полученном растворе измеряют концентрацию нитрат-ионов.
При анализе капусты в технологическую емкость вместимостью 200 см3 или в стакан вместимостью 100 см3 помещают 10,0 см3 сока, измеренного с точностью до 0,1 см3, прибавляют 50 мл экстрагирующего раствора, приготовленного по п. 4.2.3.1 и перемешивают в течение 3 минут. Затем при перемешивании добавляют по каплям (2 - 3 капли) 33 %-ный раствор перекиси водорода до обесцвечивания раствора, после чего измеряют концентрацию нитрат-ионов.
2.3.1. Измерение концентрации нитрат-ионов с помощью электрода ЭМ-NO3-01.
Градуировка иономера при измерении концентрации
нитратов в единицах
.
После подключения прибора к электросети при работе с электродом ЭМ-
-01 нажимают
клавишу 1 ¸ 4.
Подготовленные к работе нитратный и хлорсеребряный
электроды ополаскивают дистиллированной водой, промокают фильтровальной бумагой
и погружают в раствор сравнения с концентрацией
= 0,0001 моль/дм3
(
= 4). Переключатель рода термокомпенсации иономера должен находиться при этом
положении «Ручн», а ручки «Температура раствора» и «рХ» повернуты в крайнее
левое положение. При замере
- нажимают клавишу «рХ», при отключении
цепи - клавишу «t». Ручкой «Калибровка» устанавливают стрелку прибора
на значение, равное 4 (по средней шкале прибора). Затем убирают раствор с
концентрацией
= 0,0001 моль/дм3,
ополаскивают электроды дистиллированной водой, промокают их фильтровальной
бумагой, чтобы убрать капли воды, и погружают электроды в раствор с
концентрацией
= 0,01 моль/дм3 (
= 2).
С помощью ручки «Крутизна» устанавливают стрелку
прибора на значение, равное двум (средней шкалы прибора). Если с помощью ручки
«Крутизна» не удается вывести на значение, равное двум, то используют ручку
«Температура раствора». Затем повторяют настройку прибора по раствору
= 4 и
= 2 до тех
пор, пока стрелка прибора не будет показывать требуемые значения. Перед каждой
проверкой настройки иономера электроды выдерживают в растворе с концентрацией
= 0,0001
моль/дм3 3 - 4 минуты и каждый раз измерения проводят в свежей
порции раствора сравнения. При переносе из концентрированного раствора в
разбавленный электроды ополаскивают дистиллированной водой и сушат
фильтровальной бумагой. Проверку градуировки прибора проверяют по раствору
= 3.
Отклонение от контрольного значения не должно превышать ±0,04
.
Закончив градуировку прибора, электроды погружают в
испытуемый раствор и снимают показания в единицах
. Показания прибора считывают
не ранее чем через 1 мин после прекращения дрейфа показаний прибора.
Температура испытуемых проб и растворов сравнения должна быть одинаковой.
Настройку прибора проверяют не менее трех раз в течение рабочего дня, используя
каждый раз свежие порции растворов сравнения.
Полученные значения
переводят в мг/кг
по формуле
(п. 2.4) или по таблицам 2 - 7.
Градуировку прибора типа рН-метр милливольтметр
(рН-340) проводят следующим образом. Перед настройкой прибора следует поставить
тумблер «Род работ» в положение «рН», измерительный нитратный электрод
подключить к гнезду «Всп», а вспомогательный хлорсеребряный электрод к гнезду
«Изм», так как измеряется концентрация аниона (
), а прибор рассчитан на
измерение водородного иона.
Предел измерения для электрода ЭМ-
- 01 2 ¸ 5 рН. Работа ведется при размахе 3рН или 300 мВ. На
стекле шкалы делают перецифровку - соответственно цифрам на верхней шкале
прибора 3, 2, 1 пишут слева направо 4, 3, 2, 1.
Подготовленные к работе электроды ополаскивают
дистиллированной водой, промокают фильтровальной бумагой и помещают в раствор
сравнения с концентрацией С(
) = 0,0001 моль/дм3 (
= 4) и с
помощью ручек «Еи-грубо» (на задней стенке прибора) и «Еи-точно» на верхней
панели прибора устанавливают стрелку прибора на верхней шкале на значение 4 (по
измененному обозначению). Затем ополаскивают электроды дистиллированной водой,
промокают фильтровальной бумагой и погружают электрод в раствор сравнения с
концентрацией С(
) = 0,01 моль/дм3 (
= 2), с
помощью ручки «S» устанавливают
стрелку прибора на значение, равное двум (по измененному обозначению); если с
помощью ручки «S» это сделать невозможно, то используют тумблер
«Температура раствора». Затем повторяют настройку прибора по растворам
сравнения с
= 4 и
= 2 до тех пор, пока стрелка
прибора не будет показывать требуемые значения. Перед проверкой настройки
иономера электроды необходимо выдержать в растворе с концентрацией С(
) = 0,0001
моль/дм3 3 - 4 минуты и каждый раз проводить измерение в свежей
порции растворов сравнения. При переносе из концентрированного раствора в
разбавленный электроды ополаскивают дистиллированной водой и сушат
фильтровальной бумагой. Проверку градуировки прибора проводят по раствору с
= 3.
Показания прибора считывают не ранее чем через 1 мин после прекращения дрейфа
показаний прибора. Температура испытуемых проб и растворов сравнения должна
быть одинаковой. Настройку прибора проверяют не менее трех раз в течение
рабочего дня, используя каждый раз свежие порции растворов сравнения.
Отклонения от контрольного значения не должны превышать ±0,04
.
Закончив градуировку прибора, электроды погружают в
испытуемый раствор и снимают показания в
. В течение рабочего дня градуировку
прибора периодически повторяют по растворам сравнения.
Полученные при анализах значения
переводят в мг/кг
по формуле
(п. 2.4) или таблицам 2 - 7.
Измерение концентрации иона нитрата в режиме «мВ». Определение проводят, используя калибровочный график и снижая показания ЭДС в «мВ». В этом случае нитратный электрод (для любых милливольтметров) подключают к гнезду «Изм», а хлорсеребряный электрод - к гнезду «Всп». Тумблер «Род работ» ставят в положение «мВ» и ЭДС электродной пары измеряют в растворах сравнения и анализируемых.
Перед началом работы измеряют показания растворов
сравнения в порядке возрастания концентрации, начиная с меньшей с концентрацией
С(
)
= 0,0001 моль/дм3.
Перед погружением электродов исследуемые пробы взбалтывают. Показания прибора считывают не ранее чем через 1 мин после прекращения дрейфа показаний прибора. Температура проб и растворов сравнения должна быть одинаковой. Приборы настраивают не менее трех раз в течение рабочего дня, используя каждый раз свежие порции растворов сравнения.
После каждого измерения электроды ополаскивают дистиллированной водой и промокают фильтровальной бумагой.
Содержание нитратов в пробах находят, используя
калибровочный график, построенный на миллиметровой бумаге. По оси абсцисс
откладывают величины
, соответствующие растворам сравнения
азотнокислого калия в молях:
с концентрацией С(
) = 0,1 моль/дм3 (
= 1).
с концентрацией С(
) = 0,01 моль/дм3 (
= 2)
с концентрацией С(
) = 0,001 моль/дм3
(
= 3)
с концентрацией С(
) = 0,0001 моль/дм3
(
= 4),
по оси ординат - ЭДС, мВ. По калибровочному графику
находят значения величины
и с помощью уравнения (п. 2.4) или таблиц 2 - 7
определяют содержание нитрат-ионов (мг/кг) в исследуемом объекте.
При работе с приборами, имеющими преобразователи
величины
или
моль/дм3 в значения концентрации иона нитрата в исследуемой
продукции, настройку проводят непосредственно в единицах массовой доли нитрата
в миллионах долях (мг/кг) по растворам сравнения с концентрацией С(
) = 0,0001
моль/дм3 (
= 4) и С(
) = 0,01 моль/дм3 (
= 2),
используя раствор С(
) = 0,001 моль/дм3 для
контроля. При настройке таких приборов значение массовой доли нитратов берется
из вспомогательных таблиц 2 - 7 или вычисляют по формуле (п. 2.4).
При работе о иономеров НИ-002, который не может
преобразовывать величины более 1900 млн-1 (мг/кг), при его настройке
следует загрублять показания в 10 раз. Так, например, при настройке прибора по
табл. 2, согласно которой раствору сравнения
с
=
4 соответствует массовая доля нитрат-ионов 36 млн-1 (мг/кг), а
раствору с
= 2 - 3592 млн-1 (мг/кг), с
помощью кнопок «К1» и «К2» прибор настраивают на значения 3,6 и 369 млн-1
(мг/кг) соответственно. Контроль производят по раствору с
= 3 (36 млн-1).
Таким же образом настраивают прибор и по другим таблицам. При определении
содержания нитратов в исследуемых культурах результат увеличивают в 10 раз.
2.3.2. Измерение концентрации нитарт-ионов с помощью электрода ЭИМ-11 и иономера ЭВ-74
Измерения проводят в соответствии с техническим описанием и инструкцией по эксплуатации электрода ЭИМ-11.
Прежде, чем приступить к измерению, необходимо:
включить электрод ЭИМ-11 в течение 1 - 2 суток в растворе нитрата калия с
концентрацией С(
) = 0,1 моль/дм3, промыть
электроды дистиллированной водой и удалить с них капли воды фильтровальной
бумагой; включить иономер ЭВ-74- в сеть (при этом в правом верхнем углу панели
прибора загорится индикатор) и подсоединить электрод ЭИМ-11 к гнезду «Изм», а
вспомогательный электрод - к гнезду «Всп»; нажать клавиши «t»,
«анион-катион» и «9-14», ручку «калибровка» вывести в крайнее левее положение,
для чего вращать ее против часовой стрелки до упора.
Градуировка иономера в единицах
. Градуировку прибора проводят по двум
растворам сравнения с
= 2 и
= 4. Начинать градуировку
следует с раствора с
= 4. С этой целью электрод ЭИМ-11 и
вспомогательный электрод погружают в раствор сравнения с концентрацией С(
) = 0,0001
моль/дм3 (
= 4) и нажав клавишу «pХ»
ручкой «калибровка» устанавливают стрелку прибора на любое цифровое деление в
центре шкалы (например, 2). Присваивают этому делению величину 4,00
. Нажимают
клавишу «t». Затем вынимают электроды из раствора, промокают
фильтровальной бумагой и погружают в раствор с
= 2. Нажимают клавишу «рХ».
Стрелка прибора должна отклониться вправо примерно на два больших деления.
Ручкой «крутизна» и «температура» устанавливают стрелку прибора на отметку 4,
присвоив ей величину 2,00
. Нажимают клавишу «t».
Вынимают электроды из раствора, промывают их дистиллированной водой и промокают
фильтровальной бумагой.
Все операции по градуировке прибора, описанные в предыдущем абзаце, повторяют до тех пор, пока стрелка не будет точно устанавливаться на отметках 2,00 и 4,00 вновь присвоенной шкалы прибора.
Проверку калибровки проводят погружая электроды в
раствор сравнения с
= 3,00. Стрелка прибора должна
останавливаться на делении 3,00. Допустимые отклонения ±0,04
. Проверку калибровки проводят не менее
3 раз в течение рабочего дня.
Для измерения концентрации нитратов в используемом растворе электроды погружают в раствор и нажимают клавишу «рХ». Показания прибора считывают не ранее чем через 1 мин после прекращения дрейфа показаний прибора. Перед каждым измерением электроды ополаскивают водой и промокают фильтровальной бумагой.
Электрод ЭИМ-11 работает в отрицательной области «мВ»
(-70 °С - 900 «мВ»). При работе с этим электродом в режиме «МВ»
следует нажимать клавиши «Анионы/катионы» и диапазон 4 ¸ 9. Построение градуировочного графика и измерения
проводят так же, как при работе с электродом ЭМ-
= 01.
Полученные значения
переводят в мг/кг
по формуле
(п. 2.4) или таблицам 2 - 7.
2.4. Обработка результатов анализа нитратов
Если при анализе использовалась навеска измельченной пробы, то массовую долю нитратов в используемом материале (X) в миллионных долях (млн-1, мг/кг) рассчитывают по формуле:

где 62 - молярная масса иона нитрата, г;
Н - масса пробы, взятой для анализа, г;
V - объем экстрагирующего раствора, см3;
- концентрация нитрата в вытяжке, моль/дм3;
1000 - коэффициент перевода дм3 в см3;
w - массовая доля воды в пробе, %;
100 - коэффициент перевода % в доли единиц;
I - плотность воды, г/см3;
106 - коэффициент перевода долей единицы в миллионные доли (млн-1, мг/кг).
Принимая V = 50 см3, H = 10 г и проведя соответствующие сокращения и преобразования, получаем следующую формулу для расчета:
![]()
При разбавлении вытяжки результат анализа увеличивают во столько раз, во сколько раз была разбавлена вытяжка.
Расчеты по приведенным
уравнениям можно исключить, используя таблицы 2 и 3 для
перевода величин
в массовую долю нитрата в анализируемой
пробе. Данные таблицы составлены с учетом среднего содержания влаги в различных
культурах растениеводческой продукции.
Если при анализе использовался сок, то содержание нитратов в пробе в мг/кг определяют по таблицам 4 - 7, которые составлены с учетом эмпирических коэффициентов пересчета.
Если при использовании сока был получен результат по содержанию нитратов, превышающий допустимый уровень (см. табл. 1), то для окончательного суждения о качестве продукции следует повторить анализ с использованием навески измельченного материала.
При проведении арбитражных анализов на содержание нитратов в капусте, картофеле, свекле, моркови и зеленых овощах использование сока не допускается.
2.5. Оценка результатов анализа
Вычисления проводят до целых
чисел, мг/кг. За окончательный результат, выполненный в одной лаборатории,
принимают среднее арифметическое (
) результатов двух параллельных
определений. Допускаемое расхождение между двумя параллельными определениями,
выполняемыми в одной лаборатории, зависит от уровня концентрации и при Р = 0,95
не должно превышать значений сходимости (r), указанных в табл. 8.
Допустимое расхождение между результатами испытаний, выполненных в 2-х разных лабораториях, зависит от уровня концентрации и при Р = 0,95 не должно превышать значений воспроизводимости (R), указанных в таблице 8.
Для получения величин сходимости и воспроизводимости для концентрации нитратов, отличных от указанных в табл. 8, можно использовать аппроксимирующие коррелятивные уравнения для зависимости характеристик точности определения нитратов от концентрации (X) (мг/кг) r = 13,8 + 0,08X R = 0,354X.
При сравнении аналитических результатов
с величиной ПДК (табл.) в соответствии с рекомендациями Международного
Стандарта ISO № 5725, 1981, используется величина допустимого критического
отклонения CrД, равная
,
где
- средняя
концентрация, полученная в одной лаборатории при n параллельных определений;
m0 - величина ПДК.
Если отклонение обнаруженной концентрации от ПДК не превышает значений СrД, представленных в таблице 8 при доверительной вероятности Р = 0,95, можно принять, что определяемая концентрация сопоставима с ПДК, если отклонение превышает СrД, следует считать обнаруженную концентрацию нитратов в продукте не соответствующей уровню ПДК.
Таблица 2
Перевод
значений
в
массовую долю нитратов в
(млн-1, мг/кг) при анализе
вытяжки из картофеля, столовой свеклы, лука-репки, винограда (Н:V)
= 1:5)
|
Сотые
доли |
||||||||||
|
,00 |
,01 |
,02 |
,03 |
,04 |
,05 |
,06 |
,07 |
,08 |
,09 |
|
|
1,6 |
9033 |
8827 |
8826 |
8430 |
8238 |
8050 |
7867 |
7688 |
7513 |
7342 |
|
1,7 |
7175 |
7012 |
6652 |
6696 |
6544 |
6375 |
6219 |
6107 |
5968 |
5832 |
|
1,8 |
5699 |
5570 |
5443 |
5319 |
5198 |
5079 |
4964 |
4851 |
4740 |
463З |
|
1,9 |
4527 |
4424 |
4323 |
4225 |
4129 |
4035 |
3943 |
3853 |
3765 |
3680 |
|
2,0 |
3596 |
3514 |
3434 |
3356 |
3280 |
3205 |
3132 |
3061 |
2991 |
2923 |
|
2,1 |
2856 |
2791 |
2728 |
2666 |
2605 |
2546 |
2488 |
2431 |
2376 |
2322 |
|
2,2 |
2269 |
2217 |
2167 |
2117 |
2069 |
2022 |
1976 |
1931 |
1837 |
1844 |
|
2,3 |
1602 |
1761 |
1721 |
1682 |
1644 |
1606 |
1570 |
1534 |
1499 |
1465 |
|
2,4 |
1432 |
1399 |
1367 |
1336 |
1306 |
1276 |
1247 |
1218 |
1191 |
1164 |
|
2,5 |
1137 |
1111 |
1066 |
1061 |
1037 |
1016 |
990 |
968 |
946 |
924 |
|
2,6 |
903 |
883 |
863 |
843 |
824 |
805 |
787 |
769 |
751 |
734 |
|
2,7 |
717 |
701 |
685 |
670 |
654 |
639 |
625 |
611 |
597 |
583 |
|
2,8 |
570 |
557 |
544 |
522 |
520 |
508 |
496 |
485 |
474 |
463 |
|
2,9 |
456 |
442 |
432 |
422 |
413 |
403 |
394 |
385 |
377 |
368 |
|
3,0 |
366 |
351 |
343 |
336 |
328 |
320 |
313 |
306 |
299 |
292 |
|
3,1 |
286 |
279 |
273 |
267 |
261 |
255 |
249 |
243 |
238 |
232 |
|
3,2 |
227 |
222 |
217 |
212 |
207 |
202 |
198 |
193 |
189 |
184 |
|
3,3 |
180 |
176 |
172 |
168 |
164 |
161 |
157 |
153 |
150 |
146 |
|
3,4 |
143 |
140 |
137 |
134 |
131 |
128 |
125 |
122 |
119 |
116 |
|
3,5 |
114 |
111 |
109 |
106 |
104 |
101 |
99 |
97 |
95 |
92 |
|
3,6 |
90,3 |
88,3 |
86,3 |
84,3 |
82,4 |
80,5 |
78,7 |
76,9 |
75,1 |
73,4 |
|
3,7 |
70,7 |
70,1 |
68,5 |
70,0 |
65,4 |
63,9 |
62,5 |
61,1 |
59,7 |
58,3 |
|
3,8 |
57,0 |
55,7 |
54,4 |
53,2 |
52,0 |
50,8 |
49,6 |
48,5 |
47,4 |
46,3 |
|
3,9 |
45,4 |
44,2 |
43,2 |
42,2 |
41,3 |
40,3 |
39,4 |
38,5 |
37,7 |
36,8 |
|
4,0 |
36,0 |
35,1 |
34,3 |
33,6 |
32,8 |
32,0 |
31,3 |
30,6 |
29,9 |
29,2 |
Таблица 3
Перевод значений
в массовую
долю нитратов в
(млн-1, мг/кг) при анализе
вытяжки из капусты белокочанной, моркови, томатов, огурцов, лука-перо, дыни,
арбузов, тыквы, перца сладкого, кабачков, зеленых культур, яблок, груш (H:V = 1:5)
|
Сотые
доли |
||||||||||
|
,00 |
,01 |
,02 |
,03 |
,04 |
,05 |
,06 |
,07 |
,08 |
,09 |
|
|
1,6 |
9188 |
8979 |
8775 |
8575 |
8380 |
8189 |
8003 |
7821 |
7643 |
7469 |
|
1,7 |
7299 |
7133 |
6970 |
6812 |
6656 |
6505 |
6357 |
6212 |
6071 |
5933 |
|
1,8 |
5798 |
5666 |
5537 |
5411 |
5287 |
5167 |
5049 |
4935 |
4822 |
4712 |
|
1,9 |
4605 |
4500 |
4398 |
4298 |
4200 |
4104 |
4011 |
3920 |
3830 |
3743 |
|
2,0 |
3658 |
3575 |
3493 |
3414 |
3336 |
3260 |
3186 |
3113 |
3043 |
2973 |
|
2,1 |
2906 |
2840 |
2775 |
2712 |
2650 |
2590 |
2531 |
2473 |
2417 |
2362 |
|
2,2 |
2308 |
2256 |
2204 |
2154 |
2105 |
2057 |
2010 |
1964 |
1920 |
1876 |
|
2,3 |
1833 |
1792 |
1751 |
1711 |
1672 |
1634 |
1597 |
1560 |
1525 |
1490 |
|
2,4 |
1456 |
1423 |
1391 |
1359 |
1328 |
1298 |
1268 |
1259 |
1211 |
1184 |
|
2,5 |
1157 |
1130 |
1105 |
1080 |
1055 |
1031 |
1007 |
985 |
962 |
940 |
|
2,6 |
919 |
898 |
877 |
858 |
838 |
819 |
800 |
782 |
764 |
747 |
|
2,7 |
730 |
713 |
697 |
681 |
666 |
650 |
636 |
621 |
607 |
593 |
|
2,8 |
580 |
567 |
554 |
541 |
529 |
517 |
505 |
493 |
482 |
471 |
|
2,9 |
461 |
450 |
440 |
430 |
420 |
410 |
401 |
392 |
383 |
374 |
|
3,0 |
366 |
357 |
349 |
341 |
334 |
326 |
319 |
311 |
304 |
297 |
|
3,1 |
291 |
284 |
277 |
271 |
265 |
259 |
253 |
247 |
242 |
236 |
|
3,2 |
231 |
226 |
220 |
215 |
210 |
206 |
201 |
196 |
192 |
188 |
|
3,3 |
183 |
179 |
175 |
171 |
167 |
163 |
166 |
156 |
152 |
149 |
|
3,4 |
146 |
142 |
139 |
136 |
133 |
130 |
127 |
124 |
121 |
118 |
|
3,5 |
116 |
113 |
110 |
108 |
105 |
103 |
101 |
98 |
96 |
94 |
|
3,6 |
91,9 |
89,8 |
87,7 |
85,8 |
83,8 |
81,9 |
80,0 |
78,2 |
76,4 |
74,7 |
|
3,7 |
73,0 |
71,3 |
69,7 |
68,1 |
66,6 |
65,0 |
63,6 |
62,1 |
60,7 |
59,3 |
|
3,8 |
58,0 |
56,7 |
55,4 |
54,1 |
52,9 |
51,7 |
50,5 |
49,3 |
48,2 |
47,1 |
|
3,9 |
46,1 |
45,0 |
44,0 |
43,0 |
42,0 |
41,0 |
40,1 |
39,2 |
38,3 |
37,4 |
|
4,0 |
36,6 |
35,7 |
34,9 |
34,1 |
33,4 |
32,6 |
31,9 |
31,1 |
26,4 |
29,7 |
Таблица 4
Перевод значений
в массовую
долю нитратов в
(млн-1, мг/кг) при анализе
сока картофеля и лука-репки (Vсока:Vэкстрагирующего раствора = 1:5)
|
Сотые
доли |
||||||||||
|
,00 |
,01 |
,02 |
,03 |
,04 |
,05 |
,06 |
,07 |
,08 |
,09 |
|
|
1,6 |
7475 |
7305 |
7139 |
6976 |
6818 |
6662 |
6511 |
6363 |
6218 |
6076 |
|
1,7 |
5938 |
5803 |
5671 |
5542 |
5415 |
5292 |
5172 |
5054 |
4939 |
4827 |
|
1,8 |
4717 |
4609 |
4504 |
4402 |
4302 |
4204 |
4108 |
4015 |
3923 |
3834 |
|
1,9 |
3747 |
3661 |
3578 |
3496 |
3417 |
3339 |
3263 |
3189 |
3116 |
3045 |
|
2,0 |
2976 |
2908 |
2842 |
2777 |
2714 |
2652 |
2592 |
2533 |
2475 |
2419 |
|
2,1 |
2364 |
2310 |
2258 |
2206 |
2156 |
2107 |
2059 |
2012 |
1966 |
1921 |
|
2,2 |
1878 |
1835 |
1793 |
1752 |
1713 |
1674 |
1635 |
1598 |
1562 |
1526 |
|
2,3 |
1492 |
1458 |
1424 |
1392 |
1360 |
1329 |
1299 |
1270 |
1241 |
1212 |
|
2,4 |
1185 |
1158 |
1131 |
1106 |
1081 |
1056 |
1032 |
1008 |
985 |
963 |
|
2,5 |
941 |
920 |
899 |
878 |
858 |
839 |
820 |
801 |
783 |
765 |
|
2,6 |
748 |
731 |
714 |
698 |
682 |
666 |
651 |
636 |
622 |
608 |
|
2,7 |
594 |
580 |
567 |
554 |
542 |
529 |
517 |
505 |
494 |
483 |
|
2,8 |
472 |
461 |
450 |
440 |
430 |
420 |
411 |
401 |
392 |
383 |
|
2,9 |
375 |
366 |
358 |
350 |
342 |
334 |
326 |
319 |
312 |
305 |
|
3,0 |
298 |
291 |
284 |
278 |
271 |
265 |
259 |
253 |
248 |
242 |
|
3,1 |
236 |
231 |
226 |
221 |
216 |
211 |
206 |
201 |
197 |
192 |
|
3,2 |
188 |
183 |
179 |
175 |
171 |
167 |
164 |
160 |
156 |
153 |
|
3,3 |
149 |
146 |
142 |
139 |
136 |
133 |
130 |
127 |
124 |
121 |
|
3,4 |
118 |
116 |
113 |
111 |
108 |
106 |
103 |
101 |
99 |
96 |
|
3,5 |
94 |
92 |
90 |
88 |
86 |
84 |
82 |
80 |
78 |
76 |
|
3,6 |
75 |
73 |
71 |
70 |
68 |
67 |
65 |
64 |
62 |
61 |
|
3,7 |
59 |
58 |
57 |
55 |
54 |
53 |
52 |
51 |
49 |
48 |
|
3,8 |
47 |
46 |
45 |
44 |
43 |
42 |
41 |
40 |
39 |
33 |
|
3,9 |
37 |
37 |
36 |
35 |
34 |
33 |
33 |
32 |
31 |
30 |
|
4,0 |
30 |
29 |
28 |
28 |
27 |
27 |
26 |
25 |
25 |
24 |
Таблица 5
Перевод значения
в массовую
долю нитратов в
(млн-1,
мг/кг) при анализа сока свеклы и моркови (Vсока:Vэкстрагирующего
раствора = 1:5)
|
|
Сотые
доли |
|||||||||
|
,00 |
,01 |
,02 |
,03 |
,04 |
,05 |
,06 |
,07 |
,08 |
,09 |
|
|
1,6 |
7943 |
7762 |
7585 |
7412 |
7244 |
7079 |
6918 |
6760 |
6606 |
6456 |
|
1,7 |
6309 |
6165 |
6025 |
5888 |
5754 |
5623 |
5495 |
5370 |
5248 |
5128 |
|
1,8 |
5011 |
4897 |
4786 |
4677 |
4570 |
4466 |
4363 |
4265 |
4168 |
4073 |
|
1,9 |
3981 |
3890 |
3802 |
3715 |
3630 |
3548 |
3467 |
3338 |
3311 |
3236 |
|
2,0 |
3162 |
3090 |
3020 |
2951 |
2884 |
2818 |
2754 |
2691 |
2630 |
2570 |
|
2,1 |
2512 |
2454 |
2399 |
2344 |
2291 |
2239 |
2188 |
2138 |
2089 |
2042 |
|
2,2 |
1995 |
1950 |
1905 |
1862 |
1820 |
1778 |
1738 |
1698 |
1659 |
1622 |
|
2,3 |
1585 |
1549 |
1513 |
1479 |
1445 |
1412 |
1380 |
1349 |
1318 |
1288 |
|
2,4 |
1259 |
1230 |
1202 |
1175 |
1146 |
1122 |
1096 |
1071 |
1047 |
1023 |
|
2,5 |
1000 |
977 |
955 |
933 |
912 |
891 |
871 |
851 |
832 |
813 |
|
2,6 |
794 |
776 |
759 |
741 |
724 |
708 |
692 |
676 |
661 |
646 |
|
2,7 |
631 |
617 |
603 |
589 |
575 |
562 |
549 |
537 |
525 |
513 |
|
2,8 |
501 |
490 |
479 |
468 |
457 |
447 |
436 |
427 |
417 |
407 |
|
2,9 |
398 |
389 |
380 |
372 |
363 |
355 |
347 |
339 |
331 |
324 |
|
3,0 |
316 |
309 |
302 |
295 |
288 |
282 |
275 |
269 |
263 |
257 |
|
3,1 |
251 |
245 |
240 |
234 |
229 |
224 |
219 |
214 |
209 |
204 |
|
3,2 |
200 |
195 |
191 |
186 |
182 |
178 |
174 |
170 |
166 |
162 |
|
3,3 |
158 |
155 |
151 |
143 |
145 |
141 |
138 |
135 |
132 |
129 |
|
3,4 |
126 |
123 |
120 |
117 |
115 |
112 |
110 |
107 |
105 |
102 |
|
3,5 |
100 |
98 |
95 |
93 |
91 |
89 |
87 |
85 |
83 |
81 |
|
3,6 |
79 |
78 |
76 |
74 |
72 |
71 |
69 |
68 |
66 |
65 |
|
3,7 |
63 |
62 |
60 |
59 |
58 |
56 |
55 |
54 |
52 |
51 |
|
3,8 |
50 |
49 |
48 |
47 |
46 |
45 |
44 |
43 |
42 |
41 |
|
3,9 |
40 |
39 |
38 |
37 |
36 |
35 |
35 |
34 |
33 |
32 |
|
4,0 |
32 |
31 |
30 |
30 |
29 |
28 |
28 |
27 |
26 |
26 |
Таблица 6
Перевод значений
в массовую
долю нитратов в
(млн-1, мг/кг) при анализе
сока капусты белокочанной, перца сладкого, винограда (Vсока:Vэкстрагирующего
раствора = 1:5)
|
|
Сотые
доли |
|||||||||
|
,00 |
,01 |
,02 |
,03 |
,04 |
,05 |
,06 |
,07 |
,08 |
,09 |
|
|
1,6 |
8410 |
8218 |
8031 |
7848 |
7670 |
7495 |
7325 |
7156 |
6995 |
6886 |
|
1,7 |
6680 |
6528 |
6379 |
6234 |
6092 |
5954 |
5818 |
5686 |
5556 |
5430 |
|
1,8 |
5306 |
5185 |
5667 |
4952 |
4839 |
4729 |
4622 |
4516 |
4416 |
4313 |
|
1,9 |
4215 |
4119 |
4025 |
3934 |
3844 |
3757 |
3671 |
3587 |
3506 |
3426 |
|
2,0 |
3348 |
3272 |
3197 |
3125 |
3053 |
2984 |
2916 |
2850 |
2735 |
2721 |
|
2,1 |
2659 |
2599 |
2540 |
2482 |
2425 |
2370 |
2316 |
2264 |
2212 |
2162 |
|
2,2 |
2112 |
2064 |
2017 |
1971 |
1927 |
1863 |
1840 |
1798 |
1757 |
1717 |
|
2,3 |
1678 |
1640 |
1602 |
1566 |
1530 |
1495 |
1461 |
1428 |
1396 |
1364 |
|
2,4 |
1333 |
1303 |
1273 |
1244 |
1216 |
1188 |
1161 |
1134 |
1109 |
1083 |
|
2,5 |
1059 |
1035 |
1011 |
988 |
966 |
944 |
922 |
901 |
881 |
861 |
|
2,6 |
841 |
822 |
808 |
785 |
767 |
750 |
732 |
716 |
699 |
684 |
|
2,7 |
668 |
653 |
638 |
623 |
609 |
595 |
582 |
569 |
556 |
543 |
|
2,8 |
531 |
519 |
507 |
495 |
484 |
473 |
462 |
452 |
441 |
431 |
|
2,9 |
421 |
412 |
403 |
398 |
384 |
370 |
367 |
359 |
351 |
343 |
|
3,0 |
335 |
327 |
320 |
312 |
305 |
296 |
292 |
285 |
278 |
272 |
|
3,1 |
266 |
260 |
254 |
248 |
243 |
237 |
232 |
226 |
221 |
216 |
|
3,2 |
211 |
206 |
202 |
197 |
193 |
188 |
184 |
180 |
176 |
172 |
|
3,3 |
168 |
164 |
160 |
157 |
153 |
150 |
146 |
143 |
140 |
136 |
|
3,4 |
133 |
130 |
127 |
120 |
122 |
119 |
116 |
113 |
111 |
108 |
|
3,5 |
106 |
103 |
101 |
99 |
97 |
94 |
92 |
90 |
88 |
86 |
|
3,6 |
84 |
82 |
80 |
78 |
77 |
75 |
73 |
72 |
70 |
68 |
|
3,7 |
67 |
65 |
64 |
62 |
61 |
60 |
58 |
57 |
56 |
54 |
|
3,8 |
53 |
52 |
51 |
50 |
48 |
47 |
46 |
45 |
44 |
43 |
|
3,9 |
42 |
41 |
40 |
39 |
38 |
38 |
37 |
36 |
35 |
34 |
|
4,0 |
33 |
33 |
32 |
31 |
31 |
30 |
29 |
28 |
28 |
27 |
Таблица 7
Перевод значений
в массовую
долю нитратов в
(млн-1, мг/кг) при анализе
сока огурцов, томатов, кабачков, дынь, арбузов, тыквы, яблок, груш (Vсока:Vэкстрагирующего раствора = 1:5)
|
Сотые
доли |
||||||||||
|
,00 |
,01 |
,02 |
,03 |
,04 |
,05 |
,06 |
,07 |
,08 |
,09 |
|
|
1,6 |
8877 |
8675 |
8477 |
8285 |
8096 |
7912 |
7732 |
7556 |
7384 |
7216 |
|
1,7 |
7051 |
6891 |
6734 |
6581 |
6431 |
6284 |
6141 |
6002 |
5865 |
5731 |
|
1,8 |
5601 |
5474 |
5349 |
5227 |
5108 |
4992 |
4878 |
4767 |
4659 |
4553 |
|
1,9 |
4449 |
4348 |
4249 |
4152 |
4058 |
3965 |
3875 |
3787 |
3701 |
3616 |
|
2,0 |
3534 |
3454 |
3375 |
3293 |
3223 |
3150 |
3078 |
3006 |
2939 |
2873 |
|
2,1 |
2807 |
2743 |
2681 |
2620 |
2560 |
2502 |
2445 |
2389 |
2335 |
2282 |
|
2,2 |
2230 |
2179 |
2129 |
2081 |
2034 |
1987 |
1942 |
1898 |
1855 |
1812 |
|
2,3 |
1771 |
1731 |
1691 |
1653 |
1615 |
1579 |
1543 |
1508 |
1473 |
1440 |
|
2,4 |
1407 |
1375 |
1344 |
1313 |
1283 |
1254 |
1225 |
1197 |
1170 |
1144 |
|
2,5 |
1118 |
1092 |
1067 |
1043 |
1019 |
996 |
973 |
951 |
980 |
908 |
|
2,6 |
888 |
867 |
848 |
828 |
810 |
791 |
778 |
756 |
738 |
722 |
|
2,7 |
705 |
689 |
673 |
658 |
643 |
628 |
614 |
600 |
586 |
573 |
|
2,8 |
560 |
547 |
535 |
523 |
511 |
499 |
488 |
477 |
466 |
455 |
|
2,9 |
445 |
435 |
425 |
415 |
406 |
397 |
387 |
379 |
370 |
362 |
|
3,0 |
353 |
345 |
337 |
330 |
322 |
315 |
308 |
301 |
294 |
287 |
|
3,1 |
281 |
274 |
268 |
262 |
256 |
250 |
244 |
239 |
233 |
228 |
|
3,2 |
223 |
218 |
213 |
208 |
203 |
199 |
194 |
190 |
185 |
181 |
|
3,3 |
177 |
173 |
169 |
165 |
162 |
158 |
154 |
151 |
147 |
144 |
|
3,4 |
141 |
137 |
134 |
131 |
128 |
125 |
123 |
120 |
117 |
114 |
|
3,5 |
112 |
109 |
107 |
104 |
102 |
100 |
97 |
95 |
93 |
91 |
|
3,6 |
89 |
87 |
85 |
83 |
81 |
79 |
77 |
76 |
74 |
72 |
|
3,7 |
71 |
69 |
67 |
66 |
64 |
63 |
1 |
60 |
59 |
57 |
|
3,8 |
56 |
55 |
53 |
52 |
51 |
50 |
49 |
48 |
47 |
46 |
|
3,9 |
44 |
43 |
42 |
42 |
41 |
40 |
39 |
38 |
37 |
36 |
|
4,0 |
35 |
35 |
34 |
33 |
32 |
31 |
31 |
30 |
29 |
29 |
Таблица 8
Внутрилабораторная сходимость (r), межлабораторная воспроизводимость (R) и допустимое критическое отклонение от ПДК (CrД) для ионометрического метода определения нитратов при различных уровнях концентраций (Х) в растениеводческой продукции (мг/кг)
|
r, мг/кг |
R, мг/кг |
CrД, при n = 2 |
|
|
50 |
18 |
18 |
9 |
|
60 |
19 |
21 |
11 |
|
80 |
20 |
28 |
17 |
|
90 |
21 |
32 |
20 |
|
100 |
22 |
35 |
22 |
|
150 |
28 |
53 |
40 |
|
200 |
30 |
71 |
48 |
|
250 |
34 |
88 |
60 |
|
300 |
38 |
108 |
72 |
|
400 |
46 |
142 |
98 |
|
500 |
55 |
177 |
123 |
|
600 |
62 |
212 |
147 |
|
750 |
75 |
265 |
184 |
|
800 |
78 |
283 |
196 |
|
900 |
86 |
319 |
221 |
|
1000 |
95 |
354 |
251 |
|
1400 |
136 |
496 |
371 |
|
2000 |
177 |
708 |
487 |
|
2500 |
218 |
885 |
618 |
|
3000 |
258 |
1062 |
742 |
Метод
определения нитритов основан на экстрагировании нитритов водой, очистке
экстракта и фотометрическом измерении интенсивности окраски, образующейся при
взаимодействии нитрит-иона (
) с ароматическими аминами. Реакция
специфична для нитритов и протекает в две стадии: а) диазотирование нитрит-иона
в кислой среде сульфаниловой кислотой или ее производными, б) взаимодействие
диазосоединения с нафтиламином и образование окрашенного азосоединения, по
уравнениям реакций:
|
а) |
|
|
б) |
|
Наряду с сульфаниловой кислотой и I-нафтиламином применяется пара реагентов: амид сульфаниловой кислоты и N-(I-нафтил) этилен-диамин дигидрохлорид (НЭДА).
Нижний предел обнаружения нитрит-иона в колориметрируемом растворе - 0,02 мкг/см3, нижний предел надежного определения в анализируемой пробе - 0,5 мг/кг.
Метод определения нитратов основан на экстрагировании их водой, очистке экстракта, количественном восстановлении нитратов в нитриты на кадмиевой колонке с последующим фотометрическим измерением интенсивности окраски азосоединения, образующегося при взаимодействии нитритов с ароматическими аминами.
Нижний предел обнаружения нитрат-иона в колориметрируемом растворе - 0,03 мг/см3, нижний предел надежного определения в анализируемой пробе - 1,5 мг/кг.
В методике предлагается 2 варианта выполнения определения нитритов и нитратов в растениеводческой продукции:
Вариант I содержит следующие этапы работы: отбор и подготовка проб, приготовление растворов для анализа, подготовка кадмиевой колонки к работе, построение градуировочного графика для определения нитратов, проведение анализа проб на содержание нитритов и нитратов, обработка результатов анализа.
Вариант II в основном аналогичен первому и отличается тем, что стадия «построение градуировочного графика для определения нитратов» заменяется стадией «проверка восстановительной способности колонки»; при этом расчет содержания нитратов проводится на основе градуировочного графика по нитритам.
Оба варианта методики равноценны и выбираются по усмотрению исследователя.
ВАРИАНТ I
Пробы к анализу готовят следующим образом. Пробы растениеводческой продукции тщательно измельчают с помощью терки, мясорубки или гомогенизатора, затем отбирают пробу в количестве 20 г (при низких до 50 мг/кг содержаниях нитратов) или 10 г (в остальных случаях) с точностью до первого десятичного знака. Навеску продукта помещают в 200 - 300 см3 коническую колбу, добавляют 100 см3 теплой дистиллированной воды (50 - 65 °С) и тщательно перемешивают до однородного состояния.
3.2. Аппаратура, материалы и реактивы
Мясорубка, терка, гомогенизатор или мезгообразователь. Весы лабораторные ВЛКТР-500 или другие лабораторные весы общего назначения 4-го класса точности с наибольшим пределом взвешивания 500 г, ГОСТ 24104-80.
Весы АДВ-200 или другие лабораторные весы общего назначения 2-го класса точности с наибольшим пределом взвешивания 200 г, ГОСТ 24104-80.
Ареометры.
Баня водяная с терморегулятором.
Спектрофотометр или фотоэлектроколориметр различных марок.
Колбы конические, ГОСТ 10394-72, вместимостью 50, 100, 200, 250, 300 см3.
Колбы мерные, ГОСТ 1770-74 вместимостью 50, 100, 200, 500, 1000 см3.
Цилиндры мерные, ГОСТ 1770-74 вместимостью 25, 50, 100, 250 см3.
Стаканы химические, ГОСТ 10394-72, вместимостью 50, 500, 1000 см3.
Пипетки (бюретки, дозаторы), ГОСТ 20292-74, вместимостью 1, 5, 10, 20 см3.
Воронки стеклянные, ГОСТ 8613-75.
Палочки стеклянные
Фильтры обеззоленные, ТУ 6-09-1678-77 (перед употреблением фильтры необходимо промыть не менее 5 раз дистиллированной водой и высушить в сушильном шкафу в течение 0,5 часа при 70 - 80 °С).
Бумага универсальная индикаторная, ТУ 6-09-1181-76
Цинк металлический гранулированный (или в палочках 150´8 мм), ГОСТ 989-75.
Кадмий сернокислый (СaSO4), ГОСТ 4456-75, хч.
Цинк сернокислый 7-водный (ZnSO4×7H2O), ГОСТ 4174-77, ч.
Гексацианоферроат калия 3-водного (калий железистосинеродистый 3-водный) (К4Fe(CN)6×3H2O), ГОСТ 4207-75, чда.
Натрий азотистокислый (NaNO2), ГОСТ 4197-74, чда
Калий азотнокислый (HNO3), ГОСТ 4217-77, чда
Кислота соляная (HCl), ГОСТ 3118-77, хч (плотность 1,19 г/см3).
Аммиак водный (NН4ОН), плотность 0,90 г/см3.
Сульфаниламид (H2NC6H4SO2NH2)
Сульфаниловая кислота (NH2C6H4SO3H×2H2O), ГОСТ 5821-78
N-(I-нафтил) этилендиамин дигидрохлорид (C10H7NHCH2CH2NH2×2HCl)
I-нафтиламин (С10Н7NН2), ГОСТ 8827-74
Кислота уксусная (СН3СООН), ГОСТ 61-75, хч.
Вода дистиллированная (Н2О), ГОСТ 6709-72
Натрий тетраборнокислый (Na2B4O7×10H2O), ГОСТ 4199-76
Натрий гидроокись (NaOH), ГОСТ 4328-66
3.3.1. Приготовление растворов для осаждения белков:
3.3.1.3. Приготовление насыщенного раствора натрия тетраборнокислого: 50 г натрия тетраборнокислого, взвешенного с точностью до первого десятичного знака, растворяют в 1000 см3 теплой дистиллированной воды с температурой 50 ± 2 °C и охлаждают до температуры 20 ± 2 °С. Объем доводят до метки.
3.3.2. Приготовление аммиачного буфера рН 9,6 - 9,7: 50 см3 соляной кислоты (плотность 1,19 г/см3) растворяют в 600 см3 дистиллированной воды, добавляют 135 см3 концентрированного водного аммиака (плотность 0,9 г/см3), перемешивают. Проверяют рН раствора и доводят при необходимости до рН 9,6 - 9,7, доводят дистиллированной водой до метки.
3.3.3. Приготовление раствора соляной кислоты: 7,8 см3 соляной кислоты (плотность 1,19 г/см3) растворяют в дистиллированной воде в мерной колбе вместимостью 1 дм3 и доводят объем раствора до метки.
3.3.4.1.
Приготовление рабочего раствора нитритов: 10 см3 с точностью до 1 см3
основного стандартного раствора нитритов (3.3.4) помещают в мерную колбу вместимостью 500
см3 и доводят дистиллированной водой объем до метки. 1 см3
этого раствора содержит 2,0 мкг
. Раствор готовят в день проведения
анализа.
3.3.5.1.
Приготовление рабочего раствора нитратов: 10 см3 с точностью до 1 cм3 основного стандартного раствора нитратов (3.3.5) помещают в мерную колбу вместимостью 1
дм3 и доводят дистиллированной водой до метки. 1 см3
этого раствора содержит 10 мкг
. Раствор хранят в склянке с притертой
пробкой в холодильнике не более 1 месяца.
3.3.6. Приготовление растворов для проведения цветной реакции:
3.3.6.1. В мерную колбу на 250 см3 помещают 1,0 г сульфаниламида, взвешенного с точностью до первого десятичного знака, добавляют 200 см3 дистиллированной воды и 10 см3 концентрированной соляной кислоты. Смесь выдерживают на кипящей водяной бане до полного растворения сульфаниламида, затем раствор охлаждают и доводят до метки дистиллированной водой. Если необходимо, фильтруют.
3.3.6.2. Приготовление раствора N-(I-нафтил) этилендиамин дигидрохлорида (НЭДА): 0,1 г НЭДА, взвешенного с точностью до первого десятичного знака, растворяют в мерной колбе вместимостью 50 см3 в дистиллированной воде и доводят объем раствора до метки. Растворы 3.3.6.1 и 3.3.6.2. хранят в холодильнике в склянке из темного стекла с притертой пробкой не более 2 недель.
3.3.6.3. Приготовление раствора сульфаниловой кислоты: 1,5 г сульфаниловой кислоты, взвешенной с точностью до первого десятичного знака, растворяют в 200 см3 горячей дистиллированной воды и после охлаждения добавляют 50 см3 ледяной уксусной кислоты.
3.3.6.4. Приготовление раствора I-нафтиламина: 1,2 г I-нафтиламина, взвешенного с точностью до первого десятичного знака, растворяют в 50 см3 ледяной уксусной кислоты и доводят объем раствора дистиллированной водой до 200 см3. Растворы хранят в холодильнике в склянке из темного стекла с притертой пробкой не более 2 недель.
3.3.6.5. Приготовление раствора соляной кислоты: 445 см3 соляной кислоты (плотность 1,19 г/см3) растворяют в мерной колбе вместимостью 1 дм3 в дистиллированной воде и доводят объем раствора до метки.
3.3.7. Приготовление пористого кадмия: в химическом стакане вместимостью 1 дм3 растворяют 20 г сернокислого кадмия в 500 см3 дистиллированной воды и помещают 1 - 2 палочки металлического цинка (возможно использование гранулированного цинка). По мере образования кадмия его удаляют при помощи шпателя в другой стакан с дистиллированной водой Собранный кадмий декантацией промывают несколько раз дистиллированной водой, используя не менее 2 дм3; суспензию кадмия переносят в гомогенизатор и измельчают до получения частиц диаметром 0,3 - 0,8 мм. Содержимое гомогенизатора переносят в химический стакан, жидкость декантируют и кадмий многократно промывают (5 - 6 раз) используя по 100 - 200 см3 0,1 н. раствора соляной кислоты (3.3.3). При этом декантацией отделяют мелкую фракцию кадмия. Хранят кадмий под слоем 0,2 н. раствора соляной кислоты. В день анализа кадмий с целью удаления пузырьков газа перемешивают. Жидкость декантируют и кадмий промывают несколько раз дистиллированной водой до нейтральной реакции по универсальной индикаторной бумаге.
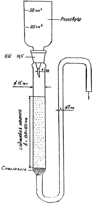
3.3.8. Подготовка кадмиевой колонки к работе: собирают систему согласно рис. 1. Сначала ее полностью заполняют водой и при открытом кране вносят суспензию пористого кадмия до тех пор, пока высота слоя кадмия не достигнет 13 - 15 см. Поверхность кадмия в колонке должна всегда быть покрыта жидкостью.
Перед началом работы и после каждого анализа кадмиевую колонку промывают последовательно 25 см3 0,1 н. раствора соляной кислоты (3.3.3), 50 см3 дистиллированной воды и 25 см3 разбавленного (1:9) аммиачного буфера (3.3.2).
3.3.9. Построение градуировочного графика для определения нитритов: в мерные колбы вместимостью 50 см3 вносят 0 (контрольный раствор), 2,5; 5,0; 10,0; 20,0; 30,0 см3 рабочего раствора нитритов (3.3.4.1), доводят до 40 мл дистиллированной водой и проводят цветную реакцию, для чего в каждую колбу добавляют по 5 см3 раствора сульфаниламида (3.3.6.1) и по 1 см3 раствора соляной кислоты (3.3.6.3), перемешивают и оставляют на 5 минут, затем добавляют по 1 см3 раствора НЭДА (3.3.6.2), доводят объем до метки дистиллированной водой, перемешивают и через 10 минут колориметрируют в кюветах толщиной 1 см при длине волны 538 нм по отношению к контрольному раствору.
ПРИНЦИПИАЛЬНАЯ СХЕМА
кадмиевой колонки
В случае использования сульфаниловой кислоты и I-нафтиламина в колбы добавляют по 1 см3 раствора сульфаниловой кислоты (3.3.6), 3 см3 раствора соляной кислоты (3.3.6.3), перемешивают и оставляют на 5 минут при комнатной температуре. Затем добавляют по 1 см3 раствора I-нафтиламина (3.3.6), перемешивают, доводят дистиллированной водой до метки и колориметрируют через 2 часа.
По полученным данным строят градуировочный график, откладывая по оси ординат значения оптической плотности; по оси абсцисс значения концентрации нитрит-иона: 0,1; 0,2; 0,4; 0,8; 1,2 мкг/см3 колориметрируемого раствора.
3.3.10. Построение градуировочного графика для определения нитратов: в стаканчики или колбы на 50 см3 вносят пипеткой 0 (контрольный раствор) 1,0; 2,0; 4,0; 8,0; 10,0 см3 рабочего раствора нитратов (3.3.5), добавляют дистиллированной воды до объема 20 см3, 5 см3 аммиачного буфера (3.3.2) и перемешивают.
Через предварительно промытую кадмиевую колонку пропускают со скоростью 5 см3/мин сначала один из полученных растворов нитратов, затем 25 см3 дистиллированной воды, собирая элюат в мерную колбу вместимостью 50 см3 и доводят объем до метки.
25 см3 полученного элюата помещают в мерную колбу вместимостью 50 см3 и проводят цветную реакцию аналогично п. 3.3.9. Величину оптической плотности растворов определяют по отношению к контрольному раствору.
По полученным данным строят градуировочный график, откладывая по оси ординат значение оптической плотности, а по оси абсцисс значения концентрации нитрат-иона: 0,1; 0,2; 0,4; 0,3 и 1,0 мкг/см3 колориметрируемого раствора.
Колбу с подготовленной по п. 3.1 пробой помещают на водяную баню (60 - 65 °С), вносят 5 см3 насыщенного раствора натрия тетраборнокислого (3.3.1.3), 5 см3 раствора сернокислого цинка (3.3.1.1) и 5 см3 раствора гексацианоферроата калия (3.3.1.2), перемешивая содержимое после добавления каждого реактива. Выдерживают при этой температуре 15 минут, затем охлаждают до комнатной температуры. Содержимое колбы количественно переносят в мерную колбу на 200 см3, ополаскивают два раза по 10 - 15 см3 теплой дистиллированной водой и объединяют с основной смесью; объем доводят водой до метки и фильтрую через бумажный фильтр (фильтрат I). Фильтрат I служит для определения нитратов и нитритов.
Примечание 1. При получении мутного фильтрата в качестве осадителей можно использовать 5 см3 раствора цинка сернокислого и 10 см3 1 н. раствора гидроокиси натрия (3.3.1.4).
Примечание 2. Перед началом анализа необходимо оценить наличие нитратов и нитритов во всех используемых реактивах (холостая проба), для чего проводят все операции по п. 3.4 без внесения продукта. Если содержимое нитратов и нитритов в «холостой пробе» превышает 0,03 мкг/дм3, то используемые в опыте реактивы следует подвергнуть дополнительной очистке (перегонке, перекристаллизации) или заменить.
3.4.1. Определение содержания нитритов в образце
В мерную колбу вместимостью 50 см3 вносят 20 см3 фильтрата 1 и проводах цветную реакцию аналогично п. 3.3.9, измеряя оптическую плотность раствора относительно смеси, состоящей из 2 объемов фильтрата 1 и 3 объемов дистиллированной воды.
3.4.1.1. Обработка результатов анализа нитритов, мг/кг продукта. Содержание нитритов (X), выраженное в мг/кг продукта (в пересчете на нитрит-ион) вычисляют по формуле (1):
где С - концентрация нитрит-иона в колориметрируемом растворе, найденная по градуировочному графику, мкг/см3;
V1 - общий объем экстракта, см3;
V2 - объем фильтрата 1, взятый на цветную реакцию, см3;
т - навеска образца, взятая на анализ, г;
V3 - объем колориметрируемого раствора, см3.
3.4.2. Определение содержания нитратов в образце
В стаканчик или колбочку
вместимостью 50 см3 вносят от 1 до 40 см3 фильтрата 1 в
зависимости от предполагаемого содержания нитратов в анализируемой продукции.
При ожидаемой концентрации от 0 до 100 мг/кг
объем фильтрата, используемого
для восстановления на колонке, составляет 40 см3, при 100 - 800
мг/кг
-
20 см3, 300 - 600 мг/кг
- 10 см3, 600 - 1000 мг/кг
- 5 см3,
свыше 1000 мг/кг
- 2 см3. К указанному
раствору добавляют 5 см3 аммиачного буфера (3.3.2), перемешивают; пропускают через кадмиевую
колонку со скоростью 5 см3/мин сначала полученный раствор образца,
затем колонку промывают дистиллированной водой, собирая элюат в мерную колбу
вместимостью 100 см3 и доводят объем до метки.
25 см3 полученного элюата помещают в мерную колбу вместимостью 100 см3 и проводят цветную реакцию аналогично п. 3.3.9, увеличив объемы реактивов для цветной реакции в 2 раза. Величину оптической плотности раствора определяют по отношению к контрольной пробе.
Для получения контрольной пробы в мерную колбу вместимостью 100 см3 вносят объем фильтрата (0,5 - 10 см3), равный тому объему, который используется для проведения цветной реакции при определении нитратов в образце. К этому фильтрату добавляют 1,0 см3 аммиачного буфера, 50 см3 дистиллированной воды и проводят цветную реакцию аналогично 3.3.9.
Например. Если для восстановления на колонке используется 10 см3 фильтрата 1 (V2 = 10 см3), объем элюата, собираемого с колонки V3 = 100 см3, объем элюата, взятый на цветную реакцию V4 = 25 см3, а объем колориметрируемого раствора V5 = 100 см3, то объем фильтрата 1, который следует использовать для получения контрольной пробы составляет 2,5 см3.
|
Объем фильтрата 1, используемый для восстановления на колонке |
Объем фильтрата 1, который следует брать для получения контрольной пробы |
|
40 см3 |
10 см3 |
|
20 см3 |
5 см3 |
|
10 см3 |
2,5 см3 |
|
5 см3 |
1,25 см3 |
|
2 см3 |
0,5 см3 |
3.4.2. Обработка результатов анализа нитратов
Содержание нитратов (X), выраженное в мг/кг продукта (в пересчете на нитрат-ион) вычисляют по формуле (2):
где С - концентрация нитрат-иона в колориметрируемом растворе, найденная по градуировочному графику, мкг/см3;
V1 - общий объем экстракта, см3;
V2 - объем фильтрата 1, взятый на колонку, см3;
V3 - общий объем элюата, см3;
m - навеска продукта, г;
V4 - объем элюата, взятый на цветную реакция, см3;
V5 - объем колориметрируемого раствора, см3.
3.5. Оценка результатов анализа
Вычисления проводят до целых
чисел, мг/кг. За окончательный результат, выполненный в одной лаборатории,
принимают среднее арифметическое (
) результатов двух параллельных
определений.
Допустимое расхождение между двумя параллельными определениями выполненными в одной лаборатории, зависит от уровня концентраций и при Р = 0,95 не должно превышать значений сходимости (r), указанных в табл. 9.
Допустимое расхождение между результатами испытаний, выполненных в 2-х разных лабораториях, зависит от уровня концентраций и при Р = 0,95 не должно превышать значений воспроизводимости (R), указанных в табл. 9.
При сравнении аналитических результатов с величиной ПДК (табл. 1) используется значение СrД. Если разница обнаруженной концентрации и величина ПДК (или сертификата) не превышает значения СrД, представленной в табл. 9, можно принять, что при доверительной вероятности P = 0,95 определяемая концентрация сопоставима c ПДК, если полученная разница превышает СrД, обнаруженную концентрацию нитратов в продукте следует считать не соответствующей уровню ПДК.
3.6. Регенерация кадмия
По окончании проведения анализа необходимо промыть колонку с кадмием 25 см3 раствором соляной кислоты, приготовленной по п. 3.3.3, 50 см3 дистиллированной воды, 25 см3 разбавленного (1:9) аммиачного буфера (3.3.2) и вновь 50 см3 дистиллированной воды.
Таблица 9
Внутрилабораторная
сходимость (r), межлабораторная воспроизводимость (R) и допустимое критическое отклонение от
ПДК (СrД) для фотометрического метода определения нитратов при различных
уровнях концентраций (
) в растениеводческой продукции*)
|
r |
R |
CrД при n = 2 |
|
|
50 |
17 |
36 |
24 |
|
60 |
18 |
41 |
28 |
|
80 |
21 |
52 |
35 |
|
90 |
22 |
57 |
39 |
|
100 |
23 |
62 |
43 |
|
150 |
29 |
86 |
59 |
|
200 |
35 |
109 |
75 |
|
250 |
39 |
134 |
91 |
|
300 |
46 |
153 |
106 |
|
400 |
58 |
198 |
133 |
|
500 |
69 |
238 |
165 |
|
600 |
81 |
269 |
230 |
|
750 |
97 |
332 |
231 |
|
800 |
104 |
341 |
235 |
|
900 |
116 |
376 |
259 |
|
1000 |
126 |
421 |
292 |
|
1400 |
183 |
588 |
407 |
|
2000 |
241 |
745 |
515 |
|
2500 |
298 |
894 |
617 |
|
3000 |
355 |
1041 |
717 |
*) Для получения величин r, R, СrД для концентраций, отличных от указанных в табл. 9, можно использовать уравнения:
r
= 11,32 +0,116 I; ×
![]()
В случае появления пузырьков газа в колонке, снижения скорости элюации вследствие уплотнения кадмия или длительного перерыва в работе следует перенести кадмий из колонки в химический стакан и залить 100 - 200 см3 раствора соляной кислоты (3.3.3). Перед использованием кадмий декантацией промывают раствором соляной кислоты (3.3.3) 3 - 4 раза по 200 см3, затем несколько раз дистиллированной водой до нейтральной реакции по универсальной индикаторной бумаге. При промывании следует отделять декантацией мелкие частицы кадмия, чтобы избежать в процессе работы чрезмерного уплотнения колонки и снижения скорости элюации.
Примечание: отделённые мелкие частицы кадмия следует хранить в вытяжном шкафу в склянке с притертой пробкой под слоем воды.
ВАРИАНТ II
Аналогично варианту I, выполняются разделы 1, 2, 3, 4, 5. В разделе 3.3. пункт 3.3.10 не выполняется; его заменяют пунктом 3.7 «Проверка восстановительной способности колонки» (см. ниже). В разделе 3.4 пункт 3.4.2.1 не выполняется, его заменяют пунктом 3.7.1. Расчет содержания нитратов по варианту II (см. ниже).
3.7. Проверка восстановительной способности кадмиевой колонки
В стаканчик или колбочку вместимостью 50 см3
вносят пипеткой 20 см3 рабочего раствора нитрата (3.3.5.1), концентрацией 10 мкг
в см3
и 5 см3 аммиачного буфера (3.3.2)
и перемешивают.
Через предварительно регенирированную кадмиевую колонку пропускают со скоростью 5 см3/мин сначала 25 см3 приготовленного раствора азотнокислого калия, когда резервуар над колонкой опустеет, его промывают два раза, используя каждый раз по 15 см3 воды.
После того, как последняя порция воды стечет в колонку, полностью заполняют резервуар водой. Элюат собирают в мерную колбу вместимостью 100 см3 и доводят объем до метки. 45 см3 полученного элюата помещают в мерную колбу вместимостью 100 см3 и проводят цветную реакцию аналогично п. 3.3.9. Величину оптической плотности растворов определяют по отношению к холостому раствору.
Если концентрация нитрита в элюате по градуировочному графику на нитриты (п. 3.3.9) будет ниже 0,70 мкг нитрита в 1 см3 колориметрируемого раствора (т.е. 95 % теоретического значения), то редукционную колонку нельзя использовать для анализа.
В этом случае кадмий необходимо перенести в химический стакан и залить на ночь раствором соляной кислоты (3.9.3), промыть водой и подготовить колонку по п. 3.3.8.
3.7.1. Расчет содержания нитратов по варианту II
Если восстановительная способность кадмиевой колонки 95 %, то количество нитратов в образце (X), выраженное в мг/кг продукта (в пересчете на нитрат-ион) может быть рассчитано по формуле (3)
где 1,35 - коэффициент пересчета нитритов в нитраты;
С - концентрация нитритов, мкг/см3 колориметрируемого раствора, рассчитанная по градуировочному графику, полученному при калибровке стандартных растворов по п. 3.3.9;
т - навеска продукта;
V1 - общий объем экстракта, см3;
V2 - объем фильтрата, взятый на колонку, см3;
V3 - общий объем элюата, см3;
V4 - объем элюата, взятый на цветочную реакцию, см3;
V5 - общий объем колориметрируемого раствора, см3.
|
_________________________________________________________________________ |
|
(хозяйство, бригада, отделение, номер поля, теплица, блок) |
|
________________________________________________________________________ |
|
(район, область) |
|
Вид отбираемой продукции ___________________________ |
|
Культура, сорт ______________________________________ |
|
Фаза вегетации ______________________________________ |
|
Площадь, га _______ Партия, т ________________________ |
|
Тип хранилища (способ хранения) _____________________ |
|
Номер пробы _______________________________________ |
|
Дата отбора пробы __________________________________ |
|
Ответственный за отбор проб _________________________ |
|
Утверждаю Гл. агроном _____________ «__» __________ 19_____г. |
(колхоз, совхоз, район)
|
№№ |
Дата отбора |
Отделение, бригада |
Севооборот, поле |
Теплица, блок |
Площадь участка, га |
Культура, сорт |
Масса пробы, кг |
Использование азотных удобрений |
Какой раз отобран образец с участка |
Примечание |
|
|
Форма и суммарная доза, кг д.в./га |
Дата последней подкормки и доза, кг д.в./га |
||||||||||
|
1 |
2 |
3 |
4 |
5 |
6 |
7 |
8 |
9 |
10 |
11 |
12 |
Подписи:
Председатель комиссии ______________ Члены комиссии _________________
_________________
_________________
СОДЕРЖАНИЕ