МИНИСТЕРСТВО ГЕОЛОГИИ СССР
ВСЕСОЮЗНЫЙ
НАУЧНО-ИССЛЕДОВАТЕЛЬСКИЙ ИНСТИТУТ
ГИДРОГЕОЛОГИИ И ИНЖЕНЕРНОЙ ГЕОЛОГИИ (ВСЕГИНГЕО)
ОРГАНИЗАЦИЯ И ПРОИЗВОДСТВО НАБЛЮДЕНИЙ
ЗА РЕЖИМОМ УРОВНЯ, НАПОРА И ДЕБИТА
ПОДЗЕМНЫХ ВОД
(методические рекомендации)
МОСКВА - 1983
МИНИСТЕРСТВО ГЕОЛОГИИ СССР
Всесоюзный научно-исследовательский институт
гидрогеологии
и инженерной геологии (ВСЕГИНГЕО)
ОРГАНИЗАЦИИ И ПРОИЗВОДСТВО НАБЛЮДЕНИЙ
ЗА РЕЖИМОМ УРОВНЯ, НАПОРА И ДЕБИТА
ПОДЗЕМНЫХ ВОД
(методические рекомендации)

Москва - 1983
Методические рекомендации включают системное описание приемов и правил организации изучения режима уровня, дебита и напоров подземных вод гидрогеологическими режимными партиями. Впервые сформулированы уточненные задачи наблюдений применительно к нуждам и требованиям Мингео СССР. Охарактеризованы общие принципы размещения наблюдательных сетей, требования к выбору их мест заложения и рациональной конструкции наблюдательных скважин. Специально рассматриваются особенности изучения режима подземных вод в условиях эксплуатации подземных вод для водоснабжения, мелиорации земель, гидротехнического строительства и т.д. Предлагаются практические приемы эксплуатации наблюдательных сетей и контроля качества данных наблюдений, а также современные методы первичной и вторичной обработки данных наблюдений за режимом подземных вод. Работа призвана рационализировать и унифицировать весь комплекс изучения режима подземных вод в системе Мингео СССР и рассчитана в первую очередь на специалистов гидрогеологических режимных партий. Она окажется полезной также и для лиц, связанных с изучением режима подземных вод для различных целей.
Составители А.Б. Лебедев, С.М. Семенов, Ю.Б. Чалидзе
Научный редактор д.г. - м.н. А.А. Коноплянцев
Одобрены Управлением Гидрогеологических работ Мингео СССР 6 мая 1983 г.
Всесоюзный научно-исследовательский институт гидрогеологии и инженерной геологии (ВСЕГИНГЕО), 1983
В настоящее время в системе Мингео СССР действуют III гидрогеологических партий по изучению режима подземных вод. Деятельность партий направлена на решение основных гидрогеологических задач в связи с решением проблем водоснабжения, мелиорации земель, гидротехнического и городского строительства и т.д.
Объединяющим началом в деятельности всех гидрогеологических режимных партий является изучение общих для всех районов СССР научных проблем формирования режима и баланса подземных вод, разработка методов прогноза для решения задач управления режимом подземных вод и обоснование работ по контролю за охраной подземных вод как одному из важнейших элементов окружающей природной среды. Ответственное направление в работе режимных партий - получение и подготовка данных для ведения государственного учета вод и Государственного водного кадастра.
Опорная наблюдательная сеть Мингео СССР насчитывает около 28 тыс. наблюдательных точек. В большинстве своем она состоит из высоко репрезентативных наблюдательных скважин, имеющих, как правило, достаточно продолжительный период наблюдений. Оценка современного состояния в области практической организации изучения режима подземных вод свидетельствует о необходимости ее усовершенствования и развития.
Наблюдательные сети нуждаются в пересмотре и расширении, число гидрогеологических режимных партий целесообразно увеличить до 160 - 170 для того, чтобы каждая партия изучала режим подземных вод в пределах отдельной административной области. Эксплуатация существующей наблюдательной сети, особенно организация ее в новых районах применительно к запросам новых направлений в изучении режима подземных вод (Государственный водный кадастр, урбанизация, мониторинг и др.), остро ставит вопрос о необходимости разработки и составления нормативно-методических документов, регламентирующих службу режима подземных вод на стадии постановки и организации режимных наблюдений.
В период первых пятилеток и бурного развития народного хозяйства были созданы разрозненные методические указания применительно к нуждам гидротехнического строительства, частично мелиорации и водоснабжения. Именно в это время в составе Единой гидрометслужбы СССР были организованы первые гидрогеологические станции.
Послевоенный период характеризуется широким развитием сети гидрогеологических станций, ростом числа наблюдательных точек, улучшением их технического состояния и углублением задач исследований. Именно в это время (1954 г.) были опубликованы «Методическое руководство по изучению режима подземных вод» (редакторы М.Е. Альтовский и А.А. Коноплянцев) и «Инструктивные указания по организации и производству наблюдений за режимом подземных вод» (автор В.Н. Попов, 1955 г.). Указанные методические документы не переиздавались и по некоторым позициям к настоящему времени значительно устарели. Многочисленные методические руководства и рекомендации, появившиеся в 60-х и 70-х годах, касались преимущественно отдельных направлений исследований и не затрагивали важных вопросов унифицированного подхода к изучению режима подземных вод производственными организациями Мингео СССР. Это обстоятельство тормозит получение сопоставимых исходных данных, не обеспечивает их высокого качества и препятствует быстрому внедрению в практику передовых методов обработки гидрогеологической информации.
В настоящих методических рекомендациях впервые обосновываются и формулируются задачи изучения режима подземных вод производственными подразделениями Мингео СССР, что, несомненно, будет способствовать устранению дублирования работ других ведомств и организаций. Большое внимание уделено слаборазработанному вопросу о планировании и размещении наблюдательных сетей.
В существующей методической литературе почти нет информации, посвященной организационным основам изучения режима подземных вод на местах и современным методам обработки материалов наблюдений. Нет информации о рациональных конструкциях наблюдательных скважин, несмотря на то, что последние занимают видное место в гидрогеологическом производстве. Именно поэтому указанные вопросы нашли в методических рекомендациях довольно подробное освещение.
1.1. Систематические наблюдения за режимом подземных вод (уровнем, напором, расходом, температурой, химическим, гидробиологическим и газовым составом) осуществляются в системе Мингео СССР специальными комплексными гидрогеологическими режимными партиями, которые проводят свои работы в соответствии с планами, утвержденными вышестоящей организацией. Партии входят в состав гидрогеологических экспедиций, а при их отсутствии подчиняются непосредственно производственному геологическому объединению, на территории которого проводят свои работы.
Территории деятельности партий определяются общим планом их размещения, утвержденным Мингео СССР, и не подлежат изменению без согласования с ВСЕГИНГЕО. Оптимальной территорией деятельности одной партии является административная область. Образование новых партий, их ликвидация или реорганизация производится по согласованию с ВСЕГИНГЕО.
1.2. Основными многолетними направлениями всей режимной службы Министерства геологии СССР являются следующие:
- изучение режима, баланса и ресурсов подземных вод в естественных условиях и в условиях их изменения под влиянием хозяйственной деятельности;
- контроль за уровнем загрязнения подземных вод по физическим, химическим и гидробиологическим показателям;
- осуществление государственного учета подземных вод и подготовка данных для ведения Государственного водного кадастра по разделу «подземные воды».
1.3. Основными задачами наблюдений за режимом подземных вод, рассмотренными и утвержденными научным советам АН СССР по инженерной геологии и гидрогеологии в ноябре 1981 г., являются следующие:
1.3.1. Региональное изучение условий и закономерностей формирования естественного и слабонарушенного режима основных типов подземных вод в целях определения и прогноза изменения ресурсов подземных вод по количественным и качественным показателям, разработки мероприятий по использованию подземных вод и борьбе с их вредным влиянием, а также в целях развития теории гидрогеологической науки. Задача включает:
- выявление и изучение факторов и условий формирования режима подземных вод по количественным и качественным показателям;
- установление региональных и локальных закономерностей изменения режима и баланса подземных вод по количественным и качественным показателям;
- районирование территории по особенностям формирования режима подземных вод;
- разработку и составление регионального прогноза режима уровня и элементов баланса и качества подземных вод;
- изучение закономерностей влияния землетрясений на режим подземных вод в целях выявления гидрогеологических предвестников землетрясений как основы для составления прогнозов землетрясений.
- уточнение условий и источников формирования ресурсов подземных вод и гидрогеологических параметров по данным эксплуатации подземных вод с учетом многолетних колебаний их уровня;
- переоценку запасов подземных вод по данным режимных наблюдений в условиях интенсивной эксплуатации;
- изучение влияния интенсивной эксплуатации на поверхностный сток и на изменение окружающей среды (с учетом экологических, инженерно-геологических и других аспектов);
- организацию наблюдений и получение информации в целях развития теории формирования эксплуатационных запасов подземных вод;
- составление региональных прогнозов изменения гидрогеологических условий под влиянием интенсивной эксплуатации подземных вод.
1.3.3. Изучение режима подземных вод как основы для осуществления контроля по охране подземных вод от загрязнения и истощения, включая:
- изучение техногенных факторов и условий загрязнения подземных вод и закономерностей развития загрязнений во времени и пространстве;
- прогноз изменения качества подземных вод под влиянием хозяйственной деятельности человека;
- оценку и прогноз истощения запасов подземных вод в региональном плане.
1.3.4. Региональное изучение закономерностей влияния мелиоративных мероприятий на режим, баланс и ресурсы подземных вод, включая:
- исследование изменений режима, ресурсов и баланса подземных вод под влиянием орошения и осушения в пределах территории и всего водосбора;
- оценку влияния мелиорации на количество и качество подземных вод в пределах водосбора в зависимости от направленности мелиорации, методов ее реализации и площади мелиорируемых территорий;
- оценку влияния мелиорации на интенсивность и глубину водообмена в различных гидрогеологических условиях;
- районирование территорий по условиям формирования режима и баланса подземных вод для целей их прогноза в нарушенных мелиорацией условиях с учетом различных методов мелиорации;
- обоснование гидрогеологических моделей мелиорируемых территорий, определение гидрогеологических параметров водовмещающей среды и ее граничных условий;
- составление региональных прогнозов изменения режима, ресурсов и баланса подземных вод и экологических последствий под влиянием мелиорации.
1.3.5. Региональное изучение влияния горнодобывающих предприятий на изменение гидрогеологических условий прилегающих территорий, включая:
- изучение естественных и техногенных факторов и условий формирования режима подземных вод в зоне влияния горнорудных предприятий;
- выявление и изучение закономерностей изменения режима и ресурсов подземных вод по количественным и качественным показателям;
- изучение формирования и прогноз развития депрессионных воронок с учетом взаимодействия с другими искусственными факторами (водозаборами, мелиорацией и т.д.);
- оценку состояния и составление долгосрочных прогнозов изменения гидрогеологических условий и связанных с ними нарушений экологического равновесия в зонах влияния горнорудных предприятий.
1.3.6. Региональное изучение режима подземных вод урбанизированных территорий в целях оценки влияния факторов городской застройки на изменение гидрогеологических условий освоенных и прилегающих территорий, включая:
- изучение природных и техногенных факторов и условий формирования режима подземных вод урбанизированных территорий;
- выявление и оценку закономерностей изменения режима и баланса подземных вод урбанизированных и прилегающих территорий по количественным и качественным показателям;
- районирование территории города по условиям формирования режима подземных вод;
- разработку расчетных моделей для определения элементов баланса и прогноза режима подземных вод;
- составление долгосрочных прогнозов изменения уровней, ресурсов и качества подземных вод как единых компонентов геологической среды.
- изучение закономерностей формирования режима и баланса подземных вод в зонах влияния крупных водохозяйственных мероприятий;
- составление региональных прогнозов изменения режима, баланса и ресурсов подземных вод, а также возможных экологических последствий под влиянием водохозяйственных мероприятий.
1.4. В отличие от организаций Министерства геологии СССР, которые изучают режим подземных вод в региональном плане в целях выявления закономерностей формирования и изменения ресурсов подземных вод под влиянием естественных факторов и хозяйственной деятельности, другие ведомства и организации изучают режим подземных вод применительно к своим специфическим задачам. Эти задачи направлены на решение конкретных вопросов проектирования и эксплуатации хозяйственных объектов (определение норм полива, прогноз водопритоков в горные выработки, вычисление оптимального режима водозаборов, определение расчетных уровней грунтовых вод и прогноз подтопления для проектирования, строительства и эксплуатации промышленных и гражданских сооружений, подпора, подтопления и оценок утечек из водохранилища, изучение режима и охрана минеральных вод от истощения и загрязнения).
Организация ведомствами исследований режима подземных вод с учетом специфики задач позволит избежать ненужного дублирования работ и обеспечит комплексность и преемственность в изучении режима подземных вод в стране.
2.1. Общие требования:
- обеспечение получения исходных данных о режиме и балансе подземных вод для типовых природных и водохозяйственных условий в целях изучения процессов и закономерностей формирования количества и качества подземных вод в естественных и нарушенных условиях;
- обеспечение информацией о качественном и количественном состоянии подземных вод для контроля за изменением экологических условий территорий в связи с хозяйственной деятельностью;
- получение возможности широкого использования наблюдений за режимом подземных вод для прогнозов их режима и баланса, оценки и уточнения ресурсов, условий эксплуатации и решения других задач в области регулирования режимом подземных вод в стране.
В соответствии с этими требованиями наблюдательная сеть строится и размещается на местности в типовых природных и антропогенных условиях на основе информации о геологическом строении, геоморфологии, гидрологии, метеорологии и гидрогеологии территорий, а также с учетом оценки искусственных факторов.
Кроме этих условий учитываются задачи, которые стоят перед гидрогеологической службой для различных отраслей народного хозяйства, а также требования существующих методов оценки и прогноза баланса подземных вод и их режима. Большое влияние на размещение наблюдательных скважин оказывает существующая и ожидаемая структура потоков подземных вод, в том числе расположение зон резкой горизонтальной и вертикальной деформации токов воды.
2.2. Наблюдательные сети размещаются на основе типизации и гидрогеологического районирования территории по условиям формирования режима и баланса подземных вод с учетом естественных и искусственных режимообразующих факторов.
Информация по наблюдательным сетям должна быть достаточной для составления на конкретных участках территории баланса вещества и энергии в целях выявления процессов и механизмов, приводящих к формированию закономерностей режима уровня, температуры и химического состава вод.
Наблюдательная точка является репрезентативной, если она отражает типичные для данного гидрогеологического района природные и водохозяйственные условия и обеспечивает характеристику режима подземных вод окружающего пространства с точностью до ошибки принятых методов экстраполяции или интерполяции.
2.3. По своему назначению наблюдательные сети подразделяются на опорные и специальные. Опорные наблюдательные сети предназначены для регионального многолетнего изучения типичных закономерностей формирования элементов режима и баланса подземных вод как в естественных, так и нарушенных условиях на больших территориях. Пункты наблюдений (скважины, балансовые участки и т.п.) опорной наблюдательной сети могут быть перенесены или закрыты в исключительных случаях.
Специальные наблюдательные сети предназначены для локального изучения режима и баланса подземных вод в связи с решением конкретных задач (например, определение гидрогеологических параметров - коэффициентов уровнепроводности, пьезопроводности, гравитационной или упругой водоотдачи пород и водоносных пластов, проводимости последних, сопротивления ложа водотоков, коэффициентов фильтрации слабопроницаемых пород и т.п.). Так как определения питания и разгрузки грунтовых вод (т.е. инфильтрации осадков, испарения, подземного стока, восходящего перетекания напорных вод и т.п.) выполняются путем расчетов по режимным данным, то перечисленные задачи выполняются ежегодно в течение всего срока существования той или иной наблюдательной сети.
2.4. Принципы размещения наблюдательных сетей подробно рассмотрены в литературе, посвященной каждому из конкретных методов: методу конечных разностей аналитических решений задач неустановившейся фильтрации, методу уравнений связи и т.п.
В состав опорной наблюдательной сети обычно входят:
а) региональные створы наблюдательных скважин, закладываемые в типичных условиях (вкрест простирания гидрогеологических зон) на больших пространствах; эти створы в целях расчета элементов баланса подземных вод могут дополняться в репрезентативных условиях неглубокими скважинами на небольших (100 - 200 м) расстояниях от основных скважин, которые образуют расчетные участки;
б) локальные створы наблюдательных скважин для детального изучения режима и баланса подземных вод, включая исследование нарушенного режима;
в) «конверты» и кусты таких же скважин, служащие соответственно для расчета элементов баланса грунтовых вод при двухмерном в плане движения и исследования перетекания вод по вертикали, а также для оценки баланса межпластовых водоносных горизонтов;
г) гидрометрические водомерные посты и створы на реках, каналах и озерах для наблюдения за горизонтами воды и расходами водотоков, где отсутствует опорная наблюдательная сеть Госкомгидромета СССР;
д) ключевые балансовые участки и балансовые площадки, на которых режимные наблюдения за подземными водами дополняются экспериментальными наблюдениями за основными элементами водного баланса (осадками, водоподачей на орошение, дренажным стоком, суммарным испарением, влагозапасами в зоне аэрации и т.п.), необходимыми для исследования механизмов и процессов формирования режима и баланса подземных вод.
2.5. Скважины специализированной наблюдательной сети, предназначенные для детального изучения локальных закономерностей главным образом нарушенного режима подземных вод в связи с обоснованием тех или иных проектов строительства водного хозяйства, размещаются на местности (как и расчетные участки региональной сети) в строгом соответствии с гидродинамической структурой потоков подземных вод.
Если главная задача опорной сети - повсеместное изучение зональных закономерностей режима и баланса подземных вод, то главная задача специализированной сети - изучение местного (локального) нарушения режима и баланса подземных вод под воздействием антропогенных факторов.
В состав специализированной наблюдательной сети входят:
а) короткие створы наблюдательных скважин (с небольшим расстоянием между расчетными скважинами - 50 - 100 - 200 - 300 м) для определения по режимным данным гидрогеологических параметров, проведения детальных расчетов элементов баланса подземных вод в наиболее сложных гидрогеологических условиях и воздействия искусственных факторов в естественных и в нарушенных условиях;
б) одиночные наблюдательные скважины для экстраполяции расчетных показателей режима и баланса подземных вод по площади;
в) плановые группы из одиночных наблюдательных скважин, позволяющие производить расчеты элементов баланса подземных вод в нарушенных условиях по отдельным площадям с учетом распределения и состава искусственных факторов (например, в области развития депрессий зеркала подземных вод в районе крупного водозабора и т.п.);
г) опытные балансовые участки, на которых должна быть создана детальная сеть наблюдательных скважин, система экспериментальных установок для наблюдения за элементами общего водного баланса, баланса подземных вод, а также за работой тех или иных сооружений (дренажей, эксплуатационных скважин и т.п.);
д) гидростворы и водомерные посты на реках, каналах, водохранилищах (при отсутствии таковых в сети Госкомгидромета СССР, Минводхоза СССР и т.д.).
2.6. В соответствии с основными типами гидродинамических потоков подземных вод и типовых условий формирования баланса подземных вод наблюдательные точки размещаются на всех основных геоморфологических элементах - междуречьях, склонах, террасах и приречных участках. Конкретное размещение наблюдательных скважин определяется схемой формирования потоков подземных вод и расчетным методом, применяемым для интерпретации режимных наблюдений.
Общепринятым является расположение скважин в виде створов для изучения одномерного в плане потока или в виде квадратной сетки (конверта) для наблюдений потоков значительной протяженности, когда в природе отмечается двухмерное в плане движение подземных вод. Число скважин в створе 2 - 3, а в конверте - 4 - 5.
Общим требованием является расположение створов вдоль потока подземных вод нормально к прямолинейным участкам водотоков и водоемов. Учитывая корреляцию между земным рельефом и пьезометрической поверхностью подземных вод, наблюдательные скважины в створе следует располагать перпендикулярно горизонталям (изогипсам) рельефа, что облегчит заложение скважин на местности. Конверт скважин располагается в центральной части изучаемого планового потока. Створы скважин в конверте в случае сложной конфигурации планового потока могут располагаться в виде неправильного (неперпендикулярного) креста.
Расстояния между наблюдательными скважинами в створах и конвертах могут варьировать от 100 м до нескольких километров в зависимости от типа и выдержанности гидрогеологических условий и геологического разреза.
Оптимальное расстояние между скважинами определяется необходимостью получения достаточной разности их уровней в направлении движения подземных вод, обеспечивающей минимальные ошибки при расчетах инфильтрации, бокового оттока и гидрогеологических параметров, вызываемые неточностью замеров уровней. Так, при ошибках в определении разностей уровней 5 - 10 % и точности замеров ± 1 см необходимая величина разностей уровней в соседних скважинах должна быть не менее 0,2 м /17, 27/.
Такое же требование должно предъявляться и к расстоянию между наблюдательными скважинами в конверте. Конкретное расстояние между наблюдательными скважинами на местности определяют расчетным путем с использованием адекватной математической или аналоговой модели.
Учитывая, что литологическая
неоднородность потока подземных вод существенно влияет на достоверность всех
расчетов, следует стремиться к минимально возможному расстоянию между
наблюдательными скважинами. Важным является размещение на местности так
называемых граничных наблюдательных скважин. Они должны располагаться так,
чтобы не попасть в зону резкой деформации потока. Для этого ближайшую к
водотоку или водоему скважину располагают на расстоянии, равном 1,5 - 2,0
мощностям водоносного горизонта. Ориентировочное расстояние между
наблюдательными скважинами можно назначать, исходя из рекомендованного в работе
/17/ соотношения
, где a,
- уровнепроводность водоносного горизонта; t
- время учитываемого изменения уровня
грунтовых вод. В случаях необходимости детального
знания гидродинамической структуры потока для выполнения ответственных расчетов
и прогнозов рекомендуется проводить гидродинамическую съемку, используя при
этом зондировочное бурение и геофизические исследования.
2.7. Для определения взаимосвязи водоносных горизонтов по вертикали и изучения режима межпластовых и более глубоких напорных вод также должна закладываться сеть наблюдательных скважин путем создания системы ярусно расположенных скважин с оборудованием фильтров на каждый изучаемый водоносный горизонт. Ярусные скважины располагаются друг от друга на минимально возможном расстоянии. Созданию наблюдательной сети предшествует районирование по типам взаимосвязи грунтовых вод с напорными или по условиям взаимосвязи напорных вод между собой. Для толщ, образующих слоистую водоносную систему, при определении схемы размещения наблюдательных скважин целесообразно провести разделение толщи на слабопроницаемые и более проницаемые слои. Чередование таких слоев дает тот или иной тип разреза, определяющий требования к размещению наблюдательной сети /16, 17, 26, 29/.
В полуограниченных потоках первый куст ярусных скважин с фильтрами на разные водоносные горизонты располагают вблизи уреза водотока или водоема. Второй и третий кусты ярусных скважин с фильтрами на разные водоносные горизонты удаляются от граничного куста на такое расстояние, чтобы разность напоров в смежных по длине створа скважинах на один и тот же водоносный горизонт была не менее 1,0 м.
Направление створов наблюдательных кустов должно совпадать с главным направлением движения основных водоносных горизонтов. В каждом региональном поперечнике или створе наблюдательных скважин должно быть не менее трех кустов ярусных скважин.
Каждый куст наблюдательных скважин должен состоять из нескольких рядом (2 - 5 м от центра группы) расположенных скважин с фильтрами, размещаемыми в верхних частях соответствующих водоносных горизонтов. Первая скважина закладывается на грунтовые воды, верх фильтра располагается ниже многолетнего минимального уровня, вторая скважина - с фильтром вблизи кровли в первом межпластовом водоносном горизонте и так далее на все выделенные для изучения водоносные горизонты.
Количество кустов ярусно расположенных скважин определяется числом типовых участков, выделяемых по однородности характера взаимосвязи водоносных горизонтов. Число наблюдаемых водоносных горизонтов определяется задачей исследований /28, 39, 53/.
2.8. Кусты ярусно расположенных скважин закладываются для изучения как естественного, так и нарушенного режима подземных вод. Расположение кустов скважин во многом определяется плановым размещением гидравлических границ потока, локализацией факторов техногенеза, а также принятой схематизацией условий фильтрации /23, 24, 39/.
Для изучения режима подземных вод слоистых толщ с различной водопроводимостью отдельных слоев эффективным является заложение наблюдательных скважин с фильтрами на уровне каждого слоя. Такая конструкция скважины обеспечивает получение осредненного значения пьезометрического уровня для всей толщи /16, 17, 23/.
3.1. Общие требования ко всем наблюдательным скважинам следующие:
- обеспечение производства замеров уровня или напора подземной воды на сравнительно небольшом интервале мощности водоносного горизонта для того, чтобы данные об уровне или напоре можно было отнести к средней точке этой мощности;
- выбор конструкции скважины, обеспечивающей надежную затрубную изоляцию изученного горизонта от выше- и нижерасположенных смежных водоносных горизонтов;
- выбор при малой водоотдаче водоносных пород конструкции скважины, обеспечивающей минимально возможный объем столба воды в скважине для исключения отставания во времени реакции уровня воды в скважине на изменение напора в водоносном горизонте, что может быть достигнуто уменьшением диаметра скважины до 89 мм;
- обеспечение возможности замеров уровня, температуры воды и отбора проб воды на химический анализ стандартной аппаратурой;
- надежное оборудование наземной части скважины для исключения затрубного проникновения поверхностных вод в скважину, замерзания воды зимой, обеспечение беспрепятственной установки дебитометра, манометра, запирающегося вентиля, оголовка с замком и т.п.;
- обязательное оборудование (для удлинения срока службы наблюдательных скважин) отстойника с пробкой внизу, препятствующей подтоку вод и заилению скважины.
3.2. Глубина наблюдательных скважин помимо общегидрогеологических условий определяется мощностью зоны аэрации и водоносного горизонта, а для грунтовых вод - амплитудой колебания уровня воды в горизонте и его гидравлической связью с нижележащими водоносными горизонтами.
3.3. Типовая наблюдательная скважина состоит из фильтровой колонны, отстойника с пробкой, надфильтровой трубы, оголовка со специально оборудованной крышкой, фильтра и глиняного или цементного замка (рис. 1). Для несцементированных пород фильтровая колонна служит для крепления стенок скважины.
3.4. Для песчаных грунтов рекомендуемый диаметр скважины может быть не более 127 мм; для глинистых грунтов в связи с необходимостью оборудования песчано-гравийной засыпки по межтрубному пространству диаметр скважин должен быть равен 273 - 377 мм.
3.5. Обязательной при оборудовании скважин является их планово-высотная привязка. Нивелируется верх обсадной трубы (марка) и устье скважины (поверхность земли). От марки в дальнейшем измеряются уровни подземных вод. Глубины до воды отсчитываются от отметки устья скважины.
Плановая привязка имеет своей целью вычисление координат наблюдательной точки. Рекомендуется ежегодная (особенно в условиях техногенеза) проверка высотных отметок. При поверочной нивелировке в качестве исходных должны использоваться одни и те же реперы.
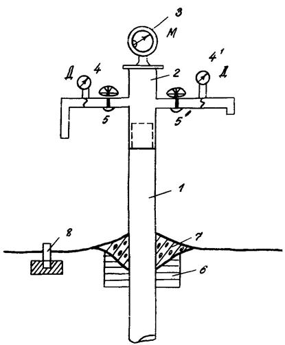
3.6. Фильтр является наиболее ответственной частью наблюдательной скважины. Если подземные воды залегают на глубине менее 10 м, то фильтр устанавливают на сплошной колонне труб, при глубине более 10 м - на сальнике (рис. 2). Фильтр состоит из трех частей: отстойника, рабочей части и надфильтровой трубы. На основании опыта работы режимной сети оптимальной является длина рабочей части не более 2 м, а отстойника - 1 м. Верхняя часть надфильтровой трубы при установке фильтра на сальнике должна иметь приспособление для спуска фильтра и находиться на 1 - 2 м выше башмака обсадной колонны.
3.7. Фильтры наблюдательных скважин бывают сетчатыми (для разнозернистых песков), гравийно-засыпными (для глин и плывунных грунтов), щелевыми (для галечниковых пород). Трубчатый каркас может иметь щелевую или круглую перфорацию. Скважность трубчатого каркаса может составить 15 - 20 %. При скважности не менее 12 % фильтры работают удовлетворительно. Скважность щелевого каркаса может составлять 50 %. В проволочных фильтрах на стержневом каркасе фильтрующее покрытие выполняется путем спиральной намотки проволоки диаметром 2 - 4 мм. В сетчатых фильтрах на трубчатых и стержневых каркасах сетка накладывается на проволочную спираль диаметром 2 - 3 мм. Для фильтров применяют сетки галунного, киперного и квадратного плетения. Размер сетки зависит от размеров частиц водоносного грунта. Для изготовления фильтров следует применять сетку из латуни, винипласта и капрона или другого антикоррозионного материала.
Рис. 1. Пример конструкции наблюдательной скважины:
1 - фильтр; 2 - гравийная обсыпка фильтра; 3 - обсадная труба; 4 - бетонно-глиняный замок; 5 - грунтовая насыпка; 6 - крышка с замком; 7 - отметка верха (марки) трубы; 8 - отметка поверхности земли; 9 - уровень грунтовых вод; 10 - водоносный горизонт; 11 - отстойники; 12 - водоупор; 13 - пробка отстойника; Н - отсчет уровня грунтовых вод; n - поправка; h - уровень грунтовых вод от поверхности земля, м
Рис. 2. Конструкция скважины с установкой фильтра на сальнике:
1 - отстойник; 2 - фильтр на сальнике; 3 - надфильтровая труба; 4 - сальник; 5 - уровень грунтовых вод; 6 - замковая муфта; 7 - песок; 8 - замок из глины; 9 - ограда; 10 - оголовок
3.8. Для организации наблюдений за режимом агрессивных грунтовых вод рекомендуется применять антикоррозийные фильтры из керамических и полиэтиленовых блоков. Они обладает также меньшей кольматацией и менее подвергаются зарастанию, хотя и требуют более осторожного обращения при транспортировке и установке. Антикоррозийные фильтры могут изготавливаться из перфорированных полиэтиленовых труб, обтянутых пластмассовой сеткой, стекловолокном или пластиной поролона, обработанного щелочью. Допустимо на перфорированную полиэтиленовую трубу надевать блоки из пористой керамики.
3.9. О засорении фильтров и скважины свидетельствует изменение режима колебаний уровня и уменьшение глубины скважины. Ремонт скважины заключается в интенсивной прокачке скважины до полного осветления воды и очистки отстойника.
3.10. Для предотвращения попадания в скважину и водоносный горизонт по затрубному пространству атмосферных осадков и поверхностных вод в устье ее предусматривают установку «замка». Последний может быть глиняным, цементным или комбинированным. Вокруг скважины на глубину до 1 м вырывают шурф, который заполняют жирной глиной или заливают цементом. На поверхности земли для отвода ливневых вод устраивается конусообразная насыпь высотой 20 - 30 см.
3.11. Для удобства измерения верхняя часть обсадной трубы наблюдательных скважин выводится на поверхность земли на высоту не более 1 м, но с учетом их возможного затопления в паводок или занесения снегом зимой. Особенно тщательно должны оборудоваться наблюдательные скважины, располагающиеся на заливных поймах и низких террасах. Обращается внимание на герметичность стыка патрубка и обсадной трубы. Кольцевое пространство вокруг всех наблюдательных скважин утрамбовывается для предохранения от просачивания поверхностных вод по затрубному пространству жирной глиной на глубину около 1 м, а затем на глубину 0,3 - 0,4 м заделывается цементом для обеспечения неподвижности труб.
3.12. Обязательным элементом в оборудовании скважины является оголовок со специальными запирающимися крышками. Крышка крепится на патрубке скважины болтами в приваренных снаружи к оголовку круглых обоймах (рис. 3). Запираться оголовки должны нестандартным ключом (трехгранным, пятигранным, магнитным, пружинным и т.д.).
Рис. 3. Конструкция оголовка скважин:
1 - оголовок-крышка; 2 - подвесная контрольная бирка; 3 - замок оголовка; 4 - патрубок
3.13. При неглубоком залегании грунтовых вод, находящихся в зоне сезонного промерзания грунтов, наружная часть скважины утепляется или применяются другие меры, препятствующие замерзанию воды в стволе скважины. Можно рекомендовать также прием, заключающийся в том, что устье скважины не выводится на поверхность земли, а остается на 1,0 - 2,0 м ниже в специально вырываемом шурфе, прикрываемом каким-либо утеплителем.
3.14. Для контроля абсолютных отметок устья скважин, в частности ее оголовка, от которого замеряется глубина залегания уровня, рядом со скважиной устраивается геодезический репер. Последний должен быть привязан к государственной триангуляционной сети. Репер представляет собой зацементированную в почве трубу или специальную трубу с металлической маркой, от которой производится нивелировка скважины.
4.1. Естественные условия
4.1.1. Основная задача (помимо 1.3.1) наблюдений за естественным режимом - получение информации, необходимой для решения следующих вопросов:
- составления сезонных и многолетних прогнозов режима подземных вод;
- составления карт времени наступления экстремальных положений уровня в годовом и многолетнем разрезах, максимальных и минимальных глубин залегания грунтовых вод с различной обеспеченностью амплитуд колебаний уровня, изменения естественных ресурсов подземных вод, баланса грунтовых вод;
- определения положения уровня грунтовых вод в региональном плане как фона, на который накладываются антропогенные изменения;
- определения гидрогеологических параметров и периодов проведения опытных гидрогеологических работ.
4.1.2. Естественный режим грунтовых вод формируется под воздействием ряда режимообразующих факторов. Поэтому гидрогеологическое районирование территории, предшествующее созданию наблюдательной сети, необходимо проводить, учитывая максимальное число факторов /23, 40/.
В результате районирования на территории выделяются сначала провинции, затем зоны, области, районы, участки, подучастки. Размещение наблюдательной сети в пределах района позволяет организовать изучение режима грунтовых вод в пределах гидрогеологических областей, зон и провинций, так как районы выделяются в пределах областей, а последние входят в зону и провинцию.
4.1.3. В гидрогеологическом районе скважины располагают створами от водораздела к дренам так, чтобы охватить наблюдениями все геоморфологические элементы и формы микрорельефа.
В пределах района наблюдательными пунктами должны быть охарактеризованы не только виды режима, т.е. участки междуречий, склонов, террас и пойм, но и разновидности режима, характеризующие его изменения, связанные с различием в мощности зоны аэрации, лесными массивами, вспашкой земель и пр.
4.1.4. В простейшем случае при однородном строении водоразделов или террас в бассейнах рек размещение скважин будет выглядеть следующим образом: скважина или их группа в пределах водораздела (на террасе) и в пределах гидрологического воздействия реки. Кроме того, при достаточно глубокой долине, дренирующей напорные воды, следует предусмотреть наблюдения за режимом нижележащего напорного водоносного горизонта, наметив скважины, как на водоразделе, так и в долине. Густота наблюдательной сети определяется сложностью природных условий района и народнохозяйственными задачами. В пределах однородного (с точки зрения геологии и гидрогеологии) района, максимальное расстояние между скважинами не должно превышать 60 - 70 км, так как за этими пределами в режиме грунтовых вод ощутимо проявляется климатическая зональность. Место расположения наблюдательных пунктов желательно приблизить к гидрометеорологическому посту. При создании наблюдательной сети необходимо максимально использовать существующие наблюдательные скважины с длинными рядами наблюдений.
4.1.5. На реках, каналах и озерах вблизи окончания створа наблюдательных скважин при необходимости оборудуется реечный или свайный гидрометрический пост, по которому ведутся наблюдения за изменением горизонта поверхностных вод.
4.1.6. Кроме геологических и гидрогеологических факторов (структура бассейна, литология, условия питания и дренажа вод) важными факторами естественного режима подземных вод являются рельеф, почва и растительность, поэтому при изучении естественного режима обращается большое внимание на характеристику и изменчивость указанных факторов во времени и пространстве.
4.1.7. Тщательно фиксируются также изменения условий выхода подземных вод на поверхность (подрезка склонов, засыпка обрывов, мест выклинивания родников и т.п.). Ежегодно в теплое и холодное время года производится рекогносцировочное обследование зоны выклинивания подземных вод, отмечаются изменения в руслах родников, кара-су и в характере площадных выходов воды на поверхность. Эти изменения также отражаются на абрисах и гидрогеологических картах.
4.1.8. В периоды снеготаяния и обильного выпадения осадков, в очень засушливое время года вдоль створов наблюдательных скважин и в окрестностях их фиксируются временные и постоянные водотоки (ручьи, родники, мочажины, болота и т.п.). Такие наблюдения также оформляются в виде абрисов и описаний.
4.2. Области распространения многолетнемерзлых пород
4.2.1. Специфика изучения режима подземных вод в областях распространения многолетнемерзлых пород заключается в необходимости изучения глубины промерзания, протаивания и изменения температурного режима мерзлых пород в связи с хозяйственным освоением местности, а также влияния изменения границ мерзлого массива на режим подземных вод. Необходимо совместное изучение подземных вод в жидком состоянии и водосодержащих толщ как основных частей единой водотеплообменной системы.
4.2.2. Организация изучения режима подземных вод и размещение наблюдательной сети осуществляются с учетом специфики гидрогеотермических разрезов, типовая схематизация которых приведена в работе /23/.
4.2.3. При размещении наблюдательной сети необходимо иметь данные гидрогеологических и мерзлотных съемок в масштабе не мельче 1:50000 для четкого представления о геологическом и гидрогеологическом строении участка, распространении многолетнемерзлых пород, величине сезонноталого и сезонномерзлого слоев, что определяет граничные условия потоков. Важно установить сроки и границы максимального промерзания не сквозных таликов и протаивания сезонномерзлого слоя.
Наблюдательные скважины должны быть специально оборудованы для круглогодичных режимных наблюдений в условиях Крайнего Севера, где часто пьезометрический уровень межмерзлотных и подмерзлотных вод устанавливается выше нижней границы многолетнемерзлых пород. С этой целью рекомендуется /11/ заполнение ствола скважин незамерзающей жидкостью (обычно дизтопливо) до глубины 3,0 - 5,0 м ниже зоны развития многолетнемерзлых пород (рис. 4).
В ствол скважины опускается труба (1), нижний конец которой должен быть на 1,5 - 2,0 м ниже столба дизтоплива. На верхний конец спущенных замерных труб навинчивается оголовок (6), на котором крепится вентиль (7). В крышке имеется отверстие (8) под болт (9). С помощью оголовка (6) трубы опираются на устье скважины. Для производства замера уровня и температуры воды в скважине необходимо через вентиль (7) стравить воздух, отвернуть болт (9) и по истечении 3 - 5 мин через отверстие (8) спустить в трубы измерительные инструменты.
4.2.4. Объектами изучения должны быть надмерзлотные, межмерзлотные и подмерзлотные подземные воды, которые часто взаимосвязаны и являются источниками питания наледей и родников. Предпочтительным является ключевой принцип организации изучения режима подземных вод, когда в регионе выбираются типовые участки (водосборы), на которых и создается водно-балансовая сеть. Очень важно для режимных наблюдений на балансовом участке каптировать источники воды, если таковые имеются.
4.2.5. На осваиваемой территории, в зоне влияния факторов техногенеза, для получения информации о прогнозных уровнях, изменениях глубины промерзания и протаивания грунтов и температуры мерзлых грунтов необходимо типичные площадки выбирать с учетом литологического состава водовмещающих пород, геоморфологии местности, одинаковой температуры в подошве яруса годовых теплооборотов и типа техногенного воздействия. На каждой площадке следует заложить одну гидрогеологическую и две геотермические скважины. В геотермических скважинах наблюдения за температурой проводятся круглогодично. Скважины бурят несколько глубже яруса с годовыми теплооборотами. Кроме того, необходимо измерять рост снегового покрова и его загрязненность в течение зимы. В гидрогеологической скважине наблюдения проводятся в сезонноталом слое в течение теплого периода года.
Рис. 4. Оборудование наблюдательной скважины для измерения пьезометрического уровня воды в областях распространения многолетнемерзлых пород:
1 - труба; 2 - незамерзающая жидкость; 3 - подземные воды; 4 - граница раздела подземных вод на промерзающей жидкости; 5 - пьезометрическая поверхность подземных вод: 6 - оголовок трубы; 7 - вентиль; 8 - отверстие; 9 - болт; 10 - датчик уровнемера; 11 - оголовок скважины; 12 - поверхность многолетнемерзлых пород
4.2.6. Для наиболее распространенного случая, когда талик приурочен к грубообломочным аллювиальным отложениям в долине реки, расположение наблюдательней сети осуществляется по створу на различные водоносные горизонты.
4.2.7. Геодезические репера обычного типа в условиях многолетнемерзлых могут подвергаться вертикальным и горизонтальным смещениям вследствие сезонного промерзания и оттаивания грунта. В связи с этим применяют реперы специальных конструкций, описание которых приведено в работе /38/.
4.3. Условия интенсивной эксплуатации подземных вод
4.3.1. Первоочередными объектами для организации изучения режима подземных вод являются водозаборы:
- обеспечивающие водой крупные города или промышленные центры;
- находящиеся в сложных гидрогеологических условиях;
- работающие в условиях невосполнимой сработки запасов подземных вод;
- с неустановленными и неизученными источниками формирования запасов подземных вод.
Наблюдения за режимом подземных вод на водозаборах должны быть ориентированы для решения задач, перечисленных в разделе 1.3.2.
4.3.2. В районах предполагаемого изучения режима подземных вод вначале выясняются условия эксплуатации подземных вод. Помимо общих геологических и гидрогеологических карт строятся карты гидроизогипс и гидроизопьез с характеристикой водоотбора, с отображением граничных условий (рек, озер, каналов, водонепроницаемых контуров и т.п.).
Наблюдения за режимом подземных вод включают исследования режима уровня в эксплуатационных и наблюдательных скважинах, режима химического состава и температуры подземных вод, дебита водозаборов и расхода родников. Выявленные в процессе предварительного анализа воронки и области депрессии будут служить основой для размещения опорной наблюдательной сети, индикаторами участков вероятного пополнения подземного стока, дренируемого водозаборами, участков естественного дренирования, мест возможного загрязнения этих вод и, следовательно, районов, в которых потребуется в первую очередь регулирование водоотбора и охраны подземных вод от загрязнения и преждевременного истощения запасов подземных вод.
Систематические наблюдения за уровнем и напорами воды в скважинах, а также районным и суммарным водоотбором позволяет осуществлять содержательный анализ работы водозабора. Задача анализа заключается в определении гидрогеологических параметров эксплуатируемых горизонтов, величин пополнения подземных вод сверху и снизу, а также со стороны плановых границ потока и составлении эпигнозных расчетов нарушенного режима подземных вод. В конечном итоге такой гидродинамический анализ режима подземных вод будет сводиться к расчету баланса этих вод в условиях их эксплуатации.
4.3.3. Специфика наблюдений, и особенно размещения наблюдательной сети, существенно зависит от типов гидрогеологических условий, определяющих особенности формирования эксплуатационного режима подземных вод в районах водозаборов. Основными такими типами являются /19, 23/:
- артезианские бассейны платформ,
- речные долины,
- массивы трещинных и трещинно-карстовых пород и зон тектонических нарушений,
- песчаные массивы зандровых равнин,
- песчаные массивы пустынь и полупустынь.
Общей рекомендацией к размещению наблюдательной сети применительно ко всем типам гидрогеологических условий является требование размещения створов в направлении от центра депрессии к границам водоносного горизонта как в плане, так и в разрезе. Наблюдения должны дать представление о характере развития воронки депрессии по направлению границ пласта и о закономерностях воздействия границ на ее форму и динамику изменения.
4.3.4. Уровни или напоры воды измеряются в специально пробуренных наблюдательных скважинах, отстоящих от эксплуатационных на разных расстояниях.
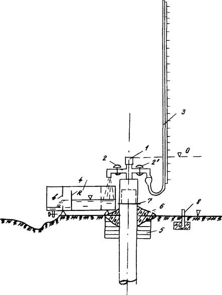
Самоизливающиеся скважины оборудуются специальным оголовком (рис. 5), позволяющим перекрывать скважину для измерения установившегося статического напора воды с помощью манометра, а также динамического напора воды при данном самоизливе.
Для измерения дебита самоизливающейся скважины применяют водопроводные счетчики и расходомеры, устанавливаемые на указанном выше специальном оголовке.
4.3.5. Кроме наблюдений по скважинам, специально пробуренным для этих целей, проводятся наблюдения за дебитом, динамическим уровнем или напором воды в эксплуатационных скважинах. Результаты таких наблюдений важны для оценки местных депрессий напоров воды и сопротивлений фильтров, особенно если имеются под наблюдением затрубные пьезометры. Данные таких наблюдений важны и для анализа работ водозабора и уточнения эксплуатационных запасов подземных вод.
Сведения о дебитах и понижениях напора воды в эксплуатационных скважинах собираются на основании документации водоотбора и режима уровня воды по каждой скважине. Наблюдения за этими элементами режима на эксплуатационных скважинах проводятся эксплуатирующими организациями.
4.3.6. В связи с высокой и неравномерной изменчивостью гидродинамического поля вокруг водозабора наблюдения за режимом уровня и напора в наблюдательных скважинах должны быть частыми, а при возможности даже непрерывными. Сроки необходимо увязывать с режимом работы водозабора.
Наблюдения в эксплуатационной скважине осуществляются в следующем порядке: а) измеряется динамический уровень в самой скважине до отключения насоса; б) после отключения насоса производятся наблюдения за восстановлением уровня путем последовательных измерений через 1, 2, 3, 5, 7, 10, 15, 20, 30, 45 мин и т.д. Одновременно с измерениями строится график восстановления уровня. Продолжительность измерений уровней в эксплуатационных скважинах в каждом случае может быть различной и должна устанавливаться опытным путем с помощью построения специальных графиков восстановления /23, 19/.
Рис. 5. Схема оборудования наблюдательной скважины при самоизливе:
1 - обсадная труба; 2 - оголовок; 3 - манометр; 4, 41 - расходомеры на малый и большой расход соответственно; 5-51 - вентили; 6 - глиняный замок; 7 - цементация; 8 - репер
4.4. Мелиорируемые земли
4.4.1. На орошаемых и осушаемых землях организация наблюдений и изучение режима подземных вод проводятся для решения научных и прикладных задач, указанных в пункте 1.3.3. Общей задачей является изучение и оценка влияния мелиоративных мероприятий на режим, баланс и ресурсы подземных вод мелиорируемых и прилегающих территорий. Наблюдательная сеть организаций Мингео СССР не должна повторять и дублировать наблюдения подразделений Минводхоза СССР, которые призваны осуществлять контроль за мелиоративным состоянием земель и давать исходную информацию о назначении параметров функционирования оросительных и осушительных систем.
4.4.2. Особенности организации изучения и размещения наблюдательной гидрогеологической сети в орошаемых районах определяются спецификой природных условий регионов, которая находит отражение в гидрогеолого-мелиоративном районировании /14, 15, 16, 23/.
4.4.3. Региональная наблюдательная сеть в орошаемых районах размещается с таким расчетом, чтобы в интенсивно дренированной и дренированной зонах было установлено по одному наблюдательному пункту в областях питания, транзита и разгрузки подземных вод, выделяемых для отдельных гидрогеологических бассейнов. При этом целесообразно совмещать их с основными гидрогеологическими районами так, чтобы в каждом крупном районе оказалось хотя бы по одному пункту, находящемуся вне зоны влияний отдельных водотоков или гидротехнических сооружений.
В слабодренированной, весьма дренированной и бессточной зонах необходимо иметь по одному наблюдательному пункту в пределах каждого типичного участка. Типичный участок - это аналог среди многих подобных, выбираемый по удобству и необходимости организации наблюдений.
Типы наблюдательных пунктов (одиночные скважины или кусты скважин) для изучения региональных закономерностей режима грунтовых вод определяются особенностями гидрогеологических условий района исследований и конкретно решаемыми задачами.
4.4.4. Общие принципы размещения наблюдательной сети в орошаемых районах для изучения гидродинамических особенностей формирования подземных вод под влиянием искусственных факторов приведены в разделе 2.
4.4.5. При организации наблюдений за режимом подземных вод в орошаемых районах необходимо учитывать ряд особенностей. Например, на куполах грунтовых вод, т.е. на участках с резко искривленной поверхностью грунтовых вод, наблюдательная сеть закладывается в виде поперечника из трех - пяти скважин-пьезометров с короткими (до 1,0 м) фильтрами (рис. 6). Последние должны располагаться по вертикали на расстояниях 1 - 3 м друг от друга. Самый низкий фильтр находится у поверхности водоупора, а самый высокий - у свободной поверхности грунтовых вод. Расстояния между скважинами - минимальные.
Рис. 6. Размещение этажного куста скважин-пьезометров на куполах грунтовых вод.
1 - уровень грунтовых вод; 2 - фильтр; 3 - отстойник; 4 - водоупор
Данные по такому кусту скважин позволят определять истинное залегание зеркала грунтовых вод, так как показания пьезометров в районах куполов зависят от положения их фильтров в потоке грунтовых вод /10, 16, 52, 53/.
Действительное положение уровня определяется по формуле
![]()
где h0 - уровень, измеренный скважиной-пьезометром, фильтр которой доходит до водоупора; d - коэффициент, определяемый по формуле
![]()
где n - число пьезометров по вертикали (n = 3 - 5); zi - координата положения центра фильтра i-й скважины пьезометра, отсчитываемая от водоупора.
4.4.6. Специфика исследований в орошаемых районах заключается в необходимости полного учета всего комплекса ирригационно-хозяйственных условий и факторов, играющих ведущую роль в формировании изменений ресурсов и качества подземных вод.
Элементами наблюдений по региональной сети являются уровень, температура и химический состав подземных вод, а также те компоненты, которые определяют загрязнение подземных вод как источника питьевого водоснабжения.
Наблюдения за режимом уровня, напора, а также за качественными показателями подземных вод на мелиорируемых землях должны проводиться с большей (по сравнению, например, с естественным режимом) частотой, особенно в периоды активной водоподачи на поля. Частота замеров, помимо динамики процесса, зависит от целевого назначения гидрорежимной информации.
На балансовых участках, как правило, учащенные наблюдения проводят в вегетационный период (частота может быть ежедневной), в остальное время частота измерений стандартная.
4.4.7. Для оценки размеров инфильтрации и испарения с учетом перетекания на орошаемых площадях в условиях слоистых толщ наблюдения следует проводить по скважинам-дублерам, располагаемым на свободной поверхности и на некоторой глубине под ней (чаще всего в подошве покровных отложений). Дополнительные этажные пьезометры закладываются в кусте и на каждый отличающийся по проводимости супесчано-суглинистый слой в покровных отложениях.
4.4.8. Для организации наблюдений и размещения наблюдательной сети в районах осушения необходимо располагать геолого-литологическими и гидрогеологическими картами и разрезами. Важно иметь карты гидрогеологического районирования, климатические, геоморфологические, почвенные. Подстилающие водоносные горизонты, гидравлически связанные с грунтовыми водами, должны быть охарактеризованы картами гидроизопьез, минерализации, водопроводимости. Следует иметь данные о коэффициенте фильтрации разделяющих слабопроницаемых слоев, которые важны при определении числа скважин в узлах.
Опорная наблюдательная сеть на осушаемых землях, как правило, должна включать группы скважин, расположенные на отдельных болотных массивах, заболоченных участках, минеральных землях между ними и на балансовых участках в интересующих местах в пределах одного болотного массива, отдельной части прилегающей к нему территории или одновременно и в том, и в другом месте. Примерные схемы расположения наблюдательных скважин на заболоченных территориях для основных типов гидрогеологических разрезов приведены на рис. 7.
Группы скважин в створах или на балансовых участках могут заменяться одиночными скважинами, если болотные отложения подстилаются водоупорным слоем. Створы скважин располагаются перпендикулярно к рекам, каналам, береговой линии болот, водохранилищ, озер, морей.
Расположение скважин должно соответствовать современным представлениям о движении подземных вод в слоистых толщах. В случае двухмерного потока в плане закладывают квадратный пакет из двух взаимно перпендикулярных створов. При этом центральная группа скважин, состоящая из двух, трех, четырех рядом расположенных скважин на нижележащие напорные водоносные горизонты, является общей для двух створов пакета.
При неоднородных водоносных пластах по простиранию вместо трех скважин, изучающих один водоносный пласт, целесообразно на створах, исследующих горизонтальный водообмен, закладывать по четыре скважины, что дает более точные величины горизонтального водообмена. При известных расстояниях до водораздела грунтовых вод в качестве исключения можно вместо трех скважин закладывать две.
Рис. 7. Типовые схемы расположения наблюдательных скважин на заболоченных территориях:
1 - торф; 2 - песок; 3 - суглинок; 4 - глина; 5 - известняк; 6 - уровень грунтовых вод; 7 - наблюдательные скважины; а, б, в - типы гидрогеологических разрезов
На створах между балансовыми участками опорная наблюдательная сеть может состоять из одиночных скважин. Одиночные скважины закладываются также в том случае, если не нужны сведения о взаимодействии между водоносными горизонтами и балансе подземных вод.
4.5. Зона влияния крупных водохранилищ
4.5.1. В районах создания крупных водохранилищ основными задачами наблюдательной сети помимо перечисленных в пункте 1.3.7. являются следующие:
1) изучение сезонных и многолетних закономерностей изменения режима грунтовых вод в прибрежных районах водохранилища;
2) оценка изменения ресурсов подземных вод в зоне влияния водохранилища;
3) наблюдения, оценка и прогноз изменения качества подземных вод и экологических последствий после создания водохранилища.
4.5.2. Наблюдательная сеть размещается на основе районирования прилегающей к водохранилищам территории по геологическому строению и гидрогеологическим условиям. Кроме того, выделяются факторы антропогенного воздействия: города, промышленные предприятия, водозаборы, горнорудные предприятия, районы сельскохозяйственных мелиораций.
Для решения указанных задач закладываются створы наблюдательных скважин, которые рекомендуется располагать на наиболее характерных участках. Заложение сети должно быть осуществлено до заполнения водохранилища, чтобы можно было провести наблюдения за режимом подземных вод в естественных (фоновых) условиях, по крайней мере, в течение одного года. В условиях плоского потока створ располагается перпендикулярно к урезу водохранилища, наиболее удаленная скважина - в точке, где рассчитанная величина стационарного подпора не превышает 50 % годовой амплитуды колебания уровня грунтовых вод при естественном режиме. Остальные скважины располагаются следующим образом:
- скв. 1 - на отметке среднего по водности паводка реки;
- скв. 2 - на отметке горизонта зимней сработки водохранилища;
- скв. 3 - на отметке нормального подпорного горизонта (НПГ);
- скв. 4 - на горизонтали паводка водохранилища 5 %-ной обеспеченности.
Далее скважины располагают через 0,5 - 1 км и более на типичных элементах рельефа до границ предполагаемого влияния водохранилища с выходом на участки с естественным режимом подземных вод. После заполнения водохранилища скв. 1, 2, 3 выбывают из состава сети.
4.5.3. Если поток подземных вод в плане имеет радиальную форму, рекомендуется создавать сеть из скважин, расположенных по квадратной сетке (нормально и параллельно берегу водохранилища). На концах створов, упирающихся в водохранилище, скважины сгущаются в соответствии с методикой, описанной выше (рис. 8).
Для оценки возможного пополнения запасов подземных вод за счет фильтрации из водохранилища в соседние речные долины рекомендуется пробурить несколько гидрогеологических створов, состоящих минимум из трех скважин.
При возможном заилении дна водохранилища следует для оценки несовершенства русла закладывать створ из двух наблюдательных гидрогеологических скважин: первую - вблизи уреза водохранилища, вторую - удаленную от водохранилища на расстояние, более чем в два раза превышающее расстояние от первой скважины до водохранилища.
4.5.4. По данным режимных наблюдений до подпора и в процессе развития подпора на указанных створах скважин определяются коэффициенты уровнепроводности, пьезопроводности водоносных горизонтов, водоотдача пород в зоне колебаний уровня, питание грунтовых вод сверху, подземный сток и другие элементы баланса этих вод.
Знание этих элементов баланса грунтовых вод, в частности их питания сверху, а также изменения их в связи с режимом водохранилища, является весьма актуальным для уточнения прогноза режима подземных вод и его колебания во времени по количественным и качественным показателям.
Рис. 8. Пример размещения наблюдательных скважин в районе водохранилища при плоском (а) и плановом (б) потоках грунтовых вод
4.6. Эксплуатация месторождений твердых полезных ископаемых
4.6.1. В районах разработки твердых полезных ископаемых основным задачами изучения режима подземных вод являются:
1) изучение закономерностей формирования режима подземных вод в зонах влияния эксплуатируемых месторождений полезных ископаемых и установление связей (функциональных, коррелятивных) между отдельными элементами режима вод и обусловливающими их природными и искусственными факторами, необходимыми для прогноза изменения гидрогеологических условий под влиянием горнодобывающих предприятий;
2) комплексное изучение формирования и прогноз развития депрессионных воронок во взаимодействии с другими искусственными факторами (водозабором, сельскохозяйственным орошением и т.п.);
3) прогноз изменения качества подземных вод, а также прогноз изменения гидрогеологических условий в районе расположения и влияния рудника в результате горного водоотлива.
4.6.2. Размещение сети наблюдательных гидрогеологических пунктов в районах разработки твердых полезных ископаемых осуществляется с учетом природных гидрогеологических условий и возможности их изменения под действием эксплуатации месторождений. Сеть наблюдательных пунктов и исследование режима подземных вод организуются не на всех горных предприятиях, а только на типичных объектах, а также на объектах со сложными гидрогеологическими условиями и на месторождениях, характеризующихся значительной обводненностью.
Размещение наблюдательных скважин в плане производится с учетом боковых (плановых) границ каждого изучаемого пласта, которые могут оказать существенное влияние на изменение водопритоков в горные выработки. Если границы пластов удалены от объекта, т.е. пласт не ограничен, наблюдательная сеть строится в виде двух пересекающихся под прямым углом поперечников, ориентированных произвольно (для бассейнов подземных вод) или по потоку подземных вод и перпендикулярно к нему.
Во всех остальных случаях лучи (или поперечники) наблюдательных скважин ориентируют в направлении от шахт к границам пластов по кратчайшему расстоянию. Кроме основных поперечников, учитывающих влияние региональных и местных границ водоносных пластов, может возникнуть необходимость в дополнительных скважинах, ориентированных в направлении ближайших соседних шахт, карьеров, водозаборов, сбросов промышленных стоков, оказавшихся в условиях взаимодействия с изучаемым объектом. Крайние скважины в поперечниках должны располагаться за границами развивающейся депрессионной воронки. По мере роста депрессии поперечники удлиняются. Кроме увеличения числа скважин в зоне влияния горных работ необходимы наблюдательные точки в естественных условиях для установления закономерностей режима подземных вод изучаемой территории.
При наличии поверхностных водотоков и водоемов, с которыми гидравлически связаны подземные воды, створы скважин продолжаются до этих водотоков и водоемов. На последних при необходимости оборудуются гидрометрические посты.
4.7. Контроль за охраной подземных вод от загрязнения
4.7.1. Основной задачей гидрогеологических режимных партий является контрольная оценка состояния и прогноз изменения качества подземных вод, в первую очередь контрольные наблюдения в очагах существующего и перспективного загрязнения подземных вод.
Общими требованиями к режимным наблюдениям за качеством подземных вод являются:
- региональность, т.е. охват наблюдениями всех территорий, которые загрязнены или могут быть загрязнены в ближайшее время;
- систематичность наблюдений, позволяющая изучить основные стадии загрязнения подземных вод;
- комплексность изучения качества подземных вод, при которой оцениваются не только стандартные показатели, но и специфические, характерные для данного типа загрязнения подземных вод.
4.7.2. Наблюдательные скважины размещаются с учетом:
- местоположения источника загрязнения, его формы и размеров;
- конфигурации области загрязнения подземных вод;
- неоднородности водоносного горизонта, формы и типа граничных условий;
- отсутствия или наличия движения подземных вод и его скорости;
- перетекания из выше- или нижележащих водоносных горизонтов.
4.7.3. Частота отбора проб из наблюдательных скважин определяется скоростью движения по пласту загрязненных вод и расположением скважин относительно границы этих вод. С большей частотой отбираются пробы из наблюдательных скважин вблизи границы загрязненных вод и с меньшей - из удаленных скважин.
Число наблюдательных скважин и их расположение должны быть «скользящими» во времени, т.е. наращивание такой сети определяется скоростью и характером перемещения загрязненных вод. На первом этапе наблюдения создается сеть, включающая минимальное число наблюдательных скважин. Результаты наблюдений по этим скважинам позволят установить необходимость дальнейшего развития сети, число дополнительных наблюдательных скважин и их местоположение.
4.7.4. Загрязнение подземных вод обусловлено загрязнением окружающей среды в целом - поверхностных вод, атмосферы, почвы. Поэтому режимные наблюдения за качеством подземных вод следует увязывать с наблюдениями за качеством поверхностных (речных) вод, загрязнением атмосферы и почвенного слоя.
4.7.5. Первоочередными объектами наблюдений по контролю за охраной подземных вод должны являться водозаборы, районы промышленных и агропромышленных предприятий, участки захоронения промстоков и др.
4.7.6. Загрязнение подземных вод на водозаборах может быть обусловлено поступлением загрязняющих компонентов с поверхности земли (промышленные, бытовые и сельскохозяйственные отходы) или некондиционными природными водами, содержащимися в эксплуатируемом водоносном горизонте, смежных пластах, поверхностных водоемах и водотоках.
Изучение загрязнения подземных вод должно проводиться как непосредственно на участке водозабора (в эксплуатационных и наблюдательных скважинах), так и на прилегающей к нему территории.
Загрязнение подземных вод на водозаборе происходит вследствие подтягивания к нему загрязненных вод с периферии.
4.7.7. Режимная сеть на инфильтрационных водозаборах должна включать наблюдательные скважины, расположенные по фронту между водозабором и берегом реки, а также гидрометрические створы (по крайней мере два створа - на участке водозабора и выше по течению реки). Число наблюдательных скважин между водозабором и рекой должно быть не менее четырех - две скважины в центре водозабора и по одной на флангах (водозабор располагается в виде линейного ряда, что обычно характерно для инфильтрационных водозаборов). Наблюдательные скважины располагаются ближе к берегу реки, а по центральному створу средняя скважина должна быть примерно на середине расстояния между водозабором и берегом.
По указанной схеме следует располагать наблюдательные скважины на участках распространения пород повышенной водопроводимости и развития прослоев высокой проницаемости.
Если в районе водозабора имеются поверхностные источники загрязнения (хранилище стоков, шламонакопители, поля фильтрации и др.), то наблюдательные скважины (по крайней мере две скважины) должны быть расположены между источником загрязнения и водозабором.
4.7.8. На водозаборах артезианских вод наблюдательные скважины располагаются по фронту водозабора на двух - трех створах вкрест границы некондиционных вод, на каждом створе - по две наблюдательные скважины. Створы должны проходить по участкам, характеризующимся повышенной водопроводимостью. Если водозабор небольшой и водоносный горизонт достаточно однороден, то можно ограничиться одним створом, расположенным по кратчайшему направлению к границе некондиционных вод и включающим две наблюдательные скважины на флангах водозабора.
4.7.9. На территории промышленных объектов загрязнение подземных вод может происходить: на участках производственных цехов, канализационной системы предприятия, очистных сооружений, в районах поверхностных хранилищ сточных и твердых отходов (пруды-накопители, испарители, отстойники, шламонакопители, хвостохранилища, солеотвалы, золоотвалы и др.). Главным источником загрязнения подземных вод являются поверхностные хранилища сточных вод, из которых стоки фильтруются в грунтовые воды и создают зону загрязнения подземных вод под этими хранилищами. Из грунтовых вод загрязняющие вещества могут затем попасть в более глубокие водоносные горизонты.
Задачами режимных наблюдений в районах промышленных объектов являются: обнаружение загрязняющих веществ, установление направления и скорости распространения загрязненных вод, выдача прогноза развития процесса загрязнения для разработки мероприятий по его предотвращению. Наблюдательные скважины должны располагаться, прежде всего, в районе хранилища стоков, вдоль основных трасс канализационной системы, на основной промышленной площадке с учетом направления естественного движения подземных вод.
В районе хранилища стоков (или системы хранилищ) наблюдательные скважины размещаются в двух - трех створах по потоку подземных вод, с боков и вверх по потоку. На створах, расположенных по потоку, оборудуются две - три скважины (на каждом створе), расстояние между которыми определяется скоростью растекания загрязненных вод.
Если поблизости от промышленного объекта и его очистных сооружений имеются водозаборы подземных вод, то необходимо предусмотреть наблюдательные скважины между этим объектом и водозабором. Частота отбора проб подземных вод должна быть не реже, чем один раз в квартал. Анализы проб должны производиться прежде всего на характерные и наиболее токсичные загрязнители, содержащиеся в сточных водах.
Данные о качестве воды в наблюдательных скважинах целесообразно увязывать с данными о составе стоков в хранилищах и режиме их сброса.
Сеть наблюдательных скважин необходимо создавать на действующих и проектируемых промышленных объектах.
5.1. Виды наблюдений
5.1.1. При гидрогеологических исследованиях проводят разовые и систематические измерения уровня, напора и дебита подземных вод. Разовые измерения осуществляются при решении текущих конкретных задач гидрогеологической практики, например, при гидрогеологической и мелиоративных съемках, изысканиях под строительство и др. Систематические стационарные наблюдения за уровнем проводятся в целях изучения пространственно-временных закономерностей формирования его изменения в течение длительного времени, соизмеримого с временем формирования основных природно-климатических земных циклов. При производстве опытных работ (откачки, наливы, нагнетания) длительность зависят и равна продолжительности опыта - обычно неделя, месяц, квартал.
Изучение закономерностей изменения уровня, напора и дебита в естественных условиях в целях познания закономерностей для составления различного рода гидрогеологических прогнозов требует проведения систематических наблюдений бессрочной длительности. Ценность многолетних наблюдений возрастает прямо пропорционально их длительности и непрерывности.
Более сложным является вопрос о длительности наблюдений за режимом подземных вод в условиях воздействия антропогенных факторов. Здесь продолжительность наблюдений зависит от времени существования искусственных факторов и необходимости изучения гидрогеологического цикла после прекращения техногенных воздействий. Для задач опорной наблюдательной сети такие наблюдения можно рассматривать как бессрочные.
5.1.2. Вопрос о продолжительности наблюдений, их частоте и сроках может быть решен при постановке специальных исследований в широком масштабе: для различных природных условий, с учетом поставленных задач и методики исследований, точности измерительных устройств, в зависимости от экономических соображений. Частота и сроки наблюдений могут быть определены на основании опыта исследований. /38/.
5.2. Глубина измерений
Вопрос о глубине измерений уровня и напора приобретает актуальность при планировании выбора измерительных приборов, аппаратуры и проектировании конструкций наблюдательных скважин. В составе опорной наблюдательной сети преобладающей является глубина залегания уровня в интервале до 10 м, реже 10 - 25 м и еще реже 25 - 50 м. В зоне распространения многолетнемерзлых пород, в закарстованных районах, на участках развития конусов выноса глубина измерения уровня и напора может достигать 50 - 150 м. В названных районах возрастает внутригодовая и многолетняя изменчивость уровня. Диапазон изменения уровня и напора за год и многолетие здесь может составлять 50 - 100 м. В ряде случаев уровень и напор подземных вод устанавливается выше поверхности земли, обычно на величину до 10 - 15 м.
5.3. Частота и сроки наблюдений
5.3.1. Требования к частоте измерений уровней напоров и дебитов подземных вод заключаются в необходимости объективного и достоверного воспроизводства хода процесса с заранее заданной точностью при минимальном количестве измерений. На выбор частоты измерений решающее влияние оказывает целевое назначение наблюдений, а также динамика процесса, т.е. степень внутригодовой и многолетней изменчивости подземных вод. Как правило, частота и сроки наблюдений за уровнем, напором и дебитом подземных вод определяются на основании опыта предыдущих исследований.
Частота измерений уровня, дебита и напора должна быть таковой, чтобы зафиксировать при необходимости эпизодические, суточные, сезонные, годовые и многолетние колебания. В условиях нарушенного режима частота измерений должна обеспечить выявление особенностей воздействия антропогенных факторов.
5.3.2. Для гидрогеологической режимной службы Мингео СССР с учетом накопленного опыта и результатов специальных исследований установлена частота измерений, равная 10 наблюдениям в месяц (3, 6, 9, 12, 15, 18, 21, 24, 27 и 30 числа).
Для напорных вод, характеризующихся меньшей изменчивостью естественных колебаний, частота измерений установлена 5 раз в месяц (6, 12, 18, 24, 30 числа). Указанная частота является обязательной при организации наблюдений за режимом подземных вод в неизученных районах и при отсутствии специальных исследований для определения оптимальной частоты измерений. По мере накопления данных и анализа информативности кривых колебаний частота измерений может быть уточнена и изменена.
5.3.3. Для некоторых видов гидрогеологических исследований, таких, как изучение режима подземных вод для поиска информативных предвестников землетрясения, экспериментальные исследования баланса грунтовых вод на водно-балансовых станциях, оценки барометрической эффективности водоносных горизонтов и т.д., требуется повышенная (ежедневная) частота или даже непрерывная запись наблюдений, что может быть обеспечено только применением автоматических регистраторов уровня, дебита и напоров подземных вод.
5.4. Измерение уровня воды
5.4.1. При использовании измерительных устройств измерение уровня осуществляется в соответствии с прилагаемой к прибору инструкцией. Наиболее часто в качестве измерительного устройства применяются гидрогеологические рулетки с хлопушкой (см. разд. 8.4).
5.4.2. Измерение уровня воды производится от постоянной марки - фиксированного горизонтального верхнего среза обсадной трубы или оголовка скважины. Наблюдатель опускает хлопушку в скважину до появления характерного звука - хлопка, (свистка). Передвигая измерительную ленту вниз - вверх на 2 - 4 см, наблюдатель добивается такого положения хлопушки относительно зеркала воды, когда звук от соприкосновения ее с водой становится наиболее четким и резким. Вначале отсчитываются сантиметры (с точностью до 1 см), а затем метры.
Результат отсчета на ленте записывается в полевую книжку. Процедуру измерения уровня производят на скважине два - три раза. Если разность отсчетов уровня при контрольном измерении составляет менее 0,5 см, то первое измерение считается правильным. В противном случае считается правильным то измерение, которое повторяется не менее двух раз.
5.5. Измерение напора воды
5.5.1. Измерение напора воды по существу сводится к определению пьезометрической высоты над верхним срезом (маркой) скважины.
5.5.2. При небольших пьезометрических напорах в самоизливающихся скважинах напор рекомендуется определять стеклянным пьезометром (рис. 9). Перед присоединением пьезометра вентиль 21 должен быть закрытым. После присоединения пьезометра к отводу оголовка открывают вентиль 21 и закрывают кран 2. Выжидают момент установления уровня воды в пьезометре 3 на одной высоте h в течение 30 - 40 мин. Измеренная таким путем над маркой скважины высота (в метрах) записывается в журнал. При небольших пьезометрических напорах рекомендуется также наращивать оголовок скважины на высоту, превышающую наибольший возможный напор, и измерять напор как уровень в обычной скважине.
5.5.3. Фонтанирующие скважины обычно армируются оголовками, приспособленными для измерения напора с помощью манометра и описанного пьезометра.
5.6. Измерение дебита воды
5.6.1. Определение дебита производится на поверхностных водотоках (ручьях, реках), родниках и фонтанирующих скважинах. В зависимости от величины расхода воды и характера изучаемого объекта применяются следующие способы его измерения: по скорости заполнения истечения жидкости из водослива, по скорости течения воды и поперечному сечению потока.
5.6.2. Для производства наблюдений за дебитом фонтанирующих скважин целесообразно устанавливать комбинированный оголовок (см. рис. 5).
5.6.3. При измерении дебита по скорости заполнения определенного объема емкости заполнение ее производят с трехкратной повторностью. Время заполнения емкости записывается в полевой дневник.
Рис. 9. Комбинированный оголовок и измерение напора и дебита самоизливающейся скважины:
1 - верх оголовка; 2-2 - вентили; 3 - пьезометр; 4 - мерный бак-лоток с водосливом b и рейкой R; 5 - глиняный замок; 6 - цементная подушка; 7 - прокладка; 8 - репер
5.6.4. В случае применения водослива указывается его тип, профиль, основные размеры (ширина порога, угол выреза). Измерение осуществляется три раза.
5.6.5. При использовании гидрометрического способа измерения дебита необходимо руководствоваться работами (33, 34, 35).
6.1. Качество и надежность исходной информации являются основной предпосылкой достоверного решения широкого круга прикладных и научных задач гидрогеологии.
Качество и сопоставимость данных во многом зависят от строгого соблюдения приемов и правил производства наблюдений, единообразия методического подхода к организации производственных операций при изучении режима подземных вод, технической исправности приборов и аппаратуры. Именно поэтому вопросы обеспечения условий для получения объективных данных по наблюдательной сети должны быть в центре внимания практической деятельности гидрогеологической режимной партии. Основным методом, призванным обеспечивать получение качественной информации, является инспектирование работы всей наблюдательной сети.
6.2. Задачами контроля наблюдательной сети являются:
- проверка надежности работы наблюдателей;
- проверка состояния измерительных приборов и аппаратуры;
- оценка технического состояния наблюдательной сети;
- учет и контроль изменений окружающей среды и выявление вновь появившихся (чаще всего антропогенных) факторов, определяющих режим подземных вод.
6.3. К наблюдателю гидрогеологической партии должны предъявляться высокие требования: квалифицированно и в установление сроки выполнять замеры элементов режима подземных вод, следить за изменениями в окружающей местности и своевременно сообщать о них руководству партии, аккуратно в соответствии с инструкцией вести полевую книжку, начисто переписывать месячные данные наблюдений во второй экземпляр книжки и своевременно высылать их на базу партии.
6.4. Для контроля работы наблюдателей рекомендуется следующий прием. Под оголовок скважины подкладывается фанерка (бирка). Наблюдатель, производя измерение, обязан записать результат в полевую книжку и на бирке, оставляемой в скважине. Запись на бирке производится простым карандашом. При контроле появляется возможность установить, когда наблюдатель был на точке и проверить результаты измерений.
По истечении месяца карандашные записи с бирок снимаются, и производится разграфка с указанием сроков замеров на месяц вперед.
6.5. Для проверки работы наблюдателей и состояния наблюдательной сети инспектор, назначаемый из числа квалифицированных специалистов режимной партии, один раз в квартал выполняет маршрут контрольного объезда наблюдательной сети.
Зная твердо установленные маршруты наблюдателей, инспектор объезжает все имеющиеся скважины и сопутствующие наблюдательные пункты, указывает в дневнике часы посещения тех или иных наблюдательных точек, проверяет наличие бирок на скважинах, правильность и своевременность их заполнения, техническое состояние наблюдательных точек, производит контрольные замеры глубины до воды, глубины до дна скважины, определяет чувствительность скважины к изменению уровня воды, для чего организует тартание скважины желонкой или налив в скважину воды с фиксацией первоначального и последующего через 10 минут уровней воды, которые записываются в полевой книжке.
Если в течение 0,5 - 1,0 ч уровень воды в скважине не восстанавливается до первоначального, то такая скважина считается дефектной, нуждающейся в прочистке своего фильтра.
6.6. Данные своего замера уровня воды инспектор сверяет с записью наблюдателя, указанной на бирке, и делает вывод о причине их расхождения (если оно отмечается), ставит свою подпись на бирке и в полевой книжке наблюдателя.
Инспектор обязан также проверить поправку на рулетку наблюдателя, сличить разбивку делений на рулетке с эталонной стальной лентой, которую он возит с собой, что необходимо записать в полевой книжке наблюдателя.
Вместе с этим проверяется правильность заполнения всей книжки, копии с нее, которая отсылается на базу партии 2-го и 16-го числа ежемесячно, а также состояние термометра и другой измерительной аппаратуры.
6.7. В состав инспекции наблюдательной сети должна входить оценка изменений в окружающей среде, для чего инспектор осматривает местность около скважин и в радиусе 1 - 2 км от них. Обращается внимание на изменения в рельефе, растительности, поверхностных водотоках, водоемах, на появление различных искусственных факторов и условий (строительство домов, дорог, дрен, водоотлив, свалки и т.п.). Из сравнения этой ситуации с первоначальной, бывшей при сооружении скважин, делается вывод о возможном влиянии на режим подземных вод новых факторов, которые в последующем должны детально наблюдаться и учитываться.
6.8. Не реже одного раза в год (если на наблюдательных точках не повреждены марки) специалистом-топографом должна осуществляться проверочная нивелировка всех наблюдательных точек. В целях своевременного обнаружения смещения «марки» необходимо производить ее привязку к ближайшим предметам, высотная отметка которых подвергается меньшим смещениям.
6.9. Каждая оборудованная наблюдательная точка является государственной собственностью. В случае злостного повреждения наблюдательной точки руководство и персонал гидрогеологической режимной партии обязаны принять соответствующие меры к выявлению и привлечению виновных лиц к ответственности.
О каждом повреждении наблюдательной точки составляется акт (на месте). Содержание акта и указания на мероприятия по устранению повреждений заносятся в паспорт наблюдательной точки.
Целесообразно проведение широкой разъяснительной работы через местную печать и радио о значительном ущербе, который приносится государству повреждением наблюдательных точек.
7.1. Документация наблюдений
7.1.1. Запись наблюдений производится на месте измерений в полевые книжки с соблюдением обычных правил документации полевых данных. Составление черновых журналов (книжек) или черновых записей категорически запрещается.
7.1.2. Для целей обработки данных в автоматизированном режиме рекомендуется форма полевой книжки /прил. 1/. Наблюдатель составляет два экземпляра указанной полевой книжки /36/.
7.1.3. Экземпляр полевой книжки высылается два раза в месяц (первого и шестнадцатого числа) на базу гидрогеологической партии. Второй экземпляр полевой книжки высылается на базу гидрогеологической партии через каждые три месяца (раз в квартал), спустя месяц после высылки последних данных.
7.2. Первичная обработка и оценка качества данных
7.2.1. Первичная обработка данных заключается в проверке правильности заполнения полевой книжки, составлении годовой таблицы наблюдений за уровнем, напором и дебитом подземных вод, составлении годовых хронологических графиков изменения уровня, напора и дебита подземных вод, графиков наращивания, представляющих многолетнюю последовательность годовых хронологических графиков, выявлении и устранении ошибочных измерений, восстановлении пропущенных измерений, сопоставлении всего названного комплекса обработки с данными об осадках, температуре воздуха.
7.2.2. При наличии данных наблюдений по 12 месяцам календарного года рассчитываются средние арифметические годовые значения уровня, напора и дебита, а также выбираются их экстремальные значения за год. Фактические данные наблюдений и рассчитанные значения заносятся в годовую таблицу данных (прил. 2, 2а, 2б).
7.2.3. Графики наблюдений (хронологический график) за уровнем, напором и дебитом подземных вод составляют по данным таблицы (прил. 2, 2а, 2б).
7.2.4. Хронологический график дополняется ежемесячно сразу же после поступления на базу партии полевых книжек.
7.2.5. Выявление и устранение ошибочных, а также восстановление пропущенных измерений осуществляется путем качественной визуальной оценки хронологического графика, а также путем сравнения с так называемым типовым графиком (рис. 10).
7.2.6. Хронологические годовые графики строятся по данным всех наблюдательных скважин за все годы наблюдений.
7.3. Вторичная обработка данных
7.3.1. К вторичной обработке данных наблюдений относятся:
- построение серии карт, профилей и комплексных графиков;
- расчет качественных и количественных характеристик годового и многолетнего режима уровня, напора и дебита подсадных вод;
- выявление и расчет статистических параметров и структура временных рядов, представленных уровнем, напором и дебитом подземных вод;
- расчет обобщенных характеристик режима уровня, напора и дебита подземных вод;
- выявление качественной и количественной связи изменений уровня, напора и дебита и режимообразующих условий и факторов;
- составление прогнозов режима подземных вод;
- расчет гидрогеологических параметров;
- расчет баланса подземных вод.
7.3.2. Серия карт и профилей составляется в целях характеристики пространственного и временного состояния водных объектов. Карты и профили могут составляться как на фиксированные моменты времени (например, на момент наивысшего и наинизшего, весеннего и осеннего и т.д. состояния уровня, напора и дебита подземных вод), так и на относящиеся к какому-либо интервалу времени: средние декадные, месячные, квартальные, годовые. К указанным картам и профилям относятся также традиционные карты глубин залегания, гидроизогипс, гидроизопьез /2, 18, 43/.
Под комплексными графиками понимаются совмещенные графики изменения уровня, напора и дебита подземных вод, с одной стороны, и режимообразующих факторов - с другой. В случае естественного режима подземных вод это метеорологические, гелиогеофизические, сейсмические, гидрологические факторы. В случае нарушенного режима подземных вод последние дополняются техногенными факторами: водоотбором, дренажным стоком, водоподачей, режимом застройки, режимом работы водохранилищ и т.д.
Рис. 10. Обобщенный график годовых изменений уровня (напора, дебита) подземных вод:
1.
Кривая изменения уровня (напора, дебита) подземных вод; 2 - характерные точки
на кривой: Н1 - предвесенний минимум уровня (напора, дебита)
подземных вод; Н2 - весенний максимум уровня (напора, дебита)
подземных вод; Н3 - летне-осенний минимум уровня
(напора, дебита) подземных вод; Н4 - осенний максимум уровня
(напора, дебита) подземных вод; Н5 - уровень (напор, дебит)
по состоянию на начало календарного года; 3 - обозначение амплитуд изменения
уровня (напора, дебита), подземных вод:
- амплитуда весеннего подъема;
- амплитуда летнего спада;
- амплитуда
летне-осеннего подъема;
-
амплитуда зимнего спада; Dhкаленд. - амплитуда изменения уровня (напора,
дебита) за календарный год; Dhг/л - то же самое за гидрологический год
7.3.3. Расчет качественных и количественных характеристик годового и многолетнего режима подземных вод следует отнести к приемам, позволяющим осуществить первичную типизацию режима. Качественная типизация проводится на основе классификации так называемых типовых графиков. По типовому графику определяются общий вид кривой колебания и наиболее вероятный ход изменения уровня, напора и дебита подземных вод, а также наиболее вероятные сроки наступления точек перегиба на графике. К качественным приемам следует отнести также построение гистограмм сроков наступления характерных уровней.
К количественным характеристикам годового и многолетнего режима уровня, напора и дебита подземных вод относятся амплитуда и скорость подъема или спада за характерные периоды времени, а также диапазон изменения (размах, наименьшее и наибольшее значения, среднее арифметическое, среднее квадратическое, коэффициенты вариации, асимметрии, эксцесса и т.д.) /36/.
Кривые обеспеченности имеют многоцелевое назначение: оценка закона и параметров распределения, диапазона наблюдаемых и возможных (прогнозных) изменений исследуемой величины, приведение короткого ряда к многолетнему периоду. Их рекомендуется использовать при расчете обобщенного для площади уровня, напора и дебита подземных вод.
7.3.4. Структуру временного ряда рекомендуется оценивать с помощью составленной во ВСЕГИНГЕО программы «Режим». Основная предпосылка анализа заключается в предположении, что временной ряд представляется суммой трех составляющих: тренда, гармоники и случайной компоненты. В программе предусмотрена возможность ограничения полинома первой, второй и третьей степенью.
7.3.5. В случае, если ряд наблюдений за уровнем, напором и дебитом подземных вод по длительности достигает 10 - 15 и более лет, рекомендуется осуществлять специфическую математическую обработку, которая заключается в операциях по «сжатию», «сглаживанию» и «нормированию» данных об уровнях, напорах и дебитах подземных вод.
7.3.6. Операции по «сжатию» данных заключаются в оценке средних арифметических, взвешенных, хронологических значений уровня, напора и дебита за определенный интервал времени. Интервал «сжатия» при длине ряда наблюдений 10 - 15 лет целесообразно приравнивать к месяцу, до 100 лет - к одному году и т.д.
Операции по «сжатию» данных имеют своей целью представление информации о режиме подземных вод в наглядном, компактном виде. Подробно рекомендуемые приемы «сжатия» и оценка их эффективности приведена в работе /50/.
7.3.7. Операции по «сглаживанию» позволяют удалить из анализируемого процесса несущественные изменения и выделить более крупные, характерные. Для «сглаживания» применяются расчет скользящей средней, полиномов, подбор функций эмпирическим путем или методом наименьших квадратов, экспоненциальное сглаживание. Подробное описание указанных приемов приведено в работе /3/.
7.3.8. Операции по «нормированию» уровня, напора и дебита подземных вод применяются в целях выражения последних в безразмерных величинах. Это позволяет осуществлять оценку так называемых региональных (по крупным территориям) закономерностей режима подземных вод. Для нормирования уровня, напора и дебита подземных вод используются следующие приемы: расчет коэффициента относительного положения уровня, модульного коэффициента и обеспеченности /22, 23, 46, 49/.
7.3.9. Выявление, качественная и количественная оценка режимообразующих условий и факторов осуществляются графическим способом, а при массовом характере данных - с применением ЭВМ. Графическим способом анализируется связь амплитуд, сроков наступления экстремальных уровней, напоров и дебитов, динамичности, выраженной коэффициентами вариации или среднеквадратическим отклонением и других статистик с мощностью и литологическим составом зоны аэрации и водовмещающих пород. Предварительному графическому анализу подвергаются перечисленные выше характеристики режима подземных вод с метеорологическими, гидрологическими и другими естественными, а также нарушенными факторами. Связь оценивается количественно-аналитическим или графическим путем и подбором уравнений связи.
7.3.10. Математическая обработка данных в целях построения и оценки прогностических моделей осуществляется аналогично обработке данных для выявления режимообразующих условий и факторов, т.е. графически, а при машинной обработке - с помощью стандартных программ. Однако в данном случае сопоставление осуществляется со сдвигом по времени режимообразующих факторов относительно режима подземных вод. Таким путем устанавливается важный прогностический элемент - запаздывание (если оно есть) влияния того или иного фактора на режим подземных вод. Величина шага сдвига по временной оси выбирается вначале интуитивно с учетом опыта исследователя.
7.3.11. Расчет гидрогеологических параметров по данным режимных наблюдений выполняется в первую очередь для тех участков территории, на которых имеется достаточная сеть наблюдательных скважин, позволяющая сделать этот расчет, а также расчет элементов баланса грунтовых вод. Методика расчета изложена в работах /26, 27, 28/.
Важнейшие расчетные гидрогеологические параметры - коэффициент гравитационной водоотдачи водоносных пород µ в пределах изменения уровня воды и положения подпертой капиллярной каймы, а также коэффициент недостатка насыщения пород µ'. Параметры наиболее надежно определяются экспериментальным путем на основании сравнения влагозапасов грунта в пределах колебаний подпертой капиллярной каймы и уровня грунтовых вод за выбранный отрезок времени, а также на основании учета величины изменения этого уровня DН /26, 27, 28/.
Наиболее важной является задача определения этих параметров для различных пород и почвогрунтов при естественном и искусственном колебании уровня воды и составление справочника количественных данных по этим параметрам.
7.3.12. Первоначальные расчеты элементов баланса грунтовых вод производятся в разрезе года, который разбивается на генетические хронологические промежутки времени Dt с монотонным изменением уровня воды DН. Такие расчеты производятся для расчетных ключевых участков створов скважин - элементов потока, на балансовых участках и для «конвертов» скважин. При этом применяются методы конечных разностей, аналитических решений дифференциальных уравнений неустановившегося движения вод, уравнений связи, приближенные методы и др. Эффективным является метод математического моделирования с помощью ЭВМ. Непосредственно рассчитываются: инфильтрация осадков, достигающих зеркала воды, расход грунтовых вод на испарение и восходящий ток влаги в зону аэрации, перетекание этих вод в подстилающие водоносные горизонты или обратный ток воды, горизонтальный приток и отток грунтовых вод по пласту.
7.3.13. Важным этапом обработки данных является анализ корреляционных связей элементов баланса со среднегодовой глубиной до уровня грунтовых вод на расчетных участках и с другими факторами, например, с водоотдачей пород, растительностью, водоподачей на орошение, коэффициентом земельного использования и т.п. При наличии достаточно тесных связей элементов баланса (в первую очередь величины питания грунтовых вод) с указанными факторами открывается возможность надежной экстраполяции расчетных элементов баланса по площади.
7.3.14. На заключительном этапе обработки и анализа данных расчета баланса грунтовых вод составляется сводный баланс для всего водосбора - балансового участка площадью в несколько квадратных километров или речного водосбора в несколько десятков квадратных километров с выделением на нем балансовых районов, отличающихся характерным соотношением элементов баланса между собой. При этом определяются величина подземного стока с водосбора и связь этого стока с речным и поверхностным склоновым стоками, что очень важно знать для водохозяйственных гидрологических прогнозов и региональной оценки ресурсов подземных вод /26, 27, 28/.
7.3.15. При выполнении такого расчета баланса грунтовых вод попутно составляются карты годовой инфильтрации атмосферных осадков, достигших грунтовых вод, годового расхода грунтовых вод на испарение и отток влаги в зону аэрации, изменения запаса грунтовых вод сверху и местного пополнения подземного стока. Если отмечается перетекание грунтовых вод в подстилающие напорные водоносные горизонты, то составляется карта этого перетекания.
7.3.16. Многолетние режимные наблюдения за подземными водами и указанные систематические расчеты их баланса позволяют найти количественные связи элементов баланса с гидрометеорологическими факторами, в результате чего возможно прогнозирование изменения баланса подземных вод во времени.
8.1. Применяемая аппаратура подразделяется на переносную и стационарную. Первый тип измерительных приборов применяется при гидрогеологических съемках, детальных работах (разведке, поисках) и стационарных исследованиях режима подземных вод. Эти приборы отличаются портативностью и надежностью в эксплуатации. Наблюдатели гидрогеологических режимных партий пользуются этими приборами в процессе замера уровня воды, глубины скважин, колодцев и напора фонтанирующих скважин.
Второй тип приборов устанавливается в скважинах и над ними для непрерывной регистрации моментов режима подземных вод, производимой автоматически, в отсутствие наблюдателя. Также приборы применяются главным образом на опытных балансовых участках и на опытных кустах скважин.
8.2. К переносным средствам измерения относятся гидрогеологическая рулетка с хлопушкой или свистком Ранга, электроуровнемеры, водомерные рейки и манометры разных систем, различающиеся условиями применения. К стационарным средствам измерения можно отнести различные уровнемеры дискретного действия, самописцы уровня воды для непрерывной регистрации его изменений во времени, цифропечатающие устройства и дистанционная аппаратура с радио- и телеграфной связью.
8.3. При неглубоком залегании грунтовых вод (менее 1 - 2 м) очень удобны в эксплуатации переносные рейки, применяемые на гидрологических постах для измерения уровня воды, а также постоянно устанавливаемые в колодцах крючковые рейки, принятые в Госкомгидромете /35/. Для удобства пользования деревянными рейками при замерах уровня воды в скважинах в основании их устанавливается электрический контакт для замыкания электроцепи в момент касания зеркала воды. Электрическая цепь снабжается проводом, укрепленным вдоль рейки, батарейкой карманного фонаря и электролампочкой. В такую цепь включается и обсадная труба. На таком принципе сконструирована переносная контактная рейка ГР-92.
Наблюдения за уровнем воды на осушаемых территориях (болотных массивах) целесообразно осуществлять переносной водомерной рейкой ГР-23 (глубина до воды 0 - 1 м) или ее модернизированным вариантом, позволяющим измерять уровень на глубине до 2 м.
Основными элементами такой рулетки являются: стальная мерная лента с делениями 1 и 0,5 см, длиной обычно 20 м; хлопушка или свисток Ранга, укрепленные в начале мерной ленты; корпус рулетки с деревянной ручкой и складной рукояткой для сматывания ленты. Погрешность наблюдения за уровнем воды составляет ± 1 см, максимальная глубина до уровня воды 20 м. Масса рулетки около 1 кг.
На настоящий момент гидрогеологические рулетки - основной прибор для режимных наблюдений по опорной наблюдательной сети.
Для наблюдений за уровнем при глубинах до воды более 30 м применяются тросиковые рулетки с хлопушкой. Мерный трос длиной 50 и 100 м имеет бирки через 0,5 м. Для сматывания тросика имеются дисковый блок, рукоятка и ручка. При отсчете уровня с точностью ± 1 см применяется стальная линейка с соответствующими делениями.
Другим подобным типом измерительных средств являются гидрогеологические рулетки Р-50б и ГГП-19б, которые применялись и применяются для замеров уровней подземных вод на достаточно большом диапазоне глубин - от 0 до 50 и 100 м. Точность замеров уровня рулетками зависит от глубины залегания замеряемого уровня и колеблется от ± 1 до ± 3 см. Рулетки выпускаются заводом Нефтеавтоматика (Башкирская АССР). К недостаткам данных измерительных средств относится сравнительно быстрый износ мерных тросиков, а также невысокая точность их разметки.
8.5. Для широкого применения может быть рекомендован электроуровнемер ЭВ-1M, предназначенный для замеров уровня подземных вод на достаточно большой глубине (до 200 м). Питание уровнемера автономное, от двух батареек типа КБС-Л-0,50. Уровнемер может использоваться для замеров уровня в районах крупных водозаборов и горного водоотлива.
В качестве датчика служит электрод диаметром 20 мм, что позволяет осуществлять замеры практически во всех наблюдательных скважинах. Недостаток уровнемеров типа ЭВ-1M - выход из строя реле, нарушение изоляции мерного провода, смещение со своих мест мерных бирок. Выпускаются заводом Нефтеавтоматика (Башкирская АССР).
8.6. Хорошими техническими и эксплуатационными характеристиками отличается разработанный специалистами ВСЕГИНГЕО уровнемер ленточный УЛ-50, предназначенный как для стационарных измерений по наблюдательной сети, так и для проведения опытных работ. Прибор выпускается НПО Сигнал (Ташкент). Может применяться практически во всех природных зонах СССР, так как рассчитан на эксплуатацию при температуре окружающей среды от -30 до +50 °C и относительной влажности воздуха до 98 % при температуре +25 °C. Диапазон измеряемых глубин от 0 до 50 м. Предел допускаемой основной погрешности уровнемера около ± 3 см. Масса не более 4 кг. Электропитание уровнемера от пяти элементов 316.
Глубина залегания уровня воды в скважине измеряется металлической лентой, вытягиваемой электродом под действием его веса до соприкосновения последнего с поверхностью воды.
8.7. При необходимости непрерывных наблюдений за уровнем подземных вод в условиях автономного функционирования измерительных средств используются самописцы. Самописцем, предназначенным для широкого применения на гидрогеологической наблюдательной сети Мингео СССР, является разработанный специалистами ВСЕГИНГЕО (СССР) и НИИГИ (ЧССР) уровнемер УСР. Выпускается уровнемер опытный производством ВСЕГИНГЕО (Московская область, Ногинский район, пос. Зеленый). Прибор имеет компактные формы и может быть установлен непосредственно на наблюдательной скважине диаметром не менее 79 см. Глубина установки прибора от 0 до 50 м. Диапазон измерений колебаний уровня 0 - 3 м с погрешностью ± 3 см. Время автономной (безнадзорной) работы достаточно большое - около 3 месяцев. Замеры, отсчитываемые на бумажной ленте в виде цифр, осуществляются дискретно 2 раза в сутки с периодичностью 12 ч. Питание прибора осуществляется от блока питания БП-2. Вес уровнемера - около 28 кг. Может эксплуатироваться в широком диапазоне природных условий, так как рассчитан на температуру от -30 до ± 50 °C.
8.8. Достаточно широко используются в службе изучения режима подземных вод серийно выпускаемые заводом Гидрометприбор (г. Рига) самописцы уровня СУВ-М «Валдай». Прибор предназначен для регистрации колебаний уровня воды в скважинах диаметром более 250 мм. Самописец состоит из двух узлов: поплавковой системы и записывающего устройства. При колебаниях уровня поплавковая система приводит во вращение поплавковое колесо, связанное с барабаном, на котором размещена бумажная лента для записи. К недостаткам прибора относится малый срок автономного функционирования (до 30 суток) и невозможность помещения прибора во внутрь наблюдательной скважины, в связи с чем приходится сооружать защитные будки.
8.9. Регистратор уровня воды РУВС-1, разработанный в НПО «Узбекгидрогеология» и изготовляемый в его опытных мастерских, апробирован и может быть рекомендован к использованию при гидрогеологических режимных наблюдениях в аридной зоне. Прибор предназначен для автоматического измерения и регистрации уровня воды в скважинах, диаметр которых не менее 75 мм. Предельная глубина уровня, которую может измерять прибор, - не более 100 м, а диапазон ее изменений под влиянием естественных и антропогенных факторов не должен превышать 10 м, что для условий аридной зоны (исключая карстовые районы) вполне допустимо. Точность измерения весьма высокая (± 1 см), а время автономной работы наибольшее из всех существующих самописцев - 4 месяца. Запись информации производится на машиноориентированный носитель, что упрощает ее обработку на ЭВМ. Прибор крепится с помощью специального ключа, фиксирующего его положение в обсаженной скважине (рис. 11).
8.10. Самописец уровня воды (ГР-38) с горизонтальным барабаном, выпускаемый заводом Гидрометприбор (г. Рига), имеет большую продолжительность действия без смены ленты (8, 16 и 32 суток). Масштабы записей различные: 1:5, 1:10, 1:20. Метод измерения - механический; заводной механизм - часовой. Погрешность измерения ± 1 см. Самописец ГР-38 более подходит к производству режимных наблюдений за уровнем неглубоко залегающих грунтовых вод.
8.11. Наблюдения за напором воды производятся с помощью манометров, устанавливаемых на устье самоизливающейся скважины. Для этих целей чаще всего применяются серийно выпускаемые отечественной промышленностью манометры, подсоединяемые к оголовкам скважин (см. рис. 5).
8.12. Измерительные средства для определения дебита (расхода) воды, как и для наблюдения за ее уровнем, могут быть переносными и стационарными. Первыми наблюдатели обычно пользуются при систематических наблюдениях за режимом подземных вод, при обходах или объездах наблюдательной сети. Вторыми пользуются наблюдатели и техники на опытных (балансовых) участках, где соответствующая аппаратура устанавливается на весьма продолжительное время.
В состав переносных средств входят объемные сосуды и секундомеры, переносные водосливы и насадки для временной установки на небольших водотоках (арыках, ручьях), комплектные дебитометры и т.п.
В состав стационарной аппаратуры включаются постоянно устанавливаемые водосливы, лотки и другие гидрометрические устройства, водомеры крыльчатые для трубопроводов, шариковые и турбинные; ротаметры, дифманометры и различные глубинные дебитометры, устанавливаемые в буровых скважинах.
Несомненно, что часть приборов второй группы может устанавливаться на скважинах на непродолжительное время для измерения де-
Рис. 11. Схема установки уровнемера УСР в наблюдательной скважине:
1 - блок первичного преобразования БПП-2; 2 - блок управления БУ-3; 3 - блок регистрации БР-2; 4 - блок питания БП-2; 5, 6 - кабели связи; 7 - электрод преобразователя; 8 - прибор контрольный ПК-2; 9 - обсадная труба
8.13. При выборе размеров мерных сосудов для наблюдения за дебитом воды учитываются максимальный расход источника или скважины и допустимые погрешности измерения дебита, объема и времени.
8.14. Переносные водосливы трапецеидального (системы Чиполетти) или треугольного профиля широко применяются для замеров расхода воды в ручьях и на мелких водотоках. Кроме того, они широко используются в комплектах мерных прямоугольных баков. В таких баках устраивается успокоитель падающих струй воды, водослив с рейкой - в верхнем бьефе (на одной из боковых стенок) и сброс воды, направляемой в трубопровод. Применяются также насадки на гидрометрических щитах, устанавливаемых поперек русла канав. На трубопроводах и оголовках фонтанирующих скважин удобно применять различные водомеры.
8.15. Стационарные средства наблюдений разделяются на поверхностные расходомеры и на глубинные дебитометры, устанавливаемые в буровых скважинах.
Для постоянно работающих водозаборных скважин весьма удобны комплекты дифманометров - расходомеров сифонных электрических, позволяющих записывать дебит скважины на графике, а также различные водомеры в виде счетчиков расхода воды. Эти и подобные им приборы устанавливаются на патрубках и оголовках фонтанирующих скважин, непосредственно на поверхности.
Для глубинного измерения дебита скважины, что бывает необходимо при оценке водопроницаемости по стволу скважины, используют ряд различных расходомеров, разработанных главным образом применительно к нуждам нефтепромысловой гидрогеологии.
1. Абрамов С.К., Биндеман Н.Н., Бочевер Ф.М., Bepигин И.H. Влияние водохранилищ на прилегающие территории. М.: Госстройиздат, 1960.
2. Атлас моделей гидрогеологических карт. Научный ред. Н.В. Роговская. М.: Недра, 1970. - 236 с.
10. Изыскания и защита от подтопления на застроенных территориях. Киев: Будивельник, 1976.
12. Каменский Г.Н. О гидродинамических основах прогноза режима подземных вод. - Тр. МГРИ, т. 20, 1940, с. 252 - 262.
13. Каменский Г.Н., Биндеман Н.Н., Вевиоровская М.А., Альтовский М.Е. Режим подземных вод. М.: Госгеолтехиздат, 1943.
15. Кац Д.М. Контроль режима грунтовых вод на орошаемых землях. М.: Колос, 1967. - 183 с.
16. Кац Д.М., Шестаков В.М. Мелиоративная гидрогеология. М.: Изд-во МГУ, 1981. - 296 с.
18. Климентов П.П., Богданов Г.Я. Общая гидрогеология. Учебник для втузов. М.: Недра, 1977. - 357 с.
19. Ковалевский B.C. Методическое руководство по изучению режима подземных вод в районах водозаборов. М.: ВСЕГИНГЕО, 1968.
20. Коноплянцев А.А., Ковалевский B.C. Принципы размещения наблюдательной сети для изучения естественного режима подземных вод. М.: ВСЕГИНГЕО, 1967. - 47 с.
21. Коноплянцев А.А., Ковалевский B.C., Семенов С.М. Естественный режим подземных вод и его закономерности. М.: Госгеолтехиздат, 1963. - 231 с.
25. Куличихин Н.И. Бурение на воду. М.-Л.: ГОНТИ, 1938.
26. Лебедев А.В. Методы изучения баланса грунтовых вод. Изд. 2-е. М.: Недра, 1980. - 223 с.
27. Лебедев А.В. Формирование баланса грунтовых вод на территории СССР. М.: Недра, 1980. - 288 с.
29. Маслов Б.С. Режим грунтовых вод переувлажненных земель и его регулирование. М.: Колос, 1970.
31. Методические рекомендации по организации и проведению наблюдений за режимом подземных вод для прогноза землетрясений. Сост. Л.С. Балашов и др. М.: ВСЕГИНГЕО, 1980.
32. Методическое руководство по разведке и оценке эксплуатационных запасов подземных вод для водоснабжения. Сост. Л.С. Язвин, Б.В. Боревский. М.: ВСЕГИНГЕО, 1979. - 131 с.
41. Прогноз и предотвращение подтопления грунтовыми водами территорий при строительстве. Под редакцией С.К. Абрамова. М.: Стройиздат, 1978.
42. Программное обеспечение вторичной обработки (временные методические рекомендации по автоматизированной системе обработки материалов наблюдений за режимом подземных вод). Сост. В.И. Пыркин и др. М.: ВСЕГИНГЕО, 1977. - 93 с.
48. Справочник по бурению скважин на воду. М.: Недра, 1979.
51. Челидзе Ю.Б., Алешина Н.Ф. Опыт оценки оправдываемости гидрогеологических прогнозов. - В кн.: Вопросы изучения и прогноза режима подземных вод. Тр., вып. 129. М.: ВСЕГИНГЕО, 1979, с. 83 - 95.
54. Шустов В.М. Техника измерений при полевых гидрогеологических исследованиях. М.: Недра, 1978. - 190 с.
Лицевая сторона
|
МИНИСТЕРСТВО ГЕОЛОГИИ СССР Полевая книжка
|
|||||||||||||||||||||||||||||||||||||
|
Дата |
Отсчет по рулетке, м |
Поправка на рулетку, м |
Исправленный отсчет по рулетке, м |
Глубина уровня от поверхности земли, м |
Примечание |
Среднее
Высшее
Дата
Низшее
Дата
|
Дата |
Название эталона |
Отсчеты |
Поправка, м |
Подпись контролера |
|
|
по рулетке, м |
по эталону, м |
||||
Наблюдательная скважина №.............................................................................................
Абсолютная отметка устья скважины, м...........................................................................
Название измерительного прибора....................................................................................
Превышение точки измерения марки над поверхностью земли, м................................
Глубина наблюдаемого водоносного горизонта от поверхности земли, м...................
|
Дата |
Отсчет
по манометру или пьезометру, |
Поправка
на патрубок, |
Исправленная
величина давления или пьезометрической высоты, |
Отметка уровня воды или пьезометрический напор, м |
Примечание |
|
1 |
2 |
3 |
4 |
5 |
6 |
Сумма
Среднее
Наибольшее
Дата
Наименьше
Дата
Результаты измерения дебита воды
Наблюдательная скважина №.............................................................................................
Абс. (относ.) отм. края обсадной трубы, м........................................................................
Превышение края трубы над поверхностью земли, м.....................................................
Способ измерения дебита....................................................................................................
Объем мерного сосуда........................................ Тип водослива.......................................
Основные размеры водослива............................................................................................
.................................................................................................................................................
|
Дата |
Время заполнения мерного сосуда, с (или отсчеты по рейке, см) |
Среднее из отсчетов времени, с (или отсчетов по рейке водослива, см) |
Расход, л/с |
Примечание |
Сумма
Среднее
Наибольшее
Дата
Наименьшее
Дата
_______________________ Производственное
геологическое объединение
Гидрогеологическая партия __________________
Уровни подземных вод от поверхности земли, м
Наблюдательная скважина №
Абс. отм. поверхности земли, м 19___ г.
|
Месяц |
I |
II |
III |
IV |
V |
VI |
VII |
VIII |
IX |
X |
XI |
XII |
Примечания |
|
|
Число |
||||||||||||||
|
3 |
||||||||||||||
|
6 |
||||||||||||||
|
9 |
||||||||||||||
|
12 |
||||||||||||||
|
15 |
||||||||||||||
|
18 |
||||||||||||||
|
21 |
||||||||||||||
|
24 |
||||||||||||||
|
27 |
||||||||||||||
|
30 |
||||||||||||||
|
Сумма |
||||||||||||||
|
Средний за месяц |
||||||||||||||
|
Высший |
||||||||||||||
|
Число |
||||||||||||||
|
Низший |
||||||||||||||
|
Число |
||||||||||||||
|
Среднегодовой________________ |
Обрабатывал ___________________ |
|||||||||||||
|
Наивысший |
(дата) |
Амплитуда |
Проверил ______________________ |
|||||||||||
|
Наинизший |
(дата) |
|||||||||||||
________________________ Производственное
геологическое объединение
Гидрогеологическая партия _________________
Напоры подземных вод от уровня Балтийского моря, м
Абс. отм. поверхности земли, м наблюдательная скважина № ____
19____ г.
|
Месяц |
I |
II |
III |
IV |
V |
VI |
VII |
VIII |
IX |
X |
XI |
XII |
Примечания |
|
Число |
|||||||||||||
|
3 |
|||||||||||||
|
6 |
|||||||||||||
|
9 |
|||||||||||||
|
12 |
|||||||||||||
|
15 |
|||||||||||||
|
18 |
|||||||||||||
|
21 |
|||||||||||||
|
24 |
|||||||||||||
|
27 |
|||||||||||||
|
30 |
|||||||||||||
|
Сумма |
|||||||||||||
|
Средний за месяц |
|||||||||||||
|
Больший |
|||||||||||||
|
Число |
|||||||||||||
|
Меньший |
|||||||||||||
|
Число |
|||||||||||||
|
Среднегодовой ____________ |
|||||||||||||
|
Наибольший (дата) |
Составил ____________ |
||||||||||||
|
Наименьший (дата) |
Проверил ____________ |
||||||||||||
|
Амплитуда _______________ |
|||||||||||||
_____________________ Производственное
геологическое объединение
Гидрогеологическая партия ____________
Дебиты подземных вод, л/с
Абс. (отн.) отметка выхода воды ________ Наблюдательная точка № _____
19____ г.
|
Месяц |
I |
II |
III |
IV |
V |
VI |
VII |
VIII |
IX |
X |
XI |
XII |
Примечания |
|
Число |
|||||||||||||
|
3 |
|||||||||||||
|
6 |
|||||||||||||
|
9 |
|||||||||||||
|
12 |
|||||||||||||
|
15 |
|||||||||||||
|
18 |
|||||||||||||
|
21 |
|||||||||||||
|
24 |
|||||||||||||
|
27 |
|||||||||||||
|
30 |
|||||||||||||
|
Сумма |
|||||||||||||
|
Средний за месяц |
|||||||||||||
|
Высший |
|||||||||||||
|
Число |
|||||||||||||
|
Низший |
|||||||||||||
|
Число |
|||||||||||||
|
Среднегодовой ________________ |
|||||||||||||
|
Наивысший (дата) |
Составил ______________ |
||||||||||||
|
Наинизший (дата) |
Проверил _____________ |
||||||||||||
|
Амплитуда ___________________ |
|||||||||||||
|
МИНИСТЕРСТВО ГЕОЛОГИИ СССР _______________________ Производственное геологическое объединение Гидрогеологическая партия __________________ ПАСПОРТ №* _______ ___________ * Формат 20´29 см; хранится на базе партии как важный документ, записанный в инвентарную книгу партии. Буровая скважина, шурф, колодец № ________ (ненужное зачеркнуть) 1. Подробный адрес, республика (область), район, селение или расстояние от него, ориентированное по странам света, ж.-д. станция, пристань, адрес наблюдателя (почтовый и телеграфный), расстояние до базы партии и способ связи с ней _________ ___________________________________________________________________________ ___________________________________________________________________________ 2. Местоположение в рельефе _________________________________________________ ___________________________________________________________________________ 3. Расстояние от ближайшего водотока или водоема ____ км ____________________ от _________________________, превышение над его уровнем ___________________ в период ________________________________________________________________ 4. Абс. отм. устья ______________ м. 5. Координаты ___________________________ 6. Репер № __________, абс. отм. ______м, расстояние точки от репера _________м. 7. Скважина, шурф, колодец начат _____________________ 19________ г. окончен ______________________ 19______ г. 8. Глубина при проходке _____________ м. 9. Диаметр, сечение при проходке _________________ м. 10.
11. Тампонаж: ______________________ назначение __________________________ ________________________________________________________________________ способ _____________________ результаты проверки _________________________ 12. Наблюдается: __________________________ водоносный горизонт 13. Возраст и название наблюдаемого водоносного слоя _______________________ _________________________________________ литология _____________________ ________________________________________________________________________ мощность _____________________________ 14. Время оборудования наблюдательной скважины, шурфа, колодца ____________ ________________________________________________________________________ 15. Осветление произведено ___________________________________ (способ, дата результат) ____________________________________________________________ 16. Время открытия наблюдат. точки _________________ 19____ г. Время закрытия ___________________________ 19____ г. 17. Остаток трубы над поверхностью земли __________________ м 18. Абс. отм. верха трубы __________________ м марки для измерений _______ м местонахождение марки _________________________________________________ 19. Сведения о трубах, оставленных в скважине:
20. Сведения о фильтре Конструкция фильтра ___________________________________________________ Способ крепления фильтра _______________________________________________ Наружный диаметр __________________________________________________ мм Внутренний диаметр _________________________________________________ мм Длина общая ________________________________________________________ м " верхней глухой части ___________________________________________ м " отстойника ____________________________________________________ м " перфорированной части __________________________________________ м Форма и размеры отверстий ______________________________________________ Расстояние между центрами отверстий _____________________________________ Количество отверстий на пог. метр ________________________________________ Площадь общая перфорированной части __________________________________ м2 " всех отверстий __________________________________________________ " отверстий в % __________________________________________________ Тип сетки и ее номер ____________________________________________________ Способ наложения сетки _________________________________________________ Дно фильтра (глухая пробка, ее длина и пр.) _________________________________ Глубина верха пробки фильтра от поверхности земли ________________________ м абс. отм. ____________________ м Глубина перфорированной части фильтра от _____________ до _______________ м Другие сведения _________________________________________________________ 21. Обсыпка фильтра __________________________ Диаметр зерен _____________________________ мм Толщина слоя ______________________________ м Высота обсыпки __________________________ м Абс. отм. верха обсыпки _______________ м Абс. отм. низа обсыпки _________________ м Глубина от поверхности земли: " верха обсыпки _________________ м " низа обсыпки ___________________ м 22. Для шурфов и колодцев _______________________________________________ Способ крепления ______________________________________________________ Форма сечения ________________________________________________________ Глубина крепления ___________________________________________________ м Материал ____________________________________________________________ Размеры сечения (внутр.) ______________________________________________ м Обсыпка с наружной стороны крепи на уровне водоносного слоя ________________ Трамбовка с наружной стороны крепи в верхней части шурфа ___________________ 23. Для эксплуатационных шахтных колодцев: Режим эксплуатации: дебит _______________ л/с, часы работы _________________ Способ водоподъема _____________________________________________________ 24. Наружное оборудование скважин, шурфа, колодца: (ненужное зачеркнуть) Оголовок ________________________ Заделка устья _____________________ Крепь и высота ее над поверхностью земли ________________________________ м Другие сведения (способы отопления и пр.) __________________________________ 25. Ведомость нивелировки репера (№) ________
26. Ведомость нивелировки постоянной точки (марки), от которой производятся замеры
27. Сроки, установленные для наблюдений: уровней _______________ температуры ___________ взятия проб ____________ специальных ___________ 28. Сведения о проверке глубины скважины, шурфа, колодца (от марки)
29. Сведения о повреждениях, загрязнении, прочистке, ремонте, навертывании или свертывании трубы или муфты, об откачках, нагнетании, подсыпке или утрамбовке устья скважины, отеплении, изменении марки, перерыве в наблюдениях с указанием причин, ликвидации и пр.
30. Взятие проб воды
Примечание. После заполнения всех граф на следующей строке указывается способ откачки, способ отбора пробы воды, какие и кем сделаны определения на месте. 31. Дополнительные сведения
32. Отметки об инспекциях:
33. Сведения о наблюдателях
Составил ____________________________________ (должность, фамилия) Проверил ___________________________________ (должность, фамилия) Дата первоначального составления паспорта _____________ 19___ г. К паспорту обязательно прилагаются: 1) детальный гидрогеологический разрез наблюдательных скважин, шурфов, колодцев со схемой оборудования (труб, фильтров, наружной отделки, устьев и т.п.); 2) схема расположения наблюдательной скважины, шурфа, колодца; 3) таблица физических и водных свойств грунтов; 4) буровой журнал или журнал проходки шурфа; 5) копии заявок об открытии и закрытии наблюдательной точки. |
|||||||||||||||||||||||||||||||||||||||||||||||||||||||||||||||||||||||||||||||||||||||||||||||||||||||||||||||
СОДЕРЖАНИЕ
|
1. Назначение и задачи наблюдений. 2 2. Требования к составу и размещению сети наблюдательных пунктов. 4 3. Оборудование и конструкция наблюдательных скважин. 7 4. Особенности изучения режима уровня, напора и дебита подземных вод для различных целей. 9 5. Методика производства наблюдений. 17 6. Контроль работы наблюдательной сети. 20 7. Документация и обработка данных наблюдений. 21 8. Приборы и оборудование для наблюдений. 24 Приложение 1 28 Полевая книжка для записи результатов измерений уровня, напора и дебита подземных водПриложение 2 30 Уровни подземных вод от поверхности земли, м Приложение 3. 31 ПАСПОРТ №* _______ наблюдательной точки по изучению режима подземных вод |