ФЕДЕРАЛЬНОЕ
АГЕНТСТВО
ПО ТЕХНИЧЕСКОМУ РЕГУЛИРОВАНИЮ И МЕТРОЛОГИИ
|
|
НАЦИОНАЛЬНЫЙ |
ГОСТ Р ИСО |
ВИНТЫ С
ЦИЛИНДРИЧЕСКОЙ СКРУГЛЕННОЙ
ГОЛОВКОЙ И ЗВЕЗДООБРАЗНЫМ
УГЛУБЛЕНИЕМ ПОД КЛЮЧ
ISO 14583:2001
Hexalobular socket pan head screws
(IDT)
|
|
Москва Стандартинформ 2009 |
Предисловие
Цели и принципы стандартизации в Российской Федерации установлены Федеральным законом от 27 декабря 2002 г. № 184-ФЗ «О техническом регулировании», а правила применения национальных стандартов Российской Федерации - ГОСТ Р 1.0-2004 «Стандартизация в Российской Федерации. Основные положения»
Сведения о стандарте
1 ПОДГОТОВЛЕН Федеральным государственным унитарным предприятием «Центральный Ордена Трудового Красного Знамени научно-исследовательский автомобильный и автомоторный институт» (ФГУП «НАМИ») на основе собственного перевода стандарта, указанного в пункте 4
2 ВНЕСЕН Техническим комитетом по стандартизации ТК 229 «Изделия крепежные»
3 УТВЕРЖДЕН И ВВЕДЕН В ДЕЙСТВИЕ Приказом Федерального агентства по техническому регулированию и метрологии от 18 июня 2009 г. № 201-ст
4 Настоящий стандарт идентичен международному стандарту ИСО 14583:2001 «Винты со скругленной головкой и шестилепестковым углублением под торцовый ключ» (ISO 14583:2001 «Hexalobular socket pan head screws»).
Наименование настоящего стандарта изменено относительно наименования указанного международного стандарта для приведения в соответствие с ГОСТ Р 1.5-2004 (пункт 3.5).
При применении настоящего стандарта рекомендуется использовать вместо ссылочных международных стандартов соответствующие им национальные стандарты Российской Федерации, сведения о которых приведены в приложении А.
5 ВВЕДЕН ВПЕРВЫЕ
Информация об изменениях к настоящему стандарту публикуются в ежегодно издаваемом информационном указателе «Национальные стандарты», а текст изменений и поправок - в ежемесячно издаваемых информационных указателях «Национальные стандарты». В случае пересмотра (замены) или отмены настоящего стандарта соответствующее уведомление будет опубликовано в ежемесячно издаваемом информационном указателе «Национальные стандарты». Соответствующая информация, уведомление и тексты размещаются также в информационной системе общего пользования - на официальном сайте Федерального агентства по техническому регулированию и метрологии в сети Интернет
ГОСТ Р ИСО 14583-2009
НАЦИОНАЛЬНЫЙ СТАНДАРТ РОССИЙСКОЙ ФЕДЕРАЦИИ
ВИНТЫ С
ЦИЛИНДРИЧЕСКОЙ СКРУГЛЕННОЙ ГОЛОВКОЙ
И ЗВЕЗДООБРАЗНЫМ УГЛУБЛЕНИЕМ ПОД КЛЮЧ
Star type socket pan cylindrical head screws
Дата введения - 2010-01-01
Настоящий стандарт устанавливает характеристики винтов с цилиндрической скругленной головкой и звездообразным углублением под ключ с резьбой от М2 до М10 для изделий класса точности А.
В случаях, когда предъявляются другие требования, чем установленные в настоящем стандарте, их следует выбирать из международных стандартов, таких как, например, ИСО 261, ИСО 888, ИСО 898-1, ИСО 965-2, ИСО 965-3, ИСО 3506-1 и ИСО 4759-1.
В настоящем стандарте использованы нормативные ссылки на следующие стандарты:
ИСО 225:1983 Изделия крепежные. Болты, винты, шпильки и гайки. Символы и обозначения размеров
ИСО 898-1:1999 Механические свойства крепежных изделий из углеродистой и легированной стали. Часть 1. Болты, винты и шпильки
ИСО 965-2:1998 Резьбы метрические. ИСО общего применения. Допуски. Часть 2. Предельные размеры для наружной и внутренней резьбы общего применения. Средний класс точности
ИСО 3269:2000 Изделия крепежные. Приемочный контроль
ИСО 3506-1:1997 Механические свойства крепежных изделий из коррозионно-стойкой нержавеющей стали. Часть 1. Болты, винты и шпильки
ИСО 4042:1999 Изделия крепежные. Электролитические покрытия
ИСО 4759-1:2000 Изделия крепежные. Допуски. Часть 1. Болты, винты, шпильки и гайки. Классы точности А, В и С
ИСО 6157-1:1988 Изделия крепежные. Дефекты поверхности. Часть 1. Болты, винты и шпильки общего назначения
ИСО 8839:1986 Механические свойства крепежных изделий. Болты, винты, шпильки и гайки из цветных металлов
ИСО 8992:2005 Изделия крепежные. Общие требования для болтов, винтов, шпилек и гаек
ИСО 10664:2005 Углубление звездообразное для ввертывания болтов и винтов
ИСО 10683:2000 Изделия крепежные. Неэлектролитические цинковые ламеллевые покрытия
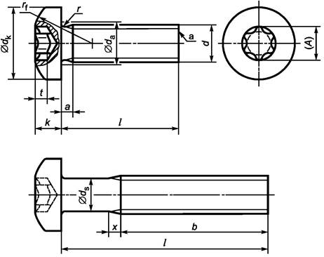
Размеры указаны на рисунке 1 и в таблице 1.
Символы и их обозначения, за исключением А, установлены в ИСО 225.
____________
а Без фаски.
Примечание - Диаметр цилиндрического стержня ds допускается выполнять равным номинальному диаметру резьбы или приблизительно среднему диаметру резьбы.
Рисунок 1
Таблица 1 В миллиметрах
|
Резьба d |
М2 |
М2,5 |
М3 |
(М3,5)а |
М4 |
М5 |
М6 |
М8 |
М10 |
|||
|
Pb |
0,4 |
0,45 |
0,5 |
0,6 |
0,7 |
0,8 |
1,0 |
1,25 |
1,5 |
|||
|
а, не более |
0,8 |
0,9 |
1,0 |
1,2 |
1,4 |
1,6 |
2,0 |
2,5 |
3,0 |
|||
|
b, не менее |
25 |
25 |
25 |
38 |
38 |
38 |
38 |
38 |
38 |
|||
|
dа, не более |
2,6 |
3,1 |
3,6 |
4,1 |
4,7 |
5,7 |
6,8 |
9,2 |
11,2 |
|||
|
dк |
не более |
4,0 |
5,0 |
5,6 |
7,00 |
8,00 |
9,50 |
12,00 |
16,00 |
20,00 |
||
|
не менее |
3,7 |
4,7 |
5,3 |
6,64 |
7,64 |
9,14 |
11,57 |
15,57 |
19,48 |
|||
|
k |
не более |
1,60 |
2,10 |
2,40 |
2,60 |
3,10 |
3,70 |
4,6 |
6,0 |
7,50 |
||
|
не менее |
1,46 |
1,96 |
2,26 |
2,46 |
2,92 |
3,52 |
4,3 |
5,7 |
7,14 |
|||
|
r, не более |
0,1 |
0,1 |
0,1 |
0,1 |
0,2 |
0,2 |
0,25 |
0,4 |
0,4 |
|||
|
rf ≈ |
3,2 |
4 |
5 |
6 |
6,5 |
8 |
10 |
13 |
16 |
|||
|
x, не более |
1,0 |
1,1 |
1,25 |
1,5 |
1,75 |
2,0 |
2,5 |
3,2 |
3,8 |
|||
|
Звездообразное углубление |
Номер |
6 |
8 |
10 |
15 |
20 |
25 |
30 |
45 |
50 |
||
|
А - размер для справок |
1,75 |
2,4 |
2,8 |
3,35 |
3,95 |
4,5 |
5,6 |
7,95 |
8,95 |
|||
|
t |
не более |
0,77 |
1,04 |
1,27 |
1,33 |
1,66 |
1,91 |
2,42 |
3,18 |
4,02 |
||
|
не менее |
0,63 |
0,91 |
1,01 |
1,07 |
1,27 |
1,52 |
2,02 |
2,79 |
3,62 |
|||
|
Ic |
Приблизительная масса винтов из углеродистой стали в килограммах на 1000 шт. (р = 7,85 кг/дм3) (только для справок) |
|||||||||||
|
номинальный размер |
не менее |
не более |
||||||||||
|
3 |
2,8 |
3,2 |
0,178 |
0,336 |
||||||||
|
4 |
3,76 |
4,24 |
0,196 |
0,366 |
0,544 |
|||||||
|
5 |
4,76 |
5,24 |
0,215 |
0,396 |
0,588 |
0,891 |
1,30 |
|||||
|
6 |
5,76 |
6,24 |
0,233 |
0,426 |
0,632 |
0,951 |
1,38 |
2,32 |
||||
|
8 |
7,71 |
8,29 |
0,270 |
0,486 |
0,720 |
1,07 |
1,53 |
2,57 |
4,37 |
|||
|
10 |
9,71 |
10,29 |
0,307 |
0,546 |
0,808 |
1,19 |
1,69 |
2,81 |
4,72 |
9,96 |
||
|
12 |
11,65 |
12,35 |
0,344 |
0,606 |
0,896 |
1,31 |
1,84 |
3,06 |
5,07 |
10,6 |
19,8 |
|
|
(14) |
13,65 |
14,35 |
0,381 |
0,666 |
0,984 |
1,43 |
2,00 |
3,31 |
5,42 |
11,2 |
20,5 |
|
|
16 |
15,65 |
16,35 |
0,418 |
0,726 |
1,07 |
1,55 |
2,15 |
3,56 |
5,78 |
11,9 |
21,8 |
|
|
20 |
19,58 |
20,42 |
0,492 |
0,846 |
1,25 |
1,79 |
2,46 |
4,05 |
6,48 |
13,2 |
23,8 |
|
|
25 |
24,58 |
25,42 |
0,996 |
1,47 |
2,09 |
2,85 |
4,67 |
7,36 |
14,8 |
26,3 |
||
|
30 |
29,58 |
30,42 |
1,69 |
2,39 |
3,23 |
5,29 |
8,24 |
16,4 |
28,8 |
|||
|
35 |
34,5 |
35,5 |
2,68 |
3,62 |
5,91 |
9,12 |
18,0 |
31,3 |
||||
|
40 |
39,5 |
40,5 |
4,01 |
6,52 |
10,0 |
19,6 |
33,9 |
|||||
|
45 |
44,5 |
45,5 |
7,14 |
10,9 |
21,2 |
36,4 |
||||||
|
50 |
49,5 |
50,5 |
7,76 |
11,8 |
22,8 |
38,9 |
||||||
|
(55) |
54,4 |
55,6 |
12,6 |
24,4 |
41,4 |
|||||||
|
60 |
59,4 |
60,6 |
13,5 |
26,0 |
43,9 |
|||||||
|
___________________ а Размеры, заключенные в скобки, применять не рекомендуется. b P - шаг резьбы. с Винты с номинальными длинами выше пунктирной ступенчатой линии имеют резьбу до головки (b = l - а). См. ИСО 888. Примечание - Винты со стандартными длинами находятся между поперечными ступенчатыми линиями. |
||||||||||||
Технические требования в соответствии с таблицей 2.
Таблица 2
|
Сталь |
Нержавеющая сталь |
Цветной металл |
|||
|
Общие требования |
Обозначение стандарта |
ИСО 8992 |
|||
|
Резьба |
Допуск |
6g |
|||
|
Обозначения стандартов |
ИСО 261, ИСО 965-2 |
||||
|
Механические свойства |
Классы прочности |
4.8 |
А2-70 А3-70 |
По согласованию |
|
|
Обозначения стандартов |
ИСО 898-1 |
ИСО 3506-1 |
ИСО 8839 |
||
|
Предельные размеры. Допуски формы и расположения |
Класс точности |
А |
|||
|
Обозначение стандарта |
ИСО 4759-1 |
||||
|
Звездообразное углубление |
Обозначение стандарта |
ИСО 10664 |
|||
|
Поверхность |
После изготовления |
Без покрытия |
Без покрытия |
||
|
Требования к гальванической защите поверхности по ИСО 4042 |
- |
Требования к гальванической защите поверхности по ИСО 4042 |
|||
|
Требования к неэлектролитическим цинковым ламеллевым покрытиям по ИСО 10683 |
|||||
|
Дефекты поверхности |
Предельные значения для дефектов поверхности по ИСО 6157-1 |
- |
- |
||
|
Приемочный контроль |
По ИСО 3269 |
||||
Пример условного обозначения винта с цилиндрической скругленной головкой и звездообразным углублением под ключ, с резьбой М5, номинальной длиной l = 20 мм и классом прочности 4.8
Винт с цилиндрической скругленной головкой М5×20-4.8-ГОСТР ИСО 14583-2009
|
Обозначение ссылочного международного стандарта |
Обозначение и наименование соответствующего национального стандарта |
|
ИСО 225:1983 |
* |
|
ИСО 6157-1:1988 |
ГОСТ Р ИСО 6157-1-2009 Изделия крепежные. Дефекты поверхности. Часть 1. Болты, винты и шпильки общего назначения |
|
ИСО 8839:1986 |
ГОСТ Р ИСО 8839-2009 Механические свойства крепежных изделий. Болты, винты, шпильки и гайки из цветных металлов |
|
ИСО 898-1:1999 |
ГОСТ Р 52627-2006 Болты, винты и шпильки. Механические свойства и методы испытаний |
|
ИСО 3269:2000 |
ГОСТ Р ИСО 3269-2009 Изделия крепежные. Приемочный контроль |
|
ИСО 3506-1:1997 |
ГОСТ Р ИСО 3506-1-2009 Механические свойства крепежных изделий из коррозионно-стойкой нержавеющей стали. Часть 1. Болты, винты и шпильки |
|
ИСО 4042:1999 |
ГОСТ Р ИСО 4042-2009 Изделия крепежные. Электролитические покрытия |
|
ИСО 4759-1:2000 |
ГОСТ Р ИСО 4759-1-2009 Изделия крепежные. Допуски. Часть 1. Болты, винты, шпильки и гайки. Классы точности А, В и С |
|
ИСО 10664:2005 |
ГОСТ Р ИСО 10664-2007 Углубление звездообразное под ключ для болтов и винтов |
|
ИСО 965-2:1998 |
ГОСТ 16093-2004 Основные нормы взаимозаменяемости. Резьба метрическая. Допуски. Посадки с зазором |
|
ИСО 8992:2005 |
* |
|
ИСО 10683:2000 |
* |
|
______________ * Соответствующий национальный стандарт отсутствует. До его утверждения рекомендуется использовать перевод на русский язык данного международного стандарта. Перевод данного международного стандарта находится в Федеральном информационном фонде технических регламентов и стандартов. |
|
Ключевые слова: винты, звездообразное углубление, технические требования, обозначение
СОДЕРЖАНИЕ