ФЕДЕРАЛЬНОЕ АГЕНТСТВО
ПО ТЕХНИЧЕСКОМУ РЕГУЛИРОВАНИЮ И МЕТРОЛОГИИ
|
|
НАЦИОНАЛЬНЫЙ |
ГОСТ Р ИСО |
Изделия крепежные
ИСПЫТАНИЯ
КРУТЯЩЕГО МОМЕНТА
И УСИЛИЯ ПРЕДВАРИТЕЛЬНОЙ ЗАТЯЖКИ
ISO 16047:2005
Fasteners - Torque/clamp force testing
(IDT)
|
|
Москва Стандартинформ 2009 |
Предисловие
Цели и принципы стандартизации в Российской Федерации установлены Федеральным законом от 27 декабря 2002 г. № 184-ФЗ «О техническом регулировании», а правила применения национальных стандартов Российской Федерации - ГОСТ Р 1.0-2004 «Стандартизация в Российской Федерации. Основные положения»
Сведения о стандарте
1 ПОДГОТОВЛЕН Федеральным государственным унитарным предприятием «Центральный ордена Трудового Красного Знамени научно-исследовательский автомобильный и автомоторный институт» (ФГУП «НАМИ») на основе собственного аутентичного перевода стандарта, указанного в пункте 4
2 ВНЕСЕН Техническим комитетом по стандартизации ТК 229 «Крепежные изделия»
3 УТВЕРЖДЕН И ВВЕДЕН В ДЕЙСТВИЕ Приказом Федерального агентства по техническому регулированию и метрологии от 18 июня 2009 г. № 203-ст
4 Настоящий стандарт идентичен международному стандарту ИСО 16047:2005 «Изделия крепежные. Испытания крутящего момента/усилия предварительной затяжки» (ISO 16047:2005 «Fasteners - Torque/clamp force testing»).
При применении настоящего стандарта рекомендуется использовать вместо ссылочных международных стандартов соответствующие им национальные стандарты Российской Федерации, сведения о которых приведены в дополнительном приложении А
5 ВВЕДЕН ВПЕРВЫЕ
Информация об изменениях к настоящему стандарту публикуется в ежегодно издаваемом информационном указателе «Национальные стандарты», а текст изменений и поправок - в ежемесячно издаваемых информационных указателях «Национальные стандарты». В случае пересмотра (замены) или отмены настоящего стандарта соответствующее уведомление будет опубликовано в ежемесячно издаваемом информационном указателе «Национальные стандарты». Соответствующая информация, уведомление и тексты размещаются также в информационной системе общего пользования - на официальном сайте Федерального агентства по техническому регулированию и метрологии в сети Интернет
СОДЕРЖАНИЕ
НАЦИОНАЛЬНЫЙ СТАНДАРТ РОССИЙСКОЙ ФЕДЕРАЦИИ
Изделия крепежные
ИСПЫТАНИЯ КРУТЯЩЕГО МОМЕНТА
И УСИЛИЯ ПРЕДВАРИТЕЛЬНОЙ ЗАТЯЖКИ
Fasteners - Torque/clamp force testing
Дата введения - 2010-01-01
Настоящий стандарт определяет условия для проведения испытаний крутящего момента и усилия предварительной затяжки для крепежных изделий с резьбой или аналогичных деталей.
Настоящий стандарт применяется в основном для болтов и гаек с метрической резьбой размерами от М3 до М39 из углеродистой и легированной стали, механические свойства которых установлены в ИСО 898-1, ИСО 898-2 и 898-6. Они применимы к комбинации других крепежных изделий с наружной и внутренней резьбами по ИСО 68-1.
Настоящий стандарт не применяется для резьбовых штифтов и аналогичных деталей, не подвергаемых растягивающим напряжениям, для болтов с прессованной резьбой и для самостопорящихся крепежных изделий.
Если не согласовано иное, то испытания проводят при комнатной температуре. Испытания при установленных условиях проводят при температуре от 10 °С до 35 °С.
Этот способ позволяет определять свойства затяжки крепежных изделий с резьбой и аналогичных деталей.
В настоящем стандарте использованы нормативные ссылки на следующие стандарты. Для датированных ссылок применяют только указанные стандарты. Для недатированных ссылок применяют последние издания указанных стандартов.
ИСО 68-1 Резьбы ИСО общего назначения. Основной профиль. Часть 1. Резьбы метрические
ИСО 273:1979 Отверстия сквозные для болтов и винтов
ИСО 898-1 Механические свойства крепежных изделий из углеродистой и легированной стали. Часть 1. Болты, винты и шпильки
ИСО 898-2 Механические свойства крепежных изделий. Часть 2. Гайки с установленными значениями пробной нагрузки. Крупная резьба
ИСО 898-6 Механические свойства крепежных изделий. Часть 6. Гайки с установленными значениями пробной нагрузки. Мелкая резьба
ИСО 4014 Болты с шестигранной головкой. Классы точности А и В
ИСО 4017 Болты с шестигранной головкой и резьбой до головки. Классы точности А и В
ИСО 4032 Гайки шестигранные. Тип 1. Классы точности А и В
ИСО 4033 Гайки шестигранные. Тип 2. Классы точности А и В
ИСО 4042:1999 Изделия крепежные. Электролитические покрытия
ИСО 4759-3:2000 Изделия крепежные. Допуски. Часть 3. Плоские шайбы для болтов, винтов и гаек. Классы точности А и С
ИСО 4762 Болты с цилиндрической головкой и шестигранным углублением под ключ
ИСО 6892 Материалы металлические. Испытания на растяжение при температуре окружающей среды
ИСО 7093-1 Плоские шайбы. Большой ряд. Часть 1. Класс точности А
ИСО 8673 Гайки шестигранные типа 1 с метрической мелкой резьбой. Классы точности А и В
ИСО 8674 Гайки шестигранные типа 2 с метрической мелкой резьбой. Классы точности А и В
ИСО 8765 Болты шестигранные с цилиндрическим стержнем и метрической мелкой резьбой. Классы точности А и В
ИСО 15071 Болты шестигранные с фланцем. Легкая серия. Класс точности А
ИСО 15072 Болты шестигранные с фланцем с мелкой резьбой. Легкая серия. Класс точности А
В настоящем стандарте применены следующие термины с соответствующими определениями:
3.1 усилие предварительной затяжки, F: Осевая растягивающая сила, воздействующая на цилиндрический стержень болта, или сжимающая сила, воздействующая на стягиваемые детали во время затягивания.
3.2 усилие предварительной затяжки на пределе текучести, Fy: Усилие предварительной затяжки, при котором под действием объемного напряженного состояния, возникающего при затягивании, удлинение цилиндрического стержня болта превышает упругое.
3.3 усилие разрыва, Fu: Максимальное усилие предварительной затяжки, при котором под действием объемного напряженного состояния при затягивании возникает разрыв цилиндрического стержня болта.
3.4 крутящий момент затяжки, Т: Крутящий момент, воздействующий на гайку или болт во время затягивания.
3.5 крутящий момент на пределе текучести, Ty: Крутящий момент, при котором достигается усилие предварительной затяжки на пределе текучести.
3.6 крутящий момент в резьбе, Tth: Крутящий момент, который воздействует через сопряженную резьбу на цилиндрический стержень болта.
3.7 крутящий момент трения на опорной поверхности, Tb: Крутящий момент, который воздействует при затягивании через опорные поверхности на стягиваемые детали.
3.8 крутящий момент при разрыве, Tu: Крутящий момент, при котором достигается усилие разрыва.
Таблица 1
|
Обозначение |
Наименование параметра |
|
d |
Номинальный диаметр резьбы |
|
d2 |
Средний диаметр резьбы болта |
|
d4 |
Диаметр отверстия под болт в приспособлении для испытаний |
|
dh |
Диаметр отверстия шайбы или опорной пластины (номинальное значение) |
|
Db |
Диаметр для момента трения на опорной поверхности головки болта или гайки (теоретический или измеренный) |
|
Do |
Наружный диаметр опорной поверхности dw min или dk min (смотри стандарты на изделия) |
|
Dp |
Диаметр плоской поверхности опорной пластины |
|
F |
Усилие предварительной затяжки |
|
Fp |
Пробная нагрузка по ИСО 898-1, ИСО 898-2, ИСО 898-6 |
|
Fu |
Усилие разрыва |
|
Fy |
Усилие предварительной затяжки на пределе текучести |
|
h |
Толщина сменной опорной пластины или сменной подкладной шайбы |
|
K |
Коэффициент крутящего момента, K = T/(F · d) |
|
Lc |
Длина стягиваемых деталей |
|
Lt |
Длина полной резьбы между опорными поверхностями |
|
P |
Шаг резьбы |
|
Т |
Крутящий момент затяжки |
|
Тb |
Крутящий момент трения на опорной поверхности |
|
Tth |
Крутящий момент в резьбе |
|
Tu |
Крутящий момент при разрыве |
|
Ту |
Крутящий момент на пределе текучести |
|
q |
Угол поворота |
|
mb |
Коэффициент трения на опорной поверхности гайки или головки болта |
|
mth |
Коэффициент трения в резьбе |
|
mtot |
Общий коэффициент трения |
Крутящий момент в болтовом соединении прикладывают непрерывно с целью достижения усилия предварительной затяжки, измерения одного или нескольких следующих параметров затяжки, определения K-фактора, общего коэффициента трения, коэффициента трения в резьбе, коэффициента трения на опорной поверхности головки болта или гайки, усилия предварительной затяжки на пределе текучести, крутящего момента на пределе текучести и силы разрыва. В области упругих деформаций предполагается линейная связь между крутящим моментом затяжки и усилием предварительной затяжки.
Примечание - Для шпилек определяют только коэффициент трения в резьбе.
Существуют две цели проведения испытания:
a) установление свойств затяжки крепежного изделия при стандартных условиях см. раздел 8, то есть со сменными опорными деталями/сменными подкладными шайбами типа НН или HL, как описано в 7.2.2 и 7.2.3, и со сменными гайками или сменными болтами, как описано в 7.3 и 7.4;
b) установление свойств затяжки крепежных изделий при особых условиях см. раздел 9. Зависимости между свойствами затяжки, которые нужно установить, и измеренными величинами показаны в таблице 2.
Имеются различные методы (см. 5.2 - 5.4) для описания поведения усилия предварительной затяжки/момента предварительной затяжки болтового соединения с различными поверхностями и условиями смазки.
Таблица 2 - Необходимые измеряемые величины для определения соответствующих свойств затяжки
|
Измеряемая величина |
Номер подраздела |
|||||
|
Усилие предварительной затяжки F |
Крутящий момент затяжки Т |
Крутящий момент в резьбе Tth |
Крутящий момент на опорной поверхности Тb |
Угол поворота q |
||
|
К-фактор K |
О |
О |
- |
- |
- |
|
|
Общий коэффициент трения mtot |
О |
О |
- |
- |
- |
|
|
Коэффициент трения в резьбе mth |
О |
- |
О |
- |
- |
|
|
Коэффициент трения на опорной поверхности головки или гайки mb |
О |
- |
- |
О |
- |
|
|
Усилие предварительной затяжки на пределе текучести Fy |
О |
- |
- |
- |
О |
|
|
Крутящий момент на пределе текучести Ty |
О |
О |
- |
- |
О |
|
|
Усилие разрыва Fu |
О |
- |
- |
- |
- |
|
|
Крутящий момент при разрыве Тu |
О |
О |
- |
- |
- |
|
Для описания общих условий трения без ссылки на форму и размеры крепежных изделий целесообразно установить различные коэффициенты трения (см. 10.2 - 10.4). Коэффициент трения является безразмерным числом, которое рассчитывается исходя из измеренных физических свойств и зависит от вида и геометрии контактирующих поверхностей. Необходимые измерения являются относительно дорогостоящими, так как требуются сенсоры для усилия предварительной затяжки и по крайней мере двух различных крутящих моментов, а также данные по всем важным геометрическим параметрам (d2, P, Db). Установленные коэффициенты трения можно использовать в расчетах крутящих моментов/усилий предварительной затяжки для всех размеров крепежных изделий с одинаковыми условиями трения.
Измерение упрощается, если коэффициент крутящего момента K, который вычисляют из соотношения K = T/(F - d), будет определен согласно 10.1. В этом случае существует связь с величиной d. Это значит, что действительность значения K-фактора ограничена одним размером. Для определения необходимо измерить усилие предварительной затяжки F и крутящий момент затяжки Т. K-фактор можно применять в расчетах крутящего момента/усилия предварительной затяжки только для крепежных изделий с одинаковыми условиями трения, одинаковым номинальным диаметром резьбы d и одинаковой геометрией.
Самый простой, но самый ограниченный способ, состоит в том, чтобы измерять отношение крутящего момента к усилию предварительной затяжки. Соотношение T/F является действительным только для соответствующего болтового соединения, которое исследуется. Никаких знаний о форме и размерах крепежных изделий не требуется.
На испытательном стенде должна быть предусмотрена возможность приложения крутящего момента вращением гайки или головки болта автоматически или вручную. Он должен быть оснащен измерительными сенсорами, которые могут принимать измеряемые величины по таблице 2 с точностью ±2 % измеряемого значения (если не согласовано иное). Угол измеряют с точностью ±2°, или он должен составлять ±2 % измеряемого значения, причем учитывают наибольшее показание. Для сравнительных целей механизированный инструмент должен быть настроен на постоянное число оборотов. Результаты записывают в электронном виде.
Важно, чтобы во время испытаний жесткость испытательной машины, включая силовые секции, и приспособления для испытания оставались постоянными.
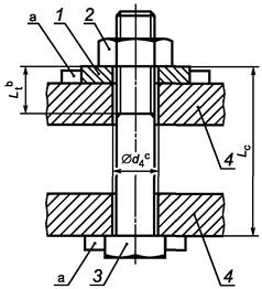
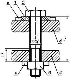
Приспособление для испытания должно выдерживать комбинированную нагрузку от усилия предварительной затяжки и крутящего момента трения на опорной поверхности без появления остаточных деформаций, которые можно измерить, или смещений. Рисунок 1 показывает основные требования к приспособлению для испытания.
Для испытания шпилек применяют аналогичное приспособление. Тем не менее, оно применяется только для испытания гаечного конца. Перед испытаниями завинченный конец шпильки нужно застопорить против откручивания.
1 - сменная опорная пластина или закрепленная подкладная шайба; 2 - проверяемая гайка; 3 - сменный болт; 4 - приспособление для испытаний (стянутые детали); 5 - проверяемый болт; 6 - сменная гайка
______________
а Сменная опора или сменная подкладная шайба, а также головка болта или гайка должны быть застопорены против откручивания и установлены соосно.
b Lt должна быть минимум 1d при затягивании до границы текучести или до разрыва.
с d4 - по ИСО 273, точный ряд.
Рисунок 1 - Приспособление для испытаний и установка сменных деталей
Сменные детали - это детали, сопряженные с проверяемыми деталями.
Для испытания болтов или гаек при установленных условиях следует использовать сменные детали (сменные подкладные шайбы, сменные опорные пластины, сменные гайки, сменные болты) (см. рисунок 1). Эти детали будут описаны в 7.2 - 7.4.
Перед проверкой следует удалить с поверхности жировые вещества, масло или другие загрязнения. Рекомендуемые детали следует чистить с ультразвуком, причем применяют соответствующий растворитель, который с учетом влияния на здоровье соответствует требованиям безопасности на производстве. В спорных случаях способы обезжиривания должны быть согласованы между партнерами по договору.
7.2.1 Типы
Нужно применять сменную опорную пластину или сменную подкладную шайбу с высокой твердостью (со сквозной закалкой типа НН) или с низкой твердостью (типа HL).
Поставщик должен выбирать сменную опорную пластину или сменную подкладную шайбу и свойства поверхности в соответствии со своим опытом, если иное не было согласовано с покупателем при выдаче заказа.
7.2.2 Сменная опорная пластина или сменная подкладная шайба типа НН
Твердость должна быть от 50 до 60HRC.
Шероховатость поверхности Ra должна быть (0,5 ± 0,3) мкм.
Диаметр сквозного отверстия dh должен соответствовать ИСО 273, средний ряд и допускается без заходной фаски.
Наименьшая толщина h сменной опорной пластины или сменной подкладной шайбы - по ИСО 7093-1.
Разнотолщинность Dh на одной и той же детали - по таблице 3; значение разнотолщинности Dh на одной и той же детали смотри ИСО 4759-3.
Таблица 3 - Разнотолщинность Dh на одной и той же детали
В миллиметрах
|
3 ... 5 |
6 ... 10 |
12 ... 20 |
22 ... 33 |
36 |
|
|
Dh |
0,05 |
0,1 |
0,15 |
0,2 |
0,3 |
Плоскостность должна соответствовать требованиям ИСО 4759-3, класс изделий А.
Состояние поверхности:
a) чистая, без покрытия, обезжиренная;
b) покрытая гальваническим цинком A1J по ИСО 4042 и обезжирена.
Детали должны быть без заусенцев.
Основные размеры сменной опорной пластины или сменной подкладной шайбы обозначены на рисунке 2.
______________
а Наружный контур сменной опорной пластины и сменной подкладной шайбы не установлен. Тем не менее, контрольная опорная пластина и контрольная подкладная шайба должны иметь ровную поверхность диаметром Dp, который используется больше, чем наружный диаметр D0 испытуемого болта, гайки или подкладной шайбы комбинированного болта, т.е. болта с невыпадающей шайбой.
Рисунок 2 - Сменная опорная пластина или сменная подкладная шайба. Типы НН и HL
7.2.3 Сменная опорная пластина или сменная подкладная шайба типа HL
Твердость должна быть от 200 до 300HV.
Шероховатость поверхности Ramax должна быть 1,6 мкм для h ≤ 3 мм и 3,2 мкм - для 3 < h ≤ 6 мм (ИСО 7093-1).
Диаметр сквозного отверстия dh должен соответствовать ИСО 273, средний ряд и допускается без заходной фаски.
Наименьшая толщина h контрольной опорной пластины или контрольной подкладной шайбы - по ИСО 7093-1.
Разнотолщинность Dh на одной и той же детали - по таблице 3; значение разнотолщинности Dh на одной и той же детали см. ИСО 4759-3.
Плоскостность должна соответствовать требованиям ИСО 4759-3, класс изделий А.
Состояние поверхности:
a) чистая, без покрытия, обезжиренная;
b) покрытая гальваническим цинком A1J по ИСО 4042 и обезжирена.
Детали должны быть без заусенцев.
Основные размеры сменной опорной пластины или сменной подкладной шайбы обозначены на рисунке 2.
Для испытания болтов класса прочности 10.9 и ниже сменная гайка должна соответствовать ИСО 4032 или ИСО 8673 класса прочности 10. Для испытания болтов класса прочности 12.9 сменная гайка должна соответствовать ИСО 4033 или ИСО 8674 класса прочности 12.
Состояние поверхности:
а) чистая, без покрытия, обезжиренная;
в) покрытая гальваническим цинком A1J по ИСО 4042 и обезжирена.
Если проверяют короткие болты или ввинчиваемые концы шпилек, сменную гайку следует заменять на блок с отверстием с внутренней резьбой. Длина ввинчивания должна составлять минимум 0,8d.
Для испытаний гаек сменные болты должны соответствовать ИСО 4014, ИСО 4017, ИСО 4762, ИСО 8765, ИСО 15071 или ИСО 15072. Класс прочности должен совпадать с проверяемой гайкой. Однако он не может быть ниже класса прочности 8.8. Резьба должна быть накатана.
Состояние поверхности:
a) чистая, без покрытия, обезжиренная;
b) покрытая гальваническим цинком A1J по ИСО 4042:1999 и обезжирена.
В зависимости от типа проверяемой гайки выступание резьбового конца должно составлять от 2 до 7 шагов, когда гайка расположена на сменной опорной пластине или сменной подкладной шайбе. Длина резьбы должна быть такой, чтобы не менее двух полных витка располагались в пределах длины стягиваемых деталей, когда гайка затянута. На сменных болтах должен быть плоский торец с фаской. На резьбе не должно быть заусенцев и загрязнений, которые могли бы повлиять на процесс затяжки.
Для данного испытания следует использовать испытательный стенд и устройство для испытаний по 6.1 и 6.2 и сменные детали по разделу 7.
При арбитражных испытаниях детали не следует испытывать в течение 24 ч после покрытия. Сменные детали должны иметь комнатную температуру.
Если не согласовано иное, то сменные детали (сменные болты, сменные гайки, сменные опорные пластины или сменные подкладные шайбы) могут быть применены только один раз. Если проводят испытания с повторным использованием сменной пластины, исходное состояние должно быть однозначно идентифицировано.
Сменный болт или сменная гайка должны быть застопорены против прокручивания на одной стороне устройства для испытаний, а сменная опорная пластина и сменная подкладная шайба на другой стороне устройства для испытания. Испытуемые детали устанавливают в испытательный стенд, а гайку или головку болта после этого затягивают, в зависимости от того, какая деталь может свободно вращаться, при приложении крутящего момента затяжки (см. рисунок 1).
Условия испытаний следует определять однозначно (см. раздел 11), и испытания следует проводить при одинаковых постоянных условиях. Если не согласовано иное, то число оборотов при затяжке резьбы должно составлять от 10 до 40 об/мин для резьбы от М3 до М16 и от 5 до 15 об/мин для резьбы больше М16 и до М39. Скорость вращения должна быть постоянной.
Для испытания используют испытательный стенд и устройство для испытаний по 6.1 и 6.2. Однако сменный болт, сменная гайка, сменная опорная пластина или сменная подкладная шайба, а также скорость затягивания соответствуют особым условиям, согласованным между партнерами по договору.
Если сменные детали не соответствуют требованиям 7.2, 7.3, 7.4, они должны быть описаны в отчете по результатам испытаний.
Если должны испытывать комбинированные болты или комбинированные гайки, то партнеры по договору обязаны согласовать условия испытания, например, стопорятся ли шайбы во время испытаний против прокручивания.
10.1 Определение K-фактора K
K-фактор вычисляют из отношения крутящего момента к усилию предварительной затяжки по формуле
![]()
Если не согласовано иное, то определение нужно выполнять при усилии предварительной затяжки, составляющем 75 % пробной нагрузки (0,75Fp) сменной или испытуемой детали, причем действительным является меньшее значение.
10.2 Определение общего коэффициента трения mtot
На основании уравнения Келлермана и Кляйна [1] для крутящего момента затяжки

общий коэффициент трения mtot определяется из соотношения между крутящим моментом и усилием предварительной затяжки по следующему уравнению аппроксимации:

При
этом ![]()
Примечание - Ошибка, которая возникает вследствие этой аппроксимации, составляет приблизительно от 1 % до 2 %, что является допустимым для данного расчета.
Если применяют фактическое (измеренное) значение Db, это следует оговорить между сторонами в договоре.
Применение общего коэффициента трения является рациональным для проведения сравнения между различными условиями трения болтовых соединений. Уравнение для общего коэффициента трения базируется на предположении, что коэффициент трения в резьбе и коэффициент трения на опорной поверхности являются одинаковыми.
Если не согласовано иное, то определение нужно выполнять при усилии предварительной затяжки, составляющем 75 % от пробной нагрузки (0,75Fp) сменной или испытуемой детали, причем действительным является меньшее значение.
Коэффициент трения в резьбе определяют из соотношения между крутящим моментом и усилием предварительной затяжки по формуле

Если не согласовано иное, то определение нужно выполнять при усилии предварительной затяжки, составляющем 75 % пробной нагрузки (0,75Fp) сменной или испытуемой детали, причем действительным является меньшее значение.
Примечание - Крутящий момент в резьбе допускается вычислять в соответствии с формулой, исходя из измерения крутящего момента затяжки и крутящего момента на опорной поверхности
![]()
Коэффициент трения на опорной поверхности головки или гайки определяют из соотношения между крутящим моментом и усилием предварительной затяжки по следующему уравнению:
![]()
при этом для круглой по форме опорной поверхности
![]()
Если необходимо применять фактическое (измеренное) значение Db, это должно согласовываться между сторонами в договоре.
Если не согласовано иное, то определение нужно выполнять при таком усилии предварительной затяжки, которое составляет 75 % от пробной нагрузки (0,75Fp) сменной или испытуемой детали, причем действительным является меньшее значение.
Примечание - Крутящий момент на опорной поверхности головки болта или гайки можно рассчитать по соответствующему уравнению исходя из измерения крутящего момента затяжки и крутящего момента в резьбе
![]()
Усилие предварительной затяжки на пределе текучести следует определять из соотношения между усилием предварительной затяжки и углом поворота или равноценного соотношения. Имеются несколько способов для определения усилия предварительной затяжки на пределе текучести. Применяемый способ следует согласовать между партнерами по договору.
Крутящий момент на пределе текучести следует определять из соотношения между усилием предварительной затяжки и углом поворота или соотношения между крутящим моментом и усилием предварительной затяжки. Имеются несколько способов для определения момента предварительной затяжки на пределе текучести. Применяемый способ следует согласовать между партнерами по договору.
Усилие разрыва следует определять из измерения максимального усилия предварительной затяжки, которое достигается при испытании. Испытание следует проводить до появления разрыва крепежного изделия с резьбой.
Испытание должно быть прекращено сразу после превышения максимального усилия предварительной затяжки, чтобы не возникало затруднений при удалении крепежного элемента из приспособления после испытания.
Крутящий момент при разрыве следует определять из измерения максимального крутящего момента при разрыве, которое достигается при испытании. Испытание следует проводить до разрыва крепежного изделия с резьбой. Испытание должно быть прекращено сразу после превышения максимального крутящего момента при разрыве, чтобы не возникало затруднений при удалении крепежного элемента из приспособления после испытания.
Если сообщается о данных при затяжке, условия испытаний должны быть ясно определены. Отчет по результатам испытаний должен содержать следующую информацию, причем должны быть отчетливо указаны отклонения от этих международных стандартов.
Обязательная информация:
a) обозначение стандарта для стандартных крепежных изделий;
b) рассчитанное значение Db;
c) вид, класс прочности, резьба, длина болта для нестандартных крепежных изделий;
d) покрытие поверхности;
e) смазка;
f) способ изготовления резьбы.
Информация, указываемая при необходимости:
g) фактические значения механических свойств (прочность на растяжение или твердость);
h) шероховатость поверхностей;
i) способ изготовления крепежного изделия;
j) другая информация.
11.2.2 Гайки
Обязательная информация:
a) обозначение стандарта для стандартных крепежных изделий;
b) рассчитанное значение Db;
c) вид, класс прочности, резьба, высота гайки для нестандартных крепежных изделий;
d) покрытие поверхности;
е) смазка;
f) способ изготовления резьбы.
Информация, указываемая при необходимости:
g) фактические значения твердости;
h) шероховатость поверхностей;
i) способ изготовления крепежного изделия;
j) другая информация.
11.2.3 Подкладные шайбы
Обязательная информация:
a) обозначение стандарта для стандартных шайб;
b) размеры и допуски для нестандартных подкладных деталей;
c) состояние поверхности;
d) фактическая твердость.
Информация, указываемая при необходимости:
е) шероховатость поверхностей;
f) способ изготовления;
g) другая информация.
11.3.1 Сменные болты
Либо описание сменного болта или сменного болта по 7.4 либо для испытания при особых условиях, описание по 11.2.1.
11.3.2 Сменные гайки
Либо описание сменной гайки по 7.3, либо для испытания по особым условиям, описание - по 11.2.2.
11.3.3 Сменные подкладные детали
Либо описание сменной подкладной детали по 7.2, либо для испытания по особым условиям, описание - по 11.2.3.
11.4 Испытательная машина
Нужно привести следующую информацию:
a) производительность;
b) тип и область измерений измерительных устройств;
c) число оборотов при затяжке;
d) привод (ручной или механизированный).
11.5 Приспособление для испытаний
Нужно привести следующую информацию:
a) длину стягиваемых деталей Lс;
b) длину полной резьбы между опорными поверхностями Lt;
c) закручиваемую деталь (болт или гайка).
11.6 Условия окружающей среды
Нужно привести следующую информацию:
a) температуру;
b) влажность воздуха.
По договоренности между партнерами по договору.
11.8.1 Измеренные значения
Нужно привести следующую информацию:
a) количество проб;
b) значение Db, если оно не рассчитано по 10.2 или 10.4;
c) крутящий момент при установленном усилии сжатия или при установленном крутящем моменте;
d) угол поворота (если требуется).
11.8.2 Установленные значения (смотря потому, что требуется)
Нужно привести следующую информацию:
a) K-фактор;
b) отношение крутящий момент/усилие предварительной затяжки T/F или F/T;
c) общий коэффициент трения mtot;
d) коэффициент трения в резьбе mth;
e) коэффициент трения на опорной поверхности гайки или головки болта mb.
11.8.3 Другие результаты
Нужно привести следующую информацию:
a) результаты, которые были согласованы между партнерами по договору;
b) другие наблюдения.
|
Обозначение ссылочного международного стандарта |
Обозначение и наименование соответствующего национального стандарта |
|
ИСО 68-1:1998 |
ГОСТ 9150-2002 Основные нормы взаимозаменяемости. Резьба метрическая. Профиль |
|
ИСО 273:1979 |
ГОСТ 11284-75 Отверстия сквозные под крепежные детали. Размеры |
|
ИСО 898-1:1999 |
ГОСТ Р 52627-2006 Болты, винты и шпильки. Механические свойства и методы испытаний (MOD) |
|
ИСО 898-2:1992 |
ГОСТ Р 52628-2006 Гайки. Механические свойства и методы испытаний |
|
ИСО 4014:1999 |
ГОСТ Р 50796-95 Болты с шестигранной головкой классов точности А и В. Технические условия |
|
ИСО 4017:1999 |
ГОСТ Р 50793-95 Болты с шестигранной головкой с резьбой до головки классов точности А и В. Технические условия |
|
ИСО 4032:2001 |
ГОСТ 5927-70 Гайки шестигранные класса точности А. Конструкция и размеры ГОСТ 5915-70 Гайки шестигранные класса точности В. Конструкция и размеры |
|
ИСО 4042:1999 |
ГОСТ Р ИСО 4042-2009 Изделия крепежные. Электролитические покрытия |
|
ИСО 4759-3:2000 |
ГОСТ Р ИСО 4759-3-2009 Изделия крепежные. Допуски. Часть 3. Плоские круглые шайбы для болтов, винтов и гаек. Классы точности А и С |
|
ИСО 4762:2004 |
ГОСТ 11738-92 Винты с цилиндрической головкой и шестигранным углублением под ключ класса точности А. Конструкция и размеры |
|
ИСО 6892:1998 |
ГОСТ 1497-84 Металлы. Методы испытания на растяжение |
|
ИСО 8765:1999 |
ГОСТ Р 50790-95 Болты с шестигранной головкой с мелким шагом резьбы классов точности А и В |
[1] Kellerman, R. Und Klein, H.-C, Untersuchungen über den Einfluss der Reibung auf Vorspannung und Anzugsmoment von Schraubenverbindungen; Sonderdruck aus Zeitschrift «Konsruktion» 1955, Nummer 2, Springer-Verlag - Berlin/ Göttingen/ Heidelberg
[2] ИСО 4033:1999 Гайки шестигранные, тип 2. Классы точности А и В
[3] ИСО 7093-1 Плоские шайбы. Большой ряд. Часть 1. Класс точности А
[4] ИСО 8673 Шестигранные гайки, тип 1, с метрической мелкой резьбой. Классы точности А и В
[5] ИСО 8674:1999 Гайки шестигранные тип 2 с метрической мелкой резьбой
[6] ИСО 15071 Болты шестигранные с фланцем. Легкая серия. Класс точности А
[7] ИСО 15072 Болты шестигранные с фланцем с мелкой резьбой. Легкая серия. Класс точности А
Ключевые слова: крутящий момент, усилие предварительной затяжки, коэффициент трения