Prevailing torque type all-metal hexagon nuts with flange. Accuracy classes A and B

ФЕДЕРАЛЬНОЕ АГЕНТСТВО
ПО ТЕХНИЧЕСКОМУ РЕГУЛИРОВАНИЮ И МЕТРОЛОГИИ

НАЦИОНАЛЬНЫЙ
СТАНДАРТ
РОССИЙСКОЙ
ФЕДЕРАЦИИ

ГОСТ Р ИСО
12126-2009

ГАЙКИ ШЕСТИГРАННЫЕ
САМОСТОПОРЯЩИЕСЯ
ЦЕЛЬНОМЕТАЛЛИЧЕСКИЕ С ФЛАНЦЕМ,
С МЕЛКИМ ШАГОМ РЕЗЬБЫ

Классы точности А и В

ISO 12126:1997
Prevailing torque type all-metal hexagon nuts with flange
with metric fine pitch thread -
Product grades A and
В
(IDT)

Москва

Стандартинформ

2009

Предисловие

Цели и принципы стандартизации в Российской Федерации установлены Федеральным законом от 27 декабря 2002 г. № 184-ФЗ «О техническом регулировании», а правила применения национальных стандартов Российской Федерации - ГОСТ Р 1.0-2004 «Стандартизация в Российской Федерации. Основные положения»

Сведения о стандарте

1 ПОДГОТОВЛЕН Федеральным государственным унитарным предприятием «Центральный Ордена Трудового Красного Знамени научно-исследовательский автомобильный и автомоторный институт» (ФГУП «НАМИ») на основе собственного перевода стандарта, указанного в пункте 4

2 ВНЕСЕН Техническим комитетом по стандартизации ТК 229 «Крепежные изделия»

3 УТВЕРЖДЕН И ВВЕДЕН В ДЕЙСТВИЕ Приказом Федерального агентства по техническому регулированию и метрологии от 18 июня 2009 г. № 204-ст

4 Настоящий стандарт идентичен международному стандарту ИСО 12126:1997 «Гайки шестигранные цельнометаллические самостопорящиеся, с фланцем, с мелкой метрической резьбой. Классы изделия А и В» (ISO 12126:1997 «Prevailing torque type all-metal hexagon nuts with flange with metric fine pitch thread - Product grades A and B»).

Наименование настоящего стандарта изменено относительно наименования указанного международного стандарта для приведения в соответствие с ГОСТ Р 1.5-2004 (пункт 3.5).

При применении настоящего стандарта рекомендуется использовать вместо ссылочных международных стандартов соответствующие им национальные стандарты Российской Федерации, сведения о которых приведены в дополнительном приложении В.

5 ВВЕДЕН ВПЕРВЫЕ

Информация об изменениях к настоящему стандарту публикуются в ежегодно издаваемом информационном указателе «Национальные стандарты», а текст изменений и поправок - в ежемесячно издаваемых информационных указателях «Национальные стандарты». В случае пересмотра (замены) или отмены настоящего стандарта соответствующее уведомление будет опубликовано в ежемесячно издаваемом информационном указателе «Национальные стандарты». Соответствующая информация, уведомление и тексты размещаются также в информационной системе общего пользования - на официальном сайте Федерального агентства по техническому регулированию и метрологии в сети Интернет

ГОСТ Р ИСО 12126-2009

НАЦИОНАЛЬНЫЙ СТАНДАРТ РОССИЙСКОЙ ФЕДЕРАЦИИ

ГАЙКИ ШЕСТИГРАННЫЕ САМОСТОПОРЯЩИЕСЯ
ЦЕЛЬНОМЕТАЛЛИЧЕСКИЕ С ФЛАНЦЕМ,
С МЕЛКИМ ШАГОМ РЕЗЬБЫ

Классы точности А и В

Prevailing torque type all-metal hexagon nuts with flange - Accuracy classes A and В

Дата введения - 2010-01-01

1 Область применения

Настоящий стандарт устанавливает характеристики шестигранных самостопорящихся цельнометаллических гаек с фланцем, с мелким шагом резьбы, с номинальными диаметрами резьбы d от М8 до М16 класса точности А, с резьбой свыше М16 до М20 класса точности В, классов прочности 6, 8 и 10.

В особых случаях, когда предъявляются другие требования, чем установленные в настоящем стандарте, их следует выбирать из международных стандартов, таких как, например, ИСО 261, ИСО 965-2, ИСО 2320 и ИСО 4759-1.

2 Нормативные ссылки

ИСО 225:1983 Изделия крепежные. Болты, винты, шпильки и гайки. Символы и обозначения размеров

ИСО 261:1998 Резьбы метрические ИСО общего назначения. Общий план

ИСО 965-2:1998 Резьбы метрические. ИСО общего применения. Допуски. Часть 2. Предельные размеры для наружной и внутренней резьбы общего применения. Средний класс точности

ИСО 2320:2008 Гайки стальные самостопорящиеся. Механические и функциональные свойства

ИСО 3269:2000 Изделия крепежные. Приемочный контроль

ИСО 4042:1999 Изделия крепежные. Электролитические покрытия

ИСО 4759-1:2000 Изделия крепежные. Допуски. Часть 1. Болты, винты, шпильки и гайки. Классы точности А, В и С

ИСО 6157-2:1995 Изделия крепежные. Дефекты поверхности. Часть 2. Гайки

ИСО 8992:2005 Изделия крепежные. Общие требования для болтов, винтов, шпилек и гаек

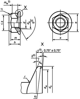
3 Размеры

Размеры шестигранной самостопорящейся гайки с фланцем указаны на рисунке 1 и в таблице 1.

Обозначения - в соответствии с ИСО 225.

____________

1) Форма обжатого участка - по выбору изготовителя;

2) mw - высота зацепления ключом, см. таблицу 1;

3) θ = 90° ... 120°;

4) δ = 15° ... 25°;

5) с измеряют от dw, min;

6) Свободный пресс-контур.

Рисунок 1 - Шестигранная самостопорящаяся гайка с фланцем

Таблица 1                                                                                                       В миллиметрах

Резьба d×Р1)

М8×1

М10×1

М10×1,25

М12×1,5

М12×1,25

(М14×1,5)2)

М16×1,5

М20×1,5

с, не менее

1,2

1,5

1,8

2,1

2,4

3

da

не более

8,75

10,8

13

15,1

17,3

21,6

не менее

8,00

10,0

12

14,0

16,0

20,0

dc, не более

17,9

21,8

26

29,9

34,5

42,8

dw, не менее

15,8

19,6

23,8

27,6

31,9

39,9

е, не менее

14,38

16,64

20,03

23,36

26,75

32,95

h

не более

9,40

11,40

13,80

15,9

18,3

22,4

не менее

8,74

10,34

12,57

14,8

17,2

20,3

m, не менее

7,64

9,64

11,57

13,3

15,3

18,7

mw, не менее

4,6

5,6

6,8

7,7

8,9

10,7

s

не более

13,00

15,00

18,00

21,00

24,00

30,00

не менее

12,73

14,73

17,73

20,67

23,67

29,16

r3), не более

0,48

0,6

0,72

0,88

0,96

1,2

____________

1) P - шаг резьбы.

2) Размер, заключенный в скобки, применять не рекомендуется.

3) r - радиусы сопряжений ребер и граней шестигранника с фланцем.

Примечание - Если изделие выдерживает контроль калибрами в соответствии с приложением А, требования для е, с и mw удовлетворены.

4 Технические требования

Технические требования - в соответствии с таблицей 2.

Таблица 2

Материал

Сталь

Общие требования

Обозначение стандарта

ИСО 8992

Резьба

Допуск

Обозначение стандарта

ИСО 261, ИСО 965-2

Механические и функциональные свойства

Класс прочности

6

8

10

Тип, соответствующий механическим свойствам1)

Тип 1

d ≤ M16

Тип 2

d > M16

Тип 1

Тип 2

Обозначение стандарта

ИСО 2320

Предельные размеры. Допуски формы и расположения

Класс точности

Для d 16 мм: А

Для d > 16 мм: В

Обозначение стандарта

ИСО 4759-1

Поверхность

После изготовления. Требования к гальванической защите поверхности по ИСО 4042.

Иные требования к гальванической или другой защите поверхности должны быть согласованы между поставщиком и заказчиком.

Предельные значения для дефектов поверхности установлены в ИСО 6157-2

Приемочный контроль

По ИСО 3269

_____________

1) Гайки по настоящему стандарту (относительно высоты hmin) соответствуют типу 2. В ИСО 2320 указаны механические свойства не для всех классов прочности и размеров, установленных настоящим стандартом. В таких случаях механические свойства гаек должны соответствовать типу 1.

5 Обозначение

Пример условного обозначения гайки шестигранной с фланцем самостопорящейся цельнометаллической с резьбой М12×1,5 и классом прочности 8:

Гайка шестигранная самостопорящаяся с фланцем М12×1,5-8-ГОСТР ИСО 12126-2009

Приложение А

(обязательное)

Контроль гаек шестигранных с фланцем

А.1 Рекомендуемый метод контроля шестигранника

Схема контроля указана на рисунке А.1. Размеры калибров - в соответствии с таблицей А.1.

Для контроля шестигранника используют два плоских кольцевых калибра А и В, чтобы показать соответствие установленным значениям высоты шестигранника, высоты зацепления под ключ, заполнения углов и диаметра описанной окружности. Калибр А устанавливают на шестигранник до упора на фланец. Калибр В устанавливают на верхнюю часть гайки по нормали к ее оси. Калибры Аи В не должны соприкасаться.

А.2 Рекомендуемый метод контроля фланца

Схема контроля указана на рисунке А.1. Размеры калибров - в соответствии с таблицей А.1.

Гайку устанавливают на плоскую поверхность. Калибр С - плоская пластина или кольцевой калибр - применяют для доказательства, что толщина фланца не менее установленной. Приемочный критерий - отсутствие контакта между калибрами С и А, когда гайка расположена на плоской поверхности.

Рисунок А.1 - Схема контроля шестигранника и фланца

Таблица А.1                                                                                                   В миллиметрах

Номинальный диаметр резьбы d

Калибр А

Калибр В

Калибр С

Wa

Ta

Wb

Tb

Wc

Tc

не более

не менее

не более

не менее

не более

не менее

не менее

не менее

не более

не менее

8

15,02

15,01

4,60

4,59

14,37

14,36

4

20

1,31

1,30

10

17,33

17,32

5,60

5,59

16,63

16,62

5

24

1,81

1,80

12

20,79

20,78

6,80

6,79

20,02

20,01

5

29

2,20

2,19

14

24,26

24,25

7,70

7,69

23,35

23,34

6

32,5

2,55

2,54

16

27,72

27,71

8,90

8,89

26,74

26,73

6

37

2,96

2,95

20

34,65

34,64

10,70

10,69

32,94

32,93

6

45

3,70

3,69

Примечание - Wa, min = eтеоретическое; Wb,max = emin - 0,01 мм; Та, max = mw, min.

Приложение В

(справочное)

Сведения о соответствии ссылочных международных стандартов
национальным стандартам
Российской Федерации

Обозначение ссылочного международного стандарта

Обозначение и наименование соответствующего национального стандарта

ИСО 225:1983

*

ИСО 261:1998

ГОСТ 8724-2002 Основные нормы взаимозаменяемости. Резьба метрическая. Диаметры и шаги

ИСО 965-2:1998

ГОСТ 16093-2004 Основные нормы взаимозаменяемости. Резьба метрическая. Допуски. Посадки с зазором

ИСО 2320-2008

ГОСТ Р ИСО 2320-2009 Гайки стальные самостопорящиеся. Механические и функциональные свойства

ИСО 3269-2000

ГОСТ Р ИСО 3269-2009 Изделия крепежные. Приемочный контроль

ИСО 4042-1999

ГОСТ Р ИСО 4042-2009 Изделия крепежные. Электролитические покрытия

ИСО 4759-1:2000

ГОСТ Р ИСО 4759-1-2009 Изделия крепежные. Допуски. Часть 1. Болты, винты, шпильки и гайки. Классы точности А, В и С

ИСО 6157-2:1995

ГОСТ Р ИСО 6157-2-2009 Изделия крепежные. Дефекты поверхности. Часть 2. Гайки

ИСО 8992:2005

*

______________

* Соответствующий национальный стандарт отсутствует. До его утверждения рекомендуется использовать перевод на русский язык данного международного стандарта. Перевод данного международного стандарта находится в Федеральном информационном фонде технических регламентов и стандартов.

 

 

Ключевые слова: гайки с фланцем, самостопорящиеся, технические требования, обозначения

СОДЕРЖАНИЕ

1 Область применения. 2

2 Нормативные ссылки. 2

3 Размеры.. 3

4 Технические требования. 4

5 Обозначение. 4

Приложение А (обязательное). Контроль гаек шестигранных с фланцем.. 4

Приложение В (справочное). Сведения о соответствии ссылочных международных стандартов национальным стандартам Российской Федерации. 5