Инструкция по межеванию земель
(утв. Роскомземом 8 апреля 1996 г.)
1.1. Межевание земель представляет собой комплекс работ по установлению, восстановлению и закреплению на местности границ земельного участка, определению его местоположения и площади.
1.2. Установление и закрепление границ на местности выполняют при получении гражданами и юридическими лицами новых земельных участков, при купле-продаже, мене, дарении всего или части земельного участка, а также по просьбе граждан и юридических лиц, если документы, удостоверяющие их права на земельный участок, были выданы без установления и закрепления границ на местности.
1.3. Восстановление границ земельного участка выполняют при наличии межевых споров, а также по просьбе граждан и юридических лиц в случае полной или частичной утраты на местности межевых знаков и других признаков границ принадлежащих им земельных участков.
1.4. Межевание земель выполняют проектно-изыскательские организации Роскомзема, а также граждане и юридические лица, получившие в установленном порядке лицензии на право выполнения этих работ.
Межевание земель включает:
- подготовительные работы по сбору и изучению правоустанавливающих, геодезических, картографических и других исходных документов;
- полное обследование и оценку состояния пунктов государственной геодезической сети (ГГС) и опорной межевой сети (ОМС) - опорных межевых знаков (ОМЗ);
- полевое обследование границ размежовываемого земельного участка оценкой состояния межевых знаков;
- составление технического проекта (задания) межевания земель;
- уведомление собственников, владельцев и пользователей размежовываемых земельных участков о производстве межевых работ;
- согласование и закрепление на местности межевыми знаками границ земельного участка с собственниками, владельцами и пользователями размежовываемых земельных участков;
- сдачу пунктов ОМС на наблюдение за сохранностью;
- определение координат пунктов ОМС и межевых знаков;
- определение площади земельного участка;
- составление чертежа границ земельного участка;
- контроль и приемку результатов межевания земель производителем работ;
- государственный контроль за установлением и сохранностью межевых знаков;
- формирование межевого дела;
- сдачу материалов в архив.
3.1. Межевание земель выполняют как в общегосударственной, так и в местных и условных системах координат. При этом должна быть обеспечена надежная связь местных и условных систем координат с общегосударственной системой.
3.2. Геодезической основой межевания земель служат:
- пункты ГГС (триангуляция и полигонометрия);
- пункты ОМС (опорные межевые знаки - ОМЗ).
3.3. Пункты ОМС (ОМЗ) служат в качестве исходных для:
- закрепления на местности выбранной местной или условной системы координат и последующей ее привязки к общегосударственной системе координат;
- оперативного восстановления утраченных межевых знаков;
- решения других задач государственного земельного кадастра и землеустройства.
3.4. Средние квадратические погрешности взаимного положения пунктов ОМС (ОМЗ) и положения межевых знаков не должны превышать величин приведенных в таблице.
Предельная погрешность положения точки не должна превышать удвоенной средней квадратической погрешности. Количество погрешностей, превышающих предельные, должно быть не более 6 % от общего числа контрольных измерений.
3.5. Расположение и плотность (густота) пунктов ОМС должны обеспечивать быстрое и надежное восстановление на местности положения всех межевых знаков.
3.6. В городах и поселках комитеты по земельным ресурсам и землеустройству могут устанавливать более высокую точность и плотность опорной межевой сети и межевых знаков, что обосновывается в технических проектах на производство работ.
Таблица
Точностные и другие характеристики межевания земель
|
Градация земель |
Средняя квадратическая погрешность взаимного положения пунктов ОМС (ОМЗ) не более (мм) |
Средняя квадратическая погрешность положения межевых знаков относительно пунктов ГГС, ОМС (ОМЗ) не более (мм) |
Плотность (густота) пунктов ГГС и ОМС (ОМЗ) |
Рекомендуемые масштабы базовых кадастровых карт и планов |
|
1 |
2 |
3 |
4 |
5 |
|
1. Земли городов и поселков |
0,05 |
0,1 |
Не менее 4 на 1 кв. км |
1:1000 |
|
2. Земли сельских населенных пунктов; земли пригородной зоны: в т.ч. земли, предоставленные для ведения личного подсобного хозяйства, садоводства и индивидуального жилищного строительства и другие земли |
то же |
то же |
Не менее 4 на населенный пункт, дачный поселок, садоводческое товарищество |
1:2000 |
|
3. Земли сельскохозяйственного назначения: земли особоохраняемых территорий и другие земли |
то же |
то же |
Узловые точки 3-х и более землевладений и землепользований |
1:10000 1:25000 |
|
4. Земли лесного фонда, земли водного фонда, земли запаса и другие земли |
то же |
то же |
то же |
|
Примечание.
1. Средние квадратические погрешности в графах 2 и 3 рассматриваются применительно к масштабам базовых кадастровых карт и планов (графа 5).
2. Базовые кадастровые карты являются исходными для создания кадастровых карт и планов земельного участка, села, поселка, сельского административного округа, административного района, города, республики, края, области.
4.1. В зависимости от назначения и типа закрепления на местности различают:
- пункты ОМС (ОМЗ), закрепляемые на долговременную (не менее 5 лет) сохранность;
- межевые знаки, закрепляемые на поворотных точках границ с использованием недорогих материалов;
- границы по "живым урочищам" (рекам, ручьям, водотокам, водоразделам и т.д.);
- границы, совпадающие с линейными сооружениями (заборами, фасадами зданий, элементами дорожной сети и т.д.);
- пропаханные линии суходольных границ.
4.2. Пункты ОМС размещают равномерно по территории населенных пунктов, дачных поселков, участков садовых товариществ, сельскохозяйственных, лесохозяйственных и других предприятий с плотностью, указанной в таблице. Пункты ОМС могут не совпадать с межевыми знаками границ земельного участка. Их следует размещать на местности с учетом:
- доступности для геодезических определений при восстановлении положения утраченных межевых знаков;
- защищенности от разрушений в результате хозяйственной деятельности и природных явлений.
Пункты ОМС следует по возможности размещать на землях находящихся в государственной или муниципальной собственности.
4.3. Межевые знаки размещают на всех поворотных точках границы земельного участка, кроме границ, проходящих по "живым урочищам" и линейным сооружениям, совпадающим с границами земельного участка.
4.4. На пунктах ОМС в качестве знаков применяются (приложение 1):
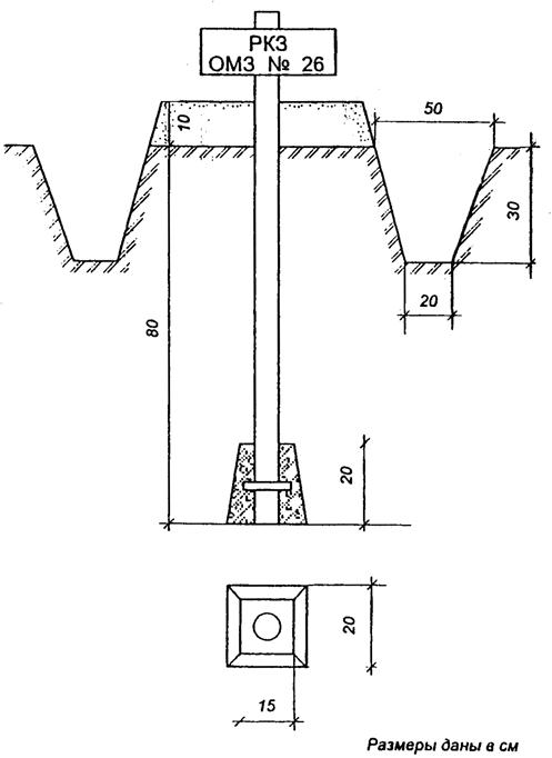
- бетонный пилон размером 12 × 12 × 90 см, в верхней конец которого заделывается кованый гвоздь, а в нижнюю часть для лучшего скрепления с грунтом вцементируются два металлических штыря (якорь);
- бетонный монолит в виде усеченной четырехгранной пирамиды с нижним основанием 15 × 15 см, верхним 10 × 10 см и высотой 90 см с заделанным в него кованым гвоздем;
- железная труба диаметром 35 - 60 мм, отрезки рельса или уголкового железа 50 × 50 × 5 мм, 35 × 35 × 4 мм длиной 100 см с бетонным якорем в виде усеченной четырехгранной пирамиды с нижним основанием 20 × 20 см, верхним - 15 × 15 см и высотой 20 см. К верхней части трубы (рельса, уголка) приваривается металлическая пластинка для надписи, внизу металлические стержни (крестовина);
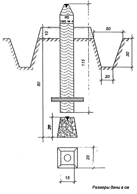
- деревянный столб диаметром не менее 15 см и высотой 115 см с крестовиной, установленный на бетонный монолит в виде усеченной четырехгранной пирамиды с нижним основанием 20 × 20 см, верхним 15 × 15 см и высотой 20 см. На верхней грани монолиту делается крестообразная насечка или заделывается гвоздь. Верхнюю часть столба затесывают на конус, ниже затеса делают вырез для надписи;
- пень свежесрубленного хвойного дерева диаметром в верхней части не менее 25 см, обработанный в виде столба с вырезом для надписи, полочкой и забитым кованым гвоздем;
- марка, штырь, болт, закрепленные цементным раствором в основания различных сооружений, в т.ч. в бордюры, столбы, трубы или в скалы.
Бетонные пилоны и монолиты закладываются на глубину 80 см.
4.5. Пункты ОМС окапывают в виде круглых канав с внутренним диаметром 2,0 м, глубиной 0,3 м, шириной в нижней части 0,2 м и верхней части 0,5 м. Над центром насыпается курган высотой 0,1 м.
4.6. В качестве межевых знаков используют деревянные колья высотой 75 - 80 см, диаметром 5 - 7 см, железные штыри и трубы, забитые в грунт на 0,4 - 0,6 м.
Межевые знаки на поверхности без покрытия окапываются круглой канавой с внутренним диаметром 0,8 м, глубиной 0,2 м и шириной в нижней части 0,2 м.
4.7. Границы земельных участков, проходящие по живым урочищам, закрепляются межевыми знаками только на стыках с суходольными границами.
4.8. При установке межевой знак ориентируют таким образом, чтобы его лицевая сторона (с надписями) была обращена к следующему межевому знаку при движении по границе по ходу часовой стрелки.
4.9. На пунктах ОМС (рис. 1, 2, 3, 4, 5, 6 приложения 1) делается надпись: Роскомзем ОМЗ № ________.
4.10. Пункты ОМС после закладки сдаются по акту на наблюдение за сохранностью:
- городской, поселковой или сельской администрации, если они построены на землях, находящихся в государственной или муниципальной собственности;
- собственнику, владельцу, пользователю земельного участка, если они находятся на его земельном участке.
Если пункт ОМС совмещен с межевым знаком, то он сдается на наблюдение за сохранностью всем собственникам, владельцам и пользователям размежовываемых земельных участков.
В процессе подготовительных работ осуществляют сбор и анализируют следующие исходные материалы:
- проект землеустройства, материалы инвентаризации земель;
- постановление районной, городской (поселковой) или сельской администрации о предоставлении гражданину или юридическому лицу земельного участка;
- договоры купли-продажи и сведения о других сделках с земельным участком;
- выписки из книги регистрации земельного участка;
- сведения о наличии межевых споров по данному земельному участку;
- чертеж границ или кадастровые карты (планы) с границами земельного участка;
- топографические карты и планы;
- фотопланы и фотоснимки, приведенные к заданному масштабу;
- схемы и списки координат пунктов ГГС;
- схемы и списки координат пунктов ОМС;
- списки координат межевых знаков, затрагиваемых проектом Землеустройства, а также проектные координаты вновь образуемого или трансформируемого земельного участка;
- сведения об особом режиме использования земель.
6.1. Полевое обследование производят с целью проверки сохранности пунктов геодезической опоры, выбора наиболее выгодной технологии работ и размещения пунктов опорной межевой сети.
6.2. Результаты обследования отражаются на схемах ГГС, ОМС или ранее изготовленном чертеже границ земельного участка.
6.3. В результате полевого обследования выясняют возможности применения тех или иных методов и приборов для закрепления пунктов ОМС, межевых знаков и определения их координат.
Составляется акт проверки состояния ранее установленных граничных знаков земельного участка.
7.1. Межевание земель выполняют в соответствии с техническим проектом, в котором обосновывают содержание, объемы, трудовые затраты, необходимые материалы, сметную стоимость, сроки выполнения и технику безопасности работ. Технический проект межевания земель составляют на каждый населенный пункт, дачный поселок, садоводческое товарищество, на крупные сельскохозяйственные и лесохозяйственные предприятия и т.д.
7.2. Межевание земельного участка, предоставленного для ведения личного подсобного и дачного хозяйства, садоводства и индивидуального строительства, выполняют в соответствии с техническим заданием, выданным на основе технического проекта.
7.3. Технический проект межевания земель утверждает районный (городской) комитет по земельным ресурсам и землеустройству.
7.4. Технический проект включает:
- текстовую часть;
- графические материалы;
- смету затрат и расчеты необходимых материалов.
7.5. В текстовой части технического проекта отражают:
- основание и цель выполнения работ;
- сведения о геодезической основе;
- сведения о ранее выполненных межевых работах;
- технологию геодезических работ и закрепления новых или восстановления утраченных границ;
- организацию и сроки межевания земельного участка;
- рекомендации по технике безопасности и охране труда;
- перечень материалов, подлежащих сдаче в комитет по земельным ресурсам и землеустройству.
7.6. К техническому проекту прикладывают разбивочный чертеж, составленный в удобном для работы масштабе, на котором отображают существующие и проектируемые:
- пункты ГГС и ОМС (ОМЗ);
- межевые знаки;
- угловые и линейные данные для геодезических измерений;
- названия и номера размежовываемого и смежных с ним земельных участков.
На разбивочном чертеже проектируемые пункты ОМС и межевые знаки и их названия показываются красным цветом.
7.7. Разбивочный чертеж может составляться на копии ранее изготовленного чертежа границ земельного участка или кадастровой карты (плана), приведенной к удобному для работы масштабу.
8.1. Собственники, владельцы и пользователи размежовываемого и смежных с ним земельных участков заблаговременно, не позднее чем за 2 дня до начала работ, извещаются о времени проведения межевых работ.
8.2. Извещения (приложение 3.3) вручаются под расписку (приложение 3.4) с указанием времени вручения. Извещения и расписки составляются в 2-х экземплярах, один экземпляр из которых подшивается в межевое дело.
9.1. Установление границ земельного участка производит на местности в присутствии представителя районной, городской (поселковой) или сельской администрации, собственников, владельцев или пользователей размежовываемого и смежных с ним земельных участков или их представителей, полномочия которых удостоверяются доверенностями, выданными в установленном порядке.
9.2. После завершения процедуры установления и согласования границ земельного участка на местности производится закрепление его границ межевыми знаками установленного образца.
Результаты установления и согласования границ оформляются актом, который подписывается собственниками, владельцами, пользователями размежовываемого и смежных с ним земельных участков (или их представителями), городской (поселковой) или сельской администрацией и инженером-землеустроителем - производителем работ. Акт утверждается комитетом по земельным ресурсам и землеустройству района (города) (приложение 3.5).
10.1. После закрепления на местности пунктов ОМС (ОМЗ) и межевых знаков определение их планового положения выполняют в соответствии с требованиями раздела 3 настоящей Инструкции.
10.2. Для определения координат пунктов ОМС (ОМЗ) и межевых знаков используют:
- спутниковые геодезические определения;
- триангуляцию, полигонометрию, трилатерацию, прямые, обратные, комбинированные засечки, лучевые системы;
- фотограмметрические методы.
В обоснованных случаях могут использоваться и методы картометрии.
10.3. Для производства измерений применяют:
- спутниковые геодезические приемники;
- электронные тахеометры;
- светодальномеры;
- теодолиты;
- фотограмметрические приборы;
- дигитайзеры, другие приборы и инструменты.
10.4. Конкретные рекомендации по использованию перечисленных методов и приборов для межевания земель излагают в соответствующих руководящих технических материалах (РТМ) и техническом проекте.
10.6. По результатам геодезических, фотограмметрических и картометрических измерений вычисляют координаты пунктов ОМС и межевых знаков.
11.1. Площадь земельного участка вычисляют в основном аналитическими методами по координатам межевых знаков, полученным геодезическими и фотограмметрическими методами при выполнении требований раздела 3 Инструкции.
11.2. Вычисленную площадь земельного участка Рвыч сравнивают с площадью, указанной в правоустанавливающем документе Рдок (постановлении администрации, свидетельстве на право собственности, договоре купли-продажи, и т.д.), для чего вычисляют разность
ΔP = Pвыч - Pдок,
которую сравнивают с допустимой погрешностью определения площади ΔРдоп, вычисляемой по формуле
ΔPдоп = 2mp,
где mp - средняя квадратическая погрешность определения площади земельного участка, вычисленная по формулам, приведенным в приложении 2.
При ΔP < ΔPдоп за окончательное значение площади принимается площадь, указанная в правоустанавливающем документе.
При ΔP > ΔPдоп материалы межевания земель направляют для внесения изменений в правоустанавливающий документ (постановление администрации, свидетельство на право собственности, договор купли-продажи и т.д.).
12.1. Чертеж границ земельного участка составляют в масштабе, равном или крупнее масштаба базовой кадастровой карты (плана), рекомендованном в таблице.
12.2. Оригинал чертежа границ земельного участка составляют на плотной чертежной бумаге, лавсане или фотоплане.
12.3. Чертеж границ земельного участка составляют по образцу, приведенному в приложении 3.
12.4. Чертеж границ земельного участка составляется инженером-землеустроителем, выполнившим межевые работы, и утверждается председателем (заместителем председателя) комитета по земельным ресурсам и землеустройству района (города).
13.1. В процессе и по завершению межевания земельных участков производитель работ осуществляет текущий контроль и приемку законченной продукции.
13.2. При выполнении работ физическим лицом, имеющим лицензию на выполнение межевых работ, текущий контроль и приемку законченной продукции, осуществляет комитет по земельным ресурсам и землеустройству или уполномоченная им проектно-изыскательская организация по землеустройству.
13.3. Текущий контроль и приемку результатов межевания земель производитель работ выполняет с целью установления их соответствия требованиям настоящей Инструкции.
Результаты контроля и приемки оформляют актами установленной формы.
13.4. В целях контроля производитель работ выполняет дополнительные контрольные измерения, осматривает в натуре межевые знаки и устанавливает соответствие их оформления требованиям настоящей Инструкции. Количество дополнительных контрольных измерений основывается в техническом проекте.
13.5. При приемке завершенных работ проверяющий устанавливает:
- наличие списков координат пунктов ГГС, ОМС (ОМЗ) и межевых знаков;
- систему координат и схему привязки межевых знаков к опорным геодезическим пунктам;
- правильность ведения журналов геодезических измерений;
- правильность установления и закрепления границ земельного участка;
- допустимость погрешностей геодезических определений и вычисление площади земельного участка;
- соответствие вычисленной площади земельного участка площади, указанной в документе, удостоверяющем права собственника на земельный участок;
- правильность оформления чертежа границ земельного участка;
- правильность оформления межевого дела и т.д.
14.1. Комитеты по земельным ресурсам и землеустройству осуществляют государственный контроль за установлением и сохранностью межевых знаков.
14.2. Комитет по земельным ресурсам и землеустройству утверждает следующие документы:
- технический проект или техническое задание на межевание земельного участка;
- акт установления и согласования границ земельного участка на местности;
- чертеж границ земельного участка;
- акт государственного контроля за установлением и сохранностью межевых знаков.
Результаты межевания земель, утвержденные районными (городскими) комитетами по земельным ресурсам и землеустройству, могут быть обжалованы в установленном порядке.
16.1. По завершению межевых работ производитель работ формирует и сдает в комитет по земельным ресурсам и землеустройству межевое дело, в которое включаются:
1) Пояснительная записка.
2) Копия или выписка из решений государственных, муниципальных и местных организаций о предоставлении земельного участка.
3) Копии или выписки из документов, на основании которых установлен особый режим использования земель.
4) Копия договора о купле-продаже, дарственной, завещания или другого документа (если такие действия осуществлялись).
5) Справки о вкрапленных земельных участках.
6) Списки координат пунктов ОМС.
7) Списки координат межевых знаков.
8) Акт проверки состояния ранее установленных границ земельного участка.
9) Технический проект (задание) с рабочим (разбивочным) чертежом.
10) Извещения о вызове собственников, владельцев и пользователей размежовываемого и смежных с ним земельных участков для участия в действиях по межеванию земель.
11) Доверенности лицам, уполномоченным собственниками, владельцами, пользователями земельных участков, на участие в установлении, согласовании и закреплении на местности границ размежовываемого земельного участка.
12) Акт установления и согласования границ земельного участка.
13) Акт о сдаче пунктов ОМС на наблюдение за сохранностью.
14) Акт контроля и приемки материалов межевания земель производителем работ.
15) Чертеж границ земельного участка.
16) Ведомость вычисления площади земельного участка.
17) Акт государственного контроля за установлением и сохранностью межевых знаков.
16.2. Межевое дело регистрируется и постоянно хранится в межевом архиве комитета по земельным ресурсам и землеустройству.
Основные типы опорных межевых знаков
(ОМЗ)






Оценка точности определения площади земельного участка
Среднюю квадратическую погрешность mp определения площади земельного участка вычисляют по формуле
|
|
(1) |
где P - площадь земельного участка, К - коэффициент вытянутости, mt - средняя квадратическая погрешность положения межевого знака.
При К = 4 (отношение длины к ширине участка равно четырем)
|
|
(2) |
При К = 1 (участок квадратной формы)
|
|
(2а) |
В обоснованных техническими проектами случаях точность определения площади может быть установлена на основе сравнения результатов двукратных независимых геодезических измерений.
В случае, если на границах землепользования определены опорные межевые знаки, среднюю квадратическую погрешность общей площади можно определить по частям.
Сначала вычисляют средние квадратические погрешности площадей участков, ограниченных звеньями границ и их замыкающими (рис.7)
|
|
(3) |
где mt - средняя квадратическая погрешность положения точки поворота (межевого знака); Di - диагональ, соединяющая точки i - 1 и t + 1; n число межевых знаков звена между опорными межевыми знаками.
Затем вычисляют среднюю квадратическую погрешность площади каркасного полигона, вершинами которого являются опорные межевые знаки,
|
|
(4) |
где mt0 - средняя квадратическая погрешность положения опорного межевого знака; D0j - Диагональ, соединяющая j - 1 и j + 1 опорные межевые знаки; n0 - число вершин каркасного полигона.
Общая средняя квадратическая погрешность площади землепользования будет равна
|
|
(5) |
где N - число звеньев.

Формы межевого дела
|
В комитет по земельным ресурсам и землеустройству |
|
|
_________________________ района (города) |
|
|
|
|
|
|
От ________________________________ |
|
|
(Фамилия, имя, отчество гражданина |
|
|
или наименование юридического лица) |
|
|
___________________________________ |
|
|
(паспортные данные гражданина |
|
|
___________________________________ |
|
|
или реквизиты юридического лица) |
|
|
Адрес _____________________________ |
|
|
___________________________________ |
Заявление
|
Прошу выполнить межевание земельного участка _______________________ |
|
(находящегося |
|
_________________________________________________________________________ |
|
в собственности, владении, пользовании) |
|
|
|
Правоустанавливающий документ ______________________________________ |
|
(госакт, свидетельство, договор и др.) |
|
_________________________________________________________________________ |
|
(номер, дата выдачи, кем выдан) |
|
|
|
Кадастровый номер земельного участка: ______________________________ |
|
|
|
Согласен оплатить расходы по выполнению межевания земельного |
|
участка.* |
|
|
|
_____________________________ |
|
(подпись заявителя, дата) |
|
"___ " __________ 199_ г. |
|
|
|
_________________ * Заявитель оплачивает расходы по межеванию земель, за исключением работ по установлению, закреплению и геодезической привязке опорных межевых знаков. |
|
|
"Утверждаю" |
|
|
Председатель Комитета |
|
|
по земельным ресурсам |
|
|
и землеустройству |
|
|
____________________________ |
|
|
(район, город, область) |
|
|
____________________________ |
|
МП |
(подпись, фамилия, инициалы) |
|
|
" ___ " _____________ 199_ г. |
Техническое задание на межевание земель
|
1. Земельный участок № _________________________________________________ |
||||||
|
_________________________________________________________________________ |
||||||
|
2. Местоположение земельного участка ____________________________________ |
||||||
|
_________________________________________________________________________ |
||||||
|
3. Наименование и адрес собственника, владельца, пользователя |
||||||
|
земельного участка ________________________________________________________ |
||||||
|
_________________________________________________________________________ |
||||||
|
4. Наименование и адрес исполнителя _____________________________________ |
||||||
|
_________________________________________________________________________ |
||||||
|
5. Технический проект на производство межевых работ утвержден |
||||||
|
_________________________________________________________________________ |
||||||
|
_________________________________________________________________________ |
||||||
|
6. Предварительная сметная стоимость работ составляет _____________________ |
||||||
|
_________________________________________________________________________ |
||||||
|
7. Сведения о наличии материалов ранее выполненных изысканий |
||||||
|
_________________________________________________________________________ |
||||||
|
_________________________________________________________________________ |
||||||
|
_________________________________________________________________________ |
||||||
|
8. Виды и объемы работ, подлежащих выполнению __________________________ |
||||||
|
_________________________________________________________________________ |
||||||
|
9. Требование к точности работ ___________________________________________ |
||||||
|
10. Система координат __________________________________________________ |
||||||
|
11. Особые и дополнительные требования к производству работ и |
||||||
|
отчетным материалам _____________________________________________________ |
||||||
|
_________________________________________________________________________ |
||||||
|
_________________________________________________________________________ |
||||||
|
12. Сроки и порядок представления отчетных материалов ____________________ |
||||||
|
_________________________________________________________________________ |
||||||
|
_________________________________________________________________________ |
||||||
|
13. Приложения: _______________________________________________________ |
||||||
|
_________________________________________________________________________ |
||||||
|
_________________________________________________________________________ |
||||||
|
|
||||||
|
Производитель работ: |
||||||
|
|
||||||
|
||||||
|
|
||||||
|
" ___ " _____________ 199_ г. |
Извещение
|
___________________________________________________________________________ |
|||||||
|
Кому (фамилия и инициалы собственника, владельца, пользователя |
|||||||
|
земельного участка или руководителя юридического лица) |
|||||||
|
|
|||||||
|
Прошу Вас прибыть лично или направить Вашего представителя к _______________ |
|||||||
|
часам " ___ " ___________ 199 г. по адресу: _____________________________________ |
|||||||
|
для участия в установлении и согласовании в натуре границ земельного |
|||||||
|
участка ____________________________________________________________________ |
|||||||
|
(название, фамилия и инициалы собственника, владельца |
|||||||
|
___________________________________________________________________________ |
|||||||
|
пользователя, кадастровый номер земельного участка) |
|||||||
|
____________________________ района ________________________________________ |
|||||||
|
(название) |
(название республики в составе РФ, края, |
||||||
|
___________________________________________________________________________ |
|||||||
|
области, автономного образования) |
|||||||
|
|
|||||||
|
Ваша явка или Вашего представителя с доверенностью, подтверждающей его полномочия участвовать в установлении границ и подписывать соответствующие документы, необходима. |
|||||||
|
|
|||||||
|
Инженер-землеустроитель: |
|||||||
|
|
|||||||
|
|||||||
|
|
|||||||
|
" ___ " _____________ 199_ г. |
|||||||
Расписка
|
Извещение __________________________________________________________ |
|||||||
|
(указать кому) |
|||||||
|
|
|||||||
|
о вызове представителя к _______ часам " ___ " ___________ 199_ г |
|||||||
|
для участия в установлении и согласовании в натуре границ земельного |
|||||||
|
участка _________________________________________________________________ |
|||||||
|
(название, фамилия и инициалы собственника, владельца |
|||||||
|
_________________________________________________________________________ |
|||||||
|
пользователя, кадастровый номер земельного участка) |
|||||||
|
____________________________ района _______________________________________ |
|||||||
|
(название) |
(название республики в составе РФ, края, |
||||||
|
_________________________________________________________________________ |
|||||||
|
области, автономного образования) |
|||||||
|
|
|||||||
|
получил "______"______________ 199_ г. |
|||||||
|
|
|||||||
|
|||||||
|
|
|||||||
|
Извещение вручил " ___ " _____________ 199_ г. |
|||||||
|
|
|||||||
|
|||||||
|
|
|||||||
|
|
"Утверждаю" |
|
|
Председатель Комитета |
|
|
по земельным ресурсам |
|
|
и землеустройству |
|
|
____________________________ |
|
|
(район, город, область) |
|
|
____________________________ |
|
МП |
(подпись, фамилия, инициалы) |
|
|
" ___ " _____________ 199_ г. |
Акт установления и согласования границ земельного участка
|
_________________________________________________________________________ |
||||||||||||
|
(кадастровый номер, фамилия и инициалы собственника, владельца, пользователя |
||||||||||||
|
земельного участка или руководителя юридического лица) |
||||||||||||
|
"____"__________ 199 г. |
||||||||||||
|
|
||||||||||||
|
Инженер-землеустроитель _______________________________________________ |
||||||||||||
|
(наименование организация, фамилия, инициалы) |
||||||||||||
|
на основании ____________________________________________________________ |
||||||||||||
|
_________________________________________________________________________ |
||||||||||||
|
произвел в натуре отвод земельного участка __________________________________ |
||||||||||||
|
____________________________________ на площади __________________________ |
||||||||||||
|
Межевание выполнено при участии собственников, владельцев, пользователей земельных участков или их представителей: |
||||||||||||
|
|
||||||||||||
|
||||||||||||
|
|
||||||||||||
|
Границы отведенного участка закреплены в натуре межевыми знаками установленного образца, заинтересованным сторонам о сохранности знаков объявлено. Опорные межевые знаки (ОМЗ) сданы на наблюдение за сохранностью (акты прилагаются). Представителями заинтересованных собственников, владельцев, пользователей при отводе земельного участка заявлено: (существо возникшего спора по границам) |
||||||||||||
|
|
||||||||||||
|
_________________________________________________________________________ |
||||||||||||
|
_________________________________________________________________________ |
||||||||||||
|
|
||||||||||||
|
Инженер-землеустроитель ________________ " _____ " _______________ 199_ г. |
||||||||||||
|
(подпись) |
||||||||||||
|
Представители землепользователей: |
||||||||||||
|
|
||||||||||||
|
||||||||||||
|
|
Чертеж границ
|
земельного участка № ____________________________________________________ |
||||||||||||||||||||||||||||||||||||
|
_________________________________________________________________________ |
||||||||||||||||||||||||||||||||||||
|
_________________________________________________________________________ |
||||||||||||||||||||||||||||||||||||
|
Отвод произведен " ______ " ______________ 199 г. на основании |
||||||||||||||||||||||||||||||||||||
|
постановления администрации ______________ района _______________________ |
||||||||||||||||||||||||||||||||||||
|
Общая площадь участка __________________ |
||||||||||||||||||||||||||||||||||||
|
|
||||||||||||||||||||||||||||||||||||
|
Геоданные: |
||||||||||||||||||||||||||||||||||||
|
|
||||||||||||||||||||||||||||||||||||
|
||||||||||||||||||||||||||||||||||||
|
|
|
Масштаб 1: __________________ |
||||||||||||||||||||||||
|
|
||||||||||||||||||||||||
|
Описание границ смежных землепользований ________________________________ |
||||||||||||||||||||||||
|
от _______ до __________ с землями ______________________________________ |
||||||||||||||||||||||||
|
от _______ до __________ с землями ______________________________________ |
||||||||||||||||||||||||
|
от _______ до __________ с землями ______________________________________ |
||||||||||||||||||||||||
|
|
||||||||||||||||||||||||
|
||||||||||||||||||||||||
|
|
||||||||||||||||||||||||
|
МП |
|
|
"Утверждаю" |
|
|
Председатель Комитета |
|
|
по земельным ресурсам |
|
|
и землеустройству |
|
|
____________________________ |
|
|
(район, город, область) |
|
|
____________________________ |
|
МП |
(подпись, фамилия, инициалы) |
|
|
" ___ " _____________ 199_ г. |
Акт государственного контроля за установлением и сохранностью межевых знаков
|
Установление границ осуществлено _______________________________________ |
||||||
|
_________________________________________________________________________ |
||||||
|
(наименование организации, предприятия) |
||||||
|
из состава земель _______________________________________________________ |
||||||
|
(землепользования |
||||||
|
________________________________ района ________________________ области. |
||||||
|
В результате государственного контроля установлено: |
||||||
|
1. Технический проект (задание) на выполнение межевания утвержден |
||||||
|
_________________________________________________________________________ |
||||||
|
(кем, когда) |
||||||
|
2. Акт установления и согласования границ земельного участка |
||||||
|
_________________________________________________________________________ |
||||||
|
оформлен в соответствии с установленными требованиями и утвержден _______ |
||||||
|
____________________" ___ " ______ 199 г. |
||||||
|
(кем) |
||||||
|
Опорные межевые знаки (ОМЗ) сданы на наблюдение за сохранностью. |
||||||
|
3. Чертеж границ земельного участка ________________________________ |
||||||
|
соответствует принятым требованиям и утвержден __________________________ |
||||||
|
(кем, когда) |
||||||
|
4. Межевое дело оформлено, сброшюровано и подготовлено для передачи |
||||||
|
на постоянное хранение в архив. |
||||||
|
|
||||||
|
Дело принял: представитель ________________________ рай(гор)комзема |
||||||
|
|
||||||
|
||||||
|
|
||||||
|
Дело сдал: производитель работ |
||||||
|
|
||||||
|