МИНИСТЕРСТВО ЦВЕТНОЙ МЕТАЛЛУРГИИ СССР
ГОРНОЕ УПРАВЛЕНИЕ
|
СОГЛАСОВАНО Министерством цветной 30 декабря 1985 г. Министерством черной металлургии СССР 11 декабря 1985 г. |
УТВЕРЖДЕНО Госгортехнадзором СССР 3 июля 1986 г. |
ИНСТРУКЦИЯ
ПО НАБЛЮДЕНИЯМ ЗА СДВИЖЕНИЕМ
ГОРНЫХ ПОРОД
И ЗЕМНОЙ ПОВЕРХНОСТИ
ПРИ ПОДЗЕМНОЙ РАЗРАБОТКЕ
РУДНЫХ МЕСТОРОЖДЕНИЙ
![]()
МОСКВА «НЕДРА» 1988
Разработано Всесоюзным ордена Трудового Красного Знамени научно-исследовательским институтом горной геомеханики и маркшейдерского дела (ВНИМИ), Всесоюзным научно-исследовательским, проектным и конструкторским институтом горного дела цветной металлургии (ВНИПИгорцветмет).
Выпущено по заказу Минцветмет СССР.
Изложены требования к выбору конструкций наблюдательных станций для контроля за сдвижением горных пород и земной поверхности. Рассмотрены методы, периодичность и необходимая точность измерений, способы обработки и методика определения основных параметров процесса сдвижения. Даны сведения о типах реперов и способах их закладки. Описаны вспомогательные устройства и приспособления, применяемые при проведении наблюдений. Приведены программы для обработки результатов наблюдений на программируемых микрокалькуляторах.
Предназначена для работников маркшейдерских служб горнорудных предприятий, исследовательских и учебных институтов горнорудного профиля взамен действующей Инструкции 1959 г.
Инструкция содержит нормативно-методические указания, которые должны выполняться при наблюдении за сдвижением горных пород, земной поверхности и при подземной разработке рудных месторождений. Она составлена на основе одноименной Инструкции, утвержденной Госгортехнадзорами РСФСР и УССР в 1959 г.
При переработке указанной Инструкции был использован опыт проведения многолетних наблюдений за сдвижением горных пород в различных горно-геологических условиях разработки как рудных, так и угольных месторождений и учтены изменения, происшедшие за последние годы. Большое внимание было уделено усовершенствованию методики и техники натурных наблюдений, повышающих производительность работ и точность результатов наблюдений за сдвижением толщи пород и земной поверхности при решении различных вопросов сдвижения горных пород и охраны сооружений. Учтены замечания и предложения ряда научно-исследовательских институтов и горнорудных предприятий.
Инструкция составлена сотрудниками лаборатории сдвижения горных пород при подземной разработке рудных месторождении М.А. Кузнецовым, Е.И. Кузнецовой, С.Н. Зеленцовым, Г.И. Лукиным, В.А. Внуковым, Г.Ш. Сакаевым, В.М. Гяпиным (ВНИМИ) и Н.Е. Яковлевым (ВНИПИгорцветмет)
1.1. Инструкция содержит нормативно-методические указания по проведению наблюдений за сдвижением и деформированием горных пород и земной поверхности, а также за подлежащими охране объектами при подземной разработке рудных месторождений. Основной задачей наблюдений является определение:
характера развития процесса сдвижения, величин сдвижений и деформаций толщи пород, земной поверхности и подрабатываемых объектов под влиянием подземной разработки месторождения;
формы и размеров различных зон сдвижения и деформирования толщи пород и земной поверхности в области влияния очистных выработок;
общей продолжительности процесса сдвижения горных пород и земной поверхности и периода опасных деформаций;
взаимосвязи сдвижений и деформаций горных пород и земной поверхности с деформациями подрабатываемых сооружений и других объектов, подлежащих охране;
величин допустимых и предельных деформаций для различных охраняемых объектов;
мер по контролю за состоянием подрабатываемых объектов, подлежащих охране;
эффективности примененных мер охраны для своевременной их корректировки и разработки новых по предотвращению опасных деформаций в подрабатываемых объектах.
Основные понятия, определения и обозначения элементов процесса сдвижения горных пород и земной поверхности приведены в прил. 1.
1.2. Инструментальные (маркшейдерско-геодезические, фотограмметрические, аэрофотосъемка, геофизические и др.) и визуальные наблюдения за сдвижением горных пород и земной поверхности проводят на наблюдательных станциях, состоящих из систем реперов, расположенных на земной поверхности, в очистных, капитальных и подготовительных горных выработках, скважинах, охраняемых целиках и подрабатываемых объектах. В зависимости от местоположения и назначения различают следующие типы наблюдательных станций:
наземные наблюдательные станции для определения параметров процесса сдвижения земной поверхности;
подземные наблюдательные станции для определения характера и величин сдвижений и деформаций толщи пород;
специальные наблюдательные станции для контроля за состоянием подрабатываемых объектов и определения величин их деформаций.
1.3. Для получения всех необходимых данных о характере и параметрах процесса сдвижения горных пород и земной поверхности и взаимосвязи их с деформациями подрабатываемых объектов следует закладывать комплексные станции, включающие все три типа наблюдательных станций.
При невозможности или нецелесообразности на данном этапе разработки месторождения закладки комплексной станции тип и конструкция проектируемой станции должны обеспечивать получение основных параметров сдвижения или в первую очередь тех данных, которые необходимы для решения отдельных конкретных вопросов сдвижения горных пород и охраны сооружений на месторождении.
1.4. Проведение наблюдений за сдвижением и деформированием массива горных пород, земной поверхности и объектов, подлежащих охране, является одной из основных задач маркшейдерской службы предприятия. Наблюдения выполняют силами маркшейдерского отдела или специальной группы по наблюдению за сдвижением. К проведению наблюдений могут привлекаться и специализированные организации.
Закладку наблюдательных станций и наблюдения на них проводят на основании проекта наблюдений за сдвижением, составленного главным маркшейдером рудника с участием других технических служб или специализированной организацией. Проект согласовывают с главным маркшейдером вышестоящей организации. Утверждает его главный инженер предприятия, на которого возлагаются общее руководство по выполнению работ, предусмотренных проектом, и оперативное решение вопросов, связанных с обеспечением нормального функционирования объектов, подлежащих охране.
1.5. Перед составлением проекта наблюдательной станции необходимо ознакомиться с имеющимися на предприятии материалами по сдвижению горных пород и результатами проведенных ранее наблюдений, оценить их достоверность. Если на месторождении сохранились старые наблюдательные станции, необходимо их обследовать и установить возможность использования в дальнейшем.
При проектировании наблюдательных станций, проведении наблюдений, анализе и обобщении результатов необходимо учитывать, что характер и параметры процесса сдвижения горных пород и земной поверхности существенно зависят от следующих горно-геологических и горнотехнических факторов:
структурных особенностей массива горных пород (слоистое или неслоистое строение, согласное или несогласное залегание рудных тел и вмещающих пород, тектоническая нарушенность, трещиноватость, мощность слоев пород, характер их контактов и т.д.);
формы, размеров и глубины залегания рудных тел, соотношения размеров выработанного пространства и глубины разработки;
физико-механических свойств руды и вмещающих пород;
углов падения рудных тел и вмещающих пород;
способа управления кровлей.
Краткая характеристика влияния указанных факторов на развитие и параметры процесса сдвижения горных пород и земной поверхности приведена в нормативных документах и методических пособиях по сдвижению горных пород и охране сооружений [2, 4].
1.6. Проект наблюдений за сдвижением должен состоять из краткой пояснительной записки и графических материалов, характеризующих горно-геологическую ситуацию в районе наблюдательной станции, взаимное расположение реперов наблюдательной станции и подрабатываемых объектов очистных выработок.
Пояснительная записка содержит: цель наблюдений; краткую геологическую характеристику наносов и вмещающих пород; тектонику месторождения на участке наблюдений; применяемую систему разработки, ее основные параметры; выбор местоположения и расчет длин профильных линий; определение интервалов между реперами; конструкцию и способы закладки реперов; методику проведения наблюдений, их периодичность; характеристику инструментов, допустимые погрешности наблюдений; способ привязки станции к маркшейдерской опорной сети; план организации работ по закладке наблюдательной станции, расчет количества необходимых материалов, рабочей силы и оборудования; меры безопасности при проведении наблюдений; перечень объектов, подлежащих охране, и их характеристику (тип фундамента, материал, размеры и т.д.); очередность закладки профильных линий; период наблюдений.
Графические материалы должны содержать план наблюдательной станции, геологические разрезы по профильным линиям, план очистных выработок или вертикальную проекцию (при крутом падении).
План наблюдательной станции составляют в зависимости от требуемой детальности в масштабах 1:500, 1:1000 или 1:2000. На плане должны быть нанесены: рельеф земной поверхности, контуры имеющихся провалов, зона трещин; сооружения, другие наземные и подземные объекты и коммуникации в районе наблюдательной станции (с выделением объектов, подлежащих охране); профильные линии и реперы наблюдательной станции; контуры рудных тел и очистных выработок (проектных и существующих) с датами отработки отдельных камер или участков, границы предохранительных целиков (зон) под объектами, подлежащими охране, и вероятная зона опасных сдвижений; положение основных подготовительных выработок, по которым проектируют проведение инструментальных и визуальных наблюдений.
При горизонтальном и пологом залегании рудных тел допускается совмещение плана наблюдательной станции с планом очистных выработок. При крутом падении рудных тел на план наблюдательной станции целесообразно наносить контуры рудных тел и горных выработок только на основных горизонтах, а состояние горных работ показывать на вертикальной проекции, на которую наносят положение профильных линий.
На геологических разрезах по профильным линиям должны быть показаны горные выработки, слои пород, слагающие толщину, тектонические нарушения и другие элементы геологического строения участка наблюдений. Разрезы строят в масштабе плана наблюдательной станции.
1.7. При подработке объектов, подлежащих охране, предприятие или проектная организация составляют проект отработки залежи в пределах предохранительной зоны, в котором помимо технологии ведения горных работ предусматривают: мероприятия по охране объекта от влияния горных работ; организацию наблюдений за сдвижением и деформированием массива пород и подрабатываемого объекта; меры по обеспечению безопасности обслуживающего персонала и населения.
1.8. При наблюдении за сдвижением горных пород и земной поверхности для определения параметров процесса сдвижения в сложных горно-геологических условиях или безопасных условий выемки руды из предохранительных целиков различного назначения рекомендуется привлекать к работам специализированные организации.
1.9. После перенесения проекта в натуру закладывают опорные, рабочие и вспомогательные реперы. Их расположение на наблюдательной станции следует представлять лицам, ответственным за использование территории станции, а также разъяснять необходимость сохранения реперов, ответственность за их нарушение, застройку, проведение земляных и других работ в районе профильных линий без согласования с главным маркшейдером рудника.
1.10. По результатам проведения наблюдений и анализа данных главным маркшейдером или руководителем группы по наблюдениям за сдвижением горнодобывающего предприятия составляют годовой технический отчет, содержащий основные результаты наблюдений и рекомендации по их практическому использованию для решения вопросов, сдвижения горных пород и охраны сооружений на месторождении (см. прил. 10).
1.11. Результаты наблюдений должны систематически анализировать, обобщать и оперативно использовать специализированные организации для решения различных вопросов сдвижения горных пород и охраны сооружений: разработки мер охраны зданий, сооружений и природных объектов от вредного влияния подземных горных разработок; определения условий безопасной выемки запасов руды под объектами, подлежащими охране; рекультивации территории и ее застройки; разработки и совершенствования нормативных документов по сдвижению горных пород, охране сооружений и природных объектов, которые согласовывают и утверждают в установленном порядке.
2.1. Наблюдения за сдвижением земной поверхности проводят для определения параметров процесса сдвижения на месторождении и получения фактических данных для обоснованного решения вопросов охраны сооружений и выемки руды из предохранительных целиков.
Для определения параметров процесса сдвижения выбирают участки с типичными для данного месторождения горно-геологическими условиями, на которых можно в наиболее короткие сроки проследить развитие и затухание процесса сдвижения и получить достаточное количество данных. Если нужно получить параметры процесса сдвижения для решения конкретных вопросов охраны сооружений или выемки руды из предохранительных целиков, наблюдательные станции закладывают на участках расположения этих объектов или на участках, имеющих аналогичные горно-геологические условия.
При наличии на участке наблюдательной станции зоны обрушения или возможности образования такой зоны профильные линии должны состоять из двух отрезков, заложенных от фактической границы зоны обрушения или от границы ожидаемого провала в стороны висячего и лежачего боков рудных тел. Отрезки профильной линии, закладываемые на противоположных сторонах зоны обрушения, располагают, как правило, в одной вертикальной плоскости. При существенном различии в характере процесса сдвижения пород лежачего и висячего боков можно закладывать дополнительные профильные линии.
Проведение непосредственных наблюдений в ожидаемой зоне образования воронок и провалов не допускается. Ориентировочные границы этой зоны при a < 45° определяют на вертикальных разрезах линиями, проведенными с глубины 15 т (от контакта коренных пород с наносами) под углом 85° во всех направлениях. При a > 45° границу зоны со стороны восстания строят по углу a. Более точно определяют границы ожидаемого провала по действующим на данном месторождении правилам охраны.
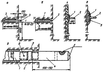
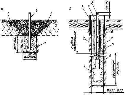
При определении величин сдвижений в ожидаемой зоне внезапного образования воронок и провалов следует закладывать реперы особой конструкции, позволяющие проводить дистанционные измерения. Схематическое изображение конструкций таких реперов приведено в прил. 2.
2.3. Для контроля полученных значений основных параметров процесса сдвижения на станции необходимо заложить не менее двух профильных линий вкрест простирания и одну линию по простиранию при условии получения углов сдвижения на обоих концах каждой профильной линии.
При сложном залегании рудных тел и вмещающих пород, резких изменениях физико-механических свойств и элементов залегания пород число профильных линий как вкрест простирания, так и по простиранию рудных тел увеличивают с таким расчетом, чтобы наблюдениями были охвачены все наиболее характерные условия разработки рудных тел.
2.4. Основные профильные линии для определения основных параметров процесса сдвижения на месторождении (минимальных углов сдвижения и максимальных величин сдвижений и деформаций земной поверхности) закладывают, как правило, в главных сечениях мульды сдвижения (см. прил. 1). Если точное положение главного сечения не определено, то параллельно основным линиям по простиранию и вкрест простирания на расстоянии, равном 3 - 5 принятым интервалам между реперами, закладывают дополнительные профильные линии. Места закладки дополнительных профильных линий устанавливают, исходя из конкретных задач, которые необходимо решить на месторождении. При необходимости на расстоянии 1 - 3 интервалов параллельно основным и дополнительным линиям закладывают дублирующие профильные линии.
При постановке комплексных наблюдений за сдвижением земной поверхности и толщи горных пород на поверхности закладывают профильные линии примерно в одной вертикальной плоскости с реперами профильных линий, закладываемых в горных выработках, или с глубинными реперами в скважинах, пробуренных с земной поверхности или из горных выработок.
2.5. Главное сечение мульды сдвижения и место закладки основной профильной линии вкрест простирания располагают в середине участка очистных работ по простиранию, намеченного к отработке на период наблюдений. Как основные, так и дополнительные профильные линии следует закладывать в местах, где в выработанном пространстве будет оставлено меньше различных целиков или безрудных участков, например над серединами очистных блоков.
2.6. При определении мест закладки основных профильных линий по простиранию следует учесть, что положение главного сечения мульды сдвижения по простиранию в общем случае непостоянно и может измениться при увеличении глубины разработки, изменении угла падения рудного тела, геологического строения массива вмещающих пород, образовании провала на земной поверхности и др. В практике встречаются следующие характерные случаи:
1. По результатам проведенных наблюдений на данном или аналогичном участке месторождения известны основные параметры сдвижения. Определение мест закладки профильных линий по простиранию в этом случае проводят следующим образом:
а) при пологом и наклонном падении рудного тела, когда над верхней границей горных работ земная поверхность сдвигается без образования провала (рис. 1, а), определяют угол максимального оседания q, соединяя прямой линией точку максимальных оседаний земной поверхности М с серединой выработанного пространства О. По известному углу q определяют положение основной профильной линии по простиранию при развитии горных работ, для чего от середины общего выработанного пространства О1 имеющихся и проектируемых очистных выработок на период наблюдений строят угол q (точка M1). Перенеся точку максимальных оседаний на план поверхности, проводят через нее параллельно линии среднего простирания залежи линию проектного положения профильной линии по простиранию;
б) аналогично поступают при определении положения профильной линии по простиранию, когда над верхней границей горных работ возникают небольшие воронки или провалы, которые не получают дальнейшего развития при увеличении глубины отработки, а в мульде сдвижения образуется вторая точка максимального оседания M1 (см. рис. 1, б).
в) при разработке крутопадающих рудных тел в мульде сдвижения образуется зона обрушения, размеры которой при увеличении глубины отработки возрастают, но точка максимальных оседаний остается приуроченной к провалу (см. рис. 1, в). В этом случае основная профильная линия по простиранию должна проходить через центр провала (точка М на рис. 1, в, г), дополнительную профильную линию (при необходимости) располагают над нижней границей проектных очистных выработок на период наблюдений (точка M1). Если существует вероятность сдвижения пород лежачего бока, то со стороны восстания закладывают вторую дополнительную профильную линию (см. рис. 1, в, г; точка М2), проходящую по краю зоны обрушения.
Рис. 1. Схема определения мест расположения профильных линий по простиранию залежи (на разрезе вкрест простирания залежи):
а - при пологом и наклонном падении; б, в - при крутом падении; г - на плане земной поверхности
2. Инструментальные наблюдения за сдвижением не проводили, но на земной поверхности имеется провал от горных работ на верхних горизонтах:
а) при разработке рудных тел малой и средней мощности (m < 5 м) преимущественно жильного типа положение основной профильной линии по простиранию определяют по углу q = 90°, построенному от середины общего выработанного пространства (см. рис. 1, б);
б) при разработке мощных и весьма мощных рудных тел определение положения основной и дополнительных профильных линий показано на рис. 1, в, г.
3. Месторождение только начинают разрабатывать, видимых проявлений сдвижения земной поверхности нет. Определение положения основной профильной линии по простиранию проводят:
а) при угле падения рудного тела менее 45° - по углу q, равному 90° и построенному от середины проектных очистных выработок на период наблюдения;
б) при угле падения рудного тела более 45° закладывают две профильные линии, одну из которых располагают над серединой очистной выработки первого отрабатываемого этажа (q = 90°), а другую - над нижней границей проектных очистных выработок на период наблюдений (см. рис. 1, в).
4. Инструментальные наблюдения не проводили, а горно-геологические условия не позволяют определить положение и ориентировку главного сечения мульды сдвижения по простиранию. В этом случае параллельно основной профильной линии вкрест простирания рудных тел закладывают 2 - 3 дополнительные профильные линии. При наличии или вероятности появления провала 1 - 2 линии должны располагаться в торце провала, аналогично линии А - В (см. рис. 1, г). После выявления по наблюдениям положения точек максимальных оседаний при отработке верхнего горизонта проектируют закладку основной профильной линии по простиранию, ориентируя ее по этим точкам. При необходимости закладывают дополнительные профильные линии по простиранию в соответствии с первыми тремя случаями. Во всех этих случаях дополнительные профильные линии могут иметь протяженность, меньшую, чем предусмотрено п. 2.10, и могут быть заложены без опорных реперов. Положение реперов по основным и дополнительным профильным линиям при наличии или вероятности образования зоны обрушения показано на рис. 1, г.
2.7. Каждая профильная линия должна состоять из опорных и рабочих реперов. Опорные реперы закладывают на концах профильных линий вне зоны сдвижения земной поверхности. Число их на каждом конце профильной линии должно быть не менее двух. Расположение опорных реперов только на одном конце профильной линии допускается, если по условиям рельефа местности или по другим причинам нельзя закладывать реперы по обоим концам линии.
Рабочие реперы закладывают в пределах ожидаемой зоны сдвижения земной поверхности. Границы этой зоны определяют с помощью углов сдвижения b, g, b, и d в коренных породах для данного или аналогичного месторождения, уменьшенных на 10°, и угла сдвижения в наносах и выветрелых породах j.
Рис. 2. Определение длин проектируемых профильных линий:
а, б - на разрезе вкрест простирания пород; в - на разрезе по простиранию пород; 1 - отработано; 2 - намечено к отработке на период наблюдений
2.8. Когда углы сдвижения для данного или аналогичного месторождения не известны, их величину рекомендуется определять в соответствии с данными, приведенными в таблице для средневзвешенного значения коэффициента крепости пород fср = (f1m1 + f2m2 + ... + fnmn)/(m1 + т2 + ... + mn), где f1, f2, ..., fn - крепость слоев; m1, m2, ... mn - мощность слоев. Угол сдвижения в наносах и выветрелых породах принимают равным во всех направлениях. В сухих (необводненных) породах j = 50°, но не превышает значений углов сдвижения. При мощности слоев рудных тел m > 15 м, глубине разработки H < 100 м, мощности наносов и выветрелых пород более 30 м угол j принимают равным 40°. В обводненных наносах значение j принимается равным 35°.
2.9. При закладке наблюдательной станции кроме опорных и рабочих реперов должно быть выбрано не менее трех исходных реперов, от которых проверяют неподвижность опорных реперов по высоте. Для этой цели используют существующие пункты маркшейдерской опорной сети, расположенные вне зоны влияния горных работ.
2.10. Длины профильных линий определяют следующим образом (рис. 2). При пологом и наклонном падении рудных тел (a < 45°) на разрезе вкрест простирания от нижней границы очистной выработки, проектируемой к отработке под профильной линией, проводят линию под углом b - 10°, а от верхней границы выработки - под углом g - 10° до контакта коренных пород с наносами (точки на рис. 2, а) и далее - под углом j до пересечения с линией земной поверхности в точках А и Б. Полученные точки А и Б дают границы ожидаемой зоны сдвижений земной поверхности, а расстояние между ними определяет длину рабочей части профильной линии вкрест простирания на данном разрезе.
|
Тип и строение породы |
Группа пород (коэффициент крепости пород fср) |
Подгруппа |
Угол падения рудных тел a, градус |
Угол сдвижения, градус |
|||
|
d |
b |
g |
b1 |
||||
|
I, слоистое |
1 (< 5) |
1 |
0 - 45 |
55 |
45 |
55 |
- |
|
2 |
46 - 75 |
55 |
40 |
- |
40 |
||
|
3 |
76 - 90 |
55 |
45 |
- |
40 |
||
|
2 (5 ¸ 8) |
1 |
0 - 45 |
60 |
50 |
60 |
- |
|
|
2 |
46 - 60 |
60 |
40 |
60 |
- |
||
|
3 |
61 - 75 |
60 |
40 |
- |
50 |
||
|
4 |
76 - 90 |
60 |
45 |
- |
50 |
||
|
3 (> 8) |
1 |
0 - 45 |
65 |
50 |
65 |
- |
|
|
2 |
46 - 60 |
65 |
45 |
65 |
- |
||
|
3 |
61 - 75 |
65 |
45 |
- |
50 |
||
|
4 |
76 - 90 |
65 |
50 |
- |
50 |
||
|
II, неслоистое |
4 (³ 8) |
1 |
0 - 30 |
70 |
70 |
70 |
- |
|
2 |
31 - 50 |
70 |
65 |
65 |
- |
||
|
3 |
51 - 75 |
70 |
65 |
- |
a |
||
|
4 |
76 - 90 |
70 |
65 |
- |
65 |
||
При крутом падении рудных тел (a > 45°) границу ожидаемой зоны сдвижения со стороны восстания строят от нижней границы очистной выработки в лежачем боку рудного тела под углом b1 - 10° (см. рис. 2, б).
На разрезе по простиранию от проектных границ очистных работ на период наблюдений в стороны торцов рудного тела проводят линии под углом d - 10° до пересечения с линией контакта коренных пород с наносами (точки на рис. 2, в) и далее под углом j в наносах до пересечения с линией земной поверхности в точках А и Б. Точки А и Б - границы ожидаемой зоны сдвижения по простиранию. От них откладывают по два отрезка, равных утроенной длине принятого интервала между реперами, и получают точки Г, В, Д, Е, определяющие места расположения опорных реперов. При необходимости дозакладка реперов профильной линии предусматривается проектом. На участках профильных линий, попадающих в фактическую или ожидаемую зону обрушения, закладку реперов не проводят (см. п. 2.2).
2.11. При пересечении профильной линией тектонического нарушения, выходящего под наносы и имеющего падение сместителя в сторону выработанного пространства, длину профильной линии определяют с таким расчетом, чтобы за зоной влияния тектонического нарушения располагалось не менее трех рабочих реперов.
2.12. Число рабочих реперов по профильной линии определяют длиной линии и выбранной величиной интервала между реперами. Величину этого интервала принимают равной 15 - 20 м. При проведении специальных исследований (изучение дискретности процесса сдвижения, сосредоточенных деформаций в районе тектонических нарушений) проводят сгущение реперов на отдельных участках профильной линии. При этом длина основного интервала между реперами должна быть кратной длине интервала между реперами при их сгущении. При глубине разработки свыше 500 м допускается увеличение (до 30 м) интервала между рабочими реперами в центральной части мульды сдвижения.
2.13. Для удобства наблюдений за сдвижением реперов в вертикальной и горизонтальной плоскостях при неровном рельефе местности, крутых склонах и больших интервалах между опорными реперами на профильных линиях закладывают в качестве переходных точек постоянные вспомогательные реперы забивного типа.
2.14. Разбивку наблюдательной станции, т.е. перенесение проекта в натуру, проводят инструментально от пунктов маркшейдерской опорной сети. При этом допускается проводить корректировку проекта станции и устанавливать окончательные места расположения профильных линий и закладки реперов непосредственно на местности с учетом особенностей ее рельефа, застроенности, характера использования земельных угодий и видимых проявлений процесса сдвижения на земной поверхности. Места закладки реперов на профильных линиях отмечают колышками, которые устанавливают по створу линий с допустимым отклонением не более 5 см.
Конструкции реперов и способы их закладки должны обеспечивать: удобство наблюдений за сдвижением реперов в вертикальной и горизонтальной плоскостях; прочную связь реперов с грунтом; надежную сохранность реперов в течение намеченного срока службы наблюдательной станции.
Рекомендуемые конструкции реперов и способы их закладки в различных условиях приведены в прил. 2.
2.15. В целях предохранения головок реперов от механических повреждений реперы следует закладывать таким образом, чтобы их головки находились на 25 - 30 см ниже поверхности земли. В этом случае у каждого репера устанавливают сторожок (деревянный колышек, отрезок трубы, штанги) с обозначением номера репера.
Если вероятность повреждения реперов в данных условиях мала, то их головки целесообразно располагать на таком расстоянии от поверхности земли (не превышающем 0,5 м), чтобы обеспечить возможность измерения длин интервалов между реперами непосредственно по их головкам. В этом случае проводят окопку реперов с частичной засыпкой грунтом выступающей части репера.
2.16. Для предотвращения влияния сезонного промерзания и оттаивания грунта на устойчивость реперов глубину их закладки выбирают с таким расчетом, чтобы нижний конец репера был расположен на 0,5 м ниже границы промерзания грунта. При этом заполняют бетоном только нижнюю часть скважины или котлована (якорь репера), расположенную ниже границы промерзания грунта, а верхнюю ее часть засыпают грунтом, песком или шлаком. Минимальную глубину закладки реперов в нескальных породах принимают равной 1 м, а в скальных - 0,3 м.
2.17. Комплекс работ на наблюдательной станции включает следующие операции.
1. Инструментальное определение величин сдвижений реперов в горизонтальной и вертикальной плоскостях.
2. Фиксацию трещин, появляющихся на земной поверхности, с определением их раскрытия, протяженности, положения относительно профильных линий, съемку провалов и зоны обрушения.
3. Осмотр подземных выработок под наблюдательной станцией с фиксацией признаков сдвижения пород (см. прил. 9).
4. Составление и пополнение планов и разрезов очистных горных выработок в районе наблюдательной станции с указанием времени характерных этапов горных работ (производство массовых взрывов, выпуск руды из магазинов, погашение междукамерных целиков, потолочин и т.п.).
5. Изучение тектонической нарушенности и трещиноватости горного массива по методике, изложенной в прил. 4.
6. Сбор данных о прочностных свойствах пород, а при их отсутствии - отбор проб и отправка на испытание образцов для определения прочностных свойств пород в соответствии с прил. 5 (выполнение работ по пунктам 5 и 6 возлагается на геологическую службу предприятия).
2.18. Инструментальные наблюдения на станции состоят из:
плановой и высотной привязок опорных реперов к исходным пунктам (при выносе проекта в натуру) и периодического контроля за их неподвижностью в период проведения наблюдений;
начальных наблюдений для определения исходного положения реперов наблюдательной станции в горизонтальной и вертикальной плоскостях;
повторных наблюдений за положением реперов наблюдательной станции для определения величин их сдвижения;
периодических съемок трещин, провалов и зоны обрушения земной поверхности.
2.19. Привязку опорных реперов наблюдательной станции в горизонтальной плоскости осуществляют триангуляцией или проложением замкнутых теодолитных ходов от ближайших пунктов триангуляции или полигонометрии (исходных пунктов). Допускается привязка прокладыванием висячего теодолитного хода в прямом и обратном направлениях.
Относительная линейная невязка теодолитного хода не должна превышать 1:2000. Измерение углов проводят теодолитом с точностью не менее 30", измерение длин - компарированной стальной рулеткой с постоянным натяжением ее при помощи динамометра.
При измерении длин измеряют температуру воздуха и вводят соответствующие поправки (см. п. 5.5).
Высотную привязку и контроль за неподвижностью опорных реперов проводят от реперов и пунктов маркшейдерской нивелирной сети нивелированием IV класса в соответствии с указаниями работы [3].
2.20. Наблюдения для определения исходного положения реперов наблюдательной станции проводят через семь дней при бетонированных реперах, три дня - при забивных реперах или после полного оттаивания грунта в районах многолетней мерзлоты и состоят из двух независимых серий наблюдений, включающих: нивелирование всех реперов наблюдательной станции; измерение расстояний между реперами по профильным линиям; определение ординат реперов, т.е. измерение их отклонений от створа профильной линии (см. п. 2.28 и прил. 3).
Разрыв во времени между окончанием первой серии измерений и началом второй не должен превышать пяти дней.
За исходные значения высотных отметок реперов и длин интервалов между ними принимают средние из двух серий наблюдений их величины.
2.21. Для нивелирования реперов наблюдательной станции используют нивелиры, применяемые для нивелирования IV класса, имеющие увеличение трубы не менее 25х и цену деления уровня не более 25" на 2 мм, или с самоустанавливающейся визирной осью.
Рейки применяют трехметровые, неразрезные, двухсторонние, односторонние, шашечные или штриховые, с уровнем. При использовании односторонних реек нивелирование проводят с изменением горизонта инструмента.
2.22. Перед началом серии наблюдений проводят все поверки нивелира. Рейки должны быть прокомпарированы, уровни выверены. Поверки уровней реек и установочного уровня прибора выполняют перед каждым выходом на наблюдения, поверку и исправление цилиндрического уровня - через 3 - 4 выхода.
Рейку как в прямом, так и в обратном ходах устанавливают на все рабочие и опорные реперы. Отсчеты на промежуточные и связующие реперы берут по средней нити с двух сторон рейки или с изменением горизонта инструмента (см. п. 2.21). Нивелирование проводят из середины расстояния между связующими точками. Расстояние от инструмента до связующих точек не должно превышать 75 м, неравенство плеч допускается не более 3 м. Порядок наблюдений на станции и форма записи полученных данных приведены в прил. 8.
Расхождение в превышениях,
полученных по черной и красной сторонам реек или по одной стороне, но при двух
горизонтах инструмента, не должно быть более ± 3 мм. Невязка превышений в
замкнутых ходах, двойных ходах или ходах, привязанных к опорным пунктам, не
должна быть более
мм или
мм при числе штативов п
более 15 на 1 км хода.
2.24. Измерение расстояний между реперами профильных линий проводят стальными рулетками или светодальномерами.
Если по условиям рельефа местности проведение непосредственных измерений длин интервалов между реперами затруднительно, то наблюдения за сдвижением реперов можно проводить, пользуясь тригонометрическими методами, согласно прил. 6.
2.25. Для измерения расстояний между реперами профильных линий используют стальные рулетки с миллиметровыми делениями или специальные рулетки из мерной проволоки с миллиметровыми шкалами на концах. Измерения проводят на весу с постоянным натяжением полотна рулетки динамометром усилием 100 Н (10 кгс). При измерении интервала по рулетке берут не менее трех пар отсчетов с перемещением рулетки после каждой пары отсчетов на несколько сантиметров. Расхождение между любыми двумя значениями длины интервала не должно превышать 3 мм. На каждом интервале измеряют также температуру воздуха или полотна рулетки с точностью до ± 1° (см. прил. 3).
Измерение длин в каждой серии наблюдений проводят в прямом и обратном направлениях; форма журнала и записи данных приведены в прил. 8. Расхождение непосредственно измеренной длины интервала в прямом и обратном направлениях не должно превышать ± 2 мм. Расхождение измеренных расстояний между крайними реперами профильных линий из прямого и обратного ходов не должно превышать 1:10000 длины профильной линии.
По реперам с открытыми центрами длины измеряют непосредственно по центрам на головках реперов, предварительно расчистив створ профильной линии от неровностей почвы, мешающих свободному проложению полотна рулетки. По реперам со скрытыми центрами длины измеряют с выносом центров реперов с помощью жестких или шнуровых отвесов, а также оптических центриров. Описание конструкций жестких отвесов и методика измерений длин по ним приведены в прил. 3.
2.26. Измерение длин интервалов между реперами может быть выполнено также светодальномерами со средней квадратической погрешностью измерения не более ± 5 мм. Последовательность выполнения операций по измерению расстояний светодальномером регламентируется инструкциями по эксплуатации конкретного прибора.
С целью обеспечения надежного контроля измерений, обнаружения и исключения систематических погрешностей наблюдения на профильных линиях следует выполнять по схемам, приведенным в прил. 6. В этом случае контрольные определения приборных поправок проводить не обязательно.
2.27. При углах наклона земной поверхности свыше 15° и сильно изрезанном (гористом) рельефе местности определение смещений реперов проводят тригонометрическим нивелированием. Вертикальные углы при этом измеряют теодолитами Т2, Theo-010 или равноточными им, при этом длина луча визирования не должна превышать 120 - 150 м. Схемы измерений при тригонометрическом нивелировании описаны в прил. 6. Высоты приборов и сигналов измеряют с точностью ± 1 мм.
2.28. Измерение ординат проводят в следующих случаях:
при несогласном (более 15°) простирании пород и рудного тела;
при отклонении направления профильной линии более 15° от перпендикуляра к контуру горных работ;
при фланговом и диагональном расположениях протяженных объектов;
на контрольных реперах станций глубинных реперов;
при наличии на месторождении поля аномальных тектонических напряжений.
Измерения проводят в соответствии с прил. 3.
2.29. Повторные наблюдения на профильных линиях проводят после того, как процесс сдвижения на наблюдаемом участке распространится до земной поверхности (см. п. 35 прил. 1). Начало сдвижения земной поверхности устанавливают с помощью сторожевых (контрольных) наблюдений, состоящих из нивелирования реперов профильных линий на участках возможного развития сдвижения земной поверхности.
2.30. Число повторных наблюдений и срок их проведения устанавливают в зависимости от поставленных задач и с учетом горнотехнических условий разработки рудного тела; они могут быть изменены в соответствии с фактическим развитием горных работ и процесса сдвижения.
Для изучения развития процесса сдвижения во времени периодически проводят повторные наблюдения, приурочивая их к характерным этапам очистных работ (до и после массовых взрывов, погашения междукамерных целиков и потолочин, выпуска руды из магазинов и т.п.).
Для получения угловых параметров процесса сдвижения, определения величин сдвижений и деформаций земной поверхности и выяснения характера распределения их в мульде сдвижения достаточно проводить повторные наблюдения 1 - 2 раза в год до окончания процесса сдвижения (см. п. 55 прил. 1).
Методика и точность измерений при повторных наблюдениях аналогичны начальным наблюдениям.
2.31. Визуальные наблюдения проводят с целью выявления видимых признаков деформирования горных пород, земной поверхности и подрабатываемых объектов, определения степени деформированности объекта наблюдений и ее изменения во времени в зависимости от развития очистных работ, выбора мер охраны и сроков ремонтно-наладочных (профилактических) работ. В районе наблюдательных станций визуальные наблюдения проводят одновременно с инструментальными. Методика визуальных наблюдений приведена в прил. 9.
3.1. Подземные наблюдательные станции закладывают для наблюдений за устойчивостью подработанных пород, развитием и формированием различных зон сдвижения и деформирования в подработанной толще пород. Станции закладывают при подработке охраняемых объектов, расположенных как в толще пород, так и на земной поверхности. Результаты наблюдений на станциях используют для определения характера сдвижения пород на месторождении, прогноза величин сдвижений и деформаций толщи пород и земной поверхности в районе подрабатываемых объектов и принятия в необходимых случаях своевременных мер по предупреждению опасных последствий их подработки.
Для изучения и решения разнообразных вопросов горного давления (выбор оптимальных параметров систем разработки, рациональное расположение и крепление выработок, меры борьбы с горными ударами) закладывают специальные подземные наблюдательные станции. Способы закладки, проведения наблюдений, обработки и использования результатов наблюдений на таких станциях приведены в специальной литературе и в данной Инструкции не рассматриваются.
3.2. Реперы подземной наблюдательной станции закладывают в существующих капитальных и подготовительных горных выработках на разрабатываемом и вышележащих горизонтах, специально пройденных для этой цели выработках, а также скважинах, пробуренных из подземных горных выработок или с земной поверхности.
При подработке объектов, подлежащих охране, выработки и скважины, в которых закладывают реперы, располагают по возможности в одной или нескольких общих для них вертикальных плоскостях, проходящих через подрабатываемый объект или в непосредственной близости от него. Если при закладке подземной станции одновременно закладывают профильную линию и на земной поверхности (комплексная наблюдательная станция), то последнюю следует располагать в одной вертикальной плоскости с выработками, в которых закладывают подземную станцию.
3.3. В состав подземной наблюдательной станции включают рабочие и опорные реперы, заложенные в горных выработках, и глубинные реперы, заложенные в скважинах.
Рабочие реперы закладывают с интервалом 10 - 15 м; они должны по возможности образовывать прямые профильные линии. При необходимости сгущения реперов интервал между ними уменьшают до 3 - 5 м.
Опорные реперы закладывают на концах профильных линий (не менее двух) за пределами области сдвижения на данном горизонте. Их привязывают к исходным реперам, для этого используют реперы подземной маркшейдерской опорной сети, расположенные вне общей зоны влияния Горных разработок (см. п. 22 прил. 1). Если опорные реперы заложить нельзя, все измерения и последующую их обработку ведут относительно рабочего репера, наиболее удаленного от очистных работ. Плановое и высотное положения этого репера при начальном и повторном наблюдениях определяют непосредственно от исходных реперов.
Рабочие и опорные реперы закладывают в почве, кровле или в боках выработки в зависимости от возможности наиболее длительной их сохранности, удобства закладки и наблюдений.
3.4. Наблюдения за сдвижением и деформациями толщи пород на недоступных для непосредственных наблюдений участках проводят с помощью глубинных реперов, заложенных в существующих или специально пройденных скважинах из горных выработок или с земной поверхности. Основные сведения о методах наблюдений за сдвижением толщи пород с помощью глубинных реперов приведены в прил. 7.
3.5. Конструкция реперов и способы их закладки на подземных наблюдательных станциях должны обеспечить: простоту изготовления и установки (закладки) их в горной выработке; прочную связь с массивом пород, исключающую влияние взрывных работ и локальных отслоений пород на контуре выработки; длительную сохранность; удобство проведения наблюдений. Рекомендуемые конструкции реперов и способы их закладки приведены в прил. 2.
3.6. Если в соответствии с проектом наблюдательной станции часть реперов в горных выработках или скважинах закладывают на участке ожидаемой зоны обрушения, в проекте следует предусмотреть своевременный переход на дистанционные методы наблюдений на данном участке. Для этого на реперах и кондукторах скважин закрепляют стационарные нивелирные рейки, позволяющие проводить нивелирование на расстоянии, а скважины оборудуют приборами дистанционной регистрации сдвижений глубинных реперов или концы проволок от последних выносят за пределы ожидаемой зоны обрушения.
3.7. Закладке реперов в горных выработках предшествует рекогносцировка, в ходе которой окончательно выбирают и отмечают места закладки, исходя из удобства установки (подвески) нивелирной рейки на репере и непосредственного измерения длин интервалов между ними; одновременно отыскивают и осматривают исходные реперы.
3.8. После закладки подземной наблюдательной станции проводят привязку ее опорных реперов к пунктам маркшейдерской опорной сети. В исключительных случаях, когда привязка к маркшейдерской сети затруднительна, допускается обработка измерений на профильных линиях в условной системе координат и отметок. В этом случае при расположении профильных линий станции на нескольких горизонтах обязательна увязка координат и отметок реперов на разных горизонтах в одну систему.
3.9. Передачу высотных отметок от пунктов маркшейдерской сети на опорные реперы в горизонтальных выработках проводят геометрическим нивелированием по методике и нормам нивелирных ходов IV класса, в наклонных выработках - тригонометрическим нивелированием; передачу плановых координат на опорные реперы - по методике и нормам подземных теодолитных ходов I разряда.
3.10. Плановое положение рабочих реперов определяют по вычисленным длинам интервалов с замером контрольных расстояний до ближайших маркшейдерских, съемочных или контурных точек плана выработки (сопряжений, ниш) для ряда реперов.
3.11. Для определения исходного положения реперов в подземных выработках проводят начальные наблюдения, состоящие из двух независимых серий нивелировок реперов и измерений длин между ними. В выработках, где предполагается смещение реперов в направлении, перпендикулярном оси выработки, проводят измерение ординат.
3.12. Нивелирование рабочих реперов в каждой серии наблюдений выполняют с соблюдением требований п.п. 2.21 - 2.23. Допускается использование односторонних реек, металлических линеек и подвесных реек с лавсановым полотном (см. прил. 3), а также двух - трехметровых складных нивелирных реек при условии, что нивелирование ведут при двух горизонтах инструмента.
3.13. Измерение расстояний между реперами в каждой серии проводят в прямом и обратном направлениях согласно п.п. 2.24 - 2.26.
На реперах, заложенных в боках выработки, измерения проводят непосредственно по центрам на головках реперов или по центрам съемных наконечников, закрепляемых на реперах во время наблюдения, если реперы во избежание их повреждения заложены «заподлицо» в стенке выработки (см. прил. 2).
Центры реперов, заложенных в почве или кровле выработки, выносят с помощью жестких и шнуровых отвесов или оптических центриров. При этом фиксируют расстояние от центра репера до места приложения рулетки для введения поправки за превышение. Когда используют жесткие отвесы, поправки за превышение точек приложения рулетки вводят только при переходе от измерений по жестким отвесам к другому способу измерений (непосредственно по головкам реперов, с помощью шнуровых отвесов и т.п.).
3.14. Измерение ординат при необходимости (см. п. 2.28) проводят в соответствии с прил. 3.
3.15. В выработках с углами наклона более 15 - 20° сдвижение реперов в горизонтальной и вертикальной плоскостях определяют тригонометрическим нивелированием по методике, приведенной в прил. 6.
3.16. Наблюдения за сдвижением глубинных реперов состоят в измерении смещений реперов вдоль оси скважины относительно устья (кондуктора скважины, монтажной рамы) и определении абсолютных сдвижений устья скважины в вертикальной и горизонтальной плоскостях относительно опорного или ближайшего рабочего репера наблюдательной станции. Методы определения смещений реперов, конструкции реперов и регистрирующих устройств приведены в прил. 7.
3.17. Начало проведения повторных наблюдений приурочивают к началу сдвижения пород на участке наблюдательной станции. Для определения начала сдвижения пород проводят сторожевые (контрольные) наблюдения - нивелирование реперов, расположенных вблизи очистных работ.
3.18. Каждое повторное наблюдение должно состоять из одной полной или неполной серии наблюдений, выполняемых в прямом и обратном направлениях.
3.19. Периодичность повторных наблюдений устанавливают в зависимости от поставленных задач, подлежащих решению на основе результатов наблюдений, и горнотехнических условий разработки рудных тел на данном участке.
При изучении развития процесса сдвижения подработанной толщи пород во времени сроки повторных наблюдений приурочивают к наиболее характерным этапам проведения очистных работ и наблюдений на поверхности.
3.20. Одновременно с инструментальными наблюдениями выполняют визуальные наблюдения в очистных и подготовительных выработках, описывают в специальном журнале все видимые деформации пород, крепи и завалы выработок с указанием размеров участков деформирования, параметров видимых деформаций, времени их появления и развития видимых признаков деформирования (см. прил. 9). Для замера параметров деформаций в выработках устанавливают маяки различного типа (см. прил. 3).
3.21. Помимо проведения инструментальных и визуальных наблюдений в комплекс работ на наблюдательной станции входит сбор сведений о:
а) применяемой системе разработки, ее фактических параметрах, размерах, конфигурации и состоянии очистного пространства на момент проведения наблюдений;
б) трещиноватости вмещающих пород и рудных тел и о влиянии различных систем трещин на сдвижение горных пород; при отсутствии таких сведений проводят изучение трещиноватости пород по методике, описанной в прил. 4;
в) тектонических нарушениях в районе наблюдательной станции и влиянии их на развитие процесса сдвижения;
г) прочностных свойствах руды и вмещающих пород в районе наблюдательной станции; при отсутствии таких сведений проводят отбор пород и отправку на испытание образцов по методике, приведенной в прил. 5 (п.п. «б», «в», «г» выполняют совместно с геологической службой предприятия).
4.1. Согласно работе [4] при подработке объектов, подлежащих охране, для определения эффективности принятых мер охраны и предупреждения ответственных лиц и организаций о появлении деформаций в этих объектах за ними устанавливают систематические наблюдения на специальных наблюдательных станциях.
В зависимости от расположения подрабатываемых объектов, принятых мер охраны и вопросов, подлежащих решению на основе результатов наблюдений, специальные наблюдательные станции закладывают не только в этих объектах, но также на земной поверхности и в толще пород.
СПЕЦИАЛЬНЫЕ НАБЛЮДАТЕЛЬНЫЕ СТАНЦИИ НА ЗЕМНОЙ ПОВЕРХНОСТИ
4.2. Специальные наблюдательные станции на земной поверхности закладывают в основном при подработке следующих объектов:
гражданских жилых и общественных зданий (домов, школ, больниц, административных зданий, магазинов, домов культуры и т.п.);
промышленных зданий (заводских цехов, обогатительных фабрик, рудничных мастерских, надшахтных зданий и зданий подъемных машин);
линий железных дорог и транспортных сооружений (мостов, путепроводов, виадуков);
инженерных сооружений (водонапорных башен, дымовых труб, шахтных копров, бункеров, электроподстанций, опор линий электропередач);
технологического оборудования (шахтных подъемных машин, вентиляторов, оборудования обогатительных фабрик и закладочных комплексов, котлов, металлообрабатывающих станков длиной более 6 м, подкрановых путей и т.д.);
санитарно-технических сетей (водопроводов, теплопроводов, канализационных сетей);
водных объектов (рек, каналов, водохранилищ, хвостохранилищ и шламоотстойников);
действующих карьеров, склонов гор, на которых могут возникать оползни;
других объектов.
4.3. На специальных наблюдательных станциях определяют величины сдвижений и деформаций как подрабатываемых объектов, так и земной поверхности. С этой целью в подрабатываемых объектах устанавливают стенные реперы, маяки, замерные марки, датчики или другие замерные устройства, а на земной поверхности вблизи подрабатываемых объектов закладывают линии грунтовых реперов.
Конструкции опорных и рабочих грунтовых реперов должны быть такими же, как и на наблюдательных станциях для определения параметров процесса сдвижения земной поверхности. Конструкции стенных реперов, маяков и замерных марок приведены в прил. 2.
4.4. Плановую и высотную привязки реперов наблюдательной станции к опорной маркшейдерской сети и наблюдения за сдвижением грунтовых и стенных реперов в вертикальной и горизонтальной плоскостях на специальных наблюдательных станциях выполняют теми же способами и методами, которые применяют на наблюдательных станциях для определения параметров процесса сдвижения земной поверхности. Методика наблюдения по маякам, замерным маркам и другим замерным устройствам изложена в прил. 3.
Грунтовые реперы закладывают против стенных реперов на расстоянии не менее 1,5 - 2,0 м от фундамента, но не ближе 0,5 м от отмостки (см. прил. 2).
Когда перед подработкой здания требуется уточнение ожидаемых деформаций земной поверхности, на участке между зданием и приближающимися к нему горными работами закладывают дополнительные линии грунтовых реперов.
4.6. Наблюдения на станции при подработке зданий заключаются в нивелировании стенных и грунтовых реперов, измерении горизонтальных расстояний между ними и наблюдении за деформациями зданий путем визуального осмотра. При этом особое внимание необходимо обращать на состояние несущих конструкций (наличие трещин, отклонений от первоначального положения, прогибов).
В зданиях и сооружениях устанавливают комплекс датчиков, приборов и приспособлений, с помощью которых проводят наблюдения за напряжениями и деформациями в конструкциях зданий. В таких случаях наблюдения обычно выполняют с привлечением специализированных организаций.
4.7. При появлении в стенах, колоннах и других частях подрабатываемых зданий и промышленных сооружений трещин устанавливают маяки для наблюдения за изменением размеров трещин. Ширину и длину трещин, а также дату измерения записывают в журнал. Для непосредственного измерения ширины раскрытия трещин применяют: измерительный клин, прозрачный трафарет с нанесенными на него линиями различной толщины, стальную линейку. Для измерения трещин в недоступных местах применяют глазомерную оценку ширины трещины по сравнению с непосредственно измеренными трещинами на ближайшем участке, а также измерение по дальномерной шкале оптических приборов с фиксированных расстояний.
Наблюдения за деформациями наружных стен зданий можно также осуществлять методом фотофиксации или методом фотограмметрии, приведенными в специальной литературе.
4.8. При появлении первых признаков деформации зданий (возникновении первых трещин в стенах, раскрытии осадочных швов в зданиях с конструктивными мерами защиты) необходимо провести дополнительные наблюдения по реперам наблюдательной станции и зафиксировать все видимые проявления деформаций зданий, независимо от ранее намеченной программы наблюдений.
4.9. При подработке промышленных зданий и сооружений, имеющих ответственные агрегаты, например мостовые краны, сложные станки, механизмы и другое оборудование, необходимо наблюдать за изменением их положения в плане и по высоте.
При наблюдениях за подкрановыми путями мостовых кранов проводят нивелировку головок рельсов, измерение ширины колеи и зазоров на стыках рельсов. На колоннах, несущих подкрановые пути, устанавливают стенные реперы, по которым проводят нивелировку и измерение длин как в продольном, так и в поперечном направлении.
В фундаментах станков и другого оборудования закладывают не менее четырех реперов и выполняют нивелирование, позволяющее определять наклоны фундаментов в любых направлениях. При появлении трещин в фундаментах устанавливают маяки и проводят наблюдения за изменением размеров трещин.
4.10. При частичной или полной выемке околоствольных предохранительных целиков и оконтуривании целика очистными работами наряду с наблюдениями в толще пород проводят инструментальные наблюдения за состоянием сооружений подъемного комплекса (надшахтного здания и здания подъемной машины), а также наблюдения за сдвижением земной поверхности в районе охраняемых сооружений. Наблюдения включают следующие виды работ: нивелирование стенных реперов, заложенных в надшахтном здании и здании подъемной машины, осевых и подходных пунктов; нивелирование стенных реперов или марок, установленных на опорах станка и укосинах копра, а также на фундаменте подъемной машины (в качестве реперов можно использовать анкерные болты); наблюдения за наклоном копра и вала подъемной машины; контрольные измерения углов девиации подъемных канатов при верхнем положении клети (на приемочной площадке); нивелирование реперов и измерение расстояний между реперами на профильных линиях, заложенных на земной поверхности.
Для того чтобы получить данные о развитии сдвижений и деформаций земной поверхности в направлении охраняемых объектов, профильные линии закладывают по возможности перпендикулярно к фронту подвигания очистных выработок в целике и через середины охраняемых объектов.
4.11. При подработке железных дорог над подрабатывающими очистными выработками закладывают наблюдательные станции, включающие:
профильные линии грунтовых реперов в главных сечениях мульды сдвижения для определения параметров процесса сдвижения земной поверхности и корректировки расчетных (принятых в проекте подработки) величин сдвижений и деформаций земной поверхности под полотном железной дороги;
линии грунтовых реперов вдоль основания полотна железной дороги для получения величин сдвижений и деформаций земной поверхности под полотном железной дороги;
линии забивных реперов на верхней площадке земляного полотна между бровкой откоса полотна и балластной призмой для получения данных об оседаниях и горизонтальных сдвижениях полотна железной дороги и определения мест и объемов ремонтных работ.
Наблюдения на станции включают нивелирование реперов и измерение расстояний между ними. При диагональном и фланговом расположениях полотна железной дороги относительно простирания рудных тел на профильных линиях, заложенных вдоль полотна, следует измерять ординаты для определения поперечных сдвижений полотна.
Одновременно с наблюдениями за сдвижением реперов проводят измерение зазоров в стыках рельсов и нивелирование головок рельсов. Собирают также сведения о проведенном ремонте верхнего строения пути (подсыпка балласта, разгонка стыковых зазоров и др.).
4.12. При подработке трубопроводов проводят наблюдения за сдвижением земной поверхности в зоне трубопровода, напряженно-деформированным и техническим состояниями трубопровода. Для наблюдений за сдвижением земной поверхности в зоне подработки трубопровода закладывают грунтовые реперы вдоль трубопровода в 1,5 - 2,0 м от края траншеи. Расстояние между реперами должно составлять 10 - 15 м. Инструментальные наблюдения включают нивелировку грунтовых реперов и измерение расстояний между ними по методике наблюдений за сдвижением земной поверхности.
Для наблюдений за состоянием трубопроводов в зонах наибольших ожидаемых деформаций земной поверхности их вскрывают специальными колодцами, шурфами и траншеями, которые при секционных трубопроводах располагают в местах стыковых соединений. Наблюдения за напряженно-деформированным состоянием трубопроводов в зависимости от их назначения и конструкции включают:
для стальных подземных и наземных напорных трубопроводов - измерение деформаций труб в отдельных точках, вычисление растягивающих напряжений и проверку условий прочности (выполняют специализированные организации) в случаях, когда расчетные деформации земной поверхности превышают допустимые для данного трубопровода;
для подземных и наземных секционных трубопроводов - измерение подвижек стыковых соединений и проверку компенсационной способности стыков. С этой целью по обе стороны стыкового соединения должны быть намечены постоянные точки для систематического измерения расстояния между ними;
для самотечных трубопроводов наряду с наблюдениями за состоянием и работой стыковых соединений - нивелировку дна лотков и трубопроводов, а также проверку условий самотечности;
для эстакадных трубопроводов - инструментальные измерения оседания и горизонтального перемещения опор и их наклонов, продольного и поперечного перемещений трубопровода на опорах, а также фиксацию и замер повреждений опор.
Одновременно с инструментальными наблюдениями проводят визуальное обследование трассы трубопровода. При этом фиксируют состояние колодцев, утечки транспортируемой жидкости, взаимное перемещение грунта (опор) и труб, а также другие видимые проявления подработки трубопровода и земной поверхности.
4.13. При подработке высоких инженерных сооружений с малой площадью опоры (дымовые трубы, водонапорные башни, бункера, опоры ЛЭП, телевизионные и радиорелейные башни) в фундаментах сооружений закладывают стенные реперы, а против них и по периметру основания на удалении не менее 2 - 3 м от фундамента - грунтовые реперы. Кроме нивелирования стенных и грунтовых реперов проводят наблюдения за наклонами сооружений в направлениях простирания и падения рудных тел.
4.14. При подработке водных объектов в непосредственной близости от них закладывают наблюдательные станции для определения параметров сдвижения земной поверхности, а в выработках оборудуют гидрометрические посты, на которых определяют приток воды до подработки и во время подработки водного объекта. При подработке водохранилищ, хвостохранилищ, прудов и других водных объектов, имеющих искусственные сооружения в виде плотин, дамб, водосливных устройств, водопропускных лотков или каналов, выполняют инструментальные и визуальные наблюдения за состоянием этих сооружений.
Инструментальные наблюдения включают нивелирование и измерение расстояний между реперами, заложенными по верхнему гребню и у основания плотин и дамб, а также установленными в водосливных устройствах и облицовке лотков и каналов. Визуально фиксируют все видимые проявления сдвижений и деформаций в сооружениях и горных выработках (трещины, просадки, просачивание воды и т.п.).
4.15. При совместной разработке месторождения подземным и открытым способами в зоне влияния подземных разработок закладывают комплексные наблюдательные станции, состоящие из профильных линий реперов на уступах и откосах бортов карьера, глубинных реперов в скважинах и реперов в выработках, расположенных под карьером.
Наблюдения для изучения деформаций бортов и уступов карьера, предупреждения оползней и обручений откосов, а также определения оптимальных параметров откосов на подработанных подземными выработками участках горных работ вне зоны обрушения и образования воронок выполняют в соответствии с работой [5].
В зоне обрушения и местах вероятного внезапного образования воронок над пустотами наблюдения проводят дистанционно. В толще пород их выполняют с помощью скважин с глубинными реперами или геофизическими методами, на поверхности (в карьере) - с использованием фототеодолита, дистанционного нивелирования с помощью оцифрованных реперов - вешек, дифференциально графическим методом и др.
При наличии фототеодолита проводят дистанционные стерео-фотограмметрические наблюдения за образованием воронок в зоне обрушения с предварительной установкой в ней съемочных марок. Учащенные фототеодолитные наблюдения для определения места выхода воронки на поверхность и динамики ее развития проводят с одной постоянной точки (забетонированный столик) строго ориентированной фотокамерой с использованием псевдостереоэффекта.
При отсутствии фототеодолита наблюдения за образованием воронок в зоне обрушения выполняют на станциях площадного нивелирования, закладываемых до отбойки потолочин отрабатываемых камер, а после отбойки - дистанционно по оцифрованным вешкам, устанавливаемым в забивные реперы-трубки. Перед выполнением таких наблюдений над старыми пустотами осуществляют их разведку скважинами, горными выработками или другими методами.
Для наблюдений за смещением отдельных точек бортов карьера, а также труднодоступных участков подработанных склонов гор можно применять дифференциальный метод с графическим определением горизонтальных и вертикальных смещений, позволяющий определять полный вектор сдвижения отдельных точек.
СПЕЦИАЛЬНЫЕ ПОДЗЕМНЫЕ НАБЛЮДАТЕЛЬНЫЕ СТАНЦИИ
4.16. Специальные подземные наблюдательные станции закладывают в имеющихся или специально пройденных горных выработках и скважинах для получения фактических данных о величинах сдвижений и деформаций толщи пород при:
подработке шахтных стволов для контроля за состоянием крепи и армировки ствола, выявления мест опасных деформаций и разработки мер по предотвращению опасных ситуаций, определения сроков восстановительных ремонтов и др.;
расчете мест рационального расположения капитальных и подготовительных выработок относительно отрабатываемых рудных тел, обеспечивающих сохранность выработок на определенный период времени;
определении возможности подработки сближенных рудных тел, обеспечивающей в дальнейшем безопасную их выемку;
изучении условий устойчивости, сдвижения и обрушения горных пород над пустотами и выборе мер охраны сооружений над залежами небольших размеров;
обеспечении условий безопасного ведения открытых горных работ над подземными;
установлении условий безопасной подработки водоносных горизонтов и обводненных выработок.
4.17. Проектирование специальных подземных наблюдательных станций, проведение натурных наблюдений, обработку и интерпретацию результатов наблюдений в сложных горно-геологических условиях следует осуществлять с привлечением специализированных организаций, имеющих опыт решения указанных вопросов.
5.1. Камеральную обработку результатов наблюдений выполняют по окончании каждой серии измерений. Она включает следующие операции:
1. Проверку полевых журналов, уточнение и приведение в порядок записей визуальных наблюдений и других заметок.
2. Вычисление высотных отметок всех реперов наблюдательной станции.
3. Вычисление горизонтальных расстояний между реперами профильных линий (с введением всех поправок).
4. Вычисление ординат (если они измерялись).
5. В специальных ведомостях (см. прил. 8) по каждой профильной линии проводят вычисления:
вертикальных сдвижений (оседаний) реперов;
горизонтальных сдвижений реперов вдоль профильных линий и перпендикулярно к ним (если измерялись ординаты);
вертикальных деформаций (наклонов и кривизны) мульды сдвижения;
горизонтальных деформаций (растяжений, сжатий) интервалов между реперами.
6. Составление и пополнение графических материалов (по данным камеральной обработки наблюдений и геолого-маркшейдерской документации):
совмещенных планов наблюдательных станций и горных выработок;
вертикальных геологических разрезов по каждой профильной линии с нанесением литологии пород, очистных и других горных выработок, скважин и структурных особенностей массива (тектонических нарушений, контактов слоев, диаграмм трещиноватости);
графиков вертикальных и горизонтальных сдвижений и деформаций по каждой профильной линии.
7. Составление (в случае необходимости) ведомостей и графиков скоростей вертикальных и горизонтальных сдвижений, планов земной поверхности (горизонтов) с изолиниями сдвижений и деформаций, векторов сдвижений земной поверхности и др.
5.2. Величины сдвижений и деформаций в различных точках мульды сдвижения могут быть положительными или отрицательными.
При расчете сдвижений и деформаций в главных или параллельных им сечениях мульды сдвижения знаки этих величин определяют следующим образом:
|
Знак……………..положительный (+) Деформация…………..оседание горизонтальные сдвижения в сторону восстания и сторону простирания рудного тела наклоны в сторону восстания и в сторону простирания рудного тела кривизна и радиус кривизны выпуклости кривой оседания растяжения |
отрицательный (-) поднятие горизонтальные сдвижения в сторону падения и сторону, обратную простиранию рудного тела наклоны в сторону падения и сторону, обратную простиранию рудного тела кривизна и радиус кривизны вогнутости кривой оседания сжатия |
За направление простирания рудного тела принимают направление, относительно которого линия падения располагается справа. При построении графиков сдвижений и деформаций положительные величины и величины поднятий откладывают вверх от исходной горизонтальной линии. Отрицательные величины и величины оседаний откладывают вниз от исходной горизонтальной линии.
5.3. Вычисление превышений и отметок реперов при геометрическом нивелировании проводят в журнале нивелирования, а уравнивание нивелирных ходов - в специальном журнале методом Приближений или полигонов. Вычисление превышений и отметок реперов при тригонометрическом нивелировании выполняют в специальном журнале. Отметки реперов после обработки каждой серии наблюдений заносят в ведомость оседания реперов (см. прил. 8). Величину оседания репера определяют по формуле
h = Hn-1 - Hn, (1)
где Нп-1 - отметка репера из предыдущего или начального наблюдения; Нп - отметка репера из последующего наблюдения.
5.4. По данным ведомостей оседания реперов составляют ведомости вертикальных деформаций - наклонов и кривизны (см. прил. 8). Наклоны определяют по формуле
(2)
где hп - вертикальное сдвижение переднего репера; hn-1 - вертикальное сдвижение заднего репера; d - горизонтальная длина интервала между реперами (от начального наблюдения).
Наклоны - величины безразмерные. При построении графиков вертикальных деформаций (наклонов) величины их относят к середине интервала.
Кривизну определяют по формуле
k = (in - in-1)/dср, (3)
где in - наклон последующего интервала; in-1 - наклон предыдущего интервала; dcp = (dn - dn-1)/2 - полусумма горизонтальных длин последующего и предыдущего интервалов (из начального наблюдения).
При построении графиков полученную кривизну относят к общей точке смежных интервалов. Радиус кривизны (величину, обратную кривизне) определяют по формуле: R = 1/k и выражают в километрах.
5.5. Вычисление горизонтальных расстояний между реперами профильных линий проводят в специальной ведомости, форма которой приведена в прил. 8. При этом вычисляют и учитывают следующие поправки:
поправку за температуру
Dl = la(t - tк), (4)
где l - измеренная длина интервала, мм; a - коэффициент линейного расширения; t - температура воздуха или полотна рулетки, °С; tк - температура компарирования рулетки, °С;
поправку за наклон
при
![]()
Dl1 = D1 + D2 + D3, (6)
где l - измеренная длина интервала, мм; h - превышение между концами рулетки или ордината (отклонение от створа); второй и третий члены в формуле (6) не вводят, если их величины не превышают 0,5 мм;
поправку за разность отклонений от створа вычисляют по формулам (5), (6), в которых вместо величины h подставляют значение измеренной ординаты. При этом учитывают знак ординаты, например справа по ходу - положительный, слева - отрицательный;
поправку за компарирование Dlк берут из свидетельства о государственной поверке рулетки;
поправку за провес рулетки вводят согласно прил. 3.
5.6. При тригонометрическом нивелировании реперов превышения между соседними реперами и горизонтальные расстояния между ними определяют по методике, приведенной в прил. 6.
5.7. Горизонтальные расстояния между реперами, определенные после внесения необходимых поправок, выписывают в ведомость горизонтальных деформаций (см. прил. 8). Горизонтальные деформации интервала между реперами за период между двумя наблюдениями определяют по формуле
e = (dn - dn-1)/d, (7)
а за весь период наблюдений - от начального до данного - по формуле
e = (dn - d)/d, (8)
где d, dn-1, dn - горизонтальные длины интервалов соответственно из начального, предыдущего и последующего (данного) наблюдений.
Горизонтальные деформации, соответствующие увеличению интервала, называют растяжениями, а деформации отвечающие уменьшению интервала, - сжатиями. При построении графиков горизонтальные деформации относят к середине интервала.
5.8. По вычисленным горизонтальным расстояниям между реперами их суммированием определяют расстояния от опорного репера до каждого из реперов профильной линии, которые выписывают в ведомости горизонтальных сдвижений (см. прил. 8). Горизонтальные сдвижения реперов на профильной линии определяют по формуле
x = Dn-1 - Dn, (9)
где Dn-1, Dn - расстояния от опорного репера соответственно из начального (или предыдущего) и последующего наблюдений.
5.9. Масштабы графиков оседаний, горизонтальных сдвижений, наклонов, кривизны и горизонтальных деформаций выбирают, исходя из удобства и наглядности изображения. При этом масштаб расстояний между реперами принимают таким же, как на вертикальных разрезах.
Графики наклонов, горизонтальных сдвижений и деформаций по профильной линии строят следующим образом. От горизонтальной (исходной) линии, на которой нанесено плановое положение реперов профильной линии, в принятом масштабе откладывают вверх положительные, а вниз - отрицательные значения соответствующих величин сдвижений реперов или деформаций интервалов между ними (оседания реперов принято откладывать вниз, а поднятия - вверх). Значения сдвижений реперов откладывают непосредственно от точек, изображающих их положение на исходной линии, а деформации интервалов между реперами - от их середин. Концы отрезков соединяют ломаной или плавной линией.
Графики скоростей сдвижений реперов или деформаций интервалов между ними строят как для отдельных реперов (интервалов между реперами), так и для профильной линии в целом. Скорость оседания реперов измеряют в мм/сут, мм/мес, мм/год в зависимости от решаемых задач и частоты наблюдений.
Для удобства совместного рассмотрения графиков сдвижений и деформаций, состояния горных работ, строения толщи пород и других горно-геологических факторов и определения степени влияния этих факторов на процесс сдвижения графики и вертикальные разрезы составляют на одном листе или на нескольких листах, но в одном и том же горизонтальном масштабе.
5.10. Полученные после обработки материалов наблюдений ведомости и графики сдвижений и деформаций земной поверхности используют для определения угловых, линейных и других параметров процесса сдвижения (см. прил. 1), выяснения фактических границ различных зон сдвижения, скоростей и продолжительности процесса сдвижения земной поверхности и в конечном итоге обоснованного решения конкретных вопросов сдвижения горных пород и охраны различных объектов на месторождении.
общей зоны влияния подземных разработок (мульды сдвижения) и граничных углов наклон i = 0,5×10-3, растяжение e = 0,5×10-3, оседание h = 15 мм;
зоны опасного влияния и углов сдвижения наклон i = 4×10-3, кривизна k = 0,2×10-3 (1/м), растяжение e = 2×10-3;
зоны трещин и углов разрывов - по ближайшей к границе мульды сдвижения видимой трещине на земной поверхности;
зоны обрушения и углов обрушения - по ближайшей к границе мульды сдвижения трещине с раскрытием или смещением краев (уступом) 25 см и более;
зоны воронкообразования и углов воронкообразования - по краю воронки обрушения (провала).
5.12. Углы сдвижения определяют на вертикальных разрезах по главным сечениям мульды. Для этого от найденных на земной поверхности точек с критическими деформациями в наносах проводят прямые линии под принятым для наносов углом сдвижения j до пересечения их с контактом наносов и коренных пород. Полученные на контакте точки соединяют линиями с границами выработанного пространства. При этом для определения углов b и b1 линии проводят к нижней границе выработанного пространства, а для определения угла g - к верхней. Угол d при горизонтальном и пологом залеганиях рудного тела определяют от границы выработанного пространства на вертикальном разрезе, проходящем через профильную линию по простиранию, а при крутом залегании рудного тела - от нижней границы выработанного пространства по простиранию на вертикальной проекции горных работ. Из углов, полученных по трем видам деформаций (h, i, e), окончательно принимают угол сдвижения, имеющий наименьшее значение.
При определении углов сдвижения линии к границам выработанного пространства проводят таким образом, чтобы эти линии или их продолжения не пересекали выработанного пространства. Если междукамерные целики и потолочины нижнего этажа не отработаны и сохраняют устойчивое состояние, за нижнюю границу выработанного пространства следует принять границу днища камер вышележащего этажа. Угол сдвижения в наносах j определяют по данным наблюдений при выемке рудных тел непосредственно под наносами. При отсутствии таких данных на месторождении угол j устанавливают в соответствии с п. 2.8. Граничные углы, углы разрывов и углы обрушения определяют без разделения толщи на наносы и коренные породы по точкам земной поверхности с деформациями, указанными в п. 5.11. Углы, определяющие границы зон влияния очистных работ на вертикальных разрезах, показаны на рис. 3.
Рис. 3. Углы, определяющие границы зон влияния очистных работ на вертикальных разрезах (вкрест простирания):
а - при пологом и наклонном падении залежи; б - при крутом падении залежи; в - по простиранию залежи
5.13. Окончание процесса сдвижения земной поверхности устанавливают по данным нивелировки реперов последних серий.
5.14. Результаты исследований сдвижения земной поверхности используют для определения характера и параметров процесса сдвижения пород на месторождении, уточнения размеров предохранительных целиков и условий безопасной выемки руды под охраняемыми объектами, выбора новых участков застройки и определения необходимости и оптимальных сроков сноса или переноса различных старых объектов на территории горного отвода для решения вопросов рекультивации подработанных участков земной поверхности и др.
5.15. Обобщенные результаты исследований используют для разработки нормативных документов - Правил или Указаний по сдвижению горных пород и охране сооружений на данном и аналогичных месторождениях.
5.16. Для прогноза развития процесса сдвижения и определения величин сдвижений и деформаций земной поверхности и подрабатываемых объектов используют скорости сдвижения грунтовых и стенных реперов, а также скорости деформаций интервалов между ними.
5.17. Контроль за состоянием подрабатываемых объектов осуществляют путем сравнения фактических величин сдвижения и деформаций этих объектов, полученных из наблюдений, с допустимыми и предельными деформациями для данного типа охраняемых объектов, приведенными в нормативно-методических документах по охране сооружений. Результаты сравнения деформаций с учетом прогноза дальнейшего развития процесса сдвижения и величин сдвижений и деформаций используют для разработки мер по предотвращению возникновения опасных деформаций в подрабатываемых объектах.
5.18. Результаты измерений на наблюдательных станциях можно обработать на программируемых микрокалькуляторах (см. прил. 11) и на ЭВМ «Искра-1256» и «Искра-123» [12, 15].
|
Активизация сдвижения толщи пород и земной поверхности |
Изменение характера распределения и величин сдвижений и деформаций толщи пород и земной поверхности при отработке смежного участка залежи или повторной подработке по сравнению со сдвижениями и деформациями при первичной подработке |
|
Безопасная глубина разработки |
Глубина, при которой и ниже которой подземные горные работы не вызывают в охраняемых объектах деформаций, превышающих допустимые |
|
Вектор сдвижения |
Вектор перемещения точки массива или земной поверхности при ее подработке. Полный вектор сдвижения может быть получен по составляющим: вертикальной; горизонтальным (горизонтальному сдвижению вдоль створа профильной линии, ординате сдвижения) |
|
Вертикальное сдвижение |
Вертикальная составляющая перемещения точки массива или земной поверхности. Различают оседание и поднятие. |
|
Вспомогательный репер |
Репер, закладываемый между опорными или рабочими реперами при невозможности прямых измерений |
|
Вертикальные деформации (наклоны, кривизна) |
Деформации земной поверхности или толщи пород, вызванные неравномерностью вертикальных сдвижений точек |
|
Визуальные наблюдения |
Комплекс глазомерных и простейших инструментальных (линейка, компас, маяки) наблюдений, выполняемых для выявления мест и границ характерных признаков видимой деформации пород для общей оценки влияния горных работ на земную поверхность, здания, сооружения и другие объекты |
|
Вторичная воронка |
Воронка, образовавшаяся в зоне обрушения в результате перепуска в выработанное пространство ранее обрушившихся пород |
|
Глубинный репер |
Репер, заложенный в скважине и предназначенный для измерения сдвижений и деформаций массива пород |
|
Горизонтальное сдвижение |
Горизонтальная составляющая перемещения точки массива или земной поверхности вдоль профильной линии |
|
Горизонтальные деформации (растяжение, сжатие) |
Изменение длины интервала в горизонтальной плоскости при подработке по отношению к его первоначальной длине. |
|
Главные сечения мульды сдвижения на земной поверхности |
Вертикальные сечения мульды сдвижения по простиранию и вкрест простирания рудной залежи, проходящие через точку максимального оседания земной поверхности |
|
Граница общей зоны (или области) влияния подземных горных разработок - мульды сдвижения |
Контур, построенный на земной поверхности или в массиве: по граничным углам; по точкам с горизонтальными деформациями растяжения 0,5×10-3, наклонами, равными 0,5×10-3 при среднем интервале между реперами 15 - 20 м, по оседаниям точек, равным 15 мм |
|
Граница зоны (области) опасных сдвижений |
Контур, построенный на земной поверхности или в массиве по углам сдвижения или по точкам с критическими деформациями |
|
Граница зоны трещин на земной поверхности |
Контур, построенный на земной поверхности по углам разрывов или по ближайшим к границам мульды сдвижения трещинам |
|
Графики (кривые) сдвижений и деформаций |
Линии, изображающие в определенном масштабе распределение величин сдвижений или деформаций толщи пород или земной поверхности на профильной линии |
|
Допустимые деформации земной поверхности (оснований сооружения) |
Деформации, вызывающие такие повреждения в сооружениях, при которых для дальнейшей их эксплуатации по прямому назначению достаточно проведения текущих наладочных и ремонтных работ |
|
Зона обрушения земной поверхности |
Часть мульды сдвижения, где земная поверхность подверглась сдвижению с образованием воронок, провалов, террас и крупных трещин с раскрытием или смещением краев 0,25 м и более |
|
Зона трещин на земной поверхности |
Часть мульды сдвижения, где земная поверхность подверглась сдвижению с образованием видимых трещин |
|
Зона плавных сдвижений земной поверхности |
Часть мульды сдвижения, где земная поверхность подверглась сдвижению без разрыва сплошности |
|
Зона опасного влияния подземных разработок |
Часть мульды сдвижения земной поверхности, где возникают деформации, опасные для зданий, сооружений и природных объектов |
|
Исходный репер |
Пункт маркшейдерской опорной сети, расположенный вне зоны влияния горных работ. Служит для плановой и высотной привязок опорных реперов профильных линий |
|
Контрольный репер |
Репер станции глубинных реперов, заложенный в почве выработки (на земной поверхности) вблизи устья скважины Служит для определения абсолютного или относительного смещения неподвижного индекса регистрирующего устройства |
|
Комплексная наблюдательная станция |
Наблюдательная станция, состоящая из профильных линий на земной поверхности, в горных выработках и сооружениях, заложенных с целью получения наиболее полных данных о характере и параметрах сдвижения |
|
Коэффициент безопасности |
Отношение минимальной глубины разработки к вынимаемой (или эффективной) мощности С помощью этого отношения для некоторых объектов определяют безопасную глубину разработки |
|
Кривизна |
Отношение разности наклонов двух смежных интервалов мульды к полусумме длин этих интервалов из начального наблюдения |
|
Критические деформации земной поверхности |
Величины деформаций земной поверхности, принятые для определения границ зоны опасного влияния подземных разработок и углов сдвижения: кривизна - 0,2×10-3 (1/м); наклон - 4,0×10-3; горизонтальное растяжение - 2,0´10-3 |
|
Меры охраны |
Горные или строительные (конструктивные) мероприятия, применяемые для уменьшения вредного влияния подземных горных разработок на здания, сооружения и природные объекты с целью исключения причин нарушений нормальной эксплуатации объектов, способных привести к несчастным случаям |
|
Мощность эффективная |
Мощность залежи, принимаемая в расчетах сдвижений и деформаций пород и земной поверхности при отработке залежей с закладкой выработанного пространства и определяемая с учетом конвергенции боковых пород, полноты заполнения выработанного пространства закладкой и коэффициента усадки закладочного материала |
|
Мульда сдвижения (общая зона влияния подземных горных разработок) |
Участок земной поверхности или горизонта в массиве пород, подвергшийся сдвижению под влиянием подземных горных разработок |
|
Наблюдательная станция |
Совокупность реперов, заложенных по определенной системе в подземных горных выработках или на земной поверхности, в зданиях и сооружениях с целью проведения наблюдений за процессом сдвижения толщи пород, земной поверхности или деформацией подрабатываемых объектов. Различают типовые и специальные наблюдательные станции |
|
Наблюдательная станция глубинных реперов |
Совокупность глубинных реперов, связей, регистрирующих устройств и контрольных реперов, заложенных в одной или нескольких скважинах с целью наблюдений за сдвижением массива |
|
Наклоны |
Отношение разности оседаний двух соседних реперов (точек) к расстоянию между ними |
|
Начальная (исходная) серия наблюдений |
Первоначальные наблюдения, включающие две полные серии наблюдений, выполненных независимо одна от другой до начала подработки наблюдательной станции для определения начального (исходного) положения реперов |
|
Неполная подработка земной поверхности |
Подработка земной поверхности, при которой глубина разработки превышает размеры выработанного пространства по простиранию или по падению, а также при сложных неправильных контурах выработанного пространства и наличии в нем неразрушенных целиков или безрудных участков (более 15 - 20 %). Величины сдвижений и деформаций в этом случае не достигают максимальных значений, а углы сдвижения получаются круче, чем в условиях полной подработки |
|
Неполная серия наблюдений |
Комплекс измерений для определения сдвижения всех или части реперов в горизонтальной или вертикальной плоскостях. Может включать или не включать определение положения трещин |
|
Обрушение горных пород |
Беспорядочное перемещение горных пород с потерей естественной структуры под влиянием подземных горных разработок |
|
Общая продолжительность процесса сдвижения |
Период времени, в течение которого толща пород и земная поверхность над выработанным пространством находятся в состоянии сдвижения. За начало процесса сдвижения принимают дату, когда наибольшее оседание точек земной поверхности в мульде сдвижения достигает 15 мм. За окончание - дату, после которой суммарные оседания за год не превысят 50 мм при четко выраженной тенденции к снижению скоростей оседания |
|
Область сдвижения горных пород |
Часть горного массива, подвергшаяся сдвижению под влиянием подземных горных разработок |
|
Область обрушения горных пород |
Часть области сдвижения горных пород, подвергшаяся обрушению |
|
Область трещин горных пород |
Часть области сдвижения горных пород, подвергшаяся сдвижению с образованием трещин |
|
Область плавных сдвижений горных пород |
Часть области сдвижения горных пород, подвергшаяся сдвижению в форме плавного прогиба слоев или пластического течения пород |
|
Объекты, подлежащие охране |
Промышленные и гражданские здания, сооружения, природные объекты и горные выработки (рудные залежи), расположенные в зоне влияния подземной разработки, подработка которых может вызвать возникновение в них деформаций, исключающих возможность их дальнейшей эксплуатации по прямому назначению, угрозу для жизни людей, нарушения технологии добычи и другие нежелательные последствия. Перечень, объектов, подлежащих охране, составляют для каждого конкретного случая согласно действующим правилам охраны на данном месторождении или по соглашению с РГТИ |
|
Опорный репер |
Репер, заложенный на конце профильной линии за пределами зоны влияния подземных горных работ. Служит для плановой и высотной привязок рабочих реперов |
|
Ордината сдвижения репера |
Горизонтальная составляющая перемещения точки массива или земной поверхности в направлении, перпендикулярном створу профильной линии |
|
Основные параметры (элементы) сдвижения земной поверхности |
Величины, характеризующие процесс сдвижения земной поверхности: 1. Максимальные величины сдвижений и деформаций земной поверхности в мульде (при отсутствии провалов) или зоне плавных сдвижений при наличии провалов: вертикальное сдвижение; горизонтальное сдвижение; вертикальные деформации (наклон, кривизна); горизонтальные деформации (растяжение и сжатие). 2. Граничные углы, углы сдвижения, углы разрывов, углы обрушения, углы воронкообразования. 3. Угол максимального оседания 4. Общая продолжительность процесса сдвижения и продолжительность периода опасных сдвижений. |
|
Первичная воронка |
Воронка обрушения, образовавшаяся при отработке верхних этажей слепых залежей, до выхода которой земная поверхность ранее не обрушалась |
|
Полная серия наблюдений |
Комплекс инструментальных наблюдений для определения сдвижения реперов в вертикальной и горизонтальной плоскостях (нивелирование реперов, измерение расстояния между реперами и в случае необходимости их ординат) |
|
Полная подработка земной поверхности |
Подработка земной поверхности, при которой размеры выработанного пространства по падению, и по простиранию рудного тела равны или превышают глубину разработки, в выработанном пространстве отсутствуют целики или безрудные участки значительных размеров, а углы сдвижения достигают минимальных значений |
|
Предохранительная зона |
Часть горного массива, расположенная под охраняемым объектом, разработка рудных тел в которой допустима с применением горных, конструктивных или одновременно тех и других мер защиты |
|
Предохранительный целик |
Часть горного массива с содержащимися в нем рудными телами (частями рудных тел), расположенная под охраняемым объектом и предназначенная для его защиты от опасного влияния подземных горных разработок. Отработка рудных тел в пределах предохранительного целика, как правило, не допускается |
|
Предохранительная берма |
Полоса, прилегающая к контуру охраняемого объекта, внешняя граница которой является исходной для построения предохранительного целика или предохранительной зоны |
|
Предельные деформации земной поверхности (основания сооружения) |
Величины деформаций, превышение которых может вызвать аварийное состояние сооружений, повлечь угрозу для жизни людей |
|
Прогиб горных пород |
Последовательное отделение слоев пород от толщи, плавное перемещение их в сторону выработанного пространства |
|
Провал |
Участок земной поверхности, подвергшийся обрушению под влиянием подземных горных разработок. Контур провала в плане имеет неправильную вытянутую форму |
|
Профильная линия |
Прямая или ломаная линия, вдоль которой располагают реперы наблюдательной станции |
|
Рабочий репер |
Репер, предназначенный для определения величин сдвижения земной поверхности и толщи пород |
|
Репер |
Знак, закрепленный в грунте, на земной поверхности, в толще пород (горных выработках) или в сооружении, имеющий обозначенную, закоординированную точку - центр |
|
Сдвижение горных пород |
Деформирование и перемещение массива горных пород вследствие нарушения их естественного равновесия под влиянием подземных горных разработок |
|
Сдвижение земной поверхности |
Деформирование и перемещение земной поверхности вследствие сдвижения массива горных пород под влиянием подземных горных разработок |
|
Сдвиг горных пород |
Перемещение горных пород по плоскостям ослабления (контактам, напластованию, тектоническим трещинам) при их прогибе |
|
Специальная наблюдательная станция |
Наблюдательная станция, заложенная с целью детального изучения отдельных вопросов сдвижения горных пород и земной поверхности |
|
Сторожевые наблюдения |
Контрольное нивелирование части реперов наблюдательной станции, выполняемое после проведения начальной серии наблюдений с целью выявления начала процесса сдвижения |
|
Типовая наблюдательная станция |
Наблюдательная станция на земной поверхности, заложенная для получения основных параметров процесса сдвижения. Продолжительность существования станций от одного до нескольких лет |
|
Углы граничные |
Внешние относительно выработанного пространства углы, образованные на вертикальных разрезах по простиранию и вкрест простирания рудной залежи (по главным сечениям мульды сдвижения) горизонтальными линиями и линиями, соединяющими границу выработанного пространства с границей мульды сдвижения |
|
Углы сдвижения |
Внешние относительно выработанного пространства углы, образованные на вертикальных разрезах по простиранию и вкрест простирания рудной залежи (по главным сечениям мульды сдвижения) горизонтальными линиями и линиями, последовательно проведенными в коренных породах и наносах и соединяющими границу выработанного пространства с границей зоны опасных сдвижений на земной поверхности. Различают углы сдвижения в наносах и в коренных породах при полной и при неполной подработке земной поверхности |
|
Углы разрывов |
Внешние относительно выработанного пространства углы, образованные на вертикальных разрезах вкрест простирания и по простиранию рудной залежи (по главным сечениям мульды сдвижения) горизонтальными линиями и линиями, соединяющими границу выработанного пространства с крайними внешними трещинами на земной поверхности |
|
Углы обрушения |
Внешние относительно выработанного пространства углы, образованные на вертикальных разрезах вкрест простирания и по простиранию рудной залежи (по главным сечениям мульды сдвижения) горизонтальными линиями и линиями, соединяющими границу выработанного пространства с границей зоны обрушения на земной поверхности |
|
Угол максимального оседания |
Угол со стороны падения залежи, образованный на вертикальном разрезе (по главному сечению мульды сдвижения земной поверхности) вкрест простирания залежи горизонтальной линией и линией, соединяющей середину выработанного пространства с точкой максимального оседания |
|
Угол воронкообразования |
Внешний относительно выработанного пространства угол, образованный на вертикальном разрезе в любом направлении горизонтальной линией и линией, соединяющей границу выработанного пространства с границей зоны воронок на земной поверхности |
Примечания 1. Углы сдвижения в наносах принимают равными но величине во всех направлениях. 2. Углы разрывов, углы обрушения, граничные углы и углы максимального оседания определяют без разделения толщи на наносы и коренные породы. 3. При наличии под наносами вы выветрелых коренных пород за нижнюю границу наносов принимают нижнюю границу зоны выветрелых (дезинтегрированных) пород. 4. При сложном контуре рудной залежи за границу выработанного пространства принимают или более выступающую его точку. 5. Условные обозначения угловых и других параметров процесса сдвижения приведены в табл. I.
Таблица I
|
Наименование |
Обозначение |
№ п/п |
Наименование |
Обозначение |
|
|
1 |
Оседание (вертикальное сдвижение) |
h, мм |
12 |
Углы разрывов: у нижней границы отработки: |
|
|
2 |
Горизонтальное сдвижение |
x, мм |
в висячем боку |
b", градус |
|
|
3 |
Наклон |
l |
в лежачем боку |
b²1, градус |
|
|
4 |
Кривизна |
k, 1/м |
у верхней границы отработки |
g", градус |
|
|
5 |
Горизонтальные деформации |
e |
у границы отработки по простиранию |
d", градус |
|
|
6 |
Скорость оседаний |
v, мм/мес |
13 |
Углы обрушения: |
|
|
7 |
Общая продолжительность процесса сдвижения земной поверхности |
T, мес |
у нижней границы отработки: |
||
|
в висячем боку |
b¢¢¢, градус |
||||
|
в лежачем боку |
b1¢¢¢ градус |
||||
|
8 |
Размеры мульды сдвижения: |
у верхней границы отработки |
g¢¢¢, градус |
||
|
по простиранию |
L, м |
у границы отработки по простиранию |
d¢¢¢, градус |
||
|
вкрест простирания |
L¢, м |
||||
|
9 |
Угол сдвижения в наносах |
j, градус |
14 |
Угол максимальных оседаний |
q, градус |
|
10 |
Граничные углы: у нижней границы отработки со стороны: |
15 |
Безопасная глубина разработки |
Нб, м |
|
|
16 |
Угол воронкообразования |
V, градус |
|||
|
висячего бока |
b0, градус |
17 |
Эффективная мощность |
тэ, м |
|
|
лежачего бока |
b01, градус |
||||
|
у верхней границы отработки |
g0, градус |
18 |
Углы сдвижения при неполной подработке: |
||
|
у границы отработки по простиранию |
d0, градус |
у нижней границы отработки со стороны: |
|||
|
11 |
Углы сдвижения в коренных породах: |
||||
|
висячего бока |
bu, градус |
||||
|
у нижней границы отработки: |
лежачего бока |
b1u, градус |
|||
|
со стороны восстания |
gи, градус |
||||
|
в висячем боку |
b, градус |
по простиранию |
du, градус |
||
|
в лежачем боку |
b1, градус |
19 |
Коэффициент безопасности |
kб |
|
|
у верхней границы отработки |
g, градус |
||||
|
20 |
Длина перпендикуляра, откладываемого на плане от предохранительной бермы до границы предохранительного целика для вытянутого объекта: |
||||
|
у границы отработки по простиранию при построении целика способом перпендикуляров: |
d, градус |
||||
|
верхняя граница |
b¢, градус |
в сторону падения залежи |
l, м |
||
|
нижняя граница |
g¢, градус |
в сторону восстания залежи |
q, м |
Примечание. В п.п. 1 - 5 максимальные, критические и допустимые величины обозначают соответствующими индексами (h0, hк, hд).
ТИПЫ И СПОСОБЫ ЗАКЛАДКИ РЕПЕРОВ ДЛЯ НАБЛЮДАТЕЛЬНЫХ СТАНЦИЙ
Наблюдательные станции на земной поверхности
В качестве опорных и рабочих реперов при глубине промерзания грунта до 1,5 м применяют реперы, заложенные в скважинах или котлованах (рис. А, а, б). Корпус репера 3 изготовляют из отрезков прутковой, буровой, арматурной стали диаметром 25 - 30 мм или из толстостенных металлических труб. Длину репера рассчитывают с учетом размеров, приведенных на рисунке. К нижней части корпуса приваривают крестовину 4, а на верхнем торце высверливают на глубину 2 - 3 мм цилиндрическое глухое отверстие диаметром 2,0 мм - центр 1.
На трубчатых корпусах предварительно (сваркой) закрепляют головку репера. Нижнюю часть скважины (котлована) 5 заполняют бетоном на высоту 200 - 300 мм, выше засыпают сыпучий материал 2.
В качестве рабочих и вспомогательных реперов можно использовать забивные реперы (рис. 5, а), изготовленные из прутковой или буровой стали длиной 1,5 - 2,0 м. Для увеличения сцепления репера с грунтом нижняя часть корпуса 1 репера зазубривается 2.
Рис. 4. Типы опорных реперов:
а - в скважине; б - в котловане
Рис. 5. Типы рабочих реперов:
а - забивной в обычном грунте; б - забивной в условиях вымораживания; в - в скважине для заболоченной местности
При малых глубинах промерзания или оттаивания грунта и вероятности вымораживания репера возможно применение забивного репера, приведенного на рис. 5, 6, позволяющего учитывать величину выпучивания (вымерзания). Корпус 3 репера диаметром 30 - 35 мм (буровая сталь, толстостенная труба) со сквозным центральным отверстием 2 свободно посажен на сигнальный стержень 1, жестко скрепленный с наконечником 5. К наконечнику сваркой крепят кожух 4, перекрывающий нижнюю часть корпуса. Стержень и внутреннюю поверхность кожуха покрывают антикоррозийным покрытием или густой технической смазкой. При закладке используют насадку 6. При нивелировании по полусферической головке корпуса одновременно замеряют расстояние до торца стержня и вводят соответствующую поправку в наблюдения.
В рыхлых грунтах большой мощности и в заболоченной местности опорные реперы закладывают в скважины с заглублением в плотный грунт не менее чем на 2,0 м (см. рис. 5, в). Корпус репера 4 изготовляют из отрезков металлических труб диаметром 30 - 60 мм и толщиной стенок не менее 3 мм, соединяемых сваркой или муфтами 2. Нижнюю секцию с крестовиной закрепляют в бетонном якоре 7 высотой не менее 1,5 м. В болотистых грунтах на якорь укладывают глиняную подушку 6 высотой 0,3 - 0,5 м. Обсадную трубу 5 закладывают на всю высоту рыхлого (заболоченного) грунта, но не связывают с якорем. Пространство 1 между корпусом и обсадной трубой заполняют невлагоемким материалом 1, а в заболоченной местности оставляют незаполненным с изоляцией корпуса густой технической смазкой или промасленной ветошью. Сверху обсадную трубу закрывают деревянной крышкой 3.
Рис. 6. Типы рабочих реперов:
а - для скальных пород; б - для многолетнемерзлых грунтов
При глубинах промерзания свыше 1,5 м в качестве опорных реперов применяют аналогичные приведенным на рис. 5, в, но без обсадки скважины. Для рабочих реперов якорь корпуса этой же конструкции изготовляют высотой 250 - 300 мм и заглубляют на 0,5 м ниже границы промерзания.
Возможно также использование забивных реперов при условии проведения наблюдений в одно и то же время сезона и обязательного заглубления центра.
В скальных породах (рис 6, а) реперы закладывают в скважинах. Корпус 2 репера с крестовиной 4 закрепляют в бетонном якоре, заложенном в ненарушенных породах. В дробленых породах 1 отрывают котлован 3 или проводят обсадку скважины.
В многолетнемерзлых грунтах реперы закладывают в скважинах, пробуренных ниже глубины максимального сезонного оттаивания. Расчеты глубины закладки реперов приводятся в работе [9].
Одна из конструкций репера для многолетнемерзлых грунтов приведена на рис. 6, б. Скважину 7 диаметром 100 - 200 мм бурят на расчетную глубину и в верхнюю часть устанавливают обсадную трубу 3, при этом часть шлама из нижней части скважины не извлекают (перед закладкой репера она должна быть разжижена водой). Корпус репера 8 изготовляют из отрезков труб диаметром 50 - 60 мм с толщиной стенок не менее 3 мм, соединяемых на месте закладки сваркой или муфтами 6. Якорь репера 9 изготовляют из толстостенных труб различного диаметра (2 - 4 секции), к которым по спирали приваривают «ерши» 1. Закладку репера производят с помощью станка с последовательным наращиванием секций корпуса. После досылки якоря до забоя скважины производят засыпку скважины до глубины оттаивания песком, гравием (если уровень разжиженного шлама ниже глубины оттаивания) и на корпус надевают трубу кожуха 2 с внутренним диаметром, на 7 - 10 мм большим диаметра корпуса. Опускают кожух посекционно с помощью станка на всю глубину оттаивания или (при отсутствии засыпки на месте) до якоря. Пространство между кожухом и стенками скважины заполняют сыпучим материалом или оставляют незаполненным, а между корпусом и кожухом заполняют разогретой технической смазкой 4. Лишнюю часть последней секции корпуса срезают и приваривают головку репера 5 к центру. При наличии рыхлых отложений устанавливают обсадную трубу.
При закладке реперов всех типов на участке земной поверхности, где существует возможность их механического нарушения (огороды, пашни, интенсивное движение транспорта), центры реперов должны быть скрытыми (аналогично рис. 5, а).
Высоту реперов определяют возможностью замера длин интервалов без переходных точек (она не должна превышать 0,5 м). Обсадные трубы в скважинах устанавливают только при необходимости. Они не должны быть связаны с якорем.
Для защиты реперов от механических повреждений и атмосферных осадков бетонируют пилоны или площадки размерами 700´700 мм, толщиной 200 мм с обязательной изоляцией (толь, промасленная ветошь) корпуса репера от контакта с бетоном. Высота обсадных труб и пилона должна быть на 50 - 70 мм меньше превышения головки репера над земной поверхностью. Для дистанционного наблюдения за оседанием поверхности выступающую часть корпуса репера любого типа увеличивают с таким расчетом, чтобы наблюдения можно было проводить с одной или нескольких точек, расположенных за пределами опасной зоны. Верхнюю часть корпуса 1 (рис. 7, а) размечают (кольцевой или шашечной разметкой) на деления ценой 1 см. При дистанционном измерении горизонтальных сдвижений реперов с помощью проволочных связей, выведенных за пределы опасной зоны, верхнюю часть реперов для предотвращения их опрокидывания усиливают укосинами 2 с крестовиной 3.
Рис. 7. Типы реперов:
а - для дистанционного определения сдвижений; б - стенной репер
В подрабатываемых зданиях и сооружениях стенные и грунтовые реперы (см. п. 4.5) закладывают по схеме, приведенной на рис. 7, б. Стенной репер 1 (диаметром 10 - 20 мм) из прутковой стали бетонируют в шпуре с таким расчетом, чтобы можно было установить нивелирную рейку на выступающую часть репера и провести замер длин интервалов между реперами. Шпур забуривают на 150 - 200 мм ниже слоя гидроизоляции. Грунтовый репер 3 (как правило, аналогичный приведенному на рис. 4, а) закладывают против каждого стенного репера или части реперов (но не менее трех реперов по каждой стороне здания) не ближе 0,3 - 0,5 м от отмостки.
Подземные наблюдательные станции
Для профильных линий в горных выработках закладку реперов проводят в почве, стенках или кровле выработки. Центры реперов обозначают так же, как на реперах наземных станций. Располагают реперы открыто или с заглублением центров, с учетом возможности установки (или подвески) рейки и отвеса. Реперы изготовляют из прутковой, арматурной, буровой стали или тонких труб диаметром 20 - 35 мм.
В почве выработки реперы закладывают при небольшом движении людей и транспорта, отсутствии пучения почвы, сильнотрещиноватых или мелкослоистых породах. Реперы бетонируют ниже глубины насыпных и нарушенных при проходке пород в котлованах или шпурах (рис. 8).
Реперы, показанные на рис. 8, а закладывают, как правило, между рельсами или с внешней стороны путей, вдоль стенки, противоположной трапу, с отступлением от нее не менее чем на 20 см.
Рис. 8. Типы реперов, применяемых в почве подземных горных выработок:
а - в вертикальной скважине; б - в котловане; в - в наклонной скважине
Рис. 9. Типы стенных реперов в горных выработках:
а - в шпуре с постоянно обозначенным центром; б, в - в шпуре со съемной головкой; г, д - на стене или крепи горной выработки
Скважину бурят на глубину не менее 800 мм. Корпус репера 3 бетонируют в скважине 1 на всю высоту ненарушенного массива (при использовании обсадной трубы 4 можно бетонировать до уровня насыпки) с засыпкой оставшейся части скважины балластом 2.
Реперы (см. рис. 8, б) закладывают при невозможности бурения скважин, при этом бетонный якорь заглубляют в ненарушенный массив не менее чем на 0,1 м. Для закладки репера выбирают котлован с размерами по дну 250´250 мм. Корпус 1 репера с крестовиной 3 бетонируют в котловане на высоту 200 мм, а остальную часть засыпают породой 2.
Центры реперов обоих типов при открытом их расположении могут возвышаться на 20 - 50 мм или быть заглубленными на 100 - 150 мм и перекрываться металлическими крышками.
При частой рихтовке путей или вероятности частичной засыпки репера целесообразно применять, репер (см. рис. 8, в), который в большинстве случаев закладывают со стороны трапа. Корпус 1 бетонируют только в районе шпура ниже уровня насыпных и дробленых пород.
Целесообразна закладка стенных реперов (рис. 9). Шпуры под стенные реперы забуривают по возможности горизонтально на удобной для замеров высоте (1,4 - 1,5 м).
Наиболее употребим тип репера, приведенный на рис. 9, а. Корпус 1 репера бетонируют в шпуре 2, оставляя часть шпура (100 - 200 мм), не заполненную раствором. Центры 3 репера обозначают на торце и свободном конце поверхности репера. При закладке реперов на ходовой стороне выработки и в ряде других случаев применяют реперы со съемной головкой (см. рис. 9, б, в).
Корпус 1 с переходником 2 закрепляют в шпуре 3, но он не выступает за поверхность стенки выработки. Головку репера 4 с центрами 5 навинчивают на переходник только на период наблюдений, поэтому для профильной линии любой протяженности достаточно комплекта из 8 - 10 головок. Переходник изготовляют из нержавеющей стали и крепят к корпусу штифтом 6.
При полной невозможности бурения шпуров и для оборудования специальных наблюдательных станций («пары точек») применяют реперы, приведенные на рис. 9, г, д. В обоих случаях репер состоит из металлической перфорированной пластины 1 толщиной 3 - 5 мм (см. рис. 9, д) размером 200´200 мм с приваренным перпендикулярно к ней штырем 2 длиной 100 - 150 мм и диаметром 20 - 25 мм. Закрепление репера, приведенного на рис. 9, г, осуществляют пристрелкой пластины к бетонной крепи монтажным пистолетом. Репер 3 (см. рис. 9, д) бетонируют на хорошо зачищенную поверхность стенки выработки. Данные типы реперов используют и при наблюдениях по кровле выработки с приспособлением свободных концов для подвески рейки.
Рис. 10. Типы реперов в кровле горных выработок:
а - бетонированный; б - распорный; в - на штанговой крепи
Реперы в кровле выработки (рис. 10) закладывают только при полной невозможности их закладки в стенке или почве выработки. Закладывают их в вертикальных или наклонных шпурах глубиной не менее 800 мм. При использовании нивелирных реек, жестких и шнуровых отвесов с кольцом (см. прил. 3) применяют реперы (см. рис. 10, а), имеющие на загнутом конце корпуса 1 плоский наконечник 3 с коническим отверстием - центром 2. Корпус репера бетонируют или забивают в деревянную пробку. При необходимости (слабоустойчивые породы, ширина выработки более 2 м) для закладки в шпуре глубиной более 1 м применяют репер, изображенный на рис. 10, б. Закрепляют репер в шпуре 3 - 4 ярусами «ершей» 2. Нижний ярус «ершей» 1 служит для центрирования корпуса в шпуре, его крепят в 0,2 - 0,3 м от устья. При невозможности бурения шпуров репер (см. рис. 10, в) в кровле может быть закреплен на свободном конце штанговой крепи 1 с помощью хомута 2.
Бетонирование реперов в шпурах значительно облегчается при использовании насоса. Размер насоса зависит от предполагаемой длины шпура, но не должен быть более 1,5 м. Корпус изготовляют из трубки легкого металла. На штоке крепят поршень, состоящий из резиновой прокладки, зажатой между двумя шайбами гайкой. Корпус, заполненный раствором, досылают до забоя и при одновременном выталкивании раствора штоком и извлечении корпуса шпур заполняют раствором. В шпур, заполненный раствором, досылают корпус репера, при этом часть раствора на глубину 0,1 - 0,2 м от устья удаляют из шпура. Центрировку репера в шпуре выполняют временными прокладками.
ПРИБОРЫ И ПРИСПОСОБЛЕНИЯ ДЛЯ НАБЛЮДЕНИЙ ЗА СДВИЖЕНИЕМ ПОВЕРХНОСТИ И ГОРНЫХ ПОРОД
Отвесы
Для выноса скрытых центров реперов используют жесткие отвесы ОЖ-3 и ОЖ-4 (разработка ВНИМИ).
В жестком отвесе ОЖ-3 (рис. 11, а) на круглом основании 8 закреплены три проушины 9, в которых барашковыми гайками 1 крепят ножки 11. Стержень 10 с круглым уровнем 6 свободно вставлен в шаровой шарнир 4, размещенный в корпусе шарнира 5, который жестко соединен с крышкой 2. Корпус шарнира вставлен в отверстие основания и может перемещаться в пределах этого отверстия. Закрепляют стержень в нужном положении зажимом 3. Для предохранения стержня от выпадания, а уровня от ударов на стержне имеются два резиновых кольца 7, 12.
При установке отвеса на точке замера совмещают нижнее острие стержня с центром репера, предварительно ослабив барашковые гайки ножек и зажим, а затем приводят основание (как обычный штатив) в примерно горизонтальное положение и закрепляют ножки. Перемещением крышки в горизонтальной плоскости выводят уровень на середину и закрепляют положение стержня зажимом. При вращении стержня вокруг своей оси пузырек уровня не должен уходить за пределы второго кольца ампулы. Замеряют длины интервалов между реперами по верхнему острию стрежня при двух (с поворотом на 180°) положениях уровня.
Рис. 11. Типы отвесов:
а - жесткий ОЖ-3, б - жесткий ОЖ-4, в - подвесной телескопический, г - подвесной нитяной; д - головка репера для подвесных отвесов
Отвес ОЖ-4 (см. рис. 11 б) целесообразнее использовать на пересеченной местности. Отвес состоит из стержня 1 с уровнем 3 на верхнем конце, радиус ампулы которого равен длине стержня. Стержень свободно перемещается в муфте 4, к которой крепят три сочлененные ножки 2. Фиксация положения ножек обеспечивается плоскими пружинами в шарнирных соединениях.
При установке отвеса в точке замера острие стержня совмещают с центром репера. Изменяя положение ножек в шарнирах, стержень отвеса приводят в вертикальное положение, при этом пузырек уровня не должен касаться стенок ампулы. Замеряют длины сначала по одному из краев пузырька (1 - 2 отсчета), затем по другому. При замере длин по реперам, закрепленным в кровле горных выработок, используют:
1. Жесткий отвес (разработка ВНИМИ), приведенный на рис. 11, в, состоящий из двух телескопических труб. На наружной трубе 5 отвеса жестко закреплен подвес 4 с коническим упором 3. В нижней части трубы имеются продольный разрез с хомутом и зажимным винтом 6 и отсчетное окно 2 с нониусом на одном из срезов окна. Внутренняя труба 1 имеет разметку с ценой деления 1 мм и конус 7.
2. Нитяной отвес (см. рис. 11, г), состоящий из кольцевого подвеса 3 с коническим упором 2, соединенного с помощью нити 4 с корпусом отвеса 1 любого типа.
При замере длин отвесы коническим упором подвешивают на головку 2 репера (см. рис. 11, д), имеющую паз 1 и втулку 4 из нержавеющей стали с центром 3. Длину отвесов устанавливают на весь период одного наблюдения. Замер длин целесообразно проводить с использованием трех отвесов. Поправки за длину отвеса уводятся в измеренное расстояние только при переходе на другой способ измерения длин.
Натяжные устройства
При замере длин интервалов между реперами на профильных линиях поверхности используют натяжное устройство (разработка ВНИМИ), приведенное на рис. 12, а. На корпусе 2 с рукояткой закреплен крючок 1 для крепления динамометра. Телескопический упор 3 выдвигают на необходимую высоту положения рулетки и закрепляют зажимным винтом 4.
Рис. 12. Натяжное устройство для измерения длин интервалов между реперами:
а - на земной поверхности; б - в наклонных подземных горных выработках
При замере длин интервалов между реперами в шахте используют аналогичное натяжное устройство с укороченными рукояткой и упором.
При замере длин интервалов реперов, закрепленных в кровле выработок, целесообразно (особенно в наклонных выработках) использовать натяжное устройство, приведенное на рис. 12, б. В обойме 1, закрепленной на теодолитном штативе становым винтом, устанавливают на оси блок 2 с впрессованным шарикоподшипником. С помощью раздвижной штанги 3, шарнирно соединенной с обоймой, устройство надежно раскрепляют в выработке. На втором штативе вместо блока закреплен станок рулетки. После распора штативов разматывают необходимую длину рулетки, станок закрепляют, а к свободному концу рулетки через отрезок проволоки подвешивают груз массой 10 кг и снимают отсчеты по центрам отвесов. При использовании данного устройства достаточно двух наблюдателей.
Замер температуры воздуха
Температура воздуха измеряется при помощи пращ-термометра любого типа.
При длительном воздействии на полотно рулетки прямых солнечных лучей, особенно в весенне-осенний период, целесообразно пользоваться устройствами, позволяющими выполнять непосредственное измерение температуры полотна рулетки.
Измерение длин
Измеряют длины интервалов между реперами на всех профильных линиях компарированными рулетками РВ-30 или РК-50. На каждом руднике при проведении наблюдений желательно использовать одну и ту же рулетку. В этом случае при замере длин одних и тех же интервалов поправку за провес рулетки не вводят. В случае замены рулетки следует учитывать разность поправок за провес Dlnстар - Dlnнов для старой и новой рулеток на данном интервале, если ее значение превышает 1 мм. При замере длин между реперами без вспомогательного репера на промежуточной точке и выполнении других маркшей-дерско-геодезических работ поправку за провес рулетки вводят и определяют по формуле Dln = Q2l3/24P2, где Q - масса 1 погонного метра полотна рулетки; l - измеренная длина; Р - сила натяжения рулетки. При замерах длин на наземных станциях целесообразно использовать проволочные рулетки из комплекта базисного прибора или специально изготовленные из рояльной проволоки диаметром 0,8 мм с разметкой через 1 м и приклепанным отрезком 1,5 - 2,0 м полотна рулетки. При выдержанных в пределах 1,0 - 2,0 м интервалах между реперами на всех профильных линиях отрезки рулетки крепят с двух сторон без разметки проволоки. Начальную серию замера длин в этом случае выполняют с помощью рулетки РК-50 (РВ-30) и проволочной рулетки.
Рис. 13. Рулетка разработки ВНИМИ
Для замера относительных смещений по «парам точек» или на станциях глубинных реперов используют рулетку разработки ВНИМИ (рис. 13). Полотно 2 рулетки с крючком 1 на свободном конце намотано на размещенный в корпусе 9 барабан. Сматывают рулетку с помощью рукоятки 8, которую фиксируют в нужном положении подпружиненным стопором 7 рукоятки в отверстиях (пазах) 6 корпуса. Ось барабана рулетки имеет пружину, которая при зафиксированном положении рукоятки позволяет обеспечить натяжение свободного конца рулетки с усилием 100 Н. При замерах рулетка зацепляется крючком за петлю репера (регистрирующего устройства) и натягивается до упора конуса 5 в торец второго репера. Положение полотна при замере фиксируют рычагом 4, а отсчет снимают по нониусу, нанесенному на срезе окна 3 с точностью 0,1 мм. Замер длины интервала в каждой серии наблюдений проводят не менее трех раз.
Нивелирные рейки
Для нивелирования по реперам, закрепленным в кровле, к пятке обычной нивелирной рейки (рис. 14, а) сквозным болтом крепят обойму 3 с кольцевым подвесом, состоящим из штока 1, жестко скрепленного с обоймой и свободно вращающегося на штоке кольца 2 с коническим упором 4. Обойма делается поворотной на случай использования рейки при переходе на нивелирование по реперам в почве без ее снятия.
Рис. 14. Нивелирные рейки
Для нивелирования по стенным реперам применяют подвесные рейки (см. рис. 14, б, в, г). Рейка (см. рис. 14, б) 3 с лавсановым полотном длиной 1,0 м (разработка ВНИМИ) имеет штриховую (1 мм) или шашечную (через 5 или 10 мм) разметку. Свободный конец полотна закреплен в обойме 2 с кольцевым подвесом 1. Полотно размещено на подпружиненном барабане в кожухе 5, который одновременно служит грузом-отвесом. Свертывание и роспуск полотна рейки осуществляют с помощью стопора 4 пружины барабана.
В рейке, изображенной на рис. 14, в, вместо лавсанового полотна используют металлическое (желательно нержавеющее) полотно 1 рулетки длиной 1,0 - 2,5 м, размещенное в барабане 3. Грузом-отвесом служат две металлические пластины 2 с резиновыми прокладками, закрепляемые на полотне с помощью зажимов. В качестве подвесной рейки можно использовать металлическую метровую линейку 1 с кольцевым подвесом 2 и съемным грузом 3 (см. рис. 14, г).
Устройство для измерения высоты инструмента
Высоту инструмента над точкой стояния (расстояние от верха репера до горизонтальной оси вращения инструмента) измеряют специальным жестким отвесом, входящим в комплект теодолита, или, при его отсутствии, с помощью рулетки и уровня на подставке (рис. 15), изготовляемой из металлической пластины толщиной 3 - 5 мм, длиной 200 - 250 мм и шириной 50 мм. К середине подставки крепят уровень, а на одном конце делают прорезь с зажимным винтом. Высоту инструмента измеряют в следующей последовательности:
трубу теодолита приводят к горизонту;
нулевое деление рулетки с помощью зажимного винта фиксируют на уровне низа подставки;
один из наблюдателей ставит подставку на верх репера (если репер заглублен, то на верх жесткого отвеса); при этом расстояние от оси репера до рулетки l должно быть равно длине окулярного колена теодолита с точностью ±5 мм;
второй наблюдатель, удерживая рукой полотно рулетки у окуляра, по команде первого наблюдателя поднимает или опускает конец уровня до момента выведения пузырька на середину и берет через объектив отсчет по полотну рулетки; измерения проводят трижды.
Ординатометры
Для непосредственного замера ординат реперов используют ординатометры, приведенные на рис. 16.
Ординатометр (см. рис. 16, а) применяют для грунтовых реперов наземных и подземных профильных линий в комплекте с жесткими отвесами ОЖ-3, ОЖ-4. Ординатометр состоит из линейки 1, жестко скрепленной с насадкой 4, фиксируемой зажимным винтом 5 на стержне отвеса. По направляющим планкам линейки свободно перемещается марка-сигнал 2 с визиром 3 и индексом 6.
Рис. 15. Устройство для измерения высоты инструмента:
1 - полотно рулетки; 2 - зажимной винт; 3 - репер
Рис. 16. Ординатометры:
а - на жестком отвесе; б - на стенном репере
Ординатометр, изображенный на рис. 16, б, предназначен для замера ординат стенных реперов и состоит из насадки 1, закрепляемой на репере зажимным винтом 2, мерной линейки 9 с уровнем 4 и шаровой пятой 11, фиксируемой в насадке гайкой 3, марки-сигнала 6 с индексом 10 и визиром 5, свободно перемещающимся по направляющим 7 линейки. При длине линейки более 0,5 м к свободному концу линейки крепят телескопический упор 8.
Методика измерения ординат и определения векторов сдвижения реперов
Необходимость измерения ординат или определения векторов сдвижения для каждого конкретного случая устанавливают при составлении проекта наблюдений. При замере ординат возможны следующие случаи:
наличие прямой видимости между опорными реперами, расположенными на противоположных концах профильной линии;
отсутствие прямой видимости между опорными реперами.
В первом случае при использовании ординатометров и полярного способа на одном из опорных реперов устанавливают теодолит и визируют на опорный репер противоположного конца профильной линии. Ординатометр последовательно устанавливают на рабочих реперах, если реперы, заложены в кровле выработки - под центром отвеса, а линейку ординатометра - горизонтально и перпендикулярно направлению на теодолит. Марка-сигнал перемещается по линейке до совпадения центра с линией визирования теодолита, по индексу берут отсчет. Ордината репера соответствует разности отсчета и «места нуля» линейки. Для ординатометра (см. рис. 16, а) при невозможности его центрирования над репером или при большой величине ординаты репера определение ординат выполняют без центрирования ординатометра на репере. В этом случае ординатометр устанавливают с учетом возможности снятия двух отсчетов - по линии визирования теодолита и над центром репера. Ордината репера при этом равна разности отсчетов.
При полярном способе от направления на второй опорный пункт замеряют угол aк и расстояние dк от места нахождения теодолита до репера. Ординату репера Ор рассчитывают по формуле:
Op = dкsinaк.
Во втором случае за направление визирования теодолита на отдельных участках профильной линии принимают направление, близкое к створу реперов. Точки визирования закрепляют вешками, а их начальное положение фиксируют углом и расстоянием. На опорном репере измеряют угол от исходного репера или достаточно удаленной точки вне зоны сдвижения, а на точках перехода - углы между линиями визирования. Положение линий визирования восстанавливают при каждом повторном наблюдении по начальным углам и длинам. Замер ординат реперов проводят от выбранных линий визирования аналогично первому случаю.
Сдвижение реперов в направлении, перпендикулярном линии визирования (ордината сдвижения), во всех случаях определяют как разность ординат реперов из повторных и начальных наблюдений. Определение векторов сдвижения реперов в плане выполняют в случае значительной изломанности профильной линии (в основном на подземных наблюдательных станциях) полярным способом или прокладкой теодолитного хода.
В обоих случаях определяют координаты нескольких рабочих реперов, расположенных в характерных по отношению к очистному пространству местах. По разности координат из начальной и повторных серий наблюдений определяют линейное значение и дирекционный угол векторов сдвижения в плане. Значение полного вектора сдвижения рассчитывают по вычисленным величинам оседания и ординаты или вектора сдвижения. При необходимости оно может быть пересчитано на одну из вертикальных плоскостей. Замер ординат реперов и определение векторов сдвижения в плане проводят дважды в прямом и обратном направлениях. Расхождение значений ординат или векторов сдвижения в плане из двойного определения не должно превышать ±15 мм.
«Маяки» и марки
В дополнение к визуальным наблюдениям на участках деформации наземных и подземных объектов наблюдения и охраны устанавливаются «маяки» различного типа, позволяющие измерять относительное смещение точек объекта, величину раскрытия трещин, выявлять новые трещины и т.д. «Маяком» может служить полоса свежей штукатурки или бетона необходимой длины на стенах здания или боках горных выработок шириной 20 - 30 см. Например, при наблюдениях в районе тектонической трещины длина полосы должна быть на 3 - 5 м больше зоны ее влияния. Замер относительного смещения краев трещины проводят с помощью «маяка», приведенного на рис. 17. Пластину 4 с плоской пружиной 3 крепят со стороны меньшего ожидаемого смещения пород. Палетку 1 крепят по другую сторону трещины. Смещение определяют по «следу» пера 2.
При подработке объектов в качестве «маяка» могут быть использованы: «Прибор для сигнализации о деформациях горного массива при проходке выработок» (а.с. № 299730, СССР, опубл. 26.03.71) при регулировке сигнала на разную величину смещения кровли и групповом расположении приборов, «Сигнализатор опасных деформаций» (разработка ВНИМИ), который предназначен для непрерывного контроля относительного смещения отдельных частей зданий и сооружений, а также другие приборы, позволяющие определять величины и характер относительных сдвижений и деформаций.
Рис. 17. Тип «маяка» для замера относительных смещений краев трещин
Марками при проведении наблюдений (визуальных и инструментальных) могут служить крестообразные полосы, нанесенные краской или цветными мелками, насечки на крепи и породах, шляпки гвоздей и другие фиксированные точки на объекте наблюдения, позволяющие замерять относительные смещения или наводить прибор. Для замера относительного смещения точек марки закладывают «парами точек». Марки, используемые при геодезических работах, применяют также при проведении дистанционных наблюдений тахеометрическим или фотограмметрическим методами за сдвижением поверхности и деформацией подрабатываемых объектов. Марки закрепляют на разных уровнях сооружения или на нескольких реперах поверхности.
При изучении нарушенности пород и их деформации по скважинам (изучение трещиноватости, тектонической нарушенности, определение зон трещин и обрушений) применяют оптический или фотометрический метод с использованием оптических перископов РВП-454 и РВП-457, которые позволяют просматривать или фотографировать скважины на глубине до 7,5 - 8,0 м. При фотографировании к окуляру перископа через переходник подсоединяют фотоаппарат «Зенит». Для выявления зоны трещин стенки скважины после исходной серии наблюдений следует торкретировать - промазать цементным раствором. При значительных глубинах скважин для этих же целей используют различного типа трещиномеры и зонды [1]. Качественную оценку изменения нарушенности массива проводят с помощью геофизических методов (ультразвук, гамма-гамма-карротаж и др.) [19].
Измерение смещений пород по скважине, пересекающей тектоническое нарушение или трещину разрыва (срез скважины), проводят с помощью клиновой насадки.
ОБЩИЕ УКАЗАНИЯ ПО ИЗУЧЕНИЮ ТРЕЩИНОВАТОСТИ ГОРНЫХ ПОРОД
Указания составлены применительно к изучению процесса сдвижения и устойчивости горных пород и земной поверхности. Они включают основы методики по изучению трещиноватости, необходимые для получения данных о пространственной ориентировке трещин и о закономерностях их проявления в пределах месторождения или отдельных его участков.
Общие положения. Массив горных пород не является сплошной изотропной средой, он разбит на отдельные структурные блоки совокупностью трещин различного происхождения и разных размеров. Совокупность трещин, нарушающих целостность горных пород, называется трещиноватостью. Трещины, имеющие близкие значения элементов залегания, объединяют в системы. Различают два вида трещин:
мелкие трещины (сланцеватость, отдельность, кливаж) с ограниченными размерами, смещенные в пространстве одна относительно другой;
крупные тектонические трещины большого протяжения, по которым может происходить скольжение (сдвиг) одной части деформируемого массива относительно другой.
Мелкая трещиноватость в зависимости от ее интенсивности, ориентировки относительно горной выработки и направления действующего усилия по отношению к плоскости трещин, наличия и свойств заполнителя вызывает снижение прочностных свойств массива и устойчивости пород при их обнажении [7, 18].
Крупные сплошные тектонические трещины и зоны нарушения оказывают существенное влияние на сдвижение горных пород и во многих случаях определяют границу возможного разрыва сплошности пород как в толще, так и на земной поверхности. По поверхностям крупных тектонических трещин происходит образование вывалов, отслоений и обрушений в очистных и подготовительных выработках.
Знание пространственной ориентировки и закономерностей распространения трещиноватости позволяет правильно решать вопросы, связанные с устойчивостью толщи пород и земной поверхности, охраной горных выработок и сооружений на земной поверхности, правильным планированием отработки отдельных участков рудных тел и своевременным предупреждением о возможных вывалах и обрушениях горных пород. Для оценки влияния трещиноватости на сдвижение горных пород проводят изучение как мелкой трещиноватости, так и крупных тектонических трещин.
Изучение трещиноватости проводят по горизонтальным и вертикальным обнажениям пород, а также по кернам, выбуренным из скважин при разведке месторождения в целом или отдельных его участков.
Наиболее полную характеристику трещиноватости пород можно получить при непосредственном измерении ее в очистных и подготовительных выработках на всех эксплуатационных горизонтах. Места замеров мелкой трещиноватости выбирают таким образом, чтобы наблюдениями был охвачен весь комплекс горных пород, слагающих месторождение. На каждом участке горного массива, разделенном крупными геологическими нарушениями, изменяющими условия залегания пород, обязательно должно быть не менее одного участка замера. При отсутствии геологических нарушений и постоянстве элементов залегания пород расстояния между участками замеров принимают равными 150 - 200 м. На каждом замерном участке проводят 20 - 30 замеров трещин. Элементы залегания напластования (слоистости, сланцеватости) замеряют 3 - 4 раза.
Размер замерного участка определяется условиями возможности замера всех систем трещин, степенью доступности при замерах, сложностью строения массива. При благоприятных условиях размер участка можно принять равным 10 - 15 м. Наиболее удобные участки для замеров трещиноватости - места сопряжения горных выработок или целик, со всех сторон ограниченный выработками.
При отсутствии плоскостей обнажения пород в толще изучение трещиноватости можно проводить осмотром скважины, забуренной до глубины 5 - 6 м перпендикулярно к оси выработки, с помощью прибора РВП или трещиномерами, конструкция которых позволяет выявлять не только наличие трещиноватости, но и ориентировку трещин. Середины участков замера привязывают к маркшейдерским точкам или сопряжениям выработок с точностью до 2 - 3 м. Каждая крупная тектоническая трещина подлежит замеру и привязке в плане к маркшейдерской точке либо заснятой точке горной выработки.
На участке замера определяют следующие параметры трещин: Апад - азимуты падения* всех систем трещин и слоистости (сланцеватости); dt(dсл) - угол падения всех систем трещин и слоистости (сланцеватости); S - расстояние (по нормали) между трещинами каждой системы; линейные размеры (длина l и раскрытие m); характер поверхности (плоская, волнистая, гладкая, шероховатая); наличие и характеристика заполнителя полости трещин; степень обводненности трещин (влажная, капеж, струя и пр.).
_____________
* Под землей при незначительном обнажении поверхностей трещин удобнее замерять именно азимут падения трещин, а затем вести пересчет на азимут простирания по формуле: Аt = Апад - 90°.
Измеренные величины записывают в полевой журнал (см. прил. 8).
Элементы залегания трещин в основном замеряют при помощи горного компаса. При наличии обнажений пород с неясно выраженным простиранием плоскостей структурных блоков компас поперечным срезом горизонтально прикладывают к плоскости (поверхности) структурного блока таким образом, чтобы нуль угломерной шкалы был направлен в сторону падения (на себя). Отсчет по северному концу магнитной стрелки компаса соответствует азимуту падения. В тех случаях, когда в породах заметно сказывается изменение магнитных свойств или выработки оборудованы металлоконструкциями, используют специальные угломеры.
Линейные размеры трещин, а также расстояния между трещинами систем замеряют линейкой или рулеткой. Расстояние между трещинами систем измеряют по направлениям, перпендикулярным плоскости трещины. При описании характера поверхности трещин необходимо указывать форму их поверхности - волнистая или ровная, шероховатая или гладкая, заполнена ли инфильтрационным материалом и каким именно (кальцитом, окислом железа, глинкой трения и т.д.). В примечании следует отметить наличие вблизи участка замера крупных тектонических трещин или зон дробления.
Кроме того, визуально устанавливают и отмечают системы трещин, влияющие на образование вывалов, отслоений и обрушений, делают необходимые зарисовки.
Обработка наблюдений сводится к построению и обработке круговых диаграмм трещиноватости, решеток трещиноватости и вычислению ее интенсивности, определению расположения трещин относительно простирания рудной залежи или выработки. Круговые диаграммы составляют отдельно для мелкой трещиноватости и для крупных трещин. Для мелкой трещиноватости первоначально на каждом участке замера составляют круговую диаграмму, затем строят сводные диаграммы по горизонтам по всему месторождению в целом или же для отдельных литологических разностей пород.
При решении горнотехнических задач для построения круговых диаграмм рекомендуется пользоваться равнопромежуточной проекцией (рис. 18). На сетку по измеренным элементам залегания - азимутам падения Апад или азимутам простирания Ai и углам падения систем трещин dt - условными знаками (точками) наносят трещины. Перед нанесением трещин на диаграмму необходимо в измеренные значения Aпад или Ai ввести поправку за магнитное склонение. Каждая система трещин образует на круговой диаграмме свою область концентрации точек. При четко выраженной концентрации точек средние значения элементов залегания каждой отдельной системы трещин определяют методом медиан. Они соответствуют пересечению меридиана и параллели, делящих область концентрации на две равные по числу точек группы. На диаграмме их обозначают каким-либо условным знаком, например квадратом (см. рис. 18, а). При большом разбросе значений элементов залегания, когда трудно выделить группу трещин, относящихся к той или иной системе, обработку проводят статистическим методом. Для этого выбирают статистическое «окно» (см. рис. 18, а), ограниченное параллелями и меридианами, отстоящими друг от друга, например, на 20°. Подсчитывают число точек (трещин), оказавшихся на площадке «окна»; это число ставят в центре «окна». После этого «окно» перемещают в следующее положение с таким расчетом, чтобы 1/2 площади первого «окна» была перекрыта площадью второго «окна». Результаты подсчета записывают на кальке, наложенной на сетку с нанесенными на нее точками (трещинами). Около цифр, показывающих число точек, оказавшихся в пределах «окна», дают их процент от общего числа измеренных в натуре и нанесенных на точечную диаграмму трещин. Затем, задавшись определенным сечением, например 1 %, проводят изолинии средних значений концентраций трещин (см. рис. 18, б) Римскими цифрами показаны номера систем трещин.
Рис. 18. Круговые диаграммы трещиноватости:
а - в точках; б - в изолиниях; 1 - 6 - процент от общего числа замеров (1 - 1; 2 - 2; 3 - 3; 4 - 4; 5 - 10; 6 - 10 и более); 7 - замеренные трещины; 8 - направление падения систем трещин и сланцеватости
На каждой круговой диаграмме выявляют основные системы трещин, затем составляют таблицу осредненных характеристик трещиноватости, в которой приводят данные о средних значениях элементов залегания каждой системы трещин, взятых из круговой диаграммы, средних размерах трещин и расстояниях между трещинами, а также приводят осредненные данные о характере поверхности каждой системы (табл. II).
Таблица II
|
Система трещин и элементы залегания |
Среднее |
Характеристика |
||||||||
|
сланцеватость (слоистость) |
I |
II |
III |
IV |
расстояние между |
поверхности трещин и |
||||
|
Асл |
dсл |
At |
dt |
At |
dt |
Аt dt |
Аt dt |
трещинами s м |
заполняющего материала |
|
По данным круговых диаграмм, приведенным в табл. II, на разрезах по профильным линиям или другим разрезам и проекциям, на которых определяют углы разрывов или сдвижения, специальными условными знаками наносят проекции систем трещин (рис. 19). Угол падения трещины в плоскости разреза определяют по формуле
Tg doi = tg disin (Ai - Am),
где doi - угол падения трещины в плоскости разреза; di - измеренный угол падения трещины; Аi - азимут простирания трещины; Ат - азимут простирания плоскости разреза.
Рис. 19. Вертикальный разрез по профильной линии с нанесением основных систем трещин
Для облегчения определения углов d0i можно воспользоваться номограммой (рис. 20). Кривые на номограмме отображают изменение угла d0i от 0 до di при изменении значений (Аi = Ат) от 0 до 90°. Искомые значения d0i находят следующим образом. В точке с заданным значением (Аi - Ат) = 70° восстанавливают перпендикуляр до пересечения его с кривой, соответствующей значению di = 50°. Проектируя точку пересечения перпендикуляра с кривой на ось ординат (слева), находят значение угла d0i = 48°.
Рис. 20. Номограмма для определения углов d0i
Для решения вопросов устойчивости и сдвижения горных пород интенсивность трещиноватости целесообразно вычислять по формуле: W = 1/l, где l - средний линейный размер структурного блока, ограниченного тремя смежными трещинами, м.
Влияние трещиноватости на процесс сдвижения и деформирования горных пород определяется положением их относительно плоскости слоистости (сланцеватости) или рудной залежи (тела). По двугранному углу g, образуемому плоскостью слоистости или рудной залежи с плоскостью трещин, трещины подразделяют на нормально-секущие (g = 70 - 90°) и кососекущие (g < 70°). В зависимости от угла падения di трещины бывают: крутые - 46 - 90°; наклонные - 21 - 45°; пологие - 0 - 20°.
По величине угла w, образуемого направлением линии простирания слоистости (сланцеватости) или рудной залежи и направлением линии их скрещивания в плоскости слоистости (рудной залежи), трещины подразделяют на: продольные - 0 - 20°; диагональные - 21 - 70°; поперечные - 71 - 90°.
Определение углов g и w проводят с помощью стереографической сетки Вульфа. На кальке при помощи сетки строят пересекающиеся плоскости слоистости (рудной залежи) Р и трещины Q (рис. 21). Для этого через центр сетки проводят прямые под азимутом падения (или простирания) плоскостей Р и Q. Затем эти прямые последовательно совмещают с диаметром сетки С-Ю и со стороны восстания плоскостей проводят дуги меридианов, соответствующие углам падения плоскостей Р и Q, считая по диаметру В-З от периферии к центру. Точку Т пересечения дуг меридианов соединяют с центром О, отрезок ОТ - проекция линии пересечения плоскостей, т.е. ось их скрещивания. Совмещая ее на восковке и диаметром С-Ю, определяют азимут линии скрещивания Aj. Совмещая линию ОТ с диаметром В-З от периферии к центру, определяют величину угла j. Угол g лежит в перпендикулярной плоскости R. Для этого от точки Т по диаметру В-З через центр откладывают 90° и затем проводят соответствующую дугу меридиана. Эта дуга пересекает проведенные ранее дуги в точках А и В. Отсчет от А до В дает нам величину угла g. Угол со определяют как разность азимутов простирания слоистости (рудной залежи) Асл и линии скрещивания Aj. На рис. 21 дан пример графического определения величин углов g, Aj и w для двух сопряженных поверхностей трещиноватости P (Ai = 135°; di = 80°) и Q (Ai = 40°, di = 50°). В результате построения получено: g = 87°, Aj = 326°, w = 11°. По этим данным система трещин Q по отношению к плоскости слоистости Р является нормально секущей, продольной, крутой.
Рис. 21. Определение углов g и w
Учет влияния трещиноватости при решении вопросов сдвижения и устойчивости горных пород при подземной разработке рудных месторождений проводят следующим образом. На каждой профильной линии специальным условным знаком (см. рис. 19) наносят проекции систем трещин. В полуокружности показывают расположение и углы падения различных систем трещин, спроектированных на плоскость разреза по профильной линии. Затем проводят сравнение углов разрывов, полученных путем инструментальных наблюдений на земной поверхности, с углами падения проекций систем трещин. При сравнении необходимо иметь в виду, что:
под влиянием подземной разработки разрушение пород в основном происходит по нормально и кососекущим продольным трещинам, падающим в сторону выработанного пространства;
при подземной разработке крутопадающих рудных тел разрушение массива пород висячего бока характеризуется прогибом слоев, отрывом пород под действием нормальных напряжений растяжения и последующим сдвигом их в выработанное пространство; сопротивление горных пород отрыву значительно меньше, чем сдвигу, следовательно, для сравнения нужно выбирать трещины отрыва, характеризующиеся неровной шероховатой поверхностью;
в лежачем боку происходит сдвиг пород по наиболее ослабленным крутым поверхностям - плоскостям слоистости (сланцеватости) или плоскостям крупных тектонических трещин и нарушений, падающих в сторону выработанного пространства под крутыми углами.
Совпадение углов разрывов со слоистостью в лежачем боку и с одной из систем трещин в висячем боку, основанное на геометрических представлениях о взаимном расположении слоистости (напластования) пород и систем трещин, дает возможность в первом приближении учитывать влияние трещиноватости на процесс сдвижения пород при подземной разработке рудных месторождений. Трещины с близким к углам разрывов падением в большинстве случаев являются границами области трещин в массиве. Трещины с более крутым или обратным падением могут явиться временными границами области сдвигов и местами наиболее вероятных обрушений кровли очистных выработок.
При закономерно выраженной трещиноватости пород можно заранее определить направления векторов сдвижения и возможные углы разрывов b", b1" и d". Чем сильнее нарушен массив трещиноватостью и больше ее интенсивность, тем ниже будут его прочностные свойства, положе углы сдвижения и тем меньшее значение имеет коэффициент структурного ослабления, величину которого в зависимости от геомеханической модели определяют по разным методикам [10, 17]. В зависимости от интенсивности трещиноватости следует различать:
|
Породы................ |
сильнотрещиноватые |
среднетрещиноватые |
слаботрещиноватые |
|
Интенсивность трещиноватости |
7 - 10 |
2 - 7 |
менее 2 |
Согласно существующему положению в работе [2] рекомендуется в сильнотрещиноватых породах углы сдвижения уменьшать на 5° по сравнению с углами сдвижения в породах средней и слабой трещиноватости.
Крупные тектонические трещины, попадающие в область сдвижения пород, оказывают непосредственное влияние на углы разрывов и сдвижения, делая их более пологими или крутыми в зависимости от элементов залегания трещин и расположения относительно выработанного пространства. Сдвижение пород происходит по поверхностям этих трещин. Зная углы падения и ориентировку крупных тектонических трещин, можно с точностью до 2 - 3° определить величины углов разрывов, а также своевременно предупредить о местах возможного образования вывалов и обрушений в горных выработках, установить границу возможного образования трещин на земной поверхности.
Данные об интенсивности трещиноватости пород и закономерностях ее проявления в пределах рудного поля - основа для выбора месторождений-аналогов по характеру и параметрам процесса сдвижения.
ОБЩИЕ УКАЗАНИЯ ПО ОПРЕДЕЛЕНИЮ ПРОЧНОСТНЫХ СВОЙСТВ ГОРНЫХ ПОРОД
Основные прочностные характеристики, используемые для решения вопросов устойчивости и сдвижения горных пород и земной поверхности при подземной разработке рудных месторождений: предел прочности на одноосное сжатие sсж; предел прочности на растяжение sр; коэффициенты сцепления в куске Kк и в маcсиве Kм; угол внутреннего трения r; угол трения по поверхностям ослабления rм.
Предел прочности на одноосное сжатие sсж широко используют в расчетах устойчивости, несущей способности горных пород в целиках и подготовительных выработках, а при корреляции с пределом прочности на растяжение sр он может быть успешно применен и для оценки предельных пролетов обнажений. При прогнозировании характера и параметров процесса сдвижения один из классификационных признаков - коэффициент крепости пород по М.М. Протодьяконову
f = sсж/10.
Для получения необходимых прочностных характеристик пород проводят испытания в лабораторных и природных условиях. Лабораторные испытания прочностных свойств пород проводят специализированные лаборатории на образцах, изготовленных из отобранных проб. В этом случае необходимо обеспечить требуемое число проб для каждого вида и метода испытаний в соответствии с существующими ГОСТами для получения наиболее представительных прочностных характеристик пород.
Отбор проб для лабораторных испытаний проводят непосредственно в горных выработках. Поскольку рудные месторождения, как правило, характеризуются сложным геологическим строением с частой сменой различных пород, расстояния между пунктами отбора проб изменяются от 200 до 25 м. Число проб определяется числом литологических (наиболее типичных) пород. При этом размеры монолитов или кернов каждой породы и их число должны обеспечивать изготовление необходимого числа образцов для каждого вида испытаний. Особое внимание следует уделять сохранности и целостности отобранных проб как при их отборе, так и при транспортировке и хранении. Извлекать пробы-монолиты из массива нужно таким образом, чтобы не нарушить естественного сложения породы. Не рекомендуется выбивать керны из колонковой трубы, подвешенной (удерживаемой) на 0,2 м от почвы выработки. Отобранные пробы упаковывают в ящики для отправки к месту испытания. Ящики с пробами не разрешается бросать, кантовать и оставлять под дождем или на морозе. Пробы пород, присылаемые на испытание, должны быть снабжены сопроводительной документацией, которая позволит установить место и время извлечения каждой породы, название породы и нужный вид испытаний.
Лабораторные исследования. Основные виды механических испытаний проб горных пород, которые проводит лаборатория механических испытаний ВНИМИ, приведены в табл. III. В ней даны способы испытаний, названия прочностных характеристик и минимальные размеры проб, необходимые для проведения этих испытаний. Предел прочности при сжатии определяют методами соосных пуансонов, одноосного сжатия высоких цилиндров или образцов полуправильной формы (с подшлифовкой торцов). Приближенно по результатам раскалывания сферическими инденторами образцов неправильной формы определяют предел прочности при сжатии и при растяжении. Во втором случае также используют раскалывание лежачих цилиндрических образцов вдоль образующей.
Таблица III
|
Способ испытания |
Группа пород |
Коэффициент крепости по М.М. Протодьяконову |
Прочностные характеристики |
Число образцов для испытаний одной пробы |
Размеры одного образца для испытания, мм |
Минимальные размеры присылаемых проб |
|||
|
Керн буровой скважины, мм |
Монолит, мм |
||||||||
|
один кусок |
общие размеры |
||||||||
|
Предел прочности |
Метод соосных пуансонов |
Крепкие |
> 8 |
sсж |
6 - 8 |
d0 = dк |
dк ³ 42 |
dк ³42 |
250´200´200 |
|
Средней крепости |
5 - 8 |
4 - 6 |
h0 = 11 - 12 |
lк = 150 |
Lк = 300 |
||||
|
Сжатие высоких цилиндров |
Крепкие |
> 8 |
sсж |
6 - 10 |
d0 = dк |
dк ³ 42 |
dк ³ 42 |
300´300´200 |
|
|
Средней крепости |
5 - 8 |
h0 = (1,5 - 2,0)d0 |
lк = 150 |
Lк > 10dк |
|||||
|
Испытание образцов неправильной формы |
Крепкие |
> 8 |
sсж, sр |
6 - 10 |
80´80´80 |
- |
- |
250´200´200 |
|
|
Средней крепости |
5 - 8 |
||||||||
|
Трение и сцепление |
Косой срез в матрице |
Крепкие |
> 8 |
r, Kк |
6 - 15 |
- |
dк ³ 70 |
dк ³ 70 |
300´300´200 |
|
Средней крепости |
5 - 8 |
lк ³ 150 |
Lк = 1000 |
||||||
Примечание. sсж - предел прочности на одноосное сжатие, МПа, sр - предел прочности на одноосное растяжение, МПа, r - угол внутреннего трения, градус, Kк - коэффициент сцепления, МПа, Lк - общая длина кусков кернов одной пробы, du - диаметр образца для испытания, dк - диаметр керна, h0 - высота образца для испытания, lк - длина одного куска керна.
Коэффициент сцепления в образце и угол внутреннего трения определяют методами косого среза под углом 30, 45 и 60° или трехосного сжатия в стабилометрах с построением паспорта прочности [18]. Приближенно коэффициент сцепления и угол внутреннего трения определяют по соотношению предела прочности при сжатии и растяжении. При определении величин углов внутреннего трения в массиве пород следует исходить из того, что угол внутреннего трения в массиве по поверхностям, пересекающим слои и не совпадающим со сплошными трещинами, можно принимать равным углу внутреннего трения, полученному для данной породы по лабораторным испытаниям на срез образцов пород. Угол внутреннего трения по контактам слоев следует принимать равным углу трения, полученному по лабораторным испытаниям на трение по этим поверхностям. Угол внутреннего трения по поверхностям, совпадающим с трещинами, принимают средним между углом трения по поверхностям контактов слоев на сдвиг и углом внутреннего трения, полученным по лабораторным испытаниям образцов на срез.
Лабораторные испытания позволяют получить прочностные свойства не массива в целом, а только сравнительно крепких кусков пород. Для перехода к прочностным характеристикам всего массива используют коэффициент структурного ослабления l1, под которым понимают величину, равную отношению прочности пород в массиве к средней прочности породы в образце.
Натурные исследования проводят для получения прочностных свойств массива с учетом структуры анизотропных пород. При решении вопросов сдвижения и устойчивости пород на рудных месторождениях такими испытаниями определяют коэффициенты сцепления пород в массиве Kм и структурного ослабления l.
Проведение натурных испытаний - процесс трудоемкий, особенно в подземных горных выработках. Имеющиеся немногочисленные данные о сцеплении в массиве, полученные на рудных месторождениях в подземных горных выработках [18], показывают, что величина сцепления и значения коэффициента структурного ослабления мало отличаются от полученных на карьерах. Поэтому при расчетах устойчивости и сдвижения пород, прогнозировании вопросов сдвижения на месторождениях с неизученным процессом сдвижения горных пород для получения величин сцепления в массиве используют существующие эмпирические зависимости. Приведем некоторые наиболее распространенные формулы для определения коэффициента сцепления в массиве. Исходные данные, используемые в этих формулах, получают по результатам натурных или лабораторных испытаний:
Kм = (0,02 - 0,06)Kк;
![]()
![]()
где а - коэффициент, зависящий от прочности пород в куске, степени и характера трещиноватости (определяют по табл. IV); W - интенсивность трещиноватости (см. прил. 4); b = sin2a + xcos2a; (здесь x - коэффициент бокового распора).
Таблица IV
|
Величина сцепления в куске Kк, МПа |
Коэффициент а |
Коэффициент структурного ослабления l при Н1 ³ 100 мм |
|
|
Средней крепости, слоистые, преимущественно нормальносекущей трещиноватости |
10 - 15 |
3 |
0,051 - 0,061 |
|
Крепкие, слоистые, преимущественно нормальносекущей трещиноватости |
16 - 30 |
5 |
0,031 - 0,038 |
|
Крепкие, изверженные с развитой кососекущей трещиноватостью |
30 |
10 |
0,016 - 0,019 |
Величина углов rм зависит от характера поверхности ослабления. Лабораторными испытаниями установлено, что почти для всех пород с ровной гладкой поверхностью ослабления rм = 18 - 25°, с неровной гладкой поверхностью ослабления - 23 - 30°, для ровной поверхности с зеркалами скольжения - 12 - 15°, а для неровной - 18 - 23°. Для ровной и неровной шероховатой поверхностей ослабления углы трения по поверхностям ослабления близки к углам внутреннего трения rк. Значения средних углов внутреннего трения горных пород, вмещающих рудные месторождения (по данным испытаний ВНИМИ), приведены в табл. V.
Таблица V
|
Угол внутреннего трения, градус |
Генезис пород |
|
|
Гранодиорит, диорит, габбро, пироксенит, кварцевый порфир |
36 |
Магматические |
|
Сиенит, кератофир |
30 - 32 |
|
|
Кварцит, гнейс, серпентинит |
31 - 36 |
Метаморфические |
|
Метаморфические сланцы |
27 - 33 |
|
|
Песчаники |
27 - 38 |
Осадочные |
|
Алевролиты |
25 - 35 |
|
|
Аргиллиты |
20 - 26 |
|
|
Известняки мраморизованные |
34 - 38 |
Экспресс-методы используют в полевых условиях для приближенного определения прочностных свойств пород непосредственно на месте отбора проб. Они позволяют с наименьшими затратами получить необходимые прочностные характеристики. Например, для определения крепости пород на рудных месторождениях в полевых условиях применяют специальный прибор - пробник БУ-39. Прибор позволяет на образцах неправильной произвольной формы с размерами испытываемых образцов, не превышающими 80´80´100 мм, определять прочность пород на растяжение и на сжатие. Принцип работы, правила эксплуатации, методика испытаний и обработка результатов изложены в Инструкции [6].
Из геофизических методов исследования наиболее известен и распространен ультразвуковой, с помощью которого косвенно определяют показатели прочности и упругости по скорости распространения упругих волн или затухания амплитуды их колебания в горных породах [17].
ТРИГОНОМЕТРИЧЕСКОЕ НИВЕЛИРОВАНИЕ РЕПЕРОВ НАБЛЮДАТЕЛЬНОЙ СТАНЦИИ
Измерение расстояний светодальномером
Тригонометрическое нивелирование профильных линий следует выполнять при углах наклона интервалов (склонов) более 15 - 20°. Применение светодальномеров для измерения длин дает точность тригонометрического нивелирования, не уступающую точности геометрического нивелирования III - IV классов. Для достижения такой точности линейные измерения необходимо проводить светодальномером МСД-1M или аналогичным по точности прибором с погрешностями измерения расстояний 2 - 5 мм, а вертикальные углы измерять оптическими теодолитами Т2, Theo-010, OTC и равноточными им со среднеквадратической погрешностью измерения одним приемом, не превышающей 5".
Профильную линию разбивают на секции длиной 120 - 150 м для уменьшения влияния рефракции по 6 - 10 реперов в каждой секции. Измеряют расстояния и вертикальные углы между реперами внутри секции двумя способами (рис. 22): с независимым измерением расстояний и вертикальных углов или с последовательным выполнением угловых и линейных измерений, т.е. со взаимной заменой светодальномера и теодолита. В первом случае светодальномером, установленным над точкой А на высоте ic, измеряют расстояние L до отражателя D, установленного над точкой В. Высота установки отражателя - vc. Измерение зенитного расстояния Z выполняют при высоте теодолита iт и сигнала vт. Для вычисления горизонтального проложения и превышения между точками А и В целесообразно привести измеренное расстояние к лучу визирования теодолита. Для этого предварительно определяют вспомогательную величину h (см. рис. 22):
Рис. 22. Схема измерения расстояния и вертикальных углов между реперами внутри секции
h = ic - iт - (vc - vт). (10)
Поправка DL в измеренное расстояние
(11)
а превышение DH и горизонтальное проложение S определяют по формулам:
DH = (L + DL)cosZ + iт - vт; (12)
S = (L + DL)sinZ. (13)
При измерениях вторым способом с последовательным выполнением линейных и угловых измерений наблюдения выполняют в следующем порядке. Светодальномером измеряют расстояние между реперами, затем в ту же подставку устанавливают теодолит, т.е. применяют автоцентрирование теодолита, и измеряют зенитное расстояние Z на центр отражателя. Так как vc = vт, формула (10) примет вид:
h = ic - iт. (14)
При этом величина h постоянна для данного сочетания светодальномера и теодолита и может быть довольно точно определена до начала полевых работ.
Необходимость в вычислении DL отпадает, если точка визирования при измерении зенитных расстояний и центр отражателя смещены на такую же величину, как и горизонтальные оси светодальномера и теодолита. Это достигается при использовании жесткого отвеса и специальной насадки для установки отражателя (рис. 23). Насадка состоит из двух частей - верхней 6 и нижней 2, которые скрепляют между собой винтами и гайками 3. Нижнюю часть надевают на трубу жесткого отвеса 1 и закрепляют винтом 7.
Рис. 23. Насадка на жесткий отвес ОЖ-3 для центрирования отражателей
В отверстие верхней части насадки устанавливают отражатель светодальномера 4 и закрепляют винтом 5. Установку отражателя по отношению к целику отвеса на высоте визирования при выполнении угловых измерений получают перемещением всей насадки по трубе жесткого отвеса. Пределы перемещения от 110 до 160 мм обеспечивают возможность применения для угловых измерений практически любых теодолитов. Для удобства фиксирования необходимой высоты установки отражателей на нижней части насадки закреплена линейка 8.
Недостаток второго способа тригонометрического нивелирования - необходимость постоянных перестановок светодальномера и теодолита.
Погрешности
и тDН для
первого и второго способов тригонометрического нивелирования вычисляют по
формулам:
![]()
![]()
где mL - погрешность измерения наклонной длины; тh - погрешность определения или установки разности высот приборов; тZ - погрешность измерения зенитного расстояния; R - средний радиус Земли; тк - погрешность, вызванная вертикальной рефракцией.
При предрасчете точности тригонометрического нивелирования и условии применения указанных приборов и методик можно принять следующие значения погрешностей; mL ± 3 мм; mZ = ±5"; mк = ±1,0; тh = ±1 мм для второго способа) и mh = ±2 мм (для первого способа); ms и mDH при L < 120 м не превышают ±3 мм.
Измерение расстояний металлической рулеткой
При отсутствии светодальномера тригонометрическое нивелирование рекомендуется проводить только при углах наклона склонов 25 - 30°. При углах наклона менее 25° и при наличии ровных склонов поверхности желательно проводить геометрическое нивелирование, дающие более точные результаты определения превышений.
Тригонометрическое нивелирование при средней протяженности профильных линий 150 - 170 м с разницей высот превышений до 80 м должно обеспечить среднюю квадратическую погрешность определения последнего репера mZ £ ±10 мм. Из формулы

следует, что основное влияние на величину погрешности превышения оказывают и точности измерений: угла - тd линий - тl, высоты инструмента и визирования - тi, mv.
Для получения средней квадратической погрешности определения последнего репера mZ £ 10 мм необходимо:
вертикальные углы измерять со средней квадратической ошибкой измерения, одним приемом не превышающей ±5";
расстояния между реперами профильных линий измерять на весу стальной компарированной рулеткой, имеющей миллиметровые деления, с обязательным применением упоров, при постоянном натяжении ее динамометром (Р = 100 Н), фиксацией температуры воздуха на каждом интервале с точностью до 1°, обязательным соблюдением условий измерений длин интервалов, обеспечивающих относительную погрешность измерения (1/10000) ¸ (1/13000);
высоту инструмента измерять с точностью до 1 мм специальным жестким отвесом, входящим в комплект теодолита, или с помощью рулетки и специального уровня (см. прил. 3);
высоту сигнала при визировании на репер или жесткий отвес измерять с точностью до 1 мм.
Порядок проведения тригонометрического нивелирования на реперах профильных линий следующий (рис. 24):
на опорном репере профильной линии или на репере 1, расположенном перед склоном, устанавливают теодолит, которым визируют на связующий репер 5, удаленный от теодолита на длину имеющейся в распоряжении наблюдателя рулетки. Угол наклона луча визирования измеряют при двух положениях трубы;
Рис. 24. Схема тригонометрического нивелирования по профильной линии на склоне
измеряют расстояние по лучу визирования от оси вращения трубы теодолита до центра связующего репера 5;
измеряют угол наклона и расстояния последовательно до центров всех промежуточных реперов (4, 3, 2);
измеряют высоту инструмента, т.е. расстояние от верха репера до горизонтальной оси вращения инструмента, а при измерении с помощью специального уровня (см. рис. 15) - до линии визирования трубы при условии совмещения нулевых делений нониусов вертикального круга с 0 или 180° лимба и уровнем, выведенным на середину при вертикальном круге;
теодолит переносят на связующий репер 5, проводят измерение угла наклона и длины линии на задний (начальный) репер 1, а затем - на передний связующий репер 9;
измеряют последовательно углы наклона и расстояния до центров всех промежуточных реперов как в сторону начального репера (в интервале 1 - 5), так и в сторону переднего связующего репера (в интервале 5 - 9).
Таким образом, превышение между реперами определяют дважды при визировании «вперед» и «назад». Если условия местности не позволяют визировать непосредственно на центры реперов, то визируют на сигналы, установленные точно над центрами реперов. В качестве сигнала удобнее всего использовать жесткий отвес с известной длиной стержня.
Тригонометрическое нивелирование в подземных горных выработках при их высоте 2 - 2,5 м целесообразно проводить при углах наклона более 15° по приведенной методике. Углы измеряют так же, как и на поверхности, а при измерении длин линий для повышения точности и быстроты измерений рекомендуется устройство, приведенное на рис. 12, б. Длину подвесных жестких отвесов измеряют с точностью до 0,1 мм с помощью отсчетного приспособления (см. рис. 11, в). Погрешность в измерении высоты инструмента не должна превышать 1 мм.
Предлагаемая методика проведения тригонометрического нивелирования в подземных горных выработках обеспечивает при длине профильных линий 150 - 170 м среднюю квадратическую погрешность определения последнего репера mZ £ ±10 мм.
Схемы измерения и уравнивание длин профильных линий при использовании светодальномера
Применение светодальномеров при линейных измерениях увеличивает производительность работ и повышает их точность.
Измерение длин интервалов проводят светодальномером МСД-1М или аналогичным ему по точности прибором. Среднеквадратические погрешности измерения расстояния на одной частоте, определенные по внутренней сходимости в приеме, в среднем составляют 1 - 4 мм, а в полном приеме - 1 - 2 мм.
Эталонирование частот кварцевых генераторов светодальномеров проводят 1 - 2 раза в год. Приборную поправку светодальномеров следует определять перед началом и после окончания каждой серии наблюдений на базисе или измерением отрезков во всех комбинациях. Погрешность определения поправки не должна превышать половины средней квадратической погрешности измерения расстояний. При измерении расстояний фиксируют температуру воздуха с точностью до 1 °С и атмосферное давление с погрешностью не более 400 Па (3 - 4 мм рт.ст.). Давление определяют с помощью переносных барометров-анероидов или по данным метеостанции с учетом разности высотных отметок участка работы и метеостанции. В солнечную погоду приемопередатчик должен быть защищен зонтом.
Учитывая, что расстояние между реперами при наблюдении измеряют многократно, в дальнейшем используют только их изменения. Повторные измерения целесообразно проводить на III частоте, так как при этом отсчитывают только доли метра измеряемого расстояния. При измерениях рекомендуется использовать жесткие отвесы со специальной съемной насадкой для установки отражателя (см. рис. 23), что сокращает продолжительность измерения одного расстояния на 2 - 3 мин. Измерения расстояний между реперами в секциях выполняют по одной из двух схем (рис. 25, а, б), обеспечивающих надежный контроль измерений и дающих возможность исключения систематических погрешностей. Наличие избыточных измерений при наблюдениях по этим схемам требует уравнивания, которое может быть проведено двумя способами:
а) с учетом только случайных погрешностей измерений;
б) с определением и исключением систематических погрешностей.
Выбор способа зависит от соотношения величин случайных и систематических погрешностей. Для первой схемы вычисляют Q - коэффициент, зависящий от числа интервалов в секции,
![]()
где п - число интервалов в секции; mD - случайная погрешность измерения расстояния (для светодальномера МСД-1М mD = 1,5 мм).
Рис. 25. Схема измерения и уравнивания длин профильных линий при использовании светодальномера
Последовательным суммированием горизонтальных длин отдельных измеренных интервалов находят длину секции L¢, а затем систематическую погрешность
![]()
где S - измеренное расстояние между крайними реперами секции.
При |dк| > Q уравненные значения расстояний от первого репера секции до всех остальных реперов Li вычисляют по формуле
![]()
где L¢i - расстояние, полученное суммированием измеренных интервалов до определяемой точки.
При |dк| < Q
![]()
Для второй схемы


где S1,(n+1) - измеренная длина секции в прямом направлении; S(n+1),1 - то же в обратном направлении; S1,i - измеренное расстояние от первого репера до следующих в прямом направлении; S(n+1),i - то же в обратном направлении.
Если обозначить

то
![]()
Уравненное значение длины секции при |dк| > Q вычисляют по формуле
![]()
при |dк| < Q
![]()
Уравненные значения расстояний от первого репера до следующих в обоих случаях при |dк| > Q и |dк| < Q вычисляют по формуле
![]()
Первая схема требует частых перестановок инструмента, что увеличивает вероятность изменения поправки прибора. Более надежной является вторая схема.
МЕТОДИКА НАБЛЮДЕНИЙ ЗА СДВИЖЕНИЕМ ТОЛЩИ ПОРОД НА СТАНЦИЯХ ГЛУБИННЫХ РЕПЕРОВ
Общие положения
Станция глубинных реперов может включать одну или несколько скважин, пробуренных с поверхности или из горных выработок, в которых заложены глубинные реперы. Закладку станций и наблюдения на них проводят на основании проекта, утвержденного главным инженером предприятия. Проект на закладку станций глубинных реперов должен состоять из графической части и пояснительной записки. Графическая часть проекта включает:
совмещенный план горных работ и наблюдательной станции на поверхности или в горных выработках с проектным положением скважин и их «привязками» (масштабы 1:1000, 1:500);
геологические разрезы с проектным положением скважин и мест закладки глубинных реперов (масштабы 1:500, 1:200);
рабочие чертежи выбранного типа репера и регистрирующего устройства;
таблицу объемов работ и расхода материалов.
В пояснительной записке указывают: цели и задачи наблюдений; краткую горнотехническую характеристику участка наблюдения на момент закладки станции; обоснование мест закладки станций, рабочих и контрольных реперов, ориентирования скважин; обоснование и описание выбранного типа рабочего и контрольного реперов, регистрирующего устройства, типа связи, способа закладки реперов, необходимого вспомогательного оборудования; частоту и период наблюдений.
Выбор мест закладки станций, типа рабочих и контрольных реперов и оборудования
Места закладки станций определяют в соответствии с задачей наблюдений, с учетом получения необходимой информации в кратчайшие сроки. В проектах комплексных наблюдательных станций скважины должны располагаться в характерных местах мульды (области) сдвижения, как правило, в одном сечении с профильными линиями, закладываемыми на земной поверхности и в горных выработках.
При необходимости постановки наблюдений на значительной глубине бурят скважины с разных горизонтов, с ориентированием их вверх и вниз. Число скважин определяется необходимой детализацией данных наблюдения, разнообразием проявлений процесса сдвижения и др.
При определении числа рабочих реперов и мест их закладки следует учитывать структуру пород, развитие горных работ, вероятную схему сдвижения. Наиболее удаленные от устья скважины реперы располагают в забое или в 1,0 - 1,5 м от него, следующие - в наиболее характерных породных слоях, слагающих массив. В однородном массиве реперы целесообразно располагать на равных интервалах. При проектировании наблюдений за деформированием закладочного массива по меньшей мере два репера должны располагаться в окружающих породах (выше и ниже), а остальные - в закладочном массиве. В спаренных скважинах реперы могут располагаться в «шахматном» порядке (репер в одной скважине по центру интервала между реперами в другой). При закладке реперов во встречных скважинах первые реперы должны располагаться примерно на одном уровне; ближайшие же к устью скважины следует располагать за зоной влияния выработки. Если размеры указанной зоны не установлены, то расстояние от устья скважины до ближайшего репера должно быть не менее 3а, где а - половина наибольшего поперечного размера выработки.
В скважинах, пробуренных с земной поверхности, ближайшие к устью реперы с механической связью располагают ниже границы выветрелых коренных пород на 5 - 10 м. Наименьший интервал между глубинными реперами принимают равным 1,5 - 2 м.
Контрольные реперы закладывают в почве выработки вблизи устья (0,5 - 1 м) при нисходящих скважинах, а при восходящих скважинах - на вертикали под устьем (регистрирующим устройством, закрепленным в кровле). При наклонной восходящей скважине на продолжении ее оси закладывают дополнительный контрольный репер.
Выбор типа рабочего репера определяется глубиной и ориентированием скважины, местом закрепления, структурой и механическими свойствами пород. Связь репера с регистрирующим устройством может быть механической и немеханической. Немеханические связи предусматривают применение приборов, фиксирующих положение реперов в скважине. При периодическом перемещении этих приборов по скважине по сигналу прибора на регистрирующее устройство замеряют расстояния от устья скважины до репера.
Механические связи могут быть гибкими, жесткими и комбинированными. В качестве гибкой связи используют антикоррозийную стальную или титановую проволоку диаметром 0,5 - 2,5 мм. Жесткие связи представляют собой став штанг из труб легких сплавов или прутковой стали диаметром 8 - 12 мм и длиной каждой штанги 1,0 - 1,5 м, соединенных последовательно резьбовым соединением. Комбинированную связь применяют при восходящих скважинах с трубчатыми регистрирующими устройствами. Она представляет собой сочетание гибкой связи с несколькими элементами жесткой, выполняющими функцию натяжного устройства.
Типы реперов и регистрирующих устройств, способы их закрепления
Глубинные реперы. В породах средней прочности и устойчивости применяют реперы, приведенные на рис. 26, которые можно закладывать как с земной поверхности, так и из горных выработок.
Реперы, показанные на рис. 26, а, изготовляют из сухого плотного дерева, бетона, металла. Длина корпуса 3 деревянного репера 0,5 - 1 м, металлического 0,3 - 0,6 м, диаметр нижнего торца на 10 - 15 мм меньше диаметра скважины, а диаметр верхнего торца составляет 0,6 диаметра нижнего. По оси репера делают сквозное отверстие с центральной втулкой 7 из металла. Втулку фиксируют двумя гайками 5 с закреплением нижней гайкой резиновой шайбы 2 диаметром на 10 - 15 мм большим диаметра скважины. Реперы применяют только в нисходящих скважинах.
Репер под собственным весом или с помощью станка досылается до места закрепления в скважине. В последнем случае связь репера с буровыми штангами обеспечивается специальным досыльником 6, скрепляемым с репером тонкой мягкой проволокой. Пространство между корпусом репера и стенкой скважины засыпают мелким щебнем из крепких пород 4 с таким расчетом, чтобы высота столба засыпки не превышала высоту корпуса репера. При подаче буровых труб вверх щебень расклинивает корпус, проволока крепления обрывается и досыльник извлекается из скважин. Проволоки связи 1 нижних реперов пропускают через центральную втулку или заводят внутрь корпуса через его продольный разрез.
Рис. 26. Типы глубинных реперов для пород средней прочности и устойчивости
Рис. 27. Эскиз-шаблон репера (в мм):
a - d = 75 - 90, t = 15 - 20; б - d = 60 - 75, t = 10 - 15; в - d = 55 - 60, t = 10
Репер, приведенный на рис. 26, б, применяют для нисходящих и восходящих скважин. Репер 3 изготовляют из листовой стали толщиной t = 10 - 20 мм по эскизу-шаблону (рис. 27). В репере просверливают три отверстия 2 (см. рис. 26, б). В двух крайних отверстиях закрепляют проволоку связи 4 и груз 1 массой 8 - 10 кг, в центральном - петлю для пропуска проволок связи нижних реперов. При закладке репера в нисходящую скважину через отверстие, в котором крепят груз, пропускают вспомогательную мягкую тонкую проволоку, с помощью которой груз и проволоку связи закрепляют примерно на вертикальной линии. Под собственным весом репер опускается до места закрепления, рывком связи обрывают вспомогательную проволоку, и груз разворачивает корпус репера, прочно расклинивая его в скважине. При использовании этого типа репера в восходящей скважине досылку выполняют досылочными штангами с вильчатым досыльником, в цапфы вертикальных стоек которого закладывают проволочную ось с двумя кольцами на концах, продетую через центральное отверстие корпуса репера. Груз снимают. Отверстие же, в котором крепится проволока связи, должно располагаться выше оси. Репер удерживают на месте установки досыльником, натяжением проволоки связи разворачивают его вокруг центральной оси, надежно расклинивая в скважине, после чего извлекают досылочные штанги с досыльником.
Репер (разработка ВНИМИ, см. рис. 26, в) состоит из трубчатого корпуса 1, в боковых отверстиях которого на осях крепят четыре якоря 6 с «серьгами». «Серьги» якорей тягами 5 скрепляют с кольцом 4, к которому присоединяют проволоку связи 2. Размер якорей и диаметр корпуса зависят от диаметра скважины из расчета, чтобы угол зацепления со стенками скважины был в пределах 30 - 50°, а «серьги» якорей не позволяли проворачиваться им на осях больше чем на 70°. Для равномерного размещения в корпусе проволок связи нижних реперов служит зубчатая крышка 3.
Репер, приведенный на рис. 26, г, применяют как с жесткой, так и гибкой связью, с ручной или механической досылкой в различно ориентированных скважинах. Корпус 2 изготовляют из отрезка трубы длиной 30 - 60 см, плоские пружины 1 - из пружинной стали и крепят винтами или точечной сваркой двумя - тремя ярусами. Нижние ярусы пружин крепят со смещением на 45°. Угол отгиба пружин должен быть в пределах 30 - 50°, исходя из чего определяют диаметр корпуса, обеспечивающий достаточную жесткость пружин. При закладке репера с жесткой связью в нисходящую скважину во избежание его проскальзывания под тяжестью штанг связи или под действием взрывов нижний ярус пружин крепят свободными концами против направления досылки 3. На концы этих пружин надевают насадку (отрезок трубы с сегментным днищем) с пружинами, закрепленными по ходу досылки 4. После досылки репера до места закрепления насадку сбивают досылочными штангами, и репер надежно закрепляется в скважине. При использовании гибкой связи досылку репера проводят досылочными штангами с досыльником, имеющим с репером разъемное соединение (выступ-паз), не позволяющее реперу проворачиваться при досылке.
Рис. 28. Типы глубинных реперов с большой площадью зацепления для устойчивых массивных пород
В плотных породах используют реперы с большей площадью сцепления со стенкой скважины, приведенные на рис. 28. Репер, показанный на рис. 28, а, применяют при любом типе связи и ориентировании скважины (с использованием досылочных штанг). Репер состоит из круглого или плоского корпуса 1 с секционными или сплошными пластинами 2, одну из которых крепят глухо к корпусу, а другую прижимают пружинами 3, размещенными в стаканах 4. При закладке репера пружины в сжатом состоянии удерживают конусными шплинтами, которые соединены со вспомогательным тросиком. При досылке репера до места закрепления шплинты выдергивают тросиком, освобождая пружины, которые надежно закрепляют репер на стенках скважин. Проволоки связи нижних реперов пропускают внутри корпуса.
Репер (см. рис. 28, б) применяют с жесткой связью при любом ориентировании скважин небольшой длины (10 - 15 м). Число реперов ограничивается возможностью размещения штанг связи внутри скважины данного диаметра. К корпусу 3 крепят зубчатую пластину 1. По центру корпуса крепят болт с червячной резьбой 2, находящийся в зацеплении с зубчатым зацепом 5, закрепленным на оси 4. Болт резьбовым соединением скрепляют со штангами связи. Досылают репер до места закрепления штангами связи, которые дополнительно скрепляют штифтами в местах резьбового соединения. На месте закрепления зацеп разворачивают вращением штанг до распора в стенку скважины. При закладке репера в восходящих скважинах зацеп переставляют. Реперы используют неоднократно. При закладке возможно расклинивание репера не по диаметру скважины, поэтому необходимо несколько раз рывком переместить репер, продолжая вращать штанги.
Репер, показанный на рис. 28, в, относится к шарнирным реперам. В качестве корпуса 4 используют отрезок трубы или корпус изготовляют из листовой стали с закруглением опорной плоскости по радиусу скважины. В стойках 1 корпуса размещен свободно вращающийся болт 3, на который навинчена муфта 2. К муфте и нижней стойке шарнирно присоединены рычаги 5, соединенные между собой также шарнирно. Болт резьбовым соединением скрепляют со штангами жесткой связи. На месте закрепления репера производят вращение штанг. Муфта; навинчиваясь на болт, раздвигает рычаги до упора в стенку скважины. Необходимо несколько раз срывать слабо закрепленный репер, чтобы он закрепился в диаметральной плоскости скважины. Повторное использование репера возможно при дополнительном соединении штанг штифтами при их наращивании. Можно использовать репер и с гибкой связью. В этом случае досылают реперы до места и закрепляют их штангами, которые затем извлекают из скважины, срезая их в месте, ослабленном сквозными отверстиями в нижней части первой штанги с репером, при попытке дальнейшего закручивания штанг.
Репер, показанный на рис. 28, г, [9] применяют с любым типом связи, при любой ориентировке скважин небольшой (15 - 20 м) глубины. Репер состоит из металлического полого конусообразного корпуса 1 и надрезанной 3 - 4 пропилами деревянной втулки 2. Репер досылают до места закрепления с помощью досылочных штанг, после чего ударами досыльника расклинивают его.
В скважинах, пробуренных в слабых породах, рекомендуется применять герконовые реперы, представляющие собой металлические кольца шириной 2 - 5 см, свободно закрепленные на внешней поверхности керамических или пластиковых обсадных труб (труб, изготовленных из немагнитоактивного материала) в специальных пазах шириной 0,5 - 1 м. Местоположение этих колец-реперов в скважине определяют с помощью специального прибора - магнитного герметичного контакта (геркона), опускаемого в скважину на мерной ленте, длиномере ДА-2 либо на мерных штангах. В момент прохождения геркона сквозь металлическое кольцо-репер происходят замыкание и размыкание магнитного электрического контакта, фиксируемые специальной аппаратурой [11].
В условиях слабых вмещающих пород, когда для поддержания стенок скважин необходимо применение обсадных труб или требуется свободный доступ в скважину, применяют радиоактивные реперы [12]. Их обычно закладывают в скважины, пробуриваемые с земной поверхности. Они представляют собой точечный источник гамма-излучения, выполненный в виде бронебойной пульки, застреленной в стенку скважины (за обсадку) на 50 - 100 мм с помощью специального перфоратора и порохового заряда. Положение репера определяют с помощью радиографического прибора, который опускают в скважину на мерной проволоке длиномера. Радиограф - это автоматическая фотокамера, снабженная люминофорами, которые при попадании на них гамма-излучения способны засвечивать фотопленку.
Рис. 29. Типы регистрирующих устройств рамного типа для скважин:
а - нисходящих; б - горизонтальных; в - восходящих
Регистрирующие устройства. Независимо от конструкции регистрирующее устройство должно состоять из монтажной рамы, натяжного устройства, датчиков смещения и измерительных приборов. Регистрирующие устройства с гибкой связью подразделяют на: рамно-блочные; барабанные (фрикционные); рычажные; пружинные. Для жесткой и комбинированной связей регистрирующие устройства могут быть открытого и скрытого (трубчатого) типов.
Для станций, расположенных на поверхности или в достаточно широких выработках, в малопосещаемых местах, при возможности надежной изоляции части выработки предпочтительнее регистрирующее устройство рамно-блочного типа, состоящее из рамы (плоской, круглой, козловой), блоков, свободно посаженных на горизонтальных осях, натяжных грузов и отсчетных устройств.
На рис. 29 а, б, в приведены возможные варианты регистрирующего устройства с рамой козлового типа (разработка ВНИМИ). Стойки рамы 2, соединенные сваркой, бетонируют на глубину 0,3 - 0,5 м, а стяжки 1 закрепляют сваркой или хомутами. Ось 3 после насадки блоков 4 закрепляют на стойках хомутами. При большом числе реперов блоки могут располагаться на 2 - 3-осях. Блоки изготовляют из легких металлов, с малофрикционной втулкой (подшипником) и футеровкой канавки диаметром не менее 200 мм. Свободный конец проволоки связи перебрасывают через блок и к нему прикрепляют постоянный груз 6. На раме закреплен неподвижный индекс 5, а на проволоке - подвижный индекс 7. Вблизи рамы бетонируют контрольный репер 8.
Рис. 30. Типы регистрирующих устройств:
а, б - барабанные (а - с непосредственным измерением смещений, б - с дистанционным измерением смещений); в - рычажный с герметичным кожухом
Для оборудования нисходящих скважин с поверхности или из горных выработок применяют регистрирующие устройства барабанного или рычажного типов, приведенные на рис. 30.
Регистрирующее устройство, показанное на рис. 30, а, состоит из монтажного станка 1, жестко закрепленного в устье скважины, 4 - 6 блоков (барабанов) 4 с запасом проволоки, накрученной в один ряд. Блоки крепят на монтажных стойках 2, на которых закреплены также пружинные пластины 5 и тормозные диски 3. Усилие торможения блока регулируют гайкой 6. Замер смещений проводят любым прибором от фиксированной точки станка (фланца) до индекса на проволоке связи или по счетчику оборотов, устанавливаемому дополнительно. Для увеличения числа реперов в скважине применяют рамный станок, на котором барабаны закрепляют на нескольких осях.
Регистрирующее устройство, приведенное на рис. 30, б, отличается большей точностью отсчета (1 мм) и возможностью дистанционного наблюдения с помощью индукционного реостатного датчика 6, соединенного с барабаном приводом 7.
Регистрирующее устройство, показанное на рис. 30, в, применяют только для нисходящих скважин в условиях особенно агрессивной среды. Оно состоит из платформы 1 с конусным патрубком, 4 - 6 пирамидальных опор 2, на которые накладывают рычаги 6 с дисковыми противовесами 7. Замерные площадки рычагов 5 выполнены в форме сегментов шара с центром в точке закрепления связи 9. Платформа закрыта кожухом 8, через замерные окна 3 которого измеряют смещение реперов; окна перекрыты шторками 4.
В условиях ограниченного пространства, интенсивного движения людей и транспорта, необходимости скрытого расположения регистрирующих устройств применяют более компактные регистрирующие устройства пружинного типа. При разнообразии конструкций общим является то, что проволока связи крепится к пружине, которая выполняет роль натяжного устройства. На рис. 31 приведены различные конструкции регистрирующих устройств пружинного типа. Устройство, приведенное на рис. 31, а, применяют для неагрессивной среды. Оно состоит из платформы 8, стоек 6, жестко скрепленных с платформой, верхней 3 и опорной 1 плит, в отверстиях которых размещены штоки 4 с упорами 5. Между упорами штоков и плитой 1 располагают пружины 2, работающие на сжатие. Проволоку связи крепят к штоку. Замер смещений проводят между индексом на проволоке и фиксированной точкой платформы или с помощью индикаторов часового типа 7 с приставкой 9. В более сложных условиях применяют регистрирующее устройство с закрытой в гильзе пружиной [11].
Рис. 31. Типы регистрирующих устройств:
а - пружинное; б - поршневое; в - датчик поршневого устройства
Регистрирующее устройство, приведенное на рис. 31, б, применяют при необходимости скрыть его расположение и в условиях агрессивной среды. Датчики 1 монтируют в трубчатом корпусе регистрирующего устройства 2, закрепляемом в устье скважины. Датчик состоит из трубчатого кожуха 4 (см. рис. 31, в) с приваренными днищем 12 и крышкой 5, сквозь отверстия которых пропущен трубчатый шток 11 с жестко закрепленным поршнем 10. Поршень и крышка связаны пружиной 9, работающей на растяжение. Проволоку связи 14 крепят в верхней части штока посредством вкладыша 7. Кожух закрывают крышкой 6 с замерным окном 8. Замеряют смещения между плоскостью крышки и поршнем. В условиях особо агрессивной среды кожух датчика заполняют жидким маслом, а на днище навинчивают нижнюю заглушку 13 с сальником 3.
Регистрирующие устройства для жесткой связи разработки ВНИМИ приведены на рис. 32. Регистрирующее устройство (см. рис. 32, а) состоит из диска 2 с конусом 1, в которых просверлены отверстия 4 для пропуска штанг жесткой связи 5. Замеряют смещения концов штанг связи (реперов) относительно плоскости (фиксированной точки) диска. При необходимости платформу, перекрывают кожухом 3.
Рис 32. Типы регистрирующих устройств для нисходящих (а, б) и восходящих (в) скважин, оборудованных реперами с жесткой связью
Регистрирующее устройство (см. рис. 32, б) состоит из сварного трубчатого (по числу реперов) корпуса 1 с кожухом 2 с различной длиной труб, наружные торцы которых имеют пазы 3, позволяющие устанавливать в них движок штангенциркуля. Применяется для оборудования нисходящих скважин при ориентировании пружин 4 в разные стороны. Досылку регистрирующего устройства в устье скважины производят с применением насадки 5, которую сбивают после установки устройства на место с нижнего яруса пружин, освобождая их.
Регистрирующее устройство, показанное на рис. 32, в, аналогично устройству, представленному на рис. 32, б, с одинаковой направленностью пружин, но может быть применено при жесткой и комбинированной связях в восходящих скважинах. В этом же случае для агрессивной среды необходимо часть штанги связи, контактирующей с регистрирующим устройством, изолировать (лак, краска, изоляционная лента и др.).
Кроме перечисленных типов регистрирующих устройств для гибкой, жесткой и комбинированной связей применяют и другие, приведенные в специальной литературе, типы регистрирующих устройств.
Вспомогательное оборудование, приспособления, применяемые при закладке реперов
При закладке большинства типов реперов необходимо иметь комплект из 50 - 60 штанг с досыльниками, конструктивно соответствующими применяемому типу репера. Штанги изготовляют из труб легких сплавов диаметром 20 - 25 мм, длиной 1,0 - 1,5 м и соединяют резьбовыми втулками или муфтами.
Рис. 33. Вспомогательное оборудование при закладке реперов и производстве наблюдений:
а - зажим; б - дополнительный груз; в - динамометр
Для разматывания проволоки с бухты используют простейший барабан, вращающийся на вертикальной оси. Сбрасывание колец проволоки с бухты недопустимо. Закрепление свободных концов проволоки при закладке реперов и монтаже регистрирующего устройства проводят в зажиме (рис. 33, а). Крестообразный корпус 4 с петлей закрепляют на стенке выработки (станке и др.). Зажимные пластины 1 с резиновыми прокладками, имеющие прорези 2, закрепляют винтами 3. Каждую пластину маркируют номером. По мере закладки реперов проволоки связи заводят под пластину соответствующей маркировки и в натянутом (от руки) состоянии зажимают винтами. При монтаже регистрирующего устройства проволоки связи перекрепляют в аналогичные зажимы (на 3 - 4 проволоки), которые устанавливают на кондукторе (устье) скважины.
При контрольных замерах используют дополнительный груз (см. рис. 33, б) массой 10 - 20 кг или динамометр (см. рис. 33, в) с захватом из двух металлических пластин с зажимными винтами (верхняя пластина из мягкого металла). Основные грузы для регистрирующих устройств рамно-блочного типа изготовляют из листовой или круглой стали. Массу, грузов для неглубоких скважин (до 50 м) рекомендуется выбирать в зависимости от диаметра проволоки [14]:
|
d, мм |
0,5 |
0,8 |
1,0 |
1,2 |
|
G, кг |
3 |
5 |
8 |
12 |
Для более глубоких скважин применяют проволоку диаметром 1,0 - 2,5 мм, а масса постоянного груза должна на 7 - 10 кг превышать массу проволоки на участке репер - блок. Предварительное натяжение пружиной должно быть 60 - 120 Н.
Закладка реперов, оборудование наблюдательной станции
По окончании бурения скважины по геологическому описанию керна или характеру выхода шлама и буримости пород уточняют структурную колонку, наличие зон дробленых пород, тектонических нарушений, карстовых и других пустот, а также интенсивность трещиноватости и вносят необходимые изменения в проектное положение глубинных реперов и др. Закладку реперов проводят не позднее 2 - 3 дней по окончании бурения скважины. До начала непосредственной закладки реперов выполняется ряд подготовительных работ: устанавливают кондуктор; забуривают необходимые для монтажа регистрирующего устройства шпуры; устанавливают приспособление для разматывания проволоки; закрепляют зажимы; проводят частичный монтаж регистрирующего устройства, не мешающий закладке реперов; подготавливают бирки с номерами реперов; закладывают контрольный репер и т.д. В отверстии корпуса репера 8 - 10 витками вплотную вокруг проволоки связи закрепляют свободный конец проволоки.
Для возможности повторного использования штанг жесткой связи первое резьбовое соединение не штифтуют и обильно смазывают густой технической смазкой. При использовании досылочных штанг репер соединяют и скрепляют с досыльником. При плавной подаче репера в скважину последовательно наращивают досылочные штанги со штифтовкой резьбовых соединений (при необходимости) и подачей заранее размотанной с бухты и отрихтованной проволоки. При размещении бухты на свободно вращающемся барабане проволоку можно разматывать непосредственно с бухты. Положение репера относительно устья скважины (верхнего среза кондуктора) определяют числом штанг (досылочных или жесткой связи) или длиной смотанной проволоки. При досылке репера до места закрепления, определяемого с точностью ± 0,1 м, его закрепляют, отсоединяют досыльник и при его извлечении производят контрольный замер глубины закладки. Убедившись (натяжением от руки) в неподвижности репера; обрезают проволоку, оставляя запас 2 - 3 м, подвешивают к проволоке маркировочную бирку и закрепляют ее соответствующей пластиной в зажиме в натянутом состоянии.
Закладку последующих реперов производят аналогичным образом, при этом связи предыдущих реперов заводят внутрь корпуса закладываемого репера или размещают в специальных приспособлениях (петли, рамы и др.). В случае проворота репера вокруг его оси проволоку связи следует обвести вокруг связей других реперов в сторону проворота (определяют по прокручиванию досылочных штанг). При жесткой связи свободные концы штанг отпиливают после закладки всех реперов. При этом концы штанг располагают на разных уровнях от неподвижного индекса в пределах 3 - 5 см. После закладки всех реперов приступают к окончательному оборудованию регистрирующего устройства:
проволоки связи закрепляют в другом зажиме и устанавливают на кондукторе (устье);
окончательно монтируют раму, натяжное устройство, неподвижные индексы и т.д.;
маркируют натяжные устройства, если это не сделано заранее;
последовательно, аналогично креплению к корпусу, подсоединяют проволоки связи к натяжному устройству без перегибов на кондукторе и обеспечивают необходимое натяжение связей;
закрепляют подвижные индексы замера смещений реперов или стационарные измерительные приборы;
изменением нагрузок (от руки, вспомогательным грузом) проверяют работу системы по каждому реперу, следя, чтобы индексы (груз, блок) возвращались в исходное положение.
По окончании оборудования скважины для регистрирующих устройств рамно-блочного и пружинного типов следует определить величину хода системы, которая не будет фиксироваться измерительными приборами («мертвый» ход). Определяют ее следующим образом.
Пригрузив натяжную систему (можно от руки) и сняв нагрузку, замеряют положение подвижного индекса относительно неподвижного. Подъемом груза или ослаблением натяжения связи разгружают систему и, вновь пригрузив, замеряют второе положение подвижного индекса. Разность замеров характеризует инертность системы. Замеры выполняют два - три раза и среднее значение «мертвого» хода системы заносят в карточку станции и используют при оценке точности наблюдений. При закладке реперов с жесткой связью следует придерживаться следующего порядка:
последовательно закладывают все реперы;
к последней штанге каждого репера крепят маркировочную бирку через сквозное отверстие;
маркируют трубы (отверстия) регистрирующего устройства и заводят в них концы соответствующих штанг;
окончательно закрепляют регистрирующее устройство и защитный кожух (при необходимости).
Проведение наблюдений
Исходные наблюдения проводят через 2 - 3 дня после закладки глубинных реперов, они включают две независимые серии наблюдений. Каждая серия состоит из: высотной привязки контрольного репера; замера расстояния между контрольным репером и регистрирующим устройством (неподвижным индексом); определения положения подвижного индекса относительно неподвижного.
При соосном расположении скважин измеряют расстояния между неподвижными индексами восходящей и нисходящей скважин.
За исходные данные принимают среднеарифметические значения измеренных величин. На станциях, оборудованных реперами с проволочной связью, для повышения точности результатов измерений и контроля за возможным зажимом проволок в скважине каждое наблюдение проводят при двух различных натяжениях проволок. Постоянство значения удлинения проволоки за счет дополнительного натяжения в процессе наблюдений - определенная гарантия того, что между глубинным репером и точкой измерения не произошло защемления проволоки. В случае изменения этого значения приблизительное место защемления проволоки можно определить по формуле
![]()
где HR - расстояние до глубинного репера; Dl0 - удлинение проволоки в начальной серии наблюдений; Dli - то же в последующих сериях наблюдений.
Значение удлинения проволоки в начальной серии наблюдений может быть проконтролировано следующим вычислением:
![]()
где DР - приращение нагрузки; Е - модуль упругости материала проволоки; S - площадь поперечного сечения проволоки.
Результаты наблюдений по станциям глубинных реперов записывают в полевой журнал. При получении результатов замеров, вызывающих сомнение, следует повторить наблюдение не позже, чем через 2 - 3 дня. Обработку результатов наблюдений проводят в специальном журнале. Перемещение репера вдоль оси скважины вычисляют как сумму перемещений неподвижного индекса вдоль оси скважины и подвижного индекса относительно неподвижного. По вычисленным перемещениям каждого репера в скважине вычисляют абсолютные и относительные деформации интервалов между реперами, скорости смещений и деформаций. Полученные данные используют в дальнейшем для определения характерных зон сдвижения горных пород и определения параметров процесса сдвижения.
ОБРАЗЦЫ ЖУРНАЛОВ НАТУРНЫХ НАБЛЮДЕНИЯ И ВЕДОМОСТЕЙ ОБРАБОТКИ РЕЗУЛЬТАТОВ
Журнал нивелирования при взятии отсчетов по шашечной рейке (с ценой деления 1 см)
|
Инструмент Koni-025, рейка шашечная |
Наблюдатель И.А. Подмошенская, Г.П. Лукин |
|
Место работы Иртышский рудник, профильная линия 2 |
Дата 14 июля 1985 г. |
|
№ репера |
Отсчеты по рейке |
Превышения |
Превышения средние |
Отметка (абсолютная или условная), м |
Примечания и эскизы |
||||
|
задний |
промежуточный |
передний |
+ |
- |
+ |
- |
|||
|
1 |
2264 |
480,160 |
|
||||||
|
6947 |
|||||||||
|
2 |
2299 |
35 |
35 |
408,125 |
|||||
|
6982 |
35 |
||||||||
|
3 |
1185 |
1114 |
1114 |
409,239 |
|||||
|
5868 |
1114 |
||||||||
|
3 |
2188 |
||||||||
|
6871 |
|||||||||
|
4 |
1295 |
893 |
893 |
410,132 |
|||||
|
5978 |
893 |
||||||||
|
5 |
0773 |
522 |
|||||||
|
5457 |
521 |
522 |
410,654 |
||||||
Журнал нивелирования при взятии отсчетов по штриховой рейке (с ценой деления 0,5 см)
|
Инструмент Koni-025, рейка штриховая |
Наблюдатель В.А. Внуков, С.Н. Зеленцов |
|
Место работы шахта «Новая», профильная линия 1 |
Дата 10 мая 1985 г. |
|
№ репера |
Отсчеты по рейке |
Превышения |
Превышения средние |
Отметка (абсолютная или условная), м |
Примечания и эскизы |
||||
|
задний |
промежуточный |
передний |
+ |
- |
+ |
- |
|||
|
1 |
4745 |
364,168 |
|||||||
|
10670 |
|||||||||
|
2 |
2174 |
2571 |
1285 |
365,453 |
|||||
|
8099 |
2571 |
||||||||
|
3 |
2495 |
321 |
160 |
365,293 |
|||||
|
8420 |
321 |
||||||||
|
4 |
2495 |
0030 |
0015 |
365,308 |
|||||
|
8390 |
0030 |
||||||||
Журнал измерения длин
|
Наблюдательная станция шахта «Новая» |
|
Профильная линия 3 |
|
Наблюдатель Ю.А. Антонов, В.М. Тяпин |
|
Дата 05 июня 1985 г. Рулетка РВ-30 № 26 |
|
Интервал |
Температура, °С |
Отсчеты |
Длина, м |
Примечания и эскизы |
||
|
задний, м |
передний, мм |
измеренная |
средняя |
|||
|
Прямой ход |
||||||
|
1 - 2 |
15 |
21,987 |
28 |
21,959 |
||
|
981 |
22 |
959 |
21,959 |
|||
|
997 |
38 |
959 |
||||
|
2 - 3 |
15 |
20,063 |
20 |
20,043 |
||
|
070 |
26 |
044 |
20,043 |
|||
|
078 |
35 |
043 |
||||
|
3 - 4 |
16 |
19,917 |
21 |
19,896 |
||
|
924 |
28 |
896 |
19,896 |
|||
|
927 |
32 |
895 |
||||
|
Обратный ход |
||||||
|
4 - 3 |
16 |
19,914 |
17 |
19,897 |
||
|
922 |
25 |
897 |
19,897 |
|||
|
916 |
29 |
897 |
||||
|
3 - 2 |
16 |
20,093 |
50 |
20,043 |
||
|
088 |
44 |
044 |
20,043 |
|||
|
082 |
40 |
042 |
||||
|
2 - 1 |
16 |
21,978 |
20 |
21,958 |
||
|
992 |
34 |
958 |
21,957 |
|||
|
998 |
42 |
956 |
||||
Журнал обработки длин
|
Наблюдательная станция шахта «Новая» |
Профильная линия 3 |
|
Дата 05 июня 1985 г. |
Рулетка РВ-30 № 26 |
|
Интервал |
Средняя измеренная длина, м |
Превышения, м |
Разность температур t - tк, °С |
Поправки, мм |
Сумма поправок, мм |
Приведенная длина, мм |
Расстояние от опорного репера, м |
||
|
за наклон |
за температуру |
за компарирование |
|||||||
|
1 - 2 |
21,959 |
0,325 |
-5 |
-2,4 |
-1,3 |
-0,3 |
-3,4 |
21,956 |
116,592 |
|
2 - 3 |
20,043 |
0,640 |
-5 |
-10,2 |
-1,2 |
+0,2 |
-11,2 |
20,032 |
94,636 |
|
3 - 4 |
19,896 |
0,481 |
-4 |
-5,8 |
-0,9 |
+0,1 |
-6,6 |
19,889 |
74,604 |
|
4 - 5 |
22,068 |
0,501 |
4 |
-5,7 |
-1,0 |
+0,3 |
-6,4 |
22,062 |
54,715 |
|
5 - 6 |
17,728 |
1,905 |
-4 |
-102,4 |
-0,8 |
-0,2 |
-103,4 |
17,625 |
32,653 |
|
6 - 7 |
15,050 |
0,792 |
-4 |
-20,8 |
-0,7 |
-0,4 |
-21,9 |
15,028 |
15,028 |
Журнал измерения элементов трещиноватости
|
№ п/п |
Место замера |
Горная порода |
Элементы залегания напластования, градус |
Элементы залегания трещин, градус |
Расстояние между трещинами, м |
Длина трещин, м |
Ширина трещин, мм |
Характеристика поверхности стенок и заполнителя |
Примечания и эскизы |
||
|
А |
d |
А |
d |
||||||||
|
1 |
Штрек 5 ПК 10 + 2 |
Углистые сланцы |
162 |
70 |
0,5 - 3,0 |
Контакты выражены нечетко |
|
||||
|
2 |
ПК 10 + 5 |
То же |
160 |
72 |
0,5 - 3,0 |
||||||
|
3 |
ПК 11 |
» |
160 |
74 |
0,5 - 3,0 |
- |
|||||
|
4 |
ПК 11+3 |
» |
162 |
71 |
0,5 - 3,0 |
||||||
|
ПК 10+7 |
Тектоническая трещина |
97 |
45 |
Пересекает выработку |
Зона дробления до 1,5 м |
Полость трещины (10 - 15 мм) заполнена глинкой трения |
|||||
|
1 |
Штрек 5, ПК 10+5 |
Углистые сланцы |
140 |
57 |
0,3 - 0,5 |
0,3 - 0,8 |
1 - 2 |
Ровная, шероховатая |
|||
|
2 |
» |
То же |
50 |
62 |
0,2 - 0,4 |
0,3 - 0,8 |
1 - 2 |
||||
|
3 |
» |
» |
214 |
50 |
0,1 - 0,2 |
0,3 - 0,5 |
< 1 |
||||
|
4 |
» |
» |
316 |
41 |
0,2 - 0,5 |
0,5 - 3,0 |
2 - 5 |
||||
Ведомость вертикальных сдвижений (оседаний) реперов
Наблюдательная станция шахта «Новая», профильная линия 3
|
№ репера |
1-е наблюдение, м (17.04.83) |
2-е наблюдение, м (08.08.83) |
1 - 2, мм |
3-е наблюдение, м (26.04.84) |
2 - 3, мм |
1 - 3, мм |
4-е наблюдение, м (17.09.84) |
3 - 4, мм |
1 - 4, мм |
5-е наблюдение, м (30.05.85) |
4 - 5, мм |
1 - 5, мм |
Примечания |
|
1 |
365,788 |
365,714 |
74 |
365,213 |
501 |
575 |
365,018 |
195 |
770 |
364,868 |
150 |
920 |
|
|
2 |
366,073 |
366,014 |
59 |
365,521 |
493 |
552 |
365,328 |
193 |
745 |
365,193 |
135 |
880 |
|
|
3 |
366,223 |
366,186 |
37 |
366,029 |
157 |
194 |
365,917 |
112 |
306 |
365,833 |
84 |
390 |
|
|
4 |
366,651 |
366,620 |
31 |
366,473 |
147 |
178 |
366,385 |
88 |
266 |
366,314 |
71 |
337 |
|
|
5 |
367,113 |
367,086 |
27 |
366,961 |
125 |
152 |
366,879 |
82 |
234 |
366,815 |
64 |
298 |
|
|
6 |
368,738 |
368,737 |
1 |
368,734 |
3 |
4 |
368,729 |
5 |
9 |
368,720 |
9 |
18 |
|
|
7 |
369,523 |
369,523 |
0 |
369,522 |
1 |
1 |
369,519 |
3 |
4 |
369,512 |
7 |
11 |
Ведомость вертикальных деформаций интервалов между реперами
Наблюдательная станция шахта «Новая», профильная линия 3
|
№ репера |
Длина интервала, м |
1 - 2 наблюдения (04.83 - 08.83) |
1 - 3 наблюдения (04.83 - 05.84) |
|
||||||||
|
Dh, мм |
i×10-3 |
Di×10-3 |
k×10-3, 1/м |
R, км |
Dh, мм |
i×10-3 |
Di×10-3 |
k×10-3, 1/м |
R, км |
Примечания |
||
|
1 |
21,883 |
15 |
+0,69 |
23 |
+1,05 |
|||||||
|
2 |
-0,43 |
-0,02 |
-50 |
-17,24 |
-0,83 |
-1,2 |
||||||
|
19,577 |
22 |
+1,12 |
358 |
+18,29 |
||||||||
|
3 |
+0,82 |
+0,04 |
+25 |
+17,48 |
+0,89 |
+1,1 |
||||||
|
19,829 |
6 |
+0,30 |
16 |
+0,81 |
||||||||
|
4 |
+0,12 |
+0,01 |
+100 |
-0,37 |
-0,02 |
-50 |
||||||
|
21,978 |
4 |
+0,18 |
26 |
+1,18 |
||||||||
|
5 |
-1,31 |
-0,07 |
-14,3 |
-7,28 |
-0,37 |
-2,7 |
||||||
|
17,495 |
26 |
+1,49 |
148 |
+8,46 |
||||||||
|
6 |
+1,42 |
+0,09 |
+11,1 |
+8,26 |
+0,51 |
+2,0 |
||||||
|
15,023 |
1 |
+0,07 |
3 |
+0,20 |
||||||||
|
7 |
||||||||||||
Ведомость горизонтальных деформаций интервалов между реперами
Наблюдательная станция шахта «Новая»
|
№ профильной линии |
№ интервала |
1-е наблюдение, м (04.83) |
2-е наблюдение, м (08.83) |
2 - 1, мм |
Деформация e×103 |
3-е наблюдение, м (05.84) |
3 - 1, мм |
Деформация e×103 |
4-е наблюдение, м (09.84) |
4 - 1, мм |
Деформация e×103 |
5-е наблюдение, м (06/85) |
5 - 1, мм |
Деформация |
Примечания |
|
3 |
1 - 2 |
21,883 |
21,896 |
+13 |
+0,6 |
21,929 |
+46 |
+2,1 |
21,943 |
+60 |
+2,7 |
21,956 |
+73 |
+3,3 |
|
|
2 - 3 |
19,577 |
19,627 |
+50 |
+2,6 |
19,887 |
+310 |
+15,8 |
19,967 |
+390 |
+19,9 |
20,032 |
+455 |
+23,2 |
||
|
3 - 4 |
19,829 |
19,840 |
+11 |
+0,6 |
19,867 |
+38 |
+1,9 |
19,877 |
+48 |
+2,4 |
19,889 |
+60 |
+3,0 |
||
|
4 - 5 |
21,978 |
21,988 |
+ 10 |
+0,5 |
22,031 |
+53 |
+2,4 |
22,046 |
+68 |
+3,1 |
22,062 |
+84 |
+3,8 |
||
|
5 - 6 |
17,495 |
17,510 |
+15 |
+0,9 |
17,580 |
+85 |
+4,9 |
17,602 |
+107 |
+6,1 |
17,625 |
+130 |
+7,4 |
||
|
6 - 7 |
15,023 |
15,023 |
0 |
0 |
15,026 |
+3 |
+0,2 |
15,027 |
+4 |
+0,3 |
15,028 |
+5 |
+0,3 |
Ведомость горизонтальных сдвижений реперов
Наблюдательная станция шахта «Новая»
|
№ профильной линии |
№ репера |
1-е наблюдение, м (04.83) |
2-е наблюдение, м (08.83) |
2 - 1, мм |
3-е наблюдение, м (05.84) |
3 - 2, мм |
3 - 1, мм |
4-е наблюдение, м (09.84) |
4 - 3, мм |
4 - 1, мм |
5-е наблюдение, м (06.85) |
5 - 4, мм |
5 - 1, мм |
Примечания |
|
3 |
1 |
155,785 |
115,884 |
99 |
116,320 |
436 |
535 |
116,462 |
142 |
677 |
116,592 |
130 |
807 |
|
|
2 |
93,902 |
93,988 |
86 |
94,391 |
403 |
489 |
94.519 |
128 |
617 |
94,636 |
117 |
734 |
||
|
3 |
74,325 |
74,361 |
36 |
74,504 |
143 |
179 |
74,522 |
18 |
197 |
74,604 |
82 |
279 |
||
|
4 |
54,496 |
54,521 |
25 |
54,637 |
116 |
141 |
54,675 |
38 |
179 |
54,715 |
40 |
219 |
||
|
5 |
32,518 |
32,533 |
15 |
32,606 |
73 |
88 |
32,629 |
23 |
111 |
32,653 |
24 |
135 |
||
|
6 |
15,023 |
15,023 |
0 |
15,026 |
3 |
3 |
15.027 |
1 |
4 |
15,028 |
1 |
5 |
||
|
7 |
МЕТОДИКА ПРОВЕДЕНИЯ, ОБРАБОТКА И ИСПОЛЬЗОВАНИЕ ВИЗУАЛЬНЫХ НАБЛЮДЕНИЙ
Визуальные наблюдения - составная часть натурных наблюдений за сдвижением толщи горных пород и земной поверхности, а также деформированием охраняемых объектов при подземной разработке рудных месторождений. Они дополняют необходимыми сведениями инструментальные наблюдения, создавая общее представление о развитии процесса сдвижения на месторождении или отдельных его участках. Визуальные наблюдения позволяют определить:
границы зон обрушения и трещин на земной поверхности;
характер и степень повреждения подрабатываемых зданий и сооружений;
границы и характер расслоения пород кровли, почвы и боков подземных горных выработок, степень разрушения целиков и крепи, изменения формы и размеров поперечного сечения выработок.
При визуальных наблюдениях используют простейшие измерительные инструменты и приборы - линейку, рулетку и компас. Результаты наблюдений записывают в полевой журнал, в котором отмечают дату наблюдения, объект наблюдения, характер нарушений и их размеры, привязку места осмотра. Визуальные наблюдения должны сопровождаться зарисовками или фотоснимками наиболее характерных явлений. Фотоснимкам необходимо дать масштаб при помощи какого-либо базиса, помещенного на снимаемом объекте, - марки, рейки, линейки и др. По результатам наблюдений на план поверхности наносят границы зон обрушения и трещин, а на характерных разрезах определяют углы воронкообразования, обрушения или разрыва.
Ведомость скоростей вертикальных сдвижений
Наблюдательная станция шахта «Новая»
|
№ профильной линии |
№ репера |
1-е наблюдение, м (17.04.83) |
2-е наблюдение, м (08.08.83) |
1 - 2, мм |
V, мм/мес |
3-е наблюдение, м (26.04.84) |
2 - 3, мм |
V, мм/мес |
4-е наблюдение, м (17.09.84) |
3 - 4, мм |
V, мм/мес |
5-е наблюдение, м (30.05.85) |
4 - 5, мм |
V, мм/мес |
Примечание |
|
3 |
1 |
365,788 |
365,714 |
74 |
20,0 |
365,213 |
501 |
58,3 |
365,018 |
195 |
41,5 |
364,869 |
150 |
17,9 |
|
|
2 |
366,073 |
366,014 |
59 |
15,9 |
365,521 |
493 |
57,3 |
365,328 |
193 |
41,1 |
365,193 |
135 |
16,1 |
||
|
3 |
366,223 |
366,186 |
37 |
10,0 |
366,029 |
157 |
18,3 |
365,917 |
112 |
23,8 |
365,833 |
84 |
10,0 |
||
|
4 |
366,651 |
366,620 |
31 |
8,4 |
366,473 |
147 |
17,1 |
366,385 |
88 |
18,7 |
366,314 |
71 |
8,5 |
||
|
5 |
367,113 |
367,086 |
27 |
7,3 |
366,961 |
125 |
14,5 |
366,879 |
82 |
17,4 |
366,815 |
64 |
7,6 |
||
|
6 |
368,738 |
368,737 |
1 |
0,3 |
368,734 |
3 |
0,3 |
368,729 |
5 |
1,1 |
368,720 |
9 |
1,1 |
||
|
7 |
369,523 |
369,523 |
0 |
0 |
369,522 |
1 |
0,1 |
369,519 |
3 |
0,6 |
369,512 |
7 |
0,8 |
Таблица VI
|
Вид повреждения или дефекта |
Степень опасности |
Необходимые меры |
|
|
Участки кирпичных стен и столбы |
Смещение по горизонтальному шву, горизонтальные, редко расположенные трещины, редкие вертикальные или слегка наклоненные трещины с максимальным раскрытием до 3 мм |
Несущая способность составляет 70 - 80 % от неповрежденной. Опасно только для сильно нагруженных несущих столбов |
Постановка временных деревянных или металлических креплений |
|
Наклонные, редко расположенные трещины (не более одной на простенок или в пределах этажа) при наклоне к горизонту около 45° |
Несущая способность 30 - 40 % от неповрежденной |
В случае опасности аварийных обрушений выселение людей и прекращение эксплуатации части здания (сооружения) |
|
|
Кладка, потерявшая монолитность, трещины в опорных частях балочных несущих конструкций |
Опасно |
После окончания процесса сдвижения ремонт с заделкой трещин, постановкой крепления, хомутов, обойм и т.д. |
|
|
Сборные балочные перекрытия (плиты, балки, фермы) |
Участок опоры конструкции балок 200 - 250 мм |
Опасно только для балок и ферм пролетом свыше 9 м |
1. Постановка страховочных временных креплений |
|
Участок опоры конструкции балок 150 - 200 мм |
Опасно для балок пролетом свыше 6 м |
2. Увеличение участка опирания конструкции |
|
|
Участок опоры конструкции 100 - 150 мм |
Опасно для балок пролетом свыше 3 м |
3. В случае повышенной опасности прекращение эксплуатации части здания (сооружения) |
|
|
Участок опоры конструкции менее 100 мм |
Опасно для всех видов конструкций |
||
|
Железобетонные конструкции |
Отдельные трещины 0,3 - 0,5 мм |
Не опасно |
- |
|
Система трещин более 0,5 мм, разрыв рабочей арматуры, откол защитного слоя и выпучивание арматуры, сквозные трещины раскрытием более 2 - 3 мм |
Опасно |
1. Консультация специализированных организаций. 2. Постановка временных креплений. 3. Прекращение эксплуатации части здания (сооружения) |
|
|
Металлические элементы конструкций |
Выпучивание стенок, полок, поясов. Разрыв сварки, трещины в поясах и фасонках |
Опасно |
То же, что и для железобетонных конструкций |
Для подрабатываемых зданий и сооружений в специальном журнале или на отдельных карточках записывают начало подработки, характер и степень имеющихся повреждений. Ориентировочная степень опасности повреждений конструкций приведена в табл. VI.
По подземным профильным линиям, а также по всем выработкам, где проводились визуальные наблюдения, условными знаками наносят участки деформации пород и крепи. Различают следующие качественные степени нарушенности выработок:
I. Безопасная - влияние очистных работ проявляется в незначительном растрескивании и отскоке набрызг бетона, появлении различно ориентированных трещин в бетоне с раскрытием до 2 мм В выработках, закрепленных другими типами крепи, видимых деформаций не наблюдается.
II. Допустимая - нарушенность выработки выражается в локальных поломках крепи или отслоениях пород на глубину 100 - 200 мм, раскрытии трещин в боках и кровле до 5 мм. Поломки крепи легко устраняются кратковременным ремонтом.
III. Предельная - нарушенность выработки, проявляется в значительной поломке крепи, деформации сечения выработки на большом протяжении, локальных вывалах пород кровли, раскрытии трещин в боках выработки до 10 мм. Эксплуатация выработки возможна только после проведения ремонтных работ значительного объема.
IV. Недопустимая - сплошное заколообразование, значительные вывалы пород кровли выработки. Эксплуатация выработки возможна только после окончания интенсивного сдвижения пород и полного перекрепления выработки.
Визуальные наблюдения должны, как правило, сопровождать инструментальные наблюдения, что позволяет видимые признаки деформации охарактеризовать численными значениями сдвижений и деформаций горных пород. Частота проведения визуальных наблюдений зависит от интенсивности развития процесса сдвижения на месторождении и ответственности (важности) объектов наблюдения.
СОДЕРЖАНИЕ ГОДОВОГО ОТЧЕТА О РАБОТАХ ПО НАБЛЮДЕНИЯМ ЗА СДВИЖЕНИЕМ ГОРНЫХ ПОРОД И ЗЕМНОЙ ПОВЕРХНОСТИ
I. Введение
1. Обоснование необходимости проведения работ, дата заключения договора и его срок, номер приказа ответственного лица.
2. Оценка современного состояния изученности вопроса сдвижения горных пород и земной поверхности по результатам работ прошлых лет, целевая установка работ.
3. Задачи, которые необходимо решить по результатам наблюдений.
4. Список лиц с указанием характера и объема выполненной ими работы по наблюдениям.
II. ГОРНО-ГЕОЛОГИЧЕСКАЯ ХАРАКТЕРИСТИКА МЕСТОРОЖДЕНИЯ
1. Форма, параметры, условия залегания залежи.
2. Геологическое строение района месторождения (разрезы по простиранию и вкрест простирания); краткое описание литологических разностей пород; мощность, строение и характеристика наносов и зоны выветрелых пород; гидрогеология участка.
3. Физико-механические свойства пород, трещиноватость, тектоническая нарушенность вмещающих пород по данным геологической разведки и специальных исследований.
4. Система разработки, ее параметры, схема отработки запасов месторождения, параметры подработки и другие вопросы, касающиеся отработки месторождения и управления кровлей.
Рис. 34. Вертикальный разрез по профильной линии (б) и графики сдвижений (а)
Рис. 35. План наблюдательной станции:
1 - контур рудного тела; 2 - отработанная часть рудного тела; 3 - граница зоны опасных сдвижений, 4 - рабочий репер, 5 - опорный репер; 6 - исходный репер; 7 - граница предохранительного целика на горизонте + 600 м
III. Закладка наблюдательных станций, методика наблюдений
1. Выбор места закладки профильных линий на земной поверхности, подземных и специальных наблюдательных станциях и краткое их описание.
2. Тип реперов, интервалы их закладки.
3. Принятая методика наблюдений.
4. Оценка точности инструментальных наблюдений.
IV. Результаты наблюдений
1. Результаты инструментальных наблюдений в толще и на земной поверхности с графиками сдвижений и деформаций (рис. 34) по всем или наиболее характерным профильным линиям и станциям.
2. Описание развития процесса сдвижения в толще и на земной поверхности с графиками и чертежами (рис. 35) (развитие зон в мульде сдвижения, величины сдвижений и деформаций и их распределение в мульде сдвижения, углы сдвижения, влияние тектоники и трещиноватости на развитие процесса сдвижения, связь развития сдвижения с развитием горных работ и т.д.).
3. Результаты визуальных наблюдений.
4. Результаты изучения трещиноватости и физико-механических свойств вмещающих пород.
V. Заключение
Краткие выводы по результатам выполненной работы:
общая характеристика развития процесса сдвижения на месторождении или его участке;
принятые параметры процесса сдвижения;
рекомендации по мерам охраны зданий, сооружений и горных выработок;
задачи дальнейших наблюдений и рекомендации по развитию сети наблюдательных станций на месторождении.
VI. Приложения
1. Ведомости сдвижений и деформаций.
2. Другие вспомогательные материалы (акты, справки, протоколы, описания аппаратуры, приборов наблюдения и т.д.).
Годовой отчет составляет главный маркшейдер рудника или руководитель группы наблюдения за сдвижением. Первый и заключительный отчеты должны содержать наиболее полные сведения о геологии месторождения, развитии горных работ, составе наблюдательных станций, методике наблюдений и др. В промежуточных отчетах подробно указывают состояние горных работ и результаты наблюдений в принятой форме.
Отчеты должны находиться на бессрочном хранении на руднике или в комбинате и могут быть высланы специализированным организациям во временное пользование для решения вопросов сдвижения и охраны объектов (составление указаний и. правил охраны, рекомендаций по ведению очистных работ в пределах предохранительных зон) и других вопросов горного дела.
ОБРАБОТКА РЕЗУЛЬТАТОВ НАБЛЮДЕНИЙ ЗА СДВИЖЕНИЕМ ГОРНЫХ
ПОРОД И ЗЕМНОЙ ПОВЕРХНОСТИ НА ПРОГРАММИРУЕМЫХ МИКРОКАЛЬКУЛЯТОРАХ ТИПА
ЭЛЕКТРОНИКА МК-61, ЭЛЕКТРОНИКА Б3-34
(разработка ВНИМИ, В. М. Тяпин)
При составлении программ использована символика
микрокалькулятора Электроника МК-61. Для вычислений на микрокалькуляторах типа
Б3-34 необходимо изменить в программах следующие символы: Х ® П на П; П ® Х на ИП; « на
; а на А; b на В; с на С; d
на D; В на ¯.
При вводе программы справа на
индикаторе автоматически высвечиваются порядковый номер очередной команды и
коды последних трех команд. Проверить правильность ввода команды можно,
используя в таблицах графу «Код». Если высвечивается неправильный код, то
следует нажать на клавишу
и после
этого ввести требуемую команду. Двухшаговые команды, например БП 08, набранные
ошибочно, заменяются новыми полностью, т.е. нужно дважды нажать на клавишу
и повторно ввести оба оператора.
При ошибочно нажатой префиксной клавише F сброс ее действия осуществляют нажатием клавиши CF. Счет нужно начинать только после
проверки правильности работы программы по контрольным примерам.
1. Программа вычисления горизонтальных проложений длин интервалов между реперами
Программа позволяет автоматизировать вычисление горизонтальных проложений между реперами профильных линий. В алгоритме вычисления предусмотрено введение в измеренную длину трех поправок: за компарирование, за температуру и за наклон. Поправку за компарирование вводят как исходную величину, две другие поправки вычисляют и вводят в измеренную длину автоматически в ходе выполнения программы. В программе принят коэффициент линейного расширения a = 2,05×10-5, соответствующий рулеткам со стальным нержавеющим полотном и температура компарирования +20 °С. Если измерения проводили рулеткой с коэффициентом линейного расширения, равным 1,15×10-5 (ржавеющее полотно), то в программе по адресам 22 и 23 следует поставить цифру 1. Аналогично поступают в том случае, если температура компарирования рулетки не соответствует принятой в программе. Для этого в программе по адресам 19 и 20 ставят нужное число.
Инструкция оператору по вводу и пуску программы.
1. Установить режим программирования, нажав клавиши В/О, F, ПРГ.
2. Ввести программу (табл. VII).
3. Перейти в режим вычислений и очистить программный указатель F, АВТ, В/О.
4. Ввести исходные данные в следующем порядке - l, t, Dlк, Н1, H2 завершая ввод каждого числа нажатием на клавишу С/П: l, С/П; t, С/П; Dlк, С/П; H1, С/П; Н2, С/П.
После того как будет введена последняя исходная величина H2 и нажата клавиша С/П, калькулятор приступит к вычислению горизонтального проложения, значение которого появится на индикаторе примерно через 8 с.
5. Для вычисления горизонтального проложения следующего интервала повторить ввод исходных данных.
Образец журнала вычислений, последовательность ввода исходных данных и контрольные примеры даны в табл. VIII.
Таблица VII

Таблица VIII
|
|
|
|
Исходные данные |
||||||||
|
№ |
Коэффициент линейного расширения a |
tк, °С |
Дата наблюдения |
Профильная линия |
Интервал |
Измеренная длина l, м |
Температура t, °С |
Поправка за компарирование Dlк, м |
Высотные отметки концов интервалов, м |
Горизонтальное приложение d, м |
|
|
H1 |
Н2 |
|
|||||||||
|
1 |
2,05×10-5 |
+20 |
20.11.85. |
(1) |
(2) |
(3) |
(4) |
(5) |
|||
|
3 |
1 - 2 |
22,068 |
-10 |
+0,0013 |
250,630 |
250,126 |
22,050 |
||||
|
3 |
2 - 3 |
17,728 |
-10 |
+0,0008 |
250,126 |
251,080 |
17,693 |
||||
|
3 |
3 - 4 |
20,135 |
-9 |
+0,0012 |
251,080 |
251,340 |
20,123 |
||||
Примечание. В скобках показан порядок ввода исходных данных.
2. Программа вычисления вертикальных и горизонтальных деформаций и сдвижений
Программа позволяет проводить одновременное вычисление основных величин деформаций и сдвижений горных пород и земной поверхности по оседаниям реперов и расстояниям между ними. Для получения правильных по знакам значений величин наклона и кривизны возрастание номеров реперов должно идти в сторону, обратную простиранию залежи, для профильных линий, расположенных по простиранию, и в сторону направления падения залежи для профильных линий, расположенных вкрест простирания. За направление простирания залежи принимают направление, относительно которого линия падения располагается справа. Программа составлена так, что в результате ее применения на микрокалькуляторе получаем величины i (наклон), k (кривизна), e (горизонтальная деформация) и x (горизонтальное сдвижение) в порядке, указанном в правой части табл. IХ. Счет начинают с конца профильной линии, т.е. с реперов с большими номерами. Горизонтальные сдвижения реперов рассчитывают относительно репера с большим номером. Порядок ввода исходных данных показан в табл. IХ в скобках.
Инструкция оператору по вводу и пуску программы
1. Установить режим программирования, нажав клавиши В/О, F, ПРГ.
2. Ввести программу (табл. Х).
Таблица IX
|
№ профильной линии |
№ репера |
Исходные данные (1 - 2 наблюдения, дата) |
Результаты вычисления |
|||||
|
Исходная длина интервала l0, м |
Длина интервала l, м |
Оседание h, мм |
Наклон e×103 |
Кривизна k×103, 1/м |
Горизонтальная деформация e×103 |
Горизонтальное сдвижение x, мм |
||
|
1 |
(14) 10,474 |
(15) 11,576 |
(16) 1116 |
19 |
17 |
18 |
||
|
2 |
(13) 567 |
16 |
14 |
|||||
|
(11) 15,728 |
(12) 16,160 |
15 |
13 |
|||||
|
3 |
(10) 394 |
12 |
10 |
|||||
|
1 |
(8) 12,922 |
(9) 12,978 |
11 |
9 |
||||
|
4 |
(3) 245 |
8 |
6 |
|||||
|
(1) 20,465 |
(2) 20,665 |
7 |
5 |
|||||
|
5 |
188 (4) |
4 |
2 |
|||||
|
20,215 (7) |
20,223 (6) |
3 |
1 |
|||||
|
6 |
10 (5) |
|||||||
Таблица X

3. Перейти в режим вычислений и очистить программный указатель F, АВТ, В/О.
4. Ввести 103 ВП 99, ВП В ↑ Х ® П 1.
При выполнении этой операции после набора 103 ВП 99 на индикаторе появится сигнал ошибки ЕRRОR. Следует продолжить ВП В ↑, на индикаторе высветится сигнал ЕОЗ, его направляют в первый регистр памяти.
5. Ввести первые семь исходных данных в порядке, указанном в табл. IХ в скобках под номерами 1 - 7, завершая ввод каждого числа нажатием на клавишу С/П: l0(5 - 4), С/П; l5 - 4, С/П; h4, С/П; h5, С/П; h6, С/П; l6 - 5, С/П; l0(6 - 5), С/П.
После введения в калькулятор седьмой исходной величины l0(6 - 5) и нажатия клавиши С/П калькулятор приступит к вычислениям искомых величин.
6. Вывод данных: после первого останова на индикаторе высветится величина горизонтальной деформации интервала 6 - 5. Записываем это число в таблицу вычислений на место, показанное номером 1 (см. табл. IХ). Снова пускаем калькулятор, нажав клавишу С/П. После следующего останова на индикаторе появится величина горизонтального сдвижения предпоследнего репера (в нашем случае репера 5). Записываем это число в таблицу на место, обозначенное номером 2, и продолжаем таким образом до получения величины наклона интервала 5 - 4, обозначенной в правой части таблицы номером 7. Числа появляются на индикаторе через 2 - 7 с после каждого пуска калькулятора. После очередного нажатия на клавишу С/П на индикаторе появится сигнал ЕОЗ, который означает, что для продолжения счета необходимо ввести в калькулятор следующие три исходных числа (они показаны в табл. IХ цифрами 8, 9 и 10 в скобках). Вводим их в калькулятор, фиксируя каждое число нажатием на клавишу С/П. Введя последнее из трех чисел и нажав на клавишу С/П, получают поочередно значения следующих четырех искомых величин. Они обозначены в табл. IХ номерами 8, 9, 10, 11. Записывают их в таблицу. Так продолжают счет до полной обработки профильной линии, вводя каждый раз при появлении на индикаторе сигнала ЕОЗ следующие по порядку три исходные величины.
7. Если совершена ошибка при вводе исходных данных в начале обработки профильной линии, то необходимо нажать на клавиши Сх и В/О и повторно ввести первые семь исходных данных согласно п. 5. Если сбой произошел в середине обработки профильной линии, то следует «прогнать» программу до появления на индикаторе сигнала ЕОЗ и вручную ввести в память калькулятора необходимые для продолжения с места сбоя данные: l предыдущего (до сбоя) интервала - X ® П b; h предыдущего репера - X ® П 9; i предыдущего интервала - X ® П с; x предыдущего репера - X ® П 2. После этого повторить ввод трех исходных величин, на которых произошел сбой.
Образец журнала и контрольный пример расчета представлены в табл. ХI.
Таблица XI
|
№ репера |
Исходные данные (1 - 2 наблюдения, дата) |
Результаты вычислений |
||||||
|
Исходная длина интервала l0, м |
Длина интервала l, м |
Оседание h, м |
Наклон i×103 |
Кривизна k 103, 1/м |
Горизонтальная деформация e×103 |
Горизонтальное сдвижение x, мм |
||
|
12,922 |
12,978 |
11,5 |
4,3 |
|||||
|
4 |
245 |
0,52 |
208 |
|||||
|
20,465 |
20,665 |
2,8 |
9,8 |
|||||
|
1 |
5 |
188 |
-0,30 |
8 |
||||
|
20,215 |
20,223 |
8,8 |
0,4 |
|||||
|
6 |
10 |
|||||||
Обработку данных наблюдений с автоматизацией графических построений можно проводить на ЭВМ ЕС-1033 по программе, разработанной ВНИМИ и переданной в Отраслевой фонд алгоритмов и программ (ОФАП) Минуглепрома СССР. Для мини-ЭВМ «Искра-1256» во ВНИМИ разработаны программы «Искра-1Ш» и «Искра-2Ш» [12, 15], позволяющие получать приведенные значения длин и величины оседаний, наклонов, кривизны, горизонтальных сдвижений и деформаций земной поверхности за период между двумя сериями наблюдений.
1. Ардашев К.А. Методы и приборы для изучения горного давления. М., Недра, 1981.
3. Инструкция по нивелированию I, II, III, IV классов. М., Недра, 1966.
6. Инструкция по эксплуатации прибора-пробника БУ-39. Л., ВНИМИ, 1974.
8. Методические указания по определению параметров процессов сдвижения горных пород, охране сооружений и горных выработок на месторождениях цветных металлов. Л., ВНИМИ, 1974.
10. Методические указания по определению устойчивости пород в зависимости от их нарушенности на рудных месторождениях. Л., ВНИМИ, 1974.
13. Методическое руководство по наблюдению за сдвижением горных пород с помощью радиоактивных изотопов. Л., ВНИМИ, 1970.
16. Скозобцов Б.С. Исследование точности измерений смещений глубинных реперов. Л., ВНИМИ, 1966.
17. Такранов Р.А. Геологические работы на угольных карьерах. М., Недра, 1975.
18. Фисенко Г.Л. Предельное состояние горных пород вокруг выработок. М., Недра, 1976.
СОДЕРЖАНИЕ