ОДМ 218.2.001-009
ОТРАСЛЕВОЙ ДОРОЖНЫЙ МЕТОДИЧЕСКИЙ ДОКУМЕНТ
|
Утверждены распоряжением Росавтодора от 21.07.2009 г. № 252-р |

РЕКОМЕНДАЦИИ
ПО ПРОЕКТИРОВАНИЮ И СТРОИТЕЛЬСТВУ
ВОДОПРОПУСКНЫХ
СООРУЖЕНИЙ ИЗ
МЕТАЛЛИЧЕСКИХ ГОФРИРОВАННЫХ СТРУКТУР НА
АВТОМОБИЛЬНЫХ ДОРОГАХ ОБЩЕГО ПОЛЬЗОВАНИЯ
С УЧЕТОМ РЕГИОНАЛЬНЫХ УСЛОВИЙ
(ДОРОЖНО-КЛИМАТИЧЕСКИХ ЗОН)
ФЕДЕРАЛЬНОЕ
ДОРОЖНОЕ АГЕНТСТВО
(РОСАВТОДОР)
Москва 2009
Предисловие
1 РАЗРАБОТАН: Центральным научно-исследовательским институтом транспортного строительства (ОАО ЦНИИС) с учетом замечаний и предложений Ассоциации дорожных проектно-изыскательских организаций «РОДОС», Союздорпроекта, ЗАО «Институт «Стройпроект» (С-Петербург), ОАО «Трансмост» (С-Петербург).
2 ВНЕСЕН: Управлением строительства и проектирования автомобильных дорог.
3 ИЗДАН: на основании распоряжения Федерального дорожного агентства от 21 июля 2009 г. № 252-р.
4 ИМЕЕТ РЕКОМЕНДАТЕЛЬНЫЙ ХАРАКТЕР.
5 ВЗАМЕН ВСН-176-78.
СОДЕРЖАНИЕ
Методические рекомендации распространяются на проектирование и постройку водопропускных сооружений с использованием металлических гофрированных структур комплектной поставки на автомобильных дорогах всех категорий для различных дорожно-климатических зон.
Федеральный закон «О техническом регулировании» № 184-ФЗ.
ГОСТ 1.5-2001 Стандарты межгосударственные.
ГОСТ 12248-96 Грунты. Методы лабораторного определения характеристик прочности и деформируемости.
ГОСТ 19007-73* Материалы лакокрасочные. Метод определения времени и степени высыхания.
ГОСТ 9.407-84* Единая система защиты от коррозии и старения материалов и изделий. Покрытия лакокрасочные. Метод оценки внешнего вида.
ГОСТ 15140-78* Материалы лакокрасочные. Методы определения адгезии.
ГОСТ 12.3.005-75 ССБТ. Работы окрасочные. Общие требования безопасности.
ГОСТ 12.4.011-89 ССБТ. Средства защиты работающих. Общие требования и классификация.
ГОСТ 17066-94* Прокат тонколистовой из конструкционной низколегированной стали. Технические условия.
ГОСТ 1050-88* Прокат сортовой, калиброванный, со специальной отделкой поверхности из углеродистой качественной конструкционной стали. Общие технические условия.
ГОСТ 19281-89* Прокат из стали повышенной прочности. Общие технические условия.
ГОСТ 380-94 Сталь углеродистая обыкновенного качества
ГОСТ 4543-71* Прокат из легированной конструкционной стали. Технические условия.
ГОСТ 7798-70* Болты с шестигранной головкой класса точности В. Конструкция и размеры.
ГОСТ 5915-70* Гайки шестигранные класса точности В. Конструкция и размеры.
ГОСТ 24705-2004 Основные нормы взаимозаменяемости. Резьба метрическая.
ГОСТ 11371-78* Шайбы. Технические условия.
ГОСТ 22245-90* Битумы нефтяные дорожные вязкие. Технические условия.
ГОСТ 6617-76* Битумы нефтяные строительные. Технические условия.
ГОСТ 8736-93* Песок для строительных работ. Технические условия.
ГОСТ 12.4.068-79* ССБТ. Средства индивидуальной защиты дерматологические. Классификация и общие требования.
ГОСТ 3640-94 Цинк. Технические условия.
ГОСТ 15902.3-79* Полотна нетканые. Методы определения прочности.
ГОСТ 15150-69 Машины, приборы и другие технические изделия. Исполнения для различных климатических районов. Категории, условия эксплуатации, хранения и транспортирования в части воздействия климатических факторов внешней среды.
ГОСТ 27772-88 Прокат для стальных конструкций.
ГОСТ Р 51285-99* Сетки проволочные крученые с шестиугольными ячейками для габионных конструкций. Технические условия.
ГОСТ 9.304-87 Единая система защиты от коррозии и старения. Покрытия газотермические. Общие требования и методы контроля.
ГОСТ 25129-82 Грунтовка ГФ-021. Технические условия.
ГОСТ 7313-75 Эмали ХВ-785 и лак ХВ-784. Технические условия.
ГОСТ 1577-93 Прокат толстолистовой и широкополосный из конструкционной качественной стали. Технические условия.
СНиП 2.05.03-84* Мосты и трубы.
СНиП 2.05.02-85* Автомобильные дороги.
СНиП 2.02.01-83* Основания зданий и сооружений.
СНиП 11-02-96 Инженерные изыскания для строительства. Основные положения.
СНиП II-23-81* Стальные конструкции.
СНиП 2.03.11-85 Защита строительных конструкций от коррозии.
СНиП 23-01-99* Строительная климатология.
СНиП 2.01.07-85* Нагрузки и воздействия.
СНиП 12-03-2001 Безопасность труда в строительстве. Часть I. Общие требования. Часть II. Строительное производство.
СП 11-105-97 Инженерно-геологические изыскания для строительства.
СП 11-102-97 Инженерно-экологические изыскания для строительства.
СП 11-103-97 Инженерно-гидрометеорологические изыскания для строительства.
СП 33-101-2003 Определение основных расчетных гидрологических характеристик.
СП 32-101-95 Проектирование и устройство фундаментов опор мостов в районах распространения вечномерзлых грунтов.
ВСН 176-78 и дополнение к нему № 1 и № 2 от 1984 и 1985 г. Инструкция по проектированию и постройке металлических гофрированных водопропускных труб.
Методические рекомендации по проектированию и строительству водопропускных труб из металлических гофрированных элементов. М., Росавтодор, 2003 г.
ПМП-91 Пособие к СНиП 2.05.03-84 «Мосты и трубы» по изысканиям и проектированию железнодорожных и автодорожных мостовых переходов через водотоки».
Методические рекомендации по гидравлическому расчету металлических гофрированных труб. М., ЦНИИС, 1979 г.
Методические рекомендации по применению габионных конструкций в дорожно-мостовом строительстве. М., 2000 г.
ОДМ 218.1.001-2005 Рекомендации по разработке и применению документов технического регулирования в сфере дорожного хозяйства.
Металлические гофрированные структуры (МГС) - металлические (стальные) гофрированные листы расчетной толщины, подготовленные к сборке, - изогнутые по форме соответствующей части контура будущего сооружения (металлической гофрированной трубы), покрытые слоем расчетной толщины коррозионной изоляции, имеющие заранее просверленные отверстия для сборки требуемого контура сооружения крепежными элементами.
Металлические гофрированные трубы (МГТ) - сооружение из гофрированных металлических структурных элементов, имеющее замкнутый или открытый снизу контур, размещаемое под грунтовой насыпью, предназначенное для пропуска постоянного или временного водотока либо для пропуска пешеходов или наземного транспорта. МГТ могут служить также основным элементом противообвальных и лавинозащитных галерей.
Грунтовая (армогрунтовая) обойма - массив грунта, окружающий МГТ, отсыпанный из дренирующего, тщательно уплотненного грунта, ограниченный размерами, определенными для конкретного сооружения, предназначенный для восприятия сжимающих напряжений при работе под полезной нагрузкой совместно с МГТ, что достигается в ряде расчетных случаев не только уплотнением, но и дополнительным усилением объема обоймы армированием геотекстильной арматурой, включением в конструкцию обоймы геомембраны, бетонных упоров и других конструктивных элементов.
Армирование грунта - выполняется полотнищами геотекстильной арматуры, укладываемой при послойной отсыпке грунта, для усиления несущей способности при сопротивлении на сжатие и срез грунтовых массивов и восприятия части растягивающих напряжений в грунтовой обойме МГТ и в теле насыпи при недостаточной ее устойчивости. Армирование выполняется по расчету.
Армогрунтовая мембрана (геомембрана) - конструкция, состоящая из грунтового слоя в замкнутой оболочке из армирующих полотнищ, предназначенная для восприятия растягивающих напряжений и равномерного распределения давления на МГТ от вышележащих слоев грунта и полезной нагрузки.
Геотекстильная арматура - тканые и нетканые полотнища из синтетических материалов, плоские и объемные решетки из синтетических лент, пластины из вспененных пластиков, используемые для армирования грунтовых массивов.
Безнапорный режим работы МГТ - ламинарное течение воды при пропуске водного потока через МГТ в водопропускном сооружении с гарантированным обеспечением исключения возникновения турбулентности при расчетном и максимальном расходах.
Защитное покрытие МГС - изолирующий антикоррозионный слой цинка или алюминия, нанесенный на МГС, может быть дополнительно усилено обмазкой полимерными составами перед засыпкой МГТ.
Крепеж МГС - элементы болтового объединения МГС в конструкцию МГТ в виде болтов, гаек и шайб, имеющих форму поверхностей, прилегающих к конструкции, соответствующих кривизне гофра, и защитное антикоррозийное покрытие.
4.1.1 Водопропускные сооружения с использованием гофрированных структур являются важнейшими конструктивными элементами автомобильных дорог. От их работы зависит общее состояние дороги и обеспечение безопасности движения по ней автотранспорта и охраны окружающей среды. Металлические гофрированные трубы (МГТ) применяются на автомобильных дорогах всех категорий.
4.1.2 Водопропускные МГТ следует использовать как для пропуска периодически действующих водотоков, так и для пропуска постоянных водотоков. Допускается применение МГС для удлинения существующих бетонных, железобетонных и каменных труб при уширении проезжей части и реконструкции дорог, а также для замены мостов и путепроводов.
4.1.3 Конструкции водопропускных сооружений из МГС работают только совместно с грунтом засыпки (система «МГТ - грунтовая обойма»), что достигается конструктивным решением грунтовой обоймы с требуемым уровнем плотности грунта, с армированием обоймы в необходимых случаях и строгим соблюдением технологии.
4.1.4 Проекты водопропускных сооружений с применением МГС должны строго соответствовать положениям Федерального закона «О техническом регулировании» № 184-ФЗ, обладать обязательным набором потребительских свойств и удовлетворять требованиям, предъявляемым к этим потребительским свойствам:
- безопасности;
- надежности;
- долговечности;
- ремонтопригодности;
- экологичности;
- экономичности;
- эстетичности.
Все эти свойства взаимосвязаны и взаимозависимы и должны обеспечиваться одновременно за счет реализации мероприятий, предусмотренных действующими нормативными требованиями и методическими рекомендациями, изложенными в настоящем документе.
4.2.1 Безопасность металлических гофрированных труб (МГТ) должна быть обеспечена на всех стадиях их жизненного цикла при изготовлении, хранении, транспортировке, монтаже, эксплуатации, ремонтах, реконструкции и утилизации и гарантироваться достоверными данными изысканий в проекте и строительном производстве, техническими и технологическими решениями, применением качественных материалов, обоснованием расчетами, квалифицированными действиями строителей и эксплуатационников, а также мониторингом проектирования, строительства и эксплуатации.
4.2.2 Безопасность применения на автомобильных дорогах водопропускного сооружения с МГТ должна соответствовать требованиям СНиП 2.05.02-85*, СНиП 2.05.03-84*, других нормативных документов, и в части выполнения основной функции - исключения негативного влияния поверхностного стока воды на автостраду, это обеспечивается жестким ограничением режимов протекания воды с исключением турбулентности, способной провоцировать гидравлический удар и резонансные колебания системы «труба - насыпь», что достигается только при безнапорном пропуске максимального расхода (п. 6.7.1). В связи с этим обязательными являются:
- выполнение гидравлических расчетов всего водопропускного тракта, включая подходное и выходное русло, регуляционные и укрепительные сооружения и конструкции на них, входной и выходной оголовки, контуры и продольные профили, включая отверстия МГТ (п. 6.7, приложение Е);
- достоверность исходных данных для определения расчетного и максимального расхода стока (п. 6.1.2), определяемых с учетом возможного увеличения площади водосбора при сооружении насыпи и водоотводов от нее (см. приложение Е, рис. Е.6);
- назначение диаметра МГТ, гарантирующего исключение возможности образования подпора (6.7.1, 6.7.4), и безнапорный пропуск для «коротких» и «длинных» труб расчетного и максимального расходов за счет ограничения уровня горизонта воды в трубе величиной 0,75 и 0,90 диаметра отверстия МГТ (6.2.2; 6.7.3);
- ограничение при проектировании максимального продольного уклона лотка МГТ величиной менее 0,05 (п. 6.1.6);
- обеспечение в проектных решениях формирования плавного сжатия потока в пределах переходных участков - входного и выходного оголовков, исключающих возможность появления затопленного водослива и возникновения бурного протекания воды на входе и на выпуске из МГТ (приложение Е, п. Е.1);
- устройство лотка в трубе, предназначенного для защиты антикоррозионного покрытия металла трубы от истирания твердым стоком, должно гарантировать исключение появления местных завихрений потока (п. 6.4).
4.2.3 Основными гарантиями безопасности применения сооружений из МГС на автомобильных дорогах в части требований к материалам являются жесткое соблюдение соответствия физико-механических параметров металла МГТ условиям работы будущей МГТ (п.п. 5.1.1 и 5.1.5) и правильный выбор расчетных параметров (п. 5.1.7). В части требования к материалам грунтовой засыпки МГТ безопасность применения такого типа водопропускных сооружений обеспечивается использованием грунтов, исключающих процессы пучения и обладающих достаточной прочностью (п. 5.5.1).
4.2.4 Важнейшим условием обеспечения безопасности применения сооружений с МГТ является их проектирование на основе полных достоверных исходных данных, полученных в результате натурных изысканий (п. 6.1) с детальными расчетами (п. 6.2) и проработкой выбора конструктивных решений (п.п. 6.3, 6.4, 6.5, 6.6).
4.2.5 При выполнении строительно-монтажных работ по строительству водопропускных сооружений с МГТ безопасность как потребительское свойство таких сооружений обеспечивается соблюдением технологии выполнения работ при устройстве основания, монтаже МГТ и оголовков, устройстве грунтовой (армогрунтовой) засыпки и возведения насыпи со всеми укрепительными и защитными конструктивными элементами (п.п. 9.1 - 9.10). Водопропускное сооружение с МГТ является композитным комплексом грунтовых, армирующих и металлических элементов, каждый из которых выполняет свою функцию при совместной работе, поэтому безопасность такого комплекса прямо зависит от работоспособности и состояния каждого элемента. В процессе ведения строительно-монтажных работ должны также соблюдаться требования СНиП 12-03-2001 по безопасности труда в строительстве и требования ГОСТов: ГОСТ 12.3.005-75 ССБТ, ГОСТ 12.4.011-89 ССБТ, ГОСТ 12.4.086-79* ССБТ, ГОСТ 15150-69.
4.2.6 Безопасность сооружений с применением МГТ при строительстве автомобильных дорог должна гарантироваться надлежащим контролем качества при приемке работ. Система контроля качества на всех этапах ведения строительства (п.п. 8.1 - 8.16) водопропускных сооружений с использованием МГС должна обеспечивать гарантии безопасности эксплуатации на весь период существования сооружения с полной оценкой видимых и скрытых работ, что требует особого внимания к полноте оформления актов на скрытые работы, оценке качества антикоррозирующих покрытий МГС, приемочному контролю МГС, технологическим регламентам перевозки, складирования и монтажа МГС, геосинтетической арматуры, а такие своевременности ведения технического надзора за сооружением грунтовой (армогрунтовой) обоймы.
Водопропускное сооружение с применением МГС является подсистемой в большой технической системе «Автомобильные дороги» и для нормальной эксплуатации дороги должно обладать надежностью, долговечностью и ремонтопригодностью.
4.3.1 Надежность МГТ должна обеспечиваться в проектах и при строительстве и при эксплуатации во всех трех ее составляющих - функциональной, конструкционной и информационной.
Функциональная надежность должна быть гарантирована в виде безаварийной работы МГТ во всех возможных для данной автомобильной дороги условиях - при обычном расчетном паводке и нагрузках, при вероятных экстремальных ситуациях в течение всего расчетного срока эксплуатации (п.п. 6.2, 6.5, 6.6, 6.7).
Конструкционная надежность должна гарантироваться структурной прочностью и регламентированными значениями деформативности водопропускного сооружения, подтвержденными расчетами и обеспечивающими сохранение эксплуатационных параметров во всех режимах его работы (п.п. 6.1 - 6.6; 7.3 - 7.10).
Информационная надежность МГТ должна гарантироваться доступностью получения достаточной информации о проектном решении и состоянии водопропускного сооружения в целом в течение всего жизненного цикла его существования (п.п. 3.1, 3.2; СНиП 11-02-96; СП 11-105-97; СП 11-02-97; СП 11-103-97; СП 33-101-2003; ПМП-91; ГОСТ 12248-96).
4.3.2 Отверстия МГТ из условий эксплуатационного обслуживания назначают не менее 1 м, а при длине МГТ свыше 20 м - отверстие не менее 1,5 м.
На автомобильных дорогах III - V категорий и временных притрассовых дорогах допускается применять МГТ отверстием 1 м при длине их не более 30 м.
Отверстия МГТ в районах с расчетной минимальной температурой воздуха ниже минус 40 °С назначаются не менее 1,5 м.
4.3.3 Водопропускные сооружения из МГС должны рассчитываться исходя из безнапорного режима работы сооружения.
Возвышение высшей точки внутренней поверхности МГТ над горизонтом воды в МГТ при расчетном расходе и безнапорном режиме должно быть не менее 1/4 высоты трубы в свету. Заполнение входного и выходного сечения МГТ при расчетном расходе и безнапорном режиме должно быть не более 0,9 от высоты МГТ.
4.3.4 Расчет труб на воздействие водного потока следует производить по гидрографам расчетного и наибольшего паводков.
Вероятности превышения расходов паводков и соответствующих им уровней воды на пике паводков следует принимать:
для автомобильных дорог I категории - 1:100 и 1:50 (1 и 2 %);
для автомобильных дорог II и III категорий - 1:50 и 1:33 (2 и 3 %);
для автомобильных дорог IV и V категорий - 1:20 и 1:33 (5 и 3 %);
При пропуске наибольших расходов допускаемые скорости для расчета укреплений могут быть повышены на 35 %.
При определении глубины размыва и размеров укреплений расчетные расходы (для учета флуктуации исходных данных) увеличиваются на 30 %.
4.3.5 Водопропускные сооружения из МГС под насыпями высотой более 4,0 м на косогорах могут применяться по индивидуальному проекту при условии устройства их с уклоном не более 0,05 и сооружения на входе и выходе из МГТ гасящих конструкций (колодцев, быстротоков, скальных отсыпок и других гасителей) с обязательной проверкой гашения энергии бурного потока.
У сооружений МГТ арочной конструкции предельный уклон русла определяется из условий возможного обеспечения прочности гофрированных элементов в армогрунтовой обойме.
Водопропускные сооружения из МГС отверстием более 3,0 м арочной конструкции проектируются без ограничения уклона по руслу под аркой при условии обеспечения защиты от размыва.
4.3.6 Наименьшую толщину засыпки над водопропускной МГТ следует принимать равной:
на автомобильных дорогах I - V категории, а также на дорогах и на улицах городов и поселков - 0,5 м до низа дорожной одежды, но не менее 0,8 м до верха дорожного покрытия.
Минимальная толщина засыпки над сводом водопропускных сооружений больших диаметров из гофрированного металла должна проверяться расчетом.
При армировании грунтовой обоймы и устройстве мембраны из объемных георешеток над шелыгой свода МГТ, а также при осуществлении других специальных конструктивно-технологических мероприятий допускается уменьшать толщину засыпки при условии расчетной проверки. Толщина засыпки над МГТ в период строительства должна обеспечивать возможность пропуска строительных машин и механизмов. Расчет армированной обоймы выполняется методом конечных элементов из условия допустимой величины напряженно-деформированного состояния МГС с проверкой на смятие кромок и срез болтового соединения.
Методы определения предельно допустимых величин нагрузок и воздействий на МГТ определяются СНиП 2.01.07-85* «Нагрузки и воздействия». Паспортные значения допускаемых напряжений по конкретным видам стального проката определяются физико-механическими свойствами металла, утвержденными соответствующими ГОСТ и ТУ.
4.3.7 Важнейшим условием обеспечения информативной надежности требуемых потребительских свойств водопропускного сооружения с МГС в проекте является получение в результате изысканий полных и достоверных исходных данных по топографии, геологии, гидрологии.
В результате изысканий с необходимой для проектирования точностью получают:
- инженерно-топографический план местности масштаба не менее 1:1000 - план лога на пересечении с автомобильной дорогой для правильного размещения водопропускной трубы относительно водного потока и оси автодороги;
- данные инженерно-геологических изысканий в соответствии с СП 11-105-97 - данные по структуре инженерно-геологического разреза по продольному профилю водопропускной трубы с указанием просадочности грунтов, глубины сезонного промерзания, глубин вечномерзлых грунтов, горизонтов грунтовых вод, направления потока грунтовых вод, параметров грунтов по поперечному разрезу земляного полотна и основания сооружения с получением следующих характеристик: тип, плотность, влажность и пределы пластичности грунтов основания и геотехнического сооружения, значения параметров прочности грунтов (удельное сцепление и угол внутреннего трения), значения модулей деформации и коэффициентов поперечной деформации грунтов и других конструкционных материалов;
- получение гидрологических данных в соответствии со СНиП 2.01.14-83 и гидрометеорологических данных в соответствии со СНиП 23-01-99 - характеристики бассейна водосбора с указанием данных по возможности образования наледей, карчехода, ледохода, характеристики паводка, расчетный и максимальный расходы, характеристики стока (ливневый, снеговой, смешанный), характеристики снежного покрова и возможных условий снегозаносимости, оценка вероятности протаивания мерзлоты и образования термокарста;
- характеристика лога перед входным оголовком (структура склона, растительного покрова и данные дендрологических обследований о размерах корчей, условия появления твердого стока и образования селевого потока) и перед выходным оголовком (наличие сформированного русла, опасность развития оврага, оползней склона);
- наличие и характеристика ихтиофауны водного потока;
- при значительной величине диаметра МГТ возможность и необходимость совмещения водопропускной функции трубы из МГС с пропуском транспорта, пешеходов, скотопрогона, зверопрохода и миграции рыб на нерестилища;
- строительные условия комплекса водопропускного сооружения - наличие подъездов, условия образования стройплощадки, данные по карьерам грунта обоймы и насыпи, карьерам и условиям поставки материалов укрепления русл у входного и выходного оголовков, данные по материалам армирования грунтовой обоймы.
4.3.8 Для обеспечения требований надежности сооружения из МГС в ходе строительства с начала производства работ строительная организация должна получить от заказчика полную техническую документацию.
Рабочие чертежи сооружений должны содержать:
- физико-механические характеристики грунтов основания и грунтов засыпки (число пластичности, максимальную стандартную плотность, оптимальную влажность, общий компрессионный модуль деформации, коррозионную активность воды и грунта), а для МГТ в районах с расчетной минимальной температурой воздуха ниже минус 40 °С, также данные о мерзлотно-грунтовых условиях - глубину сезонного оттаивания - промерзания, температурный режим грунтов, уровень нулевых годовых амплитуд, данные о физико-механических свойствах грунтов в талом, мерзлом и оттаивающем состояниях (льдистость, теплофизические характеристики, просадочность при оттаивании);
- полные, требуемые по проекту, физико-механические характеристики армирующих материалов грунтовой обоймы;
- полные, требуемые по проекту, физико-механические характеристики металлических гофрированных элементов и крепежа;
- полные, требуемые по проекту, геометрические характеристики металлических гофрированных элементов и их раскладку по сооружению;
- данные по типу и способу нанесения антикоррозийного покрытия;
- указания по технологии сборки водопропускного сооружения, включая устройство основания, фундаментов и формирование грунтовой (армогрунтовой) обоймы.
4.3.9 Характеристики грунтов для засыпки МГТ и оснований, перечисленные в п.п. 5.5.1 и 5.5.2, должны быть получены по данным изысканий и лабораторных анализов образцов грунта из выработок по дну лога (если предполагается устройство основания под МГТ непосредственно на верхний слой грунта), а также карьеров грунта для засыпки МГТ. При этом следует руководствоваться указаниями главы СНиП 11-02-96 «Инженерные изыскания для строительства».
4.3.10 Долговечность должна гарантировать безопасную работу сооружения с МГТ в течение расчетного срока эксплуатации при соблюдении регламента профилактик и ремонтов без снижения уровня его функциональной надежности. Кроме соблюдения требований проекта при строительстве сооружения с МГТ и тщательного соблюдения технологического регламента, основную функцию обеспечения долговечности гарантируют жесткие требования к качеству применяемых в конструкции сооружения материалов с необходимым документальным подтверждением соответствия (п. 5.1.1 - 5.1.7).
4.3.11 При проектировании сопряжения МГТ с насыпью, а также с подводящей и отводящей частями русла, для обеспечения всего комплекса элементов водопропускного сооружения следует предусматривать укрепление откосов насыпи и русла, в том числе с использованием объемных георешеток, матрасов «Рено», габионов, железобетонных плитных покрытий, ограждающих устройств и конструкций водобойных колодцев, лотков и рисберм, обеспечивающих целостность МГТ, устойчивость насыпей у труб и невозможность разрушения русла.
Бровка земляного полотна на подходах к трубам должна быть не менее чем на 0,5 м выше отметки подпорного уровня, определяемого по наибольшему расходу для автомобильных дорог I категории и по расчетному горизонту для дорог II, III, IV и V категорий.
4.3.12 МГТ диаметрами менее 5 м на водотоках при наличии на водотоках ледохода, карчехода и наледеобразования проектируются совместно с комплексом противоналедных мероприятий, специальной защиты от карчехода и ледохода. Защитные сооружения (сетки, заборы) должны устанавливаться с учетом задержания карчей и ледяных полей на подходах к МГТ на высоту выше отметки максимального подпертого уровня горизонта высоких вод (ПУВ ГВВ) не менее чем на 1,0 м.
При диаметре МГТ более 5 м возможность пропуска карчей должна проверяться по данным дендрологических характеристик территории водосбора.
Пропуск ледохода в сооружение не допускается.
4.3.13 Внутренняя и наружная поверхности сооружения из МГС должны иметь основное и дополнительное защитное антикоррозионное покрытие. От механических повреждений антикоррозийного покрытия при засыпке грунтом должно применяться обертывание МГТ геотекстилем. В опытном порядке допускается применение коррозионно-стойкой стали без оцинковки, но с дополнительным защитным покрытием.
4.3.14 Для водопропускных труб из МГС, строящихся на автомобильных дорогах всех категорий, минимальную толщину листа следует принимать по расчету, но не менее 2,5 мм по условиям долговечности, а при наличии агрессивных вод и для сооружений, возводимых в районах с расчетной минимальной температурой воздуха ниже минус 40 °С и в районах распространения вечномерзлых грунтов, не менее 2,75 мм.
Допускается при технико-экономическом обосновании и при согласовании с заказчиком и поставщиком гофрированного листа применение гофрированных листов различных профилей и толщины листа, при условии проведения соответствующих расчетов, гарантирующих требуемую прочность, устойчивость и стабильность гибкой конструкции трубы и проектируемой над ней насыпи.
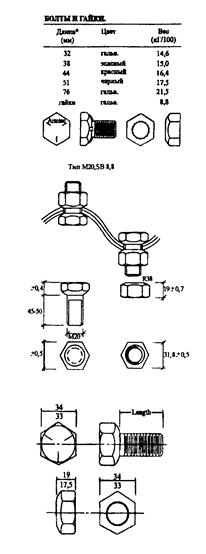
4.3.15 Элементы гофрированных водопропускных сооружений, включая болты, гайки и шайбы, должны иметь сертификаты качества с паспортами.
Характеристики крепежных элементов МГТ должны быть сертифицированы и соответствовать действующим ГОСТ.
Металлические гофрированные листы с болтовыми отверстиями, в том числе задел очные, не соответствующие схеме болтовых соединений гофрированных листов между собой, к монтажу МГТ не допускаются.
При поставке конструкций должна прикладываться заводская документация раскладки листов, технологической схемы сборки и болтовых креплений.
4.3.16 Ремонтопригодность сооружения с МГТ должна обеспечивать беспрепятственное проведение в соответствии с эксплуатационным регламентом профилактических работ и ремонтов по поддержанию требуемого уровня его функциональной надежности, а также работ по восстановлению функциональной надежности водопропускного сооружения после воздействия возможных экстремальных ситуаций.
4.3.17 Для обеспечения ремонтопригодности основные размеры МГТ назначаются с учетом унификации металлоконструкций (гофрированных элементов, секций, крепежа).
4.3.18 Конструкция водопропускной МГТ состоит из отдельных элементов - гофрированных металлических листов, изогнутых по заданному радиусу и образующих между собой при соединении продольные (вдоль оси трубы) и поперечные (кольцевые) стыки. Стыковка элементов производится с помощью крепежных элементов (болтов, гаек, шайб).
Для обеспечения ремонтопригодности и составления адресных дефектных ведомостей в период постройки гофрированных водопропускных сооружений должны составляться акты приемки отдельных видов работ и в целом сооружения как неотъемлемая часть паспорта сооружения на весь период эксплуатации.
4.3.19 Конструкция круглых труб отверстием до 3,0 м должна обеспечивать возможность их укрупненной сборки, транспортировки и последующего объединения отдельных блоков и секций на стройплощадке.
Основным типом соединения стандартных элементов между собой для МГТ диаметром 1,5 м и более является стык внахлестку на болтах.
Допускается применение стыков других типов при обеспечении равнопрочности с основной конструкцией в виде исключения, если это требуется по технологии производства монтажных работ.
Для труб диаметром 1 - 1,5 м на автомобильных дорогах допускается на продольных стыках применять конструкции, обеспечивающие возможность постановки болтов на наружной поверхности МГТ (например, фланцевые стыки).
4.3.20 Отверстия под болты продольных стыков листа должны располагаться или в два ряда в шахматном порядке, в каждом ряду по одному на всех гребнях, или во всех впадинах волн.
Расстояние от оси первого ряда отверстий до кромки листа должно составлять не менее 35 мм, от оси второго ряда - 85 мм. Для МГТ отверстием до 3,0 м отверстия под болты продольных стыков могут располагаться в один ряд.
Схема расположения отверстий под болты может отличаться от указанной, что должно быть отмечено в сертификате.
Продольные стыки смежных звеньев следует располагать со взаимной сдвижкой на один - четыре шага, принятые для болтов поперечных стыков. Сдвижка должна быть постоянной для каждой отдельной МГТ.
4.3.21 При индивидуальном проектировании МГТ полезная длина (расстояние между центрами крайних отверстий поперечного стыка) стандартного элемента должна обеспечивать надежное совпадение отверстий в поперечном стыке элементов при максимально возможном размере элемента.
Отверстия под болты поперечных стыков листа должны быть овальной формы, вытянутой вдоль длинной кромки листа.
При отверстиях поперечных стыков овальной формы стандартная длина элемента может быть увеличена по согласованию с заказчиком и поставщиком.
В гофрированном элементе с заданной кривизной гребни крайних волн должны быть расположены на его внутренней поверхности.
Поперечные стыки следует назначать конструктивно с однорядным расположением болтов и постоянным расстоянием (шагом) между отверстиями под болты.
4.4.1 Потребительские свойства водопропускных труб из МГС обеспечиваются в числе отмеченных выше технических решений назначением геометрических параметров отверстия МГТ, наиболее соответствующих требованиям функционального назначения, оптимальным экономическим показателям, обеспечивающим наилучшие условия экологии и эстетики при адаптации к местным условиям.
4.4.2 Экономичность сооружения с МГТ должна подтверждаться меньшими строительными затратами и приведенными строительно-эксплуатационными расходами в сравнении с альтернативными техническими решениями. Это относится также к затратам труда и энергетических ресурсов на строительство и эксплуатацию сооружений и на технологические показатели - условия транспортировки и монтажа конструкций, сроки строительства, дефицитность материальных ресурсов.
4.4.3 Экономические показатели водопропускных сооружений с МГТ диаметром более 3,0 м должны при проектировании сопоставляться с альтернативными мостовыми сооружениями, включая эксплуатационные затраты, вероятные ущербы лесному и сельскому хозяйству, рыбным ресурсам и фауне.
4.4.4 Экологичность сооружения с МГТ должна обеспечивать возможность выполнения требований и мероприятий по охране окружающей среды без ущерба для безопасности и функциональной надежности водопропускного сооружения в процессе его строительства и эксплуатации. Должны обеспечиваться условия сохранения природных ландшафтов, исключаться заболачивание, подтопление и размывы на прилегающей территории, а также ущерб флоре и фауне.
4.4.5 Эстетичность сооружений с МГТ должна подтверждаться условиями органичного вписывания в ландшафт автомобильной дороги в целом с МГТ и дизайном оформления сооружения в общем комплексе с конструктивными элементами земляного полотна, контурами пересечения лога с растительным покровом и водотока.
4.4.6 Проектирование металлических гофрированных труб (МГТ) осуществляется на основании технико-экономической обоснованности применения в конкретных условиях строительства.
Условия проектирования и строительства МГТ в различных районах Российской Федерации должны учитывать особенности конструирования, расчетов и технологий производства работ, различающиеся в Европейской части страны и юге Сибири, включая зоны повышенной влажности и аридные зоны; северные зоны с глубоким промерзанием грунта с зоной вечной мерзлоты, зоны особых агрессивных условий воды и почвы (сульфатная и кислотная агрессии); зоны особых внешних воздействий (сели, карчеходы, ледоходы, наледи, болота, сейсмика).
4.4.7 Обеспечение потребительских свойств по экономичности, экологичности и эстетичности водопропускных сооружений с МГТ на автомобильных дорогах должно предусматриваться в проектах и подлежит оценке соответствия при приемке в эксплуатацию значительных строительных объектов в соответствии с порядком, установленным СНиП 3.01.04-87.
4.5.1 Заводами выпускаются МГТ с различной геометрией поперечных сечений замкнутого и разомкнутого контура: круглые, полицентрические, арочные, коробчатые.
4.5.2 По условиям применения в качестве водопропускных сооружений наибольшее распространение получили круглые замкнутые контуры (рис. 1). Преимущество труб такого контура состоит в том, что расчетные схемы узлов всего контура при различных видах нагрузок и воздействий поддаются наиболее точному определению, а технология монтажа, сборки и сооружение грунтовой обоймы достаточно просты и обеспечивают равномерное распределение нагрузок на металл трубы.
Рис. 1. Круглая форма МГТ
Круглые МГТ наиболее экономичны по площади поперечного сечения. Они имеют наибольшую конструктивную прочность по отношению к нагрузкам и поэтому в наибольшей степени подходят для высоких насыпей.
4.5.3 Горизонтальный эллипс (рис. 2).
Рис. 2. МГТ формы горизонтального эллипса
Это сечение наиболее эффективно при ограниченной высоте насыпи и слабой несущей способности грунта.
4.5.4 Вертикальный эллипс (рис. 3).
Данная форма эффективна для применения в горных и предгорных районах при интенсивных повышениях горизонта ливневых паводков и для высоких насыпей.
Рис. 3. МГТ формы вертикального эллипса
4.5.5 Контур замкнутого арочного типа (рис. 4).
Это сечение лучше всего подходит для случаев, когда высота МГТ ограничивается положением проектной линии продольного профиля в зоне дорожного сооружения. Форма поперечного сечения таких МГТ позволяет при небольшой высоте сооружения пропускать значительный поток.
Рис. 4. МГТ замкнутого арочного типа
4.5.6 Соотношение радиуса боковых сторон эллипсовидных контуров (Rs) и радиусов нижней и верхней стороны (RТ, RВ) должны обеспечивать плавное сопряжение точек касания (общая касательная) и контролироваться при сборке на заводе-поставщике с отражением в документации поставки. При монтаже на стройплощадке контроль сборки должен включать промеры пролета и высоты контура МГТ и контроль соответствия радиусов заводскому паспорту.
Рис. 5. Примеры конструкции разомкнутого контура:
а - арочная конструкция; б - усиленная арочная конструкция; в - коробчатая конструкция
4.5.7 Для водопропускных сооружений используются различные виды арочных конструкций (рис. 5). Существуют технологии, позволяющие сооружать арки пролетом до 18 м. Эти конструкции высокоэффективны при грунтах с хорошей несущей способностью или скальных грунтах. В этом случае используют опоры, сохраняя естественное русло водного потока. Сооружения коробчатого сечения позволяют значительно упростить сопряжение с прямоугольным быстротоком. Технология усиления (рис. 5, 6) позволяет повысить устойчивость гибкой оболочки за счет устройства двух жестких железобетонных балок, размещаемых вдоль оси конструкции со стороны засыпки в месте напряжений в металле.
4.5.8 В коробчатых контурах разомкнутых конструкций МГС соответствие радиуса свода и радиусов сопряжений с боковыми сторонами не должно быть более чем 5:2.
4.5.9 Водопропускные сооружения разомкнутого контура с МГС отверстием более 3,0 м по схеме своей работы под динамической и статической нагрузкой представляют собой мостовые сооружения арочного типа и должны проектироваться с соблюдением требований СНиП 2.05.03-84* и настоящих рекомендаций.
5.1.1 Для изготовления элементов МГС следует применять марки стали, соответствующие по хладостойкости климатическим условиям их применения. Для МГС климатического исполнения У по ГОСТ 15150 рекомендуется применять углеродистые стали марки ВСт3сп5 по ГОСТ 380, сталь марки 15сп по ГОСТ 1577, а для МГС климатического исполнения ХЛ по ГОСТ 15150, применяемых в районах с расчетной минимальной температурой воздуха ниже минус 40 °С, - из стали марки 09Г2Д по ГОСТ 19281-89 и стали марки С345 С345Д по ГОСТ 27772-88 или других марок по этим ГОСТам, обеспечивающим необходимый класс прочности для различной толщины проката.
5.1.2 Для водопропускных сооружений из МГС допускается применение элементов импортных поставок из сталей аналогичного качества по химическому составу и физико-механическим характеристикам. При поставке гофрированных элементов зарубежных фирм каждая партия подлежит сертификации.
5.1.3 Допускается при соответствующем обосновании и согласовании в установленном порядке применение сталей других марок, имеющих показатели по хладостойкости и прочности не хуже стали 15сп.
5.1.4 Гофрированные листы из сталей класса прочности до С345 включительно при толщине до 8 мм включительно допускается изготавливать холодной штамповкой (прокаткой).
5.1.5 Для сооружений в районах с расчетной минимальной температурой воздуха выше минус 40 °С болты, гайки и шайбы следует изготавливать из сталей марок 20, 30 и 35 по ГОСТ 1050-88*; допускается изготовление шайб из стали марки Ст3 по ГОСТ 380-94.
Для МГТ, эксплуатируемых в районах с расчетной минимальной температурой воздуха ниже минус 40 °С, болты следует применять из сталей 35Х и 38ХА по ГОСТ 4543-71*; допускается применение болтов из сталей марок 20, 30 и 35 по ГОСТ 1050-80*. Размеры болтов принимаются по ГОСТ 7798-70.
5.1.6 Болты, гайки и шайбы для сборки водопропускных сооружений из МГС импортной поставки, как правило, должны поставляться комплектно вместе с гофрированными элементами. Применение отечественных крепежных элементов в этом случае допускается при согласовании с заказчиком.
5.1.7 Основное расчетное сопротивление R0 при действии осевых сил должно приниматься для стали марки 15СП - 1900 кгс/см2, марки 09Г2Д - 2400 кгс/см2.
Расчетное сопротивление для болтовых соединений должно приниматься: на смятие кромок стыковых соединений для стали марки 15СП - 3300 кгс/см2, для стали марки 09Г2Д - 4200 кгс/см2; на срез болта нормальной точности класса 4.6, 5.6 и 8.8 соответственно 1300, 1500 и 2500 кгс/см2.
- для круговых контуров:
длина волны - от 130 мм до 164 мм;
глубина волны - от 32 мм до 57 мм;
толщина элемента - от 2,5 мм до 8 мм;
- для арочных и коробчатых контуров, кроме того:
длина волны - 380 мм;
глубина волны - 140 мм;
толщина элемента - 8 мм.
При проектировании водопропускных сооружений из МГС следует учитывать допуски в размерах гофрированного листа по длине, ширине, высоте и длине волны, а также допуски заводского изготовления элементов (на кривизну, диаметр отверстий, расстояние между ними).
Отклонения действительных размеров изготовленных элементов конструкций от проектных не должны превышать значений, указанных в табл. 1.
Таблица 1
Допускаемые отклонения изготовленных элементов
|
Допускаемые отклонения, мм |
|
|
Длина гофрированного листа |
±2 |
|
Расстояние между центрами образованных по шаблону со втулками отверстий: |
|
|
смежных |
±0,7 |
|
крайних в ряду |
±1,0 |
|
Диаметры отверстий: |
|
|
до 17 мм |
+1; -0 |
|
более 17 мм |
+1,5; -0 |
|
Просвет при подгибке между изделием и шаблоном |
3 |
|
Радиус гибких элементов (просвет между шаблоном длиной по дуге 1,5 м и поверхностью свальцованного листа): |
|
|
в средней части |
2 |
|
по концевым участкам |
6 |
5.2.2 Допускается применение МГС с параметрами, отличными от приведенных в п. 5.2.1, при условии обязательного лабораторного контроля качества металла элементов и детального расчета водопропускного сооружения в проекте.
5.3.1 Основными средствами защиты металлических гофрированных элементов МГТ и крепежа от коррозии являются:
- цинковое покрытие с толщиной слоя не менее 80 мкм, наносимое на внутреннюю и наружную поверхности элементов одним из двух способов: горячим цинкованием или газотермическим напылением;
- алюминиевое покрытие толщиной слоя не менее 200 мкм, наносимое на внутреннюю и наружную поверхности элементов электродугового напыления.
5.3.2 Для основного антикоррозионного защитного покрытия МГТ применяется цинк марки ЦЗ по ГОСТ 3640-75 и ГОСТ 3640-94 и проволока алюминиевая марки АД1 по ГОСТ 14.838-78. Покрытие производится в соответствии с ГОСТ 9.304-87.
5.3.3 Средства дополнительной защиты МГТ от коррозии следует назначать на основе данных о коррозионной активности (агрессивности) грунтов основания, насыпи и пропускаемой сооружением воды и вод подземной фильтрации.
В сильноагрессивных средах применение водопропускных МГТ допускается по специальному проекту, предусматривающему дополнительную антикоррозионную защиту и согласованному с заказчиком.
5.3.4 В районах с зимними температурами ниже минус 40 °С дополнительное защитное покрытие на трубах следует устраивать независимо от степени агрессивности среды.
5.3.5 Для дополнительного антикоррозионного защитного покрытия металлических труб и их элементов следует использовать полимерные покрытия: гермокрон (толщина 0,8 - 1,1 мм), форпол (толщина 1,0 - 1,5 мм), «Steelpaint-Pu-Combination-100» (толщина 150 - 200 мкм).
Допускается применение других защитных покрытий, по своим свойствам отвечающих требованиям, предъявляемым к покрытиям для металлических гофрированных труб.
5.3.6 В районах с зимними температурами выше минус 40 °С для дополнительного антикоррозионного покрытия МГТ допускается использование битумных мастик с учетом данных по их хладостойкости, приведенных в технических условиях или другой нормативной литературе, ненаполненных (пластбитулен, бутадиен и пластбутадиен) и наполненных (битумно-минеральные и битумно-резиновые).
5.3.7 Для ремонта поврежденных при транспортировке и монтаже участков основного защитного покрытия допускается использовать грунт «Steelpaint-Pu-Zinc» (толщина 80 - 100 мкм).
5.3.8 Для дополнительного покрытия труб с алюминием в качестве основного покрытия необходимы: абразивный материал (песок) размером зерна 0,5 - 1,5 мм сухой, не загрязненный маслом, грунт ТФ-021 по ГОСТ 25129-82, грунт ХС-010 по ГОСТ 9355-81, эмаль ХВ-785 по ГОСТ 7313-75, могут использоваться лакокрасочные материалы III и IV групп по СНиП 2.03.11-85.
5.4.1 Для защиты покрытия от взвешенных частиц, присутствующих в водном потоке, в нижней части МГТ устраивается лоток. Для устройства лотков могут применяться различные материалы: бетон, цементно-бетонная смесь с износостойким полимерным покрытием (форпол, базалит). Допускается защита укладкой по дну МГТ матрасов «Рено».
5.4.2 Бетон лотка должен быть класса прочности (на сжатие) не ниже В25. Марка бетона лотка по морозостойкости должна быть не ниже F200 для труб, расположенных в районах со среднемесячной температурой воздуха наиболее холодного месяца выше минус 10 °С, и не ниже F300 в остальных районах.
В состав бетона лотка должны входить заполнители крупностью не более 10 мм, а также комплексные добавки для повышения морозостойкости.
5.4.3 Бетон лотка в МГТ, пропускающих агрессивные воды, должен соответствовать требованиям раздела 2 СНиП 2.03.11-85 «Защита строительных конструкций от коррозии».
5.4.4 Для бетонных и железобетонных оголовков труб следует применять бетон и арматуру, соответствующие требованиям СНиП 2.05.03-84*.
5.4.5 Допускается применение в конструкциях оголовков по индивидуальным проектам габионов и подпорных стенок каркасного типа из гофрированного металла с армогрунтовым заполнением.
5.5.1 Для устройства основания непосредственно под МГТ глубиной не менее 0,5 м применяются пески средней крупности, крупные, гравелистые, щебенисто-галечниковые и дресвяно-гравийные грунты, не содержащие обломков размером более 50 мм. Перечисленные грунты не должны содержать более 10 % частиц размером менее 0,1 мм, в том числе более 2 % глинистых размером менее 0,005 мм.
5.5.2 Для устройства грунтовой обоймы вокруг МГТ, кроме перечисленных грунтов, допускается применять пески мелкие, не содержащие более 10 % частиц размером меньше 0,1 мм, в том числе более 2 % глинистых размером меньше 0,005 мм.
Отсыпка грунтовой обоймы с использованием глинистых грунтов, пригодных для возведения насыпей (при высотах последних над шелыгой свода до 8 м), допускается в районах, где исключается возможность процессов пучинообразования на автомобильных дорогах не выше III категории, при соответствующем технико-экономическом обосновании.
5.5.3 Для устройства заполнителя армогрунтовых мембран из объемных георешеток в грунтовых обоймах на водопропускных сооружениях из МГС применяются грунты по п. 5.5.1. Допускается использовать грунтовую массу полускальных и скальных пород, получаемую при разработке скальных выработок взрывным способом при максимальной крупности обломков скального грунта не более размера ячейки георешетки.
5.5.4 Грунтовая обойма МГТ диаметром более 3,0 м, как правило, армируется композитными комбинациями из плоских и объемных георешеток с геотекстильными материалами. Для армирования грунтовой обоймы МГТ следует применять геотекстиль со значением разрывной нагрузки не ниже приведенных в табл. 2. Схема армирования во всех случаях определяется проектом.
Жесткий слой в армогрунтовых обоймах, а также в основании и над шелыгой свода МГТ устраивают с применением объемных георешеток с характеристиками согласно данным табл. 3.
Таблица 2
Технические характеристики рекомендуемого иглопробивного геотекстильного полотна
|
Измеритель |
Норма и допуски |
||
|
Ширина |
см |
250 ± 4 |
170 ± 4 |
|
Разрывная нагрузка (min) |
кН/м |
7 - 12 |
6 - 10 |
|
Удлинение при разрыве, не более: |
|||
|
в поперечном направлении |
% |
70 |
80 |
|
в продольном направлении |
130 |
110 |
|
|
Поверхностная плотность материала |
г/м3 |
600 |
600 |
Таблица 3
Физико-механические параметры георешеток
|
Нормативный документ |
Нормативное значение, не менее |
|
|
Разрывная нагрузка Н полоски 50×100 мм: |
||
|
по длине |
1250 |
|
|
по ширине |
1250 |
|
|
Жесткость кН полоски размером 160×20 мм |
40 |
|
|
Прочность шва на отрыв, % от разрывной нагрузки материала |
50 |
5.5.5 Укрепление откосов насыпей у оголовков МГТ выполняется каменной наброской с применением геосеток с засыпкой растительным грунтом и посевом трав, объемных георешеток с засыпкой щебнем, самонесущих блочных одевающих стен и других видов покрытий, определенных проектом. На участках возможного длительного стояния горизонтов подпертого уровня воды укрепление откосов должно осуществляться с устройством обратного фильтра.
5.6.1 Для защиты водопропускной МГТ от карчехода и ледохода используют кольчужные сетки, сетки двойного кручения с якорями и анкерами.
5.6.2 Для расчета защитных ограждений от карчехода и ледохода допустимые нагрузки принимаются по табл. 4.
Таблица 4
Разрывная нагрузка сетевых кольчужных колец
|
Разрывная нагрузка, т |
|
|
350/7/3 |
16 |
|
350/7/4 |
22 |
|
420/18/3 |
34 |
|
420/18/4 |
50 |
5.7.1 Для укрепления входного и выходного русл применяются габионы, матрасы «Рено», камень, бетонные и железобетонные конструктивные элементы (бетонные блоки, тетраподы, тетраэдры, которые могут применяться для гашения скорости потока на легкоразмываемых грунтах логов, как экологическая мера против оврагообразования).
6.1.1 Проектирование водопропускного сооружения из МГС должно выполняться проектными организациями, имеющими опыт выполнения проектных работ по транспортным сооружениям и лицензию на проектирование мостов.
6.1.2 Перед проектированием водопропускного сооружения проводятся изыскательские работы в соответствии со СНиП 11-02-96.
6.1.3 При разработке проектной документации водопропускных сооружений большого диаметра, являющихся альтернативой малым мостам, необходимо проводить технико-экономическое сравнение вариантов проектов.
6.1.4 При проектировании водопропускных сооружений из МГС необходимо:
- осуществлять гидравлические расчеты с целью определения размеров и форм поперечного сечения для обеспечения безнапорного режима работы трубы;
- производить расчет конструкции по предельному статическому равновесию с учетом неодинаковых вертикального и бокового давлений грунта по контуру трубы при возведении насыпи для определения толщины металла трубы и конструкции грунтовой обоймы;
- проверять общую устойчивость формы поперечного сечения МГТ;
- производить расчет стыковых соединений;
- расчеты конструкций и укрепления входного и выходного русл и оголовков МГТ;
- проводить расчеты осадки МГТ с обоймой под насыпью в ходе строительства и при последующей эксплуатации для назначения строительного подъема и принятия решения о конструкции основания;
- назначать устройство основного и дополнительного защитного покрытия в зависимости or степени воздействия агрессивности среды.
Расчет сооружения на прочность и устойчивость осуществляется согласно требованиям ограничения предельных деформаций поперечного сечения МГТ. Предельные относительные изменения горизонтального или вертикального размеров не должны превышать 5 % при диаметре МГТ до 3 м и 3 % - при диаметре МГТ более 3 м.
6.1.5 При разработке проекта водопропускного сооружения в его состав должны входить следующие чертежи и документы:
- инженерно-топографический план местности с водопропускным сооружением;
- продольный профиль МГТ с разрезами и узлами;
- план в увязке с водоотводами и деталями укрепления русл и откосов насыпи;
- раскладка металлических гофрированных листов с этапами сборки;
- конструкция грунтовой (армогрунтовой) обоймы МГТ в теле насыпи;
- оголовки с сопряжениями с руслами и откосами;
- ограждения и лестницы;
- лотки, гасители скорости, детали обоймы;
- ведомости объемов;
- пояснительная записка с расчетами;
- смета.
В состав пояснительной записки входят главы:
- исходные данные;
- гидравлические расчеты;
- расчеты конструкции;
- технологический регламент с требованиями к последовательности и технологии выполняемых работ;
- безопасность и экология;
- стоимостные расчеты с данными оценки и сравнения вариантов;
- указания по мониторингу.
- увеличению водопропускной способности МГТ за счет применения оголовков;
- увеличению уклона МГТ свыше 0,03 до 0,05;
- выбору схем укладки МГТ на косогорах;
- сравнению замены грунта в основании с искусственным основанием;
- сопряжению МГТ с насыпью.
Для труб большого диаметра выполняется сравнение вариантов с альтернативными конструкциями в виде мостовых сооружений и путепроводов.
6.1.7 Расчет осадок МГТ под насыпью при отсутствии вечно-мерзлых грунтов в основании следует производить с использованием исходных параметров - модуля деформации и объемной массы грунта, мощности геологических слоев в основании, а также высоты насыпи (см. приложение Г). Расчет осадок на оттаивающих вечномерзлых грунтах производится согласно прогнозу деградации мерзлоты по теплотехническим расчетам (см. приложение Д).
Расчет осадок труб, в основании которых сжимаемые грунты подстилаются несжимаемыми (например, скальными), следует производить в зависимости от высоты насыпи и глубины залегания несжимаемых грунтов.
При проектировании сооружения должны учитываться результаты проверки обеспечения стабильности насыпи, выполняемой при проектировании земляного полотна.
6.1.8 Величину строительного подъема проверяют расчетом, исходя из расчетной осадки под осью насыпи с учетом уклона и длины МГТ. Величина строительного подъема должна быть не менее 1/80Н при песчаных, галечниковых и гравелистых грунтах основания, 1/50Н при глинистых, суглинистых и супесчаных грунтах основания и 1/40Н при грунтовых подушках из песчано-гравелистой или песчано-щебенистой смесей (где Н - высота насыпи). При расчете строительного подъема учитывают ограничения:
- во избежание застоя воды отметка лотка входного оголовка в начальный период эксплуатации и после стабилизации осадок основания должна быть выше отметки лотка среднего звена трубы;
- при укладке МГТ на промороженное основание отметки лотка должны быть увеличены с учетом дополнительной осадки, вызываемой оттаиванием мерзлого грунта;
- строительный подъем не устраивают для МГТ, сооружаемых на скальных и других несжимаемых грунтах.
6.1.9 В процессе отсыпки и уплотнения грунтовой обоймы без армирования по бокам конструкции относительное уменьшение наибольшего горизонтального размера не должно превышать 3 % его номинального размера, при этом выполняется проверка необходимости устройства временных креплений на стадии отсыпки и уплотнения боковых призм грунта.
Проектировать крепление следует так, чтобы оно включалось в работу только после трехпроцентного уменьшения горизонтального диаметра МГТ.
6.1.10 Грунтовая обойма вокруг МГТ диаметром до 3 м устраивается без армирования на ширину не менее 4 м в каждую сторону от МГТ и высоту не менее 0,5 м над верхом конструкции. Грунтовая обойма отсыпается грунтами, отвечающими требованиям п. 5.5.1 и 5.5.2.
Геометрические размеры армированной грунтовой обоймы назначаются по расчету в зависимости от принятого уровня снижения величины горизонтальных напряжений. При этом ширину по верху обоймы рекомендуется назначать не более 3D, а в уровне горизонтального диаметра - 1 - 1,5D в каждую сторону (D - диаметр трубы, горизонтальная проекция).
Армирование грунтовой обоймы устраивается, в том числе с учетом выполнения ею противофильтрационной функции в теле насыпи при паводках длительной продолжительности.
Для пропуска тяжелых строительных машин толщина засыпки над верхом МГТ диаметром более 3,0 м должна быть увеличена по расчету исходя из грузоподъемности тяжёлого транспорта, но не менее чем до 1,0 м, и заармирована, в том числе с применением объемной георешетки. Грунт засыпки следует тщательно уплотнять (коэффициент уплотнения не ниже 0,95 от стандартной плотности).
6.1.11 Водопропускное сооружение из МГС может быть как одноочковое, так и многоочковое. В многоочковых МГТ расстояние в свету между звеньями для МГТ диаметром до 3 м назначается равным 1 - 1,2 м (для удобства отсыпки и уплотнения грунта до требуемой плотности). Количество рядом уложенных МГТ не ограничивается. Для многоочковых МГТ диаметром более 3 м расстояние в свету между звеньями назначается по расчету в зависимости от условий механизации засыпки, армирования и уплотнения грунтовой обоймы между соседними МГТ водопропускного сооружения, но не менее 2,0 м. Грунтовая обойма в пространстве между звеньями армируется с устройством распорок из объемной георешетки. Мембраны из объемной георешетки в основании и над шелыгой сводов звеньев устраиваются без разрыва в промежутках между звеньями.
6.1.12 Многоочковые МГТ допускается устраивать с расположением очков в разных уровнях, размещая часть очков (как правило, одно) в уровне русла водотока, а остальные - на отметке выше уровня меженных вод (рис. 6), что улучшает эксплуатационные характеристики сооружения.
Рис. 6. Многоочковое водопропускное сооружение из МГС с расположением очков в разных уровнях:
1 - очко, установленное на отметке русла водотока; 2 - очки, установленные над горизонтом меженных вод; 3 - насыпь; 4 - основание
6.2.1 МГТ вместе с окружающей ее грунтовой обоймой образует единую конструкцию, воспринимающую действующие на сооружение нагрузки. МГТ воспринимает в основном растягивающие напряжения и за счет наличия гофры купирует изгибающие моменты. Грунтовая обойма воспринимает сжимающие напряжения. Поэтому допускается применять расчетные схемы, учитывающие только работу МГТ на сжатие и пренебрегать малыми величинами изгибающих моментов при совместном рассмотрении металлической гофрированной МГТ и грунтовой обоймы.
6.2.2 Минимальный диаметр МГТ назначается на основе гидравлических расчетов (см. приложение Е), толщина стенки МГТ и конструкция грунтовой обоймы проектируется на основе расчета напряженно-деформированного состояния сооружения (см. приложение Ж). МГТ вместе с окружающей ее грунтовой обоймой и основанием должна рассчитываться по предельным состояниям.
К первой группе относятся: расчет на совместное неблагоприятное сочетание силовых факторов и неблагоприятных влияний внешней среды; расчет на недопущение разрушения и потери устойчивости.
Расчет по второй группе должен предотвратить чрезмерные деформации сооружения.
Соответствующие расчеты должны выполняться (в случае необходимости) для этапов транспортирования, монтажа, строительства и эксплуатации (приложение В).
6.2.3 Для учета возможных резонансных воздействий от подвижной нагрузки при проектировании труб диаметром более трех метров рекомендуется выполнять проверку собственных частот насыпи в трубе.
Расчетные нагрузки для расчета на прочность и устойчивость определяют умножением нормативной величины нагрузки на коэффициент перегрузки, который для собственного веса грунта принимают равным n = 1,1. Расчетные нагрузки для расчета конструкции МГТ по второй группе предельных состояний принимают равными нормативным (n = 1). Основные сочетания нагрузок при расчете по первой группе состоят из постоянных нагрузок, длительных и одной кратковременной. При расчете конструкции на действие сейсмических нагрузок, последние не снижаются. В тех случаях, когда ухудшение прочности и устойчивости может произойти за счет уменьшения действующих сил, следует принимать n = 0,9.
6.2.4 Для оценки воздействия землетрясений в районах с расчетной сейсмичностью 7 и более баллов расчеты напряженно-деформированного состояния сооружения следует выполнять с учетом величины сейсмической силы, определяемой по линейно-спектральной методике (см. приложение И).
6.2.5 Проектирование, расчет и назначение параметров металлической гофрированной трубы и всего сооружения в целом должны опираться на результаты детальных геотехнических изысканий.
Допускается использовать нормативные данные по значениям физико-механических характеристик грунтов, при этом значения коэффициента надежности по грунтам устанавливают в соответствии с ГОСТ 12248-96. Учет коэффициента надежности по грунтам осуществляется путем деления нормативных значений прочностных характеристик грунтов на величину коэффициента надежности, устанавливаемую в зависимости от изменчивости этих характеристик, числа определений и значения доверительной вероятности, принимаемой равной 0,95.
6.2.6 Расчетная схема должна адекватно отражать совместную работу МГТ, грунтовой обоймы и основания.
- Расчетную схему следует принимать двух- или трехмерной и она должна обеспечивать необходимую точность определения напряжений и деформаций в элементах МГТ, а также в сопряженной с ней грунтовой обойме.
- В качестве расчетных методов следует использовать численные методы: метод конечных разностей (МКР), метод конечных элементов (МКЭ) или метод граничных элементов (МГЭ). Граничные условия должны выбираться таким образом, чтобы они не оказывали существенного влияния на результат расчета. В настоящее время существуют лицензированные программы для компьютерного расчета, созданные на основе этих методов (COSMOS/M, PLAXIS, LIRA_94 и др.), с помощью которых, подготовив необходимые исходные данные и составив расчетную схему, можно рассчитать требующиеся результаты (толщину металла для гофрированных элементов, необходимость армирования грунтовой обоймы, количество слоев армирования, необходимость мембраны из объемной георешетки в обойме и т.п.). Вариант подготовки исходных данных для расчета напряженно-деформированного состояния водопропускной трубы из гофрированных металлических элементов и армированной грунтовой обоймы, и представления результатов расчетов приведен в приложении В.7.
- Грунт обоймы, основания и сооружения следует рассматривать как упругопластическую среду. Пластические деформации в материале МГТ не допускаются. Допускается рассматривать грунт, как линейно-деформируемое тело. При этом следует оценить зоны предельного равновесия в теле грунтовой обоймы.
- Момент потери устойчивости конструкции МГТ при численном решении оценивается по резкому возрастанию деформаций при малом возрастании нагрузки и при появлении растягивающих напряжений в материале трубы.
- Нормальные сжимающие напряжения в металле МГТ не должны превышать величины [σ] - допустимых напряжений, соответствующих пределу текучести материала стенки умноженной на коэффициент устойчивости ф, принимаемый равным 0,7 для болтовых соединений и 0,8 - на сжатие стенки. Предельные напряжения в стенке МГТ, непревышение которых обеспечивают ее устойчивость и геометрическую неизменяемость, могут быть определены по формуле σ ≤ [σ].
6.2.7 Выбор типа и параметров грунтовой обоймы производят на основе расчетов напряженно-деформированного состояния. Назначение грунтовой обоймы - повысить прочность и надежность конструкции сооружения в целом, снизить уровень напряжений и их неравномерность в материале стенок, уменьшить величины вертикальных деформаций в верхней части трубы и горизонтальных - в средней ее части.
6.2.8 Грунтовая обойма обеспечивает прочность, устойчивость и геометрическую неизменяемость конструкции МГТ. В зависимости от высоты сооружения, диаметра МГТ, параметров грунтов основания и сооружения, системы нагрузок, наличия сейсмических нагрузок, технологии и организации строительства и других факторов в конструкцию водопропускного сооружения из МГС и грунтовой обоймы в качестве конструкционных и несущих материалов могут быть использованы различные нетканые и синтетические материалы, георешетка, металлические профильные конструкции, арматура и др.
6.2.9 Грунтовая обойма, как правило, включает в себя следующие конструктивные элементы:
- Для пылевато-глинистых грунтов основания консистенции от мягкопластичной и выше, а также для песков мелких и пылеватых труба укладывается на демпфирующий слой в виде двухслойной тщательно уплотненной и спрофилированной песчано-гравийной и щебеночной подушки.
- Для оснований, сложенных прочными грунтами (гравелистые, крупные пески, гравий и т.д.), нижний песчано-гравийный слой может не устраиваться. Толщины слоев при этом определяются расчетом из условия недопущения развития зон предельного равновесия в грунтах основания.
6.2.10 Конструкция основания металлических гофрированных труб должна отвечать принципиальным схемам, приведенным на рис. 7 (а, б, в, г).
Рис. 7. Конструкция основания:
а - с устройством верхней части подушки после укладки трубы; б - с предварительным устройством ложа; в - с отсыпкой нулевого слоя и устройством ложа; г - с заменой грунта; 1 - первый этап отсыпки подушки; 2 - второй этап отсыпки подушки; 3 - нулевой слой; 4 - замена грунта основания песчано-гравийной либо скальной отсыпкой; β - 120° при опирании на плоское основание; β1 - 90° при опирании на грунтовое ложе
- Подушку под трубу необходимо устраивать в тех случаях, когда основание сложено глинистыми, скальными и песчаными пылеватыми грунтами. На слабых основаниях должна производиться замена слабого грунта либо устраиваться искусственное основание в виде армогрунтовой мембраны.
- Толщина нижнего слоя подушки для труб диаметром более 3,0 м должна быть не менее 0,5 м и обычно равна 0,2D (D - диаметр трубы, м).
- Нижняя часть трубы должна опираться на песчано-гравийную или щебеночную подушку не менее чем на 25 % от ее диаметра. По ширине подушка под МГТ может устраиваться на величину диаметра. Допускается применение подушки из песчано-гравийной смеси. Заложение откосов песчано-гравийной и щебеночной подушки следует назначать не круче 1:1.
- Обязательным элементом грунтовой обоймы является конструктивный демпфирующий слой вокруг трубы, толщиной до 0,5 м, устраиваемый из песчано-гравийного или щебеночного грунта при максимальном размере частиц грунта до 40 мм. В качестве такого элемента может быть использована мембрана из георешетки, заполненной песчано-гравийным грунтом (рис. 8). Для защиты антикоррозионного покрытия трубы от механических повреждений демпфирующего слоя МГТ оборачивается слоем геотекстиля.
Рис. 8. Демпфирующий слой из песчано-гравийного или щебеночного грунта
- В средней части МГТ на 0,2 м ниже горизонтальной оси при соответствующем технико-экономическом обосновании устраивают горизонтальные упоры длиной не менее диаметра МГТ с каждой стороны. Упоры могут устраиваться из георешетки, заполненной песчано-гравийным или щебеночным грунтом, с уплотнением и завернутой в геоткань типа «Геолон» (рис. 9).
- При значительной высоте насыпи над МГТ с целью снижения уровня напряжений в металле МГС грунтовая обойма может быть устроена в виде подпорных стенок из армогрунта, стабилизирующих конструкцию в горизонтальном направлении. Геоткань укладывают с шагом по высоте не более чем 0,5 м. Ширина и конструкция стенки определяются расчетом. Если есть необходимость снизить нагрузку на верхнюю часть МГТ, то ее развивают вверх (не менее чем на 1 м) и связывают между собой левую и правую стенки над МГТ мембранами из завернутых в геоткань и заполненных грунтом георешеток (рис. 10).
- Очертание откосов насыпи над МГТ и возле нее в пределах армогрунтовой обоймы и непосредственно за ее границей следует проверять на устойчивость земляного полотна. С целью повышения устойчивости откосов и уменьшения длины трубы откосы сооружения могут армироваться геотканью.
Рис. 9. Конструкция горизонтальных упоров из объемной георешетки:
1 - демпфирующий слой вокруг МГТ; 2 - горизонтальные упоры из объемной георешетки
Рис. 10. Конструкция обоймы из армированного грунта:
1 - демпфирующий слой; 2 - слои армированного грунта, толщиной 0,5 м; 3 - слой объемной георешетки, распределяющий нагрузку; 4 - горизонтальные упоры из объемной георешетки
6.3.2. Котлованы и траншеи на стройплощадке необходимо защищать от затопления талыми и дождевыми водами системой поверхностного водоотвода и дренажами. Для этого можно использовать расположенные с нагорной стороны резервы, кавальеры, а также специально устраиваемые оградительные обвалования, водоперехватывающие канавы, лотки и системы дренажей.
6.3.3 Если разрабатываемые траншеи или котлованы расположены ниже уровня грунтовых вод (УГВ), водонасыщенный грунт необходимо осушать, что может быть достигнуто с помощью открытого водоотлива или искусственным понижением УГВ.
Открытый водоотлив применяют при небольшом притоке грунтовых вод, а водопонижение - при значительном притоке грунтовых вод и толщине водонасыщенного слоя.
6.3.4 Вопрос о необходимости устройства оголовка и выборе его типа решается с учетом обеспечения эффективной гидравлической работы МГТ, ее экономичности и надежности в период эксплуатации.
6.3.5 В качестве основного типа сооружений следует применять МГТ с вертикальным или скошенным параллельно откосу насыпи торцом концевого звена с устройством оголовков или без них (рис. 11). Для МГТ диаметром более 3 м на сопряжениях с откосами насыпи должны проектироваться оголовки.
6.3.6 Для предотвращения подмыва основания МГТ и исключения скопления воды в основании под трубой следует предусматривать по концам конструкции противофильтрационные экраны преимущественно из цементно-грунтовой или глинощебеночной смесей, либо из железобетона, бетона или гофрированного металла. Этим обеспечивается исключение скопления воды в подушке.
Железобетонные и бетонные экраны следует применять для труб, сооружаемых на мелкопесчаных основаниях. Глубина заложения железобетонных и бетонных экранов должна быть не менее чем на 0,25 м ниже расчетной глубины сезонного промерзания с учетом местных условий. Ширина экрана по сечению трубы устраивается не менее D/2 + 1,0 м в каждую сторону от оси МГТ.
Противофильтрационные экраны из цементно-грунтовой или глинощебеночной смесей применяют для МГТ, сооружаемых на глинистых грунтах. Экраны укладываются на ширину подушки, имеют длину вдоль оси МГТ поверху не менее 2 м и глубину не менее 70 % от глубины сезонного промерзания.
При сооружении МГТ на основании из крупнопесчаных, скальных и крупнообломочных грунтов применяют цементно-грунтовые, глинощебеночные или бетонные экраны с глубиной заложения равной толщине проникания подушки.
6.3.7 На МГТ диаметром до 3 м в отдельных случаях (кроме районов с наличием вечномерзлых грунтов) при соответствующем технико-экономическом обосновании допускается применение оголовков для увеличения водопропускной способности МГТ (вместо сооружения трубы с большим отверстием). Конструкция оголовков должна обеспечивать надежное сопряжение их с металлической частью сооружения, исключающее возможность неравномерных осадок.
Для сооружений, строящихся на скальных, крупнообломочных и других непучинистых грунтах, следует применять оголовки во всех строительно-климатических зонах.
Рис. 11. Типы оголовков МГТ:
а - без оголовка со срезом перпендикулярно оси МГТ; б - без оголовка со срезом параллельно откосу; в - с раструбным оголовком
6.3.8 Глубина заложения фундаментов оголовков водопропускных сооружений на скальных грунтах, на гальке и гравии, щебенистых, гравелистых песках и песках средней крупности не нормируется. В случае устройства фундаментов оголовков при всех прочих грунтах глубина заложения должна быть не менее чем на 0,25 м ниже расчетной глубины сезонного промерзания с учетом местных условий.
6.3.9 Фундаменты оголовков на пучинистых грунтах следует рассчитывать с учетом воздействия касательных сил морозного пучения грунта в соответствии со СНиП 2.02.01-83*.
6.3.10 При решении вопроса о расположении водопропускных сооружений следует размещать их на прочных и устойчивых основаниях. Вынос сооружений на склон лога допускается только при специальном обосновании.
6.3.11 МГТ на косогорах надлежит укладывать на естественное основание с уклоном, близким уклону лога, либо на отсыпке земляного полотна из скального грунта, устойчивого против выветривания в теле насыпи, с расположением выхода из МГТ выше дна лога с устройством бермы из скального грунта.
6.3.12 На косогорах и логах с периодическими водотоками допускается применение комбинированных водопропускных сооружений в виде МГТ и фильтрующих насыпей. При этом расчет фильтрующих насыпей производится на меженный уровень, а МГТ включается в работу по пропуску паводковых вод (рис. 12).
Рис. 12. Устройство МГТ на косогоре:
1 - металлическая гофрированная труба; 2 - армогрунтовая обойма; 3 - противофильтрационный экран; 4 - укрепление выходного русла на откосе; 5 - обратный фильтр; 6 - фильтрующая насыпь из крупноглыбового скального грунта; 7 - дно лога
Уклон лотка МГТ должен быть не меньше критического (0,002), но не должен превышать 0,05. Применение более крутых уклонов допускается при индивидуальном проектировании со специальными мероприятиями гашения скорости потока в МГТ и на выходе (лотки повышенной шероховатости, водобойные колодцы и др.). При уклоне менее критического пропускную способность МГТ следует пересчитывать.
6.3.13 Для укрепления входного и выходного русл применяются габионы, матрасы «Рено», камень, конструктивные элементы: бетонные и железобетонные блоки, тетраподы, тетраэдры.
Тип и размеры укреплений откосов насыпи у входных и выходных оголовков трубы, устройства подводящих и отводящих русл определяются в соответствии со скоростью течения на выходе по гидравлическим расчетам (см. приложение Е).
6.3.15 При необходимости замены слабого грунта в основании глубину заменяемого грунта следует определять расчетом, исходя из условия обеспечения несущей способности нижележащего грунта или по расчету осадок.
Ширина замены грунта основания или устройства искусственного основания должна назначаться по расчету, но не менее 2D.
Замена грунта основания на глубину более 2 м должно сравниваться с искусственным основанием в виде мембраны из объемной георешетки и обосновываться технико-экономическими расчетами.
6.3.16 МГТ следует укладывать в ложе того же очертания, как и у низа МГТ, вырезанное либо вытрамбованное в нулевом слое грунта толщиной, обеспечивающей центральный угол опирания конструкции не менее 90° - 120° в зависимости от формы отверстия МГТ. Нулевой слой грунта должен быть отсыпан из материала, которым засыпается МГТ или отсыпается подушка, и уплотнен не менее 0,95 максимальной стандартной плотности.
6.3.17 Нулевой слой грунта, в котором устраивается ложе, допускается отсыпать непосредственно на естественное основание (удаляя только растительный покров), если оно сложено песчаными (кроме пылеватых) или крупнообломочными грунтами. В этом случае естественное основание под МГТ уплотняется по всей длине конструкции и на ширину не менее 4 м в каждую сторону от МГТ.
При устройстве искусственного основания с мембраной из объемной георешетки в обойме из геотекстиля нулевой слой грунта для устройства ложа отсыпается непосредственно на мембрану и армируется без замыкания армирующих полотнищ со стороны примыкания грунтовой обоймы к телу МГТ Замыкание армирующих полотнищ грунтовой обоймы со стороны примыкания к телу трубы начинается со второго слоя у МГТ диаметром до 3 м и с третьего слоя - у МГТ диаметром более 3 м. Уплотнение грунта в мембране и армированных слоях обоймы должно выполняться не менее чем до уровня 0,95 максимальной стандартной плотности.
Пример конструктивного оформления водопропускного сооружения, включая подготовку основания, размещение противофильтрационных экранов, укрепления входного и выходного русл и насыпи у оголовков, и устройство армогрунтовой обоймы и насыпи в условиях вечной мерзлоты приведены в приложении М.
6.4.1 Для защиты антикоррозионного покрытия МГТ замкнутого контура от истирания взвесями, содержащимися в водном потоке, устраиваются бетонные лотки либо лотки из матрасов «Рено», укладываемые на защитный слой из геотекстиля.
6.4.2 Толщина лотка, в зависимости от наличия и количества взвесей, колеблется от 0,1 до 0,3 м. Лоток закрывает нижний сегмент МГТ на высоту не менее 10 см над меженним уровнем, при этом центральный угол должен составлять не менее 90 (рис. 13).
6.4.3 При отсутствии значительных (более 1 %) объемов твердого стока и при уклоне МГТ менее 0,005 взамен лотка допускается устройство щебеночной отсыпки по дну трубы на защитный слой из геотекстиля.
Рис. 13. Расположение лотка в МГТ
6.5.1 Для защиты водопропускного сооружения из МГС от карчехода и ледохода используют кольчужные сетки, сетки двойного кручения с якорями и анкерами.
6.5.2 Защитные сооружения от карчехода и ледохода устраиваются в виде заборов-ловушек с организацией пропуска паводковых вод для задержания карчехода и ледяных полей и возможностью последующей очистки.
6.5.3 Для защиты от наледей применяются стандартные противоналедные меры и в отдельных случаях могут использоваться электронагревательные элементы.
6.5.4 В проекте водопропускного сооружения должна быть предусмотрена подъездная дорога - спуск ко входному оголовку МГТ, по которой могла бы проехать техника для периодической очистки защитных сооружений от паводковых наносов и карчей.
6.6.1.1 Водопропускные сооружения из МГС на вечномерзлых и пучинистых грунтах проектируются с соблюдением норм и требований действующих нормативных документов: СНиП 2.02.01-83*, СП 32-104-98 с учетом свойств грунтов слоя сезонного промерзания (оттаивания) и вечномерзлых грунтов при оттаивании.
6.6.1.2 Водопропускные сооружения из МГС следует проектировать с учетом степени относительного сжатия вечномерзлого грунта основания при оттаивании (табл. 5) и характеристик грунтов слоя сезонного промерзания (оттаивания).
6.6.1.3 Для исключения недопустимых величин давления от пучения грунтов насыпи на МГТ в природных зонах с температурами ниже - 40 °С демпфирующая обсыпка и грунтовая призма должны выполняться из дренирующих грунтов с коэффициентом фильтрации не менее 1,0 м/сут.
6.6.1.4 Рекомендуется выполнять расчеты по прогнозу температурного режима в зоне теплового влияния МГТ. Расчеты производятся в соответствии с СП 32-101-95 «Проектирование и устройство фундаментов опор мостов в районах распространения вечномерзлых грунтов» и «Рекомендаций по методике прогноза изменений мерзлотно-грунтовых условий при строительстве и эксплуатации сооружений на трассе БАМ» М., ЦНИИС, 1976.
Таблица 5
Степени относительного сжатия вечномерзлого грунта при оттаивании
|
Категория просадочности |
Тип основания, относительное сжатие грунта δ |
Виды грунтов основания |
|
I |
Слабосжимаемое (прочное) δ < 0,05 |
Основания, сложенные скальными породами, крупнообломочными и песчаными грунтами, а также глинистыми грунтами твердой и полутвердой консистенции после оттаивания |
|
II |
Среднесжимаемое 0,05 < δ < 0,1 |
Основания, сложенные глинистыми грунтами тугопластичной и мягкопластичной консистенции, а также песчаными или крупнообломочными грунтами при наличии включений прослоев или линз льда |
|
III |
Сильносжимаемое (слабое) 0,1 < δ < 0,4 |
Основания, сложенные глинистыми грунтами текучепластичной и текучей консистенции, а также песчаными или крупнообломочными грунтами с включением прослоев или линз льда; мари с мощностью торфа до 1 м |
|
IV |
Просадочное δ > 0,4 |
Участки с наличием подземного льда; мари с мощностью торфа более 1 м |
Для теплотехнических расчетов исходными данными являются:
- приведенные температуры воздуха (градусы) по месяцам на естественной поверхности, примыкающей к автомобильной дороге, на основной площадке насыпи, на откосах насыпи;
- коэффициенты теплопередачи (ккал/м2 ∙ час ∙ град) тех же поверхностей, на которых измерялись температуры;
- характеристики грунтов в основании насыпи и самой насыпи.
Результатами расчета является прогнозирование температурного режима в насыпи, под основанием насыпи и грунтах на заданной площади рядом с насыпью.
На основании результатов расчетов, изменяя геометрию насыпи (крутизну откосов), конструкции водоотводов, применяя теплоизоляционные материалы и терморегулирующие конструкции, можно получить конструкцию насыпи автомобильной дороги и водопропускного сооружения с расчетным температурным режимом, гарантирующим эксплуатационное качество водопропускного сооружения из МГС.
Результаты расчетов используются при проектировании оснований МГТ и фундаментов оголовков (при расчете осадок и назначении строительного подъема).
6.6.1.5 На вечномерзлых грунтах МГТ разрешается применять, как правило, при грунтах I и в отдельных случаях при низкотемпературных грунтах II категории просадочности при условии, что суммарная величина осадки грунтов основания в оттаявшем состоянии может быть компенсирована величиной строительного подъема.
6.6.1.6 При высокотемпературных грунтах II категории просадочности и высоко- и низкотемпературных грунтах III и IV категорий просадочности по условиям льдистости грунтов основания следует разрабатывать индивидуальные проекты МГТ с учетом величины расчетной осадки и обоснованием принятых решений технико-экономическими расчетами. Грунты, имеющие температуру на глубине нулевых амплитуд (глубина, на которой температура вечномерзлого грунта в течение года остается постоянной) минус 1 °С и выше, относятся к высокотемпературным, ниже минус 1 °С - к низкотемпературным.
6.6.1.7 Возможность активизации протаивания вечной мерзлоты в районе оголовков МГТ может существенно различаться в зависимости от мощности снежного покрова и интенсивности снегопереноса в конкретной климатической зоне, что необходимо учитывать в теплотехнических расчетах. Данные по величине снежного покрова и скорости ветра следует определять по СНиП 23-01-99 «Строительная климатология» и данным местных метеостанций.
6.6.1.8 На слабых после оттаивания грунтах целесообразно производить замену грунта, в том числе с устройством подушки, армированной объемной георешеткой, - мембраны в обойме из геотекстиля. Толщина мембраны принимается по расчету.
6.6.1.9 Водопропускные сооружения из МГС проектируются, как правило, исходя из условия наименьшего нарушения естественного состояния мерзлых грунтов.
Во всех случаях, когда это возможно, МГТ должны укладываться в тело насыпи без устройства котлованов в мерзлых грунтах. Следует, как правило, избегать устройства приемных колодцев, глубоких бетонных, железобетонных и других экранов, различных врезок в мерзлые грунты.
Трубы на косогорах при наличии вечномерзлых грунтов следует проектировать по индивидуальному расчету возможной деградации мерзлоты.
6.6.1.10 Строительный подъем МГТ назначают исходя из глубины протаивания основания (приложение Д).
Сопряжение лотка трубы с руслом проектируют с учетом осадок концевых участков.
6.6.1.11 Грунтовая обойма вокруг МГТ, расположенных на вечномерзлых и пучинистых грунтах, устраивается в соответствии с п.п. 5.5.1 и 5.5.2 за исключением применения глинистых грунтов и мерзлотных грунтов.
6.6.1.12 Оголовки МГТ независимо от размера диаметра, как правило, применяются бесфундаментных типов. При необходимости увеличения водопропускной способности сооружения рекомендуется использовать трубы большего отверстия или многоочковые трубы.
6.6.1.13 Противофильтрационные экраны при всех грунтах основания следует применять из глинощебеночной или цементно-грунтовой смеси глубиной, равной толщине подушки.
6.6.1.14 В качестве дополнительных мероприятий по повышению прочности и устойчивости основания трубы и прилегающих участков насыпи в районах с высокотемпературными вечно-мерзлыми грунтами рекомендуется устраивать:
- на откосах насыпи - каменную наброску толщиной 1 - 1,5 м на длине, равной высоте насыпи, но не менее четырех диаметров трубы в каждую сторону насыпи от оси трубы (для многоочковых труб - от оси крайнего очка) на высоту не менее 1 м над верхом трубы (либо до верха насыпи);
- теплоизолирующие прослойки из пенопласта под концевыми участками труб;
- комплексное применение каменной наброски и пенопласта.
6.6.1.15 В условиях большой снегозаносимости для предотвращения попадания снега в трубу необходимо оборудовать концы труб инвентарными крышками. При необходимости сохранения вечной мерзлоты рекомендуется предусматривать применение вентиляционных труб, концы которых выводятся за пределы снежных отложений, и других устройств, обеспечивающих отвод тепла из трубы в зимнее время.
6.6.1.16 На участках с высокотемпературной мерзлотой во избежание интенсивного протаивания мерзлоты под оголовками МГТ при подтверждении теплотехническими расчетами может быть использована укладка теплоизолирующего слоя из пенопласта для уменьшения объема вырезки грунта.
6.6.1.17 На территориях со значительной обводненностью в теплый период года, интенсивной снего-ветровой деятельностью зимой, приводящей к формированию снежных заносов, и сплошной вечной мерзлотой, сложенной с поверхности осадочными породами, в разной степени насыщенными льдом (п-ов Ямал) в конструкцию водопропускных труб из МГС должны входить элементы, позволяющие сохранить температурный режим и предотвратить растепление вечномерзлых грунтов, являющееся последствием образования снежных скоплений у оголовков МГТ. Обводненность территории также является одной из причин растепления грунтов и образования термокарста. При проектировании водопропускных сооружений из МГС в таких климатических зонах необходимо предусмотреть одновременное проектирование мероприятий по обязательному водоотводу на территории, примыкающей к водопропускному сооружению.
6.6.2.1 При проектировании водопропускных сооружений на автомобильных дорогах на переходах малых и средних водотоков, имеющих в осенне-зимний период года температуру воды +0,2 °С и ниже, необходимо проводить прогнозирование наледей. Прогнозирование наледей заключается в установлении качественных и количественных характеристик:
- изменений наледного процесса в местах действующих наледей;
- вероятности возникновения искусственных наледей при строительстве автомобильной дороги и водопропускного сооружения;
- степени воздействия наледей на проектируемые объекты.
6.6.2.2 На переходах средних и малых водотоков с природными наледями в целях свободного пропуска последних следует рассматривать варианты с увеличением высоты насыпи и отверстия водопропускного сооружения.
6.6.2.3 При наледях, высота которых не более 1,0 м, можно использовать многоочковые МГТ со ступенчатым расположением очков. В таких МГТ часть очков (обычно одно) располагается в уровне меженных вод, а остальные подняты на некоторую высоту, назначаемую в зависимости от уровней прогнозируемой наледи и меженных вод. При образовании наледи верхние очки остаются свободными, обеспечивая пропуск паводковых вод. Наиболее благоприятными условиями для постройки таких МГТ являются распластанные лога, где обычно даже средние наледи имеют высоту менее 1 м.
6.6.2.4 Для предохранения водопропускных сооружений из МГС и грунтовой обоймы вокруг МГТ от воздействий наледей необходимо проектировать водопропускное сооружение совместно с противоналедными мероприятиями.
Водопропускные МГТ на водотоках с наледями, которые требуют устройства специальных противоналедных конструкций и мероприятий, проектируются в том случае, когда есть возможность проводить периодические эксплуатационные работы по содержанию этих конструкций в рабочем состоянии.
Противоналедные мероприятия и устройства необходимо назначать с учетом генетического типа наледи, дебита и температуры воды источника, питающего наледь, рельефа и инженерно-геологических условий в пределах наледного участка, а также в увязке с комплексом проектных решений по конструкции водопропускного сооружения.
6.6.2.5 На водопропускных сооружениях с постоянным водотоком рекомендуется рассматривать варианты применения безналедного пропуска водотока, свободного пропуска наледи или удержание наледи в местах, где она не представляет опасности для водопропускного сооружения.
Безналедный пропуск водотока можно предусмотреть посредством сосредоточения потока и создания ему оптимального теплового режима в зимнее время на подходах и в пределах водопропускного сооружения. Для этого требуется расчистка, спрямление и углубление русла, устройство полузапруд, применение специальных лотков - открытых, закрытых, утепленных. При наличии рядом с автомобильной дорогой электрических сетей безналедный пропуск можно осуществить, предусмотрев подогрев воды и таяние льда путем применения электротермических способов предотвращения наледей.
6.6.2.6 К мероприятиям и устройствам, ограждающим водопропускное устройство, относятся: противоналедные валы, наледные пояса, мерзлотные грунтовые пояса, противоналедные заборы.
Для проектирования противоналедных мероприятий можно использовать «Методические указания по проектированию противоналедных мероприятий и устройств» Минтрансстроя 1985 г.
6.6.3.1 При устройстве водопропускного сооружения на слабом основании используется метод замены слабого основания. Замену следует производить дренирующим грунтом. Если крупность частиц дренирующего грунта удовлетворяет требованиям п. 5.5.1 и 5.5.2, то МГТ укладывается непосредственно на новый грунт. Глубина заменяемого грунта определяется расчетом осадки трубы.
6.6.3.2 При необходимости замены слабого грунта в основании на большую глубину целесообразно уменьшать объем заменяемого грунта с помощью устройства мембраны из объемной георешетки, заполняемой щебнем или песчано-гравийной смесью.
6.6.3.3 Допускается устройство МГТ на искусственных основаниях, сооружаемых в виде мембран из объемной георешетки в обойме из геотекстиля. Мембраны могут рассчитываться как плавающая платформа и как платформа на поле буронабивных свай. Расчеты следует выполнять методами конечных элементов.
6.6.4.1 Водопропускное сооружение необходимо проектировать совместно с мероприятиями по отводу воды от строительной площадки в соответствии с п.п. 6.3.1 - 6.3.3.
6.6.4.2 В местах с местными понижениями (углублениями), заполненными водой и находящимися в непосредственной близости от зоны проектируемой МГТ, необходимо предусматривать заполнение понижений местным глинистым грунтом, оформляя его в виде бермы высотой 0,2 - 0,3 м над уровнем естественной поверхности с поперечным уклоном от верха отсыпки 0,02 - 0,04 в сторону русла водотока.
6.6.4.3 Откос насыпи над грунтовой обоймой проверяется на местную устойчивость, при необходимости его уполаживания проводится технико-экономический анализ варианта удлинения МГТ или армирования насыпи.
6.6.4.4 При высоте насыпи над трубой более 12 м насыпь в пределах ширины грунтовой обоймы и по 10 м в каждую сторону от грунтовой обоймы должна армироваться.
Работа МГТ в напорном или полунапорном режиме допускается только на временных дорогах при соблюдении требований СНиП 2.05.03-84*, п. 1.14, которым оговорены требования:
- предусмотреть под оголовками противофильтрационные экраны;
- обеспечить водонепроницаемость швов между торцами звеньев и секциями фундаментов;
- обеспечить устойчивость вмещающей трубу насыпи против напора и фильтрации;
- предусматривать специальные входные оголовки;
- гарантировать надежность конструкции и укрепления русл на входе и выходе.
6.7.2 МГТ отличаются от технически гладких труб существенно большей шероховатостью. Среднее значение коэффициента шероховатости n = 0,025 - 0,03 для труб диаметром до 3,0 м, где применяется гофр размером до 152,4×50,8 мм. Для труб диаметром более 3,0 м и применении больших размеров гофр коэффициент шероховатости может достигать 0,04 и даже более. Это приводит к необходимости увеличения уклонов МГТ по сравнению с гладкими трубами. Значение критических уклонов в гофрированных трубах достигает 0,02 - 0,03.
6.7.3 Для обеспечения максимального использования водопропускной способности МГТ должно обеспечиваться соблюдение требования о превышении уклона трубы над критическим уклоном (iт > ik) и уклоны МГТ должны быть более 0,02 - 0,03 и желательно не менее 0,01.
6.7.4 Для гарантии сохранения безнапорного режима протекания потока в трубе расчетами должно быть обеспечено наличие зазора между поверхностью потока и шелыги свода в трубе диаметром до 3,0 м не менее 1/4 отверстия трубы, а в трубах диаметром более 3,0 м - не менее 0,75 м.
Рекомендации по гидравлическим расчетам приведены в приложении Е.
7.1.1 Строительно-монтажные работы по сооружению МГТ должны производиться по утвержденному проекту производства работ, составленному на основании рабочих чертежей на все работы по возведению сооружения.
Сооружение МГТ при отсутствии грунтоуплотняющих машин и ручных механизированных трамбовок не допускается.
7.1.2 Сооружение МГТ при отрицательной температуре воздуха, а также при положительной температуре воздуха и наличии вечномерзлых грунтов должно производиться в кратчайшие сроки без перерыва в выполнении следующих отдельных основных операций и всех работ в целом:
- рытье котлована;
- отсыпка подушки на полную ее высоту;
- монтаж и установка смонтированной МГТ;
- устройство грунтовой обоймы (призмы) до уровня горизонтального диаметра.
При постройке МГТ на вечномерзлых грунтах, кроме того, следует:
- выполнять работы по сооружению трубы и насыпи около нее по возможности в конце зимы или весной:
- на время строительства обеспечить беспрепятственный отвод поверхностных вод;
- не допускать уничтожения мохорастительного покрова;
- не допускать проезда транспорта и строительных машин вне подъездных дорог;
- устраивать подъездные дороги к МГТ путем подсыпки грунта толщиной в зависимости от нагрузки от транспортных и строительных машин, но не менее 0,5 м;
- в проекте должны быть предусмотрены мероприятия, не допускающие скопления воды вблизи оголовков МГТ во время эксплуатации.
7.1.3 При приемке построенного сооружения должна быть предъявлена следующая документация: чертежи МГТ, на которые нанесены согласованные изменения; акты освидетельствования и акты промежуточной приемки ответственных конструкций и скрытых работ (устройство оснований, монтаж конструкций, устройство дополнительного защитного покрытия и лотков, грунтовая обсыпка (обойма) МГТ); акт освидетельствования МГТ в целом; паспорт на поставленные строительные стальные конструкции; документы о согласовании допущенных при строительстве отступлений от проекта; сводная ведомость указанных документов.
7.1.4 Контроль качества и приемка работ должны обеспечивать: высокое качество выполняемых работ и полное соответствие их утвержденному проекту и действующим нормативным документам; соответствие качества материалов и конструкций требованиям утвержденного проекта и государственных стандартов; своевременное осуществление промежуточной приемки выполненных работ и правильное оформление соответствующей производственно-технической документации.
До приемки скрытых работ и ответственных конструкций запрещается производить последующие работы (например, установку МГТ на непринятую грунтовую подушку или засыпку трубы с непринятым дополнительным защитным покрытием).
7.2.1 Металлоконструкции с завода на притрассовое производственное предприятие (полигон) следует по возможности доставлять без промежуточных перегрузок.
На полигонах должны быть организованы площадки для складирования элементов, сборки секций МГТ, устройства лотков и дополнительного защитного покрытия, с которых конструкции доставляют на строительные площадки.
На перевозку секций тем или иным транспортом составляется проект.
7.2.2 Притрассовые производственные предприятия, на которых производится сборка секции МГТ, следует размещать из расчета доставки автотранспортом или тракторами на объекты готовых секций, укомплектованных элементами крепежа.
7.2.3 При перевозке металлоконструкций необходимо принимать меры против повреждения основного и дополнительного покрытий, предотвращения деформации элементов.
Погрузку и разгрузку элементов конструкции и пакетов следует производить с применением специальных строп и траверс. Подъем элементов или пакетов со строповкой за отверстия запрещается.
Запрещается сбрасывать элементы или пакеты из них и секции МГТ с транспортных средств.
Звенья труб диаметром до 3,0 м разрешается перекатывать по горизонтальной площадке.
7.2.4 При погрузке на железнодорожный состав нормальной колеи и разгрузке с него пакетов элементов и секций МГТ должны выполняться требования «Технических условий погрузки и крепления грузов», М.: «Транспорт», 1990.
7.2.5 Складирование пакетов гофрированных элементов должно обеспечивать удобство строповки и осмотра их. Пакеты элементов следует укладывать вертикально (на ребро) в штабеля с применением деревянных прокладок; в штабель укладывать не более трех рядов пакетов.
Замкнутые секции МГТ диаметром до 3 м следует укладывать по высоте не более чем в три ряда на деревянные подкладки.
7.2.6 Пакеты элементов в железнодорожный подвижной состав следует устанавливать в вертикальном положении (на ребро) не более чем в два ряда, применяя необходимое крепление и прокладки из досок.
При погрузке на бортовые машины пакеты МГС необходимо размещать в один ряд, устанавливая их на ребро, между пакетами укладывать прокладки из досок или брусьев.
Размещение пакетов МГС на транспортных средствах должно исключать возможность неупругих деформаций гофров, повреждения защитного покрытия элементов и секций МГТ, а также их монтажных отверстий.
7.2.7 Погрузку секций на автомашины и разгрузку их следует осуществлять автомобильным краном. Строповку секций необходимо производить пеньковым канатом или тросом с прокладкой из брезента или другого материала, исключающего возможность повреждения цинкового и дополнительного защитного покрытия.
7.2.8 При погрузке на транспортные средства элементов и секций МГТ с нанесенным дополнительным защитным покрытием их следует укладывать на опорные брусья с прибитыми к ним жгутами дорнита или прокладками, покрытыми разделительными прослойками парафинированной или битуминированной бумаги.
7.3.1 На постоянных водотоках строительство начинают с работ по сооружению временного русла для отвода воды, проводимых в соответствии с проектом. Между постоянным и временным руслами устраивают временную дамбу из глинистых грунтов.
7.3.2 Для осушения строительной площадки на время сооружения основания и монтажа МГТ проводят работы в соответствии с п.п. 6.3.1 - 6.3.3. Для отвода поверхностных и грунтовых вод используются дренажи открытого типа - канавы и лотки. Выбор трассы и проектирование продольного профиля канавы и лотков определяются местными условиями.
7.3.3 Для осушения площадки могут быть сооружены дренажные прорези. Дренажные прорези эффективны при осушении грунтов, обладающих относительно высокой водопроницаемостью. Дно прорези следует устраивать из водонепроницаемого грунта слоем 0,15 - 0,25 м с втрамбовыванием в него щебня. При расчетном расходе воды более 0,5 л/мин в прорези рекомендуется укладывать дренажные трубы с минимальным диаметром 125 мм.
Для перехвата грунтовых вод, поступающих с нагорной стороны, используют ограждающие дренажи.
7.3.4 Устройство естественного основания, в том числе с заменой грунта, должно включать комплекс работ, который необходимо выполнять для обеспечения равномерного и надежного опирания конструкции на грунт, уплотненный не менее чем до 0,95 максимальной стандартной плотности.
При устройстве песчаной подушки на естественном основании или на подготовленном грунтовом основании (при замене грунта) грунт подушки также подлежит уплотнению не менее чем до 0,95 максимальной стандартной плотности.
Для водопропускных сооружений с МГТ (круглых труб диаметром более 3 м, труб пониженной высоты, эллипсовидных), кроме замены грунта в основании, может устраиваться мембрана из объемной георешетки в обойме из армирующих полотнищ геотекстиля. На скальных и полускальных основаниях мембраны не устраиваются.
7.3.5 Работы по подготовке основания включают:
- вырезку котлована на глубину замены кондиционным грунтом;
- транспортировку и укладку кондиционного грунта и грунта подушки;
- уплотнение грунта естественного основания и подушки под МГТ грунтоуплотняющими машинами или виброкатками;
- устройства подушки с применением экскаваторов или экскаваторов-планировщиков;
- нарезку ложа под трубу приспособленным для этой цели автогрейдером, оборудованным специальным профильным ножом, или бульдозером с аналогичным оборудованием отвала.
7.3.6 Грунт подушки основания следует отсыпать в котлован и уплотнять слоями. Каждый слой толщиной не более 0,5 м должен быть уплотнен не менее чем за два прохода по одному следу.
При уплотнении грунта пневмошинными катками толщину слоя следует принимать не более чем 0,3 м.
После уплотнения подушки следует отсылать нулевой слой грунта и уплотнить его, используя те же машины и ту же технологию, что и при устройстве подушки.
Если МГТ устанавливается непосредственно на подушку, то поверхности подушки придается требуемый строительный подъем.
Правильность строительного подъема контролируется нивелировкой не менее чем в трех точках: под осью пути и концами МГТ.
7.3.7 Если проектом предусмотрена отсыпка нулевого слоя грунта на предварительно уплотненное основание, то последнее в этом случае должно быть уплотнено на ширину не менее 4 м в каждую сторону от оси МГТ для одноочковых МГТ и не менее D ∙ n + (n - 1)b + 4 для многоочковых МГТ по той же технологии, что и подушка, где D - диаметр МГТ, n - число очков, b - расстояние между осями МГТ.
7.3.8 При устройстве основания, когда в нем необходима вырезка ложа под МГТ, ее следует производить автогрейдером, оборудованным профилированным ножом или начерно бульдозером с последующей отделкой вручную по шаблону с радиусом криволинейной кромки, равным радиусу МГТ по средней линии гофров (рис. 14). Отклонение профиля грунтового ложа от шаблона не должно превышать 2 - 3 см.
Рис. 14. Вырезка грунтового ложа по шаблону:
1 - шаблон; 2 - подкладка из брусьев; 3 - нулевой слой; 4 - верх подушки
7.3.9 После установки МГТ в проектное положение на профилированное ложе следует перед устройством грунтовой обоймы производить подсыпку грунта в зазоры между поверхностью нижней части МГТ и грунтовым ложем и его уплотнение бензиновыми или дизельными трамбовками с подштыковкой во впадинах гофров. Трамбовки при уплотнении грунта размещаются на расстоянии 5 см от гребней гофров.
Нулевой слой грунтовой обоймы непосредственно возле МГТ следует доуплотнять виброкатками за один - два прохода машины вдоль стенок трубы. В случае использования для уплотнения грунта обоймы пневмокатков доуплотнение нулевого слоя возле стенок трубы следует производить ручными трамбовками или виброплитами.
Если трубу устанавливают на плоское основание, то подсыпка грунта в нижние четверти трубы с уплотнением трамбовками или виброплитами с подштыковкой производится до охвата МГТ грунтом не менее чем на 120°. Последующее уплотнение грунта возле трубы производят так же, как при спрофилированном ложе.
7.3.10 При устройстве основания в зимнее время для замены грунта основания и устройства подушки разрешается применять только талый (сухой или сухомерзлый несмерзшийся) грунт и уплотнять его трамбующими машинами по мере отсыпки, не допуская смерзания в рыхлом состоянии.
7.3.11 Котлованы под противофильтрационные экраны следует отрывать параллельно с подготовкой котлована под подушку и после удаления воды заполнять (в зависимости от требований проекта) глинощебеночной или цементно-грунтовой смесью или бетоном с послойным уплотнением виброплитами.
7.3.12 Контроль плотности грунта естественного основания пути проводится после окончания работ по его уплотнению. Контроль плотности грунта отсыпанной подушки осуществляется после ее отсыпки и уплотнения по всей длине МГТ.
Контроль плотности грунтовой подушки, укладываемой взамен слабого грунта основания, осуществляется через каждые 0,5 м высоты подушки. Количество проб должно быть не менее двух в каждой точке.
Плотность песчаных грунтов контролируется прибором Ковалева, а щебенисто-галечниковых и дресвяно-гравийных - методом лунок (см. приложение Л).
Результаты контроля заносятся в акт на скрытые работы.
7.3.13 На слабых основаниях для уменьшения объема заменяемого грунта и лучшего распределения нагрузки от трубы и насыпи рекомендуется укладка мембран из объемной георешетки, заполненной ПГС или щебнем (рис. 15).
Укладка георешеток производится по следующей схеме:
7.3.14 Звенья георешеток устанавливают следующим образом:
- с помощью натянутых шнуров фиксируют плановое положение каждого звена вдоль трубы;
- звено георешетки растягивают и крепят к основанию штырями длинным краем (А) вдоль насыпи;
- следующие звенья георешетки растягивают и устанавливают вплотную к предыдущим по короткому краю решетки (В), ребра звеньев закрепляют скрепками.
Такая последовательность установки звеньев георешеток (рис. 15) осуществляется на протяжении всей длины армирования.
Рис. 15. Общий вид георешетки в рабочем (растянутом) состоянии
7.3.15 В середине насыпи на всю ширину звенья георешеток устанавливаются чередованием их в поперечном и продольном направлении, а ребра георешеток также скрепляются скрепками.
7.3.16 Края георешеток крепят штырями к основанию с шагом 1,5 - 2,0 м по всему периметру, при этом следует контролировать параллельность сторон георешетки.
После окончания укладки георешеток проверяют качество выполненных работ и оформляют акт на скрытые работы.
7.3.17 Закрепленную георешетку засыпают грунтом с физико-механическими характеристиками, соответствующим проектным (песок, песчано-гравийная смесь, щебень и т.п.). Грунт отсыпают в ячейки с избытком с учетом последующего уплотнения. При выполнении этой технологической операции необходимо следить, чтобы колеса погрузчика не деформировали ребра решетки.
7.3.18 Предварительную планировку поверхности отсыпки выполняют бульдозером на пневмошинах за один - два прохода по одному следу.
Эту работу выполняют поперечными и продольными проходами на 2-й рабочей скорости, начиная от торцов насыпи (со стороны оголовков) с постепенным перемещением к ее середине и с перекрытием предыдущего слоя на 0,5 - 0,8 м. Использование бульдозера на гусеничном ходу не допускается.
7.3.19 При выборе уплотняющего механизма следует учитывать необходимость тщательности уплотнения грунта, помещаемого в обойму по всей ее ширине, включая откосную часть.
7.3.20 Для того, чтобы заполнитель георешетки не вытеснялся из ячеек под нагрузкой, мембрану оборачивают геотекстилем. Для этого перед раскладкой георешетки по всей площади слоя раскладывают геотекстиль с обязательным перехлестом полотнищ, оставив с одной стороны длину полотнищ такую, чтобы сверху накрыть георешетку с наполнителем.
7.4.1.1 В зависимости от местных условий монтировать МГТ диаметром до 3 м с болтовыми стыками внахлестку на строительной площадке следует из секций, предварительно собираемых из отдельных элементов. Водопропускные сооружения арочного типа и МГТ больших диаметров монтируют из отдельных элементов на стройплощадке. Рекомендуется в этом случае на полигонах проводить контрольную сборку (маркировку) и укрупнение элементов до габаритов, удобных к перевозке (2 - 4 листа). Маркировка краской обязательна.
Когда возможна доставка секций МГТ на объект автотранспортом или тракторами и установка их краном, особенно в районах с расчетной минимальной температурой наружного воздуха ниже минус 40 °С, способ монтажа из секций и укрупненных элементов должен быть основным. При этом рекомендуется производить монтаж МГТ «с колес» сразу в проектное положение.
Длину секций следует назначать, исходя из заданных проектных длин МГТ, и рекомендуется принимать не более 10 м. В промежуточных секциях число звеньев должно быть нечетным.
7.4.1.2 Сборку МГТ следует осуществлять согласно монтажной схеме, определяемой в проекте производства работ. Монтажная схема должна предусматривать: порядок установки гофрированных элементов при сборке и объединении секций, порядок перевозки секций, порядок установки болтов, схему специальных стяжек, оснастки и подмостей для крепления МГТ диаметром более 2 м в поперечном сечении во время сборки.
7.4.1.3 В комплект инструментов для монтажа МГТ должны входить торцевые ключи, ломики, крюки с кольцами, электрические или пневматические гайковерты, молотки, 10 монтажных болтов длиной 75 мм того же диаметра, что и рабочие болты. Эти болты следует применять для временной стяжки гофрированных листов, и они не должны оставаться в конструкции.
7.4.1.4 Проект производства работ должен учитывать особенности установки металлоконструкций в проектное положение в зависимости от верхнего очертания подушки под МГТ. При основании, спланированном без устройства ложа для МГТ диаметром до 3,0 м, допускаются монтаж МГТ рядом с проектной осью и последующая накатка ее в проектное положение. При спрофилированном основании секции трубы следует устанавливать краном и объединять на месте.
7.4.1.5 Монтаж труб с монолитными или сборными оголовками должен начинаться со сборки фундаментной части низового оголовка с последующей укладкой металлических конструкций сооружения (секций, элементов) и завершением устройства оголовков.
7.4.1.6 Перед началом работ следует проверить наличие маркировки, отбраковать элементы, выправить погнутые места деревянным молотком и разложить элементы и ящики с крепежом вдоль оси МГТ.
При отбраковке элементов и крепежа следует проверять маркировку элементов, геометрические размеры элементов и крепежа, качество защитного покрытия.
Марка элемента условно обозначает диаметр МГТ и толщину листа. На каждом пакете гофрированных элементов должна быть бирка с указанием марки элемента, марки стали, толщины элемента, диаметра МГС, завода-изготовителя и года выпуска. Геометрические размеры элементов конструкции и крепежа должны отвечать требованиям проекта.
Поверхность основного (цинкового или алюминиевого) защитного покрытия труб не должна иметь видимых трещин, забоин, наплывов на стыкуемых поверхностях и мест, не покрытых этим защитным покрытием. Использование элементов с указанными дефектами не допускается. Дефекты защитного покрытия устраняются заводом-изготовителем.
7.4.1.7 Качество дополнительного защитного полимерного покрытия, которое наносится в заводских условиях, должно проверяться на сплошность и отсутствие отслаивания.
Соприкасающиеся поверхности элементов и крепежа необходимо очистить от грязи и посторонних частиц.
7.4.2.1 Перед сборкой секций выполняются подготовительные работы: размещаются пакеты с МГС, окаймляющие уголки, ящики с крепежом, необходимый инструмент и, если требуется, передвижная электростанция и компрессор.
Рис. 16. Последовательность сборки секции трубы отверстием 1,5 м из отдельных звеньев (вид с торца):
а - величина сдвижки продольных стыков, цифрами показан порядок установки элементов при объединении звеньев А и Б
7.4.2.2 Рекомендуемая последовательность установки элементов при сборке секций приведена на рис. 16. Вначале необходимо собрать звенья в вертикальном положении (элементы устанавливаются на ребро) с постановкой ограниченного числа болтов (3 - 4 болта) в середине продольных стыков. При этом один торец элемента должен находиться на наружной поверхности звена, а другой - на внутренней. Во втором ряду продольного стыка не должно быть отверстий на наружных гребнях волн (рис. 17 и 18); в правильно собранных звеньях труб все марки элементов должны быть видны. Затем звенья необходимо последовательно устанавливать в горизонтальное положение на деревянные брусья, уложенные вдоль секций трубы так, чтобы продольные стыки в них были на одном уровне, а расположение нахлеста элементов в соединяемых звеньях было строго одинаково.
Рис. 17. Схема размещения болтов продольного стыка:
1, 2 - соответственно 1-й и 2-й ряды болтов внутреннего листа
Рис. 18. Схема соединения двух секций соединительными элементами:
1, 2, 3 - номера и последовательность установки соединительных элементов; А, Б - торцы соединяемых секций; а - величина шага сдвижки продольных стыков
В секцию звенья объединяются стандартными элементами. При установке этих элементов в местах стыковки трех листов не допускается соприкасание двух листов, входящих в одно звено. Поэтому каждый соединительный элемент одним торцом вводят в зазор между элементами ранее собранных звеньев А и Б (см. рис. 16).
Продольные стыки в звеньях следует располагать с перевязкой - взаимной сдвижкой на величину а, равную одному - четырем шагам отверстий поперечных стыков. Величину сдвижки для каждой отдельной трубы принимать постоянной.
7.4.2.3 При установке соединительных элементов (сборке секций и их объединении) болты в количестве 3 - 4 шт. следует наживлять вначале в средних частях продольных и поперечных стыков. Остальные устанавливаются после объединения в секцию необходимого количества звеньев. Последними ставятся болты в местах соединения трех элементов.
7.4.2.4 Затягивать болты следует электрическими гайковертами или пневматическими гайковертами, а также торцевыми и накидными гаечными ключами.
Допускается применение электрических гайковертов небольшой массы (2 - 3 кг), обеспечивающих величину момента затяжки 15 - 20 кгс ∙ м.
При затяжке болтов необходимо следить за правильностью положения плосковыпуклых и плосковогнутых шайб.
7.4.2.5 При сборке секций МГТ болты в продольных стыках следует ставить на расстоянии не менее 15 см от торцов концевых звеньев секции. Поставленные в концевых звеньях болты не должны затягиваться, чем облегчается постановка стандартных элементов с заведением их в зазоры продольных стыков между элементами торцевых звеньев.
7.4.3.1 Монтаж МГТ следует осуществлять на спланированном основании либо рядом (вблизи проектной оси МГТ). Секции укладывают на деревянные брусья для беспрепятственной постановки болтов в нижней части.
7.4.3.2 Секции в проектное положение, как правило, следует устанавливать краном. При строповке секций должны быть приняты меры, исключающие возможность повреждения защитного покрытия. Стропы размещают на расстоянии четверти длины секции от их торцов. Рекомендуется выполнять строповку с прокладками из дорнита.
7.4.3.3 При объединении секций вначале торцы секций автомобильным краном устанавливают так, чтобы продольные стыки были расположены на одном уровне, затем устанавливают соединительные элементы.
7.4.4.1 Сборку МГТ рекомендуется осуществлять по одной из двух принципиальных схем.
Рис. 19. Монтажная схема МГТ отверстием 1,5 м (вид с торца):
а - величина сдвижки продольных стыков; цифрами показан порядок установки элементов при сборке МГТ
По первой схеме МГТ следует наращивать стандартными элементами постепенно (рис. 19). Элементы переносят и удерживают в необходимом положении специальными крюками. Центрировку отверстий в элементах для установки болтов осуществляют оправками, вставляя их в отверстия, расположенные рядом с отверстиями, в которые вставляют болт. При установке элементов в местах нахлеста трех листов не допускается соприкасание двух листов, входящих в одно звено. Сборку следует производить с установкой минимального количества болтов: вначале ставят 2 - 3 болта на средних участках продольных и поперечных стыков, после чего производят стяжку в местах соединения трех элементов длинными монтажными болтами, которые затем заменяют обычными. После наживления болтов в звене из элементов 11 и 12 продолжают сборку следующего участка МГТ, а в звене из элементов 5 и 6 производят установку и затяжку всех болтов.
По второй схеме вначале выкладывают нижние элементы на всю длину МГТ, объединяя их болтами в средней части. Затем устанавливают по два других элемента звеньев через одно звено (см. рис. 19, цифры в скобках). Далее последовательно монтируют оставшиеся элементы пропущенных звеньев, завершая монтаж постановкой и затяжкой всех болтов.
Между звеном, в котором затягивают все болты, и собираемым звеном должно быть не менее трех звеньев с наживленными болтами.
Примеры раскладки элементов металлических гофрированных конструкций различных форм поперечных сечений приведены в приложении А.3.
7.4.4.2 При монтаже МГТ на строительной площадке могут быть осуществлены также предварительная сборка звеньев и последующее их объединение. Для МГТ диаметром 2 м и более такая технология сборки является предпочтительной.
Звенья собирают на специально подготовленной площадке с деревянным настилом в непосредственной близости от сооружаемой МГТ. Собранные звенья устанавливают краном на основание, подкладывая под каждое звено деревянные брусья и ориентируя их вдоль МГТ (после установки и затяжки всех болтов брусья из-под МГТ удаляют).
При сборке МГТ диаметром более 2 м проектом должны быть предусмотрены переносные подмости для монтажников.
7.4.4.3 Окаймляющие уголки устанавливают, когда в продольных стыках торцевых звеньев МГТ болты, расположенные на расстоянии 0,3 - 0,5 м от торцов, не затянуты.
7.4.4.4 Монтаж МГТ диаметром более 3,0 м может выполняться по одной из этих схем с использованием временных подмостей для монтажа верхних листов и кранового оборудования (рис. 20). Одновременно с монтажом колец устанавливаются распорки по типу, представленному на рис. 20 и 21.
Рис. 20. Сборка MГT из отдельных элементов
Рис. 21. Временные распорки для сохранения формы трубы при засыпке армогрунтовой (грунтовой) обоймы
7.5.1 Дополнительное защитное покрытие металлоконструкций МГТ выполняется с применением мастик, полимерных лакокрасочных материалов или эмалей в соответствии с требованиями проекта.
7.5.2 Полимерные защитные покрытия наносят на секции МГТ на заводах-изготовителях, либо на притрассовых производственных предприятиях (полигонах), где производится сборка секций. Нанесение покрытия на строительной площадке не рекомендуется. На строительной площадке полимерные защитные покрытия наносят только на незащищенные концы секций, элементы и дефектные места, появившиеся в покрытии при транспортировании и сборке секций.
В зимних условиях очистку МГТ и нанесение защитного покрытия следует производить под навесом и в тепляках (если это требуется по технологическому регламенту).
7.5.3 Работы по устройству защиты МГТ на монтажной площадке включают в себя последовательное выполнение операций: по подготовке оцинкованной (алюминизированной) поверхности, ремонту поврежденного покрытия, нанесению грунтовочного покрытия, нанесению защитных слоев, сушке каждого слоя покрытия.
Все операции по выполнению технологического процесса по нанесению защитного покрытия должны производиться при температуре и влажности воздуха, указанных в технических условиях на конкретный материал.
Перед нанесением защитного покрытия поверхности МГТ должны пройти контроль и освидетельствование состояния оцинковки (алюминизации).
7.5.4 Подготовка металлических поверхностей к нанесению защитного покрытия включает в себя:
- удаление грязи, пыли и жировых загрязнений с поверхности;
- нанесение грунтовочного слоя на всю поверхность.
Следы жира должны удаляться с помощью щеток или ветоши, смоченных уайт-спиритом или растворителем; пыль удаляется обдувом сжатым воздухом.
7.5.5 При малых зонах очистки и в труднодоступных местах допускается применение металлических щеток (как ручных, так и механических).
7.5.6 Технологии производства работ по нанесению покрытий и физико-механические характеристики полимерных покрытий приведены в приложении К.
7.6.1 Устройство грунтовой обоймы выполняется в едином технологическом процессе с засыпкой трубы до проектной отметки.
МГТ должна быть заключена в грунтовую (армогрунтовую) обойму не позже чем через трое суток после окончания работ по нанесению дополнительного защитного покрытия.
7.6.2 Устройство грунтовых обойм МГТ следует вести с опережением возведения земляного полотна. Необходимость оставления в насыпях прогалов для строительства труб должна быть обоснована проектом организации строительства, при этом ширину прогала (в свету) понизу следует назначать из расчета обеспечения расстояния между основанием откоса насыпи и стенкой МГТ на уровне горизонтального диаметра не менее 4 м.
7.6.3 Устройство грунтовой обоймы МГТ следует производить грунтами, перечисленными в п. 5.5.1, 5.5.2. Степень уплотнения грунта в обойме МГТ должна быть не ниже 0,95 максимальной стандартной плотности.
7.6.4. Процесс устройства грунтовой обоймы должен включать следующие виды работ:
- транспортировку грунта из карьера или резерва автосамосвалами или скреперами;
- разгрузку грунта рядом с МГТ в расстоянии не ближе 1,0 м от стенки;
- разравнивание грунта бульдозером слоями заданной толщины одновременно с обеих сторон МГТ,
- послойное уплотнение грунта грунтоуплотняющими машинами в расстоянии более 1,0 м от стенки МГТ в уровне горизонтального диаметра, а в непосредственной близости от трубы - ручными механизированными трамбовками с подштыковкой грунта в гофрах трубы;
- контроль плотности засыпки.
7.6.5 При отсыпке насыпи совместно с обоймой засыпку следует вести наклонными от МГТ слоями (уклон не круче 1:5), толщина которых назначается в зависимости от грунтоуплотняющих средств (рис. 22):
Рис. 22. Схема засыпки и уплотнения грунта наклонными слоями
свалов и скреперов с въездом и съездом со стороны откосов насыпи (рис. 23, а). Вторую схему целесообразно применять в случае засыпки МГТ в прогалах.
0,3 - 0,5 м - при применении грунтоуплотняющих машин виброударного действия для стесненных условий с одним или двумя рабочими органами и дизель-трамбовочной машиной;
0,2 м - при использовании пневмокатков массой 25 - 30 т;
0,15 м - при применении ручных электротрамбовок.
Особое внимание следует уделять уплотнению грунта у стенок МГТ и в гофрах. При этом электротрамбовки следует располагать на расстоянии 5 см от гребней гофров.
7.6.6 Отсыпку грунта следует производить с разворотом самосвала перед МГТ и подачей его для разгрузки задним ходом вдоль оси насыпи (рис. 23, б) или же с кольцевым движением самосвалов.
Для засыпки МГТ в прогалах можно использовать бульдозеры, перемещая ими грунт, специально доставленный для этой цели и уложенный с обеих сторон МГТ на насыпи.
Отсыпку грунта слоями во всех случаях необходимо начинать от МГТ по всей ее длине.
7.6.7. Засыпать МГТ необходимо послойно в такой последовательности. Грунт укладывают одновременно с обеих сторон МГТ и разравнивают бульдозером. После уплотнения слоя грунта с одной стороны МГТ производят отсыпку второго слоя, а с другой стороны - уплотнение грунта. В таком же порядке осуществляются отсыпка и уплотнение всех последующих слоев до верха МГТ.
7.6.8. Уплотнение каждого слоя грунта, если оно производится при движении машин вдоль МГТ, следует начинать с удаленных от нее участков и с каждым последующим проходом приближаться к стенкам МГТ. Уплотнение грунта непосредственно у МГТ допускается только тогда, когда с противоположной ее стороны уже отсыпан слой грунта этого же горизонта по всей длине МГТ.
7.6.9 Уплотнять грунт вокруг МГТ следует, как правило, машиной виброударного действия для стесненных условий. При уплотнении слоев, расположенных ниже горизонтального диаметра МГТ, машина должна передвигаться вдоль МГТ. Слои, находящиеся выше этого уровня, целесообразно уплотнять челночным способом (рис. 24), если МГТ засыпается до возведения насыпи или в широком прогале.
Рис. 23. Схемы движения самосвалов и уплотняющих механизмов при устройстве обоймы 1, 2 и т.д. - последовательность сторонности отсыпки:
а - при засыпке МГТ в прогалах насыпи; б - при свободном подъезде
Рис. 24. Схема уплотнения грунта виброударной машиной челночным способом
Последовательность отсыпки слоев, их толщина и допустимое приближение к МГТ рабочих органов уплотняющих машин приведены на рис. 25 и 26.
Рис. 25. Технологическая последовательность и схема послойного уплотнения грунта засыпки МГТ виброударной машиной для стесненных условий:
1, 2 и т.д. - номера слоев в технологическом порядке их отсыпки;
1 - контур максимального приближения рабочего органа машины к стенке МГТ; 2 - виброударная грунтоуплотняющая машина; 3 - нулевой слой; вк и вср - максимальные приближения рабочего органа к стенке МГТ на разных уровнях, равные: для D = 1 м вк = 0,15 м, вср = 0,05 м, вв = 0,4 м; для D = 1,5 м вк = 0,20 м, вср = 0,05 м, вв = 0,5 м; для D = 2 м вк = 0,30 м, вср = 0,05 м, вв = 0,7 м; для D = 3 м вк = 0,40 м, вср = 0,05 м, вв = 1,1 м
Рис. 26. Технологическая последовательность и схема послойного уплотнения грунта засыпки МГТ пневмокатками:
1, 2 и т.д. - номера слоев в технологическом порядке их отсыпки; 1 - граница максимального приближения скатов катка к МГТ; 2 - грунт, уплотняемый ручными механизированными трамбовками; 3 - нулевой слой; 4 - линии очертания границ торцов насыпи в случае устройства трубы в прогале
7.6.10 В процессе уплотнения грунта катком последний должен перемещаться вдоль МГТ по кольцевой схеме. Приближение скатов катка к трубе допускается на расстояние не менее 1,0 м. Грунт у стенок МГТ при данной технологии необходимо уплотнять ручными электротрамбовками.
7.6.11 Уплотнение грунта в пазухах многоочковых МГТ рекомендуется производить механизированными ручными трамбовками с обязательным соблюдением последовательности отсыпки слоев (рис. 27). Толщина слоя в пазухе не должна превышать 0,15 м. Для засыпки пазух грунтом следует использовать универсальные экскаваторы-планировщики с ковшами до 0,5 куб. м.
Рис. 27. Технологическая последовательность и схема послойного уплотнения грунта засыпки многоочковых МГТ:
1, 2 (в кружках) и т.д. - номера слоев в технологическом порядке их отсыпки; 1 - грунт над МГТ, уплотняемый в процессе возведения следующего по высоте слоя; 2 - грунт, уплотняемый ручными механизированными трамбовками; 1 - нулевой слой
7.6.12 В зимних условиях МГТ следует засыпать только талыми (сухими несмерзшимися) грунтами; при этом рекомендуются грунтоуплотняющие машины ударного и виброударного действия. Допустимое время рабочего цикла от момента разработки грунта до окончания его уплотнения не должно превышать времени, в течение которого грунт сохраняет способность к уплотнению.
7.6.13 В процессе засыпки МГТ и уплотнения грунта должны быть исключены случаи каких-либо повреждений МГС и их защитного покрытия.
7.6.14 Проезд над МГТ диаметром до 3 м строительных машин с нагрузкой на ось до 10 тс допускается при толщине слоя над верхом конструкции не менее 0,5 м (в плотном теле), с нагрузкой на ось 11 - 20 тс - при толщине слоя не менее 0,8 м и с нагрузкой на ось 21 - 50 тс - при толщине слоя не менее 1 м. Если проектом предусмотрена меньшая толщина засыпки, то для пропуска машин через сооружение в месте их проезда требуется досыпать грунт до указанной толщины.
7.6.15 При отсыпке и уплотнении грунта следует вести контроль за поперечными деформациями МГТ, сопоставляя результаты контроля с замерами, произведенными до начала засыпки МГТ. К моменту уплотнения слоя грунта на уровне верха МГТ уменьшение горизонтального диаметра не должно превышать 3 % его номинального диаметра.
7.6.16 Для повышения несущей способности МГТ и надежности ее работы рекомендуется до засыпки придавать ее поперечному сечению овальность с большей осью по вертикали, увеличивая вертикальный диаметр МГТ на величину до 3 % от номинального и закрепляя сечение стойками. Создание овальности целесообразно производить с помощью двух последовательно переставляемых домкратов, выполняя работы в следующем порядке: в лотке и своде МГТ укладывают прогоны, раскрепляя их временными стойками; в начале и конце одного из звеньев на участке, где необходимо создать овальность, ставят домкраты и увеличивают вертикальный диаметр до заданной величины, между домкратами устанавливают стойку; затем, последовательно переставляя домкраты, устанавливают стойки на всем участке. Рекомендуется делать стойки инвентарными, а для облегчения демонтажа устанавливать их на клиньях. Стойки удаляют после отсыпки насыпи на проектную высоту.
7.6.17 Для контроля сохранения при засыпке неизменным положения оси МГТ и ее формы относительно вертикальной оси, в лотковой части МГТ краской наносятся ось и две прямые по обеим сторонам на выбранном расстоянии от оси, на которые должна проектироваться ось отвесов, закрепленных в верхней части МГТ. В процессе отсыпки и уплотнения грунтовой обоймы необходимо контролировать положение отвесов. Отклонение отвесов от линий, нанесенных краской, свидетельствует о «заваливании» МГТ вследствие неравномерной отсыпки или уплотнения. Положение МГТ необходимо восстановить или дальнейшей засыпкой, или разборкой нескольких слоев грунта (рис. 28).
Рис. 28. Контроль правильности положения МГТ при сооружении грунтовой и армогрунтовой обоймы:
1 - проектное положение МГТ; 2 - измененное положение МГТ вследствие неравномерной засыпки и уплотнения; 3 - исходное положение отвесов; 4 - смещение отвесов; 5 - отсыпанные и уплотненные слои грунтовой обоймы; 6 - грунт для отсыпки обоймы
7.7.1.1 Технологический процесс устройства армогрунтовой конструкции обоймы в насыпи у МГТ включает следующие операции:
- подготовительные работы;
- установку выдвижных стабилизаторов (для первого яруса армогрунта) на уровне подошвы армогрунтового откоса (рис. 29);
Рис. 29. Конструкция выдвижного стабилизатора:
1 - гладкая арматура диаметром 25 - 30 мм; 2 - контрфорс; 3 - сварка
- установку лицевых щитов по контуру внешней грани армогрунтового слоя (яруса) (рис. 30);
Рис. 30. Конструкция лицевого щита:
1 - доски; 2 - поперечные бруски; 3 - гвозди (l ≥ 7 см).
Материал - дерево
- расстилку армирующих полотнищ с перекрытием в стыках на 15 - 20 см и с выпуском их за внешнюю грань лицевых щитов на 1,5 м. Вдоль лицевой грани поверх армирующего полотна расстилается геотекстиль (рис. 31);
Рис. 31. Установка стабилизаторов, закрепление щитов, расстилка армирующих полотнищ и геотекстиля и отсыпка слоя армогрунта:
1 - армирующие полотнища; 2 - геотекстиль; 3 - перекрытия в стыках; 4 - направление движения бульдозера при разравнивании грунта; 5 - перекрытие геотекстиля
- перемещение и засыпку грунта на разостланные полотнища геотекстиля;
- разравнивание и уплотнение грунта с выравниванием прибровочного участка по отметкам;
- укладку с натяжением на уплотненную поверхность грунта армирующих полотнищ геотекстиля, выпущенных за внешнюю грань лицевых щитов;
- закрепление уложенных и натянутых на уплотненную поверхность грунта армирующих полотнищ колышками (рис. 32);
- удаление (вытягивание) выдвижных стабилизаторов и снятие лицевых щитов;
Рис. 32. Укладывание с натяжением на уплотненную поверхность грунта выпущенных за внешнюю грань щитов армирующих полотнищ и закрепление их колышками:
1 - колышки для закрепления геотекстиля и армирующих полотнищ; 2 - колышки для закрепления армирующих полотнищ
- установку выдвижных стабилизаторов на поверхность первого армированного слоя (для создания второго яруса армогрунта);
Устройство последующего слоя армогрунтовой обоймы без зафиксированного контроля натяжения армирующих полотнищ и контроля плотности грунта предыдущего слоя армогрунтовой обоймы не допускается.
Далее операции повторяются.
7.7.1.2 После завершения строительства внешняя поверхность армогрунтовой насыпи покрывается защитным слоем. Защитный слой выполняется по проекту укрепления откосов насыпи (см. п. 5.5.5).
7.7.1.3 Работы по устройству армогрунтовой обоймы и МГТ могут осуществляться как в одну, так и в две смены.
7.7.2.1 Подготовительные работы включают в себя: вырубку кустарника, разбивку границ участка с фиксированием подошвы будущего армогрунтового откоса, изготовление выдвижных стабилизаторов и лицевых щитов, нарезку армирующих полотнищ геотекстиля необходимой длины, заготовку колышков, требующихся для закрепления полотнищ, и металлических штырей и скрепок для закрепления георешеток, доставку заготовленных материалов и звеньев георешеток.
7.7.2.2 Устройство основания армогрунтовой обоймы:
- на выровненную площадку основания будущей армогрунтовой обоймы расстилают полотнища геотекстиля с перекрытием в стыках на 15 - 20 см и закрепляют колышками;
- на геотекстиль отсыпается грунт. Отсыпка грунта бульдозером осуществляется таким образом, чтобы перед отвалом все время перемещался валик грунта толщиной не менее 0,2 м во избежание повреждения и сдвига гусеницами полотнищ армирующего материала;
- после разравнивания гравийно-песчаной прослойки грунт уплотняется катком (виброударного действия).
В процессе уплотнения берутся пробы грунта на плотность режущими кольцами или прибором Ковалева либо другими методами. Плотность должна быть достаточной величины, не менее 0,95 от максимальной стандартной.
7.7.2.3 На уплотненную гравийно-песчаную прослойку отсыпается гравийно-щебеночная смесь, разравнивается, уплотняется, и в процессе уплотнения берутся пробы.
Разбивочные работы ведутся от оси проектируемой насыпи с гофрированной трубой.
7.7.2.4 Дальнейшая отсыпка выполняется после монтажа МГТ с устройством защитной изоляции геотекстилем от механических повреждений при уплотнении.
7.7.2.5 Формирование откоса обоймы на участке выполняется в следующем порядке: на уплотненную поверхность гравийно-песчаной смеси устанавливаются выдвижные стабилизаторы с таким расчетом, чтобы внешняя грань первого армогрунтового слоя после установки щитов была на линии, соответствующей проектному очертанию. Наиболее рациональное расстояние между осями стабилизаторов ≈1,5 м (рис. 30, 31).
Лицевые щиты устанавливаются таким образом, чтобы не было «ступеней» в расположении торцов соседних щитов. При расстановке щитов их целесообразно соединять в верхней части планками и закреплять к стабилизаторам вязальной проволокой.
7.7.2.6 Расстилка армирующих полотнищ геотекстиля производится после установки щитов. Армирующие полотнища геотекстиля нарезаются заранее, исходя из геометрических размеров яруса, и соответствующим образом условно маркируются, затем сматываются в рулоны.
Армирующие полотнища расстилаются поперек армогрунтовой обоймы по направлению к лицевым щитам с перекрытием в стыках на 15 - 20 см и с выпуском их за внешнюю грань щитов на величину, достаточную для последующего завертывания (после засыпки и уплотнения грунта рассматриваемого яруса). После раскатки армирующего полотна проверяют качество уложенной прослойки и оформляют акт на скрытые работы (рис. 31).
7.7.2.7 Перемещение и засыпка грунта на разостланные полотнища армирующего материала ведется в следующем порядке: при работе комплекса машин в составе бульдозера и катка бульдозер начинает засыпку грунта первого яруса. Целесообразна засыпка армогрунтовой обоймы с одного конца лишь до половины длины захватки (половины длины МГТ), другая половина засыпки осуществляется этим же (или другим) бульдозером с другого конца насыпи аналогичным образом.
Засыпку грунта бульдозер осуществляет таким образом, чтобы перед отвалом все время перемещался валик грунта толщиной не менее 0,2 м во избежание повреждения и сдвига гусеницами полотнищ армирующего материала.
7.7.2.8 После разравнивания грунта в пределах первого яруса армогрунтовой обоймы осуществляется уплотнение его катком или грунтоуплотняющей машиной (ударного и виброударного действия).
В процессе уплотнения берутся пробы грунта на плотность режущими кольцами или прибором Ковалева. Величина плотности должна быть достигнута не менее 0,95 от максимальной стандартной. Степень уплотнения проверяют лабораторно-строительные посты.
7.7.2. 9 На уплотненную поверхность грунта укладываются и закрепляются с натяжением армирующие полотнища, выпущенные за внешнюю грань лицевых щитов и укрепляются деревянными колышками (рис. 32).
Забивка деревянных колышков под углом на сравнительно небольшом расстоянии от лицевых щитов позволяет закрепить геотекстиль и натянуть его на лицевые грани слоя.
7.7.2.10 Для второго яруса армогрунтовой обоймы проводится удаление выдвижных стабилизаторов и снятие лицевых щитов, а затем на отсыпанный первый слой производится установка стабилизаторов и повторение операций.
7.7.2.11 Во избежание превышения допустимой величины деформации МГТ в процессе возведения грунтовой обоймы в ходе ее отсыпки и уплотнения устанавливаются временные распорки из деревянного бруса.
Места упора распорок для круглых и эллипсоидальных МГТ назначаются в точках, имеющих максимальные деформации по расчету. Расчет места точек упоров должен выполняться методом конечных элементов. Упоры в МГТ устанавливаются, как правило, через 4 - 5 м.
7.8.1.1 Лотки в МГТ укладываются на слой дополнительного антикоррозионного покрытия.
Лотки следует устраивать, как правило, после возведения насыпи над МГТ до проектной отметки.
Бетонный лоток устраивается при положительной температуре воздуха. Укладку лотка при отрицательной температуре воздуха следует осуществлять по специальному проекту, предусматривающему мероприятия по обеспечению проектных характеристик материала лотка.
7.8.1.2 В МГТ диаметром до 1,5 м включительно асфальтобетонный лоток устраивают в секциях труб на полигонах, где собирают секции, или непосредственно на строительной площадке перед монтажом МГТ.
7.8.1.3 При устройстве лотков в секциях труб длина лотка должна быть меньше длины секции настолько, чтобы обеспечить возможность стыкования секций стандартными гофрированными элементами при монтаже. Устройство лотка на непокрытых участках в МГТ диаметром 1,5 м осуществляется после установки очередной секции (длина секции в этом случае должна быть не более 5 м). Непокрытые участки в стыках секций МГТ заполняются асфальтобетоном.
7.8.1.4 Лотки из матрацев «Рено» рекомендуется укладывать кроме слоя дополнительного антикоррозионного покрытия на один или несколько слоев геосинтетического материала (типа дорнит или геолон).
7.8.2.1 При устройстве лотков из сборных бетонных блоков их изготовление следует организовывать на полигонах.
Укладка блоков производится на очищенную внутреннюю поверхность МГТ, предварительно покрытую защитным слоем.
В местах болтовых соединений применяют блоки пониженной высоты.
7.8.2.2 Устройство монолитных бетонных лотков должно включать следующие операции:
- очистку поверхности МГТ;
- укладку бетона;
- уплотнение бетона в нижней трети высоты лотка.
7.8.2.3 Для повышения сопротивления истиранию и износу лотка потоком воды, содержащей абразивный материал, рекомендуется устраивать дополнительное полимерное покрытие повышенной износостойкости из каменной смолы «Базалит» или из мастичного материала на основе полимочевины «Форпол».
7.8.3.1 Матрацы «Рено» представляют собой конструкции заводского изготовления из металлической сетки двойного кручения с шестиугольными ячейками в форме параллелепипеда со значительной площадью поверхности и малой толщиной. Матрацы «Рено» имеют поперечные диафрагмы, расположенные по длине через 1 м. Основания и крышки матрацев выполняются из одинаковой сетки. Края панелей матрацев армированы проволокой большего диаметра, чем проволока сетки. Крышка матрацев может быть выполнена из сетки, имеющей те же размеры, что и основание, либо из сетки в рулонах. Сетка должна иметь плотное цинковое покрытие. Для районов с повышенной агрессивностью воды рекомендуется применять проволоку с дополнительным покрытием из ПВХ.
7.8.3.2 Сетчатые конструкции матрацев «Рено» изготавливаются и поставляются в двух вариантах: в виде пакетов из разверток, в которых основание составляет единое целое с боковыми сторонами, и отдельными рулонами основания и боковых частей. В зависимости от завода-изготовителя длина и ширина рулонов может быть различной, например, основание - размером 2,0 м×3,0 м, а боковые части - высотой 0,17 м, 0,23 м, 0,30 м. Пакеты и рулоны занимают мало места и удобны при разгрузке и выгрузке.
7.8.3.3 На месте строительства развертка раскрывается, все панели и диафрагмы сгибаются, формируются в прямоугольники и соединяются между собой проволокой. Пустая секция удобной длины переносится в трубу и заполняется камнем.
Камень может быть окатанный (речной) или рваный (карьерный). Размер камня должен быть несколько больше, чем размер ячейки сетки матраца. По окончании заполнения матрацы с камнем закрываются сверху крышками или рулонной сеткой и привязываются по краям к диафрагмам.
Далее формируется следующая пустая секция, переносится в МГТ и соединяется проволокой с предыдущей заполненной камнями секцией и тоже заполняется. Таким образом, сооружается лоток на всю длину МГТ.
При рулонной поставке сначала развертываются сетки основания, соединяются друг с другом до секции удобной длины, к ней привязываются сетки боковых частей и секция переносится в трубу для заполнения камнем.
7.8.3.4 При проектировании в МГТ лотка с использованием матрацев «Рено» рекомендуется укрепление входного и выходного русл выполнять также матрацами «Рено» для надежного закрепления и соединения лотковой части матраца и руслового укрепления в единое целое.
7.9.1 Сетка кольчужного типа для защиты водопропускного сооружения из МГС от карчехода, ледохода и селей изготавливается из шести взаимосоединенных колец (по принципу кольчуги) и крепится на несущем верхнем и нижнем тросах. Высота системы может составлять от 3 до 6 м, расстояние между стойками составляет от 5 до 10 м. Два несущих троса и боковая растяжка зафиксированы в один якорь. Стойки удерживаются в устойчивом положении двумя натяжными тросами (растяжками), зафиксированными при помощи анкерного крепления (якорем) в верхней части. Тормоза включены в систему несущих тросов и в систему натяжных тросов-растяжек. Кольца кольчужной сети диаметром 350 мм изготавливают из 4 мм стальной оцинкованной проволоки (разрывное усилие 1500/1800 Н/мм2), поверхностная плотность цинка не менее 150 г/м2. Сети двойного кручения поставляются пакетами, ряды сетки находятся строго один над другим. Вес 1 м2 кольчужной сетки, как правило, составляет 7,5 кг (рис. 33).
Рис. 33. Кольчужные сетки
Для районов с повышенной агрессивностью воды рекомендуется использовать проволоку (сеть) с дополнительным покрытием из ПХВ.
7.9.2 Соединение кольчужной сетки с несущим тросом осуществляется при помощи соединительных скоб. Соединение полотнищ сетки производится винтовыми зажимами и тросом методом свивки. С внутренней стороны барьера (системы) прикрепляется ограждение из сетки двойного кручения, что препятствует проскакиванию камней небольших размеров. Стойки барьера состоят из металлического швеллера, профиля, трубы (рис. 34). В зависимости от сложности участка проектируются те или иные стойки.
Рис. 34. Стойка барьера
7.9.3 Тормоза включены в систему несущих тросов и в систему натяжных тросов-растяжек. Тормоза изготовлены на основе плоской железной пластины, закрученной в жесткую спираль. Максимальный тормозной путь каждого витка составляет 0,5 м, что соответствует энергии, равной приблизительно 50 КДж. В зависимости от энергетической составляющей воздействия селевого потока, карчей или льда могут использоваться тормоза от 2,25 витков до 4,5 витков.
7.9.4 Защитная система должна быть оснащена несущими натяжными тросами в зависимости от энергетической составляющей воздействия селевого потока, карчей и льда.
Тормоза выставляются на боковых растяжках. Крепление стойки защитного барьера осуществляется анкером, при бетонном цоколе одним анкером крепления стойки и двумя анкерами крепления основания стойки. Конструктивная схема защитных барьеров приведена на рис. 35.
7.9.5 Разбивка под конструкцию производится согласно схеме разметки (приведенной в проектной документации). Для размещения сетки относительно защищаемого объекта необходимо соблюдать минимальные размеры, соответствующие тормозному пути сетки.

Рис. 35. Конструкции противоселевых, противокарчевых и противоледоходных барьеров
7.9.6 Для натяжения тросов при диаметре 16 - 26 мм рекомендуется использование натяжителя размером 16. Для натяжения тросов рекомендуется использовать две (оптимально четыре) лебедки с максимальной силой натяжения 20 кН. Контроль зажима тросов выполняется при помощи динамометрического ключа.
7.9.7 Монтажные работы выполняются в следующем порядке:
- установить пластину основания на бетонном цоколе и зафиксировать ее двумя анкерами;
- выровнить пластину и обжать анкерными болтами;
- установить стойку на пластину основания, оставив при этом зазор относительно пластины для того, чтобы стойка могла наклоняться к нижней части склона; отрегулировать наклон стойки, зафиксировать вручную натяжение тросов при помощи зажимов; установить сетку между стойками и продеть трос между верхними и нижними кольцами по всей длине полотна; зафиксировать сетку зажимами снизу/сверху; отрегулировать окончательный наклон стойки и тросов натяжения и зафиксировать при помощи 3 - 5 тросов;
- зафиксировать боковые растяжки и слегка натянуть их;
- закрепить тормоза внутренних несущих тросов на креплениях сверху и снизу;
- установить несущие тросы и начать натяжку их на стойках;
- соединить секции сетки между собой при помощи скоб;
- зафиксировать сетку по краям рядов на тросе, а также и сверху, и снизу;
- проверить натяжение тросов; в случае их ослабления проверить наклон стоек, а также натяжение тросов стоек;
- с помощью динамометрического ключа произвести окончательное натяжение тросов барьера и обжать зажимами (не менее 4 ∙ 6);
- отрезать оставшийся трос примерно на 1,0 м от зажимов и зафиксировать его;
- расправить сетку и закрепить ее при помощи скоб;
- с внутренней стороны барьера установить внахлест сетку двойного кручения по длине барьера на высоту 1,0 м от нижнего троса; зафиксировать сетку двойного кручения к сетке кольчужного типа при помощи каната или проволочных скруток на каждом 1 м2.
7.9.8 Для окончательного контроля установки барьера необходимо проверить наклон стойки относительно проектного, натяжение тросов барьера, высоту сетки в центре секции, блокировку и зажим анкерных гаек, фиксацию болтов и скоб и зажимов тросов при помощи динамометрического ключа, состояние тормозов и ограждения.
7.10.1 Противоналедные мероприятия и сооружения подразделяются на временные (сезонные) и постоянные.
7.10.2 Сезонные мерзлотные пояса применяются для борьбы с наледями от выхода подземных вод небольшой мощности на участках с неглубоким залеганием вечномерзлых грунтов или водоупоров. Они устраиваются посредством расчистки полосы земли от снега после каждого снегопада. Ширина расчистки колеблется в зависимости от мощности наледи и рельефа местности от 5 до 15 м, а длина полосы должна обеспечить полное перекрытие потока грунтовых вод. В случае если один пояс не обеспечивает задержание наледи, устраивается второй мерзлотный пояс и т.д. Сезонные мерзлотные пояса эффективны в местности, где нет больших снежных заносов.
7.10.3 Сезонные мерзлотные пояса для борьбы с речными наледями устраиваются на небольших водотоках при неглубоком залегании водонепроницаемого слоя под руслом и представляют собой канавы шириной 2 - 4 м, вырубаемые во льду. Канавы должны пересекать все русло и располагаться поперек долин водотоков на расстоянии 200 - 300 м от искусственного сооружения на отмелях и перекатах, где водоток может быть проморожен быстрее.
Канаву следует углублять на 0,3 - 0,5 м ниже дна русла, концы канав должны быть врезаны в берега водотока на такое расстояние, чтобы предотвратить возможность прохода в береговых наносах вод, питающих наледь. Скалываемый лед и грунт из канав нужно укладывать в вал, расположенный с низовой стороны.
7.10.4 Утепление русл может быть применено в районах со значительным снежным покровом на узких, шириной 1 - 2 м, речках и ручьях. Длина участка утепления назначается в зависимости от местных условий от 20 до 100 м в верховую сторону от водопропускного вооружения и от 20 до 50 м в низовую.
Утепление русл можно производить мхом, торфом, хворостом, валежником, ветвями хвойных деревьев, укладываемых слоем 0,3 - 0,5 м на настил из жердей и покрываемых рыхлым снегом.
7.10.5 При образовании речной наледи ниже МГТ и создании вследствие этого перед МГТ подпора воды с ледяным покровом следует устраивать проруби с низовой стороны для свободного выхода подпертой воды на поверхность льда.
7.10.6 Примером постоянных противоналедных конструкций могут быть валы из грунта, которые следует применять преимущественно для борьбы с лотовыми наледями с источниками питания, находящимися в удалении от трассы. Валы должны устраиваться с таким расчетом, чтобы они удерживали всю наледь. Валы сооружают высотой 1 - 3 м, шириной по верху 1,0 м с откосами 1:1,15. Валы необходимо отсыпать из глинистых грунтов с тщательным уплотнением. В зависимости от рельефа местности валы нужно располагать в плане под углом 140° - 170° оси водотока (рис. 36).
Рис. 36. Противоналедные валы:
1 - контур наледи до устройства противоналедных конструкций; 2, 4 - валы; 3 - сетка или забор-щит; 5 - нагорная канава; 6 - щит из досок; 7 - выходное русло
Для пропуска по логу поверхностных вод в валах необходимо оставлять просветы размерами, обеспечивающими пропуск максимального расхода, но не менее диаметра МГТ. В просветы устанавливается сетчатая конструкция (рис. 37) или забор из досок или бревен. Деревянные заборы устанавливаются на зиму, разбираются весной. Сетки стоят постоянно и должны периодически освобождаться от наносов.
Рис. 37. Конструкции противоналедных сеток:
1 - усиливающие канаты; 2 - стойки барьера; 3 - стальной канат (трос)
8.2 Контроль качества и приемка работ должны обеспечивать:
- высокое качество выполняемых работ и полное соответствие их утвержденному проекту и действующим нормативным документам;
- соответствие качества материалов и конструкций требованиям утвержденного проекта и государственных стандартов;
- своевременное осуществление промежуточной приемки выполненных работ и правильное оформление соответствующей производственно-технической документации.
До приемки скрытых работ и ответственных конструкций запрещается проводить последующие работы (например, установку МГТ на непринятую грунтовую подушку или засыпку МГТ с непринятым дополнительным защитным покрытием).
8.3 Контроль плотности грунта естественного основания, а также контроль плотности грунтовой подушки, укладываемой взамен слабого грунта основания, осуществляется под осью дороги через каждые 0,5 м высоты подушки. Количество проб должно быть не менее двух в каждой точке.
Плотность песчаных грунтов контролируется прибором Ковалева, а щебенисто-галечниковых и дресвяно-гравийных - методом лунок. По окончании подготовки основания МГТ составляют акт по стандартной форме на скрытые работы.
Результаты контроля заносятся в акт на скрытые работы.
8.4 Перед началом работ по монтажу следует проверить наличие маркировки, отбраковать элементы, выправить погнутые места деревянным молотком и обеспечить комплектность элементов и крепежа.
При отбраковке элементов и крепежа следует проверять качество защитного покрытия, маркировку элементов, геометрические размеры элементов и крепежа.
На каждом гофрированном листе на внутренней его поверхности у второго ряда отверстий для продольного стыка на первом выпуклом гофре должны быть указаны марки стали, элемента и клеймо ОТК завода и инспектора по качеству. Марка элемента условно обозначает диаметр МГТ и толщину листа. На каждом пакете МГС должны быть бирка с указанием марки элемента, толщины элемента, диаметра трубы, завода-изготовителя и год выпуска.
8.5 Перед началом монтажа МГТ должны быть выполнены контрольная сборка и все подготовительные работы.
Если на месте строительства МГТ рядом с подготовленным основанием отсутствует ровная площадка, то для сборки трубы следует подготавливать подмости, располагая их вблизи проектной оси. В ходе монтажа и после его завершения осуществляется геодезический контроль.
8.6 Приемка смонтированной МГТ перед устройством грунтовой обоймы должна быть оформлена актом.
8.7 При выполнении работ по защите от коррозии металлоконструкций должны контролироваться:
- температура окружающего воздуха;
- относительная влажность воздуха;
- обезжиренность и чистота сжатого воздуха, применяемого в процессе производства работ;
- степень очистки поверхности перед нанесением лакокрасочных материалов;
- гарантийный срок их пригодности;
- время технологической выдержки наносимых слоев защитного покрытия и время выдержки полного покрытия.
Контроль высыхания лакокрасочных покрытий следует осуществлять по ГОСТ 19007-73*.
8.8 Контроль качества лакокрасочного покрытия должен производиться по внешнему виду, толщине и адгезии.
8.9 Контроль внешнего вида покрытия осуществляется согласно ГОСТ 9.407-84* «Покрытия лакокрасочные. Методы оценки внешнего вида».
Покрытие не должно иметь пропусков, трещин, сколов, пузырей, кратеров, морщин и других дефектов, влияющих на защитные свойства.
8.10 Контроль толщины покрытия осуществляется с помощью толщиномеров электромагнитного типа.
Толщина покрытия на элементе определяется как средняя арифметическая величина из количества замеров, принятого для данной конструкции. Количество точек определяется в разных местах в зависимости от длины элемента: при длине элемента до 5,0 м берется 5 точек.
Определение толщины покрытия в каждой точке производится по 5 контрольным замерам толщины в радиусе 5 см, при этом максимальное и минимальное значения не учитываются. Толщина покрытия в каждой точке определяется как средняя арифметическая величина из трех оставшихся показаний.
8.11 Контроль адгезии покрытия должен осуществляться по методу решетчатого надреза в соответствии с ГОСТ 15140-78*. Адгезия покрытия должна быть не более 2 баллов.
Испытание на адгезию следует производить методом параллельных надрезов по взаимно-перпендикулярным направлениям. Надрезов должно быть не менее шести длиной не менее 20 мм.
Надрезы делают на расстоянии 2 мм при толщине покрытия от 60 до 120 мкм и расстоянии 3 мм на покрытиях толщиной более 120 мкм.
При прорезании слоя до металла может наблюдаться незначительное отслаивание покрытия в виде мелких чешуек в местах пересечения линий решетки. Нарушение допускается не более чем на 5 % решетки.
На участках проверки адгезии покрытие должно быть восстановлено по принятой схеме окрашивания.
8.12 Устройство грунтовой обоймы ведется под постоянным геодезическим контролем.
8.13 Контроль плотности грунта следует осуществлять на протяжении всего процесса засыпки МГТ путем отбора проб. Проверяется плотность каждого отсыпанного и уплотненного слоя грунта около входного и выходного оголовков и по всей длине трубы не реже, чем через 10,0 м на расстоянии 0,1 м и 1,0 м от боковых стенок. Количество проб должно быть не менее двух в каждой точке. Результаты контроля заносятся в акт на скрытые работы.
Плотность песчаных и глинистых грунтов определяют прибором Ковалева. Плотность щебенисто-галечниковых и дресвяно-гравийных грунтов контролируется методом лунок (см. приложение Л).
8.14 Оценку качества выполнения работ по устройству лотка следует производить внешним осмотром (проверкой отсутствия трещин, бугров, впадин, расслоений) и контролем геометрических размеров.
По окончании работ составляется акт приемки лотка в МГТ.
8.15 Укрепление русл и откосов обоймы вокруг МГТ следует производить в соответствии с проектами и нормами по производству земляных и укрепительных работ.
После завершения этих работ следует производить приемку МГТ в целом с оформлением акта.
9.1 При производстве работ по постройке МГТ следует руководствоваться указаниями СНиП 12-03-2001 «Безопасность труда в строительстве», часть I «Общие требования», часть II «Строительное производство», действующими правилами и нормами техники безопасности и охраны труда в строительстве по соответствующим видам работ, а также требованиями настоящих Методических указаний.
9.2 Все рабочие должны быть проинструктированы по технике безопасности и обучены работам, которые они должны выполнять. По окончании обучения каждый рабочий должен сдать экзамены комиссии по проверке знаний, организованной главным инженером строительной организации. Экзамен следует оформлять протоколом.
9.3 Запрещается осуществлять монтаж МГТ без полного комплекта необходимого инструмента.
9.4 Установку элементов при монтаже секций МГТ следует производить с помощью специальных крюков. Монтируемый элемент разрешается освобождать от крюков только после фиксации его положения болтами или оправками.
9.5 Запрещается находиться внутри МГТ непосредственно под монтируемым элементом, а также устанавливать соединительные болты до тех пор, пока положение этого элемента не зафиксировано оправками не менее чем в двух точках.
9.6 При перекатке смонтированной МГТ или отдельных секций следует находиться только позади их.
9.7 Подъем полностью смонтированной МГТ краном допускается только после затяжки всех соединительных болтов.
9.8 При производстве работ по защите МГС полимерными материалами следует соблюдать изложенные ниже правила техники безопасности:
- процесс нанесения должен производиться в соответствии с ГОСТ 12.3.005-75*;
- при подготовке поверхности необходимо соблюдать требования безопасности по ГОСТ 9.402-80*;
- в складах и на участках по нанесению дополнительного покрытия не допускается производство работ, связанных с применением открытого огня, искрообразования, курения и т.д. Участки необходимо снабдить пенными огнетушителями, ящиками с песком и другим противопожарным инвентарем;
- производственный персонал не должен допускаться к выполнению работ без индивидуальной защиты, соответствующей требованиям ГОСТ 12.4.011-89;
- рабочие, ведущие работы, должны работать в спецодежде. Спецодежду, облитую растворителем или лакокрасочными материалами, следует немедленно заменить чистой;
- для предохранения органов дыхания от воздействия красочного тумана и паров растворителя рабочие должны пользоваться респираторами, а также защитными очками;
- для защиты кожи рук необходимо применять резиновые перчатки или защитные мази и пасты по ГОСТ 12.4.068-79*;
- тара, в которой находятся материалы и растворители, должна иметь наклейки или бирки с точными наименованием и обозначением материалов. Тара должна быть исправной и иметь плотно закрывающиеся крышки;
- опилки, ветошь, обтирочные концы, тряпки, загрязненные полимерными материалами и растворителями, следует складывать в металлические ящики и по окончании каждой смены выносить в специально отведенные места;
- около рабочего места должна быть чистая вода или свежеприготовленный физиологический раствор (0,6 - 0,9 % раствор хлористого натрия), чистое сухое полотенце, протирочный материал;
- при попадании в глаза растворителя или полимерного материала необходимо немедленно обильно промыть глаза водой, затем физиологическим раствором, после чего обратиться к врачу;
- после окончания работы необходимо произвести уборку рабочего места, очистку спецодежды и защитных средств.
9.9 В каждой смене по строительству МГТ должны быть выделены и обучены специальные лица для оказания первой помощи.
9.10 На каждом строящемся объекте должна быть организована постоянная связь с центральным прорабским пунктом, имеющим утвержденный приказом по строительству порядок организации медицинской помощи и эвакуации, в случае необходимости, травмированных или заболевших работников с объекта.
Таблица А.1
Механические свойства и химический состав сталей
|
Предел текучести, Н/мм2, не менее |
Предел прочности, Н/мм2 |
Удлинение, % Поперек, не менее |
Покрытие цинком (в микронах) |
Химический состав в % |
|||||
|
Марка стали |
Толщина листа, мм |
С |
Si |
Mn |
Р |
S |
|||
|
≤16 |
≥ 3 ≤100 |
>3 ≤40 |
|||||||
|
15 (Россия) |
240 |
400 |
23 |
80 |
0,12 - 0,2 |
0,12 - 0,25 |
0,4 - 0,65 |
≤0,035 |
≤0,035 |
|
09Г2Д (Россия) |
310 |
450 |
22 |
80 |
≤0,12 |
0,17 - 0,37 |
1,4 - 1,8 |
≤0,035 |
≤0,04 |
Таблица А.2
Примеры физических характеристик многолистовых секций
|
Поперечные размеры гофрированного профиля (мм) |
Толщина листа, мм |
Площадь поперечн. сечения, (мм2/мм) |
Момент инерции, мм3/мм |
Статический момент инерции, (мм3/мм) |
Радиус инерции (мм) |
|
150×50 |
3,0 |
3,77 |
1176,6 |
44,4 |
17,7 |
|
4,0 |
5,04 |
1581,9 |
58,6 |
17,7 |
|
|
5,0 |
6,30 |
1995,2 |
72,6 |
17,8 |
|
|
6,0 |
7,57 |
2417,5 |
86,3 |
17,9 |
|
|
7,0 |
8,85 |
2849,7 |
100,0 |
17,9 |
|
|
152×51 |
3,0 |
3,52 |
1657,25 |
39,42 |
17,33 |
|
4,0 |
4,83 |
1457,56 |
53,30 |
17,37 |
|
|
5,0 |
6,15 |
1867,16 |
66,98 |
17,42 |
|
|
6,0 |
7,46 |
2278,31 |
80,22 |
17,48 |
|
|
7,0 |
8,71 |
2675,11 |
92,56 |
17.52 |
|
|
380×140 |
3,5 |
4,78 |
11710,74 |
152,72 |
49,50 |
|
4,8 |
6,54 |
16038,98 |
207,54 |
49,52 |
|
|
5,5 |
7,63 |
18743,25 |
241,38 |
49,56 |
|
|
6,3 |
8,72 |
21445,89 |
274,87 |
49,59 |
|
|
7,1 |
9,81 |
24164,64 |
308,24 |
49,63 |
|
|
400×150 |
3,0 |
3,46 |
10886 |
136,01 |
52,80 |
|
4,0 |
5,35 |
14944 |
185,50 |
52,85 |
|
|
5,0 |
6,81 |
19060 |
235,04 |
52,90 |
|
|
6,0 |
8,26 |
23154 |
283,71 |
52,95 |
|
|
7,0 |
3,64 |
27071 |
329,69 |
53,99 |

Рис. А.1. Профиль гофрированного листа
h = 32,5 ± 3 мм, δ = 1,5; 2,0 u 2,5 мм, t = 32,5 ± 7,5 мм

Рис. А.2. Профиль гофрированного листа
Толщина листа 3,0 - 7 мм, углы изгиба гофра 44,53 - 46,08°,
Прямая вставка 43,24 - 47,88 мм

Рис. А.3. Профиль гофрированного листа
Толщина листа 2,75 - 7,0 мм

Рис. А.4. Профиль гофрированного листа
Толщина листа 3,5 - 7,1 мм, углы изгиба гофра 49,75 - 50,43°
Прямая вставка 110,78 - 106,15 мм

Рис. А.5. Профиль гофрированного листа
Толщина листа 4,0 - 7,10 мм

Рис. А.6. Пример металлического гофрированного листа с параметрами гофра 200×55 с отверстиями для болтов
Массивы металлических гофрированных элементов с одинаковым радиусом изгиба должны быть смещены относительно друг друга вдоль оси конструкции, как правило, на 1/2 длины элемента.
Продольные стыки в звеньях, составляющих массив элементов с одинаковым радиусом, следует располагать с перевязкой - взаимной сдвижкой на величину равную 1 - 4 шагам отверстий поперечных стыков.
1. МГК - горизонтальный или вертикальный эллипс

Рис. А.7
2. МГК - полицентрическая труба

Рис. А.8
3. МГК - двухрадиусная арка

Рис. А.9
1. Нет перевязки - взаимной сдвижки продольных стыков в звеньях.

Рис. A.10
2. Нет сдвижки массивов металлических гофрированных элементов с одинаковым радиусом изгиба вдоль оси конструкции.

Рис. А.11
Крепежные изделия для сборки металлических гофрированных труб
Болты для продольных и поперечных стыков должны быть класса прочности 4.6 и класса 5.6 согласно требованиям СНиП II-23-81. Для МГТ, применяемых в районах с расчетной минимальной температурой наружного воздуха ниже минус 40 °С, болты следует назначать класса прочности 8.8.
Размеры болтов принимаются по ГОСТ 7798-70*, размеры гаек - по ГОСТ 5915-70*.
Резьба болтов и гаек метрическая с крупным шагом согласно ГОСТ 24705-81.
Длина болтов должна быть не менее 35 мм и назначаться исходя из количества и толщины соединяемых гофрированных листов. Длина участка без нарезки (у головки болта) должна быть меньше суммарной толщины двух стыкуемых элементов и шайб на 2 - 3 мм.
Для болтов стыковых соединений следует применять шайбы специальной формы - квадратные плосковыпуклые, квадратные плосковогнутые (рис. Б.1) с цилиндрическими опорными поверхностями радиуса кривизны, обеспечивающие плотное прилегание шайб к поверхностям впадин и гребней волн стыкуемых гофрированных листов.
Рис. Б.1. Шайбы для болтов (размеры в миллиметрах):
а - плосковогнутые; б - плосковыпуклые; d - диаметр отверстия в шайбе (согласно ГОСТ 11371-68*); В - размер квадратной шайбы, принимаемый равным наружному диаметру стандартной круглой шайбы (согласно ГОСТ 11371- 78*); δ1 - не менее 3; δ2 - не менее 2

Рис. Б.2. Варианты болтов и гаек
При сферических опорных плоскостях болтов и гаек шайбы не применяются.
Болты, гайки и шайбы должны иметь антикоррозионное защитное покрытие (30 - 80 мкм) из цинка Ц3 по ГОСТ 3640-75.
Болты и гайки зарубежных фирм, допускаемые к применению
Для сборки многолистовых гофрированных секций используются гальванизированные болты диаметром 19 мм, изготовленные из стали, подверженной специальной температурной обработке в соответствии со спецификацией А 449 (Американские Стандарты по испытанию материалов). Нижняя поверхность головки болта равномерно закруглена и не требует специальной подгонки. Все гайки устанавливаются либо изнутри, либо снаружи конструкции, за исключением случаев, когда сборочными чертежами предписано иначе.

Рис. Б.3. Перекрытие листов
РАСЧЕТЫ МЕТАЛЛИЧЕСКИХ КОНСТРУКЦИЙ ГОФРИРОВАННЫХ ТРУБ
Условие, гарантирующее конструкцию в эксплуатации от наступления первого предельного состояния, характеризуемого предельным статическим равновесием взаимодействующей системы «конструкция - грунт», удовлетворяется неравенством
q ≤ qp, (В.1.1)
где q - интенсивность вертикального давления грунта на МГТ от постоянных и временных нагрузок с учетом коэффициентов перегрузки согласно действующим нормам;
qp - расчетная несущая способность МГТ в грунте, т.е. интенсивность предельно допустимой нагрузки из условия предельного статического равновесия рассчитываемой системы.
Расчетную несущую способность МГТ qp (кгс/см2) определяют по формуле
qp = Kувq1,p, (В.1.2)
где
- коэффициент
увеличения несущей способности МГТ за счет упругого отпора
окружающего грунта;
- расчетная
несущая способность МГТ вне грунта для рекомендуемых сталей, кгс/см2;
W - момент сопротивления продольного (вдоль МГТ) сечения брутто стенки на единицу длины МГТ, см3/см;
D - диаметр МГТ по средней линии гофров, см;
- обобщенный показатель жесткости взаимодействующей системы
«конструкция-грунт», см2/кгс;
ЕГР - компрессионный модуль деформации грунта засыпки, принимаемый на основе компрессионных испытаний в одометре при интервале давлений 0,5 - 1 кгс/см2.
(Опечатка).
Расчет МГТ на общую устойчивость формы поперечного сечения производят из условия сжатия МГТ равномерно распределенным по ее периметру нормальным давлением грунта засыпки, принимаемым равным расчетной интенсивности q вертикального давления на МГТ от постоянных и временных нагрузок. Условие устойчивости удовлетворяется неравенством
(В.2.1)
где
- расчетное осевое
сжимающее усилие на единицу длины стенки МГТ, кгс/см;
F - площадь продольного сечения стенки на единицу длины трубы, см2/см;
т2 - коэффициент условий работы, учитывающий условность расчетной схемы и начальные несовершенства конструкции, принимается равным 0,7;
R0 - основное расчетное сопротивление стали при действии осевых сил, кгс/см2;
- коэффициент понижения несущей способности, вводимый для
предотвращения потери устойчивой формы равновесия гибкой МГТ в упругой грунтовой среде;
σт - предел текучести стали, кгс/см2;
σкр - критическое напряжение в стенке трубы, кгс/см2, которое следует принимать:
если λ ≥ λ0; (В.2.2)
σкр = σ - bλ, если λ0/2 < λ < λ0; (В.2.3)
σкр = σт, если λ ≤ λ0/2. (В.2.4)
Постоянные a и b, а также предельное значение гибкости λ0 принимаются в зависимости от марки стали: для стали 15сп (σп.ц. = 2000 кгс/см2; σт = 2400 кгс/см2): а = 2800 кгс/см2; b = 7,14 кгс/см2; λ0 = 112; для стали 09Г2Д (σп.ц. = 2600 кгс/см2; σт = 3100 кгс/см2): а = 3600 кгс/см2; b = 10,2 кгс/см2; λ0 = 98;
Е = 2,1 ∙ 106 кгс/см2 - модуль упругости стали;
σп.ц. - предел пропорциональности стали;
- гибкость трубы; (В.2.5)
r - радиус инерции продольного сечения стенки МГТ, см;
k' - коэффициент
гибкости, принимаемый по табл. 1 в
зависимости от геометрического параметра
- и модуля деформации грунта засыпки Егр.
Таблица В.1
|
Егр, кгс/см2 |
Коэффициент гибкости k' при геометрическом параметре
|
|||||||
|
0,2 |
0,3 |
0,5 |
1 |
2 |
5 |
10 |
20 |
|
|
50 |
0,893 |
0,850 |
0,780 |
0,663 |
0,532 |
0,445 |
0,366 |
0,314 |
|
100 |
0,814 |
0,755 |
0,663 |
0,532 |
0,468 |
0,366 |
0,314 |
0,264 |
|
200 |
0,703 |
0,629 |
0,532 |
0,468 |
0,394 |
0,314 |
0,264 |
0,222 |
|
300 |
0,629 |
0,551 |
0,494 |
0,425 |
0,352 |
0,281 |
0,239 |
0,202 |
|
400 |
0,573 |
0,512 |
0,468 |
0,394 |
0,332 |
0,264 |
0,222 |
0,188 |
|
500 |
0,532 |
0,494 |
0,445 |
0,366 |
0,314 |
0,250 |
0,211 |
0,178 |
|
600 |
0,512 |
0,477 |
0,425 |
0,352 |
0,300 |
0,239 |
0,202 |
0,169 |
Предельное относительное увеличение горизонтального диаметра МГТ ΔD'пред (в %), отвечающее моменту предельного статического равновесия рассчитываемой системы, определяют по формуле
(В.3.1)
где qпред = 1,1qp - нормативная несущая способность МГТ, кгс/см2;
Е = 2,1 ∙ 106 кгс/см2 - модуль упругости стали;
I - момент инерции продольного сечения стенки на единицу длины МГТ, см4/см.
Если подсчитанная деформация ΔD'пред (в см) не удовлетворяет условию
(В.3.2)
то ее значение уточняют, определяя по формуле
(В.3.3)
где Мпл = Wплσт - изгибающий момент в стенке МГТ, соответствующий образованию пластического шарнира, кгс ∙ см/см;
Wпл - пластический момент сопротивления продольного сечения стенки на единицу длины трубы, см3/см;
σт - предел текучести: 2400 кгс/см2 для медистой стали 15сп и 3100 кгс/см2 для стали 09Г2Д.
По этим же формулам может быть вычислена деформация горизонтального диаметра для любой величины (но не более qпред) действующей на МГТ нагрузки.
Предельное относительное уменьшение вертикального диаметра ΔDпред определяют через деформацию горизонтального диаметра
(B.3.4)
Значения предельных деформаций поперечного сечения трубы, соответствующие моменту предельного статического равновесия рассчитываемой системы, определяют в целях использования их в дальнейшем для оценки состояния построенного сооружения в эксплуатационных условиях.
Расчет продольных стыков внахлестку с соединениями на обычных (невысокопрочных) болтах нормальной точности основан на предположении, что все сдвигающие усилия в стыке воспринимаются болтами.
Трение по контактным поверхностям соединяемых элементов не учитывается.
Расчет болтовых соединений продольных стыков производится на суммарные сдвигающие усилия от действия осевой сжимающей силы и изгибающего момента, соответствующего образованию пластического шарнира в стенке МГТ.
Расчет ведется в предположении, что усилия между всеми болтами соединения распределяются равномерно.
Расчетное сдвигающее усилие на один болт S определяется по формуле
(B.4.1)
где n - число болтов в соединении на единицу длины МГТ;
- расчетное осевое сжимающее усилие на
единицу длины стенки МГТ.
Здесь q - расчетная интенсивность равномерно распределенного по периметру поперечного сечения трубы нормального давления грунта засыпки, принимаемая равной расчетной интенсивности вертикального давления на МГТ от суммарного воздействия собственного веса грунта насыпи и временной нагрузки;
а = 1,2 - коэффициент, учитывающий увеличение сдвигающего усилия в соединении от действия изгибающего момента.
Прочность болтового соединения проверяется по формулам:
при расчете на смятие кромок отверстий в соединяемых элементах
(B.4.2)
при расчете на срез болтов
(В.4.3)
где δ - толщина листа стыкуемых элементов;
d - номинальный диаметр болта;
m2 - коэффициент условий работы соединения; для стыков со специальными шайбами
m2 = 1,3 при расчете на смятие и т2 = 0,9 при расчете на срез;
Rсм, Rср - расчетные сопротивления для болтового соединения при работе кромок стыкуемых элементов на смятие и болта на срез.
Для предупреждения чрезмерных деформаций гибкой МГТ в процессе ее возведения от воздействия на конструкцию грузоподъемных машин, монтажных механизмов и приспособлений, собственного веса самой конструкции, вспомогательных обустройств (настилов, подвесных подмостей) и т.п. должно быть
см/кгс. (В.5.1)
Расчетную нагрузку на МГТ от строительных машин и уплотняемого грунта боковых призм следует условно принимать действующей в горизонтальной диаметральной плоскости нормально к поверхности МГТ с обеих сторон, равномерно распределенной по длине образующей МГТ с интенсивностью
кгс/см. (В.6.1)
Интенсивность действующего горизонтального давления е не должна превышать предельно допускаемое на трубу давление етр, т.е.
e ≤ eтр. (B.6.2)
Интенсивность предельно допускаемого (из условия трехпроцентной деформации номинального диаметра) давления eтр (в кгс/см) следует определять по формуле
(В.6.3)
где Мпл - изгибающий момент (в кгс ∙ см/см) в стенке МГТ на единицу ее длины, соответствующий образованию пластического шарнира и равный
Mпл = Wплσт. (В.6.4)
Wпл - пластический момент сопротивления продольного сечения стенки на единицу длины трубы, см3/см (см. табл. В.2);
σт - предел текучести стали, кгс/см2.
Если не удовлетворяется условие (В.6.2), следует предусматривать установку внутри МГТ временных инвентарных креплений, рассчитывая их на действие перемещающейся вдоль МГТ горизонтальной нагрузки екр (в кгс/см) интенсивностью действующей так же, как и нагрузка е, но на ограниченной длине 0,5 м по поверхности МГТ симметрично относительно горизонтального диаметра.
Екр = е - етр. (В.6.5)
Прогноз изменения напряженно-деформированного состояния системы «основание - водопропускное сооружение с МГТ - насыпь» следует выполнять путем математического моделирования с использованием нелинейных моделей механики сплошных сред численными методами. Выбор расчетных моделей, их геометрические параметры следует осуществлять в зависимости от вида грунтов, а также от особенностей решаемой задачи.
Расчетные физико-механические характеристики грунтов основания, насыпи и МГТ приведены в табл. В.2 и В.3.
Таблица В.2
Расчетные физико-механические характеристики грунтов основания и насыпи (пример)
|
Коэффициент Пуассона |
Угол внутреннего трения (градусы) |
Удельное сцепление (КПа) |
Плотность (КН/м3) |
|
|
16300 |
0,4 |
18 |
10 |
20,3 |
|
30000 |
0,32 |
30 |
2 |
20 |
|
14000 |
0,33 |
23 |
6 |
20 |
|
25000 |
0,33 |
30 |
4 |
16 |
|
40000 |
0,27 |
33 |
6 |
16 |
|
25000 |
0,3 |
30 |
4 |
16 |
Таблица В.2
Расчетные физико-механические характеристики металлической гофрированной трубы (пример)
|
Толщина (м) |
Момент инерции (м4) |
Работает на сжатие |
Предел прочности (КН/м3) |
|
|
210000000 |
0,00756 |
0 |
Да |
235000 |
На рис. В.1 - В.9 приведены схема и результаты расчета методом конечных элементов насыпи с круглой МГТ с зафиксированным расположением грунтов, армогрунтовой обоймы и самой МГТ. Результаты расчетов деформаций и напряжений методом конечных элементов позволяют получить с возможностью визуализации.

Рис. В.1. Расчетная схема с распределением грунтов, армирующих материалов и МГТ
Пример представления результатов расчета по программе МКЭ

Рис. В.2. Вертикальные деформации

Рис. В.3. Горизонтальные деформации

Рис. В.4. Вертикальные напряжения

Рис. В.5. Горизонтальные напряжения

Рис. В.6. Касательные напряжения

Рис. В.7. Коэффициент прочности по Мору-Кулону

Рис. В.8. Коэффициент прочности по Мизесу-Шлейхеру
Рис. В.9. Напряжения в стенке трубы
Расчет осадок МГТ и назначение строительного подъема
Расчет осадок МГТ для точек под осью насыпи следует производить по графику (рис. Г.1), определяя расчетную осадку Sр по формуле
(Г.1)
где Sт - осадка основания при модуле деформации грунта Е = 100 кгс/см2 (см. рис. Г.1).
Исходными параметрами для расчета осадок должны быть: модуль деформации, объемная масса грунта и мощность геологических слоев в основании, высота насыпи.
Осадка МГТ на многослойном основании рассчитывается путем суммирования осадок в пределах каждого слоя.
Расчетную осадку Sр под осью насыпи следует сравнить с предельно допустимой осадкой Sд, определяемой по формуле
Sд = 0,5Sр + 0,75iL, (Г.2)
где iL - разница отметок лотка МГТ на входе и выходе (I - уклон, L - длина МГТ).
Примечание. Формула применима для уклонов труб до 0,05.
В случае, если расчетная осадка превышает величину Sд, необходимо принять меры по изменению проектного решения, в первую очередь рассматривая варианты увеличения уклона лотка МГТ или толщины подушки, либо переходить к другой конструкции водопропускного сооружения.
Строительный подъем назначают, определяя ординату под осью насыпи по формуле
Δ = Sp - 0,25iL, (Г.3)
которая не должна превышать величины 0,5(Sp + iL).
На графике (см. рис. Г.1) приведена зависимость осадки от высоты насыпи из грунта со средним удельным весом 1,9 т/м3 для однородного основания, сложенного водонасыщенными (γ0 = 1 т/м3 - кривая 1) и неводонасыщенными грунтами (γ0 = 1,7 т/м3 - кривая 2), а также для оснований с расположением несжимаемого слоя на конечной глубине z (кривая 3). Кривые 1, 2 и 3 соответствуют модулю деформации грунта основания, равному 100 кг/см2. При однородном состоянии, зная высоту насыпи Н, по кривым 1 и 2 (в зависимости от состояния грунта) находят осадку S. Расчетная осадка Sр при фактическом модуле грунта Е будет
Рис. Г.1. Расчетный график для определения осадок МГТ:
Sm - осадка основания при модуле деформации грунта 100 кгс/см2; Н - высота насыпи; Z - расстояние от нижней границы рассматриваемого слоя до поверхности основания; 1 - при однородном основании и γ = 1 т/м3; 2 - то же, при γ = 1,7 т/м3; 3 - при неоднородном основании u Z = 2 - 18 м
Для оснований, у которых на некоторой глубине z залегают практически несжимаемые породы (Е ≥ 1000 кг/см2), осадку по формуле (Г.4) можно находить по кривым 3.
Если основание сложено из нескольких разнородных слоев с модулями деформации Еi, то сначала, пользуясь графиком (см. рис. Г.4), определяют осадку по формуле (Г.4) для модуля деформации нижнего слоя, а затем последовательно, начиная снизу, добавляют дополнительные осадки по остальным слоям, вычисляемые по формуле
(Г.5)
где Si находят по кривым 3 при z, равном расстоянию от нижней границы рассматриваемого i-го слоя до поверхности основания.
Дополнительные осадки ΔS1 отражают неоднородность основания на глубине и в зависимости от соотношения модулей деформации рассматриваемого и нижележащего слоев могут быть как положительными, так и отрицательными. Подушку под трубой рассматривают как слой основания с соответствующим модулем деформации.
Суммируя алгебраическую осадку, определенную для нижнего слоя как для однородного основания, и дополнительные осадки для каждого из отдельных слоев, определяют полную осадку по формуле
(Г.6)
Пример. Исходные данные: МГТ - D = 1,5 м; L = 46,4 м; I = 0,005; насыпь - b = 3,2 м; H = 10 м; 1:m = 1:2; В = 23,2 м; γ = 1,9 т/м3; основание - среднее γ0 = 1,7 т/м3; слой I - Нсл = 4 м, Е1 = 60 кгс/см2; слой II - Нсл = 7 м; Е2 = 100 кгс/см2; слой III с глубины 11 м - Е3 = 150 кгс/м2 (рис. Г.2).
Решение. 1. Считая основание
однородным с Е = 150 кгс/см2 и пользуясь графиком (см. рис. Г.1, кривая 2), по Н = 10 м
при γ0 = 1,7 т/м3
находят осадку основания под осью пути при Е = 100 кгс/см2
Sт"' = 17,4 см, тогда осадка при Е = 150 кгс/см2 ![]()
Рис. Г.2. Исходные данные к примеру расчета (размеры в метрах)
2. Для слоя мощностью Z2 = 11 м при Е = 100 кгс/см2 определяют величину дополнительной осадки (в связи с меньшим модулем деформации)
![]()
Значение
получают по графику для Н = 10 м и Z2 =
11 м (см. рис. Г.1, кривые семейства 3).
3. Для верхнего слоя мощностью 4 м с Е1 = 60 кг/см2 определяют
![]()
Значение
получают по графику для H = 10 м и Z1 = 4 м (кривые семейства 3).
4. Суммируя, находят расчетную осадку
Sр = S3 + ΔS2 + ΔS1 = 11,6 + 4,1 + 2,9 = 18,6 см.
5. По известным Sр = 18,6 см и iL = 23 см находят значение предельно допустимой осадки Sд = 0,5 ∙ 18,6 + 0,75 ∙ 23 = 26,5 см.
6. По тем же данным определяют ординату строительного подъема Δ = 18,6 - 0,25 ∙ 23 = 12,8 см, что в пределах допустимого значения, равного 0,5(Sp + iL) = 0,5(18,6 + 23) = 20,8 см.
Вывод. Осадки трубы не превысят предельно допустимых. Трубу следует проектировать со строительным подъемом, ордината которого под осью насыпи должна быть не менее 13 см и не более 21 см.
Расчет осадок МГТ на оттаивающих грунтах
Осадку МГТ Sр на оттаивающих грунтах рассчитывают по формуле
Sр = Sп + Sдоп, (Д.1)
где Sп - осадка предварительно оттаявшего слоя грунта толщиной hот (рис. Д.1);
Sдоп - дополнительная осадка слоя грунта, оттаивающего в процессе эксплуатации трубы для слоя hдоп = Но – hот (Но - полная глубина оттаивания, м).
Глубину оттаивания определяют теплотехническим расчетом, а также по данным натурных наблюдений за аналогичными сооружениями.
Примечание. При наличии на глубине, меньшей чем Но, скальных или других несжимаемых грунтов (Е > 1000 кгс/см2) осадку рассчитывают для толщи основания, ограниченной их верхней поверхностью. Допускается при этом принимать Но = 4,0 + 1,8H при объемной массе грунта основания γо = 1,0 тс/м3 и Но = 3,0 + 1,4H при γо = 1,7 тс/м3.
Рис. Д.1. Схема к расчету осадок труб на оттаивающих грунтах
Осадку Sдоп слоя грунта, оттаивающего в процессе эксплуатации сооружения, для слоя hдоп = H0 - hom определяют по формуле
где k - безразмерный коэффициент, равный 0,75(1 + b/В);
ai - коэффициент сжимаемости i-го слоя оттаивающего грунта, см2/кгс;
hi - толщина i-го слоя оттаивающего грунта, см;
Лсi - разность между суммарной льдистостью i-го слоя грунта и суммарной льдистостью образца грунта, взятого из этого слоя;
n - число слоев, на которые разделяется при расчете толща оттаявшего (оттаивающего) грунта;
Ai - коэффициент оттаивания i-го слоя грунта, характеризующий осадку грунта при его оттаивании без нагрузки;
Рδi - давление в середине i-го слоя грунта, в кгс/см2 от собственного веса, равное 0,5γ0(Zi + Zi-1) (здесь γ0 - объемная масса грунта основания, кгс/см3);
Zi-1, Zi - расстояние от подошвы насыпи соответственно до кровли и подошвы i-го слоя, см);
kлi - коэффициент, учитывающий неполное смыкание макропор при оттаивании мерзлого грунта, принимаемый в зависимости от средней толщины ледяных включений Δл: при Δл ≤ 1 см kл = 0,7; при Δл ≥ 3 см kл = 0,9; при промежуточных значениях Δл коэффициент kл определяется интерполяцией.
Осадку Sп слоя грунта, предварительно оттаявшего на глубину hom, рассчитывают по формуле (Д.2) при значениях Ai = 0; Лсi = 0 и значениях аi, определяемых с учетом ожидаемой степени уплотнения оттаявшего грунта. При этом формула имеет вид
Расчет осадок производят для средней части трубы (высота насыпи Н) и ее концевых участков (H = 0).
Пример. Исходные данные: труба - D = 1,5 м; L = 39 м; I = 0,007; насыпь - b = 3,5 м; Н = 10 м; В = 19,5 м; γ = 1,8 тс/м3; основание - γ0 = 1,7 тс/м3; H0 = 11 м; слой I - суглинок, предварительно оттаявший, а1 = 0,008, h1 = 4 м, слой II - суглинок, оттаивающий в процессе эксплуатации; а2 = 0,007; kл2 = 0,8; А2 = 0,018; Лс2 = 0,005; h2 = 2 м; слой III - то же, а3 = 0,006; kл3 = 0,7; А3 = 0,016; Лс3 = 0,005; h3 = 5 м.
Решение. Осадку рассчитываем по формулам (Д.1) - (Д.3). Предварительно определяем
![]()
рδ1 = 0,5 ∙ 0,0017(0 + 400) = 0,34 кгс/см2;
рδ2 = 0,5 ∙ 0,0017(400 + 600) = 0,85 кгс/см2;
рδ3 = 0,5 ∙ 0,0017(600 + 1100) = 1,45 кгс/см2.
Осадка под средней частью трубы:
а) предварительно оттаявшего слоя грунта
Sп = 0,75 ∙ 0,88 ∙ 0,0018 ∙ 1000 ∙ 0,008 ∙ 400 + 0,008 ∙ 0,34 ∙ 400 = 4,9 см;
б) слоев грунта, оттаивающих в процессе эксплуатации,
Sдоп = 0,75 ∙ 0,88 ∙ 0,0018 ∙ 1000[0,007 ∙ 200(1 - 0,005) + 0,006 ∙ 500 (1 - 0,005)] + [(0,018 + 0,007 ∙ 0,85)(1 - 0,005) + 0,8 - 0,005]200 + [(0,016 + 0,006 ∙ 1,45) ∙ (1 - 0,005) + 0,7 ∙ 0,005]500 = 25,3 см;
суммарная осадка S'р = 4,9 + 25,3 = 30,2 см. Осадка под концевыми участками трубы (H = 0):
а) предварительно оттаявшего слоя грунта
Sп = 0,006 ∙ 0,34 ∙ 400 = 1,1 см;
б) слоев грунта, оттаивающих в процессе эксплуатации,
Sдоп = [(0,018 + 0,007 ∙ 0,85) ∙ (1 - 0,005) + 0,8 ∙ 0,005] - 200 + [(0,016 + 0,006 - 1,45) ∙ (1 - 0,005) + 0,70,005]500 = 20,1 см;
суммарная осадка S'р = 1,1 + 20,1 = 21,2 см. Расчетная осадка
![]()
Пропускную способность МГТ устанавливают в соответствии с «Руководством по гидравлическим расчетам малых искусственных сооружений» или «Пособием по гидравлическим расчетам малых водопропускных сооружений», исходя из условий безнапорного режима пропускания потока и входа равнинного типа, при которых перед сооружением при пропуске расчетного расхода образуется емкость, характеризующаяся подпертой глубиной. При этом поток поступает в МГТ в спокойном состоянии.
Вход указанного типа имеют все МГТ без подходных быстротоков, подводящих поток к сооружению в бурном состоянии.
Для МГТ, имеющих на входе быстротоки, проверяют возможность сохранения безнапорного протекания при входе потока в МГТ в бурном состоянии.
«Длинные» и «короткие» МГТ. Учет влияния нижнего бьефа.
Е.1.1 МГТ, на пропускную способность которых при безнапорном режиме оказывает влияние их длина, называют «длинными» в гидравлическом отношении. У «коротких» это влияние отсутствует.
Е.1.2 «Короткими» считаются МГТ, для которых соблюдается условие
iт > iK, (E.1)
где iт - уклон трубы по проекту;
iK - критический уклон для труб данного отверстия.
Критический уклон вычисляют
по уравнению критического состояния
или при наличии равномерного движения
по формуле Шези
(Е.2)
где Q - расчетный расход потока, м3/с;
ωk - площадь живого сечения трубы при критической глубине hk, м;
bk - ширина свободной поверхности потока при глубине hk;
Сk - коэффициент Шези, м0,5/с, по формуле Павловского
![]()
n - коэффициент шероховатости поверхности трубы;
![]()
- гидравлический радиус при hk, м;
χk - смоченный периметр сечения при hk, м.
При iт < iK с некоторым приближением «короткими» можно считать МГТ при соблюдении критерия относительной длины:
(Е.3)
где lT и D - соответственно длина и диаметр МГТ.
Е.1.3 Безнапорный режим протекания в коротких трубах сохраняется вплоть до затопления входного сечения МГТ. При его затоплении происходит переход от безнапорного режима к полунапорному или напорному (рис. Е.1). Затопление входного отверстия МГТ определяют по значениям параметра расхода ПQ, приведенным в табл. Е.1
Таблица Е.1
|
Формула параметра расхода ПQ |
Заполнение входного
сечения |
Значение параметра расхода труб ПQ(гран) при типах входных оголовков |
||
|
Без оголовков |
Раструбный αр = 20° |
|||
|
Круглая |
|
0,75 |
0,275 |
0,305 |
|
1,0 |
0,415 |
0,495 |
||
|
Овоидальная |
|
0,75 |
- |
0,350 |
|
1,0 |
- |
0,485 |
||
Примечания:
1. Значения параметра расхода приведены для расчетного (первая строка) и полного (вторая строка) заполнения.
2.
- эквивалентный диаметр (эквивалентное
отверстие), представляющий собой диаметр круга, равного по площади поперечному
сечению сооружения ωcoop.
3. Работа трубы при безнапорном режиме наблюдается при значениях параметра расхода ПQ меньше указанных ПQ(гран), т.е. ПQ < ПQ(гран).
Е.1.4 Глубины на входе и подпертые глубины перед «длинными» МГТ определяют по формулам, полученным из аналогичных зависимостей для гладких труб, приведенных в «Руководстве по гидравлическим расчетам малых искусственных сооружений», с введением в них корректива для учета повышенной шероховатости:
(Е.4)
(Е.5)
где
и
-
соответственно относительная глубина
на входе и относительная подпертая глубина для «коротких» труб;
n = 0,015 и nгофр - коэффициенты шероховатости соответственно для гладких и МГТ.
Е.1.5 Затопление отверстия МГТ может произойти со стороны нижнего бьефа При значительной бытовой глубине водотока, что снижает их пропускную способность и также исключает безнапорный пропуск потока по трубе.
Затопленными будут МГТ при условиях:
hнб ≥ 1,25hк и Ннб ≥ 1,1hт или hнб ≥ (0,75 - 0,77)Н,
где hнб - глубина в нижнем бьефе над нижней точкой дна МГТ в выходном сечении, м;
hк - критическая глубина в МГТ, м;
hт - высота МГТ, м;
Н - напор перед МГТ, м.
Более точно расчет затопления производится согласно «Руководству по гидравлическим расчетам малых искусственных сооружений».
Е.1.6 При безнапорном режиме МГТ гидравлически работает как водослив с широким порогом, коэффициент расхода которого зависит от сопротивлений на входном участке.
Если сжатое сечение не затоплено hc < hк, то МГТ работает как свободный водослив с широким порогом. При затоплении сжатого сечения hc > hк труба работает как затопленный водослив с широким порогом.
Е.1.7 Расход воды, пропускаемый безнапорной «короткой» неподтопленной МГТ (рис. Е.1),
(E.6)
где m - коэффициент расхода, определяемый по табл. Е.2;
- средняя ширина потока в
сечении с критической глубиной hK по таблице Е.3;
ωk - площадь поперечного сечения потока при глубине hk;
hk - критическая глубина потока в МГТ, определяемая из уравнения критического состояния потока
α = 1,1. (E.7)
Е.1.8 Подпертую глубину перед безнапорными трубами определяют по формуле
В табл. Е.3 приведены значения m для уклона iT = 0,01. При других значениях уклона, для более точного расчета значения m следует увеличивать при iT > 0,01 или уменьшать при iT < 0,01 на 2 % на каждую 0,01 уклона.
Таблица Е.2
Коэффициент расхода т
|
Коэффициент расхода, m |
|
|
Без оголовка (вертикальный срез) |
0,33 |
|
Срезанный параллельно откосу |
0,33 |
|
Раструбный θ = 20° |
0,365 |
При несовершенном сжатии потока на входе в МГТ (ширина по подпертому уровню высоких вод ПУВВ перед входом в МГТ менее шести ее отверстий) коэффициент расхода определяют по формуле
(Е.9)
где mта6л - значение коэффициента расхода по табл. Е.2;
Ω - площадь поперечного сечения потока в подводящем русле;
ωn - площадь поперечного сечения МГТ до отметки подпертого уровня.
Е.1.9 Возможность
существования безнапорного режима и заполнения МГТ на входе в «короткие» МГТ определяют по «Пособию
по гидравлическим расчетам малых водопропускных сооружений», в котором
приведена зависимость относительной глубины потока во входе в МГТ
от
параметра расхода ПQ, что позволяет по заданному заполнению
установить соответствующую ему величину расхода.
Таблица Е.3
Определение ширины потока
|
|
ВК при диаметрах труб D, м |
||||||
|
1,0 |
1,25 |
1,5 |
2,0 |
3,0 |
5,0 |
||
|
1 |
2 |
3 |
4 |
5 |
6 |
7 |
8 |
|
0,02 |
0,49 |
0,49 |
0,61 |
0,73 |
0,98 |
1,47 |
2,45 |
|
0,03 |
0,52 |
0,52 |
0,65 |
0,78 |
1,04 |
1,56 |
2,6 |
|
0,04 |
0,57 |
0,57 |
0,71 |
0,85 |
1,14 |
1,71 |
2,85 |
|
0,05 |
0,59 |
0,59 |
0,73 |
0,88 |
1,18 |
1,77 |
2,95 |
|
0,06 |
0,62 |
0,62 |
0,77 |
0,93 |
1,24 |
1,86 |
3,1 |
|
0,07 |
0,63 |
0,63 |
0,78 |
0,94 |
1,26 |
1,89 |
3,15 |
|
0,08 |
0,64 |
0,64 |
0,8 |
0,96 |
1,28 |
1,92 |
3,2 |
|
0,09 |
0,66 |
0,66 |
0,82 |
0,99 |
1,32 |
1,98 |
3,3 |
|
0,1 |
0,67 |
0,67 |
0,83 |
1,00 |
1,34 |
2,01 |
3,35 |
|
0,12 |
0,69 |
0,69 |
0,84 |
1,03 |
1,38 |
2,07 |
3,45 |
|
0,14 |
0,72 |
0,72 |
0,9 |
1,08 |
1,44 |
2,16 |
3,6 |
|
0,16 |
0,74 |
0,74 |
0,92 |
1,1 |
1,47 |
2,2 |
3,68 |
|
0,18 |
0,76 |
0,76 |
0,94 |
1,13 |
1,51 |
2,26 |
3,78 |
|
0,2 |
0,77 |
0,77 |
0,94 |
1,15 |
1,54 |
2,31 |
3,85 |
|
0,25 |
0,79 |
0,79 |
0,99 |
1,18 |
1,58 |
2,37 |
3,95 |
|
0,3 |
0,81 |
0,81 |
1,01 |
1,21 |
1,62 |
2,43 |
4,05 |
|
0,35 |
0,82 |
0,82 |
1,02 |
1,23 |
1,64 |
2,46 |
4,1 |
|
0,4 |
0,83 |
0,83 |
1,03 |
1,24 |
1,66 |
2,49 |
4,15 |
|
0,45 |
0,84 |
0,84 |
1,04 |
1,25 |
1,67 |
2,5 |
4,18 |
|
0,5 |
0,84 |
0,84 |
1,05 |
1,26 |
1,68 |
2,52 |
4,2 |
|
0,55 |
0,84 |
0,84 |
1,05 |
1,26 |
1,68 |
2,52 |
4,2 |
|
0,6 |
0,84 |
0,84 |
1,05 |
1,26 |
1,68 |
2,52 |
4,2 |
|
0,65 |
0,84 |
0,84 |
1,05 |
1,26 |
1,68 |
2,52 |
4,2 |
|
0,7 |
0,83 |
0,83 |
1,03 |
1,24 |
1,66 |
2,49 |
4,15 |
Е.1.10 При безнапорном режиме некоторое увеличение расхода, поступающего к МГТ, незначительно увеличивает глубину потока перед МГТ.
Это преимущество безнапорных МГТ является очень существенным при их эксплуатации. В «длинной» МГТ при безнапорном режиме энергии потока недостаточно для протекания в бурном состоянии и он перейдет в спокойное состояние. Такой переход осуществляется гидравлическим прыжком, глубина потока в МГТ при этом резко возрастает и может произойти смена безнапорного режима на полунапорный, частично напорный или напорный режимы, что опасно для нормальной работы МГТ. Поэтому второе преимущество безнапорного режима - его устойчивость для «длинных» труб должно проверяться. Эта опасность состоит в том, что полунапорный режим может переходить в напорный (зарядка МГТ) и обратно (срыв вакуума). Такие смены режима сопровождаются резкими колебаниями уровня воды перед насыпью и вибрациями МГТ, что сокращает срок ее службы.
Е.1.11 По влиянию глубины воды в нижнем бьефе МГТ делят на «затопленные» с нижнего бьефа и «незатопленные» (рис. Е.1, Е.2, Е.3) при свободном сжатом сечении на входе.
Затопленными с нижнего бьефа считают трубы, работающие в условиях, при которых уровень нижнего бьефа влияет на пропускную способность трубы (вследствие затопления сжатого сечения), в противном случае трубы считаются «незатопленными» с нижнего бьефа.
Рис. Е.1. Схема протекания воды в безнапорной МГТ, затопленной с нижнего бьефа с незатопленным свободным сечением
Рис. Е.2. Схема протекания воды в безнапорной МГТ, затопленной с нижнего бьефа с незатопленным сжатым сечением:
hнб - глубина воды в нижнем бьефе над нижней точкой дна трубы в выходном сечении; hп - глубина подтопления
Е.1.12 Пропускную способность многоочковых МГТ определяют при условии их раздвижки на величину не менее 0,25D как сумму отдельно работающих одноочковых МГТ. Расчет многоочковых МГТ аналогичен расчету одноочковых, при этом расход каждой МГТ
принимают
(Е.11)
где
- количество труб.
Е.1.13 Пропускную способность «длинной» подтопленной трубы следует определять по формуле
(Е.10)
где
неизвестно, поэтому
коэффициент подтопления определяется методом последовательного приближения, его
значение должно быть меньше 1,0.
Напор перед круглыми «длинными» трубами Н0 определяется по «Пособию по гидравлическим расчетам малых водопропускных сооружений».
Рис. Е.3. Схема протекания воды в равнинной МГТ при безнапорном режиме:
а - «короткая»; б - «длинная»; в - «незатопленная» (hб2, hб3) u «затопленная» с нижнего бьефа (hб4)
Выбор очертания контура МГТ зависит от рабочей отметки продольного профиля дороги, геометрических контуров поперечного сечения дороги, контуров сечений лога и гидравлических характеристик потока.
Е.2.1 В основе алгоритма лежит методика расчета водопропускного тракта.
Е.2.2 Основные элементы алгоритма:
1) Расчет гидравлических характеристик потока на входном участке. МГТ проектируют как водопропускное сооружение равнинного типа;
2) расчет глубин и скоростей на всей длине МГТ, включая входной и выходной участки;
3) расчет глубин и скоростей потока на укреплении русла на входе;
4) расчет параметров каменной наброски, возможности образования промоины и глубин размыва за укреплением нижнего бьефа в выходном логе;
5) определение размеров укреплений нижнего бьефа и;
6) выбор и назначение вариантов конструкций водопропускного тракта, удовлетворяющих всем требуемым ограничениям (по допускаемым скоростям, глубинам воронок размыва в выходном логе и т.п.).
Возможно также изменение (перепроектирование) продольного профиля водопропускного тракта с последующим повторением расчетов.
Определение наилучшего из допускаемых вариантов должно осуществляться на основе технико-экономического сравнения по объемно-строительным показателям.
Расчет водопропускного тракта ведется на расчетный расход Qp. При наличии снегового и ливневого паводков Qp и Qmax выбирают как максимальные из соответствующих расходов.
Е.2.3 Последовательность расчета:
1) На основе анализа исходных данных по параметрам насыпи и характеристикам стока назначают тип трубы с учетом величины расхода, характера водотока. А также задаются начальным отверстием МГТ исходя из того, что для МГТ на постоянных дорогах допускается только безнапорный режим и обязательное выполнение требования о величине зазора в МГТ (см. п. Е.1.8).
2) Задаются параметрами продольного профиля трубы (уклоны на входе, выходе и в трубе, тип оголовков) и рассчитывают параметры расходов Qp и Qmax.
3) Определяют «короткая» или «длинная» труба, сравнивая критический уклон с уклоном трубы. Критический уклон определяют по графикам в «Пособии по гидравлическим расчетам малых водопропускных сооружений». Проводят контрольную проверку по критерию относительной длины lт/D ≤ 20.
4) Определяют подпертые глубины при Qp и Qmax по формуле Е.8.
5) Определяют (для низких насыпей) возвышение бровки над подпертым уровнем для проектирования высоты укрепления откоса.
6) Рассчитывают глубины и скорости на выходе из МГТ по графикам «Пособия по гидравлическим расчетам малых водопропускных сооружений».
7) Назначают начальный тип укрепления выходного русла (каменной наброской, плитой, монолитным бетоном, сборными блоками и т.д.) по табл. Е.4. Если vв(мах) > vдоп, то меняют тип укрепления на более мощный и так до тех пор, пока не будет удовлетворено условие vв(мах) ≤ vдоп либо не будут исчерпаны все возможные типы укреплений.
8) Определяют глубины возможного размыва в выходном русле принятого типа. Если максимальная глубина размыва больше 2,5 м, то переходят на следующий, более мощный тип выходного русла и расчет повторяют. Если никакой из типов выходных русл не обеспечивает глубины размыва меньше допустимой, то увеличивают отверстие МГТ и переходят к п. 2.
9) Рассчитывают скорости и глубины потока на укреплении.
10) Рассчитывают ширину укрепления и глубину заделки его концевой части с учетом растекания потока на укреплении и глубины воронки размыва.
11) Если в результате расчетов осуществлен перебор всех допустимых отверстий МГТ и при этом не найден вариант, удовлетворяющий всем необходимым ограничениям, то можно изменить уклоны и водопропускной тракт перепроектировать.
Таблица Е.4
Допустимые скорости течения воды (средние)
|
Средние глубины потока, м |
||||
|
0,4 |
1,0 |
2,0 |
3,0 |
|
|
1 |
2 |
3 |
4 |
5 |
|
Граниты, базальты, кварциты |
15,0 |
18,0 |
20,0 |
20,0 |
|
Песчаник доломитовый, известняк кремнистый, плотный |
4,0 |
5,0 |
6,0 |
6,5 |
|
Песчаник известковый, известняк доломитовый, пористый |
3,0 |
3,5 |
4,0 |
4,5 |
|
Конгломерат, мергель, сланцы |
2,0 |
2,5 |
3,0 |
3,5 |
|
Булыжник крупный |
3,0 |
3,5 |
4,0 |
4,5 |
|
средний |
2,5 |
3,0 |
3,5 |
4,0 |
|
мелкий |
2,0 |
2,5 |
3,0 |
3,5 |
|
Галька крупная |
1,7 |
2,1 |
2,4 |
2,7 |
|
средняя |
1,4 |
1,6 |
1,8 |
2,0 |
|
мелкая |
1,1 |
1,3 |
1,5 |
1,7 |
|
Гравий крупный |
1,0 |
1,1 |
1,3 |
1,4 |
|
средний |
0,8 |
0,9 |
1,1 |
1,2 |
|
мелкий |
0,7 |
0,8 |
0,9 |
1,0 |
|
Песок крупный |
0,5 |
0,6 |
0,7 |
0,8 |
|
средний |
0,4 |
0,5 |
0,6 |
0,7 |
|
мелкий |
0,2 |
0,3 |
0,4 |
0,5 |
|
Глины, суглинки |
||||
|
малоплотные ρd = 1,20 т/м3 |
0,35 |
0,40 |
0,45 |
0,50 |
|
среднеплотные 1,20 - 1,66 |
0,65 |
0,80 |
0,90 |
1,00 |
|
плотные 1,66 - 2,04 |
0,95 |
1,20 |
1,40 |
1,50 |
|
очень плотные 2,04 - 2,14 |
1,40 |
1,70 |
1,90 |
2,10 |
|
Травяной покров отличный |
0,8 |
1,0 |
1,2 |
1,5 |
|
удовлетворительный |
0,6 |
0,8 |
0,9 |
1,0 |
|
Одерновка плашмя |
0,9 |
1,2 |
1,3 |
1,4 |
|
в стенку |
1,5 |
1,8 |
2,0 |
2,2 |
|
Мощение камнем |
||||
|
одиночное при размере камня |
4,0 |
|||
|
0,15 м |
2,5 |
3,0 |
3,5 |
4,5 |
|
0,20 м |
3,0 |
3,5 |
4,0 |
5,0 |
|
0,25 м |
3,5 |
4,0 |
4,5 |
5,5 |
|
двойное |
3,5 |
4,0 |
5,0 |
6,0 |
|
Габионы |
4,0 |
5,0 |
5,5 |
4,5 |
|
Каменная наброска 1 слой |
3,5 |
3,8 |
4,2 |
5,0 |
|
2 слоя |
4,0 |
4,2 |
4,5 |
|
|
Бутовая кладка из камня |
||||
|
известковых пород |
3,5 |
3,5 |
4,0 |
4,5 |
|
крепких пород |
6,5 |
8,0 |
10,0 |
12,0 |
|
Бетонные стенки М-110 |
5,0 |
6,0 |
7,0 |
7,5 |
|
М-170 |
6,5 |
8,0 |
9,0 |
10,0 |
|
Покрытия плитные |
||||
|
цементобетонные на откосе |
||||
|
свободно лежащие 1,0×1,0 м |
2,6 |
2,8 |
3,0 |
3,0 |
|
до 3,0×3,0 м |
2,8 |
3,0 |
3,5 |
4,0 |
|
омоноличенные |
3,0 |
4,0 |
5,0 |
6,0 |
|
монолитные |
3,5 |
4,5 |
6,0 |
7,0 |
|
гибкие ЦНИИС |
2,8 |
2,9 |
3,0 |
3,5 |
|
в русле водотока |
||||
|
свободнолежащие |
4,5 |
5,0 |
5,5 |
6,0 |
|
с упором |
5,0 |
5,5 |
6,0 |
6,5 |
|
асфальтобетонные на откосе |
||||
|
квадратные 1,0×1,0 |
1,0 |
1,3 |
1,7 |
2,0 |
|
3,0×4,0 |
1,5 |
2,0 |
2,5 |
3,0 |
|
в русле водотока 1,0×1,0 |
2,0 |
2,3 |
2,7 |
3,0 |
|
3,0×4,0 |
3,0 |
3,3 |
3,7 |
4,0 |
|
в водоотводах покрытия плитами |
||||
|
цементобетонными |
5,0 |
6,0 |
7,0 |
8,0 |
|
асфальтобетонными |
3,0 |
3,2 |
3,5 |
4,0 |
|
секциями железобетонными |
8,0 |
10,0 |
11,0 |
12,0 |
Пример 1. МГТ без оголовков с вертикальным срезом. Высота насыпи Ннас = 3,5 м, ширина по верху bнас = 6,5 м, крутизна откосов 1:1,5. Уклон лотка трубы соответствует уклону лога iT = 0,03. Гладкий лоток расположен на 1/3 периметра нижней части поперечного сечения МГТ.
Расходы притока с бассейна Qp = 2,4 м3/с, Qмах = 4,0 м3/с. Сток снеговой - аккумуляция не учитывается.
Требуется подобрать отверстие МГТ и определить подпертые глубины, а также глубины и скорости на выходе из нее.
РЕШЕНИЕ
1. Определяем длину МГТ lт = 6,5 + 3,5 ∙ 2 ∙ 1,5 = 17 м.
2. Находим отверстие МГТ.
Согласно СНиП 2.05.03-84*, МГТ
должны пропускать расчетные расходы и наибольшие расходы при безнапорном режиме
и иметь при этом заполнение на входе при пропуске расчетного расхода
при
пропуске наибольшего расхода ![]()
Находим для трубы без оголовка с вертикальным срезом параметры расхода, соответствующие указанным выше заполнениям:
при
![]()
при
![]()
Зная параметры расхода, находим по ним минимальные диаметры по формуле

При Qр =
2,4 м3/с 
При Qмах = 4,0 м3/с 
Принимаем к расчету ближайшее большее типовое отверстие D = 2,0 м.
3. Устанавливаем, будет ли МГТ «длинной» или «короткой» в гидравлическом отношении.
Сравниваем уклон МГТ it с критическим iк, который определяем по графику или уравнению критического состояния для МГТ D = 2,0:
при Qp ПQ(p) = 0,265, iк = 0,015 < iт = 0,03.
Следовательно, МГТ «короткая». Проверка по критерию относительной длины МГТ не требуется.
4. Определяем подпертые глубины перед МГТ из формулы для безнапорного режима:

Предварительно определяем коэффициент расхода для МГТ без оголовка m = 0,33 и затем по табл. Е.2 bk. Для расчетного расхода Qp = 2,4 м3/с.
bk(p) = 1,40
м.

Для наибольшего расхода Qmax = 4,0 м3/с:
bk(p) = 1,56
м.
5. Находим возвышение бровки полотна над подпертым уровнем Δбп при высоте насыпи Ннас = 3,5 м:
Δδn(р) = 3,5 - 1,11 = 2,39 м > 1,0 м;
Δδn(max) = 3,5 - 1,46 = 2,04 м > 1,0 м.
Требования технических условий выдержаны.
6. Определяем глубины и скорости на выходе из МГТ соответственно.
При Qр =
2,4 м/с; ПQ(max) = 0,135; ![]()
hвых(р) = 0,21 ∙ 2 = 0,42
м; 
![]()
при Q(max) = 4,0 м/с; ПQ(max) = 0,23;
hвых(max) = 0,335 ∙ 2 = 0,62 м; 
![]()
Пример 2. Расчет деформируемых выходных русл. Круглая МГТ D = 1,5 м без оголовков расположена на автомобильной дороге; сток снеговой, аккумуляция не учитывается; расчетный расход Qp = 2,3 м3/с, объемы стыка Wт - Wмах = 8,1 ∙ 103 м3; грунты лога - суглинки с расчетным сцеплением Ср = 0,01 МПа; уклон лотка МГТ iT = 0,01.
Требуется определить размеры неразмываемого деформируемого выходного русла, изготавливаемого из однородного камня на щебеночной подготовке толщиной слоя δ = 15 см со средним диаметром частиц 5 см.
РЕШЕНИЕ
I. Определение лимитирующего расхода.
Расчет начинаем с определения лимитирующего расхода. Для этого увеличиваем расчетный расход на 30 % (для учета запаса):
1,3Qp = 2,3 ∙ 1,3 ≈ 3,0 м3/с.
Для дальнейшего расчета принимаем расход Qр = Qмах = 3,0 м3/с.
II. Определение размеров укреплений.
1. Определяем скорости на выходе из МГТ.
Предварительно определяем параметр расхода
![]()
По значениям ПQ = 0,33 и iт = 0,01 находим
и ![]()
2. Определяем минимальный диаметр частиц наброски, при котором укрепление будет устойчивым от размыва.
Для трубы без оголовка воспользуемся формулой
![]()
Принимаем средний диаметр частиц наброски d1 = 35 см, а средний диаметр частиц мелкой фракции - d2 = 0,05 см.
3. Определяем предельную глубину деформации укрепления за счет выноса грунта из-под него по формуле

Предварительно задавшись толщиной слоя наброски δ1 = 2 ∙ 0,35 = 0,70 м и зная толщину слоя щебеночной подготовки δ2 = 0,15 м, а также полную толщину укрепления δ = 0,70 + 0,15 = 0,85 м, находим по формуле эквивалентный диаметр частиц наброски
![]()
Затем по формуле при Ср = 0,01 МПа определяем эквивалентный диаметр частиц грунта:
D = 7,5(0,1 + 100Ср) = 7,5(0,1 + 100 ∙ 0,01) = 8,2 мм,
откуда

4. Определяем глубины потока на выходе из МГТ по формуле
![]()
Предварительно находим для случая ПQ = 0,33 < 0,8 АT = 0,98 и ST = 0,5 и вычисляем f(iT) по формуле
![]()
Тогда имеем
hвмх = 0,98 ∙ 1,5 ∙ 0,833 ∙ 0,330,5 = 0,70 м.
Находим расстояние от выхода из МГТ до места расположения предельной глубины деформации укрепления по формуле

5. Устанавливаем предельную глубину деформации укрепления сечения на выходе из трубы по формуле
- лоток МГТ не будет подмыт.
6. Определяем минимальные размеры укрепления в плане по формуле
L = В = 4Δhпр(Д) = 4 ∙ 0,84 = 3,36 м =3,40 м.
7. Назначаем длину укрепления L = 3,5 м.
8. Находим ширину укрепления.
Предварительно определяем отношение
![]()
Ширина укрепления в конце оголовка
B1 = bp + 2,0 = 1,50 + 2,0 = 3,50 > В = 3,4 м. Принимаем В1 = 3,5 м.
Ширина укрепления в конце оголовка В2 принимается по большему из значений В1 и В2; в расчете принимаем В2 = В1 = 3,5 м.
III. Расчеты размыва за укреплениями и определение размеров их концевых частей.
1. Определяем глубину размыва в грунте лога за укреплениями по формуле

Предварительно по таблицам определяем величины, входящие в эту формулу: масштабный коэффициент δМ для МГТ D = 1,5 м и находим δМ = 0,82; коэффициенты ψ = 0,6; r = 0,9 и показатель степени s = 0,6.
Показатель степени s1 для деформируемых выходных русл равен -
Величины b = b1 = D = 1,5 м; DЭ = d
= 1,5 м.
Эталонный расход QК находим по формуле
![]()
Подставив значения всех величин в формулу, получим

2. Определяем максимальную глубину размыва за время паводка Δhмах по формуле
Δhмах = η Δhпр.
Предварительно вычисляем эталонное время t0 и время паводка по формулам

![]()
По величине отношения
находим η = 0,71. Тогда Δhмах = ηΔhпр = 0,71 ∙ 0,68 = 0,48 м < δ
= 0,85 м.
Применяем выходное русло типа 1 (рис. Е.4, а). Концевая часть этого укрепления представляет собой часть наброски, уложенной за укреплением с откосом 1:1 и глубиной заложения δ.
Рисберма за укреплением в этом типе выходных русл не делается.
3. Определяем ширину воронки размыва в конце укрепления.
Предварительно определяем
коэффициент К при
и
. Получаем К = 0,25, откуда
> В2 = 3,5 м.
Принимаем ширину укрепления на концевом участке длиной 1 м равной
Вук = ВВ = 7,0 м.

Конструкция укрепления приведена на рис. Е.5.
Рис. Е.4. Типы выходных русл из каменной наброски:
а - тип I; б - тип II; в - тип III;
1 - укрепление из наброски; 2 - щебеночная подготовка; 3 - обратная засыпка грунта; 4 - рисберма; δ - толщина наброски; hукр - глубина заложения укрепления; hрирб - высота рисбермы; bр - ширина укрепления у оголовка; В1, В2 и Вук - ширина соответственно в начале, в конце и у концевой части укрепления
Объем камня в укреплении (без щебеночной подготовки)
![]()
Объем щебеночной подготовки
Wщ = 3,5 ∙ 2,4 + 6,9(10 + 0,78) ∙ 0,15 = 3,1 м3.
Итого объем наброски Wн = 12,4 + 3,1 = 15,5 м3.
Для сравнения при заданных условиях определим размеры укреплений недеформируемого выходного русла. Расчет продолжаем с п. 3.
Рис. Е.5. Конструкция укрепления:
1 - каменная наброска; 2 - щебеночная подготовка
4. Определяем по формуле толщину слоя наброски, при которой укрепление будет недеформируемым, приняв dн = 0,25 м.
Расчет вначале ведем без учета подсыпки:

Примем, что 20 % этой глубины составляет щебеночная подготовка крупностью dн(щ) = 0,05 м, и повторим расчет по той же формуле, подставив в нее вместо dн значение dн(э), а также δ1 = 0,8×1,29 = 1,03 м,
δ2 = 0,2 ∙ 1,29 = 0,26 м, откуда dн(э) = 0,25
+ 0,05 ∙ 0,26 = 0,21 м.
Тогда имеем

Эффективность учета слоя щебеночной подготовки, составляющей 20 % толщины слоя наброски, мала, поэтому при определении 5 ее можно не учитывать.
Принимаем укрепление, состоящим из каменной наброски, уложенной слоем толщиной δ1 = 1,00 м, и щебеночной подготовки слоем δ2 = 0,24 м.
5. Назначаем длину укрепления L равной 1,5 ∙ 1,5 = 2,25 м, или с округлением до 0,5 м L = 2,5 м.
6. Определяем ширину растекания потока в конце укрепления, определив предварительно значение по формуле:
![]()
![]()
7. Назначаем ширину укрепления:
в створе на выходе из трубы В1 = Вр + 2,0 = 1,5 + 2,0 = 3,5 м;
в створе конца укрепления В2 = Враст + 1,0 = 3,25 + 1,0 = 4,25 м и 4,3 м.
Выполняем расчеты размыва за укреплениями для определения размеров их концевых частей.
1. Определяем глубину размыва в грунте лога за укреплениями по формуле

2. Определяем максимальную глубину размыва за время паводка по формуле
Δhmax = 0,6 ∙ 0,91 = 0,55 мδ < δ = 1,24 м.
Применяем выходное русло типа 1 (рис. 4. В, а).
3. Определяем ширину воронки размыва в конце укрепления.
Предварительно находим коэффициент K при
и
тогда
![]()
Назначаем ширину концевой части укреплений Вук на участке длиной 1 м равной 6,9 м.
Объем камня в укреплении (без щебеночной подготовки)
![]()
Объем щебеночной подготовки
![]()
Итого объем наброски Wн = 16,3 + 4,9 = 21,2 м.
При деформируемом укреплении объем наброски Wн был равен 15,3 м3. Таким образом, допущение деформации укрепления и снижение объема наброски обеспечивает экономический эффект.
Пример назначения отверстий и определения пропускной способности металлических гофрированных труб
Пример. Металлическая гофрированная труба без оголовков (с вертикальным срезом) расположена на автомобильной дороге. Высота насыпи Ннас = 20,96 м, длина трубы 100,3 м. Уклон лотка трубы соответствует уклону лога iтр = 0,01. Гладкий лоток расположен на 1/3 периметра поперечного сечения трубы. Расход с бассейна Q1% = 54,6 м/с3. Сток снеговой - аккумуляция не учитывается.
Требуется подобрать отверстие трубы и определить подпертые глубины, а также глубины и скорости на выходе из нее.
Решение
1 .Согласно Методическим
рекомендациям по проектированию и строительству водопропускных сооружений из
гофрированных металлических структур (МГС) на автомобильных дорогах общего
пользования с учетом региональных условий гофрированные трубы на автомобильных
дорогах должны пропускать расчетные расходы при безнапорном режиме и иметь при
этом заполнение на входе при пропуске расчетного расхода ![]()
2. По графику на рис. 5.19, б Пособия по гидравлическим расчетам малых водопропускных сооружений / Под ред. Г.Я. Волченкова. М.: Транспорт, 1992 находим для трубы без оголовка с вертикальным срезом (кривая 6) параметры расхода, соответствующие указанному выше условию (см. рис. Е.6):
при
![]()
3. Определив параметр расхода, устанавливаем минимальный диаметр трубы по формуле:

При Q1% = 54,6 м/с3, ПQ(р) = 0,34. 
Принимаем ближайшее к расчету большее отверстие трубы Dтр = 5,0 м.
Рис. 5.19. Графики для определения глубины воды на входе в прямоугольные (а), круглые (б) и овоидальные (в) трубы при типах оголовков:
1 - портальном; 2 - раструбном с α = 30 - 45°; 3 - раструбном с αp = 20°; 4 - раструбном с αр = 10°; 5 - воротниковом с αp = 0°; 6 - без оголовка; 7 - раструбном с коническим звеном; 8 - коридорном (штриховая линия характеризует расчетное заполнение трубы при hm ≤ 3,0 м)
Рис. Е.6
4. Устанавливаем, будет ли труба «длинной» или «короткой» в гидравлическом отношении.
Сравниваем уклон трубы iтр с критическим уклоном - ik. Находим ik по графику рис. 5.27 («Пособие по гидравлическим расчетам ...») для трубы D = 2,0 м (см. рис. Е.7).
При Q1% = 54,6 м/с3, Dтр = 5,0 м определяем

Определяем критический уклон трубы для Dтр = 5,0 м с гладким лотком, предварительно определив ik = 0,015 при D = 2,0 м для труб с гладкими лотками.
Тогда ik для Dтр = 5,0 м определяем по формуле

При ik < iтр труба «короткая». Проверка по критерию относительной длины не требуется.
Рис. 5.27. График для определения критического уклона ik для круглых гофрированных труб с гладкими лотками (пгв = 0,025):
1 - D = 1,5 м; 2 - при D = 2,0 м
Рис. Е.7
5. Определяем подпертые глубины перед трубой для безнапорного режима:

Предварительно находим коэффициент расхода для трубы без оголовка по табл. 5.3 «Пособия ...» (см. табл. Е.5).
Таблица Е.5
|
Расчетный коэффициент - m |
|
|
Без оголовка |
0,33 |
|
Срезанный параллельно откосу |
0,33 |
|
«Капюшон» |
0,33 |
|
Раструбный |
0,365 |
Следовательно, в соответствии с табл. 1 m = 0,33.
Коэффициент bк определяем по рис. 5.14 «Пособия...» (см. рис. Е.8), где ПQ(р) = 0,312.
Рис. 5.14. График для определения средней ширины потока в сечении с критической глубиной в трубах непрямоугольного сечения
Рис. Е.8
В соответствии с рис. Е.8 отношение bk/D = 0,81. Отсюда bk = 0,81 ∙ 5 = 4,05.
Тогда 
6. Находим возвышение бровки земляного полотна над подпертым уровнем Δбп при высоте насыпи Ннас = 20,96 м.
Δбn = 20,96 - 4,4 = 16,56 м > 0,5 м.
Требования технических условий выдержаны.
7. Определяем глубину на входе трубы.
При параметре расхода ПQ(p) = 0,312 для трубы без оголовка с
вертикальным срезом (кривая 6) см. рис. Е.6
определяем ![]()
Отсюда hвх = 0,85 ∙ 5,0 = 4,25 м.
8. Определяем глубины и скорости на выходе из трубы соответственно по приложениям 5.2 «Пособия ...» (см. рис. Е.9) и 5.3 «Пособия ...» (см. рис. Е.10).
При ПQ{р) = 0,312, iтр = 0,01 определяем отношение
(см. рис. Е.9)
Рис. Е.9
Тогда определяем глубину воды на выходе из трубы hвых = 0,42 ∙ 5,0 = 2,1 м.
Скорость воды на выходе из
трубы определяем из соотношения
в соответствии с приложением 5.3, рис. 2 «Пособия ...» (см. рис. Е.10).
Рис. 2. График для определения скоростей потока на выходе из гофрированных труб с учетом их возможной зарядки
Рис. Е.10
При ПQ(p) = 0,312, iтр = 0,01 определяем отношение ![]()
Тогда скорость воды на выходе
из трубы ![]()
Расчет устойчивости земляного полотна с водопропускным сооружением
Задача устойчивости массивов грунта является частной задачей общей теории предельного напряженного состояния грунтов.
Уменьшение прочности сооружения происходит как при разрушении естественных упоров массивов грунта, так и при уменьшении эффективного трения (при наличии порового давления) и сил сцепления (при увлажнении и набухании грунтов).
Устойчивость откоса из идеально сыпучего грунта считается обеспеченной, если угол откоса не более угла внутреннего трения (угла естественного откоса).
Понятие об угле естественного откоса относится только к сухим сыпучим грунтам, а для связных, глинистых грунтов оно теряет физический смысл, так как у них это зависит от высоты откоса и влажности и может изменяться от 0 до 90° и при максимальном использовании сил сцепления.
H90 = 2C/γ, (Ж.1)
где С - сцепление;
γ - объемный вес грунта.
При высоте, большей Н90, произойдет обрушение откоса.
В действительности грунты обладают не только сцеплением, но и внутренним трением, и задача устойчивости откосов становится более сложной.
По В.В. Соколовскому, горизонтальная поверхность равноустойчивого откоса может нести равномерно распределенную нагрузку, определяемую выражением
Ро = 2Ccosφ/(1 - sinφ), (Ж.2)
где φ - угол внутреннего трения.
Для «идеального» грунта - для изотропного, однородного бесконечного слоя невесомого грунта получено точное очертание линий скольжения: семейства параллельных прямых, наклоненных к горизонтали под углом ±(π/4 - φ/2), и сопряженных с ними логарифмических спиралей.
Максимальная высота вертикального откоса Н, при которой не нарушается устойчивость основания, может быть найдена по формуле
Н = (СNc + γDfNq + 0,5γВNγ)/[η(γ - С0/В)], (Ж.3)
где С - сцепление грунта в основании;
С0 - сцепление грунта в откосе;
γ - объемный вес грунта;
В - ширина полосы;
Df - толщина слоя пригрузки;
Nc, Nq, Nγ - параметры несущей способности;
η - коэффициент устойчивости, принимается равным 2.
Этот метод расчета применим также при откосах крутизной до 1:0,5. При этом откос для расчета принимается вертикальным.
Когда касательные напряжения по поверхности скольжения выражаются как
τ = s/η, (Ж.4)
где τ - касательное напряжение;
s - прочность на сдвиг;
η - коэффициент устойчивости.
Согласно теории Мора-Кулона, прочность на сдвиг может быть представлена в виде
s = C + σntgφ, (Ж.5)
где σn - нормальное напряжение.
Различают статически определимые и статически неопределимые задачи.
Предполагается, что поверхностью скольжения является плоскость. В этом случае коэффициент устойчивости определится выражением
η = (Ntgφ + CL)/T, (Ж.6)
где N и Т - соответственно нормальная к плоскости скольжения и тангенциальная, действующая вдоль плоскости скольжения, силы;
L - площадь поверхности скольжения.
Всего имеются три неизвестных: коэффициент устойчивости η, величина и точка приложения силы N. При статическом рассмотрении есть три уравнения равновесия: сумма сил по направлению нормали равна нулю, сумма сил по направлению касательной равна нулю и сумма моментов относительно любой принятой точки равна нулю. Требование в отношении моментов подразумевает, что векторы силы тяжести W, Т и N должны пересекаться в одной точке.
Для идеального грунта, имеющего угол внутреннего трения φ = 0, и при круглоцилиндрической поверхности скольжения коэффициент устойчивости не зависит от сил нормального давления. Поэтому коэффициент устойчивости η определяется выражением
η = CL/T. (Ж.7)
Эта задача является статически определимой.
Если поверхность скольжения имеет форму логарифмической спирали задача статически определима и при φ ≠ 0, так как равнодействующие нормальных сил и сил трения, действующие по логарифмической спирали, всегда проходят через полюс. При необходимости найти только коэффициент устойчивости следует составить уравнение моментов относительно полюса.
За исключением простейших случаев, описанных выше, большинство задач, с которыми сталкиваются в инженерной практике, статически неопределимы. Например, если поверхность скольжения образована двумя плоскостями, задача оказывается статически неопределимой, так как имеется пять неизвестных и только три уравнения. Пятью неизвестными являются коэффициент устойчивости η, величина и точка приложения силы N, а также величина и точка приложения силы Т. Чтобы сделать задачу статически определимой, необходимо разделить тело насыпи на два блока и принять произвольное допущение в отношении сил, действующих между ними. Очевидно, что различные допущения будут приводить к разным по величине коэффициентам устойчивости.
В случае с круглоцилиндрической поверхностью скольжения также возникает статическая неопределимость, если угол внутреннего трения грунта φ не равен нулю. Ввиду того, что сила трения по дуге круга скольжения является неопределенной, только при трех уравнениях существует шесть неизвестных: коэффициент устойчивости η, величина и точка приложения силы N, а также величина, направление и точка приложения силы Т.
Чтобы сделать задачу статически определимой, необходимо ввести допущение о распределении нормальных напряжений по поверхности скольжения, устанавливая таким образом зависимость Т от N и исключая три неизвестных, касающихся Т.
Широко используется как для круглоцилиндрических, так и произвольных поверхностей скольжения метод отсеков. В этом случае сползающий массив до поверхности скольжения разделяют на некоторое число отсеков. Силы, приложенные к любому отсеку, показаны на схеме с выделенным элементом (рис. Ж.1).
Если ширина ΔХ будет мала, допускают предположение, что нормальная сила N приложена к середине поверхности скольжения. На схеме элемента известными силами являются вес грунта вместе с содержащейся в нем водой Wn и сдвигающее усилие Тn, которое можно выразить как
Tn = (N'n tgφn + CnLn)/η, (Ж.8)
где Nn - эффективное нормальное напряжение;
N'n = Nn - (un + zγw)Ln;
un - гидравлический напор в n-м отсеке по отношению к давлению, которое установилось бы, если бы грунтовые воды были неподвижны и уравновешены напором на верхнем бьефе;
un + zγw - поровое давление.
На рис. 1 в числе внешних нагрузок на n-й отсек могут быть компоненты гидростатического давления на верхней грани отсека.
В случае многослойной структуры отсека
![]()
где Wn - вес i-го слоя грунта в n-м отсеке.
Неизвестными являются коэффициент устойчивости η, касательное усилие по вертикальной грани Zn, нормальное усилие по вертикальной грани Хn, расстояние по вертикали ht и нормальная сила Nn. При общем числе m отсеков число неизвестных равно 4m - 2:
|
Неизвестные |
Количество |
|
η (отнесенное к Т)……………………………… |
1 |
|
Nn………………………………………………… |
m |
|
Zn…………………………………………………. |
m - 1 |
|
Xn…………………………………………………. |
m - 1 |
|
ηt………………………………………………….. |
m - 1 |
Всего 4m - 2
Неизвестна и точка приложения сил Nn. Поэтому общее число неизвестных составляет 5m - 3.
Так как каждому отсеку соответствуют три уравнения статики (два - относительно сил и одно - относительно моментов), число уравнений равно 3m. Следовательно, имеется неопределенность (2m - 3)-го порядка. Эта проблема различными авторами решается на основе допущений в отношении сил, действующих по граням между отсеками, и точек их приложения.
Наиболее распространенные (апробированные) и типичные методы основаны на допущении о круглоцилиндрической форме поверхности скольжения (КЦПС) (рис. Ж.2).
Допустим, что потенциальная кривая скольжения имеет форму круга с центром в точке О. Одним из условий равновесия является выполнение требования, чтобы сумма моментов относительно какой-либо точки была равна нулю. То есть уравнение равновесия записано относительно точки О, будет иметь вид ΣМ0 = 0.
Для составления уравнения моментов относительно точки вращения О призму скольжения разбивают вертикальными сечениями на ряд отсеков. Вес каждого отсека считают приложенным в точке пересечения вектора силы тяжести отсека Wi с соответствующим отрезком дуги скольжения. Силами взаимодействия по вертикальным плоскостям отсека (считая, что давления от соседних отсеков равны по величине, а по направлению прямо противоположны) пренебрегают. Раскладывая далее силы Wi вдоль радиуса вращения и направления, ему перпендикулярного (тангенциального), составляют уравнение равновесия, приравнивая нулю момент всех сил относительно точки вращения:
где R - радиус круга потенциальной поверхности скольжения.
Рис. Ж.1. Выделенный n-й отсек и силы, действующие на него, Q u q - внешние нагрузки на n-й отсек
Рис. Ж.2. Принципиальная схема метода КЦПС
Г.М. Шахунянц предложил
представить
в виде
![]()
С учетом последнего из (Ж.8) и (Ж.9) следует
![]()
откуда коэффициент устойчивости η получается равным
(Ж.10)
С учетом эффективных напряжений эта формула должна быть переписана в виде
Следует отметить некоторую разницу в трактовке физического смысла коэффициента устойчивости в России и за рубежом. За рубежом принято уменьшать (делить) на этот коэффициент величину прочности на сдвиг, в то время как в России этот коэффициент относят только к сдвигающим силам. Поэтому с индексом q, если коэффициент устойчивости относится к нагрузке, и с индексом t, если - к прочности. Очевидно, что ηt ≤ ηq. Уравнение (Ж.11) позволяет вычислить ηq. Для определения ηt это уравнение должно быть переписано в виде
(Ж.12)
Коэффициент ηt предпочтительнее, так как независимо от того, из каких уравнений равновесия он получен, можно сказать, что он равен коэффициенту запаса по грунту. В то время как ηq в зависимости от того, из каких уравнений равновесия он получен, может оказаться равен как отношению сил, так и моментов, поэтому далеко не всегда корректно сравнивать результаты, полученные из различных условий равновесия.
Методы равновесия сил.
Эти методы могут приводить к достаточно точным результатам, если допущение в отношении наклона сил взаимодействия принято таким, что при этом строго соблюдается равновесие моментов. Широко применяется в России метод Г.М. Шахунянца. Коэффициент устойчивости прислоненного массива в методе Г.М. Шахунянца определяется из уравнений равновесия, если разбить массив на ряд отсеков так, чтобы в пределах отдельных отсеков поверхность скольжения была бы плоской и проходила по фиксированной поверхности более плотных ненарушенных пород.
Указанный метод не использует условия равенства нулю суммы моментов, действующих на массив, расположенный выше кривой потенциального скольжения, и равенства нулю суммы моментов, действующих на отсек.
Рассматривая условие равновесия i-го отсека, все внешние силы, включая нагрузку, приложенную к поверхности отсека, собственный вес грунта в объеме отсека и пр., приводят к одной равнодействующей Qi. Г.М. Шахунянц предлагает учитывать действие сейсмических сил введением некоторого угла Θi, отклоняющего равнодействующую внешних сил от вертикали.
Ni = Qicos(αi + Θi), (Ж.13)
Ti = Qisin(αi + Θi). (Ж.14)
При направлении поверхности скольжения в сторону возможного сползания отсека значения углов αi берутся со знаком плюс так же, как и углов Θi, отклоняющих равнодействующую Qi в сторону сползания.
Заменяя действие смежных отсеков силами оползневого давления Ei-1 и Еi, направленными под углами βi-1 и βi к горизонтали, обозначая нормальную составляющую реакции основания отсека через Ri и проектируя все силы на нормаль и на направление, касательное к основанию отсека, получают
Ri = Ni + Еisin(αi - βi) - Еi-1sin(αi - βi-1); (Ж.15)
Ti = CiLi + fi[Ri - (ui + ziγw)bi] + Eicos(αi - βi) - Ei-1cos(αi - βi-1), (Ж.16)
где fi = tgφi.
Подставляя выражение (Ж.15) в (Ж.16) и умножая величину сдвигающей силы Тiсдв на коэффициент устойчивости ηq, после тригонометрических преобразований, решая относительно оползневого давления Еi, получают
Для коэффициента устойчивости ητ выражение (Ж.17) будет иметь вид
(Ж.18)
где 
Вычисления при определении Еi начинают с верхнего отсека, для которого Ei-1 = 0.
Для определения коэффициента устойчивости ηq свободного откоса или склона Г.М. Шахунянц рекомендовал задавать некоторое значение ηq и определять по формуле (Ж.17) величину оползневого давления для конечного отсека Еk. Если эта величина не равна нулю, то следует задать другое значение ηq, стремясь получить величину Еk другого знака. Учитывая линейный характер зависимости Ek = f(ητ), коэффициент устойчивости находят интерполяцией при Еk = 0.
Предельная величина угла βi с учетом, что в связных грунтах между отсеками могут возникать и растягивающие усилия, определяется по формуле
βiпр = ±arctg(tg φv + CvHотс/Xi), (Ж.19)
где φv и Cv - соответственно угол внутреннего трения и сцепление грунта по вертикальной грани отсека;
Hотс - площадь грани отсека.
Всегда должно соблюдаться условие
βi ≤ βiпр. (Ж.20)
Условия (17) и (18) при βi = const могут быть преобразованы к виду
(Ж.21)
и
Последнее уравнение может быть решено только методами последовательного приближения, так как правая часть выражения (Ж.22) содержит коэффициент устойчивости, то есть угол φi = φi(ητ). Для многих задач может быть получен диапазон значений коэффициента устойчивости в зависимости от наклона сил взаимодействия.
Для расчетов по методам КЦПС и Шахунянца имеются стандартные программы.
Методы, основанные на исследовании напряженно-деформированного состояния сооружения.
Нормальные и касательные напряжения, действующие по элементарной площадке, расположенной на потенциальной кривой скольжения, определяются из соотношений (по теории упругости).
Тогда коэффициент устойчивости вдоль потенциальной кривой скольжения с учетом (Ж.6) определится выражением
(Ж.24)
Следовательно, если известно напряженно-деформированное состояние, то практически расчет коэффициента устойчивости сводится к определению по формулам (Ж.23) нормальной и касательной составляющих напряжений на элементарных площадках вдоль потенциальной кривой скольжения и вычислению по ним величин удерживающих (по Мору-Кулону) и сдвигающих сил.
Все сводится к вычислению критерия устойчивости, общего для всех методов. Но в данном случае, кроме параметров прочности грунта по Мору-Кулону требуется знать деформационные характеристики грунтов.
Все перечисленные методы являются детерминистическими, поскольку предполагается, что прочность грунтов на сдвиг, нагрузки, приложенные к откосу, и искомый коэффициент устойчивости известны. В действительности, поскольку все нагрузки, физико-механические характеристики грунтов и других конструкционных материалов, а также геометрические параметры зон, сложенных квазиоднородными грунтами, определены с доверительной точностью, говорить о коэффициенте устойчивости как о величине детерминированной не совсем верно. Существующие методы расчета, как правило, учитывают вероятностный характер расчета за счет введения коэффициента надежности по нагрузке и коэффициента надежности по грунтам. Последний коэффициент принимается для доверительной вероятности, равной 0,95.
Можно найти для случайной величины коэффициента устойчивости доверительный интервал, а следовательно, и вероятность обрушения откоса.
Р(ητ Î (ητ1; ητ2)) ≥ γ, (Ж.25)
где (ητ1; ητ2) - доверительный интервал для ητ;
γ - надежность оценки.
То есть с надежностью γ доверительный интервал коэффициента устойчивости покроет неизвестный действительный ητ
(Ж.26)
где tγ = Ф(γ/2).
Так, для γ = 0,95 tγ = 1,96, для γ = 0,99 tγ = 2,58 и для γ = 0,999 tγ = 3,10.
Можно использовать и другой, менее точный, но более оперативный метод. В этом случае параметры распределения случайной величины коэффициента устойчивости определятся из расчета устойчивости для самого плохого сочетания случайных факторов и самого благоприятного по формулам:
(Ж.27)
где ητср и ση и соответственно, среднее и среднеквадратическое отклонение случайной величины ητ.
Тогда вероятность того, что коэффициент устойчивости будет не менее чем [ητ] определится выражением
(Ж.28)
где t = ([ηt] - ητср)/ση.
В последние десятилетия широкое распространение в строительной практике нашли конструкции из армированного грунта. Армогрунт - композиционный строительный материал, состоящий из послойно уплотненного грунта, армированного металлическими, железобетонными, геотекстильными или другими элементами, и имеет ряд преимуществ по сравнению с традиционными концепциями:
- возможность использовать местный грунт в качестве основного строительного материала;
- исключение мокрых процессов (связанных с бетонированием);
- сокращение продолжительности строительства вследствие относительной простоты технологии, так как в ряде случаев значительно сокращаются объемы земляных работ, исключается необходимость применения тяжелого сваебойного и кранового оборудования;
- сокращается ассортимент необходимой строительной техники;
- меньшая стоимость и трудоемкость работ;
- возможность применения в стесненных условиях и экологическая чистота.
Применение армогрунтовых конструкций целесообразно в тех местах, где возможно появление растягивающих напряжений, которые не воспринимаются грунтами.
Армирующие элементы создают в грунте так называемое фиктивное сцепление. Кроме того, вовлекаясь в работу совместно с грунтом, они вызывают некоторое перераспределение касательных и горизонтальных напряжений, что приводит к повышению прочности конструкции. Вследствие указанных свойств армогрунта откосы земляных сооружений при армировании резко повышают свою устойчивость и могут быть практически любой крутизны. Величину фиктивного сцепления предлагается определять по формуле
где Rp - предельная несущая способность арматуры с учетом снижения прочности во времени, отнесенная к единичной ширине;
d - шаг армирования.
Такой подход схематичен, так как фиктивное сцепление, полученное по формуле (Ж.29), не может быть применено к площадке, расположенной под углом к направлению арматуры. Армированный грунт не является изотропным материалом, поэтому применяют и другой подход, позволяющий учесть влияние арматуры на несущую способность грунта (рис. Ж.3 и Ж.4). Арматура может воспринять растягивающие напряжения, ограниченные, с одной стороны, ее собственной прочностью, а с другой - прочностью ее заделки в грунт.
Рис. Ж.3. Армированный отсек:
1 - арматура между отсеками; 2 - арматура, проходящая через основание отсека (потенциальную кривую скольжения); 3 - силы растяжения, воспринимаемые арматурой
То есть при полном использовании несущей способности ее величина будет равна
Rα = min(Rp; Rτ), (Ж.30)
где Rτ - несущая способность арматуры по сопротивлению на выдергивание определяется, если сдвиг происходит по сечению грунт - грунт по формуле
(Ж.31)
Здесь С и φ - параметры прочности грунта;
σn - нормальное давление на уровне армирующего полотнища от вышележащих слоев грунта.
Интегрирование производится для участка арматуры, выходящего за пределы кривой потенциального скольжения.
Если сдвиг происходит по сечению грунт - армирующий материал, то несущая способность арматуры определится по формуле
(Ж.32)
где fтр - коэффициент трения грунта по армирующему материалу.
Очевидно, что Rτ = min(Rτ1; Rτn).
Разложим силы растяжения арматуры, действующие по основанию отсека на тангенциальную и нормальную составляющую. В этом случае получим
где δ - угол заложения арматуры с горизонталью.
В данном случае Тα увеличивает сопротивление сдвигу вдоль потенциальной кривой скольжения, а Nα соответственно - величину нормального давления. Последнее относится к состоянию, когда мобилизована вся несущая способность арматуры.
С учетом выражений (Ж.33) зависимость для вычисления коэффициента устойчивости, например в виде (Ж.22), примет вид
(Ж.34)
Аналогично можно учесть армирование и во всех других методиках. Очевидно, что в качестве первого приближения можно считать, что прочность армирующих элементов равна предельной - Rp и далее, найти наиболее опасное положение поверхности скольжения, а затем конструктивно обеспечить необходимую глубину или конструкцию их заделки.
Все методы расчета устойчивости, нашедшие в последние десятилетия наиболее широкое распространение, дают достаточно близкие результаты для однородных, изотропных сооружений, что соответствует конструкции насыпи над МГТ в армогрунтовой обойме.
Для однородных изотропных откосов грунтовой обоймы над входным и выходным оголовками применение круглоцилиндрической поверхности скольжения вполне оправдано.
Рис. Ж.4. Положение потенциальной кривой скольжения:
1 - круглоцилиндрическая кривая скольжения; 2 - произвольная кривая скольжения
Методика расчета устойчивости грунтовых и армогрунтовых массивов, разработанная в ЦНИИС, позволяет определить наиболее опасное положение кривой потенциального скольжения произвольного очертания. Методика дает возможность учитывать геологическую структуру основания и конструкции, вводить армирующие элементы, учесть сейсмические и другие внешние воздействия, а также определить доверительные границы коэффициента устойчивости с заданной надежностью.
Определение сейсмических нагрузок на сооружение
При сейсмических воздействиях, сопровождающихся колебаниями и смещениями земной коры, сооружение подвергается действию дополнительной нагрузки в виде сил инерции, приложенных к распределенной массе сооружения.
Дифференциальное уравнение движения какой-либо точки k с сосредоточенной в ней массой Мk, к которой приложена сосредоточенная динамическая сила Pku(t), может быть представлено в виде
(И.1)
где β - коэффициент пропорциональности, характеризующий силу сопротивления, возникающую в грунте и в других конструкционных материалах основания и сооружения, от внутреннего трения и других неупругих взаимодействий, приводящих к рассеиванию энергии;
r - коэффициент пропорциональности, характеризующий силу упругого сопротивления, возникающую в грунте и в других конструкционных материалах.
Из теории колебаний известно,
что величина β зависит от массы, периода колебаний и их
логарифмического декремента и определяется по формуле β = δМkω/π. Коэффициент затухания
для глинистых
грунтов можно принимать меняющимся в зависимости от плотности и влажности от 0,1 до 0,25. Меньшее значение
соответствует величине гидростатического давления σ ≥ 400 кПа,
а большее - σ
≤ 100 кПа. В песчаных грунтах при σ = 100 кПа ξ = 0,18
- 0,20. При меньших
нагрузках ξ существенно зависит от состояния грунта по отношению к
предельному. То есть в откосных частях, где невысоко среднее напряжение, но
присутствуют касательные напряжения, величина ξ может достигать 0,6 - 0,9.
Внешнюю динамическую силу принято представлять в виде ряда по собственным функциям. Тогда Piku(t) - внешняя динамическая сила по i-й собственной форме, направление действия которой совпадает с вектором перемещений.
Сейсмическое ускорение сооружения или его частей, при отсутствии реальных акселерограмм, принято определять по формуле
a(t) = kcgf(t), (И.2)
где kcg - амплитудное значение ускорения грунта основания, отвечающее максимальной ординате акселерограммы землетрясения (kс - коэффициент сейсмичности, g - ускорение свободного падения);
f(t) - функция, в известном масштабе представляющая акселерограмму землетрясения.
Сейсмическая инерционная сила по i-й собственной частоте будет равна
Siku = Mkuikωi2 = kcMkgβi(t)ηiku. (И.3)
Полная величина сейсмической инерционной силы, действующая в k-точке конструкции, определяется по формуле
(И.4)
где Qk = Mkg.
Коэффициент динамичности рекомендуется принимать в зависимости от величины ωi и категории грунтов.
Методика расчета для определения сейсмической инерционной силы достаточно просто может быть реализована в методе конечных элементов. Для этого следует реализовать следующий алгоритм:
- определить первые n собственных частот колебаний;
- для каждой собственной частоты найти главные координаты, соответствующие главным формам колебаний;
- для каждого узла, в котором сосредоточена масса Мk или приложена нагрузка, рассчитать величину ηiku для всех n, практически учитываемых в расчетах собственных частот колебаний;
- для каждой частоты определить сейсмическую инерционную силу в каждом узле;
- суммарная сейсмическая инерционная сила находится как среднеквадратическая величина.
(И.5)
Первые два пункта являются обычной задачей на собственные значения.
Для решения задачи на собственные значения необходимо знать для всех материалов конструкции модуль упругости.
Из теории упругости известна
следующая зависимость между модулем упругости, скоростью распространения
продольных упругих волн, плотностью и коэффициентом Пуассона ![]()
В табл. И.1 приведены ориентировочные значения этих величин для некоторых скальных пород и грунтов.
Таблица И.1
Физико-механические характеристики грунтов
|
Плотность, т/м3 |
Скорость распространения продольных волн, км/с |
Модуль упругости, мПа |
Коэффициент Пуассона |
|
|
СКАЛЬНЫЕ ПОРОДЫ |
||||
|
Граниты |
2,68 ... 2,63 |
5,85 ... 5,97 |
75000 ÷ 76400 |
0,25 ÷ 027 |
|
Известняки |
2,62 ... 2,42 |
4,53 ... 5,97 |
44800 ÷ 64100 |
0,25 ÷ 0,30 |
|
Песчаники |
2,34 ... 2,62 |
4,64 ... 5,13 |
48700 ÷ 60100 |
0,12 ÷ 0,16 |
|
МЕЛОВЫЕ ПОРОДЫ |
||||
|
Мергель |
2,2 |
1,4 ... 3,5 |
2530 ÷ 4250 |
0,08 ÷ 0,16 |
|
Грунты рыхлые (пески, супеси, суглинки), неводонасыщенные |
1,4 ... 1,7 |
0,1 ... 0,3 |
10 ÷ 95 |
0,30 ÷ 0,35 |
|
Гравелисто-песчаные |
1,6 ... 1,9 |
0,2 ... 0,5 |
48 ÷ 380 |
0,3 |
|
ПЕСЧАНЫЕ |
||||
|
Сухие |
1,4 ... 1,7 |
0,15 ... 0,9 |
23 ÷ 858 |
0,30 ÷ 0,35 |
|
Средней влажности |
1,6 ... 1,9 |
0,25 ... 1,3 |
62 ÷ 1715 |
0,35 ÷ 0,38 |
|
Водонасыщенные |
1,7 ... 2,2 |
0,3 ... 1,6 |
82 ÷ 2800 |
0,38 ÷ 0,45 |
|
ГЛИНИСТЫЕ |
||||
|
Влажные, пластичные |
1,7 ... 2,2 |
0,5 ... 2,8 |
16 ÷ 9210 |
0,3 ÷ 0,38 |
|
Плотные, полутвердые, твердые |
1,9 ... 2,6 |
2,0 ... 3,5 |
6840 ÷ 23660 |
0,2 ÷ 0,3 |
|
Лесс |
1,3 ... 1,6 |
0,38 ... 0,4 |
180 ÷ 250 |
- |
Для оценки воздействия землетрясений в районах с расчетной сейсмичностью 7 и более баллов сейсмические силы, прикладываемые к призме скольжения или ее отсекам, определяются по выражению Qc = µcG.
В последнем выражении µс - коэффициент сейсмичности. Эта формула не учитывает высоту сооружения над дневной поверхностью. Для верха высоких насыпей предлагается определять динамический коэффициент сейсмичности по формуле
(И.6)
где v - коэффициент, для высоких насыпей принимаемый 0,5;
Hц - высота центра тяжести всей насыпи над ее основанием;
hс - высота центра тяжести отсека над основанием насыпи.
Кроме того, следует учитывать влияние сил сейсмики на фильтрационные силы.
В последние годы применяют методы, основанные на построении спектральной кривой коэффициента динамичности. Сейсмическая инерционная сила в этом случае определяется выражением
(И.7)
где Qk - собственный вес и полезная нагрузка, действующие на сооружение и приложенные в точке k;
βi(t) - коэффициент динамичности;
χiku - коэффициент формы колебаний.
Для практического использования из последнего выражения исключают параметр времени. Коэффициент динамичности зависит от категории грунтов по сейсмическим свойствам (логарифмического декремента собственных колебаний) и периода собственных колебаний Тi и выражается формулой вида
(И.8)
где A, a, b - числовые коэффициенты.
В качестве исходных данных для расчета использованы данные, предоставленные Заказчиком по инженерно-геологической ситуации, и проектные данные по конструкции труб.
Расчетная конечно-элементная схема приведена на рис. И.1.
Так как инженерно-геологическая ситуация предоставлена Заказчиком в очень общем виде (заданы только наименования грунтов и несколько геологических скважин), без информации о консистенции, плотности, влажности и других показателей физико-механических свойств грунтов, то параметры грунтов приняты по нормативным данным для данного вида грунта (рис. И.2).
В качестве нагрузки принята нагрузка от собственного веса грунта, а также распределенная нагрузка интенсивностью 40 кПа.
Рис. И.1. Расчетная конечно-элементная схема конструкции
Результаты расчета (рис. И.3 - И.9) показывают, что металл труб работает в упругой стадии и имеет достаточно большой запас прочности по допустимым напряжениям. В теле насыпи нет зон предельного состояния. Деформации вдоль насыпи достаточно равномерны, а трубы не оказывают на их величины существенного влияния. Горизонтальные и вертикальные деформации труб не превышают допустимых величин и не могут повлиять на их работоспособность.
Рис. И.2. Физико-механические характеристики грунтов
Рис. И.3. Картина деформаций сооружения

Рис. И.4. Вертикальные деформации, м

Рис. И.5. Горизонтальные деформации, м

Рис. И.6. Вертикальные напряжения, кПа

Рис. И.7. Горизонтальные напряжения, кПа

Рис. И.8. Касательные напряжения, кПа
Рис. И.9. Коэффициент прочности по Мору-Кулону
Сейсмические воздействия приводят к существенному изменению формы и положения наиболее опасной кривой потенциального скольжения в насыпи под трубами. Поэтому целесообразно производить исследование устойчивости таких сооружений с поиском указанной кривой потенциального очертания.
Для производства расчетов по первому предельному состоянию целесообразно использовать в расчетах зависимости*.
_____________
* Обозначения см. в приложении Ж.
(И.9)
(И.10)
В этом случае под коэффициентом устойчивости будет пониматься запас по несущей способности грунта и других конструкционных материалов.
Для повышения достоверности результатов расчета можно перейти к оценке не только коэффициента устойчивости, но и его доверительной границы с заданной надежностью (см. приложение Ж). То есть от детерминированных методов расчета можно перейти к стохастическим.
Рекомендации по дополнительной защите МГТ полимерными материалами
К.1 Для дополнительного антикоррозионного защитного покрытия МГТ и их элементов следует использовать полимерные покрытия: одноупаковочный материал Гермокрон на основе термопласта, инден-кумароновой и эпоксидной смол (ОАО «Кронос СПб, ТУ 2513-001-20504464-203), двухупаковочный материал на основе полимочевины Форпол (ОАО «Кронос СПб, ТУ 2458-104-20504464), защитное полимерное высоконаполненное двухупаковочное покрытие барьерного типа Базалит.
Рекомендуется Форпол и Базалит применять преимущественно для усиления лотков, в том числе бетонных.
Таблица К.1
Физико-механические свойства полимерных покрытий
|
Показатели |
Гермокрон |
Форпол Б |
Базалит |
|
Объемная масса, кг/м3 |
1100 |
1200 |
1300 |
|
Предел прочности в момент разрыва, МПа |
8 |
12 |
40 |
|
Относительное удлинение, % |
300 |
80 |
1,5 |
|
Гибкость, °С |
-50 |
-50 |
|
|
Водопоглощение за 24 ч по массе, не более, % |
0,8 |
0,2 |
0,5 |
|
Температура эксплуатации, °С |
-60 до +90 |
-60 до +120 |
-60 до +160 |
|
Адгезия к бетону, МПа |
7,0 |
7,0 |
4,0 |
|
» к металлу, МПа |
4,0 |
7,0 |
20 |
|
Время отверждения |
20 - 60 мин |
2 мин |
24 ч |
|
Массовая доля нелетучих веществ, не менее, % |
55 |
100 |
98 - 99 |
|
Температура нанесения, °С |
От -20 до +40 |
+5 до +40 |
От -5 до +50 °С |
К.2 Гермокрон можно наносить установками безвоздушного нанесения или вручную (кистью, валиком). Мастику гермокрон можно наносить при температуре от -20 до +40 °С. Время отверждения 20 - 25 мин. Толщина сухой пленки 1 мм.
К.3 Форпол следует наносить на защищаемую поверхность только механическим способом с помощью специальной установки безвоздушного распыления типа WIWA DUOMIX-230, подогрев компонентов и смешивание производятся в автоматическом режиме. Соотношение основы и отвердителя по объему 1,4 к 1. Температура основы при нанесении - +60 °С, температура отвердителя +50 °С. Толщина сухой пленки не менее 1,5 мм, продолжительность сушки до степени 3 не более 10 мин.
К.4 Базалит наносят с помощью кисти, при этом компоненты А и Б следует прогреть до температуры 40 - 45 °С, тщательно перемешать в соотношении 2 части компонента А и 1 часть компонента Б. Полученную смесь следует нанести на защищаемую поверхность жесткой кистью с толщиной слоя 1 - 1,5 мм (время нанесения не более 30 мин). Второй слой следует наносить через 4 - 5 ч после нанесения первого и довести общую толщину защитного слоя до 2 - 3 мм. Отверждение до степени 3 достигается за 5 ч, полное отверждение - за 24 ч при температуре 20 °С. При низких температурах продолжительность отверждения увеличивается. Предпочтительней наносить защитное покрытие с помощью аппарата безвоздушного распыления. В ходе нанесения автоматически происходят прогрев и смешение компонентов. Толщина наносимого слоя 1 - 1,5 мм. Покрытие следует наносить при температуре от -5 до +50 °С.
Применение заново разрабатываемых композиций допускается после лабораторных испытаний и апробаций в экспериментальном строительстве.
Методы контроля плотности грунта
Л.1 Определение плотности и влажности грунта засыпки плотномером-влагомером Н.П. Ковалева
Прибор (рис. 1), основанный на принципе гидростатического взвешивания, состоит из двух основных частей: сосуда и поплавка с трубкой. На трубке нанесены четыре шкалы для определения объемной массы различных грунтов.

Рис. Л.1. Схема плотномера-влагомера Н.П. Ковалева:
1 - верхняя крышка; 2 - замок; 3 - футляр; 4 - насадка; 5 - нож; 6 - трубка; 7 - поплавок; 8 - крючки; 9 - сосуд; 10 - тарировочный груз; 11 - резиновое кольцо; 12 - нижняя крышка; 13 - замок; 14 - режущий цилиндр
Шкалы с пометками «Ч», «П» и «Г» служат для определения объемной массы (плотности) соответственно сухих черноземных, песчаных и глинистых грунтов. Шкала с пометкой «Вл.» предназначена для определения объемной массы влажных грунтов.
Поплавок-трубка соединяется с сосудом посредством трех замков, между ними остается зазор 1 - 2 мм для свободного поступления воды в сосуд и выхода из него воздуха. В комплект прибора входят также режущий стальной цилиндр емкостью 200 мл для отбора проб грунта с ненарушенной структурой, нож и ведро-футляр, являющееся сосудом для воды при испытаниях и футляром для хранения прибора.
При определении объемной массы грунта с естественной влажностью берут пробу с ненарушенным сложением путем вдавливания стального режущего цилиндра в грунт. Цилиндр, полностью вдавленный в грунт, осторожно откапывают, и лишний грунт срезают ножом по плоскостям цилиндра. Пробу грунта из режущего цилиндра пересыпают через воронку в поплавок прибора, который затем плавно погружают в ведро-футляр, наполненное водой. По шкале «Вл.», нанесенной на трубке поплавка, определяют объемную массу влажного грунта γоб. Затем для установления объемной массы (плотности) скелета грунта γск пробу из поплавка прибора переносят без потерь в сосуд, доливая воду до 1/2 его объема, при этом грунт тщательно растирают до полного размокания комков деревянной ручкой ножа. Сосуд соединяют с поплавком и погружают в ведро-футляр, наполненное водой.
Через зазор между поплавком и сосудом вода из ведра заполняет свободное пространство в сосуде, а прибор погружается до уровня, по которому на соответствующей шкале находят плотность грунта.
Влажность грунта (в %) вычисляют по формуле
(Л.1)
При возведении насыпи из каменных материалов, а также при наличии в грунте гравелистых частиц, щебенки, мерзлых комьев контроль за уплотнением грунта может осуществляться путем засыпки лунок сухим песком.
Для этого заготовляют сухой песок, просеянный через сито с отверстиями размером 2 мм (или отдельные фракции песка 0,5 - 1 мм, 1 - 2 мм) и не содержащий пылеватых и глинистых частиц. Если такие частицы содержатся, их следует отмыть и песок высушить.
На уплотненном слое грунта выравнивают небольшую площадку и выкапывают лунку диаметром около 20 см, глубиной 10 - 15 см. Грунт из лунки тщательно собирают и взвешивают с точностью до 5 г (при выкапывании лунки не следует задевать края и боковые стенки ее рабочим инструментом, так как это может привести к увеличению объема лунки и искажению получаемых результатов).
Объем лунки определяют следующим образом. Над лункой устанавливают двойную жестяную воронку с основанием диаметром 25 см. В лунку и нижнюю воронку через верхнюю воронку насыпают сухой песок. Объем засыпаемого песка измеряют мерными стеклянными цилиндрами емкостью 0,1 - 1 л с точностью до 5 см3 (основной объем песка может быть засыпан в лунку любым мерным сосудом, остальную часть песка до полного заполнения лунки желательно засыпать небольшими мерными цилиндрами емкостью не более 0,1 - 0,25 л). Песок в цилиндр насыпают через обычную воронку без встряхивания. Вычитая из общего объема песка его объем, находящийся в воронке, получим объем песка в лунке, т.е. объем лунки.
Разделив массу грунта, извлеченного из лунки, на его объем, находят объемную массу влажного грунта γоб. Для определения влажности грунта необходимо высушить весь образец грунта, взятого из лунки. Если грунт содержит частицы крупнее 5 мм и из-за этого невозможно определить влажность всего образца грунта, то определяют влажность W' грунта с частицами менее 5 мм (отсеянного). При этом следует учитывать влияние на влажность образца грунта включений частиц крупнее 5 мм путем умножения полученного значения влажности W' отсеянного грунта на поправочный коэффициент.
Тогда значение влажности W' для грунта с включением частиц крупнее 5 мм находят по формуле
(Л.2)
где
- поправочный коэффициент;
Р - содержание частиц крупнее 5 мм, %.
Объемную массу скелета грунта рассчитывают после определения влажности по формуле
(Л.3)
Пример проектирования МГТ в районе вечной мерзлоты
Рис. М.1. Пример проектирования МГТ на вечной мерзлоте с сооружением входного и выходного русла

Рис. М.2. Пример проектирования армогрунтовой обоймы, противофильтрационного экрана (геомембраны), входного и выходного оголовка и рассеивающего валика для МГТ на рис. М.1