Система региональных нормативных документов
градостроительной деятельности в Санкт-Петербурге
РЕГИОНАЛЬНЫЕ МЕТОДИЧЕСКИЕ ДОКУМЕНТЫ
ДРЕНАЖИ В ПРОЕКТИРОВАНИИ ЗДАНИЙ
И СООРУЖЕНИЙ
РМД 50-06-2009 Санкт-Петербург
Правительство Санкт-Петербурга
Санкт-Петербург
2009
Предисловие
1 РАЗРАБОТАНЫ Научно-исследовательским и проектным институтом по жилищно-гражданскому строительству (ОАО «ЛЕННИИПРОЕКТ») и Санкт-Петербургским государственным архитектурно-строительным университетом (СПб ГАСУ)
2 ВНЕСЕНЫ Комитетом по строительству Правительства Санкт-Петербурга
3 ОДОБРЕНЫ И РЕКОМЕНДОВАНЫ К ПРИМЕНЕНИЮ распоряжением Комитета по строительству Правительства Санкт-Петербурга от 13.08.2009 № 245
4 УТВЕРЖДЕНЫ к применению в работе приказом Службы государственного строительного надзора и экспертизы Санкт-Петербурга от 26.11.2009 № 105п.
5 СОГЛАСОВАНЫ с Комитетом по государственному контролю, использованию и охране памятников истории и культуры, с Комитетом по энергетике и инженерному оборудованию, со Службой государственного строительного надзора и экспертизы Санкт-Петербурга.
6 ПОДГОТОВЛЕНЫ К ИЗДАНИЮ ЗАО «Инженерная ассоциация «Ленстройинжсервис»
7 РАЗРАБОТАНЫ ВПЕРВЫЕ
Содержание
|
9 Схемы дренирования, продольный профиль, сооружения на сети. 11 Приложение (рекомендуемое). Классификация и область применения схем прифундаментного дренажа. 33
|
Введение
Настоящий региональный методический документ разработан с целью обеспечения эффективной системы защиты от подземных вод зданий и сооружений, возводимых и реконструируемых на территории Санкт-Петербурга.
В документе учтены особенности гидрогеологических условий и местоположения современных площадок строительства:
- высокий уровень грунтовых вод техногенного и природного происхождения, наличие напорных вод с образованием родников; региональное распространение грунтовых вод на территории города с нарушением естественного режима в островной его части;
- наличие неоднородной верхней толщи слабоводопроницаемых грунтов, намывных и насыпных территорий по берегам рек и залива, заторфованных грунтов и погребенных слоев торфа; образование техногенных слоев отвалами грунтов, золы, городского и строительного мусора;
- засыпанные техногенными грунтами и канализованные природные водные объекты; заболачивание, суффозия грунта, плывунные явления, связанные с воздействием поверхностных и подземных вод;
- размещение площадок строительства вблизи эксплуатируемых зданий, сооружений, инженерных и транспортных коммуникаций, в том числе рядом с застройкой, имеющей дефекты, обусловленные неравномерными осадками.
В методическом документе учтены возможности современных технологий в области строительства, требования безопасности и экологии при проектировании, строительстве и эксплуатации систем водозащиты объектов:
- сохранение дренирующей функции канализованных или засыпанных водных природных объектов;
- обеспечение безопасности, исключающей негативное изменение свойства грунтов основания защищаемого объекта, эксплуатируемых соседних, а также сооружений инженерной инфраструктуры;
- использование конструкций систем водозащиты, позволяющих в наименьшей степени влиять на естественный режим грунтовых вод;
- комплексное решение вопросов организации поверхностного и подземного стока, устройства гидроизоляционной защиты здания.
В документе устранены разночтения затрудняющие принятие эффективного решения, которые до настоящего времени имеют место в различной справочной литературе, посвященной вопросам проектирования и устройства дренажа.
Настоящий методический документ содержит требования к исходным материалам, составу и содержанию проектной документации по дренажу, необходимые термины, рекомендации по выбору типов, систем, схем и конструкции дренажей, выполнению предварительных и фильтрационных расчетов.
При составлении настоящего методического документа использован опыт проектирования, изысканий и обследований, накопленный в институтах ЛенНИИпроект, ЛенжилНИИпроект, ПИ-1, СПб ГАСУ, «Спецпроектреставрация», Тресте ГРИИ, ЛенТИСИЗ, НПО «Геореконструкция - Фундамент-проект» и других организациях.
В разработке принимали участие: от СПб ГАСУ к.т.н., профессор Г.И. Клиорина (руководитель темы), инженер И.С. Нефедова; от ОАО «ЛЕННИИПРОЕКТ» инженеры Т.Л. Соколова, Т.А. Грибанова, В.В. Ткачук.
РЕГИОНАЛЬНЫЙ МЕТОДИЧЕСКИЙ ДОКУМЕНТ
ДРЕНАЖИ В ПРОЕКТИРОВАНИИ ЗДАНИЙ И СООРУЖЕНИЙ
Настоящий методический документ распространяется на проектирование и устройство дренажей зданий и сооружений при их проектировании, строительстве и реконструкции на территории Санкт-Петербурга.
Документ не распространяется на дренажи специального назначения - оползневых склонов, просадочных грунтов и торфов, подпорных стенок и дренажей мелкого заложения для дорог.
В настоящем документе использованы ссылки на следующие нормативные документы:
СНиП 2.04.03-85 Канализация. Наружные сети и сооружения
СНиП 2.06.14-85 Защита горных выработок от подземных и поверхностных вод
СНиП 2.06.15-85 Инженерная защита территорий от затопления и подтопления
Справочное пособие к СНиП 2.06.15-85 Прогнозы подтопления и расчет дренажных систем на застраиваемых и застроенных территориях
СНиП 2.07.01-89* Градостроительство. Планировка и застройка городских и сельских поселений
СНиП II-89-80 Генеральные планы промышленных предприятий
СНиП 12-03-2001 Безопасность труда в строительстве, Часть 1. Общие требования
СНиП 12-04-2002 Безопасность труда в строительстве. Часть 2. Строительное производство
СНиП 22-02-2003 Инженерная защита территорий, зданий и сооружений от опасных геологических процессов. Основные положения
ТСН 50-302-2004 Санкт-Петербург. Проектирование фундаментов зданий и сооружений в Санкт-Петербурге
ТСН 30-305-2002 Санкт-Петербург. Градостроительство, реконструкция и застройка нецентральных районов Санкт-Петербурга
ТСН 30-306-2002 Санкт-Петербург. Реконструкция и застройка исторически сложившихся районов Санкт-Петербурга
ПУЭ - 7 издание. Правила устройства электроустановок.
В настоящем документе приняты следующие термины и соответствующие им определения:
Береговой дренаж - линейная система дренажа для перехвата потока грунтовых вод со стороны реки.
Головной дренаж - линейная система дренажа для перехвата потока грунтовых вод с выше расположенной территории.
Геокомпозиты - комбинации из геофильтра и полимерных проводников влаги в виде пористых, перфорированных или профилированных плит и полотен.
Геотекстильные материалы - (геотекстили) - фильтрующие мембраны (геофильтры), используемые самостоятельно и в различных композитах.
Геофильтры - водопроницаемые синтетические полотна, выполняющие в конструкции дренажа функции сепарации и фильтрации.
Геотехническое водоотведение - комплекс мероприятий по организации рельефа, поверхностного и подземного стока, разрабатываемых для защиты подземных объемов здания и участка его размещения.
Гидроизоляционная система здания - совокупность элементов, защищающих здание или сооружение от воздействия воды и влаги.
Зона риска - территория вокруг источника неблагоприятного воздействия на соседнюю застройку, обусловленного водопонижением при строительстве и реконструкции, на которой возможны негативные изменения свойств массива грунта и/или конструкций существующих зданий и сооружений.
Контурный дренаж - прифундаментный или кольцевой, имеют замкнутый или не замкнутый в плане контур.
Кольцевой дренаж - контурный дренаж, используемый для защиты здания или нескольких зданий, уложенный на некотором расстоянии от стены защищаемых объектов.
Линейные дренаж - головной, береговой или их комбинация.
Норма осушения - наименьшая глубина максимального прогнозного уровня грунтовых вод от отметки пола подвального помещения здания или проектной отметки поверхности, которая обеспечивает нормальные условия эксплуатации зданий и территории.
Несовершенный дренаж - трубчатая дрена уложена в водосодержащем слое грунта выше водоупора.
Прифундаментный дренаж - контурная, линейная или комбинированная система с вертикальным фильтрующим слоем с наружной стороны защищаемой заглубленной части объекта и горизонтальной дрены, уложенной под полом подвала или вдоль наружной стены, на расстоянии, достаточном для размещения смотровых колодцев.
Пластовый дренаж - фильтрующая постель в основании здания из крупнопористого грунтового материала или геокомпозита.
Пластиковый дренаж - геокомпозит из трехмерного дренажного пластикового основания и фильтрующей мембраны (геофильтра). Представляет собой двухслойную конструкцию из высокопрочного полиэтиленового полотна с отформованными округлыми шипами и фильтрующей геотекстильной мембраны из полипропилена [20]. Упорядоченно расположенные округлые шипы создают толщину материала и образуют между собой водосточные каналы, по которым вода поступает в прифундаментный дренаж и отводится от защищаемого объекта. Геотекстильная мембрана защищает полотно от механических воздействий, фильтрации мелких частиц почвы и предотвращает заиливание пластикового дренажа.
Тип дренажа - совершенный или несовершенный в зависимости от положения дрен по отношению к водоупорному слою.
Совершенный дренаж - трубчатая дрена укладывается на водоупорный слой.
Системы дренажа - 1 - контурные, линейные, комбинированные; 2 - схемы размещения дрен в плане по отношению к защищаемому объекту; 3 - местные, общие в зависимости от создаваемого эффекта водозащиты соответственно для объекта, участка.
Системы геотехнического водоотведения - дренажная и дождевая сети на участке застройки, наружные (или внутренние) водостоки здания с отводящими устройствами.
УГВ - уровень грунтовых вод
ГВ - грунтовые воды
ПВ - подземные воды
ПП - полипропилен
ПНД - полиэтилен низкого давления
ПВХ - поливинилхлоридные
НДПЭ - полиэтилен высокой плотности
5.1 Проектирование дренажа выполняют с учетом требований надежности, эффективности и экономической целесообразности, а также безопасности, исключающей негативное влияние водопонижения на соседнюю застройку и сохраняемые конструкции объекта реконструкции, принимая во внимание оценку геотехнической ситуации для защищаемых и существующих соседних зданий, сооружений согласно ТСН 50-302-2004 Санкт-Петербург, ТСН 30-306-2002 Санкт-Петербург, ТСН 30-305-2002 Санкт-Петербург, а также прогнозы развития негативных гидрогеологических процессов при выборе и устройстве той или иной системы дренажа согласно рекомендациям справочного пособия к СНиП 2.06.15.
5.2 Проект дренирования должен решать следующие основные задачи:
- обеспечение требуемой нормы осушения за счет регулирования УГВ и стока ПВ на участке размещения здания, исключающее поступление ПВ в подземные и заглубленные помещения и контакт ПВ с внешней поверхностью сооружения;
- предотвращение обводнения грунтов и усиления фильтрации, которые могут вызвать негативные изменения свойства грунтов, возникновение или активизацию опасных геологических процессов;
- обеспечение на участке застройки требуемых санитарных условий и сохранение экологической безопасности.
Норму осушения для зданий с подвальными помещениями и техническими подпольями следует принимать 0,30 м, исчисляя от отметки пола этих помещений и подполий.
5.3 Дренаж для защиты зданий устраивают при расположении полов подвалов и технических подполий:
- на отметках ниже расчетного уровня подземных вод и при их превышении относительно расчетного уровня меньше 30 см;
- в зоне капиллярного увлажнения, когда в подвальных помещениях не допускается появление сырости;
- в глинистых и суглинистых грунтах при их заглублении больше 1,3 м от планировочной поверхности земли независимо от наличия подземных вод;
- в глинистых и суглинистых грунтах при их заглублении меньше 1,3 м от планировочной поверхности земли;
- при расположении пола на фундаментной плите, когда с нагорной стороны здания возможна инфильтрация в верхнем слое природных или техногенных слоев грунта, а также, когда здание находится в непосредственной близости от тальвега, в который осуществляется разгрузка фунтовых вод.
5.4 Дренаж следует устраивать в случаях, когда особенности гидрогеологических условий площадки строительства негативно сказываются на прочностных свойствах грунтов и несущей способности оснований и могут вызвать осадку зданий.
5.5 Защиту здания от негативного воздействия воды и влаги осуществляют с помощью комплекса мероприятий геотехнического водоотведения [8], которые выполняют для заглубленной части здания и на участке его размещения.
При возможности следует отдавать предпочтение дренажным системам, которые одновременно защищают от подтопления участок и размещенное на нем здание [9].
Дренаж следует проектировать в комплексе с организацией рельефа, принимая во внимание водозащитную роль гидроизоляции заглубленных конструкций здания [10].
5.6 Выбор схем дренирования объекта следует выполнять, учитывая особенности гидрогеологических условий территории Санкт-Петербурга, данные инженерно-геологических изысканий, конфигурацию, размеры и конструкцию фундамента объекта защиты, заглубление подвальных помещений, наличие близко расположенных эксплуатируемых инженерных сооружений, зданий, их геотехническую категорию, характеристику конструкций, требования 5.1.
6.1 Проектирование осуществляют на основании исходных данных об инженерно-геологических условиях площадки строительства, защищаемом объекте, а также сведений об эксплуатируемых зданиях и сооружениях, расположенных поблизости.
6.2. Объем изысканий и обследований с целью получения необходимых исходных данных зависит от геотехнической категории объекта, стадии проектирования, категории сложности природных условий площадки строительства.
Состав и объем указанных материалов для целей реконструкции и строительства в условиях городской застройки должен определяться в соответствии с требованиями ТСН 50-302-2004 Санкт-Петербург.
6.3. Для разработки проекта дренажа необходимы следующие материалы:
- техническое заключение об инженерно-геологических условиях площадки строительства;
- заключение о гидрогеологических условиях участка строительства (при необходимости);
- материалы инженерных изысканий и обследований прошлых лет;
- план территории с существующими и проектируемыми зданиями и подземными сооружениями, высотными отметками;
- план организации рельефа участка застройки;
- планы и отметки пола подвальных помещений и подполий соседних объектов и проектируемого (защищаемого) здания, а также его первого этажа;
- планы и разрезы фундаментов зданий, пристроенных по наружному фасаду элементов (лестницы, пандусы, приямки и т.п.);
- планы, продольные профили и разрезы подземных каналов;
- план и разрезы шурфов (объекты реконструкции или подлежащие реставрации).
6.4 Защиту от подземных вод дворцово-парковых ансамблей и исторических зданий следует разрабатывать в комплексе с мероприятиями по усилению оснований и фундаментов исторических зданий, вертикальной планировкой участка и водозащиты парковых территорий.
Состав дополнительных исходных материалов определяется конкретными условиями (состояние подземных конструкций и гидроизоляции, исторических водоотводящих и сбросных систем, приповерхностной инфраструктуры, наличие ценных зеленых насаждений, использование ансамбля и т.д.) на основе специально составленной программы исследований [13].
7.1 Проектирование дренажа включает выбор его системы и конструкции, определение положения в плане и заглубления, способа отведения дренажных вод, а также проведение необходимых расчетов, включая предварительные.
7.2 Проект дренажа должен содержать следующие материалы: план дренажа, ведомость основных работ по устройству дренажа, конструкции дрен.
Если на площадке строительства предусматривают засыпку водных объектов или канализование их участков, то следует разрабатывать проектные предложения по:
- сохранению дренирующей функции засыпанных объектов;
- мероприятиям, которые компенсируют водоотведение естественной дрены;
- обустройству естественных родников.
Построение продольных профилей местного дренажа выполняют:
- при наличии специальных требований ведомственных служб;
- в сложных условиях (при реконструкции, развитых существующих инженерных сетях и т.д.).
В пояснительной записке, в составе проектной документации обосновывают принятые решения и приводят расчетные расходы дренажных вод. При разработке рабочей документации ограничиваются краткой информацией аналогичного содержания в пояснениях на чертежах.
7.3 Для проектов водозащиты дворцово-парковых ансамблей и исторических зданий состав графических и текстовых материалов определяется с учетом 5.1, 6.4 настоящего документа, задания КГИОП, а также требований ТСН 30-306-2002 Санкт-Петербург.
7.4 Предварительные проверочные расчеты определяют:
- безопасное расстояние дрены от наружных стен проектируемого (или существующего) здания, сооружения, инженерных сетей, если их основания заглублены выше лотка дренажной трубы.
Для расчета используют формулу
![]()
где
b - уширение фундамента, м;
В - ширина дренажной траншеи, м;
Н - глубина заложения дрены, м;
h - глубина заложения фундамента, м;
a - угол внутреннего трения грунта, град.
- ординаты депрессионной кривой - положение сниженного уровня подземных вод в результате действия дренажа, если по соседству с защищаемым объектом имеются здания, сооружения, инженерные коммуникации, ценные зеленые насаждения. Цель расчета - определить зону риска для исключения негативных воздействий на существующие здания, инженерную и приповерхностную инфраструктуру. В случае нежелательного снижения УГВ в зоне существующей застройки выполняют корректировку трассы дренажа.
7.5. При наличии в непосредственной близости от строящегося объекта, дренажной сети, обслуживающей другие здания или сооружения необходим расчет ординат депрессионной кривой эксплуатируемой сети. Цель такого расчета - определить положение депрессионной кривой эксплуатируемого дренажа и оценить его возможности в отношении эффекта водозащиты для нового объекта. Если сниженный УГВ, установившийся в результате эксплуатации дренажа, не превышает норму осушения, от устройства дренажа для нового объекта можно отказаться или же изменить его плановое положение.
7.6 Расчет ординат депрессионной кривой выполняют в соответствии с методикой, изложенной в разделе 12 настоящего документа.
8.1 Выделяют два типа дренажей: совершенный и несовершенный. Последний не полностью прорезает водоносный слой в отличие от дренажа совершенного типа, основание которого доходит до водоупорного слоя.
Предпочтение следует отдавать дренажам совершенного типа, если водоупорный слой находится на незначительной глубине от планировочной поверхности и не потребует неоправданного (с учетом нормы осушения) заглубления дренажных труб.
8.2 По конфигурации в плане следует различать контурные, линейные и комбинированные системы (схемы), по создаваемому эффекту водозащиты - общие системы (защита участка и размещенного на нем здания) и местные (защита здания).
8.3 При выборе систем и следует учитывать характер подтопления в зависимости от положения места разгрузки, источников питания грунтовых вод:
- сверху - инфильтрационное питание ливневыми и талыми водами;
- снизу - капиллярные и подземные воды со свободной поверхностью в периоды сезонных и годовых повышений их уровня, а также местные напорные воды; последние фиксируются, как правило, в буровых изысканиях при прохождении песчаных линз в слабоводопроницаемых грунтах;
- сбоку - подземные воды, притекающие с возвышенных участков склонов, и воды, фильтрующие из водоемов;
- смешанное питание - сочетание различных вышеперечисленных вариантов питания ГВ.
8.4 В зависимости от геологического строения площадки строительства, источников питания грунтовых вод, назначения и местоположения объектов защиты следует использовать следующие системы дренажа:
- линейные (головной, береговой);
- контурные (прифундаментный, кольцевой);
- пластовые дренажи (площадные и линейные);
- комбинированные из линейных, контурных, пластовых.
Для площадок строительства, сложенных слабоводопроницаемыми грунтами слоистого строения с атмосферным питанием ГВ, как правило, требуется устройство прифундаментного дренажа для заглубленных помещений здания и эффективное решение вертикальной планировки.
8.5 Однолинейные системы в виде отсечного головного дренажа используют при источнике питания «сбоку», когда явно выражен грунтовый поток, поступающий с вышележащей территории.
Дренаж закладывают по верхней границе защищаемой территории со стороны притока грунтового потока. Трассу прокладывают с учетом размещения застройки, по возможности, в местах с более высокими отметками водоупора.
8.6 Двухлинейные системы проектируют, когда устройство одной линии головного дренажа не обеспечивает требуемого понижения УГВ. Вторую линию дренажа прокладывают параллельно головному дренажу. Расстояние между двумя запроектированными линиями определяют расчетом, исходя из их совместной работы, и сопоставляют расчетное положение сниженного УГВ с нормой осушения.
Двухлинейная система дренажа необходима, если защищаемый участок расположен между зонами питания грунтовых вод и их разгрузки местной гидрографической сетью.
Следует учитывать, что при использовании двухлинейных систем (головного и берегового дренажа) высокий дренирующий эффект достигается только на участках, сложенных хорошо водопроницаемыми грунтами. В этом случае возможно образование широких депрессионных воронок в результате совместной работы головного и берегового дренажей.
На участках, сложенных слабоводопроницаемыми грунтами, особенно слоистого строения, двухлинейная комбинация не обеспечит желаемого снижения УГВ. В таком случае необходимо рассмотреть следующие варианты защиты участка от грунтовых вод:
- заглубленных частей здания - местной контурной системой дренажа;
- элементов благоустройства и подземных коммуникаций - сопутствующими дренажами;
- участка - надлежащей вертикальной планировкой и организацией поверхностного стока, что снижает инфильтрацию атмосферных осадков в грунт.
8.7 На прибрежных территориях для понижения УГВ, вызванного подпором горизонта воды в реке, следует устраивать однолинейный береговой дренаж. Его прокладывают параллельно береговой линии и закладывают ниже горизонта высоких вод реки.
Целесообразность устройства берегового дренажа должна быть обоснована значимостью защищаемого участка, поскольку затраты на строительство и эксплуатацию береговых дренажей, особенно при перекачке больших расходов дренажных вод, достаточно велики.
8.8 При защите от подтопления небольших участков, в первую очередь рассматривают варианты:
- локального повышения планировочных отметок поверхности;
- защиты здания с заглубленным подвальным помещением с помощью местных контурных и линейных систем, а также гидроизоляции.
Наряду с этим целесообразно использовать планировочные возможности, например, можно «посадить» здание на более высоких отметках, чтобы уменьшить затраты на мероприятия по защите от ПВ.
8.9. При боковом источнике питания ПВ в сочетании с инфильтрацией атмосферных осадков, дренаж выполняют по всему контуру защищаемого здания. В зависимости от инженерно-геологических условий участка застройки используют пристенную (прифундаментную) или кольцевую контурные системы.
Когда подтопление подвальных помещений обусловлено ясно выраженным односторонним притоком ГВ (питание сбоку), дренаж проектируют в виде разомкнутой контурной системы.
8.10 Кольцевой дренаж выполняет защиту подвальных помещений здания при смешанном питании грунтовых вод и заложении этих помещений в водоносных песчаных грунтах.
При питании подземных вод сверху в условиях однородного строения водоносной толщи совершенный кольцевой дренаж эффективен и для группы зданий. В последнем случае даже при расположении дрен выше водоупора УГВ устанавливается на отметках, близких к уровню воды в дренах [7].
Кольцевой дренаж применяют также, если питание сверху отсутствует, а повышение УГВ обусловлено поступлением воды снизу. В последнем случае размеры дренажного контура должны быть меньше, чем при аналогичном решении в условиях источников питания подземных вод сверху.
Когда заглубление дрен недостаточно из-за величины выпора, то следует устраивать промежуточные дрены - «рассечки».
8.11 Прифундаментный (пристенный) дренаж используют для защиты подвалов и подполий, заложенных в глинистых, суглинистых грунтах и при слоистом строении слабоводопроницаемой толщи:
- в качестве профилактической меры при отсутствии ГВ;
- при наличии смешанного источника питания ГВ.
Прифундаментная система дренажа, в отличие от кольцевой, должна быть максимально приближена к объекту защиты на расстояние, которое регламентируется конструкцией фундамента, возможностью размещения смотровых колодцев, условиями производства работ, а также требованиями 5.1.
При больших размерах защищаемого объекта для достижения эффекта водозащиты по всей площади подвала несовершенные контурные дрены дополняют подпольными линиями или используют площадный пластовый дренаж.
8.12 При защите нескольких зданий одним контуром, а также при ширине защищаемого здания более 20 м глубина заложении несовершенных дрен должна обосновываться расчетом (см. 11.10) с учетом положения депрессионной кривой внутри контура.
8.13 Если дренаж заложен ниже подошвы фундамента защищаемых и соседних зданий (сооружений) следует произвести расчет безопасного расстояния от дрен до стен здания, чтобы исключить вынос, ослабление и осадку грунта под его фундаментом (см. 7.4).
8.14 Пластовый дренаж следует устраивать в сочетании с контурными и линейными системами в следующих случаях:
- при недостаточной эффективности контурных и линейных дрен;
- в условиях сложного строения водоносного пласта с изменением его состава и водопроницаемости;
- с профилактической целью в глинистых и суглинистых грунтах;
- в водоносных пластах большой мощности, при слоистом их строении, наличии напорных ПВ.
8.15 При устройстве пластового дренажа необходимо учитывать следующие требования:
- пластовый дренаж должен сопрягаться с обсыпкой трубчатых дрен, гарантировать необходимые условия удаления влаги, чтобы фильтрующая постель не стала аккумулирующей емкостью для грунтовых вод; если пластовый дренаж заложен ниже прифундаментного (по объективным причинам различного характера), следует выводить фильтрующую постель в траншею прифундаментного дренажа, чтобы обеспечить разгрузку ГВ в траншею;
- если трубчатый дренаж проложен по внутреннему контуру здания (под полом подвала) пластовую конструкцию необходимо выполнять в виде засыпки пазух котлована вдоль наружных стен здания и «соединить» пластовую конструкцию пазух с обсыпкой подпольного дренажа, разуклонив ее основание в сторону трубчатых дрен (рис. 1);
- при разнозаглубленных объемах защищаемого подвального помещения, пластовая конструкция для наиболее заглубленных подвальных помещений должна сопрягаться с аналогичной конструкцией для цокольного этажа с меньшим заглублением; выбор рационального решения узлов сопряжения зависит от расположения особо заглубленных объемов в пятне защищаемого контура, перепада отметок пола разнозаглубленных помещений и высотного положения трубчатых дрен.

Рис. 1. Схема засыпки пазух котлована
8.16 Пластовый дренаж в качестве самостоятельной системы водопонижения целесообразно использовать на период строительства при необходимости дренирования котлована для здания большой площади. В этом случае низ фильтрующей постели пластового дренажа должен быть не ниже отметки лотка трубчатой дрены, проложенной для отведения ГВ.
Фильтрующая постель пластового дренажа используется в периоды строительства и эксплуатации здания. Трубчатые дрены, отводящие грунтовые воды собранные фильтрующей постелью, не всегда могут быть сохранены в системе дренажа, проектируемой для защиты подвальных помещений на период эксплуатации здания.
9.1 Схемы дренирования объекта формируются на основе типовых систем с учетом гидрогеологических условий площадки строительства, особенностей защищаемого объекта, а также требований 5.1, 5.2, 5.5, 6.4 ,7.3 настоящего документа.
Схема дренажа защищаемого объекта может состоять из одной или нескольких систем (простых и усложненных). В одних случаях схема исчерпывается только одной системой, в других - требует комбинации нескольких систем.
9.2 Выбор схемы зависит:
- от гидрогеологических условий площадки строительства и заглубления подвала;
- конструкции фундамента;
- местоположения и заглубления ливневой сети, принимающей дренажный сток;
- заглубления и конструкции фундамента выступающих объемов по периметру здания;
- планировочных отметок по периметру здания;
- наличия соседних эксплуатируемых зданий и сооружений;
- размеров и конфигурации защищаемого помещения.
9.3 Схема дренажа современных гражданских зданий, особенно при большой площади защищаемого цокольного этажа и сложной конфигурации объекта, представляют собой комбинации из различных усложненных систем дренажа.
9.4 Однолинейная головная система. Оптимальная схема дренирования - пересечение трассой потока грунтовых вод по ширине и заглубление дрен в водоупорный слой (рис. 2).

Рис. 2. Схема однолинейной системы дренажа совершенного типа:
а - план; б -
сечение; 1 - здание с подвалом;
2 - трасса дренажа; 3 - направление уклона дрен;
4 - граница участка; 5 - инспекционные колодцы;
6 - выпуски дренажа
Поэтому линейная головная система эффективна на узких, вытянутых в длину участках, особенно в таких гидрогеологических условиях, где можно применить дренаж совершенного типа.
Когда длина линейного дренажа меньше ширины подземного потока, устраивают дополнительные линии по боковым границам защищаемого участка. Так достигается перехват подземных вод, поступающих сбоку.
При глубоком залегании водоупора дрены закладывают в водосодержащем слое, устраивая несовершенный дренаж. В этом случае фильтрационная способность водопроницаемого слоя имеет большое практическое значение, поскольку влияет на положение сниженного УГВ на защищаемом участке. Для определения положения сниженного УГВ выполняют расчет депрессионной кривой (см. 11.10).
9.5 Традиционные (типовые) схемы кольцевого дренажа - контурная и контурно-линейная с внешними шпорами. Трубчатые дрены прокладывают на расстоянии от стен здания с учетом гидрогеологических условий территории, требований безопасности и производства работ. Если здание имеет сложную конфигурацию фасада или разнозаглубленные подвальные помещения, дренаж может иметь внешние поперечные ответвления - шпоры (рис. 3).

Условные обозначения:
|
|
Трубчатые дрены Транзитный дренаж Уклон, % Расстояние,
Отметка люка дренажного холодца, м Отметка лотка дренажной трубы, м Смотровой колодец существующей ливневой канализации Отметка пола цокольного этажа, м |
Рис. 3. Схема контурного дренажа с поперечными шпорами
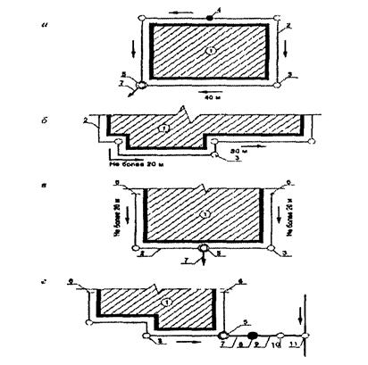
9.6 Традиционные схемы пристенного дренажа типовых зданий небольшой ширины (до 20 м) и простой конфигурации (см. приложение):
- линейная;
- контурная с дренами внешними (вдоль фасада) или внутренними (под полом подвала), замкнутого или незамкнутого (контурная схема);
- комбинированная в виде линейной или контурной с пластовым дренажом.
Наиболее часто используется схема с замкнутым контуром в связи с преобладанием смешанного питания грунтовых вод. При наличии ограничений на площадке строительства возможна прокладка незамкнутого контура. Такие ограничения возникают в большинстве случаев при реконструкции объектов, восстановлении и воссоздании исторических зданий, а также стесненных условиях площадки строительства [8, 10, 13].
9.7 Трассу прифундаментного дренажа привязывают к защищаемому зданию. Расстояние между дренажом и стеной определяется выступающими элементами конструкции фундамента здания и диаметром смотровых колодцев. Оно зависит также от заглубления дрен.
Пристенные (контурные) и подпольные (в том числе и пластовые) дрены увязывают между собой в высотном отношении таким образом, чтобы обеспечить эффективное удаление воды из-под защищаемого помещения (см. 8.15).
9.8 Защиту от грунтовых вод подвальных помещений большой площади выполняют по следующим основным схемам: контурно-линейной, контурно-площадной, комбинированной (см. приложение).
Контурно-линейная схема - система дренажа с контурной сетью (собственно прифундаментный дренаж) и линейными подпольными (трубчатыми или пластовыми) линиями.
Контурно-площадная схема - система дренажа с контурной сетью и пластовой площадной фильтрующей постелью.
Комбинированная схема сочетает элементы обеих вышеназванных схем.
Контурно-линейную схему применяют при устройстве несовершенного дренажа без каких-либо ограничений для объектов со свайным фундаментом. При ленточной конструкции фундамента следует рассчитывать расстояние трубчатых дрен от стен, если они заглублены ниже отметки подошвы фундамента.
Если фундамент здания устроен в виде монолитной железобетонной плиты, используют только беструбчатую конструкцию подпольных дрен или контурно-площадную схему.
Подпольные дрены обычно трассируют вдоль короткой оси подвального помещения и соединяют с прифундаментным дренажем.
Положение дрен определяется особенностями конструктивного решения фундамента. Расстояние между подпольными дренами выбирают таким образом, чтобы снять выпор депрессионной кривой внутри защищаемого контура.
При развитой системе подпольных линий потребуется заглублять пристенные дрены, чтобы глубина их заложения обеспечивала самотечное удаление расходов разветвленной сети подпольных дрен, поэтому от пристенных дрен часто требуется откачка дренажных вод.
Контурно-площадная схема характеризуется наличием пластового площадного и прифундаментного дренажей. Последний чаще прокладывается по внешнему (наружному) контуру подвального помещения. Такую схему используют при устройстве совершенного и несовершенного пристенного дренажа. Она не имеет ограничений, связанных с конструкцией фундамента здания и широко используется при недостаточной эффективности несовершенного пристенного дренажа зданий, фундамент которых выполнен в виде монолитной железобетонной плиты.
В стесненных условиях контурно-площадная схема может быть выполнена только с помощью внутренних подпольных дрен или их комбинации с внешними пристенными дренами, когда фундамент здания свайного или ленточного типа.
9.9 Дренирование объектов большой площади, особенно в сложных гидрогеологических условиях, эффективно только за счет совместной работы пристенных и подпольных дренажных устройств, конструкцию которых принимают с учетом конкретных условий строительства (реконструкции).
9.10 Пристенные и подпольные (в том числе и пластовые) дрены должны субординироваться между собой в высотном отношении таким образом, чтобы обеспечить эффективное удаление воды из-под защищаемого помещения и за пределы здания.
9.11 Дренажи проектируют с учетом общих требований к размещению подземных сетей, обеспечения безопасных условий строительства (в соответствии со СНиП 12-03, СНиП 12-04), эффективности работы и эксплуатационной пригодности водопонизительных сооружений (в соответствии со СНиП 2.06.15, СНиП 22-02).
Расстояние по горизонтали (в свету) между дренажом и инженерными коммуникациями, принимают в соответствии с нормативными требованиями (СНиП 2.07.01, ПУЭ-7).
В вертикальной плоскости положение дрен относительно других инженерных сетей принимают с учетом их назначения, способов производства работ по устройству дренажа и его нормальной эксплуатации согласно СНиП II-89.
9.12 При проектировании дренажа следует рассмотреть вариант его совместной прокладки с водостоком - над ним или параллельно, желательно в одной траншее.
Предпочтительно укладывать дренаж и водосток в одной вертикальной плоскости. В этом случае дренаж прокладывают над водостоком и устраивают выпуски дренажных вод в каждый смотровой колодец водостока. Такой вариант удобен с точки зрения удаления расходов дренажа, однако не всегда возможен из-за заглубления дренажа ниже водостока или недостаточного расстояния между ними.
Минимальное расстояние между водостоком и дренажом, проложенным над ним, должно быть не меньше 5 см.
9.13 Сопряжение дренажных линий в плане следует осуществлять под углом не меньше 90°; в вертикальной плоскости сопряжение веток трубчатого дренажа может осуществляться с устройством перепада и без него с установкой смотровых колодцев по СНиП 2.06.15 п. 5.28. Наличие перепадов может быть обусловлено различным заглублением дрен, а также соединением в одном узле более трех линий.
9.14 Дренажи прокладывают с уклонами, обеспечивающими самотечное движение воды со скоростями, исключающими заиление труб и размыв грунта, а также учитывая водообильность осушаемого горизонта.
Минимальный уклон трубчатого дренажа принимают:
- в песчаных грунтах - 0,003;
- в глинистых - 0,002.
Дрены целесообразно устраивать с минимальными продольными уклонами, поскольку увеличение уклона дрен приводит к возрастанию объемов работ.
Минимальный уклон пластового дренажа, уложенного в основание защищаемого здания, следует принимать 0,005 - 0,01, уклон сопутствующих пластовых дренажей может совпадать с уклоном по трассе защищаемых инженерных сетей, основания дорожной одежды и т.п.
Максимальный уклон дренажа регламентируется максимально допустимой скорости течения воды 1 м/с и определяется на основе гидравлического расчета по методике, изложенной в литературе [1].
9.15 Глубина заложения дренажа должна обеспечить требуемую норму осушения (согласно 5.2, 5.3), защиту конструкции дренажа от разрушения временными и постоянными нагрузками, а также от промерзания. Если заглубление дренажа ниже глубины промерзания невозможно или нецелесообразно, предусматривают специальные мероприятия по защите сети при отрицательных температурах.
9.16 Продольный профиль дренажных линий следует формировать с учетом схемы дренирования объекта, положения и количества выпусков, высотных отметок принимающей сети и пола подвальных помещений, способа отведения дренажных вод, обеспечения надежности работы системы в штатном и аварийном режиме, а также равномерной загрузки насосов для удаления дренажных расходов.
9.17 На объектах большой площади при построении продольного профиля дренажа следует учитывать:
- значительную длину подпольных линейных и площадь пластовых подпольных дрен;
- необходимость откачки воды из пристенных дрен;
- целесообразность самотечного сброса воды из подпольных систем в контурные пристенные.
9.18 Выбор оптимального продольного профиля подпольных линейных дрен определяется их длиной, допустимым диапазоном заглубления принимающих контурных дренажных линий, условиями производства работ, соотношением размеров (длины и ширины) подвала, положением последнего в «пятне застройки», перепадом планировочных отметок по фасаду здания, наличием по периметру объекта пристроенных объемов.
9.19 Оптимальный продольный профиль пристенных дрен вдоль фасада здания при перепаде высотных отметок планировочной поверхности формируется за счет дополнительных выпусков или увеличения заглубления дренажа.
При значительной разнице планировочных отметок по фасаду защищаемого здания и большой площади подвала при формировании продольного профиля следует исходить из допустимых минимального и максимального заглубления дрен.
При постоянной отметке пола подвального этажа целесообразно увеличить количество выпусков, чтобы избежать большого заглубления дренажа, если перепады отметок по его трассе ограничены только нормой осушения или способами производства работ.
Для разнозаглубленных подвальных помещений, а также при их большой площади прокладка дренажа с перепадом отметок по участкам также потребует увеличения количества выпусков, которые позволят в аварийных ситуациях исключить подпор в дренажной системе.
9.20 Смотровые (инспекционные) колодцы для наблюдения за работой системы устанавливают в местах поворота трассы и изменения уклонов дрен, на перепадах - в узлах сопряжения труб с различными отметками лотка, а также на прямых участках дренажа (рис. 4).

Рис. 4. Схема размещения дренажных колодцев:
а - повороты трассы, перепады отметок дренажных труб; б -
выступы здания;
в - стартовые участки, г - с насосом на транзитном участке дренажа; 1 - здание;
2 - дренаж; 3 - колодцы; 4 - то же перепадные; 5 - то же с отстойной частью;
6 - заглушки; 7 - выпуск (транзитный дренаж); 8 - колодец с насосом;
9 - напорный участок транзитного дренажа;
10 - колодец гаситель напора; 11 - смотровой колодец дождевой канализации
Дренажные смотровые колодцы (при диаметре дрен до 300 мм) устраивают не реже через 50 м согласно СНиП 2.06.15 (см. 5.28), по условиям эксплуатации дренажной сети оптимальное предельное расстояние согласно [16] - 40 м.
На поворотах смотровые колодцы дренажа у выступов зданий устраивать не обязательно, если расстояние от поворота до ближайшего колодца не превышает 20 м. Когда на участке между колодцами дренаж делает несколько поворотов, инспекционные колодцы устанавливают через один поворот. Стартовые участки дренажной сети длиной до 20 м допустимо выполнять без первого смотрового колодца. В этом случае необходимо предусмотреть заглушку дренажной трубы.
9.21 Устройство выпусков. Выпуск воды из трубчатых дренажей производят в водостоки или водоемы. В ряде случаев сброс выполняют в общесплавную канализационную сеть, канавы и специально устроенные емкости. В финишных смотровых колодцах дренажа перед сбросом вод в систему коммунальной канализации предусматривают контрольный смотровой колодец с клапаном «захлопка» (по условиям присоединения ГУП «Водоканал»).
Сброс воды дренажной трубчатой сети осуществляют с помощью транзитного дренажа из труб без перфорации и обсыпки. Расходы дренажа отводят самотеком либо с помощью откачки насосными установками или погружными насосами. Тогда транзитный участок дренажа до колодца гасителя устраивают в виде напорной сети.
Транзитный дренаж и насосное оборудование проектируют в соответствии с требованиями к дождевой сети водоотведения (СНиП 2.04.03).
9.22 На участках урбанизированного ландшафта дворцово-парковых ансамблей и исторических зданий при отсутствии мест приема дренажных вод (канализационных сетей) или невозможности осуществить сброс дренажных вод в водные объекты в соответствующих гидрогеологических условиях следует использовать поглощающие скважины (колодцы), конструкцию которых надлежит принимать согласно Справочного пособия к СНиП 2.06.15, СНиП 2.04.03, а также проводить другие мероприятия геотехнического водоотведения согласно требованиям 6.4.
9.23. Для надежной эксплуатации дренажной системы требуется обязательная регулярная прочистка дренажных колодцев, с тем, чтобы не допускать заиления дренажных труб, поэтому в текстовой и графической части проекта следует указывать необходимость подобных эксплуатационных мер.
10.1 Для защиты заглубленных частей зданий следует применять традиционные и современные конструкции горизонтальных дренажей:
- с фильтрующей обсыпкой труб (или наполнением закрытого дренажа) из рыхлого сортированного материала (песка, гравия, щебня);
- с фильтром из геосинтетических (или натуральных) материалов в сочетании с песчано-гравийными;
- с композициями из дренажных материалов на основе пластмасс (геокомпозиты);
- с обертками труб из геоткани (или натуральных материалов) и без них.
Геотекстильные материалы в конструкции дренажа следует использовать в качестве:
- фильтрующих мембран для разделения обратной засыпки и обсыпки трубчатого дренажа, фильтрующих слоев последней;
- обертки труб.
Геокомпозиты следует использовать для повышения эффективности дренажной сети и сокращения объемов фильтрующих грунтовых материалов.
10.2 Выбор геотекстильных мембран и геокомпозитов следует осуществлять с учетом условий их работы, инженерно-геологических условий площадки строительства и реконструкции, технических характеристик материалов [11, 17, 19, 20].
Геотекстильный фильтр должен пропускать воду и отсеивать грунт, излишне не деформироваться и не ограничивать доступ влаги в дренажную конструкцию, обладать био- и химической стойкостью, сохранять рабочее состояние на протяжении всего срока эксплуатации дренажа.
Геокомпозиты должны отвечать требованиям износостойкости; био- и химической стойкости; сохранности в рабочем состоянии в течение всего срока службы и иметь высокие фильтрационные свойства.
Предпочтение следует отдавать:
- фильтрующим нетканым геотекстильным мембранам из бесконечных ПП нитей, с иглопробивным упрочнением;
- трехмерным геокомпозитам из дренажного пластикового (ПП) основания и фильтрующей мембраны, которые называют пластиковыми дренажами. Задача мембраны в пластиковом дренаже - пропустить воду в проводник влаги (основание) и задержать частицы осушаемого грунта. Задача пластикового основания - транспортировать воду в прифундаментную систему горизонтальных дрен.
Для отдельных типов пластиковых дренажей существует вариант конструкции со специальной пазухой (каналом) для дренажной трубы.
10.3 Фильтрующие грунтовые обсыпки в зависимости от состава осушаемого грунта следует устраивать однослойными или двухслойными [16]. Наряду с этим предусматривают засыпку части траншеи песчаным грунтом (рис. 5). При устройстве откосной траншеи такую засыпку делают в виде призм по соображениям экономии материала.

Рис. 5. Схема устройства обсыпок:
а - прямоугольная; б - в виде трапеции;
1 - дренажная труба; 2 - щебень; 3 -
песок с коэффициентом
фильтрации не менее 5 м/сут.; 4 - местный грунт
Назначение призмы - прием воды, притекающей с боков. Наименьшая высота песчаной призмы составляет 0,6 - 0,7 от величины превышения расчетного УГВ относительно дна дренажной траншеи, максимальная - на 30 см выше расчетного УГВ; оптимальная определяется конкретными условиями строительства.
10.4 Однослойные фильтрующие обсыпки допустимы в гравелистых и крупных песках, а также в песках средней крупности со средним диаметром частиц 0,3 - 0,4 мм и крупнее.
Двухслойные обсыпки следует устраивать в супесях, мелких пылеватых и среднезернистых песках со средним диаметром частиц меньше указанного, а также при слоистом строении водоносного пласта.
Грунтовые материалы, используемые для обсыпок, должны отвечать требованиям, предъявляемым к материалам для гидротехнических сооружений, и соответствовать действующим государственным стандартам.
Состав фильтрующих обсыпок следует подбирать, чтобы исключить суффозию и кольматаж системы, толщина одного слоя обсыпки должна быть не меньше 150 мм.
Для внутреннего слоя обсыпок используют щебень М1000 - 1200 с крупностью фракций 3 - 10 мм (в зависимости от размеров пропилов труб), внешнего слоя и песчаных призм - песок с коэффициентом фильтрации не меньше 5 м/сут.
Обсыпкам придают прямоугольную или трапецеидальную форму, более сложные конфигурации требуют специальных инвентарных щитов. Обсыпки трапецеидальной формы выполняют с откосами устойчивого очертания, прямоугольные - с помощью щитов.
10.5 Выбор конструкции трубчатого дренажа зависит от гидрогеологических условий площадки строительства, особенностей объекта защиты, типа и системы дренажа, заглубления подвального этажа и его назначения (рис. 6).
10.6 Пластовый дренаж для защиты заглубленных частей здания следует выполнять в виде сплошного песчано-гравийного слоя (площадный), в виде призм (линейный) и имеющих уклон к трубчатой дрене, а также с использованием геотекстильных мембран и высокопрочных геокомпозитов.
Конструкция пластового дренажа может состоять из одного или двух слоев в зависимости от характера подстилаемых грунтов, ширины защищаемого сооружения и притока воды.
Однослойный пластовый дренаж устраивают из щебня (гравия), двухслойный - из щебня и песка. Песчаный слой может быть заменен соответствующей геотекстильной мембраной. В пластовом дренаже используют щебень с крупностью фракций 3 - 20 мм (коэффициент неоднородности - не больше 5), а также среднезернистый песок. К грунтовым материалам фильтрующей постели дренажа предъявляют требования, аналогичные требованиям к грунтовым фильтрующим обсыпкам трубчатого дренажа.
Площадный пластовый дренаж с однослойной щебеночной постелью должен иметь толщину не меньше 300 мм. Двухслойную дренирующую постель конструктивно решают из щебеночного слоя минимальной толщиной - 150 мм, а песчаного - 100 мм.
Для сокращения объемов щебня площадный пластовый дренаж заглубленного здания конструктивно может быть решен в виде слоя песка, прорезанного в поперечном направлении щебеночными призмами.
Толщина линейного пластового дренажа с однослойной постелью из щебня должна быть не меньше 200 мм. Необходимое количество дрен (призм) определяют с учетом гидрогеологических условий, а их положение в плане зависит от конструкции фундамента защищаемого объекта.

а - несовершенного типа

б - совершенного типа

в - совершенного типа на условном водоупоре с линейным пластовым дренажем

г - с дренажно-изоляционным геокомпозитом

е - с геотекстильной прослойкой в обсыпке дрены и геокомпозитом

ж - с геотекстильной прослойкой в обсыпке дрены без геокомпозита
Рис. 6. Схемы конструкции пристенного дренажа
Фильтрующая постель пластового дренажа должна сопрягаться с обсыпкой дренажной трубы согласно требованиям 8.15. В процессе производства работ пластовый дренаж защищают от засорения. Примеры конструкции пластового дренажа зданий показаны на рисунке 7.
10.7 При выборе конструкции подпольных дренажных линий особое внимание следует уделять ее надежности.
Когда внутренние дренажные линий проложены под плитой пола подвала возможность доступа к ним исключается, поэтому устройство дренажных щебеночных призм (при оптимальной трассировке и соответствующих расчетных параметрах) имеет определенные преимущества перед трубчатыми конструкциями [2].
10.8 Трубы дренажа подбирают и проектируют в соответствии с требованиями:
- достаточной водопропускной способности;
- прочности при воздействии на них грунта засыпки и динамических нагрузок;
- стойкости к агрессивным грунтовым водам;
- удобства устройства и эксплуатации дренажа.
В наибольшей степени этим требованиям отвечают однослойные и двухслойные пластмассовые труб из полиэтилена низкого давления (ПНД), поливинилхлорида (ПВХ), а также полипропилена (ПП) и полиэтилена высокой плотности (НДПЕ). В зависимости от материала и конструкции они относятся к различным классам жесткости.
10.9 Выбор конструкции дренажной трубы определяется условиями применения и требованиями эксплуатации.

Узел I

Рис. 7. Схема конструкции пластового дренажа:
А - здания; а - двухслойного из песчано-гравийных слоев;
б - то же с геотекстильной фильтрующей мембраной; в - то же однослойного из щебня;
1 - фильтрующая постель; 2 - дренажная перфорированная труба; 3 - щебеночный
фильтр;
4 - песчаный фильтр; 5 - обратная засыпка; 6 - перепускная труба без
перфорации;
7 - гидроизоляционная мембрана; 8 - бетонная подготовка;
9 - геотекстильная фильтрующая мембрана; 10 - местный грунт
Размеры водоприемных отверстий дренажных труб должны подбираться с учетом гранулометрического состав осушаемого грунта [1, 3, 5]. Это требование следует учитывать при выборе труб, представленных на современном строительном рынке с различными вариантами дренажных прорезей.
Традиционные конструкции - однослойные трубы с гладкой или (чаще) с гофрированной поверхностью, которая повышает прочность трубы, сохраняет ее гибкость и увеличивает водозахватывающую площадь дренажных отверстий. Современные конструкции - двухслойные и даже многослойные трубы. Последние эффективны при больших динамических нагрузках и глубинах заложения защищаемого объекта.
В двухслойных трубах внутренняя стенка гладкая, а наружная оболочка гофрированная, надежно скрепленная с внутренним слоем. Благодаря гладкой внутренней стенке увеличивается скорость водного потока и повышается проводимость трубы. Наличие внешней гофрированной оболочки делает конструкцию трубы устойчивой к ударной деформации, что особенно важно при транспортировке и монтаже труб в зимних условиях. Такие трубы отличаются высокой водоосушительной и самоочищающейся способностью, хорошо «держат» обычно небольшой заданный уклон трассы дренажа.
Допустимая максимальная глубина заложения однослойных пластмассовых дрен зависит от материала труб, наименьшая глубина прокладки труб определяется требованиями их защиты от динамических нагрузок и промерзания.
В слабых грунтах с недостаточной несущей способностью дренажная труба должна быть уложена на искусственное основание.
10.10 Смотровые колодцы. Традиционные конструкции колодцев следует устраивать из железобетонных колец с внутренним диаметром 1000 мм, колодцы с насосами - 1500 мм.
Современные компактные конструкции колодцев - из пластмассы с минимальным диаметром 315 мм. Последние изготавливают на заводе и поставляют в готовом виде на площадку строительства или собирают на месте из соответствующих элементов.
Трубы транзитного дренажа выполняют без перфорации и устраивают без фильтрующей обсыпки. По конструкции и техническим характеристикам они аналогичны трубам самотечной ливневой канализации.
Предпочтение следует отдавать пластмассовым колодцам из сборных элементов, монтируемых на месте. Целесообразно использование колодцев и пластмассовых труб одной и той же системы, поскольку в этом случае имеются все необходимые комплектующие: для соединения труб между собой, труб и смотровых колодцев, устройства против замерзания и т.п.
Такая дренажная система является наиболее эффективной с точки зрения эксплуатации и долговечности.
10.11 Конструкция сборного колодца состоит из трех основных частей: донной, вертикальной и крышки или люка (рис. 8). Трубы либо врезаются на месте в нижнюю часть вертикальной конструкции, либо в ней имеются заводские отводы. Как правило, предпочтителен вариант врезки труб по месту. Элементы конструкции колодцев выполняют из различных материалов исходя из условий их работы. Верхнюю часть - люк в зависимости от назначения территории и ожидаемых нагрузок выполняют в различных вариантах. Вертикальная часть колодца может представлять собой однослойную гофрированную или двухслойную трубу из различных материалов (ПВХ, ПНД, ПП), дно колодца - из ПП.
10.12 Колодцы из пластмассовых изделий устраивают с отстойной частью (песколовкой) глубиной не меньше 0,5 м и чистят с использованием средств механизации.
В традиционных железобетонных колодцах осадочная часть глубиной не менее 0,5 м обязательна в последнем смотровом колодце сети на стартовом участке транзитного дренажа, в перепадных колодцах, а также в смотровых колодцах по трассе дренажа через 40 - 50 м.
При наличии требований специальных организаций сооружения на сети транзитного дренажа следует выполнять в соответствии с этими требованиями.

Рис. 8. Схемы конструкции колодцев:
а - пластмассовых, собираемых на месте с конической бетонной
горловиной;
б - то же с чугунным люком и юбкой; в - то же с врезанной дренажной трубой;
1 - гофтруба колодца; 2 - юбка из ПВХ; 3 - дно из пропилена;
4 - коническая бетонная горловина; 5 - резиновое кольцо; 6 - крышка.
11.1 В процессе расчетов горизонтальных дренажей следует выделить два этапа:
1) Гидрогеологические расчеты, с помощью которых определяют дебит дрен и положение депрессионных поверхностей подземных вод на защищаемой территории.
2) Гидравлические расчеты, определяющие необходимую пропускную способность выбранных параметров дрен при допустимых скоростях течения в них воды и соответствующем наполнении.
Гидравлические расчеты дренажа традиционно выполняют методом подбора. В настоящее время решение этой задачи облегчается применением специальных графиков, которые, как правило, содержатся в методических рекомендациях поставщиков современных дренажных труб.
Гидрогеологические (фильтрационные) расчеты выполняют на основе специальных (расчетных) схем для отображения основных гидрогеологических характеристик площадки строительства и условий работы дрен.
11.2 При выборе расчетных схем учитывают конкретные условия площадки строительства:
- систему дренажа и источники питания подземных вод;
- тип дренажа (совершенный или несовершенный);
- строение осушаемого массива (степень однородности пород по водопроницаемости) и фильтрационные свойства его слоев;
- гидравлическое состояние водоносного пласта (напорные или безнапорные воды);
- характеристику потока подземных вод (направление, мощность, уклоны).
Границы между отдельными слоями схематично представляют в виде горизонтальных плоскостей, проходящих через средние отметки контактирующих слоев. Наклонные плоскости на рассматриваемом участке заменяют горизонтальными, что допустимо при уклонах не больше 0,01 [15].
Гидравлическое состояние водоносного пласта определяет работу дренажных систем в условиях напорных или безнапорных вод [14]. В первом случае дренажи решают задачу снятия пьезометрического напора (полного или частичного) в водоносном пласте. Во втором случае с помощью дренажей осушают водоносный пласт.
11.3 Варианты расчетных схем:
- однолинейная (одиночная) горизонтальная дрена (береговая, головная) с односторонним или двусторонним притоком грунтовых вод с вышележащей территории и/или со стороны водоема;
- двухлинейный горизонтальный дренаж (сочетание береговой и головной дрен) с двухсторонним притоком грунтовых вод с вышележащей территории и со стороны водоема;
- контурная горизонтальная система (кольцевой или прифундаментный дренажи) при питании подземных вод, поступающих преимущественно в пределах площади, лежащей вне дренируемого контура;
- горизонтальные дрены, расположенные на площадке на условно равных расстояниях (систематический дренаж*) и работающие обычно в условиях потока грунтовых (или сходных) вод при питании сверху и/или снизу;
- фильтрующая постель в основании защищаемого объекта (пластовый дренаж) при поступлении подземных вод сбоку и/или снизу.
_____________
* Система используется, как правило, только для общего водопонижения.
11.4 Расчет горизонтальных трубчатых и пластовых дренажных устройств, работающих в условиях установившегося режима фильтрации, безнапорных вод и однородной среды следует производить по приведенным ниже расчетным формулам.
Расчетный уровень грунтовых вод следует принимать на основе прогнозных значений многолетнего среднегодового уровня ГВ на площадке строительства [12].
При дренировании зданий местными системами в сочетании с пластовым расход, отводимый транзитным дренажом, определяется только по величине расхода трубчатых прифунтаментных дрен.
11.5 Для расчета дрен, работающих в напорных условиях, а также пластиковых дренажей необходимо воспользоваться дополнительной информацией, имеющейся в нормативно-справочных материалах [1, 5, 15, 17].
11.6 В формулах и приведенных ниже на рисунках расчетных схемах, приняты следующие обозначения:
Н - высота непониженного УГВ над водоупором, м;
h - глубина погружения дрены под непониженный УГВ, м;
Т - превышение несовершенной дрены над водоупором, м;
Нх - превышение пониженного УГВ над уровнем воды в несовершенной и совершенной дренах на расстоянии х от них, м;
hy - превышение пониженного УГВ относительно дрены в центре контурного дренажа, м;
Нmax - максимальная высота пониженного УГВ над водоупором в междудренном пространстве систематического дренажа, м;
hвыс - высота высачивания - разрыва между уровнем воды в дрене и на контакте дренажной обсыпки с грунтом, м;
R - радиус депрессии, м;
r0 - приведенный радиус контура, м;
rg - радиус дрены, м;
a - половина расстояния между дренами систематического дренажа, м;
Q - расчетный расход, м3/сут;
Qo - удельный расход, м/сут на 1 пог. м;
W - интенсивность просачивания атмосферных осадков, м/сут.
11.7 Расчет производят исходя из гидрогеологических условий площадки строительства, фактического проектного положения дренажа, его системы (местная или общая) и типа (совершенный или несовершенный).
Коэффициент фильтрации К осушаемых грунтов при отсутствии опытных данных принимают на основе справочных материалов и с учетом местного опыта строительства. Последнее особенно важно, поскольку в справочных источниках приводятся не всегда совпадающие диапазоны значений коэффициентов фильтрации одного и того же грунта. Это объясняется особенностями исследуемых пород.
При неоднородном строении водовмещающей толщи средневзвешенное значение Kср, рассчитывают по формуле
|
|
(1) |
где K1 + K2 + ... + Kn - коэффициент фильтрации отдельных осушаемых слоев грунта, м/сут; т1 + т2 + ... + тn - мощность соответствующих слоев, м, которую принимают на основе исходных данных и расчетной схемы дренажа.
Область использования формулы (1) ограничивается соотношением коэффициента фильтрации различных слоев не больше 1:20:
|
Kn:Kn+1 < 20 |
(2) |
11.8 Интенсивность просачивания атмосферных осадков определяют с учетом характера грунта, количества выпадающих осадков и степени благоустройства участка застройки.
Для территории Санкт-Петербурга ориентировочные значения интенсивности просачивания, согласно [12], следует принимать для районов новой застройки 0,00129 м/сут, старой - 0,00246 м/сут.
11.9 Однолинейный и двухлинейный дренажи. Расходы дренажных вод и кривые депрессии однолинейных дренажей (местных и общих) рассчитывают по нижеприведенным формулам.
Для совершенных дренажей, расчетная схема которых представлена на рисунке 9, а удельный расход определяют по формуле (3) для двухстороннего притока подземных вод и по формуле (4) - для одностороннего притока:
где R - радиус депрессии дренажа, м, который рассчитывают по формуле (5) или определяют по рисунку 10:
|
|
(5) |
Расход дренажных вод для дренажной линии общей длиной L определяют по формуле
|
Q = Q0L, |
(6) |

Рис. 9. Расчетные схемы однолинейного дренажа:
а - совершенного типа; б - несовершенного типа
Депрессионную кривую строят, используя для расчетов ее ординат формулу
|
|
(7) |
Удельный расход однолинейного дренажа (рис. 9, б) несовершенного типа определяют по формуле
где b - ширина траншеи дренажа, м.
В случаях, когда:
- T < prg величиной логарифма в формуле (8) можно пренебречь;
- водоупор находится на большой глубине, величину Т можно принять равной разнице отметки лотка трубы и отметки низа песчано-щебеночной отсыпки в подошве фундамента или свайного ростверка [6].
Радиус депрессии R рассчитывают по формуле (5) или определяют по графику рис. 10. Кривую депрессии вычисляют по формуле
|
|
(10) |

Рис. 10. График определения радиусов депрессии линейных дрен
Расход дренажных вод для дренажной линии общей длиной L рассчитывают по формуле (6).
Расчет двухлинейных дрен выполняют с учетом двух независимых зон фильтрации: внешней - со стороны притока подземных вод с вышележащей территории и внутренней - со стороны берега. Соответственно используют формулы для определения расходов однолинейных дрен - головной и береговой.
Расчет положения сниженного уровня в междудренном пространстве выполняют по формулам, используемым для определения положения такого же уровня в систематическом дренаже. При этом вместо величины, равной половине расстояния между соседними систематическими дренами, для двухлинейных систем принимают величину, равную половине расстояния между головной и береговой дренами.
11.10 Контурные системы дренажа. Расход дренажных вод для контурных систем дренажа (кольцевого, прифундаментного) совершенного типа, расчетная схема которых показана на рис. 11, а, определяют по формуле
|
|
(11) |
В том случае, когда r0 больше R, знаменатель формулы (11) можно принять равным единице.
Приведенный радиус r0 определяют по формуле
|
|
(12) |
а радиус депрессии R - из уравнения
|
|
(13) |
где F - площадь, ограниченная контуром, м2.


Рис. 11. Расчетные схемы контурного (кольцевого, пристенного) дренажа:
а - совершенного типа; б - несовершенного
Уровень воды внутри контура приблизительно равен уровню воды в дрене, вне контура
|
|
(14) |
При х меньше r0 отношение х/r0 в формулах (14, 16) можно принять равным единице.
Расход дренажных вод для контурного дренажа несовершенного типа (рис. 11, б) определяют по формуле
|
|
(15) |
где rg - рассчитывают по формуле (9); r0 -по (12); R - из уравнения (13) или по графику (рис. 12); j = j1 - j2 , значения j1 и j2 определяют по графику (рис. 13 а, б).

Рис. 12. График определения радиуса депрессии контурных и пластовых дрен

Рис. 13.
Графики определения расчетных
функций: а - j1;
б - j2;
в - F
Депрессионную кривую вне контура рассчитывают по формуле (16), внутри контура (в центре) - по (18):
где F находят по графику (рис. 13, в).
11.11 Систематический дренаж. Расход дренажных вод систематического дренажа совершенного типа (рис. 14, а) рассчитывают по формуле
|
Q = 2WαL, |
(19) |
где L - длина дрены, м; a - половина расстояния между дренами, м;
|
|
(20) |
Расход дренажных вод систематического дренажа несовершенного типа (рис. 14, б) рассчитывают по выражению (19), определяя расстояние между дренами по формуле
|
|
(21) |
где
|
|
(22) |

Рис. 14. Расчетные схемы систематического дренажа:
а - совершенного типа; б - несовершенного
Для определения величины максимального понижения уровня воды в междудренном пространстве используют уравнения, полученные на основе формул (20), (21).Для упрощения расчетов можно воспользоваться графической методикой подбора расчетных параметров [18], учитывающей наклон депрессионной кривой в зависимости от характера осушаемых грунтов.
11.13 Пластовый дренаж. Расход пластового площадного дренажа совершенного типа (рис. 15, а) рассчитывают по формуле (11), депрессионную кривую - по (14). Расход пластового площадного дренажа несовершенного типа (см. рис. 15, б) при соотношении r0/Т ³ 0,5 рассчитывают по формуле
|
|
(23) |
где fпл.др находят по графику (рис. 16); R, r0 - по формулам (13) и (12).

Рис. 15. Расчетные схемы пластового дренажа:
а - совершенного типа; б - несовершенного

Рис. 16.
График определения величины гидравлического
сопротивления пластового дренажа
Если соотношение r0/Т < 0,5, расход площадного дренажа определяют по формуле
|
|
(24) |
Депрессионную кривую рассчитывают по формуле
|
|
(25) |
При x £ h + r0 формулу (25) следует ввести поправку на величину высачивания:
|
|
(26) |
где h0 - слой воды в пластовом дренаже, м; S0 - понижение УГВ в дренаже (расстояние от непониженного УГВ до уровня воды в пластовом дренаже, см. рис. 15), м.
Расход линейного пластового дренажа рассчитывают по формулам (3), (4), (8), соответственно для совершенных и несовершенных дрен. При этом радиус влияния R определяют из выражения
|
|
(27) |
где S - величина понижения УГВ, м.
Классификация и область применения схем прифундаментного дренажа
|
Размер защищаемого объекта, конфигурация, наличие выступающих пристроенных элементов |
Схема дренирования |
Условия площадки строительства (стесненные, наличие соседней застройки и т.п.) |
Особенности гидрогеологических условий |
Конструкция фундамента: ленточный, свайный, плита |
|
|
1 |
Ширина до 20 м, простая конфигурация |
А - линейная: |
- наличие соседней застройки вне зоны риска |
- выраженный боковой приток ГВ; |
- без ограничений |
|
1) вдоль фасада здания; |
|||||
|
2) подполом подвала только в сочетании с пластовым; |
- в стесненных условиях, при наличии соседней застройки в зоне риска, подвал размещен в части здания |
- выраженный боковой приток, смешанное питание ГВ |
- любой, кроме плиты; |
||
|
Б - контурная |
- наличие соседней застройки вне зоны риска |
- смешанное питание ГВ; |
- без ограничений |
||
|
с дренами вдоль фасада здания |
|||||
|
В - контурная с наличием участков дрен под полом подвала |
- в стесненных условиях, при наличии соседней застройки в зоне риска, подвал размещен в части здания |
- смешанное питание ГВ; |
- любой, кроме плиты; |
||
|
2 |
Ширина более 20 м, большая площадь, сложная конфигурация; |
А - контурно -линейная: |
- наличие соседней застройки вне зоны риска |
при любых источниках питания ГВ, независимо от положения водоупора; |
Без ограничений |
|
1) с контуром дрен по фасаду и линейными подпольными в виде: |
|||||
|
- пластовых призм; |
|||||
|
- трубчатых дрен; |
|||||
|
2) контурная с наличием участков под полом и линейными подпольными в виде: |
- в стесненных условиях, при наличии соседней застройки в зоне риска, подвал размещен в части здания |
при любых источниках питания ГВ, независимо от положения водоупора |
- любой, кроме плиты; |
||
|
- пластовых призм; |
|||||
|
- трубчатых дрен; |
|||||
|
Б - контурно- площадная: |
- наличие соседней застройки вне зоны риска |
при любых источниках питания ГВ, независимо от положения водоупора |
- без ограничений (оптимальна для фундамента в виде плиты); |
||
|
1) контурная вдоль фасада с пластовым площадным дренажом |
|||||
|
2) контурная с наличием участков контура под полом с пластовым площадным дренажом |
- в стесненных условиях, при наличии соседней застройки в зоне риска, подвал размещен в части здания |
- любой, кроме плиты; |
|||
|
В - Комбинированная |
- наличие соседней застройки вне зоны риска |
В сложных гидрогеологических условиях |
Без ограничений |
||
|
- сочетание схемы Б2 с линейными щебеночными призмами |
|||||
1 Абрамов С.К. Подземные дренажи в промышленном и городском строительстве. Изд-е 3-е, перераб. и доп. - М.: Стройиздат, 1973. - 280 с.
2 Абрамов С.К. Пластовые дренажи в подземном и городском строительстве. - М.: Стройиздат, 1964. - 280 с.
3 Абрамов С.К., Найфельд Л.Р., Скиргелло О.Б. Дренаж промышленных площадок и городских территорий. - М.: Гос. изд-во лит-ры по стр-ву и архит., 1954. - 428 с.
5 Дегтярев Б.М. Дренаж в промышленном и гражданском строительстве. - М.: Стройиздат, 1990. - 238 с.
6 Казанский М.А., Суров И.Е. Расчет и проектирование дренажа на промышленных площадках, М., Стройиздат Наркомпроса, М-Л., 1941. - 104 с.
7 Кольцевые дренажи в промышленном и гражданском строительстве (под общей редакцией С.К. Абрамова). - Изд. лит-ры по стр-ву., М, 1971. - 185 с.
8 Клиорина Г.И. Геотехническое водоотведение при восстановлении памятников архитектуры // Приложение к журн. «Реконструкция городов и геотехническое строительство». № 3. - СПб.; М.: Издательство АСВ, 2004. - 29 с.
9 Клиорина Г.И. Дренаж территории застройки: Учеб. пособие для студентов строительных специальностей и проектировщиков. - Изд-во СПб ГАСУ, 2006. - 207 с.
10 Клиорина Г.И. Дренажи в инженерной подготовке и благоустройстве территории застройки: Учеб. пособие. - М.: Изд-во АСВ; СПб.: СПб ГАСУ, 2002. - 144 с.
11 Львович Ю.М. Геосинтетические и геопластиковые материалы в дорожном строительстве: Обзор. информ. // Автомобильные дороги. - № 7 / «Информавтодор». М., 2002. - 116 с.
12 Методика расчета объемов организованного и неорганизованного дождевого, талого и дренажного стока в системы коммунальной канализации. - СПб.: Экология и право, 2000. - 52 с.
13 Пашкин Е.М. Инженерная геология (для реставраторов): Учебное пособие. - М.: Архитектура - С. 2005. - 264 с.
14 Подтопление территорий грунтовыми водами при строительстве и их инженерная защита // Тр. ВИНИТИ. - М., 1982, т. 8. - 110 с.
15 Прогнозы подтопления и расчет дренажных систем на застраиваемых и застроенных территориях: Справочное пособие к СНиП. - М.: Стройиздат, 1991. - 272 с.
16 Руководство по проектированию дренажей зданий и сооружений / Москомархитектура (указание № 48 от 20.11.2000). - М., 2000. - 24 с.
17 Шилин А.А., Зайцев М.В., Золотарев И.А., Ляпидевская С.В. Гидроизоляция подземных и заглубленных сооружений при строительстве и ремонте. - Тверь: Русская Торговая Марка, 2003. - 396 с.
18 Ферстер М. Справочная книга для инженеров-строителей. Перевод 5-го немецкого издания. Гл. редакция строительной литературы, М-Л., 1935. - 450 с.
19 Шрейдер В.А. Современные материалы для фильтров закрытого горизонтального дренажа, применяемые за рубежом: Обзор. информ. - М., 1981. - 72 с.
20 Штыков В.И., Пономарев А.Б. Об определении пригодности некоторых геоматериалов в качестве ЗФМ для закрытого дренажа. Сб. материалов 6-й междунар. конф. «Акватерра». - СПб.: Рестэк, 2003. - с. 236 - 237.
|
Ключевые слова: дренажи, обводнение, осушение, фундаменты, проектирование дренажа, системы и типы дренажа, схемы дренирования, конструкция, пластиковый дренаж |