РМД 52-02-2007 Санкт-Петербург
РЕГИОНАЛЬНЫЙ МЕТОДИЧЕСКИЙ ДОКУМЕНТ
ПРОЕКТИРОВАНИЕ И ВОЗВЕДЕНИЕ
ОГРАЖДАЮЩИХ КОНСТРУКЦИЙ ЖИЛЫХ И ОБЩЕСТВЕННЫХ ЗДАНИЙ
С ПРИМЕНЕНИЕМ ЯЧЕИСТЫХ БЕТОНОВ В САНКТ-ПЕТЕРБУРГЕ
Часть II
Предисловие
1 РАЗРАБОТАН Центром ячеистых бетонов (Вылегжанин В.П. - канд. техн. наук, директор, Пинскер В.А. - канд. техн. наук., научный руководитель), НП "Межрегиональная Северо-Западная строительная палата"
2 ВНЕСЕН методическим отделом Юридического управления Комитета по строительству Санкт-Петербурга.
3 ОДОБРЕН И РЕКОМЕНДОВАН к использованию распоряжением Комитета по строительству Правительства Санкт-Петербурга от 10.07.2007 № 147
4 СОГЛАСОВАН Государственная жилищная инспекция Санкт-Петербурга, Служба государственного строительного надзора и экспертизы Санкт-Петербурга.
5 ВВОДИТСЯ ВПЕРВЫЕ
Региональный методический документ (РМД) разработан с целью эффективного использования ячеистых (газо-, пено-) бетонов в строительных конструкциях при возведении жилых и общественных зданий в Санкт-Петербурге.
Разработка настоящего методического документа вызвана отсутствием нормативных документов, отвечающих современным требованиям по изготовлению изделий из ячеистых бетонов и применению их в конструкциях зданий.
Существующая информация о нормативных требованиях, изложенная в ГОСТ, СНиП, руководствах, инструкциях очень разрознена, во многом устарела и противоречива. Настоящий РМД преследует цель обновления существующих нормативных документов и объединения их в единый документ.
РМД выполнен в соответствии с требованиями действующих межгосударственных, федеральных и территориальных нормативных документов.
При разработке РМД рассмотрены и применены прогрессивные конструктивные решения однослойных и многослойных наружных ограждений (стен) с использованием мелких и крупных ячеистобетонных блоков и ленточных панелей. В РМД дается метод расчета несущей способности таких стен. Предложены методы контроля качества ячеистобетонных изделий, изложены требования и правила по отделке этих стен.
Настоящий РМД - II часть методического документа по проектированию и применению конструкций из ячеистых бетонов.
В следующих частях этого документа будут рассмотрены конструкции внутренних стен зданий из мелких, крупных блоков и панелей, перекрытия, покрытия, объемные блоки и другие изделия и конструкции.
1.1 Региональный методический документ (РМД) устанавливает показатели качества и безопасности изделий и конструкций из ячеистых бетонов, применяемых при проектировании и строительстве жилых и общественных зданий на территории Санкт-Петербурга.
1.2 Настоящий РМД распространяется на разработку технических условий, проектной и технологической документации на изделия и конструкции из ячеистых бетонов, а также на их изготовление и использование в строительстве, реконструкции и капитальном ремонте жилых и общественных зданий.
1.3 РМД предназначен для юридических лиц, независимо от организационно-правовой формы и формы собственности, принадлежности и государственности, граждан (физических лиц), занимающихся индивидуальной трудовой деятельностью или осуществляющих индивидуальное строительство, а также иностранных юридических и физических лиц, работающих в области проектирования и строительства на территории Санкт-Петербурга.
2.1 Перечень нормативных документов, на которые даны ссылки в данном документе, приведен в приложении А.
2.2 Перечень и единицы измерения, использующихся в тексте данного РМД символов, приведены в приложении Б.
3.1 Настоящий РМД распространяются на ячеистые бетоны (далее - бетоны).
Ячеистый бетон представляет собой легкий пористый искусственный каменный материал на цементном, известковом или смешанном вяжущем. Поры бетона подразделяются на гелевые, капиллярные и газовые. Гелевые образуются на месте воды, ушедшей на гидратацию силикатов при встраивании в кристаллическую решетку последних. Капиллярные поры возникают вследствие испарения избыточной воды затворения. Газовые поры образуются в газобетоне от выделения пузырьков водорода при химической реакции алюминиевого порошка с гидроксидом кальция; в пенобетоне - в результате перемешивания с пенообразующими или воздухововлекающими добавками. В ячеистых бетонах газовые поры (ячейки) занимают более 90 % общей пористости.
3.2 Материалы, бетоны, изделия и конструкции из них должны удовлетворять требованиям соответствующих ГОСТ, строительных норм, правил противопожарной безопасности, изложенных в СНиП 21-01, иметь гигиенические сертификаты, изготавливаться и применяться согласно настоящему РМД по технологической и технической документации, утвержденной в установленном порядке.
3.3 В I части РМД 52-01 приводятся общие технические требования к ячеистым бетонам и конструкциям из них.
- классификация (подпункт 4.1).
- физико-механические характеристики (подпункт 4.2).
- физико-технические характеристики (подпункт 4.3).
- материалы для изготовления (подпункт 4.4).
- рекомендуемые виды изделий и элементов из ячеистых бетонов для жилых и общественных зданий (раздел 5).
- технические требования к материалам блоков и стенам из них (подпункт 6.1).
4.1.1 Настоящий РМД (часть II) распространяется на применение стеновых мелких блоков из ячеистых бетонов автоклавного и неавтоклавного твердения марки по плотности не менее D500 в жилых и общественных зданиях Санкт-Петербурга.
4.1.2 Проектирование стен из блоков следует выполнять по СНиП II-22, по Пособию к СНиП 2.03.01-84 [1] и настоящему РМД (часть II).
4.1.3 Блоки стеновые мелкие из автоклавных и неавтоклавных ячеистых бетонов предназначены для кладки наружных и внутренних стен (в т.ч. перегородок) жилых и общественных зданий с относительной влажностью воздуха помещений не более 75 % при неагрессивной среде.
4.1.4 Применение блоков из негидрофобизированных ячеистых бетонов для кладки стен с мокрым режимом помещений, а также в местах, где возможно усиленное увлажнение бетона или наличие агрессивных сред, без специальной защиты не допускается.
4.1.5 Расчет элементов стен из блоков по предельным состояниям первой и второй группы следует производить в соответствии с требованиями СНиП II-22 или настоящих РМД (часть II); стены могут быть несущими и самонесущими.
4.1.6 Допустимую высоту (этажность) стен из блоков рекомендуется определять расчетом несущей способности наружных и внутренних стен с учетом их совместной работы.
4.1.7 Несущие стены из автоклавных ячеистобетонных блоков рекомендуется возводить высотой до 5-ти этажей включительно, но не более 20 м, самонесущие стены зданий - высотой до 9-ти этажей включительно, но не более 30 м.
4.1.8 Блоки из неавтоклавных ячеистых бетонов рекомендуется применять в несущих и самонесущих стенах зданий высотой до 3-х этажей включительно, но не выше 12 м.
4.1.9 Этажность зданий, в которых применяются блоки для заполнения каркасов или устройства самонесущих стен с поэтажным опиранием, не ограничивается.
4.1.10 Внутренние и наружные несущие стены зданий высотой до 5-ти этажей рекомендуется изготавливать из блоков классов по прочности не ниже В3,5 (только автоклавных) на растворе не ниже М100; при высоте зданий до 3-х этажей - не ниже В2,5, на растворе не ниже М75; при высоте до 2-х этажей - не ниже В2 на растворе не ниже М50.
Из блоков категории 1 (РМД 52-01 (таблица 6.5)) кладку следует вести на клею.
Для самонесущих стен зданий высотой более 3-х этажей класс блоков - не ниже В2,5, а высотой до 3-х этажей - не ниже В2.
4.1.11 Допустимая ширина простенков и столбов, выполненных из газобетонных блоков, определяется расчетным путем по СНиП II-22, но не менее 600 мм в несущих стенах и не менее 300 мм в самонесущих (за вычетом углублений для опирания перемычек над проемами).
4.2.1 Наружные стены выполняются из ячеистобетонных блоков по номенклатуре ГОСТ 21520 и РМД 52-01-2006 Санкт-Петербург (часть I).
4.2.2 Наружные стены, выполненные из мелких блоков, по типу кладки могут быть:
- толщиной в один блок (рисунок 4.1)
- толщиной в два разнотипных или однотипных блока (рисунки 4.2а, 4.2б)
4.2.3 При кладке стен толщиной в один блок рекомендуется "цепная" перевязка мелких блоков (рисунки 4.3, 4.4а, 4.4б, 4.4в) с перекрытием швов не менее чем на 100 мм.
4.2.4 При кладке стен толщиной в два блока рекомендуется обеспечить смещение вертикальных швов наружных блоков относительно вертикальных швов внутренних блоков в соответствии с рисунок 4.4в не менее чем на 100 мм.
4.2.5 Сопряжение наружных и внутренних стен рекомендуется осуществлять или перевязкой мелких блоков или с помощью металлических анкеров.
4.2.6 В качестве металлических анкеров можно использовать стальные скобы диаметром 4 - 6 мм, прибивные Т-образные анкеры или накладки из полосовой стали толщиной 4 мм. Связи между продольными и поперечными стенами (рисунок 4.4б) должны быть установлены, по крайней мере, в двух уровнях в пределах одного этажа.
Крепление перегородок к стенам допускается осуществлять Т-образными анкерами или металлическими скобами, которые устанавливаются в стену в уровне горизонтальных швов перегородок и стен.
4.2.7 Все металлические скобы, анкеры, накладки должны быть изготовлены из нержавеющей стали или из обычной стали с антикоррозионным покрытием.
4.2.8 Глубина опирания междуэтажных железобетонных плит перекрытия и плит покрытия на несущие стены из мелких ячеистобетонных блоков должна быть не менее 120 мм (рисунок 4.5).
4.2.9 Схема поэтажного опирания самонесущей стены на ячеистобетонные перекрытия приведена на рисунке 4.6.
4.2.10 Схемы узлов вариантов опирания плит из ячеистого бетона на несущие стены приведены на рисунке 4.7а, б.
4.2.11 Схема узла примыкания перекрытия к самонесущей стене приведена на рисунках 4.8, 4.9.
4.2.12 Схема поэтажного опирания самонесущей стены на ячеистобетонные перекрытия приведена на рисунке 4.10.
4.2.13 Для уменьшения эксцентриситета нагрузки от железобетонной плиты перекрытия (покрытия) на стены из мелких ячеистобетонных блоков и устранения околов в зоне опирания рекомендуется осуществлять опирание перекрытия через ряд кирпича, уложенный "плашмя" на растворе. При этом допускается сдвижка кирпича от внутренней грани стены к ее центру на 20 мм. Для зданий выше 3-х этажей в местах опирания плит перекрытий и перемычек рекомендуется усиливать шов арматурной сеткой диаметром 5 мм с размерами ячейки не более 70×70 мм.
Паз (ниша) глубиной 20 мм, образовавшийся под плитой перекрытия от сдвижки кирпича, рекомендуется заделывать древесноволокнистой рейкой или цементно-известково-песчаным раствором М25.
Торец железобетонной плиты перекрытия должен быть закрыт эффективным утеплителем с λ ≤ 0,06 Вт/м·°С.
4.2.14 Схема узлов опирания железобетонных плит перекрытия на армированные перемычки из ячеистого бетона приведена на рисунке 4.11 а, а на железобетонные перемычки - на рисунке 4.11 б. Во всех случаях рекомендуется предусмотреть дополнительное утепление торцов железобетонных плит перекрытия эффективным материалом (λ ≤ 0,06 Вт /м·°С).
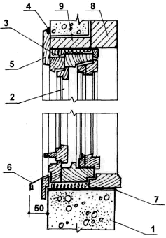
4.2.15 Кладка наружных стен проводится по цоколю здания высотой не менее 500 мм (рисунок 4.12).
4.2.16 Стены из ячеистобетонных блоков, включая перекрытия, должны быть гидроизолированы от капиллярного подсоса воды со стороны тяжелого бетона (рисунок 4.13).
4.2.17 Наружные стены из мелких ячеистобетонных блоков или торец ячеистобетонного перекрытия с целью защиты от увлажнения рекомендуется выполнять со свесом по отношению к цоколю здания не менее чем на 50 мм.
Первый ряд ячеистобетонных блоков рекомендуется укладывать на пояс, выполненный из железобетона или керамического кирпича (рисунок 4.12).
4.2.18 В случаях, когда значение местного напряжения под плитой перекрытия или под перемычкой превышает значение основного напряжения в стене на 20 % и более, а также в случаях, когда толщина монтажного шва 30 мм и более, рекомендуется в местах опирания этих плит и перемычек на стену укладывать сварную сетку из арматуры диаметром 4 - 6 мм с ячейкой не более 70×70 мм в растворный шов в уровне низа плиты или перемычки.
4.2.19 При кладке стен из блоков на растворе толщина горизонтальных швов принимается не менее 10 мм и не более 15 мм, в среднем 12 мм в пределах высоты этажа. Толщина вертикальных швов принимается от 8 до 15 мм, в среднем 10 мм. Горизонтальные и вертикальные швы между блоками рекомендуется тщательно заполнять пластичным легким раствором (в т.ч. пенобетонным). При кладке стен на клею толщина горизонтальных и вертикальных швов должна быть (2 ± 1) мм. В этом случае анкера и накладки должны быть утоплены в ячеистом бетоне путем прострожки пазов (канавок).
4.2.20 Схема узла сопряжения крыши с чердаком со стеной из ячеистобетонных блоков с чердачной крышей приведена на рисунке 4.14.
4.2.21 При однослойных стенах из ячеистобетонных блоков оконные и дверные проемы не имеют четвертей. Крепление деревянных коробок производится оцинкованными гвоздями или металлическими ершиками. Для этого в коробках просверливаются отверстия, а в ячеистобетонные блоки устанавливаются деревянные пробки. Схема заполнения оконного проема приведена на рисунке 4.15.
4.2.22. Зазоры между проемом и оконной (дверной) коробкой тщательно заполняются эффективным утеплителем с установкой упругих прокладок, а откосы отштукатуриваются. Подоконную часть наружной стены следует защищать сливом из оцинкованной (кровельной) стали.
Рисунок 4.1 - Кладка стен из мелких ячеистобетонных блоков толщиной в один блок
Рисунок 4.2а - Кладка наружных стен толщиной в 2 разнотипных блока
Рисунок 4.2б - Кладка наружных стен из однотипных
ячеистобетонных блоков
толщиной в 2 однотипных блока с перевязкой тычковыми блоками
1 - мелкий ячеистобетонный блок; 2 -
перемычка железобетонная несущая;
3 - рядовая ненесущая перемычка; 4 - перекрытие
Рисунок 4.3 - Кладка толщиной в один блок в зоне оконного проема
Рисунок 4.4а - Схема кладки угла здания
1 - Доборные блоки; 2 - Т-образный анкер 30×30×5, δ4
Рисунок 4.4б - Примыкание перегородки к стене
Рисунок 4.4в - Сопряжение наружной кладки толщиной в 2 однотипных блока и внутренней стены
1 - Мелкий ячеистобетонный блок; 2 -
Железобетонная плита перекрытия;
3 - Минераловатный утеплитель; 4 - Доборные блоки; 5 -
Кирпич или бетон
Рисунок 4.5 - Опирание железобетонных плит перекрытия на наружную стену из мелких блоков
1 - Мелкий ячеистобетонный блок; 2 -
Обертка толем; 3 - Балка деревянного перекрытия;
4 - Доборный блок; 5 - Асбестовая прокладка
Рисунок 4.6 - Опирание деревянных балок перекрытия на наружную стену из мелких блоков
1 - Мелкий ячеистобетонный блок; 2 - Плита перекрытия; 3 - Минераловатный утеплитель
Рисунок 4.7 - Вариант опирания плит из ячеистого бетона на наружную стену из мелких блоков
Рисунок 4.8 - Анкеровка наружной стены в ячеистобетонном перекрытии
1 - Мелкий
ячеистобетонный блок; 2 - Полосовой металлический анкер;
3 - Стальной нагель; 4 - Ячеистобетонная плита перекрытия
1 - Мелкий ячеистобетонный блок; 2 - Плита
перекрытия;
3 - Стальная скоба диаметром 6 мм; 4 - Раствор
Рисунок 4.9 - Анкеровка наружной стены к железобетонной плите перекрытия
1 - основные блоки; 2 - доборные блоки; 3
- плита перекрытия из ячеистого бетона;
4 - упругие прокладки из пороизола; 5 - раствор
Рисунок 4.10 - Схема кладки
наружных самонесущих с поэтажным опиранием стен
из мелких ячеистобетонных блоков при ячеистобетонных перекрытиях
а) блоки на растворе; б) блоки на клею
1 - железобетонная плита перекрытия; 2 -
ячеистобетонные перемычки;
3 - железобетонные перемычки; 4 - доборные блоки из ячеистого
бетона;
5 - основные блоки из ячеистого бетона; 6 - минераловатный
утеплитель;
7 - антисептированный брус; 8 - штукатурка; 9 - раствор
М25
Рисунок 4.11 - Схемы узлов опирания
железобетонного перекрытия
а) на перемычки из ячеистого бетона; б) на железобетонные перемычки
1 - Мелкий ячеистобетонный блок; 2 -
Доборный ячеистобетонный блок;
3 - Кирпич; 4 - Гидроизоляция; 5 - Теплоизоляция
Рисунок 4.12 - Схема узла цоколя
здания с опиранием первого
ряда ячеистобетонных блоков на кирпичи
1 - Мелкий ячеистобетонный блок; 2 - Плита
перекрытия; 3 - Доборный блок; 4 - Гидроизоляция;
5 - Толь; 6 - Шлак, песок; 7 - Штукатурка по сетке; 8
- Бетонный блок
Рисунок 4.13 - Устройство цоколя при железобетонном перекрытии
1 - Мелкий ячеистобетонный блок; 2 - Плита
перекрытия;
3 - Утеплитель; 4 - Скрутка из стальной проволоки
Рисунок 4.14 - Карнизный узел стеновой кладки
1 - Мелкий ячеистобетонный блок; 2 -
Оконный блок; 3 - Просмоленная пакля;
4 - Герметизирующая мастика; 5 - Наличник; 6 - Слив; 7
- Толь; 8 - Несущая перемычка;
9 - Ненесущая перемычка (для опирания кладки, но не перекрытия).
Рисунок 4.15 - Вариант установки оконного блока
4.3.1 Прочность стен из мелких ячеистобетонных блоков на внецентренное сжатие от вертикальных нагрузок и изгибающих моментов определяется по формуле
|
|
(4.1) |
где R - расчетное сопротивление сжатию кладки из блоков (таблица 6.6 РМД 52-01-2006 часть I);
γb2 - коэффициент условий работы, учитывающий длительность действия нагрузки ("Руководство по проектированию бетонных и железобетонных конструкций из ячеистых бетонов"), принимаемой равным 0,85;
γb9 - коэффициент условий работы для бетонных конструкций (не армированных расчетной арматурой), принимаемый равным 0,9;
γb11 - коэффициент условий работы, учитывающий влажность ячеистого бетона 25 % и более, принимаемый равным 0,85;
γc - масштабный коэффициент для столбов и простенков площадью сечения 0,3 м3 и менее (за вычетом длины площадок для опирания перемычек), принимаемый равным γc = 0,8;
b - ширина простенка (за вычетом длины площадок для опирания перемычек), а в случае "глухой" стены b = 1 пог. м. (с соответствующим сбором нагрузки на 1 пог. м);
h - толщина стены, м;
e0 - сумма случайного (0,02 м) и моментного M/Nn эксцентриситетов;
M - изгибающий момент от перекрытия и ветра в рассчитываемом сечении;
Nn = ΣNi - сумма всех вертикальных нагрузок на 1 пог. м;
mg - коэффициент, определяемый по формуле (4.2):
где Ng - расчетная продольная сила от длительных нагрузок;
e0g - эксцентриситет от действия длительных нагрузок;
η - коэффициент, принимаемый по таблице 4.1.
Таблица 4.1 - Зависимость коэффициента η от гибкости и процента армирования
|
Отношение |
Гибкость |
Коэффициент η для кладки из ячеистобетонных камней |
|
|
λh = l0/h |
λi= l0/i |
При проценте продольного армирования 0,1 и менее |
При проценте продольного армирования 0,3 и более |
|
≤ 10 |
≤ 35 |
0 |
0 |
|
12 |
42 |
0,05 |
0,03 |
|
14 |
49 |
0,09 |
0,08 |
|
16 |
56 |
0,14 |
0,11 |
|
18 |
63 |
0,19 |
0,15 |
|
20 |
70 |
0,24 |
0,19 |
|
22 |
76 |
0,29 |
0,22 |
|
24 |
83 |
0,33 |
0,26 |
|
26 |
90 |
0,38 |
0,30 |
|
Примечание - Для неармированной кладки значения коэффициентов η следует принимать как для кладки с армированием 0,1 % и менее. При армировании более 0,1 % и менее 0,3 % коэффициенты η определяются интерполяцией. |
|||
4.3.2 Расчетные высоты стен и столбов l0 при определении коэффициентов продольного изгиба φ в зависимости от условий опирания их на горизонтальные опоры следует принимать:
- при неподвижных шарнирных опорах l0 = H (рисунок 4.16 а);
- при упругой верхней опоре и жестком защемлении в нижней опоре: для однопролетных зданий l0 = 1,5H, для многопролетных l0 = 1,25H (рисунок 4.16 б);
- для свободно стоящих конструкций l0 = 2H (рисунок 4.16 в);
для конструкций с частично защемленными опорными сечениями - с учетом фактической степени защемления, но не менее l0 = 0,8H, где H - расстояние между перекрытиями или другими горизонтальными опорами, при железобетонных (ячеистобетонных) горизонтальных опорах (перекрытиях) - расстояние между ними в свету.
Примечание:
1 При опирании на стены железобетонных (ячеистобетонных) перекрытий принимается l0 = 0,9H, а при монолитных железобетонных перекрытиях, опираемых на стены по четырем сторонам, l0 = 0,8H.
2 Если нагрузкой является только собственный вес элемента в пределах рассчитываемого участка, то расчетную высоту l0 сжатых элементов, указанную в настоящем разделе, следует уменьшить путем умножения на коэффициент 0,75.
Рисунок 4.16 - Эпюры коэффициентов φ и mg сжатых стен и столбов из ячеистобетонных мелких блоков
а - шарнирно опертых на неподвижные опоры внизу и
вверху;
б - защемленных внизу и с упругой опорой вверху;
в - защемленных внизу и свободных вверху.
Коэффициент продольного изгиба определяется по формуле
|
|
(4.3) |
где φ - коэффициент продольного изгиба для всего сечения в плоскости действия изгибающего момента, определяемый по расчетной высоте элемента l0 по таблице 4.2;
φc - коэффициент продольного изгиба для сжатой части сечения, определяемый по фактической высоте элемента H (таблица 4.2) в плоскости действия изгибающего момента при отношении
![]()
или гибкости
![]()
где hc и ic - высота и радиус инерции сжатой части поперечного сечения в плоскости действия изгибающего момента, hc = h - 2e0.
Таблица 4.2 - Зависимость коэффициентов продольного изгиба φ и φc от упругих характеристик ячеистобетонной кладки α и гибкости
|
Отношение |
Гибкость |
Коэффициенты продольного изгиба φ и φc при упругих характеристиках кладки α |
|||
|
λh = l0/h(H/hc) |
λi = l0/i(H/ic) |
750 |
500 |
350 |
200 |
|
4 |
14 |
1 |
0,98 |
0,94 |
0,9 |
|
6 |
21 |
0,95 |
0,91 |
0,88 |
0,81 |
|
8 |
28 |
0,9 |
0,85 |
0,8 |
0,7 |
|
10 |
35 |
0,84 |
0,79 |
0,72 |
0,6 |
|
12 |
42 |
0,79 |
0,72 |
0,64 |
0,51 |
|
14 |
49 |
0,73 |
0,66 |
0,57 |
0,43 |
|
16 |
56 |
0,68 |
0,59 |
0,5 |
0,37 |
|
18 |
63 |
0,63 |
0,53 |
0,45 |
0,32 |
|
22 |
76 |
0,53 |
0,43 |
0,35 |
0,24 |
|
26 |
90 |
0,45 |
0,36 |
0,29 |
0,2 |
|
30 |
104 |
0,39 |
0,32 |
0,25 |
0,17 |
|
34 |
118 |
0,32 |
0,26 |
0,21 |
0,14 |
|
38 |
132 |
0,26 |
0,21 |
0,17 |
0,12 |
|
42 |
146 |
0,21 |
0,17 |
0,14 |
0,09 |
|
46 |
160 |
0,16 |
0,13 |
0,1 |
0,07 |
|
50 |
173 |
0,13 |
0,1 |
0,08 |
0,05 |
|
54 |
187 |
0,1 |
0,08 |
0,06 |
0,04 |
|
Примечание - Коэффициенты φ при промежуточных значениях гибкостей определяются по интерполяции. Упругие характеристики кладки α принимаются по таблице 6.7 РМД 52-01-2006 Часть I. |
|||||
Значения коэффициентов φ и mg для стен и столбов (простенков), опирающихся на шарнирные неподвижные опоры, с расчетной высотой h0 = H при расчете сечений, расположенных в средней трети высоты l0, следует принимать постоянными, равными расчетным значениям φ и mg, определенным для данного элемента. При расчете сечений на участках в крайних третях l0 коэффициенты φ и mg увеличиваются по линейному закону до единицы на опоре (рисунок 4.16 а).
Для стен и столбов (простенков), имеющих нижнюю защемленную и верхнюю упругую опоры, при расчете сечений нижней части стены или столба до высоты 0,7H принимаются расчетные значения φ и mg, а при расчете верхней части стены или столба значения φ и mg для этих сечений увеличиваются до единицы по линейному закону (рисунок 4.16 б).
Для свободно стоящих стен и столбов при расчете сечений в их нижней части (до высоты 0,5H) принимаются расчетные значения φ и mg, а в верхней половине величины φ и mg увеличиваются до единицы по линейному закону (рисунок 4.16 в).
В месте пересечения продольной и поперечной стен, при условии их перевязки или анкеровки, коэффициенты принимаются равными 1. На расстоянии H от пересечения стен коэффициенты φ и mg принимаются как для свободно стоящих опор. Для промежуточных вертикальных участков коэффициенты φ и mg принимаются по интерполяции.
В стенах, ослабленных проемами, при расчете простенков коэффициент φ принимается по гибкости стены.
4.3.3 Для узких простенков, ширина которых меньше толщины стены, производится также расчет простенка в плоскости стены, при этом расчетная высота простенка принимается равной высоте проема.
4.3.4 При знакопеременной эпюре изгибающего момента по высоте стены (рисунок 4.17) расчет по прочности следует производить в сечениях с максимальными изгибающими моментами различных знаков.
Рисунок 4.17 - Схема знакопеременной эпюры изгибающих моментов по высоте стены
4.3.5 Коэффициент продольного изгиба φc следует определять по высоте части элемента в пределах однозначной эпюры изгибающего момента при отношениях или гибкостях


где H1 и H2 - высоты частей элементы с однозначной эпюрой изгибающего момента;
hc1; ic1 и hc2; ic2 - высоты и радиусы инерции сжатой части элементов в сечениях с максимальными изгибающими моментами.
4.3.6 При расчете несущих и самонесущих стен следует учитывать случайный эксцентриситет, величину которого надо принимать равной 20 мм.
4.3.7
Наибольшая величина эксцентриситета (включая случайный) во внецентренно сжатых
стенах из ячеистобетонных мелких блоков без продольной арматуры в растянутой
зоне не должна превышать для основных сочетаний нагрузок 0,9y, для особых 0,95y; в
стенах толщиной 25 см и менее: для основных сочетаний нагрузок 0,8y, для особых 0,85y, при
этом расстояние от точки приложения силы до более сжатого края сечения для
несущих стен и столбов (простенков) должно быть не менее 2 см, где y - расстояние от центра тяжести
сечения элемента до его края в сторону эксцентриситета (для прямоугольных
сечений
).
4.4.1 Расчет прочности кладки из мелких ячеистобетонных блоков с косвенным (сетчатым) армированием производится по формуле (4.1) с заменой R на Rsk:
|
|
(4.4) |
где
- процент объемного армирования;
Vs и Vh - соответственно объемы арматуры и кладки.
Для сеток с квадратными ячейками из арматуры сечением Ast с размером ячейки "с" при расстоянии между сетками по высоте (шаг сеток) "s" (Vs = 2Ast·c и Vh = c2·s):
|
|
(4.5) |
Для сеток из стержней одинакового диаметра и прямоугольными ячейками размером c×c1
|
|
(4.6) |
4.4.2 Максимальное значение Rsk ограничивается величиной 1,24R.
4.4.3 Предельный процент косвенного армирования равен 0,3. Расчетные сопротивления Rsw косвенной арматуры принимаются по таблице 4.3.
Таблица 4.3 - Расчетные сопротивления косвенной арматуры
|
Класс ячеистого бетона по прочности на сжатие |
В1,5 |
В2 |
В2,5 |
В3,5 |
В5 |
В7,5 |
В10 |
В12,5 |
|
|
Расчетное сопротивление косвенной арматуры Rsw |
МПа |
37,5 |
50 |
62,5 |
87,5 |
125 |
187,5 |
250 |
310 |
|
кгс/см2 |
380 |
510 |
640 |
900 |
1270 |
1900 |
2550 |
3200 |
|
4.5.1 Расчет кладки на смятие при распределении нагрузки на часть площади сечения следует производить по формуле
|
Nc ≤ ψ·Rb,loc·Aloc1, |
где Nc - вертикальная сжимающая сила от местной нагрузки (опорная реакция);
ψ - коэффициент полноты эпюры давления от местной нагрузки, равный 1 при равномерном распределении давления и 0,5 при треугольной эпюре напряжений (под концами балок, прогонов, перемычек);
Aloc1 - площадь приложения сосредоточенной нагрузки;
Rb,loc - расчетное сопротивление кладки на смятие, определяемое по формулам
|
Rb,loc = φb·R, |
(4.8) |
|
|
(4.9) |
Aloc2 - расчетная площадь смятия, определяемая по рисунку 4.18.
В расчетную площадь Aloc2 включается участок, симметричный по отношению к площади смятия. При этом должны выполняться следующие условия:
- при местной нагрузке по всей ширине стены в расчетную площадь включается участок длиной не более толщины стены в каждую сторону от границы местной нагрузки (рисунок 4.18 а);
- при местной краевой нагрузке по всей ширине стены расчетная площадь Aloc2 равна площади смятия (рисунок 4.18 б) при отсутствии косвенного армирования и Aloc2 при наличии оного;
- при местной нагрузке в местах опирания концов прогонов и балок в расчетную площадь включается участок шириной, равной глубине заделки прогона или балки, и длиной не более расстояния между серединами пролетов, примыкающих к балке (рисунок 4.18 в);
Если расстояние между балками (шаг балок) превышает двойную ширину стены, длина расчетной площади определяется как сумма ширины балки и удвоенной ширины элемента (рисунок 4.18 г);
- при местной нагрузке, приложенной на части длины и ширины стены, расчетная площадь принимается согласно рисунку 4.18 д. При наличии нескольких нагрузок указанного типа расчетные площади ограничиваются линиями, проходящими через середину расстояний между точками приложения двух соседних нагрузок.
- при местной нагрузке от балок, прогонов, перемычек и других элементов, работающих на изгиб, учитываемая в расчете глубина опоры при определении Aloc1 и Aloc2 принимается не более 200 мм при отсутствии косвенного (поперечного) армирования кладки и не более 300 мм при наличии косвенного армирования кладки величиной не менее 0,2 %.
4.5.2 Если прочность кладки на сосредоточенные нагрузки, рассчитанная по формуле (4.7), недостаточна, то возможно ее повышение (но не более чем на 50 %) путем устройства распределительных бетонных плит (подушек), которые должны иметь толщину не менее 60 мм и класс бетона по прочности на сжатие не менее В10 с косвенным армированием не менее 0,3 %.
4.5.3 Глубина опирания балок и плит на стены из ячеистобетонных камней не должна быть менее 120 мм.
4.5.4 Под опорными участками элементов, передающих местные нагрузки на кладку, следует предусматривать слой раствора толщиной не более 15 мм, что должно быть указано в проекте.
Рисунок 4.18 - Расчетные схемы для местного сжатия
4.5.5 Заделка балок в газобетонную кладку с восприятием опорного изгибающего момента (защемление) запрещается.
4.5.6 В любом случае величина сосредоточенной нагрузки на газобетонную кладку не должна превышать 30 кН от одной балки.
4.6.1 Деформационные швы в стенах из ячеистых бетонов предусматриваются в целях устранения или уменьшения отрицательного влияния температурных и усадочных деформаций, осадок фундаментов, природных воздействий (ураганы, тектонические выбросы, наводнения), подземных выработок.
4.6.2 Температурно-усадочные швы устраиваются в местах возможной концентрации температурных и усадочных деформаций, которые могут вызвать в конструкциях недопустимые по условиям эксплуатации и долговечности разрывы, трещины, а также перекосы и сдвиги кладки.
4.6.3 Расстояние между температурно-усадочными швами следует определять расчетом в соответствии с указаниями [2] (приложение 11).
4.6.4 Максимальное расстояние между температурно-усадочными швами кладки из ячеистобетонных мелких блоков (камней), допустимое без расчета, принимается равным 50 м, при наличии армированных сеток через 2 ряда кладки - 60 м, при устройстве армированных поясов в уровне перекрытий сечением арматуры не менее 2 Ø 12АIII - 70 м.
4.6.5 Осадочные и швы для ослабления природных воздействий должны предусматриваться в местах изменения высоты зданий более чем на 6 м, а также между блок-секциями с углом поворота более 30°.
4.7.1 Защитно-декоративная отделка ячеистобетонной кладки производится:
- при соответствующем цвето-фактурном решении проектировщика;
- при кладке без расшивки швов;
- для увеличения морозостойкости ячеистого бетона блоков.
4.7.2 Защитно-отделочные покрытия по своим основным физико-техническим свойствам должны удовлетворять требованиям таблице 4.4.
Таблица 4.4 - Требования к защитно-отделочным покрытиям наружных стен из ячеистобетонных блоков
|
Свойства покрытия |
Метод определения |
Допустимые значения и единицы измерения |
|
Сопротивление паропроницанию |
По диффузии насыщенного пара в среду ненасыщенного (φn = 54 %) в стационарных условиях (20±2 °С) |
Rn ≤ 0,5м2·ч·Па/мг |
|
Водонепроницаемость через 24 часа (по средней влажности 30 мм-го слоя ячеистого бетона за отделкой) |
По водопоглощению в ванне образца с отделкой |
wоб ≤ 5 % |
|
Адгезия к ячеистому бетону |
Отрыв отделки после 14 дней хранения при t = 20 °С и φn = 54 % |
|
|
Морозостойкость |
Снижение прочности на отрыв после 35 циклов замораживания и отслаивания |
|
|
Устойчивость к разрыву по трещине в ячеистом бетоне |
Растяжение образца с отделкой при раскрывающейся трещине |
Целостность покрытия при раскрытии трещины над ним от 0 до 0,3 мм |
|
Стойкость к переменному увлажнению и высушиванию |
Погружение отделки в воду на 30 сек и высушивание кварцевыми лампами до t = 60 °С |
После
250 циклов |
4.7.3 Цвет отделочного слоя или покрытия, а также его фактура, должны соответствовать проектным решениям здания. На поверхности покрытия не должно быть видимых трещин, шелушений и отслоений, высолов, неоднородности.
4.7.4 До начала работ по отделке необходимо устранить все конструктивные дефекты узлов, швов и водосливов, вызывающие систематическое увлажнение стен атмосферной влагой.
4.7.5 Запрещается производить отделку стен во время дождя, зимой по наледи, при порывистом ветре, скорость которого превышает в среднем 10 м/с, в жаркую погоду, при температуре воздуха в тени выше 25 °С, при прямом воздействии солнечных лучей.
4.7.6 Для отделки поверхности стен из мелких ячеистобетонных блоков применяют смеси, содержащие следующие компоненты:
- клеящие вещества (цемент, известь, гипс, полимеризующиеся олигомеры), обеспечивающие адгезию и когезию;
- стойкие к ультрафиолету (обесцвечиванию) пигменты (минеральные и органические);
- наполнители, обеспечивающие паропроницаемость, трещиностойкость и требуемую текстуру покрытия;
- водоудерживающие добавки, способствующие требуемому набору прочности без пересушивания;
- гидрофобизаторы типа кремнеорганических жидкостей, препятствующие миграции влаги (как увлажнению, так и высолообразованию);
- биоцидные добавки, препятствующие биокоррозии;
- добавки-нейтрализаторы поверхностного заряда, препятствующие осаждению аэрозолей (пыли) на стенах;
- добавки-антиоксиданты, тормозящие окислительную деструкцию покрытия;
- добавки-пластификаторы, регулирующие удобоукладываемость смесей.
4.7.7 При изготовлении отделочных смесей на заводе ячеистых бетонов следует использовать материалы, применяемые для изготовления ячеистого бетона и отходы его производства (сырец от калибровки, дробленый брак), в т.ч. молотые высушенные отходы.
4.7.8 Перед началом отделки необходимо закончить работы по:
- остекление окон и лоджий;
- устройство фартуков, отливов, водостоков;
- заделку швов на фасаде дома;
- исправление всех повреждений поверхности стен (если таковые имеются);
- устройство кровли и козырьков над входами, укладка отмостки вокруг дома.
4.7.9 К отделке рекомендуется приступать только после оформления акта по выполнению подготовительных работ и готовности дома к отделке.
4.7.10 До начала отделочных работ все неокрашиваемые части стены (окна, двери и др.) рекомендуется закрыть полиэтиленовой пленкой или плотной бумагой ввиду того, что высохшее защитно-отделочное покрытие трудно удаляется.
4.7.11 Отделываемая поверхность должна быть чистой и сухой. Влажность ячеистого бетона в поверхностном слое на глубину 5 мм не должна превышать 8 % (по массе) при отделке красками и составами на органических растворителях и 20 % (по массе) при отделке водоэмульсионными красками.
4.7.12 На поверхности стен, подлежащих отделке, не должно быть:
- трещин в бетоне, за исключением местных, поверхностных шириной более 0,2 мм;
- жировых и ржавых пятен;
- пыли;
- раковин, выколов, впадин глубиной более 2 мм и диаметром более 5 мм и наплывов;
- задиров высотой более 1,5 мм.
4.7.13 При наличии на поверхности стен указанных выше дефектов их необходимо устранить. Ремонт отдельных выбоин, околов углов и ребер следует производить сложным раствором с добавлением 50 %-ной дисперсии ПВА в количестве 10 % от массы цемента. Состав раствора в масс.ч. равен 1:0,2:4 (цемент:известь:песок) и вода до подвижности раствора 8 - 10 см по конусу ГОСТ 5802.
4.7.14 При большом количестве дефектов производят выравнивание поверхности растворами, взаимозаменяемые составы которых приведены в таблице 4.5.
4.7.15 Компоненты раствора перемешивают в мешалке, загружая их в следующей последовательности: половинное количество воды и дисперсию ПВА перемешивают 2 - 3 мин, затем вводят песок, портландцемент (или смесь цементов, либо измельченный газобетон и остальную воду затворения. Полученную смесь перемешивают еще 5 мин. Подвижность раствора 8 - 10 см по конусу ГОСТ 5802.
4.7.16 Выравнивающий слой наносят на поверхность стены, огрунтованную дисперсией ПВА, разведенной водой в соотношении 1:3 (дисперсия:вода) по объему.
Таблица 4.5 - Состав раствора для отделки стен
|
Компоненты |
Составы в масс.ч. |
|
|
1 |
2 |
|
|
Портландцемент марки не ниже 300* |
1 |
1 |
|
Измельченный газобетон с удельной поверхностью 800 - 6000 см /г |
- |
1 |
|
Песок крупностью до 1,2 мм |
3 |
2 |
|
Дисперсия ПВА 50 %-ная пластифицированная |
0,35 |
0,2 |
|
Вода |
0,35 |
0,6 |
|
* Для ускорения твердения раствора рекомендуется ввести глиноземистый цемент в количестве 10 % от массы портландцемента. |
||
4.7.17 Оштукатуривание стен из мелких блоков рекомендуется производить только при кладке стен на растворе, швы которого имеют не одинаковую толщину.
Штукатурные растворы должны быть обязательно поризованными марки по плотности раствора D1500 и менее.
4.7.18 Поризованные растворы можно приготавливать путем перемешивания цемента и песка в соотношении 1:3 с введением в них либо порообразующих добавок или путем введения отдельно приготовленной пены.
4.7.19 Пена приготавливается в смесителях, оснащенных электродрелью с насадкой, путем перемешивания пенообразователя в воде. Пену добавляют в цементно-песчаный раствор до получения растворной смеси D1500.
4.7.20 Поверхности мелкоблочных стен, подлежащие оштукатуриванию, в целях лучшего сцепления штукатурки со стенами, следует обрабатывать составом дисперсии ПВА, 50 %-ной пластифицированной, разведенной водой в соотношении 1:3 по объему (дисперсия : вода), либо латексом СКС-65 ГП.
Наружную поверхность штукатурки уплотнять и железнить не рекомендуется.
4.7.21 Для последующей отделки оштукатуренных поверхностей стен могут быть применены любые составы сертифицированные производителями и удовлетворяющие требованиям, приведенным в таблице 4.4.
4.8.1 Наружные (несущие, самонесущие, навесные) стены, выполняемые из ячеистобетонных блоков (мелких блоков) на клею или на растворе, в случае недостаточного сопротивления теплопередаче, рассчитанного согласно СНиП 23-02 и ТСН 23-340, могут быть утеплены снаружи плитным теплоизоляционным материалом (рисунок 4.19).
Многослойные стены из ячеистобетонных блоков с дополнительной изоляцией из теплоэффективных материалов (ρ ≤ 150кг/м3) и вентилируемыми фасадами рекомендуется применять для зданий до 4-х этажей (высотой до 15 м).
4.8.2 Наружный теплоизоляционный слой с защитно-декоративным штукатурным окрашенным слоем должен удовлетворять требованиям таблицы 4.6.
4.8.3 Теплотехнический расчет стен с наружным утеплением выполняется по СНиП 23-02, ТСН 23-340, СП 23-101.
1 Основные
блоки из ячеистого бетона 2 Блоки из бетона
3 Эффективный утеплитель 4 Надподвальное перекрытие
5 Гидроизоляция 6 Защитно-декоративное покрытие
7 Песок, втопленный в битум
8 Штукатурка толщиной 4,5 мм (в цокольной части не менее 7 мм)
по щелочестойкой стеклосетке марок R, SD, SSA
9 Бортовой камень 10 Щебень
11 Крупный песок (карамзит, газобетонная крошка)
12 Дренажная труба 13 Клей
Рисунок 4.19 - Фрагмент стены из мелких ячеистобетонных блоков (на клею или на растворе) толщиной 200, 250, 300 мм с наружным утеплением
Таблица 4.6 - Требования к наружному теплоизоляционному слою с отделочным покрытием
|
Свойства покрытия |
Метод определения |
Допустимые значения и единицы измерения |
|
Сопротивление паропроницанию |
По диффузии насыщенного пара в среду ненасыщенного (φn = 54 %) в стационарных условиях (20 °С) |
Rn ≤ 0,6 м2·ч·Па/мг |
|
Адгезия к подоснове (к штукатурному слою) |
Отрыв наружного слоя от подосновы после 14 дней хранения при t = 20 °С и φn = 54 % |
|
|
Морозостойкость |
Снижение прочности на отрыв после 35 циклов замораживания и отслаивания |
|
|
Стойкость к переменному увлажнению и высушиванию |
Смачивание 30 сек и высушивание кварцевыми лампами до t ≤ 60 °С |
После
250 циклов |
4.8.4 Сопротивление теплопередаче ячеистобетонной стены с утеплителем определяется по формуле
|
|
(4.10) |
где
- термическое сопротивление слоя стены
из ячеистого бетона, м2·°С/Вт;
- термическое сопротивление слоя
утеплителя, м2·°С/Вт;
- термическое сопротивление
декоративной отделки, м2·°С/Вт;
r = 0,75 - коэффициент теплотехнической однородности слоя утеплителя, учитывающий влияние стыков, откосов проемов, гибких связей;
δλ, δy, δ∂ - толщина слоя, мм;
λλ, λy, λ∂ - расчетные коэффициенты теплопроводности ячеистобетонной кладки, утеплителя декоративной отделки, Вт/(м·°С), принимаемые по СП 23-101.
4.8.5 Теплоизоляционный слой должен иметь группу горючести НГ по ГОСТ 30244.
4.8.6 Плитная теплоизоляция, применяемая для утепления стен, в процессе эксплуатации здания должна в течение 100 лет сохранять до 90 % первоначальных показателей физико-химических и физико-технических свойств для зданий I категорий капитальности.
4.8.7 Необходимая толщина слоя теплоизоляции определяется расчетом по 4.8.4 с учетом конструктивных решений наружной стены.
4.8.8 Коэффициент теплотехнической однородности таких стен определяется или по ГОСТ 26254, или расчетом, или экспериментом.
4.8.9 Теплоизоляционные плиты приклеиваются к ячеистобетонной кладке, предварительно очищенной от грязи и пыли с дополнительным крепежом (дюбели, нагели, винты, шурупы, костыли, гвозди).
4.8.10 Для наклейки минераловатных плит рекомендуется использовать клеи, которые характеризуются прочностью сцепления со стеной не менее 0,9 МПа, морозостойкостью 75 циклов и величиной линейной усадки не более 0,5 %.
4.8.11 Клей следует наносить на теплоизоляционную плиту с помощью штукатурного шпателя валиком (шириной 4 - 6 см) по всему периметру с отступлением от краев на 2 - 3 см и дополнительно пятнами на остальную поверхность плиты, при этом площадь приклеенной поверхности плит должна быть не менее 20 %.
4.8.12 Установку плит в проектное положение осуществляют с прижатием к поверхности несущей части стены и выравниванием по высоте относительно друг друга киянками. Образование излишков выступающего клея недопустимо. Выравнивание по горизонтали теплоизоляционных плит может осуществляться с помощью временно закрепленной к несущей части стены деревянной рейки с помощью гвоздей, которые в дальнейшем выдергиваются клещами, или с применением цокольного профиля (изготовленного из алюминия или оцинкованной стали) толщиной 1 - 1,5 мм, который закрепляют к несущей части стены дюбелями, расположенными с шагом не более 300 мм.
4.8.13 При установке цокольных профилей необходимо оставлять зазор в стыке между ними 2 - 3 мм. Для выравнивания вдоль несущей части стены необходимо использовать соответствующие подкладочные шайбы из ПВХ, а для соединения профилей между собой - пластмассовые соединительные элементы.
После установки первого ряда теплоизоляционных плит на цокольный профиль зазор между поверхностью несущей части стены и профилем необходимо заполнить полиуретановой пеной.
4.8.14 Теплоизоляционные плиты устанавливают вплотную друг к другу. В случае если между ними образуются зазоры более 2 мм, их необходимо заполнить материалом используемого утеплителя или полиуретановой пеной.
4.8.15 Установку и наклеивание теплоизоляционных плит следует выполнять с перевязкой швов и устройством зубчатого защемления на внешних и внутренних углах стен.
4.8.16 Плиты теплоизоляционного материала, устанавливаемые в углах оконных и дверных проемов, должны быть цельными с вырезанными по месту фрагментами. Не допускается стыковать плиты на линиях углов оконных и дверных проемов.
4.8.17 Установка анкеров для крепления плит теплоизоляции должна выполняться после затвердевания клеевого состава. Перед установкой крепежа выполняется шабровка плит теплоизоляции при наличии неровностей в местах стыка.
4.8.18 Для крепления теплоизоляции к несущей части стены могут быть использованы другие виды анкеров, отвечающие требованиям таблицы 4.7.
Таблица 4.7 - Основные требования к дюбелям для крепления фасадной теплоизоляции
|
Вид анкеров |
Материал стены |
Глубина заделки не менее, мм |
Длина дюбеля, мм |
Диаметр не менее, мм |
Расчетное вырывающее усилие, кН не менее |
|
|
дюбеля |
шляпки |
|||||
|
Винтовой, забивной, распорный |
Пенобетон, газобетон D500 и выше |
110 |
150 - 340 |
8 |
60 |
0,35 |
4.8.19 Внешние углы здания с укрепленной теплоизоляцией, а также углы дверных и оконных проемов должны быть усилены пластмассовыми уголками с вклеенной сеткой, которые устанавливают встык по отношению друг к другу с нахлесткой сетки в месте стыка на 10 см.
4.8.20 После устройства усиливающего уголка на плоскости откосов дверных и оконных проемов следует наклеить усилительную диагональную армирующую сетку размером 20×30 см. При этом усилительная сетка в углах оконных и дверных проемов вклеивается без напуска на пластмассовую часть уголка.
4.8.21 При устройстве защитного слоя на поверхность закрепленного утеплителя наносится полутерком клеевой состав, на котором фиксируется и втапливается полотно стеклосетки. Второе и последующие полотна стеклосетки устанавливают с напуском 9 - 10 см на предыдущее. В местах примыкания защитного слоя к оконным и дверным блокам снимается фаска под углом 45° для уплотнительной ленты или герметизирующей мастики (допускается для уплотнения применять самоклеющиеся профили).
4.8.22 После отвердевания клеевого состава на поверхность защитного слоя наносят грунтовку или производят окраску с подготовкой.
4.8.23 До нанесения защитно-декоративного слоя необходимо выдержать технологический перерыв не менее 6 ч.
4.8.24 Основание под декоративную тонкослойную штукатурку или окраску должно соответствовать требованиям СНиП 3.04.01.
4.8.25 На заармированную стеклосеткой поверхность защитной штукатурки декоративная штукатурная смесь наносится теркой слоем, соответствующим наибольшему размеру зерна минерального наполнителя.
4.8.26 Работы по нанесению декоративной штукатурной смеси следует выполнять при температуре воздуха от +5 до +30 °С (для цветных штукатурок от +9 °С) и относительной влажности воздуха не более 80 %.
4.8.27 При выполнении работ следует избегать нанесения штукатурки на участки фасада, находящиеся под воздействием прямых солнечных лучей, ветра и дождя, для чего строительные леса следует закрывать ветрозащитной сеткой или пленкой.
4.8.28 Свеженанесенный штукатурный слой в течение трех суток (для белой и цветной штукатурок) и в течение 24 ч (штукатурки "под окраску") следует защищать от прямого воздействия дождя и пересыхания под воздействием прямых солнечных лучей.
4.8.29 Окрашивание штукатурки следует выполнять силикатными фасадными красками через 3 дня, а акриловыми - через 2 недели после устройства штукатурки.
4.8.30 Между штукатурным слоем и элементами заполнения проемов (окон, дверей) применяется профиль из ПВХ с уплотнительной лентой. Как вариант, предусматривается паз на всю толщину штукатурки, заполняемый уплотнительной лентой, герметиком или вулканизирующимися мастиками.
4.8.31 На высоту не менее 0,5 м от планировочной отметки защитный слой должен выполняться толщиной не менее 7 мм с устройством дополнительного слоя стеклосетки. Допускается также применение одного слоя усиленной стеклосетки.
4.8.32 Парапеты, пояса, подоконники и т.п. должны иметь надежные сливы из оцинкованной стали, которые обеспечивают отвод атмосферной влаги и исключают возможность ее стекания непосредственно по стене и затекания в теплоизоляцию.
4.8.33 Все открытые поверхности стальных элементов (если они не выполнены из нержавеющей стали), выходящих на фасад, и анкеры, устанавливаемые в кладке, должны быть защищены от коррозии металлизацией слоем толщиной 120 мкм или лакокрасочными покрытиями (СНиП 2.03.11 (подпункты 2.40 - 2.45)).
4.8.34 В случаях необходимости отказаться от "мокрых" процессов при отделке возможно применить другие виды защитно-отделочных слоев, удовлетворяющих требованиям таблицы 4.6, а именно:
- сухая фасадная (водо- и морозостойкая) штукатурка;
- плиты ЦСП (цементно-стружечные);
- деревянная вагонка;
- сайдинг;
- асбестоцементные листы;
- плитки из пористой керамики;
- плитки из автоклавного силикатного бетона, поризованного мелкозернистого или фибробетона толщиной 20 - 40 мм.
4.8.35 Крепление "сухого" отделочного слоя производится анкерами (дюбелями, нагелями, саморезами, костылями, болтами и т.п.) согласно таблице 4.7, количество которых должно обеспечить восприятие вертикальной (от собственного веса), горизонтальной в плоскости (от температурных деформаций) и ветровой (отсос) нагрузок.
4.8.36 Применение металлических листовых материалов, как экранирующих привычный геоэлектромагнитный фон среды и снижающий иммунитет, не допускается.
4.8.37 При недостатке паропроницаемости защитно-отделочного слоя возможно устройство так называемых вентилируемых фасадов, причем для обеспечения влагоудаления ("вентилируемости") толщина воздушной прослойки не должна быть менее 100 мм.
5.1.1 Крупные блоки должны удовлетворять требованиям, изложенным в ГОСТ 19010.
5.1.2 Крупные блоки, предназначенные для наружных стен жилых общественных зданий, изготавливаются из автоклавного ячеистого бетона.
5.1.3 Классифицируются крупные блоки по:
- несущей способности в стене: несущие, самонесущие, навесные;
- числу слоев: однослойные, двухслойные, переменной плотности (вариатропные);
- по назначению: простеночные, подоконные, перемычные, поясные, парапетные, подкарнизные, цокольные, вертикальные (на этажи).
5.1.4 Блоки подразделяют на следующие основные типы:
1БН - простеночные, рядовые,
2БН - подоконные,
3БН - перемычечные,
4БН - поясные,
5БН - парапетные,
6БН - подкарнизные,
7БН - цокольные;
Указанные обозначения типов наружных блоков, являющихся угловыми в стенах, следует дополнить прописной буквой У, а расположенных у деформационного шва - буквой Т, в лоджии - буквой Л. Например, 1БНУ - блок наружный простеночный угловой.
Обозначение типов наружных двухслойных блоков следует дополнить прописной буквой Д, вариатропных - буквой В. Например, 1БНД - блок наружный простеночный, двухслойный, 1БНУД - блок наружный простеночный угловой двухслойный, 7БНВ - блок наружный цокольный вариатропный.
5.1.5 Координационную длину и высоту блоков при отсутствии разделяющих элементов в местах их сопряжений со смежными конструкциями здания (например, стен перпендикулярного направления) следует принимать по таблице 5.1 кратными модулям 12М, 6М и 3М; в обоснованных случаях допускается принимать эти размеры кратными модулю М, равному 100 мм.
Координационную толщину блоков следует принимать по таблице 5.1 кратными модулю М и М/2; в обоснованных случаях допускается принимать толщину блока кратной модулю М/5 и 4М/5 (Домостроительный комбинат № 3).
Таблица 5.1 - Классификация и номенклатура крупных блоков
|
Тип блока по виду стены |
Тип блока по назначению (местоположению) в стене |
Координационные размеры, мм |
||
|
Длина |
Высота |
Толщина |
||
|
Наружный |
Простеночный, цокольный, рядовой |
600, 900, 1000, 1200, 1300, 1500, 1600, 1800, 2100, 3300, 3600 |
1000, 1300, 1500, 1600, 2200, 2800, 3000 |
240 - 400 |
|
Подоконный |
900, 1200, 1500, 1800, 2100, 2400 |
600, 800, 900, 1300, 1500 |
240 - 400 |
|
|
Перемычечный, поясной |
2100, 2400, 2700, 3000, 3300, 3600 |
400, 600, 800 |
240 - 400 |
|
|
Парапетный |
400, 900, 1200, 1500, 1800, 3000, 3300 |
900, 1200, 2400 |
240 - 400 |
|
|
Подкарнизный |
900, 1200, 1500, 1800, 2100 |
500, 600, 900, 1200 |
240 - 400 |
|
|
Примечания 1 Координационную длину угловых блоков определяют в зависимости от толщины блоков и конструкции угловых стыковых соединений. 2 Допускается изготовлять блоки координационными размерами, отличными от указанных в таблице 5.1, на действующем оборудовании при соответствующем обосновании. |
||||
5.1.6 Конструктивную длину и высоту блоков следует принимать равными соответствующему координационному размеру, уменьшенному (или увеличенному) на величину, зависящую от конфигурации и размеров стыковых соединений блоков между собой и со смежными конструкциями здания.
Конструктивную толщину блоков следует принимать равной соответствующей координационной толщине блоков, указанной в таблице 5.1.
5.1.7 Толщина изолирующего слоя наружных двухслойных или уплотненного слоя вариатропных блоков должна быть не менее 50 мм.
5.1.8 Блоки следует обозначать марками в соответствии с ГОСТ 23009.
Марка блока состоит из буквенно-цифровых групп, разделенных дефисами.
Первая группа содержит обозначение типа блока и его номинальные габаритные размеры (значения которых округляются до целого числа): длину и высоту в дециметрах, толщину - в сантиметрах.
Во второй группе указывают класс или проектную марку бетона по прочности на сжатие, обозначаемую цифровым индексом класса или марки бетона, вид бетона, обозначаемый буквой Я - автоклавный ячеистый бетон. Для двухслойных наружных блоков следует указывать класс, марку бетона наружного основного слоя блока.
Третья группа содержит дополнительные характеристики, обозначаемые буквами и отражающие особые условия применения блоков и их стойкость: С - к сейсмическим воздействиям (при расчетной сейсмичности 7 баллов и более); М - к воздействиям низких температур наружного воздуха (при строительстве в районах с расчетной зимней температурой наружного воздуха ниже минус 40 °С).
В третью группу, в случае необходимости, включают также обозначения конструктивных особенностей блока (наличие, вид и расположение отверстий в пустотных блоках; конфигурацию торцовых зон; наличие, вид и расположение проемов; наличие штрабы в местах примыкания смежных конструкций; вид и расположение арматурных выпусков и закладных изделий и другие). Эти особенности блока следует обозначать в марке арабскими цифрами или строчными буквами.
5.2.1 Блоки следует изготовлять в соответствии с требованиями ГОСТ 19010, настоящего РМД и технических условий на блоки конкретных типов по проектной и технологической документации, утвержденной в установленном порядке.
5.2.2 Блоки должны иметь заводскую готовность, соответствующую требованиям настоящего РМД и дополнительным требованиям проекта конкретного здания.
5.2.3 Блоки следует изготовлять из бетона классов или проектных марок по прочности на сжатие В1,5; В2,5; В3,5; В5 и В7,5, а уплотнительных слоев В10 и В12,5.
5.2.4 Фактическая прочность бетона (отпускная) должна соответствовать требуемой, назначаемой по ГОСТ 18105 в зависимости от нормируемой прочности бетона, указанной в рабочих чертежах, и от показателя фактической однородности прочности бетона (с учетом влажности, масштабного фактора и межпартионного коэффициента вариации).
5.2.5 Коэффициент вариации прочности для блоков из автоклавного ячеистого бетона высшей категории качества не должен превышать 12 %.
5.2.6 Поставку блоков потребителю следует производить при средней по толщине отпускной влажности не более 25 %.
5.3.1 Расчет стен по прочности из крупных блоков должен производиться для сечений, нормальных к их продольной оси. В зависимости от условий работы элементов они рассчитываются без учета, а также с учетом сопротивления бетона растянутой зоны.
Без учета сопротивления бетона растянутой зоны производится расчет внецентренно сжатых элементов с малыми эксцентриситетами (e0/h ≤ 0,25), где e0 - сумма моментного и случайного эксцентриситетов.
Сопротивление бетона сжатию условно представляется напряжениями, равными Rb, равномерно распределенными по части сжатой зоны сечения - условной сжатой зоне (рисунок 5.1) - сокращенно, именуемой в дальнейшем сжатой зоной бетона.
Рисунок 5.1 - Схема усилий и
эпюра напряжений в сечении, нормальном
к продольной оси внецентренно сжатого бетонного элемента,
рассчитываемого по прочности без учета сопротивлений бетона растянутой зоны
С учетом сопротивления бетона растянутой зоны производится расчет сжато-изогнутых элементов с большими эксцентриситетами (e0/h > 0,8), достижение предельного состояния которых характеризуется разрушением бетона растянутой зоны (появлением трещин).
Предельные усилия определяются исходя из следующих предпосылок:
- сечения после деформаций остаются плоскими;
- наибольшее относительное удлинение крайнего растянутого волокна бетона равно 2Rbt/Eb;
- напряжения в бетоне сжатой зоны определяются с учетом упругих деформаций бетона;
- напряжения в бетоне растянутой зоны распределены равномерно и равны Rbt;
Кроме того, должен производиться расчет бетонных элементов на местное действие нагрузки (смятие) согласно п. 4.5.
5.3.2 При расчете внецентренно сжатых бетонных элементов должен приниматься во внимание случайный эксцентриситет продольного усилия ea, равный 2 см.
5.3.3 При гибкости элементов l0/i > 14 необходимо учитывать влияние на их несущую способность прогибов в плоскости эксцентриситета продольного усилия и в нормальной к ней плоскости путем умножения значений e0 на коэффициент η (см. п. 5.3.6).
Применение внецентренно сжатых бетонных элементов не допускается при эксцентриситетах приложения продольной силы с учетом прогибов e0η превышающих:
- при основном сочетании нагрузок - 0,9y,
при особом сочетании - 0,95y,
где y - расстояние от центра тяжести сечения до наиболее сжатого волокна бетона, см.
5.3.4 Во внецентренно сжатых бетонных элементах в случаях, указанных в СНиП 52-01, необходимо предусматривать конструктивную арматуру в следующих случаях:
- в местах резкого изменения высоты стен (на участке не менее 1 м);
- в местах изменения высоты стен (на участке не менее 1 м);
- в бетонных стенах под и над проемами каждого этажа;
- в конструкциях, подвергающихся воздействию динамической нагрузки;
- у менее напряженной грани внецентренно сжатых элементов, если наибольшее напряжение в сечении, определяемое как для упругого тела, превышает 0,8Rb, а наименьшее составляет не менее 1МПа или оказывается растягивающим, при этом коэффициент армирования μ принимается не менее 0,0025 %.
5.3.5 Расчет внецентренно сжатых бетонных элементов (см. рисунок 5.1) должен производиться из условия
|
N ≤ αRbAb, |
где Ab - площадь сечения сжатой зоны бетона, определяемая из условия, что ее центр тяжести совпадает с точкой приложения равнодействующей внешних сил. Для элементов прямоугольного сечения Ab определяется по формуле
Внецентренно сжатые бетонные элементы, в которых появление трещин не допускается по условиям эксплуатации (рисунок 5.2) независимо от расчета из условия (1), должны быть проверены с учетом сопротивления бетона растянутой зоны (см. п. 5.3.1) из условия
|
|
(5.3) |
Рисунок 5.2 - Схема усилий и
эпюра напряжений в сечении,
нормальном к продольной оси изгибаемого (внецентренно сжатого)
бетонного элемента, рассчитываемого по прочности с учетом
сопротивления растянутой зоны бетона
Для элементов прямоугольного сечения условие (3) имеет вид
Rbt - расчетное сопротивление ячеистого бетона растяжению (РМД 52-01, часть I, таблица 4.3)
Rb - расчетное сопротивление ячеистого бетона сжатию (РМД 52-01, часть I, таблица 4.3);
η - коэффициент, определяемой по формуле (5.9);
α - коэффициент, принимаемый равным:
- для автоклавных ячеистых бетонов - 0,85;
- для неавтоклавных ячеистых бетонов - 0,75;
Wpl - момент сопротивления сечения для крайнего растянутого волокна с учетом неупругих деформаций растянутого бетона, определяемый в предположении отсутствия продольной силы по формуле
|
|
(5.5) |
|
|
(5.6) |
r - расстояние от центра тяжести сечения до ядровой точки, наиболее удаленной от растянутой зоны, определяемое по формуле
|
|
(5.7) |
положение нулевой линии определяется из условия
|
|
(5.8) |
Ib0 - момент инерции площади сечения сжатой зоны бетона относительно нулевой линии;
Sb0 и Sbt - статический момент площади сечения соответственно сжатой и растянутой зон бетона относительно нулевой линии;
x - высота сжатой зоны бетона.
5.3.6 Значение коэффициента η, учитывающего влияние прогиба на эксцентриситет продольного усилия e0, следует определять по формуле
|
|
(5.9) |
где Ncr - условная критическая сила, определяемая по формуле
|
|
(5.10) |
где φl - коэффициент, учитывающий влияние длительного действия нагрузки на прогиб элемента в предельном состоянии, равный
|
|
(5.11) |
но не более 1 + β.
Здесь β - коэффициент, принимаемый в зависимости от вида ячеистого бетона равным: для автоклавного - 1,3, для неавтоклавного - 1,5;
Ml - момент относительно растянутой или наименее сжатой грани сечения от действия постоянных и длительных нагрузок;
M - то же, от действия постоянных, длительных и кратковременных нагрузок;
l0 - расчетная длина элемента, определяемая по таблице 5.3;
δe - коэффициент, принимаемый равным e0/h, но не менее величины
|
|
(5.12) |
где Rb принимается в МПа.
Если
изгибающие моменты (или эксцентриситеты) от полной нагрузки и от суммы
постоянных и длительных нагрузок имеют разные знаки, то при абсолютном значении
эксцентриситета полной нагрузки e0,
превышающем 0,1h, принимают φl = 1; если это условие не удовлетворяется, значение φl принимается равным
, где φl1 определяют по формуле (5.11), принимая M равным произведению продольной силы N на расстояние от центра тяжести сечения до соответствующей
грани сечения.
При расчете бетонных элементов, имеющих несмещаемые опоры, значения коэффициента η принимаются для сечения в средней трети длины элемента по формуле (5.9), а для сечений в пределах крайних третей длины элемента - путем линейной интерполяции, принимая в опорных сечениях значения η равными единице.
Таблица 5.3 - Расчетная длина элемента
|
Характер опирания элементов |
Расчетная длина l0 |
|
Для стен, опирающихся вверху и внизу: |
|
|
а) при шарнирах на двух концах, независимо от величины смещения опор |
H |
|
б) при защемлении одного из концов и возможном смещении опор: |
|
|
для многопролетных зданий |
1,25H |
|
для однопролетных зданий |
1,5H |
|
Примечание - H - высота стены в пределах этажа за вычетом толщины плиты перекрытия. |
|
6.1.1 Панели полосовой (ленточной) разрезки, изготавливаемые из автоклавного ячеистого бетона, предназначены для возведения наружных самонесущих и навесных стен жилых и общественных зданий и должны удовлетворять требованиям ГОСТ 11024 и настоящего РМД.
6.1.2 При проектировании и возведении конструкций стен из панелей надлежит руководствоваться требованиями [1].
6.2.1 Панели классифицируют по следующим признакам, характеризующим их типы:
- назначению в здании;
- конструктивному решению;
- однородности.
6.2.2 По назначению в здании панели подразделяют на панели для:
- надземных этажей (подоконные, перемычечные, поясные);
- цокольного этажа или технического подполья (цокольные);
- чердака (парапетные, подкарнизные).
6.2.3 По конструктивному решению панели подразделяют на:
- цельные;
- составные.
6.2.4 По однородности панели подразделяют на:
- однослойные (однородные);
- слоистые (двухслойные).
- вариатропные (с переменной по толщине плотности)
Составные, двухслойные и вариатропные панели не рассматриваются, т.к. в Санкт-Петербурге не применяются.
6.2.5 Панели обозначаются следующим образом:
для надземных этажей:
1НС - однослойные;
1НС1 - рядовые;
1НС2 - подоконные;
1НС3 - перемычечные;
1НС4 - полосовые (поясные);
1НС5 - простеночные.
для цокольного этажа или технического подполья:
1НЦ - однослойные;
1НЦ7 - цокольные;
для чердака:
1НЧ - однослойные;
1НЧ5 - парапетные;
1НЧ6 - подкарнизные.
6.3.1 Координационные размеры (номинальные габаритные размеры) панелей при отсутствии разделяющих элементов в местах их сопряжений со смежными конструкциями здания (например, стен перпендикулярного направления, перекрытий и балконных плит) следует принимать по таблице 6.1.
Если в местах сопряжений панелей имеются разделяющие элементы, координационные длина и высота панелей должны быть равны соответствующим размерам, приведенным в таблице 6.1 и уменьшенным на величины, зависящие от координационных размеров разделяющих элементов.
6.3.2 Конструктивные длину и высоту панелей следует принимать равными соответствующему координационному размеру, уменьшенному (или увеличенному) на величину, зависящую от конфигурации и размеров стыковых соединений панелей между собой и со смежными конструкциями здания.
6.3.3 При изготовлении панелей по резательной технологии номенклатуру изделий рекомендуется подбирать исходя из условия максимального использования всего массива. При этом в одном массиве следует предусматривать резку на элементы одинаковой толщины.
6.3.4 При изготовлении панелей допускаются отклонения:
- по длине ±5 мм;
- по ширине (высоте) ±4 мм;
- по толщине ±3 мм;
- по параллельности граней ±2 мм;
- по волнистости граней ±2 мм на 2 м;
- по разности длин диагоналей ±5 мм;
- по пропеллерности ±4мм
- вертикальных сечений элементов ±1 мм на ширину одного элемента;
Таблица 6.1 -Координационные размеры изделий стен полосовой (ленточной) разрезки
|
Вид панели |
Наименование размеру панели |
Кратность координационного размера модулю (M = 100 мм) |
Координационные размеры, мм |
|
Полосовая |
Длина |
15M |
3000; 4500; 6000 |
|
6M |
3000; 3500; 4200; 4800; 5400; 6000; 6600 |
||
|
Высота |
3M, M |
600; 900; 1200; 1300; 1500; 1800 |
|
|
Простеночная |
Длина |
3M |
600; 1200; 1800 |
|
Высота |
3M |
1200; 1500; 1800; 2100; 2400 |
|
|
Полосовая и простеночная |
Толщина |
M/2 |
200; 250; 300; 350; 400 |
|
4M/5 |
160; 240; 320; 400 |
||
|
Примечания 1 В случаях, когда в таблице 6.1 приведено несколько модулей, координационный размер кратен одному из этих модулей. 2 Координационную длину угловых панелей определяют в зависимости от толщины панелей и конструкции угловых стыковых соединений. 3 Координационную длину простеночных панелей допускается принимать отличной от приведенной в таблице и в случаях, когда это обосновано особенностями решения фасадов зданий. |
|||
6.4.1 Для ленточных панелей и простенков следует принимать ячеистые бетоны классов по прочности на сжатие и марок по плотности согласно таблице 6.2.
Таблица 6.2 - Классы и марки ячеистых бетонов однослойных стеновых панелей
|
Тип панели |
Класс бетона по прочности на сжатие |
Максимальная марка по средней плотности |
Минимальная марка по морозостойкости |
|
Однослойная |
В1,5 |
D500 |
F25 |
|
В2,5 |
D600 |
F35 |
|
|
В3,5 |
D700 |
F50 |
6.4.2 Марки автоклавного ячеистого бетона панелей по морозостойкости следует принимать согласно таблице 6.2.
6.4.3 Коэффициент вариации по прочности ячеистого бетона панелей не должен превышать 15 %.
6.4.4 Коэффициент вариации по плотности не должен превышать 5 %.
6.4.5 Отпускная влажность ячеистого бетона в панели (средняя) не должна превышать 25 %.
6.4.6 Отпускная масса панелей не должна превышать указанной в рабочих чертежах более чем на 7 %.
6.4.7 Усадка ячеистого бетона не должна превышать 0,5 мм/м.
6.5.1 Ленточные панели имеют пространственный арматурный каркас.
6.5.2 Для армирования панелей следует принимать арматурную сталь следующих видов и классов:
- в качестве рабочей арматуры - стержневую арматуру классов А-III и A-IV по ГОСТ 5781, Ат-IIIС, Ат-IV и AT-IVC по ГОСТ 10884, арматурную проволоку классов Вр-I по ГОСТ 6727 и Врп-I по ТУ 14-4-1322, а также стержневую арматуру классов A-I и А-II по ГОСТ 5781 в случаях, когда использование арматуры других классов нецелесообразно или не допускается нормами проектирования;
- в качестве конструктивной - арматуру классов A-I и Вр-I.
6.5.3 Для закладных изделий панелей следует принимать углеродистую сталь обыкновенного качества или низколегированную согласно требованиям СНиП 2.03.01 в зависимости от условий эксплуатации панелей.
Рисунок 6.1 - Рекомендуемые варианты арматурных каркасов
6.5.4 Номинальную толщину защитного слоя бетона до арматуры (включая наружный защитно-декоративный или внутренний отделочный слои панелей из растворов или бетона), устанавливаемую в проектной документации, следует принимать не менее значений, указанных в таблице 6.3, за исключением номинальной толщины защитного слоя бетона от наружной поверхности панелей до арматуры в панелях цокольного этажа и технического подполья, которую следует принимать не менее 30 мм.
Таблица 6.3 - Минимальная номинальная толщина защитного слоя бетона до арматуры
|
Поверхность, от которой устанавливается толщина защитного слоя бетона |
Минимальная номинальная толщина защитного слоя бетона до арматуры, мм |
|
|
рабочей |
конструктивной |
|
|
Наружная (фасадная); поверхность, примыкающая к отделочному слою |
25 |
25 |
|
Внутренняя; торцевая; грань проема; поверхность, примыкающая к перекрытию |
25 |
20 |
|
Примечание - Требование таблицы 6.3 не распространяется на номинальную толщину защитного слоя бетона до косвенной (поперечной) арматуры опорных зон панелей от их верхней или нижней торцевой грани. |
||
6.5.5 При проектировании арматурных каркасов в части продольной арматуры следует выполнять конструктивные требования [1], при этом в изгибаемых элементах площадь сечения продольной растянутой арматуры (в процентах от площади сечения бетона) должна приниматься не менее
|
|
(6.1) |
где Rbn - нормативное сопротивление ячеистого бетона сжатию, МПа;
Rsn - нормативное сопротивление растяжению арматуры, МПа.
6.6.1 Панели из ячеистого бетона следует проектировать с учетом координационных размеров согласно таблице 6.1.
6.6.2 Необходимо учитывать условия эксплуатации конструкций и их статистическая надежность должна быть обеспечена правильным конструктивным решением здания и его элементов.
6.6.3 Необходимо предусматривать мероприятия по ограничению увлажнения вследствие:
- впитывания внутрь стены атмосферной влаги, особенно через стыки, карнизы и подоконники конструкций;
- впитывание влаги, конденсирующейся на внутренней поверхности;
- воздействие влаги производственных и хозяйственных процессов;
- впитывания грунтовой и рикошетной влаги.
6.6.4 Высота цоколя наружных стен должна быть не менее 50 см от планировочной отметки грунта или отмостки.
6.6.5 Наружная поверхность стены из газобетона, как правило, должна выступать на 50 мм над наружной поверхностью цоколя.
На линии цоколя наружных стен следует предусматривать гидроизоляцию против капиллярной влаги от фундамента и цоколя. Все горизонтальные участки стен, выступающие за их внешнюю поверхность более чем на 5 см, должны иметь уклон не менее 30 % и покрытия из оцинкованного железа.
6.6.6 Стены под окнами следует предохранять от увлажнения водонепроницаемыми подоконниками снаружи и там, где по внутренней стороне окна может стекать конденсационная вода. Подоконник или подоконная жесть должны иметь отлив с выступом 3 ÷ 5 см от отделанной поверхности стены.
6.6.7 В одно- и двухэтажных зданиях при отсутствии организованного водоотвода вынос карниза должен быть не менее 40 см от наружной поверхности стены. Здания с отметкой карниза более 10 м должны иметь организованный водоотвод.
6.6.8 Выступающие из кровли части стен из ячеистого бетона следует защищать на полную высоту (минимально на 50 см от кровли) боковой водостойкой гидроизоляцией и сверху водостойким покрытием с уклоном в сторону кровли и с отливами, выступающими от поверхности стены не менее чем на 3 см с обеих сторон стены.
6.6.9 Наружные проемы для окон, дверей, ворот и т.д. должны быть запроектированы таким образом, чтобы не допускать проникновения дождя и конденсационной влаги в стены. Пазуху за оконными, дверными и воротными коробками в отапливаемых зданиях тщательно законопатить и оштукатурить или покрыть деревянными рейками. Крепление коробок производится оцинкованными гвоздями (дюбелями) или обыкновенными (неоцинкованными) гвоздями в деревянные пробки, забитые в просверленные в ячеистом бетоне отверстия.
6.6.10 Горизонтальные швы несущих, самонесущих и ненесущих стен следует тщательно заполнять раствором проектной марки не ниже М100. Все вертикальные швы и горизонтальные швы навесных наружных стен необходимо герметизировать мастиками и уплотнительными прокладками из пороизола или гернита вместе с обычным раствором с добавлением дисперсии ПВА.
Вид и состав раствора должен соответствовать требованиям СП 82-101.
6.6.11 Трубы и другие коммуникации пропускаются через конструкцию из ячеистого бетона через отверстия, которые в зависимости от их размеров образованы в деталях во время их формования или вырезаны, выбурены или выпилены после их монтажа согласно рабочим чертежам. Зазоры между трубами или другими коммуникациями и ячеистым бетоном заполняются минеральной ватой толщиной не менее 3 см, с обеих сторон герметизируются мастикой и покрывается цементным раствором.
6.6.12 Для перекрывания проемов следует применить ячеистобетонные перемычки. Глубина опирания несущих перемычек на стены не должна быть менее 20 см.
Глубина опирания панелей покрытия и перекрытия на стены из ячеистого бетона (определяется по расчетам) должна быть не менее 12 см.
6.6.13 Простеночные блоки из ячеистого бетона длиной (высотой) не более 1,5 м, как правило, не имеют конструктивной арматуры. В блоках длиной (высотой) более 1,5 м следует предусматривать конструктивную арматуру - крест безопасности (два стержня диаметром 6 мм из стали класса A-I, расположенные крестообразно).
В блоках несущих стен первого и второго этажа 5-этажных зданий из ячеистого бетона (4-х этажных зданий первого этажа), а также в блоках при наибольших сжимающих напряжениях более 0,8Rb, следует предусматривать дополнительную арматуру из двух сварных сеток у торца блока при расстояниях между ними по высоте не более 7 см. Диаметр стержней принимается не менее 4 мм; размер ячейки 7×7 см толщина защитного слоя сетки у торца блока должна быть не более 20 мм.
Поясные панели могут армироваться по рисунку 6.1.
6.7.1 Наружные стены из ленточных панелей жилых и общественных зданий должны отвечать требованиям СНиП 23-02, СП 23-101, ТСН 23-340 и настоящего РМД по сопротивлению теплопередаче, воздухопроницанию, паропроницанию.
6.7.2
Конструктивная толщина панелей при проектировании устанавливается на основании
теплотехнического расчета, определяющего удельный расход тепловой энергии на
отопление здания
, МДж/м2
за отопительный период по СНиП 23-02 и ТСН
23-340.
6.7.3
Полученная величина
должна быть не
более нормируемого удельного расхода тепловой энергии на отопление здания
, МДж/м2 установленного в СНиП 23-02.
6.7.4 Величина
отношения
характеризует энергетическую
эффективность здания. К нормальному классу по энергетической эффективности
относятся здания, у которых
(СП
23-101, ТСН
23-340).
6.7.5 Расчетную равновесную влажность панелей из автоклавного газобетона, изготавливаемых на ЗАО "Домостроительный комбинат № 3" на цементном вяжущем и кварцевом песке без добавки гипса, для Санкт-Петербурга на основании экспериментальных данных допускается принимать w = 6 %.
6.7.6 Расчетные коэффициенты теплопроводности для таких панелей λ в условиях Санкт-Петербурга при марках газобетона D500 и D600 принимаются λ = 0,16 и 0,19 Вт/м·°С, соответственно.
6.7.7 Коэффициент теплотехнической однородности панелей полосовой разрезки (ленточных) устанавливается r = 0,95 (ГОСТ 26254).
6.7.8
Минимальное сопротивление теплопередаче стены R0
при подборе ее толщины принимается согласно ТСН
23-340
= 0,57Rreq (
= 1,76 м2·°С/Вт),
где Rreq - величина нормируемого приведенного сопротивления
теплопередаче стены (для Санкт-Петербурга Rreq = 3,08 м2·°С/Вт).
6.7.9 Здания серии 600.11, возводимые в Санкт-Петербурге Домостроительным комбинатом № 3, высотой от 10 до 19 этажей и шириной более 16 м с наружными стенами из навесных панелей полосовой разрезки (ленточных) толщиной 32 см из газобетона D600 с окнами с тройным остеклением (коэффициент остекления не более 0,23) по энергетической эффективности относятся к зданиям нормального класса (ТСН 23-340, СП 23-101), т.е. отвечают требуемому уровню теплосбережения.
6.8.1 Отделка панелей по своим физико-техническим и основным эксплуатационным свойствам должна удовлетворять требованиям, приведенными в таблице 4.4.
6.8.2 Выбор вида отделки определяется в рабочем проекте здания (архитектурным решением фасадов), наличием отделочных материалов и экономической целесообразностью применения и в соответствии с указаниями СН 277-80.
6.8.3 Выбор способа отделки зависит от метода изготовления панелей: горизонтальное формование или по резательной технологии.
6.8.4 Отделка панелей в горизонтальных формах подразделяется на отделку, выполненную в процессе формования (до автоклавной обработки) лицом вниз и на отделку лицом вверх по прикатанному вместе с отделочной присыпкой верхнему слою (горбушки) до автоклавной обработки или приклейкой присыпки после автоклавирования.
6.8.5 Отделка поверхностей панелей после их распалубки осуществляется следующими способами (с учетом п. 4.7.6):
а) окрасочными составами (водоэмульсионными, органическими, цементными, эмалевыми и гидрофобными красками), а также декоративными тонкослойными растворами;
б) мелкозернистыми цветными декоративными присыпками, которые наносятся на панели по специальному клеящему основанию.
6.8.6 Независимо от вида отделки, осуществляемой после распалубки, на поверхностях панелей не допускается:
- раковины глубиной более 2 мм, диаметром более 3 мм;
- трещины в бетоне шириной более 0,2 мм;
- местные наплывы, впадины глубиной более 2 мм и диаметром более 5 мм, "драконов зуб" высотой более 1,5 мм;
- газобетонная пыль;
- масляные пятна;
- отслоения поверхностной цементной или известковой пленки.
При наличии дефектов их рекомендуется устранить, произвести, при необходимости, ремонт и подготовить поверхность под отделку.
7.1 Силовые стыковые соединения наружных стен с внутренними несущими конструкциями подразделяются на узлы крепления, узлы соединения, узлы опирания и подвески.
Узлы крепления воспринимают горизонтальные усилия, действующие перпендикулярно плоскости наружной стены.
Узлы соединения обеспечивают связь между панелями в их плоскости.
Узлы опирания и подвески, наряду с отрывными усилиями, воспринимают также и вертикальные усилия, действующие в плоскости наружной стены.
7.2 Рекомендуемые стыковые соединения по своим конструктивным решениям разделяются на три группы.
а) Первая группа - стыковые соединения, в которых в качестве анкерных элементов используются металлические закладные (рисунок 7.1). При таком способе крепления передача усилий происходит через металлические связи.
б) Вторая группа - стыковые соединения с металлическими связями, прижимающими панели наружных стен к несущим конструкциям каркаса (рисунок 7.1 б).
Ячеистый бетон в месте стыкового соединения испытывает усилия сжатия и должен быть проверен на местное смятие под прижимными элементами связи.
в) Третья группа - стыковые соединения, в которых крепежные анкерные элементы забиваются в ячеистый бетон, либо замоноличиваются в заранее высверленных или отформованных отверстиях (рисунок 7.1 в). Такие стыковые соединения должны быть рассчитаны по несущей способности и деформативности с учетом прочности и податливости ячеистого бетона.
7.3 Забиваемые анкерные элементы (гвозди, нагели, скобы) способны воспринимать только поперечные усилия, направленные перпендикулярно их оси, и могут использоваться для узлов крепления.
При конструировании узлов крепления рекомендуется применять забиваемые анкерные элементы следующих размеров:
нагели - Ø 8 ÷ 10 мм, длиной 120 мм,
гвозди - Ø 6 мм, длиной 120 ÷ 150 мм,
скобы - Ø 12 мм, длиной 300 мм, забиваемые концы скобы длиной 100 ÷ 120 мм.
Накладные соединительные пластины выполняются в заводских условиях из листовой стали толщиной 4 ÷ 6 мм.
7.4 При конструировании узлов крепления и опирания на основе вклеенных нагелей необходимо соблюдать следующие правила:
- для узлов крепления, воспринимающих поперечные к оси нагеля усилия, могут быть использованы нагели гладкого и периодического профиля;
- для узлов опирания и узлов крепления, воспринимающих осевые нагрузки, можно применять нагели только периодического профиля;
- диаметр нагеля принимается не менее 25 мм, глубина заделки нагеля должна быть не менее 10 диаметров нагеля. Диаметр образованной цилиндрической полости должен быть на 3 - 4 мм больше диаметра нагеля. Нагели замоноличиваются в цилиндрическую полость, высверленную в ячеистобетонном элементе, с помощью так называемого жесткого клея (например, на основе эпоксидных либо дифенилкетоновых смол). Замоноличивание нагелей рекомендуется выполнять в заводских условиях. Можно применять цементный коллоидный клей.
|
|
|
|
б) Вторая группа |
|
|
в) Третья группа |
1 - наружная
ячеистобетонная панель (блок); 2 - внутренняя несущая конструкция;
3 - металлическая соединительная связь; 4 - металлический тяж; 5
- металлические детали
с прижимными устройствами; 6 - забиваемые, ввинчиваемые или вклеиваемые
анкерные элементы
Рисунок 7.1 - Принципиальные конструктивные схемы стыковых соединений
7.5 Анкерные элементы стыковых соединений третьей группы должны располагаться от боковых граней панели на расстоянии не менее 8 см. При устройстве стыков с несколькими анкерными элементами расстояние между их центрами должно быть не менее 10 см.
7.6 Узлы опирания с использованием вклеенных нагелей рекомендуется выполнять на расстоянии не менее 40 см от торцевой грани панели.
7.7 Расчет стыковых соединений третьей группы должен выполняться по несущей способности и деформативности. При этом производится раздельно расчет анкерных элементов крепления, с учетом работы окружающей анкерной зоны, и расчет прочности металлических связей, соединяющих ячеистобетонные панели между собой, либо с несущими конструкциями здания.
7.8 Расчет
анкерных элементов стыковых соединений по несущей способности состоит в
проверке условия, при котором расчетное усилие, действующее на стыковое
соединение, не должно превышать по величине несущую способность крепления
. Несущая способность крепления Nпр вычисляется в следующей последовательности:
- по таблице 7.1 определяется несущая способность
крепления при расположении анкерного элемента в неармированном ячеистом бетоне
;
- по схеме на рисунке 7.2 выполняется корректировка несущей способности крепления Kв в зависимости от удаленности конкретного анкерного элемента (или геометрического центра тяжести нескольких анкерных элементов крепления) от грани панели;
- наличие арматуры в анкерной зоне учитывается коэффициентом армирования na (таблица 7.2), который изменяется от 1 до 1,5 в зависимости от степени армирования окружающего бетона;
- при воздействии осевого усилия на стыковое соединение несущая способность анкерного элемента определяется по таблице 7.1 (поз. 3, 4) без учета армирования анкерной зоны и без поправки на удаленность от грани панели.
Таблица 7.1 - Характеристика узлов крепления
|
Схема узла крепления |
Анкерные элементы (поз.1) |
Неармированный ячеистый бетон В2,5 |
|
|
несущая способность |
предельное усилие по деформативности NΔ, кН |
||
|
1 |
2 |
3 |
4 |
|
1 |
скоба
Ø 12 мм |
1,60 |
2,40Δ0 |
|
2 |
2
гвоздя Ø 6 мм |
1,50 |
1,10Δ0 |
|
2
нагеля Ø 8 мм |
1,50 |
1,50Δ0 |
|
|
3 |
вклеенный
нагель Ø 25 мм |
4,00 |
9,00Δ0 |
|
4 |
вклеенный
нагель Ø 25 мм |
4,00 |
9,00Δ0 |
|
5 |
3
гвоздя Ø 6 мм |
3,00 |
3,50Δ0 |
|
3
нагеля Ø 8 мм |
4,00 |
5,20Δ0 |
|
|
3
нагеля Ø 10 мм |
4,00 |
6,50Δ0 |
|
|
Примечания 1 h3 - глубина заделки анкерного элемента в бетон; 2 Для ячеистых бетонов классов В1,5; В3,5; В5 и В7,5 следует принимать поправочные коэффициенты к величинам, указанным в столбцах 4 и 5, соответственно 0,60; 1,4; 1,9; 2,8. |
|||
Рисунок
7.2 - График зависимости между несущей способностью забивного
или вклеенного анкерного крепления и расстоянием "b"
от грани панели
7.9 Расчет по деформативности состоит в проверке условия, при котором нормативное усилие, действующее на стыковое соединение, не должно превышать по величине предельного усилия по деформативности NΔ, определенного по таблице 7.1 с учетом предельной расчетной деформативности стыкового соединения Δ0 (таблица 7.4). Деформативность узла крепления зависит от деформативности металлических соединительных связей и податливости (т.е. способности смещаться под нагрузкой) забиваемых анкерных элементов. В свою очередь податливость забиваемых анкерных элементов зависит от жесткости самих элементов и деформативных качеств окружающего ячеистого бетона.
Деформативность узла крепления не зависит от геометрического положения анкерных элементов в толще стены, а также от армирования анкерной зоны крепления.
7.10 Расчет прочности соединительной металлической связи производится в соответствии с методикой с учетом конструкции крепления концов связи между собой и к внутренней несущей конструкции по формуле:
|
N = mminRsAs, |
(7.1) |
где N - расчетное усилие;
mmin - значение коэффициента условий работы концов связей, закрепленных на внутренней несущей конструкции (см. таблица 7.3), учитывающее деформативность связей;
Rs - расчетное сопротивление стали связей на растяжение;
As - площадь поперечного сечения связей.
7.11 Все металлические детали стыковых соединений должны быть сделаны из нержавеющей стали или защищены от коррозии согласно требованиям СНиП 2.03.11 по защите строительных конструкций от коррозии. При выполнении сварки соединительных металлических связей в условиях стройплощадки должно осуществляться восстановление нарушенного антикоррозионного покрытия.
7.12 На рисунке 7.3 приведен пример узлов крепления и опирания наружных стен из газобетона ленточной разрезки, применяемой на ДСК-3 Санкт-Петербурга.
7.13 На рисунке 7.4 а приведен пример узла соединения, а на рисунке 7.4 б вариант узла крепления панелей (блоков) к поперечной несущей сборной железобетонной стене.
Таблица 7.2 - Зависимость коэффициентов от схемы армирования
|
|
Схема армирования |
Арматура |
Коэффициент армирования |
||
|
продольная поз. 1 |
поперечная поз. 2 |
местн. арм. поз. 3 |
|||
|
1 |
Ø 4 ÷ Ø 8 |
Ø 4 ÷ Ø 8 |
- |
na = 1,1 |
|
|
2 |
Ø 10 ÷ Ø 12 |
Ø 4 ÷ Ø 8 |
- |
na = 1,2 |
|
|
3 |
Ø 4 ÷ Ø 8 |
Ø 4 ÷ Ø 8 |
Ø 4 ÷ Ø 8 |
na = 1,5 |
|
Таблица 7.3 - Значения коэффициента mmin в зависимости от конструкции крепления концов связи
|
Крепление концов связей: к внутренней несущей конструкции |
Цельная связь |
Сваркой прямых концов в одну линию |
Сваркой отогнутых концов или прямых концов под углом |
Механическим зацеплением отогнутых концов без принудительной притяжки |
|
Приваркой к закладным деталям прямых концов связей диаметром 10 мм и более |
0,90 |
0,90 |
0,30 |
0,08 |
|
Приваркой к закладным деталям отогнутых под прямым углом концов связей диаметром 10 - 16 мм |
0,30 |
0,30 |
0,30 |
0,08 |
|
Креплением к закладным деталям с принудительной притяжкой (например, болтовое) |
1,0 |
- |
- |
0,80 |
|
Отгибом за элемент, арматуру или бетон без омоноличивания и приварки |
- |
0,08 |
0,08 |
- |
Таблица 7.4 - Величины предельной расчетной деформативности Δ0 стыковых соединений крупнопанельных зданий в мм для:
|
Узлов крепления |
Узлов соединений |
Узлов опирания и подвески |
||||||||||
|
|
|
|
||||||||||
|
в направлении отрыва при: |
в направлении отрыва при: |
в плоскости стены |
в направлении отрыва при: |
в плоскости стены |
в вертикальной плоскости для: |
|||||||
|
примыкании внутренней стены к наружной |
заведении внутренней стены в наружную |
примыкании внутренней стены к наружной |
заведении внутренней стены в толщу наружной |
для самонесущих стен |
для навесных стен |
примыкании внутренней стены к наружной |
заведении внутренней стены в толщу наружной |
для самонесущих стен |
для навесных стен |
узла подвески |
узла опирания |
|
|
I. Жилые здания |
||||||||||||
|
0,5 |
1,0 |
0,5 |
1,0 |
0,3 |
1,0 |
0,5 |
0,5 |
1,0 |
1,0 |
0,5 |
2,0 |
|
|
II. Общественные здания |
||||||||||||
|
0,5 |
1,5 |
0,5 |
1,5 |
1,0 |
1,0 |
0,5 |
0,5 |
1,0 |
1,0 |
1,0 |
2,0 |
|
Рисунок 7.3 - Узлы опирания и крепления стен по серии домов ЛГ 600.11
а) вертикальный разрез по
стене; б) узел крепления у торцов ленточной панели;
в) узел крепления простенка; г) узел опирания на железобетонные перекрытия
a - толщина панели (320 мм для ДСК-3)
Рисунок 7.4 - Примеры узлов
соединения и крепления
а) узел соединения; б) узел крепления
(обязательное)
Перечень основных нормативных
документов,
на которые имеются ссылки в тексте:
СНиП 2.03.01-84* Бетонные и железобетонные конструкции
СНиП 2.03.11-85 Защита строительных конструкций от коррозии
СНиП 21-01-97* Пожарная безопасность зданий и сооружений
СНиП 23-02-2003 Тепловая защита зданий
СНиП 3.04.01-87 Изоляционные и отделочные покрытия
СНиП 52-01-2003 Бетонные и железобетонные конструкции. Основные положения
СНиП II-22-81* Каменные и армокаменные конструкции
СН 277-80 Инструкция по изготовлению изделий из ячеистого бетона
ГОСТ 10884-94 Сталь арматурная термомеханически упроченная для железобетонных конструкций. Технические условия
ГОСТ 11024-84 Панели стеновые наружные бетонные и железобетонные для жилых и общественных зданий. Общие технические условия
ГОСТ 18105-86 Бетоны. Правила контроля прочности
ГОСТ 19010-82 Блоки стеновые бетонные и железобетонные для зданий. Общие технические условия
ГОСТ 21520-89 Блоки из ячеистых бетонов стеновые мелкие. Технические условия
ГОСТ 23009-78 Конструкции и изделия бетонные и железобетонные сборные. Условные обозначения (марки)
ГОСТ 26254-84 Здания и сооружения. Методы определения сопротивления теплопередаче ограждающих конструкций
ГОСТ 30244-94 Материалы строительные. Методы испытаний на горючесть
ГОСТ 5781-82 Сталь горячекатаная для армирования железобетонных конструкций. Технические условия
ГОСТ 5802-86 Растворы строительные. Методы испытаний
ГОСТ 6727-80 Проволока из низкоуглеродистой стали холоднотянутая для армирования железобетонных конструкций. Технические условия
ТСН 23-340-2003 Санкт-Петербург Энергетическая эффективность жилых и общественных зданий. Нормативы по энергопотреблению и теплозащите
СП 23-101-2004 Проектирование тепловой защиты зданий
СП 82-101-98 Приготовление и применение растворов строительных
РМД 52-01-2006 Проектирование и возведение ограждающих конструкций жилых и общественных зданий с применением ячеистых бетонов в Санкт-Петербурге. Часть I
[1] Пособие к СНиП 2.03.01-84 Пособие по проектированию бетонных и железобетонных конструкций из ячеистых бетонов. НИИЖБ, ЦНИИСК, М., 1986
[2] Пособие к СНиП II-22-81 Пособие по проектированию каменных и армокаменных конструкций. ЦНИИСК, М., 1987
(обязательное)
Таблица Б1 - Указатель обозначений основных символов
|
Обозначение |
Расшифровка обозначения |
Единицы измерения |
|
B |
Класс бетона по прочности на сжатие |
МПа |
|
D |
Марка бетона по плотности |
кг/м3 |
|
F |
Марка бетона по морозостойкости |
количество циклов |
|
Eb |
Начальный модуль упругости бетона при сжатии и растяжении |
МПа |
|
αbt |
Коэффициент линейной температурной деформации бетона |
отн. ед./°С |
|
ν |
Коэффициент Пуассона |
безразмерный |
|
G |
Модуль сдвига бетона |
МПа |
|
Rb |
Расчетные сопротивления бетона для предельных состояний первой группы сжатию |
МПа |
|
Rbt |
Расчетные сопротивления бетона для предельных состояний первой группы растяжению |
МПа |
|
Rsh |
Расчетные сопротивления бетона для предельных состояний первой группы срезу |
МПа |
|
Rbn, Rb,ser |
Нормативные сопротивления бетона и расчетные для предельных состояний второй группы сжатию |
МПа |
|
Rbtn, Rbt,ser |
Нормативные сопротивления бетона и расчетные для предельных состояний второй группы растяжению |
МПа |
|
Rshn, Rsh,ser |
Нормативные сопротивления бетона и расчетные для предельных состояний второй группы срезу |
МПа |
|
λ |
Коэффициент теплопроводности |
Вт/(м·°С) |
|
Dк |
Средняя плотность кладки |
кг/м3 |
|
R |
Расчетное сопротивление сжатию кладки |
МПа |
|
Nn |
Сумма всех вертикальных нагрузок |
кН |
|
M |
Изгибающий момент от перекрытия и ветра |
кН·м |
|
Ru |
Временное сопротивление сжатию кладки |
МПа |
|
E |
Расчетный модуль деформации кладки |
МПа |
|
ε |
Относительная деформация кладки |
отн. ед. |
|
ν1 |
Коэффициент ползучести кладки |
безразмерный |
|
P |
Опорная реакция перемычки |
кН |
|
A |
Площадь опорной зоны перемычки |
м2 |
|
R0 |
Приведенное сопротивление теплопередаче |
м2·°С/Вт |
|
μ |
Коэффициент паропроницаемости |
мг/м·ч·Па |
|
Ru |
Сопротивление воздухопроницанию |
м2·ч·Па/кг |
|
φ |
Коэффициент продольного изгиба |
безразмерный |
|
λh, ηi |
Гибкость стены |
безразмерный |
|
μa |
Процент объемного армирования |
% |
|
|
Сопротивление теплопередаче |
м2·°С/Вт |
|
r |
Коэффициент теплотехнической однородности |
безразмерный |
|
b |
Ширина простенка |
м |
|
h |
Толщина стены |
м |
|
|
Удельный расход тепловой энергии на отопление здания |
МДж/м2 |
|
|
Нормируемый удельный расход тепловой энергии на отопление здания |
МДж/м2 |
|
Rreq |
Нормируемое приведенное сопротивление теплопередаче стены |
м2·°С/Вт |
Содержание