МИНИСТЕРСТВО ТОПЛИВА И ЭНЕРГЕТИКИ
РОССИЙСКОЙ ФЕДЕРАЦИИ
РОССИЙСКОЕ
АКЦИОНЕРНОЕ ОБЩЕСТВО
ЭНЕРГЕТИКИ И ЭЛЕКТРИФИКАЦИИ «ЕЭС РОССИИ»
СПРАВОЧНО-ИНФОРМАЦИОННЫЕ МАТЕРИАЛЫ
ПО ПРИМЕНЕНИЮ ВАКУУМНЫХ ДЕАЭРАТОРОВ
ДЛЯ ОБРАБОТКИ ПОДПИТОЧНОЙ ВОДЫ
СИСТЕМ ЦЕНТРАЛИЗОВАННОГО
ТЕПЛОСНАБЖЕНИЯ
![]()
ОРГРЭС
Москва 1997
Разработано Ульяновским государственным техническим университетом (УлГТУ) и Самарским филиалом НПО «Гигиена и профпатология» Минздрава РФ (СФ НПО ГиП)
Исполнители В.И. ШАРАПОВ, О.Н. КУВШИНОВ (УлГТУ), СП. БЕЛОТЕЛОВ, И.Ф. СУХАЧЕВА, А.В. СТАВСКИЙ, И.В. ВАРЛАШИНА (СФ НПО ГиП)
Противокоррозионная обработка подпиточной воды систем теплоснабжения в течение последних двух десятилетий осуществляется, как правило, с применением струйно-барботажных вакуумных деаэраторов.
Анализ опыта применения вакуумных деаэраторов свидетельствует о наличии серьезных проблем, с которыми приходится сталкиваться при проектировании и эксплуатации ТЭЦ и котельных с этими аппаратами. Наиболее острой проблемой является обеспечение требуемой эффективности противокоррозионной обработки при вакуумной деаэрации подпиточной воды. Часто низкая эффективность вакуумной деаэрации обусловлена недостатками применяемых схем теплофикационных установок с вакуумными деаэраторами. Так, принятая в начальный период освоения вакуумных деаэраторов в качестве типового решения схема теплофикационной установки с нерегулируемым подогревом исходной воды перед деаэраторами во встроенных пучках конденсаторов турбин и использованием в качестве греющего агента для деаэрации сетевой воды из подающей магистрали неработоспособна в течение большей части года. В холодное время года, при малых пропусках пара в конденсаторы, не обеспечивается необходимая для деаэрации температура исходной воды, а в теплое время года температура сетевой воды в подающем трубопроводе недостаточна для использования этой воды в качестве греющего агента в вакуумных деаэраторах.
Предпринятая на многих ТЭЦ попытка устранить этот недостаток путем установки дополнительных подогревателей исходной воды и греющего агента, подключенных к производственным отборам пара турбин, приводит к существенному понижению тепловой экономичности электростанций.
В последнее время на первый план вышла проблема эпидемической надежности открытых систем теплоснабжения при вакуумной деаэрации подпиточной воды. Санитарные правила устройства и эксплуатации систем централизованного горячего водоснабжения (СанПиН № 4723-88) предписывают для обеспечения эпидемической надежности горячего водоснабжения подвергать подпиточную воду атмосферной деаэрации при температуре не менее 100 °С, т.е. запрещают использование вакуумных деаэраторов в открытых системах теплоснабжения. В то же время расчеты показывают, что замена широко распространенной на электростанциях страны вакуумной деаэрации на атмосферную связана с колоссальными издержками и на практике не может быть осуществлена.
Публикуемые рекомендации, разработанные по заданию Департамента науки и техники РАО «ЕЭС России», позволяют в значительной мере решить перечисленные выше проблемы, связанные с вакуумной деаэрацией подпиточной воды систем теплоснабжения.
Разработанные с участием специалистов по гигиене водоснабжения «Временные рекомендации по применению вакуумных деаэраторов в схемах подготовки подпиточной воды для открытых систем теплоснабжения» (разд. II) определяют условия, при которых вакуумная деаэрация может применяться без снижения эпидемической надежности централизованного горячего водоснабжения. Согласование этих рекомендаций с одним из центральных органов государственного санитарно-эпидемиологического надзора позволило снять запрет на использование вакуумных деаэраторов для обработки подпиточной воды открытых систем водоснабжения.
«Рекомендации по выбору схем теплофикационных установок с вакуумными деаэраторами» (разд. III) позволяют выбрать оптимальные схемы включения вакуумных деаэраторов на ТЭЦ, обеспечивающие технологически необходимый режим деаэрации подпиточной воды при высокой экономичности теплофикационных установок.
Формулы определения тепловой экономичности теплофикационных установок с вакуумными деаэраторами приведены в приложении.
1. Применение вакуумных деаэраторов для приготовления подпиточной воды допускается только при использовании в качестве исходной воды питьевого качества.
2. В проектах и инструкциях по эксплуатации водоподготовительных установок с вакуумными деаэраторами должны быть указаны мероприятия, исключающие возможное загрязнение подпиточной воды в процессе ее подготовки и транспортирования.
3. Суммарная емкость баков-аккумуляторов и трубопроводов подпиточной воды до и после баков-аккумуляторов должна обеспечивать выдержку воды не менее 1 ч при температуре 70 °С или не менее 2 ч при температуре 60 °С.
4. При отключении вакуумных деаэраторов на ремонтно-профилактические работы температура прямой сетевой воды должна быть не ниже 70 °С.
5. Применение вакуумных деаэраторов на ТЭЦ предполагает обязательную противокоррозионную обработку воды способами и реагентами, разрешенными Минздравом РФ и СанПиН № 4723-88.
6. В схемах подготовки подпиточной воды с применением вакуумных деаэраторов должен быть налажен лабораторно-производственный контроль, предусмотренный п. 4.11 и 4.12 СанПиН № 4723-88.
Примечания: 1. Отбор проб воды на бактериологический анализ сопровождается обязательным фиксированием истинной температуры воды. - 2. Учет бактериологических показателей производится через 48 ч с момента первичного посева.
Рекомендации содержат предложения и технические решения по выбору схем теплофикационных установок с вакуумными деаэраторами подпиточной воды тепловых сетей и добавочной питательной воды котлов ТЭЦ, обеспечивающие надежную и экономичную деаэрацию этих технологических потоков воды.
1. Типы вакуумных деаэраторов
1.1. Вакуумные деаэраторы, применяемые в теплофикационных установках для подготовки подпиточной воды тепловой сети и добавочной питательной воды котлов, должны соответствовать ГОСТ 16860-88 [1].
1.2. В установках со средним расходом деаэрируемой воды более 100 м3/ч целесообразно применение серийно выпускаемых струйно-барботажных вакуумных деаэраторов горизонтального типа конструкции ЦКТИ-СЗЭМ единичной производительностью 400 или 800 м3/ч [2]. При их применении производительность деаэрационной установки необходимо предусматривать с запасом не менее 30 %. Рекомендуемый запас по производительности - 50 %.
1.3. В установках со средним расходом деаэрируемой воды менее 100 м3/ч применяются струйно-барботажные вакуумные деаэраторы вертикального типа конструкции ЦКТИ единичной производительностью от 5 до 300 м3/ч [2]. В связи с существенным влиянием нагрузки деаэраторов на качество деаэрации запас деаэрационной установки с этими аппаратами по производительности должен быть не менее 50 %. Рекомендуемый запас по производительности - 100 %.
1.4. Применение вакуумных деаэраторов других типов допускается при наличии данных, подтверждающих их соответствие ГОСТ 16860-88 [1]. Запас деаэрационной установки по производительности должен быть не менее 30 %.
2. Технологические режимы вакуумной деаэрации
2.1. Технологические режимы вакуумной деаэрации должны обеспечивать качество деаэрации подпиточной воды тепловой сети и добавочной питательной воды котлов в соответствии с требованиями ПТЭ [3].
2.2. При умягчении подпиточной воды тепловой сети методами натрий-катионирования или известкования, а также при использовании исходных вод с бикарбонатной щелочностью 0,7 - 1,2 мг-экв/л, не требующих снижения щелочности и декарбонизации, температурный режим вакуумной деаэрации в установках со струйно-барботажными деаэраторами горизонтального типа конструкции ЦКТИ-СЗЭМ устанавливается исходя из необходимости достижения нормативной глубины десорбции растворенного кислорода. Параметры режима рекомендуется поддерживать следующими:
температура исходной воды перед вакуумными деаэраторами 35 - 45 °С;
температура воды, используемой в качестве греющего агента в вакуумных деаэраторах, 90 - 100 °С;
подогрев деаэрируемой воды в деаэраторах 10 - 20 °С;
температура деаэрированной воды 50 - 55 °С.
2.3. При обработке подпиточной воды тепловой сети методами подкисления, частичного Н-катонирования или Н-катионирования с «голодной» регенерацией, а также при использовании исходной воды с бикарбонатной щелочностью менее 0,7 мг-экв/л, температурный режим водоподготовки должен обеспечивать эффективную работу как вакуумных деаэраторов, так и декарбонизаторов. Параметры режима при использовании струйно-барботажных деаэраторов горизонтального типа должны поддерживаться следующими [4, 5]:
температура исходной воды перед декарбонизаторами и вакуумными деаэраторами 35 - 50 °С;
температура воды, используемой в качестве греющего агента в вакуумных деаэраторах, 90 - 100 °С;
подогрев деаэрируемой воды в деаэраторах 10 - 20 °С;
температура деаэрированной воды 50 - 60 °С.
2.4. При вакуумной деаэрации подпиточной воды для открытых систем теплоснабжения, исходя из требовании эпидемической надежности систем централизованного горячего водоснабжения, температура подпиточной воды должна быть не менее 60 °С при выдержке воды в баках-аккумуляторах при этой температуре не менее 2 ч или не менее 70 °С при выдержке воды в баках не менее 1 ч [6].
2.5. При подготовке добавочной питательной воды котлов ТЭЦ с использованием струйно-барботажных деаэраторов горизонтального типа должны поддерживаться следующие параметры температурного режима водоподготовки:
температура исходной воды перед декарбонизаторами 30 °С;
температура обессоленной воды перед деаэраторами 35 - 45 °С;
температура воды, используемой в качестве греющего агента в вакуумных деаэраторах, 90 - 100 °С (при использовании в качестве греющего агента пара из отборов турбин его параметры определяются характеристиками отбора турбины, из которого пар подается на деаэраторы);
подогрев деаэрируемой воды в деаэраторах 10 - 20 °С;
температура деаэрированной воды 50 - 55 °С.
2.6. При деаэрации воды в струйно-барботажных вакуумных деаэраторах вертикального типа конструкции ЦКТИ рекомендуется поддерживать следующий температурный режим:
температура обрабатываемой воды перед деаэраторами 50 - 60 °С;
температура воды, используемой в качестве греющего агента в вакуумных деаэраторах, 120 - 150 °С;
подогрев деаэрируемой воды в деаэраторах 15 - 30 °С;
температура деаэрированной воды 70 - 80 °С.
При наличии в водоподготовительной установке декарбонизаторов температура исходной воды перед ними должна быть 30 - 35 °С при обработке добавочной питательной воды котлов, а при обработке подпиточной воды тепловой сети 35 - 50 °С (меньшее значение относится к установкам с ионообменным умягчением воды, а большее - к установкам с подкислением).
3. Требования к схемам теплофикационных установок с вакуумными деаэраторами
3.1. При проектировании и эксплуатации схем теплофикационных установок с вакуумными деаэраторами подпиточной воды тепловых сетей и добавочной питательной воды котлов должны обеспечиваться следующие основные условия:
качество обработки воды в соответствии с требованиями ПТЭ [3], которое достигается поддержанием технологически необходимых температур теплоносителей вакуумной деаэрационной установки;
стабильность температурного режима вакуумной деаэрационной установки, независимость от сезонных изменений температуры сетевой воды и режима работы турбоустановок;
надежность, простота и удобство обслуживания оборудования, входящего в схемы подогрева потоков подпиточной и добавочной питательной воды;
тепловая экономичность вакуумной деаэрации, в основном определяющаяся эффективностью использования низкопотенциальных потоков пара для подогрева теплоносителей, участвующих в деаэрации; при оценке экономичности должны также учитываться капитальные затраты на теплофикационные установки с вакуумными деаэраторами.
3.2. При использовании сетевых подогревателей современных турбин типа Т и ПТ для подогрева потоков подпиточной или добавочной питательной воды должны строго выполняться требования заводов-изготовителей турбин по режимам и безопасности эксплуатации этих подогревателей и турбоустановок в целом.
4. Схемы теплофикационных установок с вакуумными деаэраторами подпиточной воды тепловых сетей
4.1. При разработке схем подогрева исходной воды перед вакуумными деаэраторами и декарбонизаторами следует руководствоваться следующими рекомендациями:
на ТЭЦ с турбинами, работающими по тепловому графику нагрузок, и значительным расходом подпиточной воды в качестве основного варианта следует применять регулируемый подогрев исходной воды во встроенных или основных пучках конденсаторов турбин;
на ТЭЦ с турбинами, работающими по электрическому графику нагрузок, в дополнение к нерегулируемому подогреву исходной воды во встроенных пучках конденсаторов рекомендуется применять схемы подогрева исходной воды в основных [7] (рис. 1) или дополнительных [8] (рис. 2) нижних сетевых подогревателях турбин, или в водоводяных теплообменниках водой, нагретой в сетевых подогревателях [9] (рис. 3). Выбор схемы определяется величиной расхода подпиточной воды и составом оборудования ТЭЦ;
на ТЭЦ с расходом подпиточной воды менее 400 м3/ч при нагрузке вакуумных деаэраторов менее 60 % их номинальной производительности и невозможности организовать подогрев исходной воды паром отопительных отборов турбин или сетевой водой в поверхностных теплообменниках допускается применение контактного подогрева исходной воды путем присадки к ней горячей сетевой воды [10];
применение пара производственных отборов турбин для подогрева исходной воды перед вакуумными деаэраторами нецелесообразно из-за существенного понижения при этом экономичности теплофикационных установок.
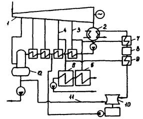
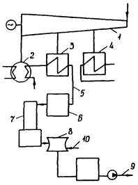
Рис. 1. Схема теплофикационной установки с подогревом исходной воды в нижнем сетевом подогревателе:
1 - турбина; 2 - конденсатор; 3 и 4
- нижний и верхний сетевые подогреватели; 5 - трубопровод исходной воды; 6 -
узел умягчения или снижения щелочности;
7 - декарбонизатор; 8 - вакуумный деаэратор; 9 - подпиточный
трубопровод; 10 - трубопровод греющего агента
4.2. Подогрев воды, используемой в качестве греющего агента для вакуумных деаэраторов, рекомендуется производить в сетевых подогревателях одной из турбин ТЭЦ. В теплое время года, когда температура воды, подаваемой в тепловую сеть, ниже температуры греющего агента для вакуумной деаэрации, для его подогрева рекомендуется выделять верхний сетевой подогреватель, а сетевую воду после нижнего сетевого подогревателя направлять в тепловую сеть через байпас верхнего сетевого подогревателя [11] (рис. 4).
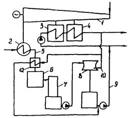
Рис. 2. Схема теплофикационной установки с подогревом исходной воды в дополнительном нижнем сетевом подогревателе:
11 - дополнительный нижний сетевой подогреватель. Остальные обозначения см. рис. 1
При малом расходе сетевой воды, используемой в качестве греющего агента для вакуумной деаэрации, когда не обеспечивается минимально допустимая загрузка верхнего сетевого подогревателя турбины, а также при применении вертикальных струйно-барботажных вакуумных деаэраторов конструкции ЦКТИ, работающих при повышенной температуре греющего агента, подогрев греющего агента перед вакуумными деаэраторами может быть организован в отдельных поверхностных теплообменниках паром производственного отбора.
Рис. 3. Схема теплофикационной установки с подогревом исходной воды водой, нагретой в сетевых подогревателях турбины:
12 - водоводяной подогреватель исходной воды. Остальные обозначения см. рис. 1
Рис. 4. Схема подогрева греющего агента для вакуумных деаэраторов в верхнем сетевом подогревателе теплофикационной установки:
13 - подающий сетевой трубопровод; 14 - байпас верхнего сетевого подогревателя. Остальные обозначения см. рис. 1
5. Схемы теплофикационных установок с вакуумными деаэраторами добавочной питательной воды котлов
5.1. В качестве первой ступени подогрева исходной воды перед установками умягчения или обессоливают следует использовать встроенные пучки конденсаторов теплофикационных турбин.
5.2. На ТЭЦ с относительно небольшим расходом добавочной питательной воды котлов дополнительный подогрев исходной и обессоленной воды после встроенных пучков конденсаторов целесообразно осуществлять в пароводяных теплообменниках, подключенных к отопительным отборам турбин. В качестве греющего агента для вакуумной деаэрации рекомендуется использовать основной конденсат турбин после подогревателя низкого давления № 3 или питательную воду из деаэратора повышенного давления [12]. Подогрев добавочной питательной воды перед деаэраторами повышенного давления следует производить в подогревателях низкого давления № 3 и 4 (рис. 5).
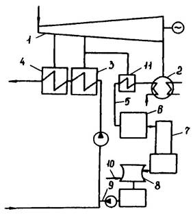
Рис. 5. Схема подогрева исходной воды и греющего агента перед вакуумными деаэраторами в теплофикационной установке с небольшим расходом добавочной питательной воды котлов:
1 - турбина; 2 - конденсатор; 3 и 4 - нижний и верхний
отопительные отборы; 5 и 6 - нижний и верхний
сетевые подогреватели; 7 и 9 - подогреватели исходной и обессоленной воды;
8 - обессоливающая установка; 10 - вакуумный
деаэратор; 11 - трубопровод греющего агента;
12 - деаэратор повышенного давления
5.3 На ТЭЦ с расходом добавочной питательной воды более 1000 м3/ч для ее подогрева рекомендуется выделять одну из теплофикационных турбоустановок. В сетевых подогревателях этой турбоустановки целесообразно подогревать до 100 - 120 °С добавочную питательную воду после вакуумных деаэраторов перед подачей ее в деаэраторы повышенного давления [13]. Часть воды после верхнего сетевого подогревателя следует использовать в качестве греющего агента для вакуумных деаэраторов и водоводяных теплообменников исходной и обессоленной воды [9] (рис. 6).
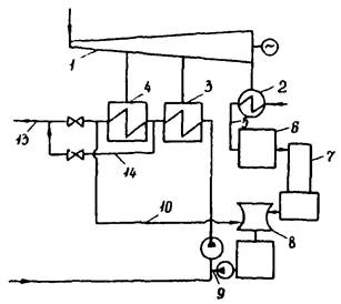
Рис. 6. Схема подогрева потоков добавочной питательной воды котлов с помощью сетевых подогревателей теплофикационной установки:
1 - турбина; 2 - сетевые подогреватели; 3 - деаэратор повышенного давления; 4 - вакуумный деаэратор; 5 и 6 подогреватели исходной и обессоленной воды
Справочное
ТЕПЛОВАЯ ЭКОНОМИЧНОСТЬ ТЕПЛОФИКАЦИОННЫХ УСТАНОВОК С ВАКУУМНЫМИ ДЕАЭРАТОРАМИ
1. Оценку тепловой экономичности теплофикационных установок с вакуумными деаэраторами целесообразно производить по величине удельной выработки электроэнергии на тепловом потреблении, получаемой за счет отборов пара на подогрев 1 м3 обрабатываемой воды:
(1)
где
- сумма мощностей, развиваемых теплофикационной турбоустановкой
на тепловом потреблении за счет отборов пара
на подогрев теплоносителей водоподготовительной
установки, кВт;
- мощность, затрачиваемая на привод насосов,
перекачивающих в контуре установки воду, используемую в качестве греющего
агента для вакуумной деаэрации, кВт;
Gподп - расход обрабатываемой подпиточной или добавочной питательной воды, м3/ч.
При определении
в целях сравнения экономичности различных вариантов схем
температура деаэрированной воды tдв в сравниваемых вариантах должна быть, как
правило, одинаковой. Если же значения tдв различаются, то для вариантов с
при определении
должна быть учтена мощность Nтф дв, получаемая
при нагреве подпиточной воды на величину
после деаэрационной установки совместно с обратной сетевой водой. В установках
для деаэрации добавочной питательной воды конечной температурой целесообразно
принимать температуру воды за деаэратором повышенного давления.
2. Значение мощности Nтф i, развиваемой паром при подогреве теплоносителей на i-м участке схемы водоподготовительной установки (исходной воды перед умягчением и декарбонизацией, греющего агента для вакуумной деаэрации и др.), определяется по формуле
(2)
где Di, ii - расход, кг/с, и энтальпия, кДж/кг, пара, используемого для подогрева потоков подпиточной или добавочной питательной воды на i-м участке схемы;
ic - энтальпия свежего пара, кДж/кг;
ηэ и ηм - электрический и механический КПД;
Kr - коэффициент, учитывающий увеличение мощности за счет регенеративного подогрева конденсата подогревателей водоподготовительной установки.
3. Различие сравниваемых вариантов в экономичности определяется по разности Δvтф для этих вариантов:
(3)
где
- годовой расход подпиточной или добавочной
питательной воды, м3;
Δвэ - разность удельных расходов топлива на выработку электроэнергии по конденсационному и теплофикационному циклам, г/(кВт∙ч);
Цт - цена условного топлива, руб./т.
На рис. П1 в качестве примера приведены значения vтф для различных схем подогрева потоков подпиточной воды тепловой сети перед вакуумными деаэраторами в теплофикационных установках.

Рис. П1. Удельная выработка электроэнергии за счет отборов пара для разных схем подогрева потоков подпиточной воды:
а - схема с подогревом исходной воды и греющего агента паром производственного отбора; б - схема с подогревом исходной воды и греющего агента паром отопительного отбора постоянного давления турбины ПТ-60-130/13; в - схема подогрева греющего агента для вакуумных деаэраторов и водоводяных подогревателей исходной воды в сетевых подогревателях турбоустановки; г - схема подогрева исходной воды в нижнем, а греющей воды - в верхнем сетевых подогревателях; д - схема подогрева исходной воды в дополнительном нижнем сетевом подогревателе и греющего агента - в верхнем сетевом подогревателе; е - схема регулируемого подогрева исходной воды в конденсаторе и греющего агента в сетевых подогревателях
1. ГОСТ 16860-88. Деаэраторы термические. Типы, основные параметры, приемка, методы контроля. - М.: Изд-во стандартов, 1988.
2. Каталог 18-2-76. Теплообменное оборудование. - М.: НИИЭинформэнергомаш, 1977.
3. Правила технической эксплуатации электрических станций и сетей Российской Федерации: РД 34.20.501-95. - 15-е изд., перераб. и доп. - М.: СПО ОРГРЭС, 1996.
4. А.с. 1267015 СССР. МКИ F 01 К 17/02. Способ подготовки подпиточной воды теплосети/ В.И. Шарапов, P.M. Кадыров, В.И. Максимов. - Бюл.: Открытия. Изобретения. - 1986, № 40.
5. А.с. 1303562 СССР. МКИ С 02 F 1/20. Способ приготовления подпиточной воды теплосети/ А.Ф. Богачев, В.И. Шарапов, Ю.М. Матюнин и др. - Бюл.: Открытия. Изобретения. - 1987, № 14.
7. А.с. 1328563 СССР. МКИ F 01 К 17/02. Тепловая электрическая станция/ В.И. Шарапов. - Бюл.: Открытия. Изобретения. - 1987, № 29.
8. А.с. 1745988 СССР. МКИ F 01 К 17/02. Система теплоснабжения/ В.И. Шарапов.- Бюл.: Открытия. Изобретения. - 1992, № 25.
9. А.с. 1521889 СССР. МКИ F 01 К 17/02. Тепловая электрическая станция/ В.И. Шарапов. - Бюл.: Открытия. Изобретения. - 1989, № 42.
10. Шарапов В.И., Крылова М.А., Малышев А.А. Контактный подогрев подпиточной воды в водоподготовительных установках. - Электрические станции, 1994, № 10.
11. Патент 1366656 СССР. МКИ F 01 К 17/02. Тепловая электрическая станция/ В.И. Шарапов. - Бюл.: Открытия. Изобретения. - 1988, № 2.
12. А.с. 1052679 СССР. МКИ F 22 В 1/00. Парогенерирующая установка/ В.И. Шарапов, Е.Е. Злыгостев, И.В. Толстой, Н.Л. Кравцова. - Бюл.: Открытия. Изобретения. - 1983, № 41.
13. А.с. 1451291 СССР. МКИ F 01 К 17/02. Тепловая электрическая станция/ В.И. Шарапов. - Бюл.: Открытия. Изобретения.- 1989, № 2.
14. Шарапов В.И. Выбор способов покрытия тепловых нагрузок водоподготовительных установок систем теплоснабжения. - Электрические станции, 1987, № 5.
15. Шарапов В.И. О подогреве подпиточной воды котлов ТЭЦ. - Теплоэнергетика, 1988, № 8.
16. Шарапов В.И. О тепловой экономичности схем подогрева подпиточной воды ТЭЦ. - Электрические станции, 1988, № 7.
СОДЕРЖАНИЕ