|
|
ОТКРЫТОЕ
АКЦИОНЕРНОЕ ОБЩЕСТВО |
|
СТАНДАРТЫ ОРГАНИЗАЦИИ |
ДЕТАЛИ И СБОРОЧНЫЕ ЕДИНИЦЫ
ИЗ ХРОМОМОЛИБДЕНОВАНАДИЕВЫХ
СТАЛЕЙ
ПАРОПРОВОДОВ ТЕПЛОВЫХ СТАНЦИЙ
С АБСОЛЮТНЫМ ДАВЛЕНИЕМ р ≥ 4,0 МПа
И РАСЧЕТНЫМ РЕСУРСОМ 200000 ЧАСОВ
СТО
ЦКТИ 321.05-2009 ÷ CТО
ЦКТИ 321.08-2009,
СТО
ЦКТИ 318.04-2009 ÷ СТО
ЦКТИ 318.06-2009,
СТО
ЦКТИ 462.05-2009 ÷ СТО
ЦКТИ 462.08-2009,
СТО
ЦКТИ 520.02-2009, СТО
ЦКТИ 313.02-2009,
СТО
ЦКТИ 720.15-2009 ÷ СТО
ЦКТИ 720.24-2009,
СТО
ЦКТИ 038.02-2009, СТО
ЦКТИ 839.05-2009
СТО
ЦКТИ 839.06-2009, СТО
ЦКТИ 504.02-2009,
СТО
ЦКТИ 530.02-2009, СТО
ЦКТИ 837.01-2009
Санкт-Петербург
2010 год
|
|
«Утверждаю» Зам. генерального директора ОАО «НПО ЦКТИ» _______________ А.В. Судаков 15 октября 2009 г. |
В соответствии с положением пункта 4.13 ГОСТ Р 1.4-2004 «Стандарты организаций. Общие положения» предлагаются следующие организационно-технические мероприятия по подготовке и применению стандартов на детали и сборочные единицы для трубопроводов тепловых станций на ресурс 200 тыс. часов (64 стандарта):
1. Стандарты 2009 года утверждения вводятся в действие с 01.05.2010 для нового проектирования трубопроводов тепловых станций.
2. Стандарты на детали и сборочные единицы трубопроводов тепловых станций 1982 года издания на ресурс 200 тыс. часов используются на переходный период до 30.04.2011 с применением ОСТ 24.125.60-89 в качестве общих технических требований для окончания работ по изготовлению элементов трубопроводов тепловых станций на ресурс 200 тыс. часов по действующим договорам с заказчиками. Допускается использование стандартов 1982 года издания после 30.04.2011 г. для проведения ремонтных работ по замене ранее изготовленных трубопроводов.
3. Стандарты на детали и сборочные единицы трубопроводов из хромомолибденованадиевых сталей на ресурс 100 тыс. часов остаются в действие без изменений (16 стандартов).
|
Зав.
сектором НТД объектов |
П.В. Белов |
|
|
ОТКРЫТОЕ
АКЦИОНЕРНОЕ ОБЩЕСТВО |
|
СТАНДАРТ ОРГАНИЗАЦИИ |
СТО
ЦКТИ |
ПАТРУБКИ БЛОКОВ С СОПЛАМИ
ДЛЯ ПАРОПРОВОДОВ
ТЕПЛОВЫХ СТАНЦИЙ
Конструкция и размеры
Предисловие
Объекты стандартизации и общие положения при разработке и применении стандартов организации установлены ГОСТ Р 1.4-2004 «Стандартизация в Российской Федерации. Стандарты организаций. Общие положения».
Сведения о стандарте
1 РАЗРАБОТАН открытым акционерным обществом «Научно-производственное объединение по исследованию и проектированию энергетического оборудования им. И.И. Ползунова» (ОАО «НПО ЦКТИ») и ЗАО «Энергомаш (Белгород)-БЗЭМ»
Рабочая группа
от ОАО «НПО ЦКТИ»: СУДАКОВ А.В., ГАВРИЛОВ С.Н., БЕЛОВ П.В.,
ТАБАКМАН М.Л., СМИРНОВА И.А.
от ЗАО «Энергомаш (Белгород)-БЗЭМ»: МОИСЕЕНКО П.П., ЛУШНИКОВ И.Н.
2 УТВЕРЖДЕН И ВВЕДЕН В ДЕЙСТВИЕ Приказом Генерального директора ОАО «НПО ЦКТИ» № 373 от 14 декабря 2009 г.
3 ВЗАМЕН ОСТ 108.462.14-82 ÷ ОСТ 108.462.17-82
4 Согласованию с Ростехнадзором не подлежит
СТО ЦКТИ 462.07-2009
СТАНДАРТ ОРГАНИЗАЦИИ
|
ПАТРУБКИ
БЛОКОВ С СОПЛАМИ Конструкция и размеры |
Дата введения: 2010-05-01
СОДЕРЖАНИЕ
|
|
Настоящий стандарт распространяется на патрубки блоков с соплами, устанавливаемые на паропроводах тепловых станций с абсолютным давлением и температурой среды:
р = 25,01 МПа, t = 545 °С
р = 13,73 МПа, t = 560 °С
р = 13,73 МПа, t = 545 °С
р = 13,73 МПа, t = 515 °С
р = 4,02 МПа, t = 545 °С
В настоящем стандарте использованы ссылки на следующие нормативные документы:
ПБ 10-573-03 Правила устройства и безопасной эксплуатации трубопроводов пара и горячей воды
СТО ЦКТИ 10.003-2007 Трубопроводы пара и горячей воды тепловых станций. Общие технические требования к изготовлению
ОСТ 108.030.113-87 Поковки из углеродистой и легированной стали для оборудования и трубопроводов тепловых и атомных станций. Технические условия
ТУ 14-3Р-55-2001 Трубы стальные бесшовные для паровых котлов и трубопроводов. Технические условия
ТУ 1310-030-00212179-2007 Трубы бесшовные горячедеформированные механически обработанные из углеродистой и легированных марок стали для трубопроводов ТЭС и АЭС. Технические условия
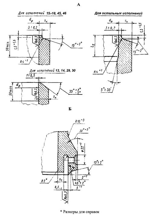
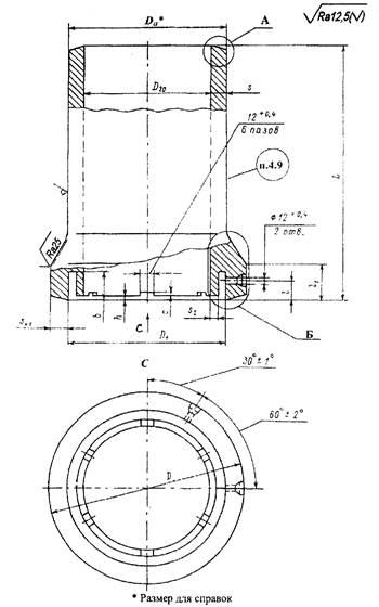
3.1 Конструкция, размеры и материал патрубков должны соответствовать указанным на рисунках 1 - 3 и в таблице 1.
3.2 Допускается изготовление патрубков с разделкой под сварку по типу С4 и С5 в соответствии с СТО ЦКТИ 10.003.
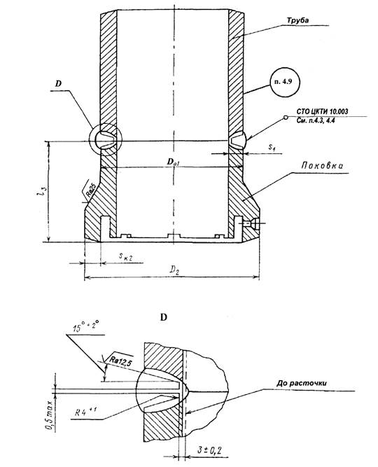
4.1 Допускается изготовление патрубков из двух частей - трубы и поковки (рисунок 3).
4.2 Патрубки с условными проходами Dy 50 и Dy 65 должны изготавливаться цельными.
4.3 Материал трубы должен соответствовать указанному в таблице 1 по ТУ 14-3Р-55 или ТУ 1310-030-00212179, материал поковки группы II категории Т - по ОСТ 108.030.113. Наплавленный металл - по СТО ЦКТИ 10.003.
4.4 Размеры швов устанавливаются предприятием-изготовителем в зависимости от толщины свариваемых деталей. Нормы оценки качества сварного соединения - согласно требованиям ПБ 10-573 (Приложение 8).
4.5 Масса патрубков, указанная в таблице 1, - расчетная, приведена для справки.
4.6 Исполнения, указанные в скобках, применять по согласованию с предприятием-изготовителем.
4.7 Остальные технические требования - по СТО ЦКТИ 10.003.
4.8 Пример условного обозначения патрубка исполнения 01 с условным проходом Dy 150:
ПАТРУБОК 150 01 СТО ЦКТИ 462.07
|
4.9 Пример маркировки: |
|
Рисунок 1

Остальное - см. рисунок 1
Рисунок 2
Остальное - см. рисунок 1
Рисунок 3
Размеры в миллиметрах
|
Исполнение |
Рисунок |
Условный проход Dу |
Da* |
|
|
D1 ± 0,1 |
|
D20 |
dp |
s |
s1 |
s2 |
s1 |
sk1 |
sk2 |
b |
c ± 0,2 |
h ± 0,2 |
l ± 0,8 |
|
l2 |
l3 |
L ± 2,5 |
Марка стали |
Масса, кг |
|||||
|
номин. |
пред. откл. |
номин. |
пред. откл. |
не менее |
номин. |
пред. откл. |
номин. |
пред. откл. |
номин. |
пред. откл. |
||||||||||||||||||||
|
р = 25,01 МПа, t = 545 °C |
||||||||||||||||||||||||||||||
|
01 |
1 |
150 |
245 |
- |
280 |
177 |
- |
149 |
±0,4 |
151 |
+0,63 |
48 |
- |
5 |
42 |
50 |
- |
48 |
+0,62 |
2,0 |
5,0 |
40 |
75 |
85 |
+5 |
- |
±2 |
430 |
15Х1М1Ф |
120,0 |
|
02 |
3 |
250 |
- |
290 |
50 |
- |
55 |
170 |
||||||||||||||||||||||
|
03 |
1 |
175 |
273 |
- |
312 |
201 |
- |
173 |
±0,5 |
175 |
50 |
- |
46 |
54 |
- |
2,5 |
5,5 |
80 |
85 |
- |
470 |
155,0 |
||||||||
|
04 |
3 |
280 |
- |
322 |
52 |
- |
59 |
180 |
||||||||||||||||||||||
|
05 |
1 |
200 |
325 |
- |
372 |
242 |
- |
206 |
±0,6 |
208 |
+0,72 |
60 |
- |
9 |
54 |
63 |
- |
3,5 |
7,5 |
85 |
100 |
- |
550 |
258,0 |
||||||
|
06 |
3 |
338 |
- |
385 |
63 |
- |
72 |
200 |
||||||||||||||||||||||
|
07 |
1 |
225 |
377 |
- |
428 |
276 |
- |
238 |
±0,7 |
240 |
70 |
- |
10 |
63 |
74 |
- |
55 |
+0,74 |
4,0 |
8,5 |
45 |
90 |
110 |
- |
640 |
401,0 |
||||
|
08 |
3 |
388 |
- |
445 |
72 |
- |
82 |
220 |
||||||||||||||||||||||
|
09 |
1 |
250 |
426 |
- |
475 |
308 |
- |
268 |
±0,8 |
270 |
+0,81 |
80 |
- |
11 |
73 |
82 |
- |
4,5 |
10,0 |
95 |
50 |
- |
720 |
568,0 |
||||||
|
10 |
3 |
435 |
- |
492 |
82 |
- |
90 |
240 |
||||||||||||||||||||||
|
(11) |
1 |
300 |
465 |
- |
532 |
348 |
- |
306 |
308 |
80 |
- |
12 |
74,5 |
90 |
- |
5,0 |
12,5 |
105 |
- |
800 |
705,0 |
|||||||||
|
(12) |
3 |
488 |
- |
556 |
82 |
- |
102 |
250 |
||||||||||||||||||||||
|
р = 13,73 МПа, t = 560 °C |
||||||||||||||||||||||||||||||
|
13 |
1 |
50 |
76 |
- |
110 |
74 |
- |
50 |
±0,1 |
50 |
+0,15 |
13 |
- |
3 |
- |
17 |
- |
35 |
+0,60 |
1,0 |
1,0 |
25 |
45 |
- |
- |
- |
- |
120 |
12Х1МФ |
3,0 |
|
14 |
3 |
- |
78 |
- |
110 |
- |
14 |
- |
17 |
|||||||||||||||||||||
|
15 |
1 |
100 |
133 |
- |
170 |
120 |
- |
94 |
±0,2 |
94 |
+0,54 |
20 |
- |
4 |
17,3 |
23 |
- |
38 |
1,5 |
2,0 |
30 |
55 |
70 |
+5 |
- |
- |
300 |
22,9 |
||
|
16 |
3 |
138 |
- |
176 |
21 |
- |
26 |
130 |
±2 |
|||||||||||||||||||||
|
р = 13,73 МПа, t = 560 °С |
||||||||||||||||||||||||||||||
|
17 |
1 |
150 |
219 |
- |
255 |
186 |
- |
156 |
±0,4 |
156 |
+0,63 |
28 |
- |
6 |
28,0 |
33 |
- |
38 |
+0,60 |
2,0 |
5,0 |
30 |
60 |
70 |
+5 |
- |
- |
400 |
15Х1М1Ф |
72,3 |
|
18 |
3 |
225 |
- |
264 |
33 |
- |
37 |
150 |
±2 |
|||||||||||||||||||||
|
19 |
1 |
200 |
273 |
- |
308 |
233 |
- |
201 |
±0,6 |
203 |
+0,72 |
34 |
- |
7 |
31,5 |
36 |
- |
40 |
3,0 |
6,5 |
32 |
65 |
75 |
- |
- |
520 |
129,0 |
|||
|
20 |
3 |
276 |
- |
320 |
36 |
- |
41 |
180 |
+2 |
|||||||||||||||||||||
|
21 |
1 |
300 |
377 |
- |
420 |
315 |
- |
277 |
±0,8 |
281 |
+0,81 |
48 |
- |
10 |
44,3 |
50 |
- |
44 |
4,0 |
10,0 |
35 |
75 |
85 |
- |
- |
700 |
323,0 |
|||
|
22 |
3 |
382 |
- |
428 |
49 |
- |
54 |
200 |
±2 |
|||||||||||||||||||||
|
р = 13,73 МПа, t = 545 °С |
||||||||||||||||||||||||||||||
|
23 |
1 |
175 |
219 |
- |
260 |
197 |
- |
163 |
±0,4 |
164 |
+0,63 |
26 |
- |
8 |
24,0 |
30 |
- |
38 |
+0,60 |
2,0 |
5,0 |
30 |
60 |
65 |
+5 |
- |
- |
415 |
12Х1МФ |
68,0 |
|
24 |
3 |
225 |
- |
270 |
|
28 |
- |
34 |
140 |
±2 |
||||||||||||||||||||
|
25 |
1 |
200 |
273 |
- |
312 |
243 |
- |
209 |
±0,6 |
211 |
+0,72 |
30 |
- |
27,3 |
33 |
- |
3,0 |
6,5 |
70 |
- |
- |
520 |
15Х1М1Ф |
118,0 |
||||||
|
26 |
3 |
278 |
- |
320 |
|
32 |
- |
37 |
150 |
+2 |
||||||||||||||||||||
|
27 |
1 |
250 |
325 |
- |
368 |
285 |
- |
249 |
±0,7 |
251 |
+0,81 |
36 |
-38 |
9 |
32,3 |
39 |
- |
45 |
4,0 |
8,5 |
35 |
70 |
80 |
- |
- |
620 |
196,0 |
|||
|
28 |
3 |
330 |
- |
375 |
- |
43 |
150 |
+2 |
||||||||||||||||||||||
|
р = 13,73 МПа, t = 515 °С |
||||||||||||||||||||||||||||||
|
29 |
1 |
65 |
76 |
- |
112 |
81 |
- |
58 |
±0,1 |
58 |
+0,17 |
8 |
- |
3 |
- |
14 |
- |
35 |
+0,60 |
1,0 |
1,0 |
25 |
45 |
- |
- |
- |
- |
130 |
12Х1МФ |
3,81 |
|
30 |
3 |
- |
80 |
- |
112 |
- |
9 |
- |
14 |
|||||||||||||||||||||
|
31 |
1 |
100 |
133 |
- |
168 |
135 |
- |
105 |
+0,3 |
106 |
+0,54 |
12 |
- |
6 |
11,5 |
15 |
- |
38 |
2,0 |
2,5 |
28 |
50 |
50 |
+5 |
- |
- |
300 |
16,9 |
||
|
32 |
3 |
135 |
- |
172 |
- |
14 |
- |
17 |
130 |
+2 |
||||||||||||||||||||
|
33 |
1 |
125 |
159 |
- |
196 |
157 |
- |
127 |
±0,3 |
128 |
+0,63 |
14,5 |
- |
6 |
13,4 |
18 |
- |
40 |
3,5 |
30 |
55 |
60 |
- |
- |
330 |
25,1 |
||||
|
34 |
3 |
163 |
- |
200 |
- |
17 |
- |
20 |
130 |
±2 |
|
|||||||||||||||||||
|
35 |
1 |
150 |
194 |
- |
232 |
186 |
- |
154 |
±0,4 |
156 |
+0,63 |
18 |
- |
7 |
16,5 |
21 |
- |
40 |
2,5 |
5,0 |
70 |
- |
- |
400 |
42,9 |
|||||
|
36 |
3 |
196 |
- |
236 |
- |
20 |
- |
23 |
40 |
140 |
±2 |
|||||||||||||||||||
|
37 |
1 |
175 |
219 |
- |
260 |
209 |
- |
175 |
±0,5 |
176 |
+0,63 |
20 |
- |
8 |
18,5 |
23 |
- |
3,0 |
5,5 |
60 |
- |
- |
430 |
57,3 |
||||||
|
38 |
3 |
222 |
- |
265 |
- |
22 |
- |
26 |
140 |
±2 |
||||||||||||||||||||
|
39 |
1 |
225 |
273 |
- |
318 |
259 |
- |
221 |
±0,6 |
222 |
+0,72 |
24 |
- |
10 |
22,5 |
28 |
- |
4,0 |
7,5 |
65 |
- |
- |
530 |
102,0 |
||||||
|
40 |
3 |
277 |
- |
325 |
- |
27 |
- |
31 |
150 |
±2 |
||||||||||||||||||||
|
41 |
1 |
250 |
325 |
- |
368 |
299 |
- |
261 |
+0,6 |
263 |
+0,81 |
29 |
- |
10 |
27,0 |
32 |
- |
42 |
10,0 |
32 |
60 |
70 |
- |
- |
630 |
170,0 |
||||
|
42 |
3 |
330 |
- |
376 |
- |
32 |
- |
36 |
150 |
±2 |
||||||||||||||||||||
|
43 |
1 |
350 |
426 |
- |
475 |
394 |
- |
350 |
±0,8 |
354 |
+0,89 |
35 |
- |
13 |
31,6 |
38 |
- |
45 |
6,0 |
12,5 |
35 |
65 |
80 |
- |
- |
850 |
15Х1М1Ф |
351,0 |
||
|
44 |
3 |
430 |
- |
480 |
- |
38 |
- |
41 |
180 |
±2 |
||||||||||||||||||||
|
р = 4,02 МПа, t = 545 °С |
||||||||||||||||||||||||||||||
|
45 |
1 |
400 |
465 |
- |
510 |
462 |
515 |
424 |
+0,9 |
424 |
+0,97 |
22 |
- |
10 |
16,3 |
22 |
- |
40 |
+0,60 |
5,0 |
10,0 |
30 |
60 |
- |
- |
- |
- |
940 |
12Х1МФ |
259,0 |
|
46 |
3 |
467 |
- |
24 |
- |
24 |
180 |
±2 |
||||||||||||||||||||||
|
* Размеры для справок. |
||||||||||||||||||||||||||||||
(Измененная редакция. Изм. № 1)
|
Ключевые слова: тепловые станции, паропроводы, патрубки блоков с соплами, конструкция, размеры, материалы |
ЛИСТ РЕГИСТРАЦИИ ИЗМЕНЕНИЙ
|
Изм. |
Номера листов (страниц) |
Номер документа |
Срок введения изменений |
Подпись |
Дата |
|||
|
Измененных |
Замененных |
Новых |
Аннулированных |
|||||
|
|
|
|
|
|
|
|
|
|
|
|
|
|
|
|
|
|
|
|
|
|
|
|
|
|
|
|
|
|
|
|
|
|
|
|
|
|
|
|
|
|
|
|
|
|
|
|
|
|
|
|
|
|
|
|
|
|
|
|
|
|
|
|
|
|
|
|
|
|
|
|
|
|
|
|
|
|
|
|
|
|
|
|
|
|
|
|
|
|
|
|
|
|
|
|
|
|
|
|
|
|
|
|
|
|
|
|
|
|
|
|
|
|
|
|
|
|
|
|
|
|
|
|
|
|
|
|
|
|
|
|
|
|
|
|
|
|
|
|
|
|
|
|
|
|
|
|
|
|
|
|
|
|
|
|
|
|
|
|
|
|
|
|
|
|
|
|
|
|
|
|
|
|
|
|
|
|
|
|
|
|
|
|
|
|
|
|
|
|
|
|
|
|
|
|
|
|
|
|
|
|
|
|
|
|
|
|
|
|
|
|
|
|
|
|
|
|
|
|
|
|
|
|
|
|
|
|
|
|
|
|
|
|
|
|
|
|
|
|
|
|
|
|
|
|
|
|
|
|
|
|
|
|
|
|
|
|
|
|
|
|
|
|
|
|
|
|
|
|
|
|
|
|
|
|
|
|
|
|
|
|
|
|
|
|
|
|
|
|
|
|
|
|
|
|
|
|
|
|
|
|
|
|
|
|
|
|
|
|