|
|
ОТКРЫТОЕ
АКЦИОНЕРНОЕ ОБЩЕСТВО |
|
СТАНДАРТЫ ОРГАНИЗАЦИИ |
ДЕТАЛИ И СБОРОЧНЫЕ ЕДИНИЦЫ
ИЗ ХРОМОМОЛИБДЕНОВАНАДИЕВЫХ
СТАЛЕЙ
ПАРОПРОВОДОВ ТЕПЛОВЫХ СТАНЦИЙ
С АБСОЛЮТНЫМ ДАВЛЕНИЕМ р ≥ 4,0 МПа
И РАСЧЕТНЫМ РЕСУРСОМ 200000 ЧАСОВ
СТО
ЦКТИ 321.05-2009 ÷ CТО
ЦКТИ 321.08-2009,
СТО
ЦКТИ 318.04-2009 ÷ СТО
ЦКТИ 318.06-2009,
СТО
ЦКТИ 462.05-2009 ÷ СТО
ЦКТИ 462.08-2009,
СТО
ЦКТИ 520.02-2009, СТО
ЦКТИ 313.02-2009,
СТО
ЦКТИ 720.15-2009 ÷ СТО
ЦКТИ 720.24-2009,
СТО
ЦКТИ 038.02-2009, СТО
ЦКТИ 839.05-2009
СТО
ЦКТИ 839.06-2009, СТО
ЦКТИ 504.02-2009,
СТО
ЦКТИ 530.02-2009, СТО
ЦКТИ 837.01-2009
Санкт-Петербург
2010 год
|
|
«Утверждаю» Зам. генерального директора ОАО «НПО ЦКТИ» _______________ А.В. Судаков 15 октября 2009 г. |
В соответствии с положением пункта 4.13 ГОСТ Р 1.4-2004 «Стандарты организаций. Общие положения» предлагаются следующие организационно-технические мероприятия по подготовке и применению стандартов на детали и сборочные единицы для трубопроводов тепловых станций на ресурс 200 тыс. часов (64 стандарта):
1. Стандарты 2009 года утверждения вводятся в действие с 01.05.2010 для нового проектирования трубопроводов тепловых станций.
2. Стандарты на детали и сборочные единицы трубопроводов тепловых станций 1982 года издания на ресурс 200 тыс. часов используются на переходный период до 30.04.2011 с применением ОСТ 24.125.60-89 в качестве общих технических требований для окончания работ по изготовлению элементов трубопроводов тепловых станций на ресурс 200 тыс. часов по действующим договорам с заказчиками. Допускается использование стандартов 1982 года издания после 30.04.2011 г. для проведения ремонтных работ по замене ранее изготовленных трубопроводов.
3. Стандарты на детали и сборочные единицы трубопроводов из хромомолибденованадиевых сталей на ресурс 100 тыс. часов остаются в действие без изменений (16 стандартов).
|
Зав.
сектором НТД объектов |
П.В. Белов |
|
|
ОТКРЫТОЕ
АКЦИОНЕРНОЕ ОБЩЕСТВО |
|
СТАНДАРТ ОРГАНИЗАЦИИ |
СТО
ЦКТИ |
ТРОЙНИКИ РАВНОПРОХОДНЫЕ
ШТАМПОВАННЫЕ ДЛЯ ПАРОПРОВОДОВ
ТЕПЛОВЫХ СТАНЦИЙ
Конструкция и размеры
Предисловие
Объекты стандартизации и общие положения при разработке и применении стандартов организации установлены ГОСТ Р 1.4-2004 «Стандартизация в Российской Федерации. Стандарты организаций. Общие положения».
Сведения о стандарте
1 РАЗРАБОТАН открытым акционерным обществом «Научно-производственное объединение по исследованию и проектированию энергетического оборудования им. И.И. Ползунова» (ОАО «НПО ЦКТИ») и ЗАО «Энергомаш (Белгород)-БЗЭМ»
Рабочая группа
от ОАО «НПО ЦКТИ»: СУДАКОВ А.В., ГАВРИЛОВ С.Н., БЕЛОВ П.В.,
ТАБАКМАН М.Л., СМИРНОВА И.А.
от ЗАО «Энергомаш (Белгород)-БЗЭМ»: МОИСЕЕНКО П.П., ЛУШНИКОВ И.Н.
2 УТВЕРЖДЕН И ВВЕДЕН В ДЕЙСТВИЕ Приказом Генерального директора ОАО «НПО ЦКТИ» № 373 от 14 декабря 2009 г.
3 ВЗАМЕН ОСТ 108.104.13-82
4 Согласованию с Ростехнадзором не подлежит
СТО ЦКТИ 720.20-2009
СТАНДАРТ ОРГАНИЗАЦИИ
|
ТРОЙНИКИ
РАВНОПРХОДНЫЕ ШТАМПОВАННЫЕ Конструкция и размеры |
Дата введения: 2010-05-01
СОДЕРЖАНИЕ
|
|
Настоящий стандарт распространяется на равнопроходные штампованные тройники с вытянутой горловиной, изготавливаемые из труб или трубных заготовок стали марок 12Х1МФ по ТУ 14-3Р-55 и 15Х1М1Ф по ТУ 14-3Р-55, ТУ 1310-030-00212179-2007 или ТУ 3-923, для паропроводов тепловых станций с абсолютным давлением и температурой пара:
р = 13,73 МПа, t = 560 °С;
р = 13,73 МПа, t = 545 °С;
р = 13,73 МПа, t = 515 °С;
р = 4,02 МПа, t = 545 °С.
В настоящем стандарте использованы ссылки на следующие нормативные документы:
СТО ЦКТИ 10.003-2007 Трубопроводы пара и горячей воды тепловых станций. Общие технические требования к изготовлению
ТУ 14-3Р-55-2001 Трубы стальные бесшовные для паровых котлов и трубопроводов. Технические условия
ТУ 3-923-75 Трубы котельные бесшовные механически обработанные из конструкционной марки стали. Технические условия
ТУ 1310-030-00212179-2007 Трубы бесшовные горячедеформированные механически обработанные из углеродистой и легированных марок стали для трубопроводов ТЭС и АЭС. Технические условия
3.1 В настоящем стандарте применяют следующие термины с соответствующими определениями:
3.1.1 тройник: Деталь или сборочная единица, обеспечивающая слияние или разделение потока рабочей среды.
3.1.2 тройник штампованный: Тройник, изготовленный из трубы или трубной заготовки штамповкой без применения сварки.
3.1.3 исполнение: Совокупность особенностей деталей в размерах, материалах, технических требованиях, определяющих их технические характеристики и применяемость.
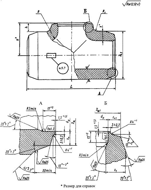
4.1 Конструкция, размеры и материал тройников должны соответствовать указанным на рисунке 1 и в таблице 1.
4.2 Допускается изготовление тройников с разделкой под сварку по типу С4 и С5 в соответствии с СТО ЦКТИ 10.003.
Рисунок 1
5.1 Размеры высот H и h, радиусов R и R1 и толщины стенки sk1 могут быть по усмотрению предприятия-изготовителя изменены при соблюдении условий прочности.
5.2 Предельные отклонения наружного диаметра Dа2 не должны превышать ±2 %.
5.3 Размер s1* обеспечивается технологией изготовления.
5.4 Масса тройников, указанная в таблице 1, - расчетная, приведена для справки.
5.5 Остальные технические требования - по СТО ЦКТИ 10.003.
5.7 Пример условного обозначения тройника штампованного равнопроходного исполнения 04 с условным проходом Dу250:
ТРОЙНИК РАВНОПРОХОДНЫЙ 250 04 СТО ЦКТИ 720.20
|
5.8 Пример маркировки: |
|
Размеры в миллиметрах
|
Исполнение |
Условный проход Dу |
Наружный диаметр и толщина стенки присоединяемых труб |
Da |
Da1 |
Da2 |
dр |
L ± 5 |
Н* |
h+5 |
s* |
s1* |
sk |
sk1 |
R, не более |
R1, не менее |
Марка стали (ТУ) |
Масса, кг |
|||
|
номин. |
пред. откл. |
номин. |
пред. откл. |
номин. |
пред. откл. |
не менее |
||||||||||||||
|
p = 13,73 МПа, t = 560 °C |
||||||||||||||||||||
|
01 |
200 |
273×36 |
276 |
±1,2 |
277 |
+3 |
320 |
203 |
+0,72 |
600 |
215 |
55 |
70 |
42 |
31,5 |
31,9 |
130 |
55 |
15Х1М1Ф ТУ 14-3Р-55 или ТУ 1310-030-00212179 |
295,0 |
|
02 |
300 |
377×50 |
380 |
±2,0 |
383 |
+4 |
460 |
281 |
+0,81 |
830 |
300 |
70 |
95 |
57 |
44,3 |
45,0 |
160 |
40 |
15Х1М1Ф ТУ 3-923 или ТУ 1310-030-00212179 |
774,0 |
|
p = 13,73 МПа, t = 545 °C |
||||||||||||||||||||
|
03 |
200 |
273×32 |
276 |
±1,2 |
277 |
+3 |
320 |
211 |
+0,72 |
600 |
220 |
60 |
70 |
42 |
27,3 |
27,8 |
130 |
55 |
15Х1М1Ф ТУ 14-3Р-55 или ТУ 1310-030-00212179 |
291,0 |
|
04 |
250 |
325×38 |
328 |
±2,0 |
330 |
400 |
251 |
+0,81 |
750 |
250 |
50 |
75 |
45 |
32,3 |
32,8 |
135 |
50 |
493,0 |
||
|
p = 13,73 МПа, t = 515 °С |
||||||||||||||||||||
|
05 |
125 |
159×16 |
161 |
±1,2 |
163 |
+2 |
185 |
128 |
-0,63 |
400 |
118 |
25 |
32 |
19 |
13,4 |
14,0 |
60 |
25 |
12X1МФ ТУ 14-3Р-55 |
54,3 |
|
06 |
150 |
194×20 |
196 |
198 |
225 |
156 |
500 |
148 |
35 |
36 |
21 |
16,5 |
17,0 |
70 |
30 |
15Х1М1Ф ТУ 14-3Р-55 или ТУ 1310-030-00212179 |
98,0 |
|||
|
07 |
175 |
219×22 |
222 |
221 |
+3 |
245 |
176 |
153 |
30 |
40 |
24 |
18,5 |
19,0 |
108,0 |
||||||
|
08 |
225 |
273×26 |
276 |
277 |
320 |
222 |
+0,72 |
600 |
215 |
55 |
50 |
29 |
22,5 |
23,0 |
100 |
45 |
222,0 |
|||
|
09 |
250 |
325×32 |
328 |
±2,0 |
330 |
380 |
263 |
+0,81 |
700 |
250 |
60 |
60 |
36 |
27,0 |
27,5 |
135 |
55 |
347,0 |
||
|
р = 4,02 МПа, t = 545 °C |
||||||||||||||||||||
|
10 |
150 |
159×9 |
161 |
±1,2 |
162 |
+2 |
176 |
142 |
+0,63 |
400 |
113 |
25 |
20 |
11 |
7,2 |
7.5 |
45 |
20 |
15Х1М1Ф ТУ 14-3Р-55 |
32,0 |
|
11 |
250 |
273×13 |
276 |
273 |
+3 |
295 |
248 |
+0,72 |
600 |
188 |
40 |
26 |
17 |
9,9 |
10,4 |
60 |
25 |
ТУ 14-3Р-55 или ТУ 1310-030-00212179 |
108,0 |
|
|
12 |
400 |
465×22 |
468 |
±2 |
465 |
+4 |
495 |
424 |
+0,97 |
850 |
323 |
75 |
40 |
24 |
20 |
19,5 |
85 |
40 |
15X1M1Ф ТУ 3-923 или ТУ 1310-030-00212179 |
388,0 |
|
* Размеры для справок |
||||||||||||||||||||
|
Ключевые слова: тепловые станции, паропроводы, тройники равнопроходные штампованные, конструкция, размеры, материалы |
ЛИСТ РЕГИСТРАЦИИ ИЗМЕНЕНИЙ
|
Изм. |
Номера листов (страниц) |
Номер документа |
Срок введения изменений |
Подпись |
Дата |
|||
|
Измененных |
Замененных |
Новых |
Аннулированных |
|||||
|
|
|
|
|
|
|
|
|
|
|
|
|
|
|
|
|
|
|
|
|
|
|
|
|
|
|
|
|
|
|
|
|
|
|
|
|
|
|
|
|
|
|
|
|
|
|
|
|
|
|
|
|
|
|
|
|
|
|
|
|
|
|
|
|
|
|
|
|
|
|
|
|
|
|
|
|
|
|
|
|
|
|
|
|
|
|
|
|
|
|
|
|
|
|
|
|
|
|
|
|
|
|
|
|
|
|
|
|
|
|
|
|
|
|
|
|
|
|
|
|
|
|
|
|
|
|
|
|
|
|
|
|
|
|
|
|
|
|
|
|
|
|
|
|
|
|
|
|
|
|
|
|
|
|
|
|
|
|
|
|
|
|
|
|
|
|
|
|
|
|
|
|
|
|
|
|
|
|
|
|
|
|
|
|
|
|
|
|
|
|
|
|
|
|
|
|
|
|
|
|
|
|
|
|
|
|
|
|
|
|
|
|
|
|
|
|
|
|
|
|
|
|
|
|
|
|
|
|
|
|
|
|
|
|
|
|
|
|
|
|
|
|
|
|
|
|
|
|
|
|
|
|
|
|
|
|
|
|
|
|
|
|
|
|
|
|
|
|
|
|
|
|
|
|
|
|
|
|
|
|
|
|
|
|
|
|
|
|
|
|
|
|
|
|
|
|
|
|
|
|
|
|
|
|
|
|
|
|
|