Aviation engines and their units. Indexation of parametres of air (gas) condition on sections of air-gas channel aviation engines and air-gas systems connected with them

ФЕДЕРАЛЬНОЕ АГЕНТСТВО
ПО ТЕХНИЧЕСКОМУ РЕГУЛИРОВАНИЮ И МЕТРОЛОГИИ

НАЦИОНАЛЬНЫЙ
стандарт
РОССИЙСКОЙ
ФЕДЕРАЦИИ

ГОСТ Р
53541-2009

ДВИГАТЕЛИ АВИАЦИОННЫЕ И ИХ УЗЛЫ

Индексация параметров состояния воздуха (газа)
по сечениям проточной части авиационных
двигателей и связанных с ними газовоздушных
систем

Москва

Стандартинформ

2010

Предисловие

Цели и принципы стандартизации в Российской Федерации установлены Федеральным законом от 27 декабря 2002 г. № 184-ФЗ «О техническом регулировании», а правила применения национальных стандартов Российской Федерации - ГОСТ Р 1.0-2004 «Стандартизация в Российской Федерации. Основные положения»

Сведения о стандарте

1 РАЗРАБОТАН И ВНЕСЕН Федеральным Государственным унитарным предприятием «Научно-исследовательский институт стандартизации и унификации» (ФГУП «НИИСУ»)

2 УТВЕРЖДЕН И ВВЕДЕН В ДЕЙСТВИЕ Приказом Федерального агентства по техническому регулированию и метрологии от 15 декабря 2009 г. № 803-ст

3 ВВЕДЕН ВПЕРВЫЕ

Информация об изменениях к настоящему стандарту публикуется в ежегодно издаваемом информационном указателе «Национальные стандарты», а текст изменений и поправок - в ежемесячно издаваемых информационных указателях «Национальные стандарты». В случае пересмотра (замены) или отмены настоящего стандарта соответствующее уведомление будет опубликовано в ежемесячно издаваемом информационном указателе «Национальные стандарты». Соответствующая информация, уведомление и тексты размещаются также в информационной системе общего пользования - на официальном сайте Федерального агентства по техническому регулированию и метрологии в сети Интернет

СОДЕРЖАНИЕ

1 Область применения. 2

2 Нормативные ссылки. 3

3 Обозначения и сокращения. 3

4 Система нумерации (индексации) контрольных сечений (СНКС) при функционировании газотурбинных авиационных двигателей. 3

4.1 Принцип построения СНКС.. 3

4.2 Примеры применения СНКС в схемах авиационных двигателей и винтовентиляторов различных типов. 4

4.4 Обозначение и индексация при буквенных обозначениях параметров воздушно-газового потока в СНКС.. 11

5 Система нумерации контрольных сечений в поршневых авиационных двигателях. 12

Введение

В настоящее время система обозначения контрольных сечений проточной части авиационных двигателей стандартизована не полностью.

Для буквенных обозначений параметров, используемых в технической документации к отечественным авиационным двигателям, существует около двадцати вариантов расшифровки применительно к элементам только газотурбинных двигателей.

Перспективы создания сложных комбинированных силовых установок обусловливают трудности в идентификации контрольных сечений двигателей и возможность повторяемости цифровых символов и буквенных обозначений.

Предлагаемая система нумерации контрольных сечений (СНКС) универсальна, т. е. пригодна для авиационных двигателей всех видов независимо от числа циклов и сочетаний в таких комбинированных установках. Эта система нумерации (индексации) применима и к потокам воздуха (газа), отбираемого от основных потоков на нужды летательного аппарата и самого двигателя.

Данная система упростит проведение расчетов для пользователей компьютерных программ и облегчит сравнительный анализ основных и вспомогательных параметров различных двигателей.

ГОСТ Р 53541-2009

НАЦИОНАЛЬНЫЙ СТАНДАРТ РОССИЙСКОЙ ФЕДЕРАЦИИ

АВИАЦИОННЫЕ ДВИГАТЕЛИ И ИХ УЗЛЫ

Индексация параметров состояния воздуха (газа) по сечениям проточной части авиационных
двигателей и связанных с ними газовоздушных систем

Aviation engines and their units. Indexation of parametres of air (gas) condition on sections of air-gas channel aviation
engines and air-gas systems connected with them

Дата введения - 2010-07-01

1 Область применения

1.1 Настоящий стандарт устанавливает требования к системе нумерации контрольных сечений (СНКС), а также дополнительных сечений проточной части авиационных двигателей и их подсистем, связанных с отбором воздуха на нужды летательного аппарата и непосредственно двигателя.

1.2 Требования настоящего стандарта распространяются на применение СНКС при выполнении газодинамических расчетов, связанных с функционированием авиационных двигателей, в компьютерных программах, при проектировании и обработке данных по двигателю, в документации всех видов, научно-технической, учебной и справочной литературе.

2 Нормативные ссылки

В настоящем стандарте использованы нормативные ссылки на следующие стандарты:

ГОСТ 23199-78 Газодинамика. Буквенные обозначения основных величин

ГОСТ 23851-79 Двигатели газотурбинные авиационные. Термины и определения

Примечание - При пользовании настоящим стандартом целесообразно проверить действие ссылочных стандартов в информационной системе общего пользования - на официальном сайте Федерального агентства по техническому регулированию и метрологии в сети Интернет или по ежегодно издаваемому информационному указателю «Национальные стандарты», который опубликован по состоянию на 1 января текущего года, и по соответствующим ежемесячно издаваемым информационным указателям, опубликованным в текущем году. Если ссылочный стандарт заменен (изменен), то при пользовании настоящим стандартом следует руководствоваться заменяющим (измененным) стандартом. Если ссылочный стандарт отменен без замены, то положение, в котором дана ссылка на него, применяется в части, не затрагивающей эту ссылку.

3 Обозначения и сокращения

ВРД - воздушно-реактивный двигатель;

ГТД - газотурбинный двигатель;

КВД - компрессор высокого давления;

КНД - компрессор низкого давления;

КС - камера сгорания;

ЛА - летательный аппарат;

СНКС - система нумерации контрольных сечений;

ТРДФ - турбореактивный двигатель с форсажной камерой;

ТРД - турбореактивный одноконтурный двигатель;

ТВД - турбовинтовой двигатель;

ТВВД - турбореактивный винтовентиляторный двигатель;

ТРДДФ - турбореактивный двухконтурный двигатель с форсажной камерой;

ТРТДФ - турбореактивный трехконтурный двигатель с форсажной камерой;

ТРДД - турбореактивный двухконтурный двигатель;

ФК - форсажная камера.

4 Система нумерации (индексации) контрольных сечений (СНКС) при функционировании газотурбинных авиационных двигателей

4.1 Принцип построения СНКС

4.1.1 СНКС двигателя служит для обозначения последовательности процессов, которым подвергаются воздушно-газовые потоки в авиационном двигателе независимо от типа его цикличности.

4.1.2 СНКС двигателя строится на базе шести основных процессов, проходящих в одноконтурном газотурбинном двигателе с регулируемым соплом и форсажной камерой:

- кинетическое сжатие потока, происходящее на входе в двигатель в комплексе воздухозаборник/диффузор;

- механическое сжатие потока, происходящее в комплексе винтовентилятор/КВД (сжатие потока);

- ввод тепла (камера сгорания/форсажная камера);

- механическое расширение (расширение потока);

- смешение (смеситель/эжектор);

- расширение в сопловой части двигателя (сопло).

4.1.3 Нумерация контрольных сечений для идентификации превращений основного воздушно-газового потока, проходящего через газотурбинный двигатель, приведена в таблице 1.

Таблица 1 - Контрольные сечения для снятия параметров воздушно-газового потока

Место сечения в потоке

Номер сечения

До входа в воздухозаборник двигателя

0

На входе в воздухозаборник двигателя

1

На входе в двигатель - перед вентилятором; перед КНД

2

За компрессором - на входе в камеру сгорания

3

За камерой сгорания - на входе в турбину

4

На 1-й ступени турбины - «горло» соплового аппарата

4.1

За турбиной

5

Перед форсажной камерой - в смесителе

6

На входе в сопло

7

В горловине сопла

8

На срезе сопла

9

4.1.4 В качестве базовой схемы с принятой системой нумерации сечений выбрана схема на основе турбореактивного одноконтурного двигателя с форсажной камерой и регулируемым соплом, в которой учтены все основные превращения воздушно-газового потока.

На рисунке 1 представлена СНКС на базе схемы ТРДФ с обозначением сечений согласно таблице 1.

СНКС в этой схеме наиболее близка к традиционной, используемой на практике, и проста для запоминания. Такая нумерация сечений является базовой для авиационного двигателя любого типа и в любом конструктивном исполнении, в том числе с воздухозаборником (в мотогондоле).

Рисунок 1 - Базовая СНКС для двигателя ТРДФ
Нумерация сечений - см. таблица 1

4.2 Примеры применения СНКС в схемах авиационных двигателей и винтовентиляторов различных типов

4.2.1 Одноконтурный ТРДФ

Сечения обозначаются однозначными цифрами от единицы (1) до девяти (9) по ходу основного тракта газовоздушного потока двигателя в соответствии с данными таблицы 1 и рисунка 1.

Если тот или иной процесс по 4.1.2 в двигателе отсутствует, то номер сечения для данного процесса изымается с сохранением всех номеров оставшихся сечений на своих местах. Таким образом базовая схема нумерации контрольных сечений остается неизменной.

4.2.2 ТРДДФ с форсажной камерой во втором контуре и со смешением контуров

4.2.2.1 Для распространения нумерации сечений с основного, первого контура (I), на второй контур (II) слева от номеров сечений контура I проставляют цифру один (1).

4.2.2.2 Двузначная нумерация сечений по контуру II продолжается вплоть до среза сопла этого контура, если нет смешения потоков в контурах I и II.

Если существуют смешение и общее сопло, то нумерация сечений по общему соплу проставляется по нумерации сопла контура I цифрами 7, 8 и 9 согласно рисунку 2, а не 17, 18 и 19.

Рисунок 2 - Схема нумерации контрольных сечений для двигателей ТРДДФ со смешением контуров и общим
соплом

4.2.2.3 Для обозначения промежуточных (дополнительных) сечений потоков, расположенных на участках основных процессов двигателя по 4.1.2, вводится знак подразделителя («·»). При этом в цикле на участке сжатия 2 - 3 сечению присваивается номер начала процесса, а после подразделителя идет номер дополнительного сечения на данном участке цикла, возрастающий по потоку (2·1, 2·2 и т. д.).

4.2.3 ТРТДФ с форсажной камерой в контуре II и без смешения контуров

4.2.3.1 Распространение схемы нумерации с основного контура двигателя I на контур III производят путем добавления цифры два (2) слева от основной цифры.

4.2.3.2 Нумерация сечений по контуру III обеспечивается двузначными цифрами вплоть до среза сопла этого контура, если нет смешения потоков в контурах I-III.

Если существуют смешение и общее сопло, то нумерация сечений по общему соплу проставляется по нумерации сопла более высокого по значению потока - см. рисунок 3.

Рисунок 3 - Схема нумерации контрольных сечений на основе двигателя ТРТДФ без смешения контуров

4.2.3.3 Точно также поступают с нумерацией дополнительных сечений в потоках концентрических контуров II, III и т. д, представленных на рисунках 2 и 3.

4.2.3.4 Нумерация сечений по контурам II, III и т.д. на базе нумерации основного контура I основана на принципе их концентричности относительно основного контура.

4.2.5 СНКС винтовентиляторов

4.2.5.1 Схема нумерации контрольных сечений в винтовентиляторных группах приведена на рисунке 4. Здесь использована та же базовая схема, что и в 4.2.3.

На рассматриваемом участке 1-3 представлены варианты компоновки винтовентилятора на двигателе ТВВД.

Ввиду того, что винтовентиляторные группы работают во внешнем, обтекающем двигатель потоке, к номерам сечений справа добавляется любая буква, например «Р». Промежуточные сечения нумеруются со знаком подразделителя «х» справа от основного номера сечения.

Рисунок 4 - Схема нумерации контрольных сечений для винтовентилятора на ТВВД
Нумерация сечений - см. таблица 2

4.2.5.2 Нумерация контрольных сечений для винтовентиляторной группы приведена в таблице 2

Таблица 2 - Контрольные сечения для винтовентиляторной группы

Место сечения в потоке

Номер сечения

На входе в винтовентиляторную группу

- для внутренней части потока

На входе в винтовентиляторную группу

- для внешней части потока

11Р

На выходе из винтовентиляторной группы

- для внутренней части потока

На выходе из винтовентиляторной группы

- для внешней части потока

13Р

Между рабочими ступенями винтовентиляторной группы

- для внутренней части потока

2´Р

Между рабочими ступенями винтовентиляторной группы

- для внешней части потока

12´Р

На входе в КНД двигателя

2

Для толкающего варианта винтовентиляторной группы указаны номера сечений с учетом направлений потока и выхлопа газа из ТВВД.

4.2.6 Комбинированная силовая установка

4.2.6.1 Схема контрольных сечений комбинированной силовой установки, приведенная на рисунке 5, представляет собой ТРДДФ, объединенный с прямоточным ВРД, и имеет единое выходное сопло. ВРД рассматривается как один из контуров единой силовой установки.

Рисунок 5 - Схема нумерации контрольных сечений для комбинированной силовой установки ТРДДФ
с прямоточным ВРД и со смешением потоков

В этом случае номер контура ВРД, согласно единой системе нумерации силовой установки, следует за контурами I-III и т.д. основного двигателя. В данном примере за двухконтурным ТРДДФ следует третьим контуром поток в ВРД с нумерацией контура III от 21 до 27.

Таким образом, СНКС потоков может быть использована для схем любых авиационных двигателей и их сочетаний.

4.3 Нумерация сечений индивидуальных потоков

4.3.1 Нумерация сечений индивидуальных потоков (контуров), являющихся неконцентрическими относительно основного контура двигателя, основана на использовании СНКС для систем отбора, перепуска, регенерации тепла и т. д. с учетом направлений основного и концентрических относительно него газовоздушных потоков.

Основополагающими являются цифры в скобках (9); (8); ..., (3); (2); (1), обозначающие тот или иной контур газовоздушного потока, являющегося неконцентрическим относительно потока основного контура. Далее проставляются номера сечений для процессов, происходящих в индивидуальном контуре по 4.1.2.

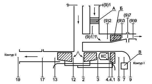
4.3.2 Схема нумерации сечений вспомогательного силового блока на базе однокаскадного двухконтурного двигателя с двумя раздельными входными потоками приведена на рисунке 6.

Обозначения нумерации сечений для дополнительного индивидуального входа потока с теплообменником и вентилятором:

- (9)1 и (9) 1·1 - сечения теплообменника;

- (9)2 и (9)3 - сечения вентилятора;

- (9)7 и (9)9 - сечения выходной части системы (по аналогии с соплом).

Остальные контрольные сечения во вспомогательном блоке обозначают согласно базовой схеме контуров I и II.

А - теплообменник; Б - вентилятор; В - сопло

Рисунок 6 - Схема нумерации сечений вспомогательного силового блока с двумя раздельными
входными потоками

4.3.3 Схема двухконтурного ТРДД со смешением контуров и реверсом тяги представлена на рисунке 7.

Реверс тяги реализован в контуре II двигателя, сечения реверсированного потока обозначены цифрами, применяемыми для этого контура. В данном случае сечениям в сопловой части реверса тяги присвоены номера (9)17, (9)18 и (9)19.

Рисунок 7 - Схема нумерации контрольных сечений для ТРДД со смешением контуров и реверсом тяги

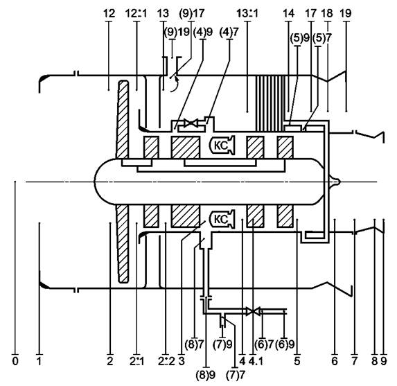
4.3.4 Схема комплексного применения СНКС для двигателя и связанных с ним индивидуальных систем приведена на рисунке 8.

Рисунок 8 - Схема нумерации контрольных сечений для ТРДД без смешения контуров с системами отборов,
перепуска и регенерации тепла
Нумерация сечений - см. таблица 3

4.3.5 Нумерация сечений для отбора воздуха на нужды двигателя и ЛА приведена в таблице 3.

Таблица 3 - Обозначение мест отбора воздуха на нужды двигателя ЛА и их нумерация

Место отбора в потоке

Номер сечения

На нужды Л А - из контура II

(9)17; (9)19

За компрессором ВД

(8)7; (8)9

Линия постоянного отбора

(7)7; (7)9

Линия переменного отбора

(6)7; (6)9

Линия подвода и регенерации тепла в контуре II

(5)7; (5)9

Системы перепуска между ступенями КВД

(4)7; (4)9

Перед теплообменником

13·4

В смесителе (за теплообменником)

14

Представленный ТРДД имеет системы отбора и перепуска воздуха и систему регенерации тепла. Основной контур I согласно СНКС, пронумерован цифрами от 2 до 9; контур II - цифрами от 12 до 19, за исключением цифр для контрольных сечений, отсутствующих в данной схеме.

Индивидуальные потоки обозначены цифрами от (9) до (4) по числу отборов в системах ЛА и двигателя.

Нумерация по патрубкам в системах отбора рассматривается как вход и выход из сопловой части того или иного контура двигателя.

Так, для отбора воздуха из контура II за вентилятором контрольные сечения обозначены как (9)17 и (9)19.

4.4 Обозначение и индексация при буквенных обозначениях параметров воздушно-газового потока в СНКС

4.4.1 В настоящее время в научно-технической, учебной и справочной литературе всех видов для обозначения параметров состояния воздушно-газового потока в авиационных ГТД используют в основном буквенные индексы. Термины, параметры и обозначения основных элементов конструкции ГТД приняты по ГОСТ 23851 и ГОСТ 23199.

4.4.2 Данные о старой и новой системах обозначений и индексации сечений ЛА и параметров воздушно-газового потока приведены в таблице 4.

Таблица 4 - Обозначения и индексация сечений и параметров

Место сечения для снятия параметра, обозначение индекса
(по старой системе)

Обозначение параметров по системе

старой

новой

В невозмущенном потоке - наружной среде, Н

Рн.Tн

Р0, T0

За винтом, ВН

За винтовентилятором, ВВ

На входе в двигатель - за входным устройством перед вентилятором или компрессором, ВХ

За вентилятором в наружном контуре, BII

За вентилятором во внутреннем контуре, BI

 

За каналом наружного контура, кан. II

За компрессором,К

За компрессором низкого давления, КНД

За компрессором среднего давления, КСД

За камерой сгорания, при выходе из камеры сгорания, Г

За сопловым аппаратом, перед рабочим колесом турбины высокого давления, СА

За турбиной, Т

За турбиной высокого давления, ТВД

За турбиной среднего давления, ТСД

При выходе из внутреннего контура I (с общим соплом)

При выходе из наружного контура II (с общим соплом)

За диффузором, контур I, Д

Перед стабилизатором форсажной камеры, контур I, X

За форсажной камерой, Ф

За камерой смешения, СМ

Минимальное критическое для сверхзвукового сопла (площадь), С*

При выходе из сопла, С

При выходе из сопла наружного контура, СИ

При выходе из сопла внутреннего контура, CI

Примечание - Параметры Р, Т и F - давление, температура и площадь сечения соответственно; * -для для заторможенного потока.

4.4.3 Система нумерации контрольных сечений не отменяет существующую систему обозначений и может быть вначале использована совместно с существующей.

Образец применения существующей и новой систем приведен на рисунке 9.

Рисунок 9 - Пример совместного применения существующей и новой систем индексации параметров состояния

воздуха (газа)

5 Система нумерации контрольных сечений в поршневых авиационных двигателях

5.1 Система нумерации контрольных сечений может быть применена и для поршневых авиационных двигателей. Вариант такого применения носит рекомендательный характер.

5.2 Принципиальная схема поршневого двигателя приведена на рисунке 10.

А - воздушный винт; Б - входное устройство; В - воздушный фильтр; Г - нагнетатель воздуха на входе в двигатель;
Д - клапан всасывания; Е - система подвода тепла в цилиндр двигателя; Ж - цилиндр с поршнем; И - клапан выхлопа;
К - глушитель; Л - выхлопной патрубок

Рисунок 10 - Пример СНКС поршневого двигателя с системами всасывания и выхлопа

5.3 В соответствии с 4.1.2 основные процессы, протекающие в поршневом двигателе, и соответствующую им нумерацию контрольных сечений можно представить следующим образом:

- кинетическое сжатие потока на входе в двигатель - до сечения 2К;

- предварительное механическое сжатие потока (при наличии нагнетателя) - сечения 2К , 3К;

- механическое сжатие газовоздушной смеси в цилиндре - сечения 2, 3;

- ввод тепла - сечения 3, 4;

- механическое расширение смеси - сечения 4, 5;

- расширение в выхлопной системе - сечения 7, 9.

5.4 Контрольные сечения обозначаются однозначными цифрами по направлению основного тракта воздушного и газового потоков в соответствии с выбранной базовой схемой. Если тот или иной процесс, аналогичный процессу в 4.1.2, в двигателе и его входной и выхлопной системах отсутствует, то номера сечений данного процесса опускаются с сохранением всех номеров оставшихся сечений. В результате базовая система нумерации контрольных сечений остается неизменной.

Ключевые слова: индексация параметров состояния воздуха (газа), сечения проточной части, газовоздушные системы