Identification cards. Test methods. Part 1. General characteristics

ФЕДЕРАЛЬНОЕ АГЕНТСТВО
ПО ТЕХНИЧЕСКОМУ РЕГУЛИРОВАНИЮ И МЕТРОЛОГИИ

НАЦИОНАЛЬНЫЙ
СТАНДАРТ
РОССИЙСКОЙ
ФЕДЕРАЦИИ

ГОСТ Р
исо/мэк 10373-1-
2010

Карты идентификационные

МЕТОДЫ ИСПЫТАНИЙ

Часть 1

Общие характеристики

(ISO/IEC 10373-1:2006 IDT)

Москва

Стандартинформ

2019

Предисловие

1 ПОДГОТОВЛЕН Федеральным государственным унитарным предприятием «Всероссийский научно-исследовательский институт стандартизации и сертификации в машиностроении» (ВНИИНМАШ) и Техническим комитетом по стандартизации ТК 22 «Информационные технологии» на основе собственного перевода на русский язык англоязычной версии стандарта, указанного в пункте 4

2 ВНЕСЕН Техническим комитетом по стандартизации ТК 22 «Информационные технологии»

3 УТВЕРЖДЕН И ВВЕДЕН В ДЕЙСТВИЕ Приказом Федерального агентства по техническому регулированию и метрологии от 29 сентября 2010 г. № 281-ст

4 Настоящий стандарт идентичен международному стандарту ИСО/МЭК 10373-1:2006 «Карты идентификационные. Методы испытаний. Часть 1. Общие характеристики» (ISO/IEC 10373-1:2006 «Identification cards - Test methods - Part 1: General characteristics», IDT).

При применении настоящего стандарта рекомендуется использовать вместо ссылочных международных стандартов соответствующие им национальные стандарты, сведения о которых приведены в дополнительном приложении ДА.

Сноски в тексте стандарта, выделенные курсивом, приведены для пояснения текста оригинала

5 ВЗАМЕН ГОСТ Р ИСО/МЭК 10373-1-2002

6 ПЕРЕИЗДАНИЕ. Январь 2019 г.

7 Некоторые положения международного стандарта, указанного в пункте 4, могут являться объектами патентных прав. Международная организация по стандартизации (ИСО) и Международная электротехническая комиссия (МЭК) не несут ответственности за идентификацию подобных патентных прав

Правила применения настоящего стандарта установлены в статье 26 Федерального закона от 29 июня 2015 г. 162-ФЗ «О стандартизации в Российской Федерации». Информация об изменениях к настоящему стандарту публикуется в ежегодном (по состоянию на 1 января текущего года) информационном указателе «Национальные стандарты», а официальный текст изменений и поправок - в ежемесячном информационном указателе «Национальные стандарты». В случае пересмотра (замены) или отмены настоящего стандарта соответствующее уведомление будет опубликовано в ближайшем выпуске ежемесячного информационного указателя «Национальные стандарты». Соответствующая информация, уведомление и тексты размещаются также в информационной системе общего пользования - на официальном сайте Федерального агентства по техническому регулированию и метрологии в сети Интернет (www.gost.ru)

Содержание

1 Область применения. 3

2 Нормативные ссылки. 3

3 Термины и определения. 3

4 Нормальные условия испытаний. 5

4.1 Нормальные климатические условия. 5

4.2 Кондиционирование. 5

4.3 Выбор методов испытаний. 5

4.4 Допускаемые отклонения. 5

4.5 Суммарная погрешность измерений. 5

5 Методы испытаний. 5

5.1 Общее коробление карты.. 5

5.2 Размеры карты.. 6

5.3 Прочность сцепления. 7

5.4 Химическая стойкость. 9

5.5 Стабильность размеров и коробление карт при воздействии температуры и влажности. 10

5.6 Слипаемость. 11

5.7 Жесткость при изгибе. 11

5.8 Динамическое изгибающее воздействие. 12

5.9 Динамическое скручивающее воздействие. 14

5.10 Непрозрачность. 15

5.11 Ультрафиолетовое излучение. 18

5.12 Рентгеновские лучи. 18

5.13 Статические магнитные поля. 19

5.14 Рельефная высота символов. 19

5.15 Термостойкость. 19

5.16 Искажения поверхности и выступающие участки. 21

Приложение ДА (справочное) Сведения о соответствии ссылочных международных стандартов национальным стандартам.. 21

ГОСТ Р ИСО/МЭК 10373-1-2010

НАЦИОНАЛЬНЫЙ СТАНДАРТ РОССИЙСКОЙ ФЕДЕРАЦИИ

Карты идентификационные

МЕТОДЫ ИСПЫТАНИЙ

Часть 1

Общие характеристики

Identification cards. Test methods. Part 1. General characteristics

Дата введения - 2011-07-01

1 Область применения

Стандарты комплекса ИСО/МЭК 10373 устанавливают методы испытаний для определения характеристик идентификационных карт по ИСО/МЭК 7810 (далее - карты). На каждый метод испытания приводится указание в одном или нескольких основных стандартах, которыми могут быть ИСО/МЭК 7810 либо один или несколько дополнительных стандартов, устанавливающих требования к конкретным технологиям хранения информации, применяемым в идентификационных картах.

Настоящий стандарт устанавливает методы испытаний, являющиеся общими для одной или нескольких технологий хранения информации на картах. Остальные стандарты комплекса ИСО/МЭК 10373 устанавливают другие методы испытаний, предназначенные для конкретных технологий.

Примечания

1 Критерии оценки результатов испытаний не включены в стандарты на методы испытаний; они установлены в основных стандартах.

2 Испытания следует проводить независимо одно от другого. Любую конкретную карту не следует подвергать последовательно всем испытаниям.

2 Нормативные ссылки

В настоящем стандарте использованы нормативные ссылки на следующие международные стандарты:

ISO 105-Е04:19941), Textiles - Tests for colour fastness - Part E04: Colour fastness to perspiration (Текстиль. Испытания на устойчивость окраски. Часть Е04. Устойчивость окраски к поту)

__________

1) Заменен на ISO 105-E04:2013.

ISO 1302:2002, Geometrical Product Specifications (GSP) - Indication of surface texture in technical product documentation (Геометрические характеристики изделий (GPS). Обозначение структуры поверхности в технической документации на изделие)

ISO 1817, Rubber, vulcanized - Determination of the effect of liquids (Резина вулканизованная. Определение стойкости к воздействию жидкостей)

ISO 9227:19902), Corrosion tests in artificial atmospheres - Salt spray tests (Испытания на стойкость к коррозии в искусственных средах. Испытания распыленным соляным раствором)

__________

2) Заменен на ISO 9227-:2017.

ISO/IEC 10373-2, Identification cards - Test methods - Part 2: Cards with magnetic stripes (Карточки идентификационные. Методы испытаний. Часть 2. Карточки с магнитными полосами)

3 Термины и определения

В настоящем стандарте применены следующие термины с соответствующими определениями.

3.1 метод испытания (test method): Метод проверки характеристик карт с целью подтверждения их соответствия требованиям стандартов.

3.2 работоспособное состояние (testably functional): Состояние карты, сохранившееся после некоторого потенциально разрушительного воздействия и соответствующее следующим требованиям:

a) любая магнитная полоса, находящаяся на карте, показывает соотношение между амплитудами сигналов до и после воздействия в соответствии с требованиями основного стандарта;

b) любая(ые) интегральная(ые) схема(ы), содержащаяся(иеся) в карте, сохраняет(ют) реакцию на восстановление (установку в исходное состояние) в виде «Ответ-на-Восстановление»3) в соответствии с требованиями основного стандарта;

__________

3) Стандарты данного комплекса не рассматривают испытание с целью установления функциональных возможностей карт на интегральных схемах в полном объеме. Методы испытаний требуют подтверждения лишь минимальных возможностей (тестируемой работоспособности). При определенных обстоятельствах могут быть применены дополнительные критерии, обусловленные спецификой конкретного случая.

c) любые контакты, связанные с любой(ыми) интегральной(ыми) схемой(ами), содержащейся(имися) в карте, сохраняют электрическое сопротивление в соответствии с требованиями основного стандарта;

d) любая оптическая память, содержащаяся в карте, сохраняет оптические характеристики в соответствии с требованиями основного стандарта.

3.3 коробление (warpage): Отклонение от плоскостности.

3.4 рельефная высота (символа) [embossing relief height (of a character)]: Локальное увеличение высоты поверхности карты, вызванное процессом нанесения на ее поверхность выпуклых символов.

3.5 прочность сцепления (peel strength): Способность карты сопротивляться разделению смежных слоев материала, образующих ее структуру.

3.6 химическая стойкость (resistance to chemicals): Способность карты сопротивляться ухудшению функционирования и внешнего вида в результате воздействия на нее наиболее распространенных химических веществ.

3.7 размерная стабильность (dimensional stability): Способность карты сохранять размеры при воздействии определенных температур и влажности.

3.8 слипаемость (adhesion or blocking): Способность новых карт слипаться друг с другом при укладывании в стопку.

3.9 жесткость при изгибе (bending stiffness): Способность карты сопротивляться сгибанию.

3.10 динамическое изгибающее воздействие (dynamic bending stress): Циклически прилагаемое изгибающее воздействие определенных амплитуды и направления относительно карты.

3.11 динамическое скручивающее воздействие (dynamic torsional stress): Циклически прилагаемое скручивающее воздействие определенных амплитуды и направления относительно карты.

3.12 коэффициент пропускания T [(optical) transmittance factor T]: Отношение измеренного потока оптического излучения Фt, пропущенного сквозь образец, к потоку оптического излучения Фj, измеренному при отсутствии образца у апертуры измерительного устройства

T = Фtj.

Примечание - Не применимо к изданиям ИСО/МЭК 7810, вышедшим позднее 2003 г.

3.13 непрозрачность (оптическая плотность) DT [opacity (optical transmission density) DT]: Десятичный логарифм величины, обратной коэффициенту пропускания

DT = log101/T = log10Фj/Фt.

Примечание - Не применимо к изданиям ИСО/МЭК 7810, вышедшим позднее 2003 г.

3.14 нормальное применение (normal use): Применение карты в качестве идентификационной (см. раздел 4 ИСО/МЭК 7810:2003), включая использование в машинных процессах, соответствующих технологии (хранения информации), реализованной в данной карте, и хранение карты как личного документа в промежутках между машинными процессами.

4 Нормальные условия испытаний

4.1 Нормальные климатические условия

Испытания проводят при температуре окружающей среды (23 ± 3) °С и относительной влажности воздуха от 40 % до 60 %, если не оговорены иные климатические условия.

4.2 Кондиционирование

Если метод испытания требует проведения кондиционирования, испытуемые карты выдерживают в нормальных климатических условиях в течение 24 ч до начала испытания.

4.3 Выбор методов испытаний

Проводят только те испытания, которые необходимы для проверки характеристик карты, указанных в соответствующем основном стандарте.

4.4 Допускаемые отклонения

Отклонения значений характеристик испытательного оборудования (например, линейных размеров) и параметров испытательных режимов (например, параметров настройки испытательного оборудования) от указанных в стандарте значений не должны быть более ±5 %, если не оговорены другие допускаемые отклонения.

4.5 Суммарная погрешность измерений

Суммарная погрешность измерений по каждой величине, определяемой при испытаниях, должна быть указана в протоколе испытаний.

5 Методы испытаний

5.1 Общее коробление карты

Целью данного испытания является измерение степени коробления испытуемого образца карты.

5.1.1 Средства испытания

Проектор или аналогичный прибор с погрешностью не более 0,05 мм.

5.1.2 Порядок проведения испытания

Перед испытанием карту кондиционируют по 4.2. Испытание проводят в нормальных климатических условиях, указанных в 4.1.

Карту помещают на плоскую жесткую пластину измерительного прибора. По меньшей мере три угла карты должны находиться на пластине (коробление карты должно быть выпуклым относительно пластины). Степень коробления определяют по измерительному прибору в точке максимального смещения профиля карты (см. рисунок 1). Смещение профиля измеряют от верхней поверхности карты.

Примечание - Точка максимального смещения не обязательно может находиться в центре карты.

Рисунок 1 - Изображение, полученное с помощью проекционного прибора
при измерении коробления

5.1.3 Правила оформления результатов испытания

В протоколе испытаний следует указать значение коробления, измеренное в точке максимального смещения.

5.2 Размеры карты

Целью данного испытания является измерение высоты, ширины и толщины испытуемого образца карты.

5.2.1 Толщина

5.2.1.1 Средство испытания

Микрометр с пяткой и микрометрическим винтом диаметром 3 - 8 мм, плоскими измерительными поверхностями и погрешностью не более 0,005 мм.

5.2.1.2 Порядок проведения испытания

Перед испытанием карту кондиционируют по 4.2. Испытание проводят в нормальных климатических условиях, указанных в 4.1.

Толщину карты измеряют микрометром в четырех точках, расположенных в четырех квадрантах карты, соответствующих рисунку 2. Точки измерений не должны находиться на полосе для подписи, магнитной полосе или контактах (для карт с интегральной(ыми) схемой(ами)) или любых других выступающих участках карты. Измерительное усилие микрометра должно быть от 3,5 до 5,9 H.

Рисунок 2 - Расположение квадрантов

5.2.1.3 Правила оформления результатов испытания

В протоколе испытаний указывают максимальное и минимальное значения результатов четырех измерений.

5.2.2 Высота и ширина

5.2.2.1 Средства испытания

В процессе испытания используют следующие средства:

a) плоскую жесткую горизонтальную поверхность, среднее арифметическое отклонение профиля которой не более 3,2 мкм в соответствии с требованиями ИСО 1302:2002;

b) средство измерений с погрешностью не более 2,5 мкм;

c) груз весом (2,2 ± 0,2) H.

5.2.2.2 Порядок проведения испытания

Перед испытанием карту кондиционируют по 4.2. Испытание проводят в нормальных климатических условиях, указанных в 4.1.

Карту располагают на плоской жесткой горизонтальной поверхности и помещают на нее груз для выпрямления. После этого измеряют высоту и ширину карты. Находят максимальное и минимальное значения высоты и ширины.

5.2.2.3 Правила оформления результатов испытания

Протокол испытаний должен содержать заключение о соответствии/несоответствии карты требованиям основного стандарта, а также максимальное и минимальное значения высоты и ширины карты.

5.3 Прочность сцепления

Целью данного испытания является измерение прочности сцепления между слоями карты.

5.3.1 Средства испытания

В процессе испытания используют следующие средства:

a) острый нож;

b) липкую чувствительную к давлению армированную волокнистую ленту или зажим;

c) разрывную машину, снабженную самопишущим устройством, или аналогичную испытательную установку;

d) захватное устройство;

e) стабилизирующую пластину (применяют при необходимости) с нанесенным на нее слоем адгезива или липкой лентой, соответствующую следующим требованиям:

1) прочность сцепления пластины с картой должна быть достаточной для того, чтобы во время испытания пластина и карта не разъединялись;

2) пластина не должна прогибаться во время измерения;

3) размеры пластины должны быть равны или быть больше размеров карты.

Пример - Подходящей можно считать алюминиевую пластину размерами 60´90´2 мм с липкой лентой.

5.3.2 Порядок проведения испытания

Перед испытанием карту кондиционируют по 4.2. Испытание проводят в нормальных климатических условиях, указанных в 4.1.

Карту или ее верхний слой разрезают ножом на секции шириной (10 ± 0,2) мм каждая, как показано на рисунке 3.

Рисунок 3 - Подготовка карты

Отделяют ножом от основы карты полоску верхнего слоя длиной приблизительно 10 мм и прикрепляют зажим или липкую ленту к ее краю, как показано на рисунке 4.

Рисунок 4 - Подготовка образца к испытанию

Если в процессе измерения невозможно соблюсти угол отрыва 90°, к основе карты заранее приклеивают стабилизирующую пластину.

Подготовленную к испытанию карту устанавливают в разрывной машине в приспособлении для закрепления испытуемого образца, как показано на рисунке 5. Карта должна быть зафиксирована.

Рисунок 5 - Схема установки карты в разрывной машине

Разрывную машину приводят в действие в соответствии с руководством по ее эксплуатации при скорости перемещения активного захвата 300 мм/мин для определения прочности сцепления (силы отрыва) в ньютонах.

В соответствии с рисунком 6, исключая из рассмотрения первые и последние 5 мм диаграммы, а также любые пики на участках диаграммы длиной менее 1 мм, определяют полоску карты с наименьшим значением прочности сцепления. Данное значение принимают за результат измерения прочности сцепления для всей карты.

Примечание - Размеры на рисунке 6 соответствуют аналогичным размерам на карте.

Рисунок 6 - Примеры диаграмм прочности сцепления

5.3.3 Правила оформления результатов испытания

Протокол испытаний должен содержать измеренное значение прочности сцепления с указанием соответствующей полоски карты, диаграмму, показывающую место на полоске, где было найдено наименьшее значение прочности сцепления, а также информацию о разрывах, произошедших в процессе испытания.

5.4 Химическая стойкость

Целью данного испытания является определение наличия каких-либо негативных последствий, вызванных воздействием на испытуемую карту химических загрязнений.

5.4.1 Растворы для испытаний

5.4.1.1 Растворы для кратковременного воздействия

Используют следующие растворы:

a) 5 %-ный (по массе) водный раствор хлористого натрия (NaCl);

b) 5 %-ный (по массе) водный раствор уксусной кислоты (CH3COOH);

c) 5 %-ный (по массе) водный раствор карбоната натрия (Na2CO3);

d) 60 %-ный (по массе) водный раствор этилового спирта (CH3CH2OH, из зерна);

e) 10 %-ный (по массе) водный раствор сахарозы (C12H22O11);

f) горючее B (в соответствии с требованиями ИСО 1817);

g) 50 %-ный (по массе) водный раствор этиленгликоля (HOCH2CH2OH).

Для приготовления растворов используют химические реактивы с содержанием:

- хлористого натрия (NaCl) не менее 98 %;

- уксусной кислоты (CH3COOH) не менее 99 %;

- карбоната натрия (Na2 CO 3) не менее 99 %;

- этилового спирта (CH3CH2OH) не менее 93 %;

- сахарозы (C12H22O11) не менее 98 %;

- этиленгликоля (HOCH2CH2OH) не менее 98 %.

5.4.1.2 Растворы для продолжительного воздействия

Используют следующие растворы:

a) раствор, имитирующий соляной туман;

b) растворы, имитирующие пот:

1) щелочной;

2) кислотный.

Щелочной и кислотный растворы должны быть приготовлены в соответствии с требованиями ИСО 105-Е04.

5.4.2 Порядок проведения испытаний

Для каждого испытания следует использовать отдельный образец карты.

Перед испытанием карту кондиционируют по 4.2. Испытание проводят в нормальных климатических условиях, указанных в 4.1.

Перед испытанием визуально проверяют внешний вид каждой испытуемой карты и заносят результаты проверки в протокол испытаний.

Проводят измерения, указанные в основном стандарте.

На картах с магнитной полосой производят запись плотностью 20 переходов потока/мм с использованием тока Imin (либо применяют значения плотности записи и тока записи при испытаниях, указанные в основном стандарте), а затем измеряют и регистрируют амплитуду сигнала.

Карту подвергают соответствующему кратковременному или продолжительному воздействию (5.4.2.1 и 5.4.2.2).

После завершения испытания с использованием горючего В [5.4.1.1, перечисление f)] оставшееся на карте горючее необходимо сразу же удалить с ее поверхности с помощью впитывающей ткани и просушить карту в течение не менее 15 мин в вытяжной трубе.

После извлечения карты из любого другого раствора [5.4.1.1, перечисления а), b), с), d), е) или g)] оставшиеся на карте химикаты необходимо сразу же удалить с ее поверхности путем промывания карты в дистиллированной воде и последующего осушения с помощью впитывающей влагу ткани.

После этого проводят заключительные измерения, указанные в основном стандарте.

На картах с магнитной полосой измеряют амплитуду сигнала с помощью той же аппаратуры, которую использовали для начальных измерений. Результаты измерений сравнивают с амплитудой, полученной в начале испытания.

Затем карту осматривают для выявления внешних дефектов, возникших в процессе проведения испытания, и заносят результаты осмотра в протокол испытаний.

5.4.2.1 Кратковременное воздействие

Карту погружают на 1 мин в один из растворов, перечисленных в 5.4.1.1. Температура раствора должна быть от 20 °C до 25 °C.

5.4.2.2 Продолжительное воздействие

Карту, установленную в испытательной камере в соответствии с требованиями ИСО 9227, подвергают воздействию соляного тумана (см. 5.4.1.2) в течение 24 ч.

Карту погружают в каждый из растворов, имитирующих пот (см. 5.4.1.2), на 24 ч.

5.4.3 Правила оформления результатов испытаний

Протокол испытаний должен содержать заключение, сохранила ли карта работоспособное состояние (см. раздел 3) после испытания, а также следующие результаты:

a) начальных и заключительных измерений, требуемых основным стандартом;

b) внешнего осмотра.

5.5 Стабильность размеров и коробление карт при воздействии температуры и влажности4)

__________

4) Влияние влажности может наблюдаться во время значительно более длительных периодов воздействия.

Целью данного испытания является определение того, остаются ли размеры и плоскостность карты после ее выдерживания при заданных температуре окружающей среды и влажности воздуха в пределах, установленных в основном стандарте.

5.5.1 Порядок проведения испытания

Перед испытанием карту кондиционируют по 4.2.

Испытуемую карту помещают на плоскую горизонтальную поверхность и выдерживают по 60 мин в следующих условиях в указанной последовательности:

а) температура окружающей среды минус (35 ± 3) °C;

б) температура окружающей среды плюс (50 ± 3) °C при относительной влажности воздуха (95 ± 5) %.

По окончании каждого выдерживания в условиях, указанных в перечислениях а) и б), карту помещают в нормальные климатические условия по 4.1 на 24 ч, а затем измеряют ее размеры и коробление.

5.5.2 Правила оформления результатов испытания

Протокол испытаний должен содержать измеренные значения размеров и коробления карты после каждого воздействия.

5.6 Слипаемость

Целью данного испытания является определение того, приводит ли укладывание в стопку готовых карт без тиснения к каким-либо негативным для них последствиям.

5.6.1 Порядок проведения испытания

Перед испытанием образцы карт без тиснения кондиционируют по 4.2.

Следует убедиться, что каждую карту можно вручную легко отделить от других карт.

Карты укладывают в стопки по 5 шт. оборотной стороной вниз в одном направлении. Затем на поверхность верхней карты воздействуют постоянным давлением (2,5 ± 0,13) кПа и выдерживают карты в таком состоянии в течение 48 ч при температуре окружающей среды (40 ± 3) °С и относительной влажности воздуха от 40 % до 60 %.

Через 48 ч карты возвращают в нормальные климатические условия по 4.1 и вручную проверяют, легко ли они отделяются друг от друга.

Затем осматривают карты с целью обнаружения видимых признаков следующих негативных последствий, которые могли возникнуть в результате испытания:

- расслаивания,

- обесцвечивания или изменения цвета,

- изменений отделки поверхности,

- переноса материала с одной карты на другую,

- деформации (по сравнению с внешним видом карты до испытания).

5.6.2 Правила оформления результатов испытания

Протокол испытаний должен содержать заключение о том, легко ли карты отделялись одна от другой вручную после кондиционирования и испытания, были ли обнаружены видимые признаки негативных последствий и, если были, то протокол испытаний должен содержать также описание их характера и степени выраженности.

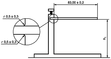
5.7 Жесткость при изгибе

Целью данного испытания является определение, находится ли жесткость при изгибе образца карты в пределах, установленных в основном стандарте.

5.7.1 Порядок проведения испытания

Перед испытанием карту кондиционируют по 4.2. Испытание проводят в нормальных климатических условиях, указанных в 4.1.

Испытуемую карту плотно закрепляют в таком же зажимном устройстве, как при испытании на термостойкость (см. 5.15), лицевой стороной вверх так, чтобы ее левый край полностью находился в зажиме.

Измеряют расстояние h1 (рисунок 7) в исходном положении карты.

Прикладывают нагрузку F, эквивалентную 0,7 H, вдоль всей правой стороны карты не далее 3 мм от края карты.

Измеряют расстояние h2 (рисунок 8) через 1 мин после приложения нагрузки.

Затем удаляют нагрузку F.

Через 1 мин измеряют расстояние h3 (рисунок 9).

Рисунок 7 - Карта в зажимном устройстве до приложения нагрузки

Рисунок 8 - Карта в зажимном устройстве во время действия нагрузки

Рисунок 9 - Карта в зажимном устройстве после снятия нагрузки

5.7.2 Правила оформления результатов испытания

Протокол испытаний должен содержать измеренные значения h1, h2 и h3, а также значения прогиба h1 - h2 и остаточной деформации h1 - h3.

5.8 Динамическое изгибающее воздействие

Целью данного испытания является определение того, приводит ли изгибающее воздействие, многократно оказываемое на карту, к каким-либо негативным механическим или функциональным последствиям.

5.8.1 Средства испытания

Машина для динамического испытания карты на изгиб должна соответствовать изображенной на рисунке 10.

Подвижный захват машины с помощью кривошипного механизма оказывает на карту синусоидальное изгибающее воздействие частотой 0,5 Гц. Минимальный прогиб hv задают исходным положением подвижного захвата, а максимальный прогиб hw - путем регулирования длины его хода.

Примечания

1 Прогибы hv и hw измеряют до нижней стороны карты.

2 Предпочтительным является угол a, равный 30°, который позволяет использовать данное оборудование также и для испытания материала пластиковой карты на изгиб при проверке ее долговечности.

Рисунок 10 - Машина для испытания на односторонний изгиб

5.8.2 Порядок проведения испытания

Перед испытанием карту кондиционируют по 4.2. Испытание проводят в нормальных климатических условиях, указанных в 4.1.

Испытуемую карту помещают между захватами испытательной машины (см. рисунок 10) так, чтобы изгиб происходил вдоль оси B (см. рисунок 11) с искривлением карты по ширине. Если карта оснащена контактами, ее размещают контактами наверх.

Если в основном стандарте не указано иное, исходное положение подвижного захвата регулируют таким образом, чтобы получить минимальный прогиб hv, равный (2,00 ± 0,50) мм, а его ход должен быть таким, чтобы получить максимальный прогиб hw равный  мм.

Карту подвергают воздействию одной четвертой общего числа изгибов, определенного в основном стандарте, или, если это число не определено, 250 изгибам.

Карту снова размещают противоположной стороной наверх; изгиб по-прежнему должен происходить вдоль оси B с искривлением карты по ширине.

Карту подвергают воздействию приведенного выше числа изгибов.

Затем размещают карту так, чтобы ее исходная сторона оказалась наверху, но изгиб происходил вдоль оси A (см. рисунок 11) с искривлением карты по высоте. Если карта оснащена контактами, ее размещают контактами наверх.

Если в основном стандарте не указано иное, исходное положение подвижного захвата регулируют таким образом, чтобы получить минимальный прогиб hv, равный (1,00 ± 0,50) мм, а его ход должен быть таким, чтобы получить максимальный прогиб hw, равный  мм

Карту подвергают воздействию приведенного выше числа изгибов.

Рисунок 11 - Определение осей

Карту размещают противоположной стороной наверх; изгиб по-прежнему должен происходить вдоль оси A с искривлением карты по высоте.

Карту подвергают воздействию приведенного выше числа изгибов.

Проверяют работоспособность карты (см. раздел 3) до и после испытания. Данную проверку допускается проводить в процессе испытания.

5.8.3 Правила оформления результатов испытания

Протокол испытаний должен содержать заключение, сохранила ли карта работоспособное состояние (см. раздел 3) после испытания.

5.9 Динамическое скручивающее воздействие

Целью данного испытания является определение того, приводит ли скручивающее воздействие, многократно оказываемое на карту, к каким-либо негативным механическим или электрическим последствиям.

5.9.1 Средства испытания

Машина для динамического испытания карты на скручивание должна соответствовать изображенной на рисунке 12.

Рисунок 12 - Машина для испытания на скручивание

Машина оказывает на карту синусоидальное скручивающее воздействие, ограниченное заданным углом поворота согласно рисунку 13.

5.9.2 Порядок проведения испытания

Перед испытанием карту кондиционируют по 4.2. Испытание проводят в нормальных климатических условиях, указанных в 4.1.

Карту размещают в испытательной машине, изображенной на рисунке 12, так, чтобы она свободно удерживалась в пазах двух направляющих A и B, регулируя расстояние d таким образом, чтобы короткие боковые кромки карты могли поворачиваться на угол ±a относительно ее нейтрального положения.

Рисунок 13 - Функция воздействия

Устанавливают испытательную частоту 0,5 Гц, угол поворота a = 15° ± 1° и проводят указанное в основном стандарте число циклов скручивания или, если это число не определено, 1000 циклов скручивания.

Проверяют работоспособность карты (см. раздел 3) до и после испытания. Данную проверку допускается проводить в процессе испытания после окончания каждой четвертой части числа циклов скручивания, установленного в основном стандарте.

5.9.3 Правила оформления результатов испытания

Протокол испытаний должен содержать заключение, сохранила ли карта работоспособное состояние (см. раздел 3) после испытания.

5.10 Непрозрачность

В настоящем подразделе приведены два метода испытаний на непрозрачность. Данное обстоятельство - следствие планируемого перехода в основном стандарте к методу, предназначенному обеспечить более прямое воспроизведение средств обнаружения, используемых в устройствах обработки карт. Пользователи должны применять метод, соответствующий требованиям основного стандарта, которому данные испытуемые карты должны соответствовать.

5.10.1 Непрозрачность (для соответствия изданиям ИСО/МЭК 7810, вышедшим не позднее 2003 г., включая ИСО/МЭК 7810:2003)

Целью данного испытания является определение непрозрачности зон карты, установленных в основном стандарте.

Примечание - Данное испытание проводят в случаях, когда наличие карты обнаруживается по вызываемому ею ослаблению света между его источником и приемником.

5.10.1.1 Средства испытания

Спектрофотометр со светорассеивающей камерой в виде фотометрического шара, позволяющий измерять непрозрачность в спектральном диапазоне 400 - 1000 нм, с отверстием диаметром 8 мм.

5.10.1.2 Порядок проведения испытания

Перед испытанием карту кондиционируют по 4.2. Испытание проводят в нормальных климатических условиях, указанных в 4.1.

Спектрофотометр градуируют в соответствии с требованиями руководства по его эксплуатации.

Карту располагают как можно ближе к измерительному отверстию фотометрического шара (режим полного пропускания света для некоторых приборов).

В пределах зон карты, установленных в основном стандарте, находят и регистрируют значение минимальной непрозрачности в диапазоне длин волн 400 - 1000 нм. Измерения проводят с интервалами 20 нм.

Примечание - Число измерений, необходимое для нахождения минимальной непрозрачности, уменьшится, если соответствующее место на карте установлено заранее.

5.10.1.3 Правила оформления результатов испытания

В протоколе испытаний должны быть указаны зарегистрированное значение минимальной непрозрачности, диапазон длин волн и место на карте с минимальной непрозрачностью.

5.10.2 Непрозрачность (для соответствия изданиям ИСО/МЭК 7810, вышедшим после ИСО/МЭК 7810:2003)

Целью данного испытания является определение непрозрачности карты в зонах, установленных в основном стандарте, на двух различных длинах волн инфракрасного излучения (ИК-излучения), представляющих собой области спектра, наиболее часто используемые в приложениях, в которых наличие карты обнаруживается по вызываемому ею ослаблению света, пропускаемого между его источником и приемником5).

__________

5) Методы обнаружения наличия карты, в которых используется свет с длинами волн, значительно отличающимися от применяемых в данном методе испытаний, могут не подходить для работы с картами, основанными на требовании к непрозрачности, установленном в изданиях ИСО/МЭК 7810, вышедших позднее 2003 г.

Примечание - На момент публикации настоящего стандарта самыми применяемыми источниками ИК-излучения являются излучающие диоды (ИД) на основе арсенида галлия (GaAs) либо на основе арсенида галлия в комбинации с арсенидом алюминия (GaAlAs), которые генерируют ИК-излучение с длиной волны в точке максимума спектрального распределения номинально 950 и 860 нм соответственно.

5.10.2.1 Средства испытания

В процессе испытания используют следующие средства:

a) инфракрасные ИД (ИК ИД) и фотоприемники со следующими характеристиками:

Длины волн

Ближняя ИК область спектра

Дальняя ИК область спектра

- мощность излучения ИД, мВт, не менее

5

5

- длина волны ИД в точке максимума спектрального распределения, нм

860 ± 10

950 ± 10

- ширина спектральной полосы ИД, соответствующая 50 %-ному уровню спада интенсивности излучения, нм, не более

50

50

- номинальная длина волны фотоприемника, соответствующая максимуму спектральной чувствительности, нм

900

900

b) материал для ограничения ИК-излучения, имеющий отверстие как для ИД, так и для фотоприемника в соответствии с рисунком 14;

Рисунок 14 - Правильное расположение ИК ИД и фотоприемника

c) монтажное приспособление, обеспечивающее расположение ИК ИД и фотоприемника на одной оси с допускаемыми отклонениями в пределах ±0,25 мм и углом конусности не более 5° в соответствии с рисунком 14a, а также их защиту от окружающего света;

Рисунок 14а - Правильное расположение ИК ИД и фотоприемника (уточнение)

d) цепь для управления источником излучения, включающая в себя средства для измерения тока, протекающего через фотоприемник, в соответствии с рисунком 15.

Рисунок 15 - Схема электрической цепи для испытания на непрозрачность
для каждой длины волны

Примечание - Резистор выбирают таким образом, чтобы прямой ток (IF) ИК ИД не превышал 90 % максимально допустимого значения, указанного изготовителем. Рекомендуется, чтобы ток фотоприемника находился в пределах от 5 до 15 мА при отсутствии преграды между ИК ИД и фотоприемником.

5.10.2.2 Порядок проведения испытания

Если для сканирования карты применяется механизированное оборудование, расстояние между отдельными позициями измерения должно быть меньше или равно половине диаметра отверстия в материале, ограничивающем ИК-излучение. В случае непрерывного сканирования скорость должна быть менее 0,05 диаметра отверстия, разделенного на время реакции системы ИД/фотоприемник.

5.10.2.2.1 Градуировка

Эталонный материал ORM7810, указанный в основном стандарте, располагают между ИД и фотоприемником как можно ближе к фотоприемнику. Регистрируют значение тока через фотоприемник Iref. Перемещают эталонный материал между ИД и фотоприемником для получения минимального тока. После градуировки эталонный материал удаляют.

Примечание - Эталонный материал ORM7810 можно получить по адресу: Eclipse Laboratories, 7732 West 78th Street, Bloomington, MN55439 USA <www.eclipselaboratories.com>.

5.10.2.2.2 Измерение

Перед испытанием карту кондиционируют по 4.2. Испытание проводят в нормальных климатических условиях, указанных в 4.1.

Испытуемую карту располагают между ИД и фотоприемником как можно ближе к фотоприемнику. В пределах зон карты, указанных в основном стандарте, регистрируют максимальное значение тока через фотоприемник Icard. Перемещают карту между ИД и фотоприемником для получения максимального тока.

Определяют и регистрируют отношение непрозрачности Icard/Iref для каждой длины волны ИД.

5.10.2.3 Правила оформления результатов испытания

В протоколе испытаний должны быть указаны зарегистрированные значения отношения минимальной непрозрачности для каждой длины волны ИД и места на карте, где они находятся.

5.11 Ультрафиолетовое излучение

Целью данного испытания является определение негативных последствий, вызванных воздействием на испытуемую карту ультрафиолетового излучения.

5.11.1 Порядок проведения испытания

Перед испытанием карту кондиционируют по 4.2. Испытание проводят в нормальных климатических условиях, указанных в 4.1.

Карту облучают монохроматическим излучением с длиной волны 254 нм, поддерживая при этом нормальные климатические условия.

Сначала облучению подвергают лицевую сторону карты, затем повторяют процедуру на ее оборотной стороне. Суммарная энергетическая экспозиция должна составлять 0,15 Вт×с/мм2 для каждой стороны карты. Энергетическая освещенность на поверхности карты должна соответствовать времени облучения 10 - 30 мин в соответствии с формулой

Пример - При энергетической освещенности 0,12 мВт/мм2 время облучения составляет 20 мин 50 с.

После испытания проверяют работоспособность карты (см. раздел 3).

5.11.2 Правила оформления результатов испытания

Протокол испытаний должен содержать заключение, сохранила ли карта работоспособное состояние (см. раздел 3) после испытания.

5.12 Рентгеновские лучи

Целью данного испытания является определение негативных последствий, вызванных воздействием на испытуемую карту рентгеновского излучения.

5.12.1 Порядок проведения испытания

Перед испытанием карту кондиционируют по 4.2. Испытание проводят в нормальных климатических условиях, указанных в 4.1.

Карту с двух сторон подвергают воздействию рентгеновского излучения при ускоряющем напряжении 100 кВ для получения дозы, указанной в основном стандарте.

Проверяют работоспособность карты после облучения.

5.12.2 Правила оформления результатов испытания

Протокол испытаний должен содержать заключение, сохранила ли карта работоспособное состояние (см. раздел 3) после испытания.

5.13 Статические магнитные поля

Целью данного испытания является определение негативных последствий, вызванных воздействием на испытуемую карту статического магнитного поля.

5.13.1 Порядок проведения испытания

Перед испытанием карту кондиционируют по 4.2. Испытание проводят в нормальных климатических условиях, указанных в 4.1.

Карту вводят в статическое магнитное поле, значение напряженности которого установлено в основном стандарте, так, чтобы направление поля было перпендикулярно к плоскости карты. Скорость введения должна быть от 200 до 250 мм/с.

После испытания проверяют работоспособность карты.

5.13.2 Правила оформления результатов испытания

Протокол испытаний должен содержать заключение, сохранила ли карта работоспособное состояние (см. раздел 3) после испытания.

5.14 Рельефная высота символов

Целью данного испытания является определение общей и рельефных высот рельефных символов на образце карты.

5.14.1 Средства испытания

Микрометр с пяткой и микрометрическим винтом диаметром 3 - 8 мм и плоскими измерительными поверхностями.

5.14.2 Порядок проведения испытания

Перед испытанием карту кондиционируют по 4.2. Испытание проводят в нормальных климатических условиях, указанных в 4.1.

Высоту каждого рельефного символа измеряют с помощью микрометра. Измерительное усилие микрометра должно быть от 3,5 до 5,9 H.

Для определения рельефной высоты символа необходимо из общей высоты символа, полученной путем прямого измерения, вычесть значение толщины карты, измеренное в соответствующем квадранте (см. рисунок 2).

5.14.3 Правила оформления результатов испытания

Протокол испытаний должен содержать значения общей и рельефной высот каждого рельефного символа.

5.15 Термостойкость

Целью данного испытания является определение того, остается ли структура карты неизменной в соответствии с требованиями основного стандарта после воздействия заданной температуры. Термостойкость готовой карты определяют по ее температурной деформации.

За температурную деформацию карты Dh принимают наибольший из двух результатов, полученных при размещении карты в испытательном оборудовании лицевой стороной наверх DhF и вниз DhB.

5.15.1 Средства испытания

Зажимное устройство, способное плотно зажать образец карты (см. рисунок 16), и климатическая камера, позволяющая изменять температуру и влажность в соответствии со следующими условиями.

5.15.2 Порядок проведения испытания

Перед испытанием карту кондиционируют по 4.2. Испытание проводят в нормальных климатических условиях, указанных в 4.1.

Карту закрепляют в зажимном устройстве так, чтобы был зажат весь короткий край карты, а ее лицевая сторона была обращена наверх. Если карта оснащена интегральными схемами с контактами, то ее располагают так, чтобы контакты находились напротив зажимного устройства. Измеряют h1 согласно рисунку 16.

Рисунок 16 - Карта в зажимном устройстве до воздействия температуры

Зажимное устройство с картой помещают в климатическую камеру, температура и влажность в которой соответствуют указанным в основном стандарте, и выдерживают в этих условиях в течение 4 ч. При температуре свыше 50 °C контролировать влажность в камере не обязательно. Карта в камере не должна подвергаться воздействию воздушных потоков.

Через 4 ч зажимное устройство с картой извлекают из камеры. После охлаждения их в течение не менее 30 мин в нормальных климатических условиях по 4.1 измеряют h2 согласно рисунку 17.

Рисунок 17 - Карта в зажимном устройстве после воздействия температуры

Вычисляют DhF по формуле

ΔhF = h1 - h2.

Подвергают испытанию другую аналогичную карту, располагая ее оборотной стороной наверх, и вычисляют DhB по формуле

ΔhB = h1 - h2.

Определяют максимальный прогиб Dh

Dh = max (çDhFç, çDhBç).

Визуально проверяют, есть ли расслаивание и обесцвечивание карт.

5.15.3 Правила оформления результатов испытания

Протокол испытаний должен содержать значение максимального прогиба Dh и заключение о том, произошло ли расслаивание или обесцвечивание карт.

5.16 Искажения поверхности и выступающие участки

Искажения поверхности и выступающие участки (за исключением рельефных символов) измеряют, используя средства и процедуры, приведенные в ИСО/МЭК 10373-2 для определения высоты и профиля поверхности магнитной полосы.

Приложение ДА
(справочное)

Сведения о соответствии ссылочных международных стандартов
национальным стандартам

Таблица ДА.1

Обозначение ссылочного международного стандарта

Степень соответствия

Обозначение и наименование соответствующего национального стандарта

ISO 105-E04

IDT

ГОСТ Р ИСО 105-Е04-2014 «Материалы текстильные. Определение устойчивости окраски. Часть Е04. Метод определения устойчивости окраски к поту»

ISO 1302:2002

-

*

ISO 1817

IDT

ГОСТ Р ИСО 1817-2009 «Резина. Определение стойкости к воздействию жидкостей»

ISO 9227

-

*

ISO/IEC 10373-2

IDT

ГОСТ Р ИСО/МЭК 10373-2-2010 «Карты идентификационные. Методы испытаний. Часть 2. Карты с магнитной полосой»

* Соответствующий национальный стандарт отсутствует. До его принятия рекомендуется использовать перевод на русский язык данного международного стандарта.

Примечание - В настоящей таблице использовано следующее условное обозначение степени соответствия стандартов:

- IDT - идентичные стандарты.

 

Ключевые слова: обработка данных, устройства хранения данных, карты идентификационные, основные характеристики, методы испытаний