Государственная система санитарно-эпидемиологического
нормирования Российской Федерации

4.1. МЕТОДЫ КОНТРОЛЯ. ХИМИЧЕСКИЕ ФАКТОРЫ

Определение концентраций загрязняющих
веществ в атмосферном воздухе

Сборник методических указаний
МУК 4.1.591-96 - 4.1.645-96,
4.1.662-97, 4.1.666-97

Минздрав России
Москва • 1997

1. Подготовлены творческим коллективом специалистов в составе: Малышева А.Г. (руководитель), Зиновьева Н.П., Суворова Ю.Б., Растянников Е.Г., Топорова И.Н., Евстигнеева М.А., Жаворонкова Н.А. (НИИ экологии человека и гигиены окружающей среды им. А.Н. Сысина РАМН), при участии Кучеренко А.И. (Госкомсанэпиднадзор России).

2. Утверждены и введены в действие Первым заместителем Председателя Госкомсанэпиднадзора России - заместителем Главного государственного врача Российской Федерации Семеновым С.В. 31 октября 1996 года.

3. Введены впервые.

СОДЕРЖАНИЕ

Область применения. 2

1. Погрешность измерений. 3

2. Метод измерений. 3

3. Средства измерений, вспомогательные устройства, материалы, реактивы.. 3

4. Требования безопасности. 4

5. Требования к квалификации операторов. 4

6. Условия измерений. 4

7. Подготовка к выполнению измерений. 4

8. Выполнение измерений. 6

9. Вычисление результатов измерений. 6

 

УТВЕРЖДАЮ

Первый заместитель Председателя
Госкомсанэпиднадзора России -
заместитель Главного государственного
санитарного врача Российской Федерации

С.В. Семенов

31 октября 1996 г.

Дата введения - с момента утверждения

Определение концентраций загрязняющих
веществ в атмосферном воздухе

Сборник методических указаний
МУК 4.1.591-96 - 4.1.645-96,
4.1.662-97, 4.1.666-97

Область применения

Методические указания по определению концентраций загрязняющих веществ в атмосферном воздухе предназначены для использования в системе госсанэпиднадзора России, при проведении аналитического контроля ведомственными лабораториями предприятий, а также научно-исследовательских институтов, работающих в области гигиены окружающей среды. Методические указания разработаны с целью обеспечения контроля соответствия уровня содержания загрязняющих веществ их гигиеническим нормам - предельно допустимым концентрациям (ПДК) и ориентировочно безопасным уровням воздействия (ОБУВ) - и являются обязательными при осуществлении аналитического контроля атмосферного воздуха.

Включенные в сборник методические указания разработаны в соответствии с требованиями ГОСТов 8.010-90 «Методики выполнения измерений», 17.2.4.02-81 «Охрана природы. Атмосфера. Общие требования к методам определения загрязняющих веществ», 17.0.0.02-79 «Охрана природы. Метрологическое обеспечение контроля загрязненности атмосферы, поверхностных вод и почвы. Основные положения», Р 1.5-92 (пункты 7.3). Все методики анализа метрологически аттестованы и обеспечивают определение веществ с нижним пределом обнаружения не выше 0,8 ПДКм.р. и суммарной погрешностью, не превышающей 25 %, с отбором пробы воздуха в течение 20 - 30 мин при определении максимальной разовой концентрации или круглосуточном отборе пробы при определении среднесуточной концентрации.

В сборнике представлены методики контроля атмосферного воздуха за содержанием нормируемых соединений. Методики основаны на использовании физико-химических методов анализа - фотометрии, потенциометрии, тонкослойной хроматографии с различного вида детектированием, ионной хроматографии, газожидкостной, высокоэффективной жидкостной хроматографии, хромато-масс-спектрометрии. Приведено 55 методик по измерению концентраций 140 загрязняющих веществ на уровне и ниже их гигиенических нормативов в атмосферном воздухе населенных мест. Контролируемые вещества относятся к различным классам соединений: неорганическим веществам, ароматическим углеводородам, спиртам, органическим кислотам, эфирам, альдегидам, азотсодержащим углеводородам, фенолам, меркаптанам.

Методические указания одобрены и рекомендованы Комиссией по санитарно-гигиеническому нормированию «Лабораторно-инструментальное дело и метрологическое обеспечение» Госкомсанэпиднадзора России и бюро секции по физико-химическим методам исследования объектов окружающей среды Проблемной комиссии «Научные основы экологии человека и гигиены окружающей среды».

УТВЕРЖДЕНО

Первым заместителем Председателя
Госкомсанэпиднадзора России -
заместителем Главного государственного
санитарного врача Российской Федерации

31 октября 1996 г.

МУК 4.1.624-96

Дата введения - с момента утверждения

4.1. МЕТОДЫ КОНТРОЛЯ. ХИМИЧЕСКИЕ ФАКТОРЫ

Методические указания по
газохроматографическому определению
метилового и этилового спиртов в
атмосферном воздухе

Настоящие методические указания устанавливают газохроматографическую методику количественного химического анализа атмосферного воздуха для определения в нем содержания метилового и этилового спиртов в диапазоне концентраций 0,05 - 5,0 мг/м3.

CH4O

Мол. масса 32,04

Метиловый спирт (метанол) - прозрачная жидкость с характерным запахом, плотность - 0,791 г/см3, температура кипения - 64,7 °C, упругость пара - 95,7 мм рт. ст. (20 °C), растворяется в воде, эфире. В воздухе находится в виде паров.

Метиловый спирт является сильным ядом. ПДКм.р. для атмосферного воздуха населенных мест - 1,0 мг/м3, ПДКс.с. - 0,5 мг/м3.

C2H6O

Мол. масса 46,07

Этиловый спирт (этанол) - прозрачная жидкость с характерным запахом, плотность 0,789 г/см3, температура кипения - 78,3 °C, упругость пара - 44 мм рт. ст. (20 °C), растворяется в воде, эфире. В воздухе находится в виде паров.

Этиловый спирт обладает наркотическим действием. ПДК для атмосферного воздуха населенных мест - 5,0 мг/м3.

1. Погрешность измерений

Методика обеспечивает выполнение измерений с погрешностью, не превышающей ±15 %, при доверительной вероятности - 0,95.

2. Метод измерений

Измерение концентрации метилового и этилового спиртов выполняют методом газоадсорбционной хроматографии с использованием пламенно-ионизационного детектора.

Концентрирование спиртов из воздуха осуществляют в дистиллированную воду.

Нижний предел измерения в анализируемом объеме пробы - 0,2 мг/дм3.

Определению не мешают: другие спирты, кислоты, карбонилсодержащие соединения, эфиры, фенолы, фурановые соединения.

3. Средства измерений, вспомогательные устройства, материалы, реактивы

При выполнении измерений применяют следующие средства измерений, вспомогательные устройства, материалы и реактивы.

3.1. Средства измерений

Хроматограф ЛХМ-8МД, модель 5 или любой другой с пламенно-ионизационным детектором

Барометр-анероид М-67

ТУ 2504-1797-75

Весы аналитические ВЛА-200

ГОСТ 24104-80Е

Колбы мерные 4-100-2

ГОСТ 1770-74

Линейка измерительная

ГОСТ 17435-72

Лупа измерительная

ГОСТ 8309-75

Меры массы

ГОСТ 7328-82Е

Микрошприц МШ-10

ГОСТ 8043-75

Пипетки 7-1-1, 7-1-10, 7-1-5

ГОСТ 20292-74Е

Секундомер 2-го кл. точности

ГОСТ 5072-79

Термометр лабораторный шкальный ТЛ-2, цена деления 1 °С

ГОСТ 215-73Е

Цилиндр 4-50

ГОСТ 1770-74

Электроаспиратор модель 822

ТУ 64-1-862-72

3.2. Вспомогательные устройства

Хроматографическая колонка из стекла длиной 3 м и внутренним диаметром 3 мм

Вакуумный компрессор марки ВН-461М

Дистиллятор

ТУ 61-1-721-79

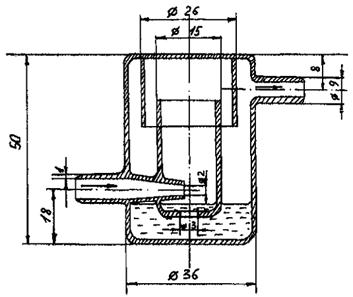
Поглотительные приборы «Шмель» ПВ-20, разработанные ВНИИ биологического приборостроения (рис. 1)

Редуктор водородный

ТУ 26-05-463-76

Редуктор кислородный

ТУ 26-05-235-70

3.3. Материалы

Азот сжатый

ГОСТ 9293-74

Воздух сжатый

ГОСТ 11882-73

Водород сжатый

ГОСТ 3022-80

Стекловата

Стеклянные заглушки

3.4. Реактивы

Ацетон, ч. д. а.

ГОСТ 2603-79

Вода дистиллированная

ГОСТ 6709-77

Полисорб-1, фракция 0,1 - 0,3 мм

ТУ 1011362-69

Спирт изобутиловый, х. ч.

ГОСТ 6016-77

Спирт метиловый, х. ч.

ГОСТ 6995-74

Спирт этиловый, х. ч.

ТУ 6-0951710-72

Хлороформ, х. ч.

ТУ 6-09-4263-76

4. Требования безопасности

4.1. При работе с реактивами соблюдают требования безопасности, установленные для работы с токсичными, едкими и легковоспламеняющимися веществами по ГОСТу 12.1.005-88.

4.2. При выполнении измерений с использованием газового хроматографа соблюдают правила электробезопасности в соответствии с ГОСТом 12.1.019-79 и инструкцией по эксплуатации прибора.

5. Требования к квалификации операторов

К выполнению измерений допускают лиц, имеющих квалификацию не ниже инженера-химика, с опытом работы на газовом хроматографе.

6. Условия измерений

При выполнении измерений соблюдают следующие условия:

• процессы приготовления растворов и подготовки проб к анализу проводят в нормальных условиях согласно ГОСТу 15150-69 при температуре воздуха (20 ± 10) °C, атмосферном давлении 630 - 800 мм рт. ст. и влажности воздуха не более 80 %;

• выполнение измерений на газовом хроматографе проводят в условиях, рекомендованных технической документацией к прибору.

7. Подготовка к выполнению измерений

Перед выполнением измерений проводят следующие работы: приготовление растворов, подготовка хроматографической колонки, установление градуировочной характеристики, отбор проб.

7.1. Приготовление растворов

Градуировочные растворы № 1 метилового и этилового спиртов (с = 0,055 мг/см3). В колбу вместимостью 25 см3, заполненную на 1/3 объема дистиллированной водой, вносят 1,375 мг спирта, доводят до метки водой и тщательно перемешивают. Срок хранения в холодильнике в склянках с притертыми пробками - 2 месяца.

Градуировочный раствор № 2 изобутилового спирта (внутренний стандарт) (с = 0,105 мг/см3). В колбу вместимостью 25 см3, заполненную на 1/3 объема дистиллированной водой, вносят 2,63 мг изобутилового спирта, доводят до метки водой и тщательно перемешивают. Срок хранения в холодильнике - 2 месяца.

Поглотительный раствор. Свежеперегнанная вода.

7.2. Подготовка хроматографической колонки

Хроматографическую колонку перед заполнением насадками трижды промывают горячей водой, дистиллированной водой, ацетоном, хлороформом и высушивают в токе азота. Сухую колонку фиксируют тампоном из стекловаты с одного конца и заполняют насадкой под вакуумом, уплотняя легким постукиванием. Концы колонки закрывают стекловатой и, не подключая к детектору, кондиционируют в токе газа-носителя (азота) с расходом 20 - 30 см3/мин при температуре 180 °C в течение 20 - 30 ч. После охлаждения колонку подключают к детектору, записывают нулевую линию в рабочем режиме. При отсутствии дрейфа нулевой линии колонка готова к работе.

7.3. Установление градуировочной характеристики

Градуировочную характеристику устанавливают с использованием градуировочных коэффициентов на градуировочных растворах. К 1,0 см3 градуировочного раствора № добавляют 1,0 см3 градуировочного раствора № 2. 1,0 мм3 полученной смеси вводят в испаритель и анализируют в следующих условиях:

температура термостата колонок

100 - 120 °C

температура испарителя

150 °C

расход газа-носителя (азот)

25 - 30 см3/мин

расход водорода

30 см3/мин

расход воздуха

300 см3/мин

объем пробы

1 мм3

относительные времена удерживания:

метилового спирта

0,16

этилового спирта

0,27

изобутилового спирта

1,00

На хроматограмме рассчитывают площади пиков метилового и изобутилового спиртов и по средним результатам из 3-х определений устанавливают градуировочный коэффициент по формуле:

 где

mм, mст - масса метилового и изобутилового спиртов в градуировочной смеси, мг/см3;

Sм, Sст - площади пиков метилового и изобутилового спиртов, мм2.

Аналогичным образом рассчитывают градуировочный коэффициент для этилового спирта.

7.4. Отбор проб

Отбор проб воздуха проводят согласно ГОСТу 17.2.3.01-86.

Воздух со скоростью 15 - 20 дм3/мин аспирируют через 2 последовательно соединенных поглотительных прибора, заполненных 10 см3 дистиллированной воды, в течение 20 мин. Срок хранения проб - 5 суток в холодильнике в склянках с притертыми пробками.

8. Выполнение измерений

Пробы из двух последовательно соединенных поглотительных приборов анализируют отдельно. 1,0 см3 пробы из каждого пробоотборника помещают в пробирку с притертой пробкой, добавляют 1,0 см3 градуировочного раствора № 2. На анализ в испаритель прибора вводят 1,0 мм3 смеси из каждой пробирки. На полученных хроматограммах рассчитывают площади пиков спиртов и определяют содержание метилового и этилового спирта (мг/см3) в пробе по формуле:

 где

Sм, Sст - площади пиков метилового или этилового и изобутилового спиртов, мм2;

mст - масса изобутилового спирта в 1,0 см3 стандартного раствора, мг/см3;

fм - градуировочный коэффициент для метилового или этилового спиртов.

За результат измерения принимают среднее арифметическое значение двух параллельных определений для первого и второго пробоотборника соответственно.

9. Вычисление результатов измерений

Концентрацию метанола или этанола в воздухе (мг/м3) рассчитывают по формуле:

 где

Xм1, Xм2 - содержание метилового или этилового спирта в первом и втором поглотительном приборе, соответственно, мг/см3;

V1, V2 - объем поглотительного раствора в первом и втором поглотительном приборе, соответственно, см3;

V0 - объем воздуха, отобранный для анализа и приведенный к нормальным условиям, м3;

 где

Р - атмосферное давление при отборе пробы воздуха, мм рт. ст.;

t - температура воздуха в местах отбора проб, °C;

Vt - объем пробы воздуха, м3.

Методические указания разработаны Е.Н. Коноваловой, В.Г. Костенко (НПО «Гидролизпром», ВНИИГИДРОЛИЗ, г. С.-Петербург).

Рис. 1. Поглотительный прибор «Шмель ПВ-20».