ГОСУДАРСТВЕННЫЙ ОРДЕНА ТРУДОВОГО
КРАСНОГО ЗНАМЕНИ, ПРОЕКТНЫЙ ИНСТИТУТ
ЛЕНИНГРАДСКИЙ
ПРОМСТРОЙПРОЕКТ
(ЛЕНПРОМСТРОЙПРОЕКТ)
ГОССТРОЯ СССР
РУКОВОДСТВО
по расчету
и проектированию
железобетонных,
стальных
и комбинированных
бункеров
![]()
Москва Стройиздат 1983
Рекомендовано к изданию решением технического совета ГПИ Ленинградский Промстройпроект.
Составлено к главам СНиП II-91-77 «Сооружения промышленных предприятий», СНиП II-21-75 «Бетонные и железобетонные конструкции» и СНиП II-23-81 «Стальные конструкции».
Приведены указания по проектированию монолитных и сборных железобетонных бункеров, комбинированных бункеров с вертикальными железобетонными стенками и стальными воронками, стальных бункеров жесткой и гибкой (параболической) конструкции, а также указания по износостойкой защите бункеров с широким применением неметаллической защиты (резина, пластмассы и др.).
Использованный в Руководстве текст глав СНиП II-91-77 и СНиП II-21-75 отмечен на полях слева вертикальной чертой, а его пункты имеют двойную нумерацию.
Для инженерно-технических работников проектных организаций.
Разработано ГПИ Ленинградский Промстройпроект (канд. техн. наук М.Е. Липницкий, инж. В.А. Егорова), Ленинградским отделением ЦНИИПСК (кандидаты техн. наук Э.С. Александровская, Ю.С. Плишкин), Харьковским Промстройниипроектом (инж. Н.И. Пономаренко, канд. техн. наук И.Н. Заславский, инженеры Л.С. Мочан, Г.К. Михайлова, П.В. Полковников), Донецким Промстройниипроектом (канд. техн. наук А.М. Гиржель, канд. техн. наук Ю.П. Чернышев) и ЦНИИПромзданий (канд. техн. наук Ю.Ф. Лившиц).
1.1. Настоящее Руководство распространяется на проектирование бункеров - крупноразмерных саморазгружающихся емкостей, предназначенных для временного хранения сыпучих материалов, кроме тех емкостей, которые находятся в условиях высоких температур.
1.2. Бункера разделяются по назначению на приемные, промежуточные или аккумулирующие и погрузочные.
1.3. Бункера могут быть одиночными или многоячейковыми, сблокированными в один или несколько рядов, располагающимися внутри или вне здания.
1.4. Форма бункеров зависит от назначения бункера, компоновки сооружения, требуемого запаса материала, физических свойств сыпучего материала, типа несущих конструкций и др.
1.5. По типу несущих конструкций различаются железобетонные, стальные и комбинированные бункера.
1.6. (15.8 СНиП II-91-77). Бункера должны проектироваться, как правило, железобетонными. Стальными допускается проектировать воронки, сужающиеся части бункеров, параболические (висячие) бункера, а также бункера, которые по технологическим условиям подвергаются механическим, химическим и температурным воздействиям сыпучего материала и не могут быть выполнены из железобетона.
1.7. Рекомендуемые виды бункеров: пирамидально-призматические (рис. 1), лотковые (рис. 2), конусно-цилиндрические (рис. 3), гибкие (параболические) (рис. 4).
1.8. Бункера, как правило, состоят из нижней части в виде воронки или лотка и верхней части, создающей требуемую емкость. Бункера также могут состоять из одной воронки.
1.9. Высота вертикальной части пирамидально-призматических, конусно-цилиндрических и лотковых бункеров должна быть менее или
равной
где
F - площадь горизонтального сечения бункера над
воронкой (для лоткового бункера F принимается равной
).
1.10. Загрузка бункера, как правило, производится через отверстия в надбункерном перекрытии. Разгрузка производится через выпускное отверстие - течку, расположенную в нижней части бункера.
1.11. (15.7 СНиП II-91-77). Параметры бункера (форма, размеры и объем) должны устанавливаться совместно с объемно-планировочными решениями зданий и сооружений, при этом должны приниматься унифицированные сетки колонн и высоты этажей бункерного пролета.
1.12. (15.13 СНиП II-91-77). При эксплуатации бункеров в агрессивной газовой среде их наружные поверхности следует защищать от коррозии в соответствии с требованиями главы СНиП по защите строительных конструкций от коррозии.
1.13. (15.11 СНиП II-91-77). Внутренние поверхности бункеров следует разделять на участки, подвергающиеся износу (I и II зоны) и не подвергающиеся износу (III зона).
I зона - участок, подвергающийся воздействию удара и истиранию при загрузке бункера, следует защищать, как правило, металлом или резиной.
II зона - участок, подвергающийся истиранию сыпучим материалом в процессе выгрузки бункера, следует защищать каменным литьем, шлаксситаллом, полимерными материалами, резиной и другими материалами, а при температуре сыпучего свыше 50 °С - шлакокаменным и каменным литьем термостойких составов.
III зона - участок, не требующий защиты.
|
Рис. 1. Пирамидально-призматический бункер 1 - нижняя часть в виде пирамидальной воронки; 2 - верхняя часть с вертикальными стенками; 3 - выпускное отверстие |
Рис. 2. Лотково-призматический бункер а - с пирамидальными воронками по всей площади днища; б - с местными воронками |
Рис. 3. Конусно-цилиндрический бункер
1.14. Износостойкую защиту рекомендуется осуществлять дифференцированно: в I зоне - материалами, стойкими к удару; во II зоне - стойкими к истиранию и в зависимости от интенсивности воздействий различной толщины.
1.15. При высокой температуре сыпучего или агрессивности сыпучей среды, определяемой по СНиП II-28-73*, износостойкую защиту следует проектировать, используя «Временные указания по проектированию и устройству защиты внутренних поверхностей бункеров металлургических и угольных предприятий» (РСН 269-74).
Рис. 4. Параболический бункер
1.16. Исходными данными для проектирования износостойкой защиты являются: форма и размеры бункера; схема его загрузки (положение над бункером загрузочного транспортного устройства, скорость сыпучего в момент схода с транспортного устройства, ширина потока сыпучего на транспортном загрузочном устройстве); фракция, абразивность, влажность, температура сыпучего и его химическая агрессивность (вызываемая минерализованной или технологической водой); количество сыпучего, проходящего через бункер в год; коэффициент внутреннего и внешнего трения сыпучего.
Указанные исходные данные выдаются технологической организацией.
2.1. Геометрические параметры бункеров - размеры в плане, высота, форма воронки, угол наклона ее стенок, размеры выпускного отверстия - определяются при выполнении следующих технологических и строительных требований:
обеспечение требуемой пропускной способности, или скорости истечения сыпучего материала;
исключение сводообразований при истечении для создания непрерывности выпуска;
исключение зависания и налипания сыпучего материала - для создания требуемой емкости;
создание экономичного объемно-планировочного и конструктивного решения;
создание экономичного решения защиты внутренних поверхностей бункера от абразивного износа сыпучим материалом.
2.2. Сводообразование сыпучего материала в бункере (рис. 5, а) исключается правильным выбором размеров выпускного отверстия, которые назначаются по расчету в зависимости от физико-механических характеристик сыпучего, определяемых в соответствии с «Руководством по определению характеристик материала заполнения и геометрических параметров бункеров» (М., Стройиздат, 1978).
|
Рис. 5. Возможные случаи поведения сыпучего материала при выпуске из бункеров а - сводообразование; б - нормальная форма истечения; в - гидравлическая форма истечения; 1 - зона потока; 2 - застойная зона; 3 - угол естественного откоса |
Рис. 6. Влияние симметрии на положение зоны потока а - несимметричный бункер; б - симметричный бункер с дополнительными воронками |
2.3. Зависание сыпучего материала, т.е. отложение его на днище, стенках бункера, вызванное слеживанием материала, исключается правильным выбором формы истечения сыпучего материала: гидравлической или нормальной (негидравлической).
2.4. При нормальной форме истечения (рис. 5, б) в бункере образуются две зоны: узкий столб движущегося материала над выпускным отверстием - зона потока и неподвижная часть материала у стенок - застойная зона, которая может превратиться в слежавшуюся массу, в зависание.
При гидравлической форме истечения материал во всем объеме бункера одновременно находится в движении (рис. 5, в), застойная зона не образуется, возможность зависания исключается, бункер опорожняется полностью.
2.5. Форма истечения сыпучего материала выбирается в зависимости от вида сыпучего материала. Для плохосыпучих материалов следует проектировать бункера с гидравлической формой истечения, а для хорошосыпучих - с нормальной формой истечения.
2.6. К хорошосыпучим материалам, т.е. материалам, не имеющим сцепления, относятся щебень, галька, песок с влажностью менее 2 %, а также неразмокающие в воде материалы с крупностью самых мелких частиц более 2 мм при любой влажности.
Классификация материалов по их сыпучести отсутствует, поскольку один и тот же материал в зависимости от влажности может быть хорошо- или плохосыпучим. Отнесение материала к одному из двух классов рекомендуется давать на основании его физико-механических характеристик в соответствии с Руководством, указанным в п. 2.2.
2.7. При нормальном истечении ввиду образования на поверхности сыпучего материала воронки конической формы (см. рис. 5, б) происходит разделение материала по крупности - сегрегация.
В тех случаях, когда сегрегация не допускается технологическим заданием, бункер следует проектировать с гидравлическим истечением независимо от вида материала.
Рис. 7. Емкость бункера
а - геометрическая; б - расчетная; в - расчетная в бункере с плоским днищем
2.8. (15.2 СНиП II-91-77). Бункера следует проектировать, как правило, с симметричным расположением выпускных отверстий. Несимметричное расположение отверстий допускается, когда это обусловлено технологическими решениями.
Несимметричное расположение отверстия приводит к нежелательному увеличению застойной зоны с одной стороны бункера (рис. 6, а).
Не следует проектировать также несимметрично расположенные дополнительные воронки при симметричном бункере (рис. 6, б), так как такая конструкция равносильна одному несимметричному бункеру.
2.9. (15.6 СНиП II-91-77). Полезный расчетный объем бункера следует принимать не менее 80 % геометрического объема бункера.
Геометрическая емкость должна вычисляться как объем фигуры, ограниченной внутренними поверхностями бункера (рис. 7, а).
Расчетная емкость должна определяться как разность геометрической емкости и незаполняемого объема верхней части бункера (при условии полного опорожнения бункера, рис. 7, б). Незаполняемый объем рассчитывается с учетом угла естественного откоса, который должен быть задан технологической организацией при проектировании бункера. Величина незаполняемого объема зависит от расположения и числа загрузочных конвейеров.
Порядок определения расчетной емкости должен быть одинаков для хорошо- и плохосыпучих материалов, так как бункера для плохосыпучих материалов проектируются с учетом полного опорожнения.
Если бункер имеет плоское днище или днище с недостаточно большим углом наклона (такие бункера рекомендуются только для хорошосыпучих материалов), то расчетная емкость его будет равна геометрической за вычетом не только незаполняемого объема верхней части, но и объема мертвого груза, оставшегося на участках днища (рис. 7, в). Угол наклона откоса этого груза равен углу естественного откоса.
2.10. (15.3 СНиП II-91-77). Размеры выпускных отверстий и углы наклона стенок бункера должны определяться расчетом в зависимости от требуемой пропускной способности бункеров и физико-механических характеристик сыпучего материала с учетом неблагоприятных их изменений, при этом должно исключаться зависание материалов.
2.11. Для определения размеров выпускного отверстия и углов наклона стенок бункера, обеспечивающих надежное истечение плохосыпучего материала, требуются следующие физико-механические характеристики: угол внутреннего трения, удельное сцепление, угол внешнего трения, эффективный угол трения, функция истечения, объемный вес. Определение характеристик должно производиться в соответствии с Руководством, упомянутым в п. 2.2. Если материал является хорошосыпучим, то для определения размеров выпускного отверстия требуется только размер максимального куска сыпучего материала.
2.12. Для хорошосыпучих материалов следует, как правило, проектировать бункера с негидравлической формой истечения, допуская образование в бункере застойной зоны (см. рис. 5, б), так как застойная зона в таких материалах не превращается в зависание.
2.13. (15.5 СНиП II-91-77). Угол наклона стенок бункеров для материалов, не имеющих сцепления (щебень, галька, песок с влажностью до 2 % и другие материалы с крупностью зерен 2 мм и более), допускается принимать на 5 - 7° больше угла естественного откоса сыпучего материала.
2.14. Допускается принимать значения углов наклона стенок меньшие, чем указано в п. 2.13, если не требуется полного опорожнения бункера по условиям технологии или с целью устройства самозащиты.
Допускается также применять бункера с плоским днищем, параболические, а также бункера других форм. Откосы материала, которые будут оставаться на горизонтальных участках днища, могут выполнять роль набетонки, устраиваемой в таких бункерах (см. рис. 7, в)
2.15. Ширину выпускного отверстия, обеспечивающую надежное истечение, следует определять в зависимости только от размера максимального куска сыпучего материала по формуле
b1 ≥ (3 ÷ 5)аmax, (1)
где b1 - минимальный размер выпускного отверстия (ширина);
аmax - размер максимального куска.
Величину 5аmax следует принимать при размере кусков до 100 мм, при большем размере кусков следует принимать 3аmax.
2.16. Для плохосыпучих материалов, т.е. материалов, имеющих сцепление, следует проектировать бункера с воронками гидравлического истечения, так как застойная зона в таких воронках не образуется и возможность зависания слеживающегося материала исключена.
2.17. (15.4 СНиП II-91-77). В бункерах для сыпучих материалов, имеющих сцепление, ... наименьший угол наклона стенок следует принимать в зависимости от угла трения сыпучего материала по материалу стенки бункера (рис. 8).
Значения углов трения сыпучего материала по материалу стенки бункера (углы внешнего трения) для некоторых материалов приведены в табл. 1 прил. 2,
Угол наклона стенок конической воронки α, а также угол наклона ребра пирамидальной воронки αр определяются с помощью линии 1 рис. 8.
Углы наклона стенок
пирамидальной воронки αa1, αа2, αb1, αb2 определяются по линии 2 рис. 8. При соотношении размеров выпускного отверстия
пирамидальной воронки
угол наклона стенок воронки шириной поверху a2 определяется
по линии 2, для стенок шириной b2 - по линии 1.
Рис. 8. График для определения угла наклона стенок воронок гидравлического истечения
φ' - угол трения сыпучего материала по материалу стенки бункера (угол внешнего трения); α - угол наклона стенки воронки к горизонту; 1 - для воронок конической формы с круглым выпускным отверстием; 2 - для воронок с прямоугольной формой отверстия при отношении длины сторон не более 1:3
Угол наклона стенок воронки для гидравлического истечения обычно получается весьма большим - 70 - 75° и более.
2.18. Для обеспечения гидравлического истечения рекомендуются следующие формы воронок:
Рис. 9. Формы воронок для гидравлического истечения
а - коническая; б - пирамидальная
Рис. 10. Форма воронок для гидравлического истечения со скругленными углами
а, б - пирамидальные воронки
а) воронка конической формы с круглым выпускным отверстием имеет вид усеченного конуса (рис. 9, а). Величина угла наклона образующей α должна определяться в соответствии с п. 2.17;
б) воронка пирамидальной формы с вертикальными торцовыми стенками и щелевым отверстием (рис. 9, б). Величина угла наклона стенок αа определяется по линии 2 (рис. 8);
в) воронка пирамидальной формы с квадратным выпускным отверстием со скругленными двугранными углами (рис. 10, а). Угол наклона образующей конического скругления α определяется по линии 1 рис. 8;
г) воронка пирамидальной
формы с прямоугольным выпускным отверстием при
со скругленными двугранными
углами (рис. 10, б). Углы наклона граней
воронки определяются в соответствии с п. 2.17.
Наилучшим образом гидравлическое истечение обеспечивается в воронках конической формы. Воронки лотковой формы следует применять в тех случаях, когда по условию надежного истечения требуется выпускное отверстие прямоугольной формы (см. п. 2.22).
2.19. Для образования гидравлического истечения в бункерах с наличием призматической части рекомендуется устраивать плавный переход между воронкой и призматической частью радиусом не менее 1/3 ширины бункера.
Рис. 11. Зона потока при удаленном выпускном отверстии
а - при отсутствии зазора между плоскостью выпускного отверстия и полотном питателя; б - при наличии проема в передней стенке бункера; в - при подъеме передней кромки выпускного отверстия; 1 - зона потока; 2 - застойная зона; 3 - передняя стенка бункера; 4 - задняя стенка бункера; 5 - проем
2.20. Ширина выпускного отверстия, необходимая для надежного истечения плохосыпучего материала, определяется расчетом с учетом изменчивости физико-механических характеристик в зависимости от влажности и других влияющих факторов в соответствии с Руководством, указанным в п. 2.2.
При получении в результате
расчета значительных размеров выпускного отверстия квадратной или круглой формы,
не допускающих применения стандартных питателей, рекомендуется принимать
выпускное отверстие прямоугольным с соотношением
(см. рис. 9, б, 10, б).
2.21. Для бункеров (с прямоугольными выпускными отверстиями), оборудованных ленточными или пластинчатыми питателями, гидравлическое истечение затрудняется образованием застойной зоны вследствие работы питателя (рис. 11, а, б). Для осуществления гидравлического истечения, кроме правильного выбора параметров воронки, рекомендуется плоскость выпускного отверстия располагать под углом к плоскости питателя (рис. 11, в).
Передняя кромка выпускного отверстия должна быть поднята над плоскостью питателя (либо питатель наклонен вниз при горизонтальном положении плоскости выпускного отверстия) на величину h ≥ 0,1а1 и h ≥ 1,5аmax, где аmax - размер максимального куска сыпучего.
При применении поперечных питателей, работающих параллельно короткой стороне выпускного отверстия, застойной зоны не образуется, гидравлическое истечение зависит только от правильного выбора параметров воронки.
2.22. Получение недопустимо больших размеров выпускного отверстия бункера для плохосыпучих материалов указывает на невозможность бункерования материала без технологических мероприятий. Целесообразность таких мероприятий (сушка, отсев мелких фракций) устанавливается технико-экономическим расчетом.
2.23. (15.7 СНиП II-91-77). Параметры бункера (форма, размеры и объем) должны устанавливаться совместно с объемно-планировочными решениями зданий и сооружений, при этом должны приниматься унифицированные сетки колонн и высоты этажей бункерного пролета.
2.26. Объем пирамидально-призматического бункера определяется по формуле
V = Vп + Vв = а2 b2 h2 + (h1/6) [(2a2 + a1)b2 + (2a1 + a2) b1], (2)
где Vп - объем призматической части;
Vв - объем воронки.
2.27. Центр тяжести в симметричном бункере (рис. 12) располагается в точке пересечения координатных осей (в плане). Координаты центра тяжести несимметричного бункера (рис. 13) при условии полного его заполнения определяются по формулам:
Рис. 12. Обозначения геометрических размеров симметричного бункера с пирамидальной воронкой
Рис. 13. Обозначения геометрических размеров несимметричного бункера с пирамидальной воронкой
В формулах (3) и (4) величины x0 и y0 показаны на рис. 13. Формулы (3) и (4) получены в предположении, что центр тяжести сыпучего совпадает с центром тяжести бункера.
2.28. Высота и угол наклона стенок воронки определяются:
для стенок шириной поверху а2 по формулам:
(5)
(6)
(7)
(8)
для стенок шириной b2 по формулам:
(9)
(10)
(11)
(12)
2.29. Размеры по горизонтали грани воронки на отметке h определяются по формулам соответственно для ширины поверху a2 и b2:
(13)
(14)
2.30. Двугранный угол βi, i + 1 между гранями i и i + 1 определяется по формуле
cosβi, i+1 = cosαi cosαi+1. (15)
2.31. Длина ребра воронки и угол наклона этого ребра к горизонту для симметричного бункера определяются соответственно по формулам:
(16)
(17)
2.32. Объем конусно-цилиндрического бункера определяется по формуле
3.1. Бункера рассчитываются на действие:
постоянных нагрузок от собственного веса конструкций, веса футеровки, нагрузок от надбункерного перекрытия;
временных нагрузок от веса сыпучего материала, а также на снеговую, ветровую и другие временные нагрузки в соответствии со СНиП II-6-74.
3.2. Нагрузки от веса сыпучего материала принимаются по фактическому объемному весу в соответствии с табл. 1 прил. 2.
3.3. Коэффициент перегрузки для сыпучего материала принимается n = 1,2.
3.4. Динамическое воздействие сыпучего материала учитывается для расчета стенок и днища бункеров в следующих случаях:
а) при загрузке бункеров крупнокусковым сыпучим материалом или сыпучим, загружаемым в бункер думпкарами, самосвалами и грейферами; значение динамического коэффициента при этом принимается равным 1,5;
б) при загрузке бункеров из емкостей, которые составляют значительную часть емкости бункера (кроме вышеуказанных), значения динамических коэффициентов принимаются в зависимости от соотношения объема загружаемой массы к емкости бункера (табл. 1).
Таблица 1
|
Отношение объема единовременно загружаемой массы (емкости) к емкости бункера |
1:2 |
1:3 |
1:4 |
1:5 |
1:6 и менее |
|
Коэффициент динамичности |
1,4 |
1,3 |
1,2 |
1,1 |
1 |
4.1. Давление сыпучих тел на стенки бункера определяется как в неограниченном массиве для состояния предельного равновесия сыпучего.
4.2. Давление сыпучего зависит от высоты столба находящегося в бункере материала, его физико-механических свойств и угла наклона к горизонту рассматриваемой плоскости.
4.3. Давление сыпучего определяется без учета сил трения материала о стенки бункера и принимается направленным нормально к их плоскости.
4.4. Нормативное вертикальное давление в любой точке бункера определяется по формуле
(19)
где р - вертикальное давление на горизонтальную плоскость;
γ - объемная масса сыпучего материала, принимаемая по табл. 1 прил. 2;
h - высота слоя сыпучего материала над данной точкой.
Расчетное вертикальное давление определяется по формуле
pв = nγh, (20)
где n - коэффициент перегрузки.
4.5. Нормативное горизонтальное давление на вертикальные стенки бункера для случая загрузки до уровня верха бункера при горизонтальной поверхности сыпучего (рис. 14) определяется по формуле
(21)
|
Рис. 14. Эпюра давления на стенки и воронку бункера для случая загрузки до уровня верха бункера при горизонтальной поверхности сыпучего материала 1 - ось симметрии; 2 - уровень загрузки бункера сыпучим материалом |
Рис. 15. Эпюра давления на стенки и воронку бункера для случая наибольшего заполнения бункера сыпучим материалом 1 - ось симметрии; 2 - рассматриваемая точка на вертикальной стенке бункера; 3 - рассматриваемая точка на наклонной стенке воронки |
расчетное давление
pг = nkγh, (22)
где k - коэффициент бокового давления, принимаемый равным
здесь φ - угол внутреннего трения сыпучего материала, принимаемый по заданию технологов или при отсутствии данных по табл. 1 прил. 2. Коэффициенты бокового давления сыпучего k приведены в табл. 1 прил. 3.
4.6. Нормативные нормальное и касательное давления на наклонные стенки для случая загрузки до уровня верха бункера при горизонтальной поверхности сыпучего (см. рис. 14) определяются как давление на косую площадку по формулам:
(24)
расчетные нормальное и касательное давления:
где
(26)
α - угол наклона стенок к горизонту. Значения коэффициентов т0, т'0 приведены в табл. 1 и 2 прил. 3.
Эпюра давления на стенки для случая загрузки, указанного в пп. 4.5 и 4.6, имеет вид, изображенный на рис. 14.
4.7. В некоторых случаях возможна загрузка бункера выше уровня его верха. При этом давление определяется по наибольшей возможной степени заполнения бункера, когда материал лежит выше уровня верха бункера под углом естественного откоса.
4.8. Нормативное горизонтальное давление на вертикальные стенки бункера для случая наибольшего возможного заполнения сыпучим материалом (рис. 15) определяется по формуле
(27)
расчетное давление
(28)
где Н - расстояние от рассматриваемого сечения до верха бункера.
4.9. Нормативное нормальное давление на наклонные стенки для случая наибольшего возможного заполнения сыпучим материалом (см. рис. 15) определяется как давление на косую площадку по формуле
(29)
расчетное нормальное давление
(30)
где α - угол наклона стенок к горизонту;
h0 - высота сыпучего материала над уровнем верха бункера, расположенная над данной точкой (см. рис. 15).
5.1. Вертикальные и наклонные стенки бункеров находятся в сложном напряженном состоянии. В результате ряда упрощений стенки бункера рассчитываются на растягивающие усилия в горизонтальном и скатном направлениях (H, V) и изгибающие моменты (Мх, My) от местного изгиба из плоскости стенок. Кроме того, производится расчет на общий изгиб, учитывающий пространственную работу бункера. При этом усилия, полученные из расчета на общий изгиб, суммируются с ранее вычисленными соответствующими усилиями.
5.2. Растягивающие усилия в горизонтальном направлении в вертикальных стенках бункеров от нормального давления сыпучего материала (рис. 16) определяются на пог. м высоты:
в стенке шириной а2 по формуле
в стенке шириной b2 по формуле
В формулах (31), (32) величина расчетного давления рг определяется по формуле (22).
Рис. 16. Расчетные растягивающие усилия в стенках бункера
5.3. Для симметричного бункера расчетные растягивающие горизонтальные усилия (см. рис. 16) в наклонной стенке шириной поверху а2 определяется:
в месте примыкания к вертикальной стенке
в середине высоты наклонной стенки
то же, в наклонной стенке шириной поверху b2:
в месте примыкания к вертикальной стенке
в середине высоты наклонной стенки
5.4. Величины
,
и
,
представляют собой суммы нормального
давления сыпучего материала и нормальной составляющей собственного веса стенки
соответственно на наклонные стенки шириной поверху а2 и b2 и определяются по формулам:
(37)
(38)
где m0 = cos2αb + k sin2 αb;
g - собственный вес 1 м2 наклонной стенки;
n1 - коэффициент перегрузки собственного веса, равный 1,1
(39)
(40)
где т0 = cos2 αа + k sin2 αa.
5.5. Для несимметричного бункера величины расчетных растягивающих горизонтальных усилий в наклонных стенках определяются как средние значения усилий, вычисленных по формулам (31) - (36) для соответствующей стенки.
5.6. Растягивающие усилия в скатном направлении в наклонных стенках воронки условно принимаются:
для симметричного бункера - распределенными равномерно вдоль стенок (рис. 17);
для несимметричного бункера - распределенными вдоль каждой стенки по закону трапеции (рис. 18).
5.7. Расчетные растягивающие скатные усилия в наклонных стенках симметричных бункеров определяются по формулам:
в наклонной стенке шириной поверху а2;
в месте примыкания к вертикальной стенке
(41)
в середине высоты наклонной части
(42)
где G2 - вес наклонных стенок воронки с учетом коэффициента перегрузки n = 1,1;
G3 - вес сыпучего материала при полной загрузке бункера с учетом коэффициента перегрузки n = 1,2;
G4 - вес части воронки ниже середины ее высоты (сеч. 2-2 на рис. 17);
G5 - вес сыпучего при полной загрузке бункера, действующий в сеч. 2-2 (рис. 17) в середине высоты воронки, равный
(43)
|
Рис. 17. Эпюры распределения скатных растягивающих усилий в стенках симметричных бункеров а - направление скатных усилий в наклонных стенках |
Рис. 18. Эпюры распределения скатных растягивающих усилий в стенках несимметричных бункеров а - направления скатных усилий в наклонных стенках |
Таблица 2
|
da a2 |
Коэффициент перераспределения tx |
dв b2 |
Коэффициент перераспределения ty |
|||||
|
|
|
|
|
|
|
|||
|
|
0,3 |
1,6 |
1,666 |
1,72 |
0,3 |
1,6 |
1,545 |
1,514 |
|
0,35 |
1,45 |
1,5 |
1,54 |
0,35 |
1,45 |
1,409 |
1,386 |
|
|
0,4 |
1,3 |
1,333 |
1,36 |
0,4 |
1,3 |
1,272 |
1,257 |
|
|
0,45 |
1,15 |
1,166 |
1,18 |
0,45 |
1,15 |
1,136 |
1,129 |
|
|
0,5 |
1 |
1 |
1 |
0,5 |
1 |
1 |
1 |
|
|
0,55 |
0,85 |
0,834 |
0,82 |
0,55 |
0,85 |
0,864 |
0,871 |
|
|
0,6 |
0,7 |
0,667 |
0,64 |
0,6 |
0,7 |
0,728 |
0,743 |
|
|
0,65 |
0,55 |
0,5 |
0,46 |
0,65 |
0,55 |
0,591 |
0,614 |
|
|
0,7 |
0,4 |
0,334 |
0,28 |
0,7 |
0,4 |
0,455 |
0,485 |
|
Примечания: 1. tx и ty - коэффициенты для стенок, параллельных соответственно оси у и х.
2. da и db - расстояния от центра тяжести бункера до стенок, проходящих через точку 1 (см. эскиз табл. 2), наиболее отдаленную от центра тяжести бункера.
в наклонной стенке шириной поверху b2:
в месте примыкания к вертикальной стенке
(44)
в середине высоты наклонной части
(45)
5.8. Расчетные растягивающие скатные усилия (средние значения) в наклонных стенках несимметричных бункеров в месте примыкания к вертикальной стенке определяются по формулам:
в наклонных стенках шириной поверху а2:
(47)
|
Рис. 19. Расчетная схема вертикальной стенки на местный изгиб от нормального давления материала при h2 ≤ 0,5a2 или h2 ≤ 0,5b2 |
Рис. 20. Расчетная схема вертикальной стенки на местный изгиб от нормального давления сыпучего материала при h2 < 1,5а2 |
в наклонных стенках шириной поверху b2:
(48)
В формулах (46) - (49) tx и ty - коэффициенты перераспределения, величина которых определяется по табл. 2 в зависимости от размеров и положения центра тяжести бункера.
5.9. Вертикальные стенки бункеров рассчитываются на местный изгиб под действием нормального давления от сыпучего материала рг как прямоугольные балочные плиты или плиты, опертые по контуру, в зависимости от соотношения высоты h2 к ширине а2 или b2.
5.10. Вертикальные стенки рассчитываются:
а) при h2 ≤ 0,5a2 или h2 ≤ b2 (рис. 19) как балочные плиты пролетом h2 на треугольную нагрузку;
б) при h2 > 2b2 (рис. 20) как балочные плиты пролетом b2 на равномерно распределенную нагрузку pг = nkγhy;
в) при 0,5a2 < h2 ≤ 1,5a2 и 0,5b2 < h2 < 2b2 как плиты, опертые по контуру, по табл. 1, 2 прил. 4.
5.11. Условия опирания для вертикальных стенок бункеров, опертых по контуру, принимаются следующими:
а) верхняя грань вертикальной стенки принимается свободной при отсутствии надбункерного перекрытия;
б) свободно опертой - при наличии плиты перекрытия;
Рис. 21.
Расчетная схема наклонной стенки на местный изгиб от нормального давления
сыпучего материала при ![]()
в) защемленной - при наличии жесткого железобетонного перекрытия;
г) боковые грани вертикальных стенок принимаются защемленными для одиночных бункеров, квадратных в плане или имеющих больший размер а2 ≤ 1,2b2, и для многоячейковых бункеров.
5.12. Наклонные стенки бункеров, имеющие трапециевидную форму, рассчитываются на местный изгиб под действием нормального давления от сыпучего материала рн, как опертые по контуру треугольные, трапециевидные или прямоугольные плиты в зависимости от соотношения сторон наклонной стенки.
5.13. При соотношении верхнего и нижнего
оснований
наклонные стенки симметричных и
несимметричных бункеров рассчитываются как треугольные плиты на трапециевидную
нагрузку. При этом высота треугольной плиты получается пересечением боковых
граней плиты (рис. 21) и
определяется по формуле:
(50)
где Н - высота трапециевидной стенки.
Трапециевидная нагрузка на плиты заменяется суммой равномерно распределенной и треугольной. Изгибающие моменты определяются по табл. 3 прил. 4 при равномерно распределенной нагрузке максимальной интенсивности за вычетом изгибающих моментов, определяемых по табл. 4 - 6 прил. 4 при треугольной нагрузке с интенсивностью, равной разности максимальной и минимальной.
При расчете треугольных плит, получаемых из трапециевидных, следует максимальную интенсивность нагрузки принимать равной (см. рис. 21):
(51)
5.14. При соотношении верхнего и нижнего
оснований ![]()
наклонные стены симметричных бункеров рассчитываются как трапециевидные плиты по табл. 7 прил. 4;
наклонные стены несимметричных бункеров приводятся к прямоугольным плитам и рассчитываются по табл. 1, 2 прил. 4 для расчета прямоугольных плит. Расчетные размеры прямоугольных плит определяются по формулам:
(52)
(53)
Трапециевидная нагрузка заменяется суммой равномерно распределенной и треугольной.
5.15. Условия опирания для наклонных стенок бункеров, опертых по контуру, принимаются следующими:
а) боковые грани защемлены;
б) нижние и верхние грани защемлены или свободно оперты в зависимости от примыкающих конструкций.
5.16. Опорный расчетный изгибающий момент наклонных стенок в месте их примыкания друг к другу принимается равным полусумме опорных моментов примыкающих стенок.
5.17. Определение усилий в стенках бункеров от
общего изгиба производится приближенными способами. Расчетные схемы стенок
принимаются в зависимости от их геометрических размеров и формы бункера. В
связи с этим бункера разделяются на четыре группы: бункера-воронки (рис. 22, а); низкие бункера (рис. 22,
б) с высотой
высокие бункера (рис. 22, в) с высотой
лотковые
бункера (рис. 22,
г).
5.18. Расчет бункеров-воронок на общий изгиб производится в следующей последовательности:
а) каждая грань рассчитывается отдельно как треугольная балка-стенка, изгибаемая в своей плоскости. В результате изгиба определяются усилия, которые суммируются с горизонтальными усилиями от нормального давления сыпучего на стенки бункера. Расчетная схема и нагрузки на треугольную балку-стенку показаны на рис. 23;
Рис. 22. Схемы бункеров для расчета на общий изгиб
а - бункера-воронки; б - низкие бункера; в - высокие бункера; г - лотковые бункера
|
Рис. 23. Расчетные схемы и нагрузки на треугольные балки-стенки при расчете на общий изгиб 1 - балка-стенка шириной поверху а2; 2 - шириной поверху b2; а - для симметричного бункера-воронки; б - для несимметричного |
Рис. 24. Определение усилий в углах бункера-воронки |
б) в каждой грани определяются сжимающие усилия, действующие вдоль горизонтальных верхних граней воронки, и поперечные силы у опоры в плоскости грани от разложения соответствующей реакции колонны.
5.19. Реакции колонн вычисляются по формулам:
для симметричных бункеров
(54)
для несимметричных бункеров:
(55)
(56)
Рис. 25. Распределение нагрузки на стенки несимметричного бункера-воронки
а - план; б - распределение нагрузки в аксонометрии; в, г - схемы наиболее нагруженных стенок шириной поверху соответственно а2 и b2
(57)
(58)
где G2 и G3 - см. п. 5.7; tx и ty - см. п. 5.8.
5.20. Расчетные сжимающие усилия, действующие вдоль горизонтальных верхних граней воронки, определяются по формулам:
вдоль стороны а2
Na = P ctgαp cosβа; (59)
вдоль стороны b2
Nb = P ctgαp cosβb, (60)
где βа и βb - углы в плане между ребром и соответственно сторонами воронки а2 и b2 (рис. 24).
Сжимающие усилия в верхней зоне стенок бункера-воронки от общего изгиба суммируются с горизонтальными растягивающими усилиями от нормального давления сыпучего на стенки бункера.
5.21. Поперечные силы, возникающие в бортовых элементах воронок у колонн, определяются как опорные реакции однопролетных балок, загруженных равномерно распределенной или трапециевидной нагрузкой.
Для симметричных бункеров нагрузка принимается равномерно распределенной и определяется по формуле
Для несимметричных бункеров нагрузка принимается трапециевидной (рис. 25) и определяется по формулам:
(62)
(63)
(64)
(65)
Величины расчетных поперечных сил вычисляются по формулам:
для симметричных бункеров
(66)
(67)
где Qa, Qb - поперечные силы на опорах стенок воронки соответственно шириной поверху а2 и b2;
для несимметричных бункеров:
(68)
(69)
(70)
(71)
где
,
,
,
-
поперечные силы на опорах наиболее нагруженных стенок воронки соответственно
шириной а2 и b2 (см. рис. 25).
Рис. 26. Эпюра усилий в трапециевидной балке-стенке
а, б - соответственно в стенках шириной поверху а2 и b2; 1 - вершина фиктивного треугольника, образованного пересечением сторон трапеции
5.22. При расчете грани бункера-воронки как треугольной балки-стенки (см. п. 5.18а) усилия в ней рекомендуется определять с помощью ЭВМ по одной из действующих программ для решения плоской задачи теории упругости. Расчет производится на равномерно распределенную нагрузку, действующую в плоскости стенки и приложенную поверху (см. рис. 23). Для симметричных бункеров нагрузка определяется по формулам:
(72)
(73)
где qa и qb - величины нагрузки для стенок шириной поверху соответственно а2 и b2.
Для несимметричных бункеров нагрузка определяется по формулам:
(75)
(76)
где qa1 и qa2 - величины нагрузки для стенок шириной поверху а2 и, соответственно, с углами наклона αa1 и αa2; qb1 и qb2 - то же, для стенок шириной поверху b2 и, соответственно, с углами наклона αb1 и αb2.
5.23. Расчет треугольной балки-стенки допускается также выполнять приближенным способом.
В этом случае высота расчетного сечения принимается равной половине расчетного пролета, а эпюра нормальных напряжений от изгиба - прямолинейной с максимальными напряжениями, определяемыми по формуле
(78)
где М - изгибающий момент в плоскости стенки от равномерно распределенной нагрузки, приложенной поверху;
W - момент сопротивления сечения стенки высотой, равной 0,5a2 или 0,5b2, соответственно, для стенок шириной поверху а2 и b2.
Рис. 27. Расчетные схемы вертикальных стенок высоких бункеров при расчете на общий изгиб
1 - стенка, свободно опертая; 2 - стенка, защемленная на опорах
В нижней части балки-стенки напряжения принимаются убывающими до нуля в вершине фиктивного треугольника (рис. 26).
5.24. Расчет низких бункеров (см. рис. 22, б) на общий изгиб производится с учетом совместной работы стен призматической части и воронки и состоит в определении растягивающих усилий в нижней части воронки в сечении в середине пролета стенки и в проверке вертикальных стенок на главные растягивающие напряжения в сечении по грани колонны.
5.25. Растягивающие усилия, возникающие в нижней части воронки в сечении в середине пролета, определяются из расчета складчатой конструкции, состоящей из прямоугольной плиты призматической части и трапециевидной или треугольной плиты воронки.
Расчет производится по программе для ЭВМ «Расчет бункеров на общий изгиб».
Растягивающие усилия от общего изгиба суммируются с горизонтальными растягивающими усилиями от нормального давления сыпучего на стенки бункера (см. п. 5.3).
5.26. Поперечные силы в вертикальных стенках в сечениях по граням колонн определяются как опорные балочные реакции (см. п. 5.21).
5.27. Расчет высоких бункеров (см. рис. 22, в) на общий изгиб допускается производить без учета стенок воронки, так как последние имеют значительно меньшую жесткость по сравнению с вертикальными стенками призматической части.
5.28. Вертикальные стенки высоких бункеров при расчете на общий изгиб рассчитываются как балки-стенки. По условиям опирания балки-стенки могут быть свободно опертыми (рис. 27, 1) для одиночных бункеров и защемленными на опорах (рис. 27, 2) для стенки, связанной с примыкающими бункерами.
Нагрузка на балку-стенку условно принимается равномерно распределенной и задается приложенной к верхней и нижней граням балки-стенки в зависимости от вида нагрузки: поверху прикладывается нагрузка от надбункерного перекрытия и от собственного веса балки-стенки, понизу - от веса стенок воронки и веса сыпучего материала при полной загрузке бункера.
Рис. 28. Схемы расчетных точек вертикальных стенок высоких бункеров
а, б - соответственно стенки шириной а2 и b2
Величина нагрузки, действующей понизу, определяется для симметричного бункера по формуле (61), для несимметричного бункера по формулам:
(79)
(80)
(81)
(82)
где qa1, qa2, qb1, qb2 - см. объяснение к формулам (74) - (77).
5.29. Расчет балок-стенок рекомендуется производить по программе для ЭВМ (см. п. 5.22), а также по таблицам 1 - 6 прил. 5.
В результате расчета определяются горизонтальные и вертикальные усилия, а также касательные напряжения в наиболее характерных точках: в сечениях у опор (4, 5, 6) и в середине пролета (1, 2, 3) в верхней и нижней точках сечения, а также в середине высоты сечения (рис. 28). Усилия от общего изгиба суммируются с горизонтальными растягивающими усилиями от нормального давления сыпучего на стенки и растягивающими скатными усилиями.
5.30. Главные растягивающие напряжения в любой точке балки-стенки при расчете высоких бункеров на общий изгиб определяются по формуле
(83)
где σx, σy - нормальные напряжения в горизонтальном и вертикальном направлениях;
τху - касательные напряжения.
Для балок-стенок, защемленных на опорах, главные растягивающие напряжения определяются в опорном сечении в середине высоты.
Для балок-стенок, опертых на нижней грани, главные растягивающие напряжения определяются в нескольких точках нижней части сечения вблизи опоры; такой расчет может выявить необходимость усиления примыкающей к опоре зоны.
5.31. Лотковый бункер (см. рис. 22, г) представляет собой складчатую конструкцию и рассчитывается на общий изгиб аналогично низким бункерам (см. п. 5.24).
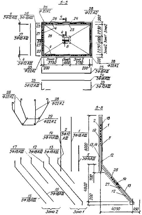
Рис. 29. План бункера и разрезы
Размеры бункера (рис. 29): а1 = b1 = 0,9 м; а2 = 9 м; b2 = 6 м; h1 = 4,8 м; h2 = 6 м.
Характеристики сыпучего (уголь): γ = 0,9 тс/м3*; φ = 30°.
______________
* При переводе единиц физических величин в систему СИ следует руководствоваться Перечнем физических величин, подлежащих применению в строительстве СН 528-80.
Определение расчетного давления на стенки (рис. 30, 31)
Коэффициент бокового давления сыпучего при φ = 30° определяем по табл. 1 прил. 3; K = 0333.
Расчетное давление на вертикальные стенки на глубине 6 м
рг = 1,2×0,9×6×0,333 = 2,16 тс/м2.
Расчетные нормальные давления на наклонные стенки, тс/м2 приведены в табл. 3.
Коэффициенты перегрузки: для сыпучего n = 1,2; для собственного веса n = 1,1.
Нагрузки
а) Собственный вес элементов бункера при толщине его стенок 0,2 м.
Вертикальные стенки:
g = 1,1 ∙ 3 = 3,3 тс/м.
Рис. 30. Расчетные схемы вертикальных стенок бункера
а, б - соответственно стенки шириной а2 и b2
Рис. 31. Расчетные схемы наклонных стенок бункера
а, б - соответственно стенки шириной поверху а2 и b2
Вес наклонных стенок воронки:
= 2,5 ∙ 0,2 ∙ 2(4,95 ∙ 5,44 + 3,45 ∙
6,28) = 48,6 тс;
G1 = 1,1 ∙ 48,6 = 53,5 тс.
Вес части воронки ниже середины ее высоты:
![]()
G2 = 1,1 ∙ 14,8 = 16,3 тс.
б) Вес сыпучего γ = 0,9 тс/м3 при полной загрузке бункера.
Объем материала в бункере определяем по формуле (2):
V = Vп + Vв = a2b2h2 + (h1/6)[(2а2 + a1)b2 + (2a1 + a2)b1] = 9 ∙ 6 ∙ 6 + (4,8/6)[(2 ∙ 9 + 0,9)6 + (2 ∙ 0,9 + 9)0,9] = 324 + 98,5 = 422,5 м3;
![]()
G3 = 1,2 ∙ 0,9 ∙ 422,5 = 456,3 тс.
Вес сыпучего при полной загрузке бункера, действующий в сечении 1-1 на рис. 32, в середине высоты воронки. Объем материала в бункере ниже сечения 1-1:

Объем столба сыпучего над сечением 1-1 (см. рис. 32):
![]()
Рис. 32. Объем сыпучего, действующий в сечении 1-1
Рис. 33. Схемы стенок бункера с растягивающими горизонтальными и скатными усилиями
![]()
G4 = 1,2 ∙ 145 = 174 тс.
в) Нагрузка от перекрытия над бункером.
Собственный вес: gн = 300 кгс/м2; g = 1,1×300 = 330 кгс/м2.
Временная нагрузка: рн = 400 кгс/м2; р = 1,3×400 = 520 кгс/м2.
Определение расчетных растягивающих горизонтальных усилий в стенках бункера (рис. 33)
Усилия в вертикальной стенке шириной а2:
в середине высоты
![]()
в месте примыкания наклонной части по формуле (31)
![]()
Усилия в вертикальной стенке шириной b2:
в середине высоты
![]()
в месте примыкания наклонной части по формуле (32)
![]()
Усилия в наклонной стенке шириной поверху а2 и αa = 62°01'00":
в месте примыкания к вертикальной стенке по формуле (33)
![]()
в середине высоты наклонной стенки по формуле (34)
![]()
Усилия в наклонной стенке шириной поверху b2 и αb = 49°50'20":
в месте примыкания к вертикальной стенке по формуле (35)
![]()
в середине высоты наклонной стенки по формуле (36)
![]()
Определение расчетных растягивающих скатных усилий в стенках бункера (см. рис. 33)
Усилия в вертикальных стенках в месте примыкания наклонной части (для симметричного бункера при tx = ty = 1):
![]()
Усилия в наклонной стенке шириной поверху a2 и αа = 62°01'00"
в месте примыкания к вертикальной стенке
![]()
в середине высоты наклонной стенки
![]()
Усилия в наклонной стенке шириной поверху b2 и αb = 49°50'20":
в месте примыкания к вертикальной стенке
![]()
в середине высоты наклонной стенки
![]()
Рис. 34. Схемы расчетных усилий при расчете на местный изгиб вертикальных стенок
Определение усилий от местного изгиба (расчетные схемы даны на рис. 34)
Изгибающие моменты в
вертикальных стенках определяются по табл. 1 прил. 4 для
схемы VI по формуле
и приводятся в табл. 4.
Изгибающие моменты в наклонных стенках определяются по таблицам для треугольных плит, заделанных по контуру.
Трапециевидная нагрузка на плиты раскладывается на равномерно распределенную и треугольную.
Изгибающие моменты
определяются по табл. 3 прил. 4 при равномерно распределенной нагрузке
максимальной интенсивности
за вычетом моментов, полученных из
табл. 4 прил. 4 при треугольной нагрузке с интенсивностью, равной
разности
или ![]()
Изгибающие моменты в наклонных стенках вычисляются для точек 1, 2, 3 на рис. 35.
Вычисление производится в табличном виде (табл. 5).
Таблица 4
|
Вертикальные стенки шириной |
||||
|
а2
|
b2
|
|||
|
множитель k |
усилие, тсм/м |
множитель k |
усилие, тсм/м |
|
|
Мх |
0,00813 |
0,63 |
0,0105 |
0,82 |
|
My |
0,01917 |
1,49 |
0,0086 |
0,67 |
|
My макс |
0,01917 |
1,49 |
0,0095 |
0,74 |
|
|
-0,03507 |
-2,73 |
-0,0283 |
-2,20 |
|
|
-0,03507 |
-2,73 |
-0,0285 |
-2,22 |
|
|
-0,0545 |
-4,24 |
-0,0340 |
-2,64 |
|
Рис. 35. Схема расчетных точек при расчете на местный изгиб наклонных стенок |
Рис. 36. Расчетная схема вертикальных стенок при расчете на общий изгиб |
Изгибающие моменты
![]()
Определение усилий от общего изгиба
В расчете на общий изгиб
воронка условно не учитывается, так как бункер при
и
относится к типу высоких
бункеров.
Вертикальные стенки бункера рассчитываются как балки-стенки с защемленными краями (для одиночного бункера - свободно опертые) (рис. 36).
Расчетные нагрузки на балки-стенки:
по верхней кромке - от собственного веса балки и нагрузки на перекрытие, считая нагрузку передающейся на все стенки поровну (см. «Нагрузки»):
![]()
по нижней кромке от воронки с материалом рн = 17 тс/м.
Усилия в балке-стенке определяются по табл. 1 прил. 5. При определении усилий от нагрузки, передающейся по нижней кромке, необходимы соответствующие перемены координат точек и изменение знака напряжений для σх и σу.
Рис. 37. Схема расчетных точек при расчете на общий изгиб вертикальных стенок
а - нагрузка сверху; б - нагрузка снизу
Таблица 5
|
Изгибающие моменты в наклонных стенках |
a2
= 9; |
b2
= 6; |
|||||||||
|
Равномерно распределенная нагрузка р″на = 6,13 тс/м2 |
Треугольная нагрузка рна - р'на = 6,13 - 3,37 = 2,76 тс/м2 |
Изгибающие моменты, тсм/м, от суммарной нагрузки |
Равномерно распределенная нагрузка р″нb = 7,45 тс/м2 |
Треугольная нагрузка рнb - р'нb = 8,01 - 4,30 = 3,71 тс/м2 |
Изгибающие моменты, тсм/м, от суммарной нагрузки |
||||||
|
множитель ηх (ηу) |
усилие, тс/м |
множитель ηх (ηу) |
усилие, тс/м |
множитель ηх (ηу) |
усилие, тс/м |
множитель ηх (ηу) |
усилие, тс/м |
||||
|
1 1 |
Мx |
-0,1536 |
-1,19 |
-0,1104 |
-0,39 |
-0,80 |
-0,2282 |
-0,96 |
-0,1799 |
-0,38 |
-0,58 |
|
My |
-0,9215 |
-7,15 |
-0,6625 |
-2,31 |
-4,84 |
-1,3691 |
-5,74 |
-1,0792 |
-2,25 |
-3,49 |
|
|
2 20 |
Мx |
0,3154 |
2,45 |
0,1954 |
0,68 |
1,77 |
0,7695 |
3,22 |
0,5046 |
1,05 |
Мx макс = 2,17 |
|
My |
0,4033 |
3,13 |
0,2574 |
0,90 |
My макс = 2,23 |
0,3539 |
1,48 |
0,2104 |
0,44 |
1,04 |
|
|
2 17 |
Мx |
0,2466 |
1,91 |
0,1627 |
0,57 |
1,34 |
0,7696 |
3,23 |
0,5529 |
1,15 |
2,08 |
|
My |
0,3756 |
2,91 |
0,2819 |
0,98 |
1,93 |
0,6538 |
2,74 |
0,5008 |
1,05 |
Мy макс = 1,69 |
|
|
2 22 |
Мx |
0,3834 |
2,97 |
0,2136 |
0,75 |
Mх макс = 2,22 |
0,7062 |
2,96 |
0,3952 |
0,82 |
2,14 |
|
My |
0,2662 |
2,07 |
0,1294 |
0,45 |
1,62 |
0,0705 |
0,30 |
-0,0170 |
-0,04 |
0,26 |
|
|
3 9 |
Мx |
-0,5271 |
-4,09 |
-0,3142 |
-1,10 |
-2,99 |
-1,3020 |
-5,46 |
-0,7874 |
-1,64 |
-3,82 |
|
My |
-0,3761 |
-2,92 |
-0,2401 |
-0,84 |
-2,08 |
-0,4007 |
-1,68 |
-0,2471 |
-0,52 |
-1,16 |
|
Таблица 6
|
Нагрузка |
Стенка шириной a2 = 9 |
Стенка шириной a2 = 6 |
|||||||||||
|
|
|
||||||||||||
|
Напряжения, кгс/см2 |
Усилия, кгс |
Напряжения, кгс/см2 |
Усилия, кгс |
||||||||||
|
σx |
σy |
τxy |
Nx = σx p |
Ny = σy p |
Nτ = τxy p |
σx |
σy |
τxy |
Nx = σx p |
Ny = σy p |
Nτ = τxy p |
||
|
1 |
Сверху рв = 4,83 тс/м |
-0,989 |
-1 |
0 |
-4,78 |
-4,83 |
0 |
-0,602 |
-1 |
0 |
-2,91 |
-4,83 |
0 |
|
Снизу рн = 17 тс/м |
-0,823 |
0 |
0 |
-13,99 |
0 |
0 |
-0,436 |
0 |
0 |
-7,41 |
0 |
0 |
|
|
Суммарная |
- |
- |
- |
-18,77 |
-4,83 |
0 |
- |
- |
- |
-10,32 |
-4,83 |
0 |
|
|
5 |
pв |
-0,083 |
-0,5 |
0 |
-0,4 |
-2,41 |
0 |
-0,083 |
-0,5 |
0 |
-0,4 |
-2,41 |
0 |
|
pн |
0,083 |
0,5 |
0 |
1,41 |
8,5 |
0 |
0,083 |
0,5 |
0 |
1,41 |
8,5 |
0 |
|
|
Суммарная |
- |
- |
- |
1,01 |
6,09 |
0 |
- |
- |
- |
1,01 |
6,09 |
||
|
9 |
pв |
0,823 |
0 |
0 |
3,98 |
0 |
0 |
0,436 |
0 |
0 |
2,11 |
0 |
0 |
|
pн |
0,989 |
1 |
0 |
16,81 |
17 |
0 |
0,602 |
1 |
0 |
10,23 |
17 |
0 |
|
|
Суммарная |
- |
- |
- |
20,79 |
17 |
0 |
- |
- |
- |
12,34 |
17 |
0 |
|
|
37 |
pв |
1,965 |
-1 |
0 |
9,5 |
-4,83 |
0 |
0,878 |
-1 |
0 |
4,24 |
-4,83 |
0 |
|
pн |
2,132 |
0 |
0 |
36,2 |
0 |
0 |
1,045 |
0 |
0 |
17,77 |
0 |
0 |
|
|
Суммарная |
- |
- |
- |
45,7 |
-4,83 |
0 |
- |
- |
22,01 |
-4,83 |
0 |
||
|
41 |
pв |
-0,083 |
-0,5 |
-1,125 |
-0,4 |
-2,41 |
-5 45 |
-0,083 |
-0,5 |
-0,75 |
-0,4 |
-2,41 |
-3,62 |
|
pн |
+0,083 |
0,5 |
-1,125 |
1,41 |
8,5 |
-20,6 |
0,083 |
0,5 |
-0,75 |
1,41 |
8,5 |
-12,75 |
|
|
Суммарная |
- |
- |
- |
1,01 |
6,09 |
-26,05 |
- |
- |
- |
1,01 |
6,09 |
-16,37 |
|
|
45 |
pв |
-2,132 |
0 |
0 |
-10,3 |
0 |
0 |
-1,045 |
0 |
0 |
-5,05 |
0 |
0 |
|
pн |
-1,965 |
1 |
0 |
-33,4 |
17 |
0 |
-0,878 |
+ 1 |
0 |
-14,93 |
17 |
0 |
|
|
Суммарная |
- |
- |
- |
-43,7 |
17 |
0 |
- |
- |
- |
-19,98 |
17 |
0 |
|
Рис. 38. Схема расчетных точек и суммарных усилий вертикальных стенок бункеров
Вычисление производится в табличной форме для расчетных точек балки-стенки в пролете и на опоре (табл. 6).
При нагрузке сверху напряжения по табл. 1 прил. 5 принимаются для точек 1, 5, 9, 37, 41, 45 на рис. 37, а; при нагрузке снизу, рассматривая перевернутую схему балки-стенки, значения напряжений принимаются для точек 9, 5, 1, 45, 41, 37 на рис. 37, б с изменением знака для σх и σу.
Суммарные усилия в элементах бункера от растяжения, местного и общего изгиба (табл. 7 - 10)
Для вертикальной стенки шириной а2 (рис. 38):
Таблица 7
|
Растягивающие усилия, тс |
От местного изгиба, тсм |
От общего изгиба, тс |
Суммарные усилия |
|||||||
|
горизонтальное Nx |
скатное Ny |
Мх |
Му |
Nx |
Ny |
Nx, тс |
Ny, тс |
Мх, тcм |
My, тсм |
|
|
1 |
0 |
- |
- |
- |
-18,77 |
-4,83 |
-18,77 |
-4,83 |
- |
- |
|
2 |
3,24 |
- |
0,63 |
1,49 |
1,01 |
6,09 |
4,25 |
6,09 |
0,63 |
1,49 |
|
3 |
6,48 |
17 |
- |
-4,24 |
20,79 |
17 |
27,27 |
34 |
- |
-4,24 |
|
4 |
0 |
- |
- |
- |
45,7 |
-4,83 |
45,7 |
-4,83 |
- |
- |
|
5 |
3,24 |
- |
-2,73 |
- |
1,01 |
6,09 |
4,25 |
6,09 |
-2,73 |
- |
|
6 |
6,48 |
- |
- |
- |
-43,7 |
17 |
-37,22 |
17 |
- |
- |
Для вертикальной стенки шириной b2 (рис. 38):
Таблица 8
|
Растягивающие усилия, тс |
От местного изгиба, тсм |
От общего изгиба, тс |
Суммарные усилия |
|||||||
|
горизонтальное Nx |
скатное Ny |
Мх |
Му |
Nx |
Ny |
Nx, тс |
Ny, тс |
Мх, тcм |
My, тсм |
|
|
1 |
0 |
- |
- |
- |
-10,32 |
-4,83 |
-10,32 |
-4,83 |
- |
- |
|
2 |
4,86 |
- |
0,82 |
0,67 |
1,01 |
6,09 |
5,87 |
6,09 |
0,82 |
0,67 |
|
3 |
9,72 |
17 |
- |
-2,64 |
12,34 |
17 |
22,06 |
34 |
- |
-2,64 |
|
4 |
0 |
- |
- |
- |
22,01 |
-4,83 |
22,01 |
-4,83 |
- |
- |
|
5 |
4,86 |
- |
-2,20 |
- |
1,01 |
6,09 |
5,87 |
6,09 |
-2,2 |
- |
|
6 |
9,72 |
- |
- |
- |
-19,98 |
17 |
-10,26 |
17 |
- |
- |
Для наклонной стенки с шириной поверху а2 (см. рис. 35):
Таблица 9
|
Растягивающие усилия, тс |
От местного изгиба, тсм |
Суммарные усилия |
||||||
|
горизонтальное Nx |
скатное Ny |
Мх |
Му |
Nx, тс |
Ny, тс |
Мх, тcм |
My, тсм |
|
|
1 |
19,5 |
19,3 |
-0,80 |
-4,84 |
19,5 |
19,3 |
-0,80 |
-4,84 |
|
2 |
15,3 |
12,8 |
1,77 |
2,23 |
15,3 |
12,8 |
1,77 |
2,23 |
|
3 |
15,3 |
- |
-2,99 |
-2,08 |
15,3 |
- |
-2,99 |
-2,08 |
Для наклонной стенки с шириной поверху b2 (см. рис. 35)
Таблица 10
|
№ точек |
Растягивающие усилия, тс |
От местного изгиба, тсм |
Суммарные усилия |
|||||
|
горизонтальное Nx |
скатное Ny |
Мх |
Му |
Nx, тс |
Ny, тс |
Мх, тcм |
My, тсм |
|
|
1 |
14,9 |
22,3 |
-0,58 |
-3,49 |
14,9 |
22,3 |
-0,58 |
-3,49 |
|
2 |
11,2 |
14,8, |
2,17 |
1,69 |
11,2 |
14,8 |
2,17 |
1,69 |
|
3 |
11,2 |
- |
-3,82 |
-1,16 |
11,2 |
- |
-3,82 |
-1,16 |
6.1. Расчет элементов железобетонных бункеров производится в соответствии со СНиП II-21-75 и «Руководством по проектированию бетонных и железобетонных конструкций из тяжелого бетона (без предварительного напряжения)».
6.2. (3.26 СНиП II-21-75). При расчете сечений центрально-растянутых железобетонных элементов должно соблюдаться условие
N ≤ Ra Fa, (84)
где Fa - площадь сечения всей продольной арматуры;
N - действующее в конструкции расчетное усилие растяжения.
6.3. (3.27 СНиП II-21-75). Расчет прямоугольных сечений внецентренно-растянутых элементов, указанных в п. 3.11 СНиП II-21-75, должен производиться в зависимости от положения продольной силы N:
а) если продольная сила N приложена между равнодействующими усилий в арматуре А и А' (рис. 39, a) - из условий:
Рис. 39. Схема усилий и эпюра напряжений в сечении, нормальном к продольной оси внецентренно-растянутого железобетонного элемента, при расчете его по прочности
а - продольная сила N приложена между равнодействующими усилий в арматуре а и a'; б - то же, за пределами расстояния между равнодействующими усилий в арматуре а и а'
Величины е и е' для данного случая определяются по формулам:
(87)
(88)
где
(89)
б) если продольная сила N приложена за пределами расстояния между равнодействующими усилий в арматуре А и А' на рис. 39, б - из условия
Ne ≤ Rпрbx(h0 - 0,5x) + RacF'a(h0 - а'); (90)
[(63) СНиП II-21-75]
при этом высота сжатой зоны х определяется по формуле
RaFa - Ra.cF'a - N = Rпрbx. (91)
[(64) СНиП II-21-75]
Величины е и е' для случая «б» определяются по формулам:
(92)
В формулах (85) - (93) N и М - действующие в конструкции расчетное усилие растяжения и расчетный изгибающий момент.
6.4. Центрально- и внецентренно-растянутые элементы бункеров, выполняемых без предварительного напряжения, должны рассчитываться по раскрытию трещин, нормальных к продольной оси элемента, в соответствии с пп. 4.14, 4.15 СНиП II-21-75. Ширина раскрытия трещин, нормальных к продольной оси элемента ат мм, должна определяться по формуле
(94)
[(138) СНиП II-21-75]
где k - коэффициент, принимаемый равным - 1;
сд - коэффициент, принимаемый равным при учете длительного действия постоянных и длительных нагрузок для конструкций из тяжелого бетона естественной влажности - 1,5;
η - коэффициент, принимаемый равным при стержневой арматуре периодического профиля - 1;
σа - напряжение в стержнях крайнего ряда арматуры А, определяемое согласно п. 4.15 СНиП II-21-75;
- коэффициент армирования сечения, принимаемый равным
отношению площади сечения арматуры А к площади сечения бетона (при
рабочей высоте h0), но не более 0,02;
d - диаметр стержней арматуры, мм.
Ширина длительного раскрытия трещин определяется от длительного действия постоянных и длительных нагрузок.
6.5. Расчет по раскрытию трещин от длительного действия постоянных и длительных нагрузок производится при коэффициенте перегрузки n = 1 как для конструкций 3-й категории трещиностойкости в соответствии с табл. 16 СНиП II-21-75.
6.6. Предельно допустимая ширина длительного раскрытия трещин ат. дл при стержневой арматуре классов AI, АII и АIII принимается равной ат. дл = 0,2 мм как для конструкций 3-й категории трещиностойкости (для элементов хранилищ сыпучих тел, непосредственно воспринимающих их давление) в соответствии с табл. 1а СНиП II-21-75.
6.7. Определение арматуры А и А' для внецентренно-растянутых элементов бункеров производится также с помощью табл. 1 - 12 прил. 5. Таблицы составлены с учетом расчета на прочность и раскрытие трещин от длительного действия постоянных и длительных нагрузок при предельной допустимой ширине длительного раскрытия трещин αт. дл = 0,2 мм.
Таблицы разработаны для конструкций из бетона марок М400 и М300 и арматуры класса A-III, для размеров плит: b = 1000 мм; h = 100, 120, 150, 200, 250 и 300 мм.
6.8. При расчете бункеров вследствие действительной неравномерности распределения скатных усилий по периметру верха воронки бункера в углах ставится дополнительная арматура.
Подбор сечений угловых стержней определяется по формулам для симметричных бункеров
где Vнa и Vнb - расчетные скатные усилия на 1 пог. м длины стенки по верху воронки (см. п. 6.08);
для несимметричных бункеров
где Vнa1 и Vb1 - усредненные величины расчетных скатных усилий на 1 пог.м длины стенки по верху воронки (см. п. 6.10).
В формулах (95) и (96) коэффициент K принимается равным:
K = 0,1 - для низких бункеров (см. п. 5.17, рис. 22, б); K = 0,05 - для высоких бункеров (см. п. 5.17, рис. 22, в);
для бункеров-воронок (п. 5.17, рис. 22, а) принимается коэффициент K = 1 при условии наличия бортового элемента, воспринимающего опорную поперечную силу.
Расчет элементов бункера на поперечные силы
6.9. При расчете опорных сечений вертикальных стенок бункеров или бортовых элементов воронок на действие поперечной силы в их плоскости (см. пп. 5.21, 5.26) должно соблюдаться условие
Q ≤ 0,35Rпрbh0, (97)
при этом значение Rпр для бетонов проектных марок выше М400 принимается как для бетона марки М400.
При переменной ширине бортового элемента или вертикальной стенки b по высоте элемента в расчет вводится ширина элемента на уровне середины высоты сечения (без учета полок).
6.10. Расчет опорных сечений вертикальных стенок или бортовых элементов воронок на действие поперечной силы, согласно указаниям пп. 3.34, 3.35 СНиП II-21-75 (расчет изгибаемых элементов постоянной высоты, армированных хомутами), не производится, если соблюдается условие
Q ≤ 0,6Rр b h0. (98)
6.11. Расчет опорных сечений вертикальных стенок и стенок-воронок на местный изгиб из плоскости стенок (см. пп. 5.9 ÷ 5.15) производится из условий:
Qмакс ≤ 2,5Rр b h0; (99)
в которых правая часть принимается не менее k1 Rp b h0 + 2p1 h0, где р1 - интенсивность равномерно распределенной нагрузки.
Расчет элементов с переменной высотой сечения следует производить из условия (99), принимая значение h0 в опорном сечении, и из условия (100), принимая среднее значение h0 в пределах наклонного сечения.
Рис. 40. Армирование стенок бункера отдельными стержнями
Дано: толщина стенок h = 20 см; бетон М400; арматура класса A-III; расчетные усилия приняты по табл. 7; коэффициент γn = 0,95.

Расчет вертикальной стенки бункера шириной а2:
а) Вертикальная арматура по внутренней грани бункера определяется по усилиям: Nу = 34 × 0,95 = 32,3 тс; Му = -4,24 ∙ 0,95 = -4,03 тcм.
Подбор арматуры производим по формулам «Руководства по проектированию бетонных и железобетонных конструкций из тяжелого бетона (без предварительного напряжения)» для внецентренно-растянутых элементов. Полученная арматура: 5 Æ 16 AIII + 5 Æ 18 AIII (Fа = 22,77 см2). Арматуру Æ 16 AIII обрываем в середине пролета.
б) Вертикальная арматура по наружной грани бункера определяется по усилиям: Nу = 6,09 ∙ 0,95 = 5,79 тс; Му = 1,49 ∙ 0,95 = 1,42 тcм.
Полученная арматура: 5 Æ 14 AIII (Fa = 7,69 см2).
в) Горизонтальная арматура по наружной и внутренней грани бункера определяется но усилию Nx = 45,7 ∙ 0,95 = 43,4 тс.
Подбор арматуры производим по формулам «Руководства по проектированию бетонных и железобетонных конструкций из тяжелого бетона (без предварительного напряжения)» для центрально-растянутых элементов
![]()
По прочности требуется 10 Æ 14 AIII: Fa = 15,39 см2.
Принимаем по 5 Æ 16 AIII (Fa = 20,1 см2) на каждую грань.
Расчет на раскрытие трещин:
![]()
![]()
![]()
![]()
![]()
Принятой арматуры достаточно.
г) Горизонтальная арматура по внутренней грани бункера на опоре определяется по усилиям:
Nx = 4,25 ∙ 0,95 = 4,04 тс; Му = 0;
Мх = -2,73 ∙ 0,95 = -2,59 тсм.
Полученная арматура по расчету: 10 Æ 12 AIII (Fa = 11,31 см2). Получаемая конструктивно арматура (см. рис. 40): 5 Æ 16 AIII + 5 Æ 12 AIII (Fa = 15,7 см2).
В качестве примера произведем расчет вертикальной арматуры в вертикальной стенке бункера с шириной а2 по внутренней грани на усилия Nу = 32,3 тс; Му = -4,03 тсм в соответствии с «Руководством по проектированию бетонных и железобетонных конструкций из тяжелого бетона (без предварительного напряжения)». По табл. 7, 8 Руководства для бетона марки М400 mб1 = 0,85; Rпр = 150 кгс/см2; Rр = 10 кгс/см2.
Расчет на прочность:
![]()
![]()
![]()
При е' = 18,5 > h0 - a' = 16 - 4 = 12 см
![]()
ξ определяется в зависимости от значения
при F'a =
0:
![]()
При этом должно удовлетворяться условие А0 ≤ AR, где AR определяется по табл. 17 Руководства:
A0 = 0,055 < AR = 0,418; ξ = 0,057:
![]()
По расчету на прочность требуется арматура 5 Æ 12 AIII + 5 Æ 14 AIII (Fa = 13,34 см2).
Расчет на раскрытие трещин.
Принимаем 5 Æ 16 AIII + 5 Æ 18 AIII; Fa = 22,77 см2;
![]()
где k = 1,2 - для внецентренно растянутых элементов;
сд = 1,5 - при действии постоянных и длительных нагрузок для конструкций из бетонов естественной влажности;
η = 1 - при арматуре периодического профиля;
![]()
![]()
При е0 = 12,5 < 0,8h0 = 0,8 ∙ 16 = 12,8 см
![]()
где еа = е = 6,5 см; za = h - а - a' = 12 см;
![]()
![]()
Условие выполнено
Принято 5 Æ 16 AIII + 5 Æ 18 АIII; Fа = 22,77 см2.
Расчет вертикальной стенки бункера шириной b2 (расчетные усилия приняты из табл. 8).
а) Вертикальная арматура по внутренней грани бункера определяется по усилиям: Nу = 34 ∙ 0,95 = 32,3 тс; Му = -2,64 ∙ 0,95 = 2,51 тсм. Подбор арматуры производим по формулам «Руководства по проектированию бетонных и железобетонных конструкций из тяжелого бетона (без предварительного напряжения)» для внецентренно растянутых или растянутых элементов.
По расчету получаем арматуру 5 Æ 14 АIII + 5 Æ 16 AIII (Fa = 17,74 см2). Арматуру Æ 14 АIII обрываем в середине пролета.
б) Вертикальная арматура наружной грани бункера определяется по усилиям: Nу = 6,09 ∙ 0,95 = 5,79 тс; Му = 0,67 ∙ 0,95 = 0,64 тсм.
По расчету получаем арматуру 5 Æ 12 AIII (Fa = 5,65 см2).
в) Горизонтальная арматура по наружной и внутренней грани определяется по усилию Nx = 22,01 ∙ 0,95 = 20,91 тс.
По расчету получаем арматуру 10 Æ 12 АIII по 5 Æ 12 АIII (Fa = 5,65 см2) на каждую сторону.
г) Горизонтальная арматура по внутренней грани бункера на опоре определяется по усилиям: Nx = 5,87 ∙ 0,95 = 5,58 тс; Мх = -2,2 ∙ 0,95 = -2,09 тсм.
По расчету получаем арматуру 5 Æ 10 АIII + 5 Æ 12 AIII (Fa = 9,58 см2).
Получаемая конструктивно арматура (см. рис. 40): 10 Æ 12 АIII (Fa = 11,31 см2).
Расчет наклонной стенки бункера шириной поверху а2.
Расчетные усилия приняты из табл. 9. Арматура определяется по формулам «Руководства по проектированию бетонных и железобетонных конструкций из тяжелого бетона (без предварительного напряжения)».
а) Вертикальная арматура по внутренней грани бункера определяется по усилиям: Nу = 19,3 ∙ 0,95 = 18,3 тс; Му = -4,84 ∙ 0,95 = -4,6 тсм. По расчету получаем арматуру 10 Æ 16 АIII (Fa = 20,11 см2).
б) Вертикальная арматура по наружной грани бункера определяется по усилиям: Nу = 12,8 ∙ 0,95 = 12,2 тс; Мy = 2,23 ∙ 0,95 = 2,12 тсм. По расчету получаем арматуру 5 Æ 18 AIII (Fa = 12,72 см2).
в) Горизонтальная арматура по внутренней грани бункера в пролете определяется по усилиям: Nх = 19,5 ∙ 0,95 = 18,5 тс; Мy = -0,8 ∙ 0,95 = -0,76 тсм. По расчету получаем арматуру 5 Æ 18 АIII (Fa = 12,72 см2).
г) Горизонтальная арматура по внутренней грани бункера на опоре определяется по усилиям: Nх = 15,3 ∙ 0,95 = 14,54 тс; Mx = -2,99 ∙ 0,95 = -2,84 тсм. По расчету получаем арматуру 10 Æ 14 AIII (Fa = 15,39 см2). Получаемая конструктивно арматура (см. рис. 40): 5 Æ 18 АIII + 5 Æ 12 AIII (Fa = 18,37 см2).
д) Горизонтальная арматура по наружной грани бункера определяется по усилиям: Nх = 15,3 ∙ 0,95 = 14,54 тс; Мх = 1,77 ∙ 0,95 = 1,68 тсм. По расчету получаем арматуру 5 Æ 18 AIII (Fa = 12,72 см2).
Расчет наклонной стенки бункера шириной поверху b2.
Расчетные усилия приняты по табл. 10.
а) Вертикальная арматура по внутренней грани бункера определяется по усилиям: Ny = 22,3 ∙ 0,95 = 21,2 тс; Му = -3,49 ∙ 0,95 = -3,32 тсм. По расчету получаем арматуру 5 Æ 14 AIII + 5 Æ 16 AIII (Fa = 17,74 см2). Арматуру Æ 14 AIII обрываем в середине пролета.
б) Вертикальная арматура по наружной грани бункера определяется по усилиям: Ny = 14,8 ∙ 0,95 = 14,06 тс; Му = 1,69 ∙ 0,95 = 1,61 тсм. По расчету получаем арматуру 5 Æ 18 AIII (Fa = 12,72 см3).
в) Горизонтальная арматура по внутренней грани бункера в пролете определяется по усилиям: Nx = 14,9 ∙ 0,95 = 14,2 тс; Мх = -0,58 ∙ 0,95 = -0,55 тсм.
По расчету получаем арматуру 5 Æ 16 AIII (Fa = 10,05 см2).
г) Горизонтальная арматура по внутренней грани бункера на опоре определяется по усилиям: Nx = 11,2 ∙ 0,95 = -10,64 тс; Мх = -3,82 ∙ 0,95 = -3,63 тсм. По расчету получаем арматуру 10 Æ 14 AIII (Fa = 15,39 см2). Получаемая конструктивно арматура (см. рис. 40): 5 Æ 16 AIII + 5 Æ 12 AIII (Fa = 15,7 см2).
д) Горизонтальная арматура по наружной грани бункера определяется по усилиям: Nx = 11,2 ∙ 0,95 = 10,64 тс; Мх = 2,17 ∙ 0,95 = 2,06 тсм. По расчету получаем арматуру 5 Æ 18 AIII (Fa = 12,72 см2).
Определение арматуры в углах воронки бункера
![]()
где k = 0,05
Расчетные растягивающие скатные усилия в наклонных стенках определены в примере 1:
![]()
![]()
![]()
Принимаем 4 Æ 22 AI (Fa = 15,2 см2).
Расчет опорного сечения вертикальных стенок бункера
Qмакс ≤ 0,35Rпр b h0,
где ![]()
![]()
72600 < 0,35 ∙ 150 ∙ 640 ∙ 20 = 672000 кгс;
Q ≤ 0,6Rр b h0;
72600 < 0,6 ∙ 10 ∙ 640 ∙ 20 = 76800 кгс.
Условия (97) и (98) выполнены.
Расчет опорного сечения вертикальных стенок на местный изгиб из плоскости стенки
Qмакс ≤ 2,5Rр b h0;
Qмакс определяем для балки шириной 1 м с одной стороны защемленной, с
другой -
свободно опертой при
(см. табл. 4); Рг = 0,95 ∙ 2,16 = 2,05 тс/м.
Сумма моментов относительно свободной опоры:
![]()
![]()
4990 < 2,5 ∙ 10 ∙ 100 ∙ 16 = 40000 кгс;
![]()
где p1 = pг
![]()
Условие выполнено.
7.1. При конструировании бункеров необходимо рассматривать следующие конструктивные элементы: опоры, вертикальные стенки призматической части, наклонные стенки воронки, выпускные отверстия, поперечные и торцовые стенки лотковых бункеров, надбункерные перекрытия.
7.2. Элементы бункеров рекомендуется выполнять с учетом унификации их размеров. Унифицированные габаритные схемы симметричных бункеров, пирамидально-призматических и лотковых бункеров приведены на рис. 41.
Размеры сетки колонн бункеров приняты 6×6, 6×9 и 6×12 м.
7.3. Применение несимметричных бункеров или воронок допускается только при наличии специальных технологических требований.
7.4. Бункера унифицированных размеров рекомендуется выполнять в сборном железобетоне.
7.5. Монолитные железобетонные бункера могут применяться при соответствующем технико-экономическом обосновании.
7.6. Для монолитных железобетонных бункеров следует назначать бетон марок М200, 300; для сборных - бетон марок М300, 400.
7.7. Бункера рекомендуется армировать горячекатаной арматурой периодического профиля класса A-III или Ат-III.
7.8. Для монолитных бункеров (рис. 42) толщину вертикальных стенок призматической части рекомендуется принимать постоянной по всей высоте.
Толщину наклонных стенок воронки или лотков рекомендуется принимать одинаковой, если она не превышает 200 мм.
При толщине наклонных стенок воронки поверху более 200 мм предусматривается переменная толщина, которая понизу должна быть не менее 150 мм. В углах воронки с внутренней стороны рекомендуется устраивать вуты.
Рис. 41. Схемы унифицированных бункеров:
а - пирамидально-призматический бункер; б, в - бункера лотково-призматического типа
Рис. 42. Отдельно стоящий монолитный железобетонный бункер
а - разрез; б - узел «А»: 1 - стенка бункера; 2 - воронка; 3 - вут; 4 - колонна
Рис. 43. Пример армирования монолитного бункера
а - опалубочный разрез в плане; б - разрез; в - армирование стенок бункера; г - армирование воронки
7.9. Монолитные бункера армируются сварными сетками или отдельными стержнями.
7.10. Арматурные сетки выполняются с шагом стержней 100 или 200 мм в обоих направлениях. Изготовление сеток должно производиться в соответствии с «Инструкцией по сварке соединений арматуры и закладных деталей железобетонных конструкций».
7.11. Армирование отдельными стержнями вертикальных стенок и наклонных стенок воронок монолитных бункеров рекомендуется выполнять двойной арматурой аналогично армированию монолитных железобетонных плит, опертых по контуру (рис. 43); пролетные и опорные участки армируются раздельно. Диаметр рабочих стержней принимается по расчету, но не менее 6 мм.
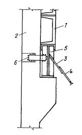
7.12. При армировании стенок воронки горизонтальные стержни отгибаются в поперечные стенки воронки: при толщине стенок воронки < 150 мм внутренние стержни переходят на наружную грань поперечных стенок на длину анкеровки, считая от внутренней грани воронки, наружные стержни переходят на внутреннюю грань на 1/4 пролета поперечной стенки (в свету) (рис. 44); при толщине стенок воронки ≥ 150 мм внутренние стержни ставятся, как указано выше, наружные стержни ставятся прямыми, а в углах по внутренней грани даются угловые стержни на 1/4 пролета соответствующей стенки (в свету) (рис. 45). В углах стенок по наружной грани ставятся горизонтальные угловые стержни. При наличии вута устанавливаются дополнительные горизонтальные стержни по внутренней грани. Наклонные стержни воронки заходят в вертикальную стенку на длину анкеровки. Длина анкеровки lан определяется в соответствии с п. 5.14 СНиП II-21-75 и п. 5.48 «Руководства по проектированию бетонных и железобетонных конструкций из тяжелого бетона».
Рис. 44. Армирование угла воронки монолитного бункера отдельными стержнями при δ стенки < 150 мм
1, 2 - горизонтальные стержни по внутренней грани; 3, 4 - то же, по наружной грани; 5 - угловой стержень (наклонные стержни условно не показаны)
7.13. Армирование вертикальных стенок монолитных бункеров рекомендуется выполнять сварными сетками по наружной и внутренней граням стенок (рис. 46). Сетки выполняются с рабочей арматурой в двух направлениях. Горизонтальные стержни сеток должны быть заанкерены в колоннах.
7.14. При армировании сварными сетками наклонные стенки воронок монолитных бункеров рекомендуется армировать двумя сварными сетками - наружной и внутренней. Сетки выполняются с равномерным распределением стержней с рабочей арматурой в обоих направлениях. В зоне наибольших усилий рекомендуется ставить дополнительные стержни.
7.15. Стержни наружных сеток стенок монолитной воронки следует надежно заанкерить в углах воронки. Это выполняется установкой в углах воронки дополнительных гнутых сеток (рис. 47). Анкерующие стержни дополнительной сетки назначаются по расчету на опорный момент стенки воронки.
Рис. 45. Армирование угла воронки монолитного бункера отдельными стержнями при δ стенки ≥ 150 мм
1, 5 - горизонтальные стержни по внутренней грани; 2, 6 - то же, по наружной грани; 3, 4 - угловые стержни (наклонные стержни условно не показаны)
7.16. Внутренние сетки стенок воронок монолитных бункеров для заанкеривания в углах выполняются с последующим отгибом концов стержней (рис. 48). Выполнение таких сеток производится с помощью специальных шаблонов. Поскольку отогнутые концы стержней невозможно завести на необходимую длину анкеровки, она обеспечивается устройством вута, армированного дополнительными горизонтальными стержнями (рис. 49).
7.17. В воронках монолитных бункеров, а также в бункерах-воронках, армируемых отдельными стержнями, необходимо армировать наклонные ребра угловыми стержнями. Стержни должны быть надежно заанкерены в колоннах, а снизу сварены со стержнями, окаймляющими выпускное отверстие, образуя при этом жесткий пространственный каркас воронки (рис. 50). Диаметр угловых стержней принимается по формулам (95), (96), но не менее 16 мм.
7.18. При армировании воронок сварными сетками с приваркой наружных сеток к уголку, располагаемому вдоль ребра воронки, этот уголок учитывается в качестве требуемой угловой арматуры и должен быть заанкерен в колонне, а снизу к нему привариваются стержни выпускного отверстия.
Рис. 46. Армирование монолитного бункера сварными сетками. Стык арматурных стержней сеток внахлестку
а - сопряжение сеток вертикальной стенки бункера; б - сопряжение сеток вертикальной стенки бункера с наклонной стенкой воронки; 1 - внутренняя сетка стенки; 2 - наружная сетка стенки; 3 - внутренняя сетка воронки; 4 - наружная сетка воронки; 5 - линия перегиба; 6 - край отогнутого стержня
Рис. 47. Армирование воронки сварными сетками
1 - железобетонная колонна; 2 - стыковочная сетка; 3 - закладная деталь в стенке бункера; 4 - арматура воронки; 5 - анкерующий стержень
7.19. Анкеровка угловых стержней периодического профиля в колоннах должна выполняться на длину не менее lан, как для растянутых стержней в соответствии с п. 5.14 СНиП II-21-75 и с п. 5.48 «Руководства по проектированию бетонных и железобетонных конструкций из тяжелого бетона».
7.20. При выполнении всех конструктивных элементов в монолитном железобетоне рекомендуется одновременное бетонирование несущих конструкций - колонн и вертикальных стенок. Бетонирование монолитной железобетонной воронки может производиться во вторую очередь (см. рис. 47).
7.21. При неодновременном бетонировании колонн и вертикальных стенок бункеров в колоннах предусматриваются горизонтальные выпуски арматуры, равные площади горизонтальной арматуры вертикальных стенок.
7.22. Сборные железобетонные бункера рекомендуется проектировать из плоских или ребристых плит.
7.23. Пирамидально-призматические бункера квадратные или прямоугольные в плане с большей стороной а2 < 6 м и высотой h2 < 3 м рекомендуется выполнять из плоских плит, размеры которых удовлетворяют габаритным требованиям (рис. 51).
7.24. Стенки лотково-призматических бункеров рекомендуется выполнять из ребристых железобетонных плит. Бункера со стенками высотой менее 3,6 м допускается выполнять из плоских плит.
7.25. Соединение между собой плоских элементов сборного железобетонного бункера осуществляется на сварке.
Рис. 48. Разбивка арматурных сеток воронки бункера
1 - ось бункера; 2 - течка; 3 - сваренные между собой отгибы вертикальных и горизонтальных стержней
Рис. 49. Анкеровка наружных сеток в углу воронки с помощью дополнительной сетки
1 - угловой стержень пространственного каркаса; 2 - дополнительные горизонтальные стержни; 3 - наружная сетка воронки; 4 - внутренняя сетка воронки; 5 - дополнительная сетка; 6 - сварка отогнутых горизонтальных и вертикальных стержней
Арматура сборных элементов приваривается к соединительным планкам, которые в процессе монтажа свариваются при помощи стыковых накладок (рис. 52).
7.26. Соединительные планки должны привариваться к стержням сеток в процессе их изготовления на заводе. Сварка производится электродуговыми точками или фланговыми швами согласно «Инструкции по сварке соединений арматуры и закладных деталей железобетонных конструкций (СН 393-78)».
7.27. Сечение всех соединительных элементов должно обеспечить равнопрочность и достаточную жесткость стыковых соединений.
Ширина соединительных планок должна составлять 10d, a толщина 0,3d, где d - диаметр арматурного стержня.
7.28. При установке сеток в опалубку сборного элемента бункера соединительные планки сеток рекомендуется соединять между собой дополнительными поперечинами из полосовой стали, с привариваемыми к ним втавр пластинками (рис. 53) - для восприятия сдвигающих сил в стыке.
7.29. Стыки сборных железобетонных элементов должны тщательно заполняться бетоном на мелком заполнителе.
Марка бетона для замоноличивания стыков должна быть не ниже марки бетона стыкуемых сборных элементов бункера.
7.30. Вертикальные стенки сборных бункеров соединяются с колоннами до монтажа элементов воронки. Крепление их к колоннам осуществляется, как правило, с помощью стыковых накладок, привариваемых к соединительным планкам на плите и на колонне (рис. 54).
Рис. 50. Армирование наклонных ребер воронки угловыми стержнями
а - анкеровка стержней в колонне; б - пространственный каркас
|
|
|
|
Рис. 51. Сборный железобетонный пирамидально-призматический бункер со сварными стыками элементов а - план; б - разрез; 1 - сборная железобетонная колонна; 2 - вертикальные сборные железобетонные стенки; 3 - сборная железобетонная стенка воронки; 4 - течка; 5 - узел сопряжения сборных вертикальных стенок бункера с железобетонной колонной (см. рис. 54); 6 - узел сопряжения наклонных плоских стенок воронки со сборными железобетонными стенками бункера (см. рис. 55); 7 - сопряжение плоских сборных железобетонных стенок воронки (см. рис. 56) |
Рис. 52. Соединение сборных железобетонных плоских плит стенок бункера 1 - арматура плиты; 2 - соединительные планки; 3 - стыковые накладки; 4 - сетка |
|
Рис. 53. Деталь соединительных планок сборной плиты бункера 1 - соединительные планки; 2 - поперечины; 3 - штыри; 4 - арматурные сетки плиты |
|
Для удобства монтажа на колоннах на отметке нижней кромки вертикальной плиты рекомендуется устраивать временные столики для опирания плиты до сварки.
|
|
|
|
Рис. 54. Сопряжение сборных вертикальных стенок бункеров с железобетонной колонной 1 - колонна; 2 - сборные вертикальные железобетонные стенки; 3 - соединительные планки; 4 - монтажные стержни; 5 - сетка |
Рис. 55. Сопряжение наклонных плоских стенок воронки со сборными железобетонными стенками бункера 1 - вертикальные железобетонные стенки бункера; 2 - наклонные железобетонные стенки бункера; 3 - соединительные планки; 4 - монтажные стержни; 5 - сетка |
Рис. 56. Сопряжение плоских сборных железобетонных стенок воронки
1 - сборные железобетонные стенки воронки; 2 - соединительные планки; 3 - монтажные стержни; 4 - сетка
7.31. Наклонные плоские стенки воронок присоединяются к вертикальным стенкам призматической части бункеров с помощью стыковых соединительных элементов (рис. 55).
7.32. Соединение плоских сборных железобетонных стенок воронки между собой показано на рис. 56.
8.1. Обшивка бункера рассчитывается на нагрузку от действия сыпучего материала, направленную нормально к поверхности обшивки, и дополнительного растяжения от массы сыпучего.
8.2. Расчет обшивки производится по схеме гибкой пластинки шарнирно-опертой на неподвижные опоры (ребра жесткости).
8.3. За пролет пластинки di принимается расстояние в осях между горизонтальными ребрами воронки (рис. 57):
(101)
Рис. 57. Расчетная схема ребер жесткости воронки
8.4. В пределах пролета нагрузка считается равномерно распределенной, равной среднему значению нормального давления на рассматриваемом участке:
(102)
8.5. Продольная сила на единицу длины обшивки определяется зависимостью
(103)
где v = 0,3 - коэффициент Пуассона.
8.6. Изгибающий момент в середине пролета на единицу длины обшивки определяется по формуле:
(104)
где fi - прогиб в середине пролета:
(105)
8.7. Растягивающие напряжения в обшивке от массы сыпучего определяются зависимостью:
(107)
При этом
(108)
Здесь h - координата середины рассматриваемой панели обшивки. Обозначения laz и lbz ясны из рис. 13.
8.8. Проверка прочности обшивки бункера с учетом пластических свойств стали производится по формуле:
(109)
где γc - коэффициент условий работы, принимаемый: Для обшивки, не защищенной футеровкой, γc = 0,8; для обшивки, защищенной футеровкой, γc = 1.
8.9. Предельный прогиб пластинки от нормативной нагрузки не должен превосходить 1/50 ее пролета.
8.10. Горизонтальные ребра жесткости рассчитываются на совместное воздействие продольных растягивающих сил и равномерно распределенной поперечной нагрузки, возникающих от давления засыпки на примыкающую к ребрам часть обшивки (см. рис. 57).
8.11. Равномерно распределенная нагрузка на ребро бункера определяется по формуле
(110)
Для несимметричного в плане бункера значения раi и pbi на противоположных гранях принимаются одинаковыми по наибольшему из значений раi и pbi.
8.12. Продольные растягивающие силы в i-м ребре определяются зависимостями:
(111)
где lai, lbi - длина ребра i.
8.13. Изгибающие моменты в ребрах определяются в зависимости от способа сопряжения ребер жесткости в углах.
При шарнирном сопряжении изгибающий момент в середине пролета ребра определяется по формуле
(112)
При жестком сопряжении ребер и при учете работы материала за пределом упругости величина изгибающего момента для ребра а (b) определяется по формуле
(113)
8.14. Предельный прогиб ребер жесткости от нормативной нагрузки:
(114)
8.15. Проверка сечений ребер жесткости воронки производится с учетом пластических свойств стали по формуле
(115)
Здесь A - площадь ребра с примыкающей к нему частью обшивки, равной 30 толщинам обшивки;
W - минимальный момент сопротивления сечения относительно оси, параллельной обшивке.
Величины А и W для различных сечений ребер определяются по таблицам 1 - 10 прил. 6.
Коэффициент с определяется в зависимости от угла наклона α стенки воронки; при α ≤ 30°, 50°, 70° соответственно с = 1,3; 1,2; 1,1; при α ≥ 80° с = 1.
Промежуточные значения коэффициентов c определяются линейной интерполяцией.
8.16. Расчет воронки жесткого бункера (подбор сечения обшивки и ребер) может выполняться на ЭВМ (программа «РОМБ» для ЭВМ М-222, выпуск ЛО ЦНИИПроектстальконструкция, 1972).
8.17. В программе реализованы следующие этапы расчета:
сбор нагрузок на элементы бункера по пп. 4.5, 4.6;
определение геометрических параметров бункера по пп. 2.26 - 2.31;
подбор сечения обшивки по пп. 8.1 - 8.9;
подбор сечения ребер по пп. 8.10 - 8.15.
8.18. Исходные данные задаются в табличной форме; они должны содержать следующую информацию:
геометрические размеры бункера;
характеристики сыпучего материала;
физические характеристики металла, используемого для элементов воронки;
сортамент угловой, двутавровой и листовой стали, применяемый при проектировании обшивки и ребер жесткости воронки.
8.19. В результате расчета на печать выдаются варианты различных возможных сечений элементов воронки, из которых инженер-проектировщик выбирает наиболее рациональный вариант. Выданная информация содержит необходимые для проектирования геометрические параметры и массу каждого элемента; кроме того, определяются, в соответствии с пп. 8.22 - 8.24, нагрузки, необходимые для расчета бункерной балки по пп. 8.20 - 8.28.
8.20. Бункерные балки рассчитываются как однопролетные шарнирно-опертые с пролетами а2 и b2.
8.21. Расчет производится на вертикальную и горизонтальную нагрузки, возникающие от собственного веса воронки с засыпкой, горизонтального давления засыпки и временной нагрузки на перекрытии (рис. 58).
8.22. Суммарная вертикальная равномерно распределенная нагрузка на 1 пог.м бункерной балки определяется по формуле
p = g + q5 + q6 + 0,5 pн1 d1 cosα, (116)
где g - расчетная равномерно распределенная нагрузка от собственного веса конструкций;
q5 - расчетная нагрузка от веса заполнения;
q6 - расчетная нагрузка от временной нагрузки на перекрытии.
Рис. 58. Схема нагрузок на бункерную балку для двух видов узла присоединения воронки
а - крепление воронки к стенке балки и к нижнему поясу; б - крепление воронки к нижнему поясу балки
Для балок, параллельных соответственно осям х и у:
(117)
Здесь Р - полная масса засыпки.
8.23. Горизонтальные нагрузки, действующие на бункерную балку, определяются в зависимости от вида узла сопряжения воронки с бункерной балкой.
8.24. При креплении воронки к стенке балки и к нижнему поясу (см. рис. 58 а):
(118)
При этом:
(119)
При схеме узла сопряжения воронки с бункерной балкой по рис. 58, б:
(120)
Здесь:
(121)
рг - максимальное значение нормального давления засыпки на уровне крепления обшивки, действующего на стенку балки;
рг = 1,2γkh3 - при схеме крепления обшивки по варианту 1 (см. рис. 58, а);
pг = 1,2γkh2 - при схеме крепления обшивки по варианту 2 (см. рис. 58, б).
Максимальные изгибающие моменты от вертикальной нагрузки:
(122)
Изгибающие моменты в поясах балки от горизонтальных нагрузок:
(123)
8.25. Кроме изгибающих моментов в горизонтальной и вертикальной плоскостях, в поясах балок возникают продольные растягивающие силы от нагрузок Q1 и Q2, действующих на грани перпендикулярного направления, величины которых определяются по формулам:
(124)
8.26. Напряжения в поясах балки определяются по формуле
В формуле (125): индекс i = 1, 2 относится соответственно к верхнему и нижнему поясам балки; индексы «а» и «б» условно опущены.
Wi - момент сопротивления балки;
Wni, Ani - момент сопротивления и площадь пояса балки.
8.27. Расстановку и расчет ребер жесткости бункерных балок следует производить по указаниям СНиП II-23-81.
8.28. В высоких балках
устойчивость
стенки на действие нормальных напряжений может быть не обеспечена. В этом
случае при работе балки на вертикальные нагрузки в расчетное сечение следует
вводить только примыкающие к полкам участки стенки высотой 15t.
Устойчивость стенки проверяется на действие только касательных напряжений:
(126)
Здесь
- среднее касательное
напряжение;
Q - среднее значение поперечной силы в пределах отсека;
hст - полная высота стенки;
τcr - критическое напряжение, определяемое по формуле (76) СНиП II-23-81.
Стенка также проверяется на срез:
(127)
8.29. Очертание оболочки гибкого бункера при полном заполнении бункера определяется с учетом вертикального и горизонтального давлений сыпучего материала (рис. 59):
![]()
Н - распор бункера при x = b/2 и y = f:
|
Рис. 59. Гибкий бункер. Основные параметры |
Рис. 60. Схема гибкого бункера а - без призматической части; б - с призматической частью |
8.30. Площадь поперечного сечения бункера А определяется в зависимости от схемы бункера:
для конструкции без призматической части (рис. 60, а)
(130)
для конструкции с призматической частью (рис. 60, б)
(131)
8.31. Теоретическое очертание гибкого бункера, определяемое зависимостью (128), разрешается заменять коробовой кривой, состоящей из прямолинейного участка и двух сопряженных дуг (рис. 61). Параметры коробовой кривой определяются по указаниям п. 8.32. В этом случае коробовая кривая практически совпадает с теоретическим очертанием заполненного бункера, и перемещения его в процессе загружения и разгрузки, будут минимальными.
Рис. 61. Построение коробовой кривой
8.32. По известным габаритным размерам бункера с учетом материала засыпки определяется параметр ω:
Если ω > 2, то принимается φр = φ + 5° и определяется расчетное значение параметра ωр:
(133)
По табл. 11 в зависимости от ωр определяется параметр ξ. Для промежуточных значений аргументов при пользовании табл. 11 разрешается линейная интерполяция. Тангенс угла наклона верхнего прямолинейного участка определяется по формуле:
(134)
Радиус кривизны r1 нижнего участка стенок назначается из условия:
1,1r0 ≤ r1 ≤ 1,2r0, (135)
где
(136)
Таблица 11
Параметр ξ
|
ξ |
ω |
ξ |
ω |
ξ |
ω |
ξ |
ω |
ξ |
|
|
1,1 |
0,725 |
2,1 |
0,555 |
3,1 |
0,432 |
4,1 |
0,348 |
5,1 |
0,289 |
|
1,2 |
0,707 |
2,2 |
0,539 |
3,2 |
0,422 |
4,2 |
0,34 |
5,2 |
0,283 |
|
1,3 |
0,688 |
2,3 |
0,527 |
3,3 |
0,412 |
4,3 |
0,334 |
5,3 |
0,279 |
|
1,4 |
0,67 |
2,4 |
0,512 |
3,4 |
0,402 |
4,4 |
0,328 |
5,4 |
0,273 |
|
1,5 |
0,652 |
2,5 |
0,5 |
3,5 |
0,395 |
4,5 |
0,32 |
5,5 |
0,27 |
|
1,6 |
0,635 |
2,6 |
0,488 |
3,6 |
0,387 |
4,6 |
0,316 |
5,6 |
0,266 |
|
1,7 |
0,617 |
2,7 |
0,477 |
3,7 |
0,377 |
4,7 |
0,309 |
5,7 |
0,262 |
|
1,8 |
0,602 |
2,8 |
0,465 |
3,8 |
0,369 |
4,8 |
0,305 |
5,8 |
0,258 |
|
1,9 |
0,586 |
2,9 |
0,453 |
3,9 |
0,361 |
4,9 |
0,299 |
5,9 |
0,254 |
|
2 |
0,57 |
3 |
0,441 |
4 |
0,356 |
5 |
0,293 |
6 |
0,25 |
Секториальный угол α1 назначается в пределах
40° ≤ α1 ≤ 50°. (137)
Величины углов α2 и α3 определяются как:
α2 = α - α1;
α3 = 90° - α. (138)
Радиус закругления среднего участка стенок r2 и длина развертки прямолинейного участка стенки s3 определяются решением системы уравнений:
Длина развертки криволинейных участков стенок s1 и s2 определяется по формуле
(140)
Полная длина развертки стенок гибкого бункера:
s = 2(s1 + s2 + s3). (141)
Площадь поперечного сечения
(142)
8.33. Для небольших бункеров разрешается принимать очертание стенок бункера по веревочной кривой без учета горизонтального давления засыпки:
(143)
или
(144)
|
Рис. 62. Очертание оболочки гибкого бункера. Графическая аппроксимация зависимости (144) |
Рис. 63. Расчетная схема стенки гибкого бункера с жесткими разгрузочными воронками |
При этом для бункеров с пролетом b ≤ 4 м разрешается использовать графическую аппроксимацию кривой (144) (рис. 62). Площадь поперечного сечения бункера определяется по формуле
(145)
8.34. Растягивающее усилие на единицу длины оболочки бункера в месте ее крепления к бункерной балке определяется по формуле
(146)
где V, Н - вертикальная и горизонтальная опорные реакции оболочки (см. рис. 61):
Распор бункера Н определяется зависимостью (129),
8.35. Толщина оболочки гибкого бункера
(148)
где n = 1,2 - коэффициент перегрузки сыпучего материала;
- расчетное сопротивление сварного шва встык растяжению.
8.36. Расчет бункерных балок гибких бункеров производится по пп. 8.20 - 8.28.
8.37. Элементы торцовых стенок, а также сплошных поперечных диафрагм, расположенных внутри бункера, должны быть рассчитаны на горизонтальное давление сыпучего материала аналогично плоским стенкам воронки жестких бункеров.
8.38. При расчете гибких бункеров с жесткими разгрузочными воронками необходимо учесть действие изгибающих моментов, возникающих в месте сопряжения стенки с жесткой воронкой и продольными несущими балками.
Таблица 12
Значения l/t стенки гибкого бункера с жесткими разгрузочными воронками
|
Нагрузка, кгс/см2 |
H, кгс/см |
|||||||||||||||||
|
300 |
400 |
500 |
600 |
700 |
800 |
|||||||||||||
|
Н0, кгс/см |
||||||||||||||||||
|
50 |
100 |
150 |
50 |
100 |
150 |
50 |
100 |
150 |
50 |
100 |
150 |
50 |
100 |
150 |
50 |
100 |
150 |
|
|
0,2 |
728 |
1062 |
1526 |
704 |
974 |
1286 |
692 |
922 |
1185 |
678 |
895 |
1108 |
664 |
870 |
1050 |
652 |
843 |
1000 |
|
0,3 |
511 |
688 |
970 |
493 |
647 |
825 |
483 |
616 |
758 |
473 |
594 |
720 |
467 |
581 |
700 |
462 |
568 |
674 |
|
0,4 |
419 |
551 |
752 |
403 |
512 |
642 |
391 |
482 |
593 |
389 |
472 |
563 |
381 |
462 |
542 |
379 |
450 |
529 |
|
0,5 |
358 |
457 |
619 |
347 |
426 |
528 |
337 |
408 |
486 |
335 |
397 |
466 |
328 |
387 |
449 |
326 |
378 |
437 |
|
0,6 |
319 |
398 |
537 |
309 |
367 |
458 |
305 |
356 |
427 |
298 |
347 |
408 |
294 |
337 |
388 |
289 |
328 |
377 |
|
0,7 |
294 |
356 |
467 |
285 |
337 |
409 |
277 |
315 |
378 |
271 |
309 |
357 |
268 |
305 |
346 |
266 |
299 |
335 |
|
0,8 |
272 |
327 |
410 |
264 |
308 |
359 |
258 |
297 |
334 |
254 |
288 |
323 |
250 |
278 |
309 |
247 |
274 |
303 |
|
0,9 |
258 |
307 |
397 |
248 |
284 |
332 |
241 |
268 |
310 |
236 |
263 |
293 |
233 |
259 |
284 |
231 |
253 |
275 |
|
1,0 |
241 |
283 |
348 |
233 |
266 |
307 |
228 |
252 |
283 |
224 |
247 |
274 |
221 |
241 |
266 |
219 |
237 |
258 |
|
1,1 |
231 |
265 |
323 |
224 |
250 |
286 |
217 |
238 |
265 |
213 |
231 |
255 |
211 |
227 |
248 |
209 |
224 |
241 |
|
1,2 |
222 |
253 |
305 |
213 |
235 |
272 |
207 |
227 |
253 |
204 |
221 |
241 |
203 |
217 |
233 |
202 |
214 |
229 |
Примечания: 1. Значения отношений l/t определены для случая σт = 3800 кгс/см2.
2. Н0 - растягивающее усилие в стенке бункера при заполнении только разгрузочной воронки
Подбор сечения гибкой стенки в этом случае производится по табл. 12; принятые обозначения соответствуют рис. 63. Промежуточные значения отношений l/t определяются линейной интерполяцией.
8.39. При конструкции гибкого бункера из отдельных полос настил или футеровку следует рассчитывать как неразрезную балку с пролетами, равными расстоянию между подвесками в свету. Балка рассчитывается на изгиб от давления сыпучего материала, нормального к поверхности настила.
8.40. Цилиндрические стенки бункеров рассчитываются на растяжение от нагрузки, нормальной к поверхности оболочки. Кольцевые усилия N1i на единицу длины сечения по образующей определяются по формуле
(149)
где a2 - диаметр цилиндрической части бункера (см. рис. 3).
8.41. Цилиндрические стенки бункеров должны быть проверены на устойчивость от действия сжимающей силы в соответствии с рекомендациями СНиП II-23-81 с учетом знака нагрузки, нормальной к боковой поверхности оболочки.
8.42. Конические стенки бункеров рассчитываются на растяжение в двух направлениях: кольцевом и меридиональном.
Кольцевое растягивающее усилие в i-м сечении оболочки на расстоянии h от верха бункера определяется по формуле
(150)
где ri - радиус конической оболочки в i-м сечении.
Меридиональное растягивающее усилие по направлению образующей конической оболочки определяется по формуле
(151)
где ppi - вертикальная нагрузка от засыпки на глубине h, определяемая по формуле
(152)
При этом
(153)
В месте сопряжения цилиндрической части с конической вертикальная нагрузка от засыпки
(154)
где V - полный объем засыпки бункера, определяемый зависимостью (18):
![]()
8.43. Место сопряжения цилиндрической и конической оболочек бункера должно быть проверено на напряжения от краевого эффекта по существующим методикам в зависимости от принятого конструктивного решения.
8.44. При наличии в месте сопряжения оболочек кольца жесткости сжимающее усилие в нем может быть приближенно определено по формуле
(155)
Требуется рассчитать пирамидальный бункер для хранения угля размером в плане 6×6 (рис. 64). Объемная масса угля γ = 1 тс/м3; угол внутреннего трения φ = 35°. Материал бункера - сталь марки ВСт3кп2. Собственная масса бункера принимается равной 15 т.
Основные геометрические размеры бункера (см. рис. 12):
а2 = b2 = 6 м; а1 = b1 = 0,6 м; α = 59°30';
h1 = 4,2 м; h2 = 2 м; sinα = 0,862; cosα = 0,508.
Полный объем бункера определяется по формуле (2):
![]()
Координаты центра тяжести объема по формулам (3), (4) равны: хц = 0; yц = 0.
Шаг ребер принимается равным di = 1,22 м.
Тогда si (см. рис. 57) равно:
si = 1,22sinα = 1,05 м.
Рис. 64. К примеру 3
Расчет обшивки бункера
Обшивка рассчитывается на нагрузку от действия сыпучего материала, направленную нормально к поверхности обшивки, и дополнительного растяжения от массы сыпучего. Расчет выполнен для нижней панели обшивки (панель 4 на рис. 64).
Расчетное нормальное давление на глубине 6,2 и 5,15 м от верха бункера определено по формуле
рн = nm0γh,
где n = 1,2.
Параметр m0 = 0,459 определен по прил. 3 при α = 59°30':
pн3 = 1,2 ∙ 0,459 ∙ 5,15 = 2,85 тс/м2;
рн4 = 1,2 ∙ 0,459 ∙ 6,2 = 3,42 тс/м2.
Равномерно распределенная нагрузка на рассматриваемую панель обшивки
![]()
Толщина обшивки принимается равной 6 мм. Продольная сила на единицу длины обшивки равна:

Прогиб в середине пролета
![]()
где Nэ4 определено по формуле (106):
![]()
Изгибающий момент в середине пролета
![]()
Растягивающее напряжение в обшивке от массы сыпучего равно:
![]()
При этом
![]()

Проверка прочности обшивки бункера с учетом пластических свойств стали:

Принимая в соответствии с п. 8.8 коэффициент условий работы γс = 0,8, имеем 0,315 < 0,8.
Расчет ребер жесткости воронки
Определяем равномерно распределенную нагрузку на ребро 1 бункера:
![]()
При этом
pн1 = 1,2 ∙ 0,459 ∙ 3,05 = 1,68 тс/м2.
Длина ребра 1 (принята по нейтральным осям рамы):
lа1 = 4,65 + 0,14 = 4,79 м.
Продольная растягивающая сила в ребре
![]()
Изгибающий момент в ребре
![]()
Принимается ребро из уголка Ð 140×9. Площадь уголка с прилегающей к нему частью обшивки длиной 30t и момент сопротивления сечения определены по табл. 1 прил. 6:
А = 35,5 см2;
Wmin = 137,9 см3.
Проверка прочности ребра с учетом пластических свойств стали составляет

Расчет бункерных балок
Принята первая схема узла сопряжения воронки с бункерной балкой (см. рис. 58, а).
Суммарная вертикальная равномерно распределенная нагрузка на 1 м бункерной балки
p = g + q5 + q6 + 0,5pн1d1cosα = 7 + 1,1 + 0,521 = 8,62 тс/м;
![]()
Нагрузка от веса перекрытий, принимаемая равной 200 кгс/м2, и от веса оборудования, принимаемая равной 400 кгс/м2, составляет:
![]()
pн1 = nym0h = 1,2 ∙ 0,459 ∙ 3,05 = 1,68 тс/м2;
0,5pн1d1cosα = 0,5 ∙ 1,68 ∙ 1,22 ∙ 0,508 = 0,521 тс/м.
Горизонтальные нагрузки, действующие на бункерную балку:
![]()
pг = nkγh = 1,2 ∙ 0,271 ∙ 1,6 = 0,52 тс/м2;
![]()
![]()
рн0 = 1,2 ∙ 0,459 ∙ 2 = 1,1 тс/м2;
![]()
рн1 = 1,2 ∙ 0,459 ∙ 3,05 = 1,68 тс/м2;
![]()
Суммарная горизонтальная нагрузка равна:

![]()
Максимальный изгибающий момент от вертикальной нагрузки:
![]()
Изгибающие моменты в поясах балки от горизонтальных нагрузок:
![]()
![]()
Продольные растягивающие силы от нагрузок Q1 и Q2:
![]()
![]()
Компонуем сечение балки:
верхний пояс - 350×12, Ав.п = 42 см2, Wв.п = 8319 см3, Wув.п = 245 см3; нижний пояс - 150×10, - 400×10, - 180×6, Aн.п = 66 см2, Wн.п = 13150 см3, Wун.п = 415 см3.
Напряжения в верхнем поясе:
от вертикальных нагрузок
![]()
от горизонтальных нагрузок
![]()
Суммарное напряжение
σ1 = 466,3 + 1161,9 = 1628 кгс/см2.
Напряжения в нижнем поясе:
от вертикальных нагрузок
![]()
от горизонтальных нагрузок
![]()
Суммарное напряжение
σ2 = 295 + 1198 = 1493 кгс/см2.
Расчет воронки жесткого бункера на ЭВМ
При выполнении расчета воронки жесткого бункера на ЭВМ необходимо задать исходные данные по таблице на с. 80.
Требуется рассчитать гибкий бункер пролетом b = 18 м, высотой f = 13 м для руды, имеющей объемную массу γ = 2 тс/м3 и угол внутреннего трения φ = 40°. Материал оболочки бункера - сталь марки 09Г2Сгр.2, Rу = Rωу = 3650 кгс/см2. Принята конструктивная схема без призматической части (см. рис. 60, а).
Очертание бункера принимается по коробовой кривой. Определение ее параметров производится в соответствии с указаниями п. 8.32. По прил. 3 при φ = 40° k = 0,217.
Параметр ω определяется по формуле (132):
![]()
|
№ ячейки |
Размерность |
Численное значение |
|
|
γ - удельный вес засыпки |
1 |
кгс/см3 |
0,001 |
|
φ - угол естественного откоса засыпки |
2 |
град |
35 |
|
y0 |
3 |
см |
0 |
|
x0 |
4 |
см |
0 |
|
a2 |
5 |
см |
600 |
|
b2 |
6 |
см |
600 |
|
а1 |
7 |
см |
60 |
|
b1 |
8 |
см |
60 |
|
h1 |
9 |
см |
420 |
|
h2 |
10 |
см |
200 |
|
tмин - минимальное расстояние между ребрами |
11 |
см |
50 |
|
Е - модуль Юнга |
12 |
кгс/см2 |
2,1 ∙ 106 |
|
Ry - нормативное сопротивление |
13 |
кгс/см2 |
2100 |
|
σт - предел текучести |
14 15 |
кгс/см2 |
2100 |
|
п - коэффициент перегрузки |
16 |
безразмерный |
1,2 |
|
17 |
» |
2 |
|
|
18 |
» |
0,04 |
|
|
податливость крепления ребер жесткости |
19 |
» |
0 |
|
20 |
» |
13 |
|
|
sмакс - максимальное расстояние между ребрами жесткости |
21 |
безразмерный |
0,25 |
|
22 |
» |
0,1 |
|
|
23 |
» |
1,5 |
|
|
24 |
» |
30 |
Так как ω > 2, то
φр = 40° + 5° = 45°; kр = 0,172.
Расчетное значение параметра ωр:
![]()
По табл. 11 определяется параметр ξ = 0,408.
Тангенс угла наклона верхнего прямолинейного участка:

α = 69°38';
sinα = 0,938; cosα = 0,348.
Параметр r0 определяется зависимостью (136):
![]()
Радиус кривизны r1 нижнего участка стенок назначается в соответствии с условием (137). Принимается: r1 = 1,19 ∙ r0 = 4 м.
Соответственно зависимостям (137) и (138) имеем:
α1 = 43°; sinα1 = 0,682; cosα1 = 0,731;
α2 = 69°38¢ - 43° = 26°38¢;
α3 = 20°22¢.
Радиус закругления среднего участка стенок r2 и длина развертки прямолинейного участка стенки s3 определяются решением системы уравнений (139):
r1(1 - cosα1) + r2(cosα1 - cosα) + s3sinα = f;
r1sinα1 + r2(sinα - sinα1) + s3cosα = 0,5b;
4(1 - 0,731) + r2(0,731 - 0,348) + s30,938 = 13;
4 ∙ 0,682 + r2(0,938 - 0,682) + s30,348 = 0,518;
s3 = 6,087 м;
r2 = 16,225 м.
Длина развертки криволинейных участков стенок s1 и s2:
![]()
![]()
Полная длина развертки стенок гибкого бункера:
s = 2[s1 + s2 + s3] = 2(3,002 + 7,542 + 6,087) = 33,26 м.
Полученная коробовая кривая представлена на рис. 65.
Площадь поперечного сечения бункера:

Вертикальная и горизонтальная опорные реакции оболочки в месте ее крепления к бункерной балке определяются соответственно зависимостями (147) и (129):
![]()
![]()
Рис. 65. К примеру 4
Растягивающее усилие на единицу длины оболочки бункера в месте ее крепления к бункерной балке:
![]()
Толщина оболочки гибкого бункера:
![]()
Принимаем толщину оболочки бункера t = 6 мм.
9.1. Конструкции бункеров выполняются сварными.
9.2. Минимальная толщина обшивки бункера принимается равной 6 мм.
9.3. Заводские и монтажные соединения стенок бункеров должны выполняться встык по равнопрочности. При серьезных затруднениях в сборке и подгонке монтажных стыков допускается выполнение их на двусторонних накладках.
9.4. Сварные швы в месте соединения обшивки воронки с призматической частью бункера, а также в двугранных углах воронки должны быть равнопрочны основному металлу.
9.5. Ребра жесткости привариваются к листам обшивки и стенкам балок непрерывными односторонними сварными швами или двусторонними прерывистыми швами.
9.6. Внутренняя поверхность обшивки бункеров не должна иметь выступающих частей (полок, ребер, скоб и т.д.), способствующих образованию сводов и зависаний сыпучего материала.
9.7. С целью улучшения условий истечения сыпучего материала углы между гранями воронки могут быть скруглены путем приварки в углах специальных гнутых стальных листов.
9.8. Верхние пояса поперечных балок (распорок) лотковых и гибких бункеров должны иметь специальную защиту от ударов сыпучего.
Рис. 66. Общий вид одноячейкового пирамидально-призматического бункера
1 - вертикальная стенка бункера (бункерная балка); 2 - воронка; 3 - ребра жесткости воронки; 4 - вертикальные и горизонтальные ребра жесткости
|
Рис. 67. Многоячейковый бункер |
Рис. 68. Многоячейковый бункер, опирающийся на нижележащие конструкции 1 - треугольная жесткая рама; 2 - опорные стойки |
9.9. Для конструкций жестких бункеров, возводимых в районах с расчетной температурой наружного воздуха выше -30 °С, следует применять сталь марки ВСт3кп2; при температурах от -30° до -40 ° С - сталь марки ВСт3пс6. Для оболочки гибких бункеров рекомендуется применение сталей повышенной прочности.
Рис. 69. Лотковый несимметричный бункер
1 - седловидная рама; 2 - распорка трубчатого сечения
При строительстве бункеров в северной климатической зоне с расчетной температурой наружного воздуха ниже -40° для несущих конструкций жестких бункеров рекомендуется применять низколегированные стали. Для районов с расчетной температурой наружного воздуха выше -40° низколегированные стали могут быть применены для ребер жесткости воронки и бункерных балок лишь при соответствующем экономическом обосновании.
9.10. Форма и размеры отправочных марок устанавливаются проектом и должны соответствовать габаритам железнодорожного подвижного состава.
9.11. На заводе следует производить общую сборку негабаритных бункеров.
9.12. Жесткими называются бункера, которые сохраняют свою форму в процессе загружения и разгрузки. Прямоугольные жесткие бункера могут быть пирамидально-призматическими (рис. 66, 67, 68) или лотковыми (рис. 69, 70, 71).
9.13. Опирание бункера на колонны здания или отдельно стоящие стойки производится через бункерные балки (см. рис. 66). В некоторых случаях (при больших размерах выпускных отверстий) более экономичной оказывается конструктивная схема с опиранием бункера непосредственно на лежащее ниже подбункерное перекрытие. На рис. 68 и 72 представлено решение, в котором основными несущими элементами являются треугольные жесткие рамы, составляющие каркас нижней пирамидальной части бункера.
9.14. Стенки бункерных балок следует укреплять вертикальными и горизонтальными ребрами жесткости (см. рис. 66).
9.15. Обшивку воронки следует укреплять только горизонтальными ребрами жесткости. Для ребер жесткости воронки используются прокатные сечения из равнобоких уголков или половин двутавра, поставленных горизонтально. Шаг ребер жесткости рекомендуется принимать в пределах 0,5 ÷ 2 м.
9.16. Основные узлы сопряжения элементов конструкций пирамидально-призматического бункера представлены на рис. 73, 74.
9.17. Основные конструктивные решения лотковых бункеров аналогичны соответствующим решениям пирамидально-призматических бункеров.
9.18. Лотковый бункер может иметь симметричную и несимметричную конструкцию. Боковые стенки бункера могут быть как вертикальными, так и наклонными. Поперечная жесткость бункера обеспечивается специальными седловидными рамами, расположенными с шагом 6 или 12 м, и распорками, проходящими между воронками (см. рис. 69). Боковые стенки лоткового бункера укрепляются горизонтальными или вертикальными ребрами жесткости.
9.19. Гибкий (параболический) бункер представляет собой незамкнутую цилиндрическую оболочку с горизонтальной осью, подвешенную к двум продольным несущим балкам (рис. 75). Балки опираются на колонны (рис. 76) или отдельно стоящие стойки (см. рис. 75). Благодаря отсутствию ребер жесткости и работе стенок в основном на растяжение гибкие бункера относятся к числу наиболее экономичных по расходу металла.
Рис. 72. Многоячейковый бункер, опирающийся на нижележащие конструкции. Узел опирания треугольной рамы на балку
Рис. 73. Узлы сопряжения элементов конструкций пирамидально-призматических бункеров
а - сопряжение ребер жесткости воронки в углах; б - конструкция выходного отверстия; в, г, д - варианты сопряжения воронки с бункерными балками
9.20. Для хранения разносортных сыпучих материалов гибкие бункера можно располагать в два или более рядов.
9.21. Емкостная часть бункера может проектироваться соответственно двум схемам, показанным на рис. 60. Первая схема - без призматической части (см. рис. 60, а, 76), вторая схема - с призматической частью, создающей дополнительную емкость (см. рис. 60, б).
Рис. 74. Узел опирания бункерных балок на колонну
9.22. Отношение пролета бункера к его высоте
рекомендуется назначать в пределах ![]()
9.23. К гибким бункерам не разрешается подвеска балок, монорельсов, перекрытий и др.
9.24. Колонны на уровне бункерных балок должны быть развязаны ригелями или специальными распорками, воспринимающими горизонтальные усилия от стенок (см. рис. 75, 76). Узел сопряжения бункерных балок с колонной показан на рис. 77.
Рис. 75. Схема гибкого (параболического) бункера
1 - оболочка; 2 - продольная балка; 3 - поперечная балка-распорка; 4 - торцовая стенка; 5 - тяжи; 6 - течки; 7 - колонна
Рис. 76. Поперечный разрез гибкого бункера пролетом 18 м
1 - продольная бункерная балка; 2 - торцовая стенка; 3 - футеровка из стального листа; 4 - футеровка из деревянных брусков
9.25. Бункерные балки при стальном каркасе здания рекомендуется проектировать неразрезными. В поперечном сечении бункерные балки рекомендуется устанавливать наклонно, по касательной к очертанию стенок (рис. 78, а). Вертикальное расположение бункерных балок (рис. 78, б, в, г) разрешается как вынужденное решение в особых условиях (например, средние балки при многорядном расположении бункеров).
9.26. По торцам бункера должны быть установлены жесткие вертикальные стенки, состоящие из стальной обшивки и балок (см. рис. 75, 79). Сопряжение гибких стенок с торцовыми должно быть подвижным. Обшивку торцовых стенок следует выводить за пределы теоретического очертания гибких стенок с учетом величин возможного перемещения последних. Зазор между торцовой и гибкой стенкой следует уплотнять полосой из эластичного материала, непрерывной по периметру гибкой стенки.
Рис. 77. Узел сопряжения бункерных балок с колонной
Рис. 78. Схема установки бункерных балок
а - наклонная бункерная балка; б, в, г - вертикально расположенные бункерные балки
|
|
|
|
Рис. 79. Фрагмент торцовой стенки гибкого бункера 1 - обшивка; 2 - горизонтальная балка; 3 - вертикальные ребра; 4 - тяжи |
Рис. 80. Схема разбивки оболочки гибкого бункера на отправочные элементы |
9.27. Разбивку оболочки гибкого бункера на отправочные элементы следует производить раздельно для прямолинейных и криволинейных участков, при этом следует избегать пересечений продольных и поперечных монтажных сварных швов.
9.28. Для хранения плохосыпучих материалов могут быть рекомендованы гибкие бункера с жесткими разгрузочными воронками (рис. 81). Такое конструктивное решение бункера позволяет существенно улучшить условия истечения материала по сравнению с гибкими бункерами и таким образом значительно увеличить полезный объем бункера за счет сокращения объема застойной зоны.
|
Рис. 81. Гибкий бункер с жесткими разгрузочными воронками |
Рис. 82. Деталь крепления оболочки гибкого бункера, выполненного из отдельных полос, к продольной бункерной балке |
В сравнении с гибким такой бункер менее деформативен и, следовательно, более удобен в эксплуатации. Неизменяемость контура бункера в плане в месте примыкания разгрузочных воронок к стенкам обеспечивается горизонтальными бункерными балками с распорками.
9.29. Гибкий бункер может быть выполнен в виде сплошной незамкнутой оболочки или состоять из отдельных полос (подвесок) того же очертания с уложенным по ним настилом (рис. 82).
9.30. Подвески проектируются из полосовой или круглой высокопрочной стали и крепятся непосредственно к бункерным балкам или к поперечным прогонам, опирающимся на бункерные балки. Шаг подвесок по длине бункера принимается постоянным, равным 0,3 - 2 м.
9.31. Настил, воспринимающий давление сыпучего материала между подвесками, следует проектировать из дерева при шаге подвесок до 1,5 м или из сборных железобетонных плит при шаге подвесок 1,5 - 2 м. Настил следует крепить к подвескам подвижными связями.
9.32. Конусно-цилиндрические бункера состоят из верхней цилиндрической и нижней конической гладких оболочек, опертых на колонны, соединенные системой вертикальных связей.
9.33. Сопряжение цилиндрической оболочки с конической должно осуществляться по возможности плавно: встык через коническую вставку или через отбортовку в виде тора.
Возможные варианты решения узла сопряжения воронки с цилиндрической частью бункера показаны на рис. 83.
Рис. 83. Узел сопряжения конической воронки с цилиндрической частью бункера
а - пересечение с кольцом жесткости; б - пересечение с отбортовкой; в - сопряжение встык с концевым ребром жесткости
9.34. Колонны ставятся по окружности на равных расстояниях. Как правило, достаточно четырех колонн. При диаметре цилиндрической части бункера, большем 6 м, допускается постановка шести и более колонн.
9.35. При диаметре цилиндрической части бункера, превышающем 3,2 м (предельно допустимый габарит железнодорожного транспорта), оболочка, как правило, должна поставляться на монтаж отдельными царгами, свернутыми в рулон габаритного размера.
10.1. К бункерам смешанной конструкции относятся пирамидально-призматические, конусно-цилиндрические и лотковые бункера с монолитными или сборными железобетонными стенками и стальными воронками.
Рис. 84. Крепление стальной воронки к железобетонным элементам
1 - фартук; 2 - стальная воронка; 3 - монтажная сварка
|
|
|
|
Рис. 85. Узел соединения стальной бункерной балки с железобетонной колонной 1 - сборные железобетонные ребристые плиты; 2 - железобетонная колонна; 3 - фартук; 4 - стальная воронка; 5 - стальная балка; 6 - монтажная сварка |
Рис. 86. Крепление стальной воронки к сборным железобетонным плоским стенкам бункера 1 - сборная железобетонная плоская плита; 2 - металлическая балка; 3 - воронка |
10.2. Присоединение стальной воронки к железобетонным стенкам или днищу бункера рекомендуется выполнять:
а) непосредственной приваркой обшивки стальной воронки к закладным элементам, заанкеренным в железобетонных конструкциях бункера (рис. 84);
б) с устройством стальной балки воронки, опирающейся на железобетонные конструкции (рис. 85);
в) с устройством горизонтальной стальной балки воронки, привариваемой к закладным элементам, заанкеренным в железобетонных вертикальных стенках (рис. 86).
10.3. Обшивка воронки и горизонтальные ребра жесткости рассчитываются, в соответствии с главой 8, независимо от железобетонных конструкций.
10.4. Стальные бункерные балки, как правило, не воспринимают дополнительных усилий от железобетонных конструкций, на которые они опираются.
Бункерные балки, опирающиеся по всей длине на железобетонные конструкции, передают на них вертикальную нагрузку от собственного веса стальных конструкций и давления засыпки. Расчет бункерных балок в этом случае производится на горизонтальные нагрузки от собственного веса стальных конструкций и веса засыпки.
В качестве примеров бункерных балок, не воспринимающих дополнительных усилий от железобетонных конструкций, могут быть приведены:
балки воронки пирамидально-призматического бункера, а также лоткового бункера с местными воронками;
кольцевая балка конической воронки конусно-цилиндрического бункера;
продольные балки лоткового бункера (вдоль лотка) с пирамидальными воронками по всей площади днища.
10.5. Дополнительные усилия от железобетонных конструкций следует учитывать для поперечных бункерных балок в лотковых бункерах с пирамидальными воронками по всей площади днища (балки пролетом a, см. рис. 2, а).
Расчет бункерных балок в этом случае производится на суммарные усилия:
изгиб и растяжение или сжатие от веса стальных конструкций и давления засыпки;
растяжение от горизонтального давления сыпучего на железобетонные вертикальные стенки, передающееся через колонны на балки.
При отсутствии надбункерного перекрытия поперечные балки воспринимают полный распор от давления сыпучего на вертикальные стенки лоткового бункера, определяемый по формуле
При наличии надбункерного перекрытия треть распора воспринимается балками надбункерного перекрытия, две трети - поперечными балками пирамидальных воронок.
Усилие, приходящееся на них, определяется по формуле
[в формулах (156) и (157) l - шаг колонн лоткового бункера].
10.6. Сварные швы, которыми осуществляется присоединение стальной воронки к железобетонным конструкциям, назначаются по расчету, в соответствии со СНиП II-23-81, и выполняются в соответствии с «Инструкцией по сварке соединений арматуры и закладных деталей железобетонных конструкций» (СН 393-78).
10.7. Конструирование стальных воронок производится в соответствии с главой 8.
10.8. Лотковые бункера смешанной конструкции рекомендуется выполнять со стенами из сборных железобетонных ребристых плит, принимая высоту стен унифицированной с модулем, равным ширине сборной плиты (1200 мм) (рис. 87). Сборные железобетонные стеновые плиты привариваются к закладным деталям в колоннах.
Рис. 87. Сборный железобетонный лотково-призматический бункер со стальными воронками
1 - сборные железобетонные ребристые плиты; 2 - стальная воронка; 3 - монтажная сварка; 4 - ванная сварка верхней арматуры ригеля и выпусков из колонны
10.9. Днище лотковых бункеров с местными стальными воронками рекомендуется выполнять из ребристых железобетонных плит, опирающихся на железобетонные или стальные ригели днища.
Ригели днища воспринимают вертикальные реакции от плит днища и горизонтальные от стеновых плит. Сборно-железобетонные ригели днища соединяются с колоннами при помощи ванной сварки верхней арматуры и приварки опорных закладных деталей понизу к закладным в колонне; стальные ригели днища привариваются к закладным деталям в колоннах, с помощью накладок. Ригели надбункерного перекрытия, также воспринимающие горизонтальные силы, соединяются с колоннами аналогично ригелям днища.
10.10. Конусно-цилиндрические бункера смешанной конструкции рекомендуется выполнять со стенами из сборных железобетонных предварительно-напряженных элементов заводского изготовления, принимая горизонтальную разрезку стен на элементы, имеющие высоту, кратную 600 мм.
10.11. Сборные стены конусно-цилиндрических бункеров диаметром 3 м следует проектировать из замкнутых объемных элементов заводского изготовления.
При больших размерах бункеров стены следует проектировать из отдельных криволинейных элементов, укрупняемых перед монтажом в замкнутые объемные.
1. Определение усилий, подбор сечений и арматуры в элементах лоткового бункера с вертикальными стенками из сборных железобетонных ребристых плит (рис. 88). Высота бункера h2 = 7,2 м.
Характеристика сыпучего (железная руда): γ = 2 тс/м3; φ = 45°; коэффициент перегрузки n = 1,2; коэффициент надежности по назначению конструкций γп = 0,95.
Определение расчетного давления на стенки (рис. 89).
Коэффициент бокового давления сыпучего при φ = 45° определяем по табл. 3 прил. 2 k = 0,172.
Расчетное давление на вертикальные стенки на глубине h
рг = nγhk.
Расчетное давление на .вертикальные стенки на глубине 6,6 м; 5,4 м и 4,2 м:
р1г = 0,95 ∙ 1,2 ∙ 2 ∙ 6,6 ∙ 0,172 = 2,59 тс/м2;
р2г = 0,95 ∙ 1,2 ∙ 2 ∙ 5,4 ∙ 0,172 = 2,12 тс/м2;
р3г = 0,95 ∙ 1,2 ∙ 2 ∙ 4,2 ∙ 0,172 = 1,65 тс/м2;
![]()
![]()
![]()
2. Подбор сечения арматуры наиболее загруженной ребристой плиты вертикальной стенки сборного бункера.
Расчет производим в соответствии со СНиП II-21-75 и «Руководством по проектированию бетонных и железобетонных конструкций из тяжелого бетона (без предварительного напряжения)».
Дано: нижняя ребристая плита вертикальной сборной стенки бункера с размерами поперечного сечения по рис. 90:
b = 2×10 см; h = 40 см; b'п = 120 см; h'п = 5 см;
бетон марки М300 (Rпр = 115 кгс/см2); рабочая арматура класса AIII (Rа = 3750 кгс/см2; Eа = 2 ∙ 106 кгс/см2) расположена в 2 ряда (a = 6 см); расчетный изгибающий момент Mпр = 13,07 тсм.
|
|
|
|
Рис. 88. Разрез и план лоткового бункера |
Рис. 89. Расчетная схема горизонтального давления сыпучего на вертикальную стенку |
Рис. 90. Сборная плита бункера, арматурный разрез
Требуется определить площадь сечения арматуры и произвести расчет по раскрытию трещин, нормальных к продольной оси элемента.
а) Расчет на прочность ведем, согласно указаниям п. 3.23, в предположении, что сжатая арматура по расчету не требуется.
Проверяем условие:
M ≤ Rпр b'п h'п (h0 - 0,5h'п) + Rac F'a (h0 - a');
Rпр b'п h'п(h0 - 0,5h'п) = 115 ∙ 120 ∙ 5(34 - 0,5 ∙ 5) = 21,8 тсм > 13,07 тсм,
т.е. граница сжатой зоны проходит в полке и сжатая арматура по расчету не требуется; расчет производим как для прямоугольного сечения шириной bп (см. п. 3.23 а Руководства):
![]()
Площадь сечения растянутой арматуры вычисляем по формуле (23) Руководства. Для этого по табл. 18 при A0 = 0,082 находим υ = 0,957. Тогда
![]()
По расчету на прочность требуется 4 Æ 20 AIII (Fa = 12,56 см2).
б) Расчет по раскрытию трещин, нормальных к продольной оси элемента, производится по формуле
![]()
где k - коэффициент, принимаемый для изгибаемых элементов равным 1;
сд - коэффициент, принимаемый при действии постоянных и длительных нагрузок для конструкций из бетонов естественной влажности равным 1,5;
η - коэффициент, принимаемый для арматуры периодического профиля равным 1.
Конструктивно принимаем
сжатую арматуру 2 ÆØ
12 AIII (F'a = 2,26 см2);
где z1 определяется в соответствии с п. 4.16
«Руководства по проектированию бетонных и железобетонных конструкций»:


![]()
![]()

![]()

v - упругопластический коэффициент, принимаемый равным 0,15, согласно указаниям п. 4.15 «Руководства по проектированию бетонных и железобетонных конструкций»:

![]()
![]()
![]()

![]()
![]()

![]()
Так как арматура расположена в 2 ряда, вычисляем по формуле коэффициент ψн:
![]()
![]()
Напряжение в нижнем стержне арматуры равно:
σа = 2753 ∙ 1,07 = 2946 кгс/см2;
![]()
![]()
11.1. Внутренние поверхности бункера в зависимости от характера эксплуатационных воздействий и вызываемого ими износа делятся на три зоны. К I зоне относятся поверхности, подвергающиеся удару и истиранию, ко II зоне - только истиранию. К III зоне относятся поверхности, не подвергающиеся абразивному износу. Если сыпучий материал содержит агрессивную среду, зона III делится на две подзоны. К III зоне относятся поверхности бункеров, находящиеся в. контакте с сыпучим материалом, а к зоне IIIа - расположенные над ним.
11.2. Защиту несущих конструкций от коррозии в зонах III, II Iа и под износостойкой защитой следует выполнять в соответствии со СНиП II-28-73*.
11.3. Величина (интенсивность) абразивного износа (потеря толщины, мм/год) в I и II зонах зависит от многих факторов: сопротивляемости указанному износу материала несущей конструкции или защиты, фракции и абразивности сыпучего, формы и размеров бункера, схемы его загрузки и выгрузки, количества сыпучего, проходящего через бункер за год, химической агрессивности среды (вызываемой минерализованной или технологической водой) и др. Эти данные принимаются в качестве исходных при выборе типа износостойкой защиты.
11.4. По степени абразивности сыпучие материалы подразделяются на весьма абразивные, абразивные и малоабразивные, коэффициенты крепости которых по шкале М.М. Протодьяконова соответственно составляют более 14; 13,9 - 8; менее 8 единиц. Степень абразивности и механические свойства некоторых сыпучих материалов приведены в прил. 2.
11.5. Фракция сыпучего материала характеризуется наибольшим и наименьшим размерами отдельных частиц в мм. Рекомендуется следующая классификация сыпучих по фракционному составу: 0,05-0; 5-0; 25-0; 100-0; 300-0; 900-0; 1500-0.
11.6. Исходными данными для определения положения и размеров I зоны износа являются схема загрузки бункера (вид, размеры и положение транспортного средства, при помощи которого загружается бункер), форма емкости и скорость сыпучего при сходе с загрузочного устройства. Выбор, материала и конструкции защиты для I зоны износа производится с учетом энергии, которой обладает кусок сыпучего в момент, предшествующий соударению его со стенкой бункера.
11.7. Положение и размеры II зоны износа определяются формой и размерами емкости, физическими свойствами сыпучего (коэффициент внутреннего трения, коэффициент трения сыпучего по материалу защиты, влажность сыпучего и его размеры).
11.8. Исходными данными при установлении толщины конструкции защиты для I и II зон являются режим эксплуатации бункеров (количество сыпучего, проходящего через бункер в млн. т/год), размеры сыпучего и степень его абразивности, энергия, которой обладает кусок сыпучего в момент, предшествующий соударению его со стенкой бункера.
11.9. Необходимость в износостойкой защите железобетонных или стальных стенок бункеров под малоабразивные сыпучие материалы устанавливается в зависимости от величины их абразивного износа (без учета коррозионного износа) за расчетный срок службы, определяемого по приближенной формуле (170) для I зоны и по формуле (173) - для II исходя из допустимого уменьшения расчетного сечения стенки бункера, обеспечения сохранности арматуры и др.
11.10. При влажности сыпучего более 5 % бетон железобетонных бункеров должен иметь марку по водонепроницаемости не ниже В-4 при расположении бункеров в отапливаемых и не ниже В-6 - в неотапливаемых помещениях.
11.11. При химической агрессивности среды по отношению к стали крепежные металлические и закладные детали должны защищаться от коррозии.
В тех случаях, когда износостойкая защита не предохраняет стальную стенку бункера от коррозии, должна применяться антикоррозионная защита стенки.
11.12. «Самозащита», представляющая собой искусственно созданный на поверхности стенки бункера слой из сыпучего, может применяться в бункерах под сыпучие материалы с влажностью не более 5 % в зоне I и с влажностью не более 3 % в зоне II.
11.13. Защита на упругом основании, состоящая из износостойкого экрана и упругого основания, помешенного между экраном и стенкой бункера, наиболее целесообразна для зоны ударного взноса под сыпучие материалы фракции свыше 100-0 мм.
11.14. Защита из резины наиболее эффективна в I зоне износа для сыпучих фракций 300-0 и ниже. Резину также следует использовать в конструкциях «самозащиты».
11.15. Защита из штучных неметаллических материалов (камнелитых и др.) рекомендуется для весьма абразивных и абразивных сыпучих, из бетона или раствора - для железобетонных бункеров под малоабразивные материалы.
Защита из бетона и раствора наиболее целесообразна для сборных конструкций, когда возможно совмещение операций по изготовлению железобетонных элементов и их защите.
11.16. Защита из пластмасс рекомендуется к применению в бункерах, где требуются антиадгезионные свойства защиты по отношению к сыпучим фракции 25-0 и менее.
11.17. Защита из стали может применяться в бункерах под сыпучие фракции 300-0 и выше, когда другие технические решения защиты не могут быть использованы.
11.18. Допускается обогрев износостойкой защиты как меры против примерзания сыпучего. Защита в этом случае должна быть сборно-разборной и стойкой к нагреву.
11.19. В надбункерных перекрытиях следует предусматривать монтажные люки для наблюдения за состоянием защиты и выполнения ремонтных работ.
11.20. Рабочие чертежи конструкции защиты должны содержать:
принципиальные указания о порядке и последовательности монтажа и демонтажа элементов защиты;
допуски на монтаж элементов защиты;
мероприятия по антикоррозионной защите крепежных и закладных деталей и др.;
мероприятия по технике безопасности при производстве работ,
Рис. 91. Схема спусков
а - каскадного; б - спирального
11.21. Интенсивность ударных воздействий, передающихся на стенку (защиту) бункера, может быть уменьшена путем устройства в бункере спиральных или каскадных спусков, отбойных экранов, применения рациональной схемы их загрузки и выгрузки, при которой бункер полностью не опорожняется, а удар передается на сыпучее, оставшееся в нем.
11.22. Спиральные и каскадные спуски (рис. 91) уменьшают свободную высоту падения сыпучего при загрузке бункера. Они применяются, как правило, для сыпучих, измельчение которых нежелательно.
11.23. Отбойные экраны ставятся на пути падения сыпучего. Их назначение - гашение скорости падающих кусков и создание нужного направления их движения с тем, чтобы куски падали на сыпучее, находящееся в бункере.
11.24. Материалами для устройства экранов в бункерах для сыпучих крупностью до 50 мм могут служить транспортерная лента, обрезки стальных канатов, деревянные щиты; для сыпучих свыше 50 мм - отслужившие рельсы, металлические листы и др. Отбойный экран для сыпучих крупностью более 150 мм следует собирать из отдельных элементов, не связанных друг с другом, посаженных на ось вращения.
11.25. Одним из эффективных способов снижения интенсивности ударных воздействий является применение «самозащиты» из сыпучего, хранящегося в бункере (пп. 11.30, 11.36), и защиты из резины на выносе (п. 11.45).
11.26. Положение и границы I зоны износа на стенках бункеров при стационарном расположении загрузочного устройства устанавливаются расчетом по формулам:
yв = уА - 0,35; (158)
yн = уА + 0,65; (159)
n = n1 + 0,4, (160)
где ув и yн - ординаты верхней и нижней границ I зоны, м;
n - ширина зоны, м;
yА - ордината точки соударения частицы сыпучего, находившейся в центре толщины слоя на загрузочном устройстве, со стенкой бункера, м;
n1 - ширина слоя сыпучего на загрузочном устройстве, м.
Рис. 92. Расчетная схема определения границ I зоны износа
При нахождении ординаты уА графическим методом необходимо в масштабе изобразить бункер, нанести место расположения загрузочного устройства и траекторию падения сыпучего. Точка пересечения траектории падения сыпучего с поверхностью стенки бункера определяет указанную ординату (рис. 92).
Ордината уА аналитическим методом определяется путем совместного решения уравнений траектории падения частиц сыпучего (161) и стенок бункера: вертикальной (162), наклонной левой (163) и правой (164) и выпускного отверстия (165):
х = 0; (162)
y = h2 + l + x tgαb2; (163)
y = h2 + l + (a2 - x) tgαb2; (164)
y = h2 + l + h1, (165)
где у и х - координаты траектории падения сыпучего, м;
и
- горизонтальная и вертикальная составляющие начальной
скорости падения сыпучего в точке схода с загрузочного устройства, м/с;
u - расстояние от точки схода частицы сыпучего с загрузочного устройства до стенки бункера, м;
g - ускорение силы тяжести, м/с2;
l - расстояние от частицы сыпучего в центре толщины слоя на загрузочном устройстве до верха бункера, м.
Определение границ I зоны ударного износа приведено в примере 6.
Таблица 13
Границы II зоны износа стенок бункеров
|
А. С одним выпускным отверстием при а2 = b2 = 6 м |
Б. С двумя выпускными отверстиями при а2 = 9 м; b2 = 6 м |
|||||||
|
|
|
|||||||
|
Абразивность сыпучего |
Фракция сыпучего, мм |
Высота бункера, м |
Границы зон истирания, м, в бункерах |
|||||
|
А |
Б |
|||||||
|
l1 |
l2 |
l3 |
l1 |
l2 |
l3 |
|||
|
Весьма абразивный, абразивный |
100-0 |
5 |
0,4hb2 |
0,6hb 2 |
0,8hb2 |
0,4hb2 |
0,5hb2 |
0,8hb2 |
|
6 ÷ 9 |
0,6hb2 |
0,7hb2 |
||||||
|
Малоабразивный |
100-0 |
5 |
- |
- |
0,8hb2 |
- |
- |
- |
|
8 ÷ 9 |
||||||||
|
5-0 |
5 |
- |
- |
0,7hb2 |
- |
- |
- |
|
|
6 ÷ 9 |
0,8hb2 |
|||||||
11.27. Границы II зоны износа бункеров определяются по табл. 13.
Для других наиболее распространенных форм бункеров и схем загрузки сыпучего зоны износа приведены в прил. 7.
В бункерах нетиповой формы II зона износа устанавливается моделированием.
11.28. В бункерах под весьма абразивные и абразивные сыпучие материалы I и II зоны износа разграничиваются на три подзоны: Iа, Iб, Iв и IIа, IIб, IIв. Интенсивность износа в двух последних подзонах по отношению к первой составляет соответственно 50 и 25 %.
11.29. При полностью загружаемом бункере участок стенки от низа I зоны до проекции грани конвейера принимать как зону Iв.
При наличии в бункере постоянного невыгружаемого объема сыпучего, если:
уровень сыпучего находится в пределах I зоны, высота этой зоны принимается до уровня сыпучего;
уровень сыпучего ниже I зоны, то промежуток от нижней границы I зоны до уровня сыпучего принимается как зона Iб;
зона I располагается в пределах вертикальной стенки, а уровень сыпучего находится в пределах наклонной стенки, то часть наклонной стенки длиной 1 - 1,5 м, примыкающая к вертикали, принимается как зона 1б.
11.30. Тип конструкции защиты для I зоны износа следует подбирать по табл. 14.
11.31. Защита на упругом основании состоит из износостойкого экрана и упругого основания (рис. 93).
Износостойким экраном могут служить материалы, стойкие к абразивному износу: износостойкий металл, металлоцемент М500, армированное шлакокаменное литье с повышенной ударной вязкостью и др.
Таблица 14
|
Влажность сыпучего, % |
Тип защиты для I зоны износа |
|||||
|
«самозащита» (табл. 16) |
плиты на упругом основании (табл. 15) |
резина (табл. 16) |
неметаллические материалы (каменные, бетонные, дерево и др.) (табл. 16) |
сталь |
||
|
1500-0 |
≤ 5 |
- |
- |
- |
- |
+ |
|
900-0 |
> 5 |
- |
- |
- |
- |
+ |
|
300-0 |
≤ 5 |
+ |
+ |
+ |
+ |
+ |
|
100-0 |
≤ 5 |
+ |
+ |
+ |
+ |
- |
|
25-0 |
> 5 |
- |
+ |
+ |
+ |
- |
|
5-0 |
≤ 2 |
- |
- |
+ |
+ |
- |
|
0,05-0 |
> 2 |
- |
- |
+ |
+ |
- |
Примечание. Знак «+» - применяется; знак «-» - не применяется.
Рис. 93. Защита на упругом основании
1 - стенка бункера; 2 - износостойкая плита; 3 - металлический стержень; 4 - техническая резина; 5 - прокладка из технической резины; 6 - резиновая трубка; 7 - гайка; 8 - шпилька
Металлоцемент рекомендуется применять следующих составов:
а) цемент М400 и металлическая стружка соотношением 1:1 с осадкой конуса 1 - 2 см; для улучшения сцепления цементного камня и стружки в состав раствора вводят 3 - 5 % (от массы цемента) 25 %-ный водный раствор смолы «водамин-99»;
б) портландцемент и песок соотношением 1:1; чугунных опилок (на 1 м3 раствора) - 1100 кг; В/Ц = 0,37.
В качестве упругого основания могут использоваться резиновые пластины в соответствии с ГОСТ 7338-77 «Пластины резиновые и резинотканевые. Технические условия».
11.32. Износостойкий экран следует набирать из отдельных, несвязанных элементов (плит), каждый из которых крепится к упругому основанию или к защищаемой поверхности болтами.
Износостойкая защита должна обладать податливостью как в направлении, перпендикулярном к защищаемой конструкции, так и в касательном. Возможно применение других конструктивных решений защиты на упругом основании, например крепление резины к основанию и износостойкого экрана к резине клеем. Для крепления резины к металлу рекомендуется применять клеи 88-Н, 52-К-2, 51-К-10 и др.
Таблица 15
|
Размеры износостойких плит защиты, мм, при скорости сыпучего, м/с |
||||
|
До 5 |
св. 5 до 10 |
св. 10 до 15 |
св. 15 до 20 |
|
|
300-0 |
300×300×20 300×300×60 |
300×300×30 300×300×60 |
300×300×40 400×400×80 |
300×300×40 400×400×80 |
|
100-0 |
200×200×20 300×300×40 |
200×200×20 300×300×40 |
200×200×30 300×300×60 |
200×200×30 300×300×60 |
Примечание. В числителе приведены размеры металлических плит, в знаменателе - плит из армированного шлакокаменного литья.
11.33. Размеры износостойких плит защиты на упругом основании следует принимать в зависимости от фракции сыпучего и скорости его в момент, предшествующий соударению с защитой, по табл. 15.
11.34. Упругое основание из резиновой пластины мягкой, средней или повышенной твердости (ГОСТ 7338-77) должно быть толщиной соответственно не менее 23,50 и 75 мм. При этом требуемую толщину упругого основания из резины можно набирать из отдельных слоев.
11.35. При применении износостойкого экрана из металла следует, как правило, использовать износостойкие марганцовистые стали 14Г2, 09Г2, 35ГЛ и др.
11.36. Конструктивная схема «самозащиты» (рис. 94) подбирается по табл. 16 в зависимости от фракции сыпучего материала и полной механической энергии отдельных кусков, которой они обладают в момент, предшествующий соударению со стенкой бункера.
11.37. Полная механическая энергия (Э) куска сыпучего определяется по формуле
(166)
где Эп - потенциальная энергия куска сыпучего, кгс-м;
Эк - кинетическая энергия куска сыпучего, переданная ему загрузочным транспортным средством (конвейером, лотком и т.д.), кгс ∙ м;
m - масса куска сыпучего, размеры которого соответствуют 0,7 - 0,8 максимального размера фракции, кгс ∙ с2/м;
g - ускорение силы тяжести, м/с2;
Рис. 94. Конструкции «самозащиты»
а - «карман»; б - «короб»; в - «трап»; г - «ступеньки»; 1 - стенка бункера; 2 - амортизационный слой из сыпучего; 3 - ограничитель сдвига сыпучего; 4 - квадратная или круглая сталь, уголок; 5 - резиновый брус; 6 - крепежная деталь
h - высота свободного падения куска сыпучего до соударения с защитой, м;
υ0 - начальная скорость куска сыпучего в момент схода его с загрузочного устройства, м/с.
11.38. Размеры конструктивных элементов «самозащиты» и их шаг должны обеспечивать образование на поверхности стенки бункера (в верхней части каждой ячейки «самозащиты») слоя сыпучего толщиной не менее 50 мм для фракции до 100-0; 80 мм - для фракции 300-0 и 200 мм - для фракций более 300-0.
11.39. Защиту из резины рекомендуется применять при скорости частиц сыпучего в момент, предшествующий соударению с защитой, не превышающей критического значения (40 - 50 м/с).
Рис. 95. Защита из транспортерной ленты
1 - стенка бункера; 2 - закладная деталь; 3 - крепежная планка; 4 - транспортерная лента; 5 - металлическая прокладка; 6 - гайка; 7 - шпилька; 8 - прокладка из резины
|
Рис. 96. Защита из резины листовой технической 1 - защищаемая поверхность; 2 - закладная деталь; 3 - металлическая рама из полосовой стали; 4 - крюк; 5 - листы резины; 6 - металлическая прокладка; 7 - гайка; 8 - шпилька |
Рис. 97. Защита из резины, применяющейся для футеровки рудоразмольных мельниц 1 - стенка бункера; 2 - резина для мельниц; 3 - крепежная деталь; 4 - гайка |
При скорости соударения сыпучего с защитой до 20 м/с следует использовать низкомодульную эластичную резину, а при скоростях более 20 м/с - с модулем упругости более 100 кгс/см2.
11.40. Примерную скорость υ частиц сыпучего в момент, предшествующий соударению с защитой, можно определить по формуле
(167)
где
- вертикальная составляющая
начальной скорости падения сыпучего, определяемая скоростью схода сыпучего с
загрузочного устройства, м/с;
g - ускорение силы тяжести, м/с2;
h - высота свободного падения сыпучего до соударения с защитой, м.
11.41. Оптимальный угол атаки (угол наклона вектора скорости сыпучего к плоскости конструкции защиты) при износе резины потоком абразивных частиц близок к 90°, поэтому рекомендуется применять конструкцию защиты из резины, рабочая поверхность которой была бы расположена под углом 90° к углу атаки сыпучего. В этом случае возможно применение резиновых плит ступенчатого профиля.
11.42. Конструкции защиты из резины следует подбирать в соответствии с табл. 16 (рис. 95 - 100).
11.43. Требуемая толщина резиновой защиты δр рассчитывается по формуле
δр = 1,5 + δ1, (168)
где δ1 - толщина резиновой защиты, обеспечивающая минимальную величину износа, см. Величину δ1 следует определять по формуле или по номограмме, приведенной в прил. 8.
(169)
где Р - вес куска сыпучего, кг;
R - радиус выступа куска сыпучего, см (R = 1 см - для сыпучего фракции 100-0, R = 1,8 см - для сыпучего фракции 300-0);
Е - модуль упругости резины при сжатии, кгс/см2. Для мягкой резины, резины средней и повышенной твердости (классификация по ГОСТ 7338-77) значение Е следует принимать соответственно равным 40; 90 и 130 кгс/см2;
υ - скорость сыпучего в момент, предшествующий соударению с защитой, м/с.
Требуемая толщина резиновой защиты может набираться из отдельных пластин резины. При этом толщина верхнего слоя резины, на который непосредственно падает сыпучее, должна быть не менее 20 - 30 мм.
Срок службы защиты из резины в I зоне при угле атаки сыпучего 90° в 3 - 5 раз больше срока службы защиты из металла (табл. 19). При угле атаки менее 90° срок службы защиты уменьшается на 20 - 40 %.
11.44. В конструкциях защиты из резины целесообразно применение сборных резиновых элементов футеровки рудоразмольных мельниц (см. рис. 97), выпускаемых Курским заводом резино-технических изделий из резины 1801-6, 2-529, 4-54 по ТУ 38 105120-76 «Детали резиновые для футеровки рудоразмольных шаровых мельниц».
Рис. 98. Защита из резиновых брусьев
1 - стенка бункера; 2 - резиновый брус, приклеенный к стене; 3 - металлическая полоса
|
Рис. 99. Защита из транспортерной ленты, крепящейся на «выносе» 1 - стенка бункера; 2 - закладная деталь; 3 - косынка узла крепления; 4 - уголок; 5 - болт; 6 - металлическая шайба; 7 - гайка; 8 - транспортерная лента; 9 - косынка; 10 - уголок |
Рис. 100. Защита из резиновых листов-панелей 1 - стенка бункера; 2 - металлическое основание панели; 3 - прослойка клея; 4 - резина листовая техническая |
11.45. Закрепление листов резины в верхней их части на вертикальных стенках бункеров (с зазором по отношению к ним), как показано на рис. 95, 96 и 99, исключает прилипание сыпучего к резине. Защита становится «самоочищающейся».
11.46. В конструкциях защиты из резины наиболее уязвимым элементом являются ее металлические крепежные детали. Для повышения их срока службы рекомендуется применять конструкции в виде «чешуи», когда вышерасположенные листы перекрывают нижние (см. рис. 95, 96).
11.47. Участки вертикальных стенок бункеров ящичного типа, подвергающиеся ударам скатывающихся кусков сыпучего, а также другие участки I зоны износа рекомендуется защищать сборными панелями, состоящими из вертикальных металлических полос, к которым листы резины в виде «чешуи» крепятся болтами, а полосы в верхней части навешиваются на крюки (см. рис. 96), заранее прикрепленные к стенке бункера.
11.48. Короба и желоба, предназначенные для перегрузки сыпучих материалов по вертикали, на стенки которых передается хаотичный удар частичек, рекомендуется изготовлять из резины (прил. 7, рис. 11, б, в).
11.49. Из неметаллических материалов для защиты несущих конструкций в I зоне износа могут применяться каменное и шлакокаменное литье, бетон, металлоцемент, кирпич, дерево и др. Преимущество следует отдавать штучным изделиям, плитам, панелям и др., обеспечивающим сборность конструкций. Монолитные конструкции защиты из бетона и сталебетона допускается применять только для сыпучих материалов с коэффициентом крепости по шкале М.М. Протодьяконова менее 3.
11.50. Выбор конструкции защиты (рис. 101 - 110) производится по табл. 16 в зависимости от фракции и полной механической энергии Э куска сыпучего (п. 11.37). Толщина защиты определяется по табл. 17. Номенклатура плит из ситалла и каменного литья и примеры конструкций из них приведены в прил. 12 и 13.
11.51. При химически неагрессивной среде защита из отдельных плит проектируется без швов (плиты укладываются впритык), а при химически агрессивной - с зазорами шириной 5 - 10 мм, заполненными стойкими к данной среде растворами (прил. 9).
11.52. При проектировании защиты из сборных плит следует исходить из возможных допусков на размеры в плане +2 ÷ 4 мм.
11.53. Камнелитые плиты с закладными деталями крепятся сваркой непосредственно к стальной конструкции бункера или к закладным деталям железобетонных бункеров.
Конструкции плит с закладными или крепежными деталями должны согласовываться с заводами-изготовителями.
11.54. Чтобы обеспечить требуемую долговечность плит защиты, укладываемых на растворе, прочность сцепления их с основанием при нормальном отрыве должна соответствовать величинам, указанным в табл. 18.
11.55. Для обеспечения прочности сцепления плит защиты с основанием до 7 кгс/см2 следует применять цементно-песчаные и полимерцементно-песчаные растворы; более 7 кгс/см2 - песчаные растворы на основе эпоксидной смолы и цементно-песчаные растворы с предварительным покрытием поверхности плиток и основания тонким слоем клея К-153 или модифицированного фенолформальдегидного клея ПЭФ.
Таблица 17
|
Количество сыпучего, проходящего через бункер, млн. т/год |
Полная механическая энергия куска сыпучего Э*, кгс ∙ м |
Толщина защиты** I зоны износа бункеров, мм, для типов защиты, указанных на рисунках |
|||||||||||
|
101, а |
101, б |
101, в, д |
101, г |
104, а |
104, б |
106, а |
106, б |
106, в |
|||||
|
300-0 |
До 0,25 |
До 1*** |
- |
80 |
- |
- |
- |
- |
100 |
- |
- |
60 |
- |
|
Св. 1 до 20 |
- |
- |
- |
- |
- |
- |
- |
100×100 |
80 |
- |
- |
||
|
Св. 0,25 до 0,5 |
- |
- |
- |
- |
- |
- |
- |
120×120 |
100 |
- |
- |
||
|
До 0,25 |
Св. 20 до 100 |
- |
- |
- |
- |
- |
- |
- |
160×160 |
120 |
- |
- |
|
|
Св. 0,25 до 0,5 |
- |
- |
- |
- |
- |
- |
- |
180×180 |
150 |
- |
- |
||
|
100-0 |
До 0,25 |
До 2 |
60 |
120 |
- |
120 |
- |
- |
- |
- |
- |
50 |
- |
|
Св. 2 до 4 |
- |
- |
- |
- |
- |
- |
- |
- |
- |
60 |
- |
||
|
Св. 4 до 7 |
- |
- |
- |
- |
- |
- |
- |
80×80 |
70 |
80 |
- |
||
|
Св. 0,25 до 0,5 |
До 2 |
80 |
120 |
- |
120 |
- |
- |
- |
- |
- |
80 |
- |
|
|
Св. 2 до 4 |
- |
- |
- |
- |
- |
- |
- |
- |
- |
100 |
- |
||
|
Св. 4 до 7 |
- |
- |
- |
- |
- |
- |
- |
100×100 |
80 |
- |
- |
||
|
25-0 |
До 0,25 |
До 0,3 |
50 |
40 |
20 |
20 |
40 |
30 |
100 |
- |
- |
40 |
120 |
|
Св. 0,25 до 0,5 |
60 |
50 |
- |
- |
50 |
40 |
140 |
- |
- |
60 |
- |
||
|
Св. 0,5 до 1 |
- |
- |
- |
- |
60 |
50 |
- |
- |
- |
80 |
- |
||
|
Св. 1 |
- |
- |
- |
- |
80 |
60 |
- |
- |
- |
100 |
- |
||
|
До 0,25 |
Св. 0,3 до 0,6 |
- |
50 |
- |
- |
60 |
50 |
- |
50×50 |
- |
50 |
- |
|
|
Св. 0,25 до 0,5 |
- |
60 |
- |
- |
80 |
60 |
- |
60×60 |
- |
60 |
- |
||
|
Св. 0,5 до 1 |
- |
80 |
- |
- |
100 |
80 |
- |
80×80 |
- |
80 |
- |
||
|
Св. 1 |
- |
100 |
- |
- |
- |
100 |
- |
100×100 |
- |
100 |
- |
||
|
5-0 0,05-0 |
До 0,5 |
- |
- |
- |
15 |
20 |
- |
- |
- |
- |
- |
- |
50 |
____________________________
* См. п. 11.37.
** В таблице приведена толщина защиты для случая хранения весьма абразивных и абразивных сыпучих при полном опорожнении бункера не чаще одного раза в 2 - 3 суток. В бункерах под малоабразивные сыпучие толщину защиты принимать на 20 % меньше табличных данных.
*** При ударах скатывающихся кусков сыпучего.
|
Рис. 101. Защита из плит 1 - стенка бункера; 2 - подстилающий слой; 3 - плита защиты |
Рис. 102. Защита из камнелитых плит 1 - стенка бункера; 2 - плита защиты; 3 - металлическая крепежная деталь |
||||||||||||||||||||||||||||||||||||||||||||||||||||||||||||||||
|
|
||||||||||||||||||||||||||||||||||||||||||||||||||||||||||||||||
11.56. Подвижность растворов для укладки плит защиты должна составлять 8 - 10 см по погружению конуса.
Примерные составы растворов приведены в прил. 9.
11.57. При креплении плит на растворе толщина подстилающего слоя и ширина швов, заполняемых раствором, должны быть не более 10 мм. На поверхностях, имеющих угол наклона более 55°, следует предусматривать в подстилающем растворном слое сетку из проволоки диаметром 1 мм с ячейкой 20×20 мм.
|
Рис. 103. Защита из камнелитых плит 1 - стенка бункера; 2 - камнелитая плита; 3 - закладная деталь; 4 - анкерный стержень |
Рис. 104. Защита из камнелитых плит 1 - стенка бункера; 2 - плита защиты; 3 - закладная деталь |
11.58. Для уменьшения износа материала швов между плитами защиты, уменьшения сопротивления движению сыпучего при опорожнении бункера необходимо каждый последующий ряд плит сдвигать по отношению к предыдущему на половину ширины плиты, укладывать их длинной стороной по направлению движения сыпучего, швы между плитами заглаживать заподлицо с верхней плоскостью плит.
11.59. Для предохранения от скалывания кромок первого ряда неметаллических плит и удобства монтажа плит защиты на растворе разгрузочное отверстие необходимо окантовывать рамкой из уголка.
11.60. При защите вертикальных стен плитами, крепящимися на растворе, через каждые 2 м по высоте стены необходимо устанавливать опорные уголки или полосы, закрепляя их сваркой к стенке бункера.
11.61. Применение защиты из штучных материалов, которые крепятся раствором или приваркой закладных деталей, не допускается в зоне действия вибраторов, укрепленных на стенках бункеров и применяющихся для улучшения истечения плохосыпучих материалов.
|
Рис. 105. Защита из камнелитых плит в случае необходимости устройства гидроизоляции или антикоррозионного покрытия стенки бункера 1 - стенка бункера; 2 - антикоррозионное покрытие; 3 - камнелитая плита; 4 - крепежная деталь; 5 - раствор или мастика |
Рис. 106. Защита из дерева а - из брусков; б - из деревянной шашки; в - из досок; 1 - стенка бункера; 2 - металлический пояс; 3 - бруски; 4 - болт; 5 - стальная шпилька для сборки панели; 6 - мастика; 7 - торцовые шашки; 8 - деревянный пояс; 9 - доски; 10 - гвозди |
|
Рис. 107. Защита из бетона за счет увеличения толщины защитного слоя 1 - железобетонная стенка бункера; 2 - защитный слой увеличенной толщины; 3 - арматура |
Рис. 108. Защита из профилированных листов полиэтилена 1 - стенка бункера; 2 - профилированный полиэтилен, устанавливаемый во время бетонирования элементов конструкций; 3 - накладка из гладкого полиэтилена; 4 - гладкий полиэтилен |
Рис. 109. Схема раскладки листов-панелей из полиэтилена на стенке конического бункера
а - раскрой листа; б - общий вид листов-панелей; в - схема раскладки
Рис. 110. Защита конического бункера листовым полиэтиленом
1 - металлическая стенка бункера: 2, 10 - крепежные металлические планки; 3 - металлическая полоса; 4 - полоса из полиэтилена; 5 - шпилька; 6 - гайка; 7 - листовой полиэтилен; 8 - полиэтиленовая шайба; 9 - металлическая шайба; 11 - полиэтиленовая пластинка; 12 - металлическая прижимная пластинка
Таблица 18
|
Зона износа |
Прочность сцепления плит защиты с основанием при нормальном отрыве, кгс/см2 |
|
|
Св. 100-0 |
I |
10 |
|
II |
5 |
|
|
До 100-0 |
I |
7 |
|
II |
3 |
11.62. Для защиты бункеров под малоабразивные сыпучие материалы с коэффициентом крепости по шкале М.М. Протодьяконова, не превышающим 3, могут использоваться каменное литье, бетон, металлоцемент, кирпич и др., при этом требуемую толщину защиты Δ1 следует определять по формуле
где Q - количество сыпучего, проходящего через бункер за расчетный срок его службы, т; ρ = 45 ∙ 10-3 м-1м-3 - эмпирический коэффициент; Δhy - удельная глубина износа материала от ударных воздействий, мм/т; Δhu - удельная глубина износа материала от истирающих воздействий, мм/т; Нпр - приведенная высота падения сыпучего в проектируемом бункере, м:
(171)
h - высота свободного падения сыпучего до соударения его с защитой, м;
- вертикальная составляющая
начальной скорости падения сыпучего при сходе его с загрузочного устройства,
м/с;
g - ускорение силы тяжести, м/с2;
V - часть объема в проектируемом бункере, после заполнения которого прекращается ударное воздействие, м3, определяется исходя из геометрических размеров бункера, угла естественного откоса сыпучего и координат точки соударения падающего сыпучего с поверхностью стенки бункера;
K - коэффициент, учитывающий влияние на величину износа количества одновременно работающих загрузочных отверстий, приходящихся на одну выпускную воронку, и принимаемый равным указанному отношению при падении сыпучего на наклонные стенки и количеству одновременно работающих загрузочных отверстий при падении сыпучего на вертикальные стенки;
N - коэффициент крепости сыпучего по шкале М.М. Протодьяконова;
i - коэффициент, учитывающий влияние вида истечения сыпучего на величину износа; принимается равным 0,2 при нормальном виде истечения сыпучего и 1 - при гидравлическом виде истечения (см. разд. 2).
Величины Δhу и Δhu для различных материалов принимаются в зависимости от крупности сыпучего по прил. 10.
В случае если проектируется бункер для сыпучего, крупность которого не указана в прил. 10, необходимо принимать значения Δhу и Δhu, соответствующие большей крупности сыпучего.
Если бункер оборудован
спуском, то в качестве величин h и
принимаются, соответственно, расстояние от
низа спуска до наклонной стенки днища и вертикальная составляющая начальной
скорости при сходе сыпучего со спуска.
11.63. Для монолитной защиты могут применяться следующие материалы: металлоцемент М400, обычный тяжелый бетон марок М300 и М400 и др.
11.64. Металлическая защита бункеров может выполняться из сталей марок 14Г2, 09Г2 по ГОСТ 19281-73; 35ГЛ, 20ГЛ, при весьма абразивных и абразивных сыпучих и из стали ВСт5 по ГОСТ 380-71 - при малоабразивных. Толщину защиты следует принимать в соответствии с табл. 19.
При толщине защиты до 60 мм следует применять стальные прокатные листы, а свыше 60 мм - стальные литые плиты.
Рекомендуемые марки сталей могут быть заменены для весьма абразивных и абразивных сыпучих сталями 16ГС, 14ХГС ГОСТ 19282-73 или 25Г, 20Г, 15Г ГОСТ 4543-71. При этом срок службы защиты снижается соответственно на 30 и 60 %.
При замене стали ВСт5 сталью ВСт3кп срок службы защиты снижается на 30 % .
11.65. Стальные листы защиты толщиной до 40 мм крепятся сваркой, более 40 мм или литые плиты - сквозными болтами с потайными головками. Последние устанавливаются через 1500 мм вдоль длинных сторон плиты. Минимальное количество болтов на каждую плиту - 4.
В железобетонных стенках бункеров отверстия для болтов образуют путем установки обрезков газовых труб при бетонировании конструкций или сверлением по месту.
11.66. Приварка металлических листов защиты к несущим конструкциям металлического бункера или к закладным деталям железобетонного бункера производится прерывистым швом длиной 100 - 150 мм через каждые 200 - 300 мм. Высота сварных швов для листов толщиной 20 - 40 мм должна быть не менее 8 мм. Размер зазоров между листами должен быть не менее толщины листов.
11.67. Для крепления защиты из стали ВСт3кп следует применять электроды Э42, а для стали Ст5 и для всех низколегированных конструкционных сталей - электроды Э42А.
11.68. Диаметр болтов для крепления защиты должен быть не менее 36 мм, а диаметр отверстия принимается больше диаметра болта на 10 мм в прокатных листах и на 5 мм - в литых плитах.
11.69. Гнезда для потайных головок в прокатных листах должны быть круглыми, а в литых плитах - круглыми или квадратными. Диаметр круглого или сторона квадратного гнезда принимаются равными 3,5 диаметра болта.
Толщина оставшейся под гнездом части листа должна быть не менее 6 мм при толщине листов или плит до 60 мм и 8 мм - при толщине плит более 60 мм.
Таблица 19
|
Толщина защиты, мм, из стали для I зоны износа при сыпучем материале* |
|||||||||
|
весьма абразивном |
абразивном |
малоабразивном |
|||||||
|
при максимальной крупности сыпучего**, мм |
|||||||||
|
300 |
900 |
1500 |
300 |
900 |
1500 |
300 |
900 |
1500 |
|
|
До 0,5 |
35 |
45 |
60 |
25 |
30 |
40 |
16 |
25 |
25 |
|
Св. 0,5 до 1 |
55 |
70 |
90 |
40 |
50 |
60 |
25 |
40 |
40 |
|
Св. 1 |
85 |
120 |
160 |
70 |
90 |
120 |
35 |
60 |
60 |
_____________________
* Ориентировочный срок службы защиты в бункерах для весьма абразивных сыпучих материалов 1 - 3 года, для абразивных и малоабразивных срок службы увеличивается соответственно на 30 - 50 и 100 %.
** В бункерах для весьма абразивных и абразивных сыпучих материалов фракций 1500-0 и 900-0 под металлическим листом защиты необходимо предусматривать упругое основание из деревянных брусьев толщиной 180 мм.
11.70. Стальные листы или плиты устанавливаются длинной стороной по направлению движения материала в бункере. Величина зазоров между плитами не должна превышать 30 мм.
11.71. Тип конструкции защиты для участков поверхностей стенок бункеров, относящихся ко II зоне износа, устанавливается по табл. 20 в зависимости от фракции и влажности сыпучего.
11.72. Конструкция «самозащиты» подбирается по табл. 21. Шаг конструктивных элементов защиты, их высота должны обеспечивать толщину слоя сыпучего в верхней части ячейки защиты 30 - 50 мм и необходимую жесткость при действии сдвигающих усилий.
11.73. Конструкция защиты из неметаллических материалов устанавливается по табл. 21, а ее толщина подбирается по табл. 22.
11.74. При креплении камнелитых плит защиты сваркой количество закладных деталей определяется в зависимости от величины сдвигающего усилия F на плиту вдоль ската:
а) при F до 700 кг - 2 закладные детали
б) » F = 800 - 1100 кг - 3 » » ;
в) » F = 1100 - 1500 кг - 4 » »
Сдвигающее усилие F на плиту рассчитывается по формуле
F = pкS, (172)
где S - площадь плиты, м2.
Расчетное касательное давление рк на наклонную стенку бункера определяется по формуле (25).
11.75. Рекомендации по раскладке и креплению плит на растворе и на сварке приведены в пп. 11.51 - 11.61.
11.76. При необходимости выполнения антикоррозионной защиты металлических стенок бункеров следует применять конструкции защиты, в которых крепежные детали, изготовленные по форме, показанной пунктиром на рис. 105, заранее привариваются к стенке бункера. После устройства антикоррозионной защиты на детали одеваются плиты, а затем концы деталей отгибаются.
Таблица 20
|
Влажность сыпучего, % |
Тип защиты для II зоны износа |
||||
|
«самозащита» |
неметаллические материалы (каменные, бетонные, дерево) |
пластмасса и резина |
сталь |
||
|
1500-0 |
До 3 |
- |
- |
- |
+ |
|
900-0 |
Св. 3 |
- |
- |
- |
+ |
|
300-0 |
До 3 |
+ |
+ |
+ |
+ |
|
Св. 3 |
- |
+ |
+ |
+ |
|
|
100-0 |
До 3 |
+ |
+ |
+ |
- |
|
25-0 |
|||||
|
5-0 |
Св. 3 |
- |
+ |
+ |
- |
|
0,05-0 |
|||||
11.77. Для сокращения количества типоразмеров плит защиты внутренние углы наклонных железобетонных стенок бункеров рекомендуется заполнять бетоном или раствором. Ширина плоскости заделки на каждой грани не должна превышать 500 мм.
11.78. Для защиты бункеров под малоабразивные сыпучие материалы с коэффициентом крепости по шкале М.М. Протодьяконова, не превышающим 3, могут быть применены плиты из обычного бетона, металлоцемента, кирпича, а также керамические плитки. Требуемую толщину плит Δ2 рекомендуется определять по формуле
Δ2 = 193 ∙ 10-3QΔhuiN2,8, (173)
где Q, Δhu, i, N - см. п. 11.62.
11.79. Защита может осуществляться также из монолитного бетона (в железобетонных бункерах) в виде увеличенного на 40 - 70 мм защитного слоя или слоя из бетона, металлоцемента, цементного раствора, полимербетона или кислотоупорного бетона, нанесенного на железобетонные конструкции бункера. Толщина защиты из указанных материалов для бункеров под малоабразивные сыпучие материалы рассчитывается по формуле (173).
11.80. Конструкции защиты из пластмасс и резины подбираются по табл. 21 и 22. Физико-механические свойства указанных материалов приведены в прил. 11.
Таблица 21
|
Влажность сыпучего, % |
Конструктивные схемы защиты для II зоны износа (см. рисунки) |
||||||
|
«самозащита» |
неметаллические материалы |
пластмасса и резина |
|||||
|
вертикальные |
наклонные |
вертикальные |
наклонные |
вертикальные |
наклонные |
||
|
300-0 |
До 3 |
94, в |
- |
||||
|
Св. 3 |
- |
104, а |
|||||
|
100-0 |
До 3 |
94, в |
- |
||||
|
Св. 3 |
- |
||||||
|
25-0 |
До 3 |
- |
94, в |
||||
|
Св. 3 |
- |
||||||
|
5-0 |
До 3 |
||||||
|
0,05-0 |
Св. 3 |
- |
|||||
Примечание. Конструктивная схема защиты, показанная на рис. 103, имеет авт. свид. № 310986.
Таблица 22
|
Количество сыпучего, проходящего через бункер, млн. т/год |
Толщина, мм, защиты* II зоны износа бункеров для типов защиты, указанных на рисунках |
||||||||||||||||||
|
97** |
101, в |
101, г |
101, д |
104, а |
104, б |
106, а |
106, б |
106, в |
108*** |
||||||||||
|
300-0 |
До 0,25 |
+ |
60 |
- |
50 |
- |
- |
- |
60 |
- |
50 |
- |
- |
80 |
70 |
80 |
- |
- |
- |
|
Св. 0.25 до 0,5 |
+ |
80 |
- |
60 |
- |
- |
- |
80 |
- |
60 |
- |
- |
120 |
100 |
120 |
- |
- |
- |
|
|
Св. 0,5 до 1 |
+ |
120 |
- |
- |
- |
- |
- |
- |
- |
- |
- |
- |
- |
- |
- |
- |
- |
- |
|
|
Св. 1 |
+ |
160 |
- |
- |
- |
- |
- |
- |
- |
- |
- |
- |
- |
- |
- |
- |
- |
- |
|
|
100-0 |
До 0,25 |
- |
60 |
12 |
30 |
- |
30 |
10 |
30 |
30 |
- |
100 |
30 |
80 |
70 |
80 |
- |
- |
- |
|
Св. 0,25 до 0,5 |
- |
80 |
15 |
40 |
- |
40 |
15 |
40 |
40 |
- |
120 |
40 |
120 |
100 |
120 |
- |
- |
- |
|
|
Св. 0,5 до 1 |
- |
- |
18 |
80 |
- |
80 |
20 |
80 |
80 |
- |
- |
80 |
- |
160 |
- |
- |
- |
- |
|
|
Св. 1 |
- |
- |
30 |
120 |
- |
120 |
- |
120 |
120 |
- |
- |
120 |
- |
- |
- |
- |
- |
- |
|
|
25-0 |
До 0,25 |
- |
60 |
12 |
- |
10 |
30 |
10 |
30 |
30 |
- |
100 |
30 |
60 |
- |
60 |
60 |
- |
6 |
|
Св. 0,25 до 0,5 |
- |
80 |
15 |
- |
15 |
40 |
15 |
40 |
40 |
- |
120 |
40 |
100 |
- |
100 |
90 |
- |
8 |
|
|
Св. 0,5 до 1 |
- |
- |
18 |
- |
20 |
50 |
20 |
50 |
50 |
- |
- |
50 |
- |
- |
- |
- |
- |
10 |
|
|
Св. 1 |
- |
- |
30 |
- |
25 |
60 |
- |
60 |
60 |
- |
- |
60 |
- |
- |
- |
- |
- |
12 |
|
|
0,05-0 |
До 0,25 |
- |
- |
10 |
- |
15 |
20 |
15 |
20 |
20 |
- |
- |
- |
- |
- |
30 |
60 |
+ |
6 |
|
Св. 0,25 до 0,5 |
- |
- |
10 |
- |
20 |
25 |
20 |
25 |
25 |
- |
- |
- |
- |
- |
40 |
90 |
+ |
8 |
|
|
Св. 0,5 до 1 |
- |
- |
10 |
- |
25 |
30 |
- |
30 |
30 |
- |
- |
- |
- |
- |
50 |
- |
+ |
10 |
|
|
Св. 1 |
- |
- |
15 |
- |
- |
35 |
- |
35 |
35 |
- |
- |
- |
- |
- |
60 |
- |
+ |
12 |
|
______________
* В таблице приведена толщина защиты для случая хранения весьма абразивных материалов. Толщину защиты для абразивных и малоабразивных сыпучих принимать соответственно на 20 и 40 % меньше табличных данных. Для зон IIб и IIв толщину защиты следует уменьшать (см. п. 11.28) соответственно на 50 и 75 %; если при этом расчетная толщина плиток из каменного литья и ситалла окажется меньше толщины выпускаемых промышленностью плиток, рекомендуется применять защиту из менее износостойкого материала.
** Согласно рабочим чертежам, п. 11.44.
*** Толщина листов по ТУ 7-19-4-77 «Рукава и листы с анкерными ребрами полиэтиленовые».
11.81. При выборе материала защиты для пылеобразных сыпучих следует отдавать предпочтение пластмассам с наименьшей адгезией и коэффициентом трения (прил. 2, табл. 3 и 4).
11.82. Защита из листовых пластмасс (см. рис. 109, 110) состоит из отдельных листов, к которым заранее прикреплены со стороны верхней и боковой граней металлические крепежные планки. Во время монтажа листов указанные планки сваркой закрепляются к стенке бункера. Количество крепежных планок, расположенных вдоль верхней грани листа, определяется расчетом. Предел прочности на срез некоторых листовых пластмасс приведен в прил. 11.
Монтаж панелей осуществляется слева направо и снизу вверх. Листы в ряду укладываются впритык, а по вертикали - внахлестку.
11.83. Положение осей шпилек на листах защиты по отношению к граням листа показано на рис. 109. Шаг r крепежных деталей вдоль правой грани первого ряда листов следует принимать 250 - 300 мм, а последующих рядов - 350 - 400 мм.
11.84. Марка стали крепежных деталей и вид защиты их от коррозии определяются степенью агрессивности среды по СНиП II-28-73*.
11.85. При отсутствии листовых пластмасс и резины требуемой толщины могут применяться листы меньшей толщины, укладываемые в несколько слоев. В этом случае должны быть предусмотрены конструктивные мероприятия, обеспечивающие надежность работы защиты (сварка, приклейка листов друг к другу и др.).
11.86. Количество рядов защиты бункеров
определяется как частное
где B - длина защищаемой зоны бункера, мм; Н - высота листа, мм; 30 мм -
минимальная величина напуска листа верхнего ряда над нижним.
11.87. Раскладка листов в ряду производится на развертке внутренней поверхности после нанесения на нее границ рядов и начальной линии раскладки (монтажа) листов. Последняя проводится в любом месте перпендикулярно грани рядов с теоретической вершины конуса.
Верхняя грань листа самого верхнего ряда защиты перекрывается козырьком (рис. 110).
11.88. Крепить защиту из листов резины «на выносе» (см. рис. 99) и в виде «штор» (рис. 95, 96) следует болтами. Количество болтов и расстояние от их оси до края резинового листа должно определяться расчетом исходя из восприятия листом сдвигающего усилия, передающегося сыпучим, и работы листа в месте закрепления на растяжение. Предел прочности резины при растяжении приведен в прил. 11. При проектировании защиты «на выносе» расстояние от плоскости закрепления резинового листа до стенки бункера должно приниматься 50 - 75 мм, а в защите в виде «штор» - 15 - 25 мм.
11.89. Стыки полимерных облицовок из термопластичных листов с анкерными ребрами (см. рис. 108) при необходимости могут свариваться в заводских или монтажных условиях методом экструзионной присадки ручным сварочным устройством РЭСУ-500.
Таблица 23
|
Марка стали для защиты |
||
|
от весьма абразивных и абразивных сыпучих |
от малоабразивных сыпучих |
|
|
II, IIа |
20Г2, 14ГЛ, 09Г2, 35ГЛ |
ВСт5 |
|
IIб |
ВСт5 |
- |
|
IIв |
Ст3 |
- |
11.90. Марку стали металлической защиты следует выбирать в зависимости от абразивности сыпучего материала и зоны износа по табл. 23, а толщину - по табл. 24.
Таблица 24
|
Количество сыпучего, проходящего через бункер, млн. т/год |
Толщина защиты, мм, из стали для II зоны износа при сыпучем материале |
|||||||||
|
весьма абразивном |
абразивном |
малоабразивном |
||||||||
|
при максимальной крупности сыпучего, мм |
||||||||||
|
300 |
900 |
1500 |
300 |
900 |
1500 |
300 |
900 |
1500 |
||
|
II, IIа |
До 0,5 |
25 |
30 |
40 |
18 |
25 |
25 |
10 |
16 |
16 |
|
До 1 |
40 |
50 |
60 |
25 |
40 |
40 |
16 |
24 |
24 |
|
|
Св. 1 |
65 |
90 |
110 |
50 |
80 |
80 |
25 |
40 |
40 |
|
|
IIб |
До 0,5 |
12 |
15 |
20 |
10 |
12 |
12 |
- |
- |
- |
|
До 1 |
20 |
25 |
30 |
12 |
20 |
20 |
- |
- |
- |
|
|
Св. 1 |
32 |
45 |
55 |
25 |
40 |
40 |
- |
- |
- |
|
|
IIв |
До 0,5 |
6 |
8 |
10 |
5 |
6 |
6 |
- |
- |
- |
|
До 1 |
10 |
12 |
15 |
6 |
10 |
10 |
- |
- |
- |
|
|
Св. 1 |
16 |
22 |
28 |
12 |
20 |
20 |
- |
- |
- |
|
11.91. При толщине металлической защиты до 10 мм листы могут укладываться внахлестку по скату бункера, а при толщине листов более 10 мм - с зазором.
11.92. Рекомендации по креплению стальных листов или плит приведены в пп. 11.65 - 11.70.
11.93. Защита на упругом основании (см. рис. 93) требует устройства перед ее монтажом металлического обрамления по контуру I зоны в виде полос или уголков, привариваемых к стенке бункера. После этого по шаблону прожигаются отверстия под болты в стенке бункера и просверливаются отверстия в резине 4. Последняя укладывается на стенку бункера, после чего в отверстия заводятся шпильки 8, к которым приварены стержни 3, и закрепляются гайками с наружной стороны стенки бункера.
Монтаж плит ведется снизу вверх. В вертикальные стыки плит по мере монтажа укладываются упругие прокладки 5.
После установки двух смежных рядов плит затягиваются крепежные гайки.
11.94. Конструкции защиты из резины выполняются из отдельных полотнищ транспортерной ленты или листовой технической резины длиной 2 - 3 м (см. рис. 95, 99) в виде панелей (см. рис. 96, 100) или отдельных элементов (см. рис. 97, 98).
Защита из полотнищ крепится при помощи крепежных металлических деталей - планок (см. рис. 95) или уголков (см. рис. 99), привариваемых к стенкам (закладным деталям) бункеров. Крепежные детали перед монтажом полотнищ крепятся к ним болтами.
Для обеспечения эффекта «самоочищения» защиты от налипания мелких фракций сыпучего под полотнищем устраиваются опоры из уголков с шагом 800 - 1000 и высотой 50 - 80 мм (см. рис. 99).
Панели защиты (см. рис. 96) состоят из металлического каркаса в виде рамки из полосового железа, к которой болтами крепятся отдельные листы резины. Во время монтажа панель навешивается на крюки, приваренные к стенке бункера.
Панель (см. рис. 100) собирается на клею. Ее составными элементами являются металлический лист толщиной 2 - 4 мм и лист из резины. Последний приклеивается к металлическому листу со сбивкой по высоте на 70 - 100 мм. Каждая панель закрепляется к стенке бункера в верхней части сваркой.
При монтаже снизу вверх сварные швы каждого листа перекрываются элементом, расположенным над ним.
Защита из резиновых брусков с внутренними пазами (см. рис. 97) крепится при помощи металлических крепежных деталей, заранее установленных в пазах, а защита из сплошных брусков (см. рис. 98) - при помощи металлических полос, закрепляемых сваркой в вертикальном положении в каждом горизонтальном стыке между двумя брусьями. Полосы, начиная со второго ряда, должны перед приваркой прижиматься к нижерасположенному резиновому брусу временным пригрузом.
Антикоррозионные покрытия наносятся на крепежные детали до монтажа защиты. Монтаж элементов защиты ведется снизу вверх. В каждом ряду элементы защиты укладываются впритык друг к другу.
11.95. Камнелитые плиты в конструкциях износостойкой защиты крепятся на растворе (см. рис. 101) или при помощи металлических крепежных или закладных деталей (см. рис. 102, 105 и 103, 104).
Крепление плит на растворе рекомендуется при защите железобетонных стенок бункеров. Перед устройством защиты следует производить контроль прочности сцепления плит с раствором и основанием при нормальном отрыве согласно РСН 269-74 «Временные указания по проектированию и устройству защиты внутренних поверхностей бункеров металлургических и угольных предприятий».
Защита из плит, крепящихся при помощи металлических трапециевидных деталей (рис. 102), требует разметки по шаблону мест крепления плит.
Плиты каждого ряда защиты укладываются нижней выемкой на крепежную деталь, удерживаются в проектном положении до установки и приварки верхних крепежных деталей.
В конструкции защиты, где применяются U-образные 8 мм крепежные детали (см. рис. 105), последние привариваются по шаблону. После устройства антикоррозионной защиты и установки плит детали разгибаются, прижимаются к поверхности отверстия в плите, а затем отверстия и зазоры между ними заполняются цементно-песчаным раствором М100.
Монтаж плит защиты ведется снизу вверх.
11.96. Плиты из каменного и шлакокаменного литья, предназначенные для установки в зонах истирания, не должны иметь на поверхности открытых раковин диаметром более 10 мм, глубиной более 5 мм, а в зоне ударного износа - видимых трещин и раковин диаметром более 5 мм.
11.97. В конструкциях защиты из дерева применены сборные панели из брусков (см. рис. 106, а) и панели из досок (см. рис. 106, в). Первые из них собираются при помощи металлических пластин, которые со стороны сыпучего утапливаются в бруски, а с тыльной стороны панели укладываются поверх брусков. При помощи металлических полос и шпилек бруски собираются в панели.
Панель (см. рис. 106, в) собирается из досок, которые гвоздями крепятся к деревянным поясам.
К стенке бункера панели крепятся болтами.
11.98. Защита из профилированных листов полиэтилена (см. рис. 108) собирается из отдельных листов, которые раскладываются и закрепляются на поверхности опалубки (при изготовлении сборных или монолитных железобетонных конструкций бункеров) ребрами к бетону. При необходимости обеспечения герметичности бункеров стыки между панелями перекрываются гладкими полосами из полиэтилена, после чего их грани свариваются с заанкеренными листами.
11.99. Защита из листовых пластмасс (см. рис. 109, 110) монтируется из отдельных листов рядами, начиная с нижнего. Листы защиты, стыкуясь впритык боковыми гранями и внахлестку с нижележащими листами, крепятся к стенке бункера электросваркой крепежной планки 10, предварительно закрепленной к каждому листу при помощи деталей 5, 6, 8, 9. Прижимные планки 12 при этом должны выступать за грань бокового листа.
Для обеспечения прижима к стенке бункера левой стороны каждого листа ослабляются гайки 6, расположенные вдоль правой боковой грани листа, прижимные пластинки 12 переводятся в горизонтальное положение (поверх соответствующей грани смежного листа), после чего гайки 6 снова затягиваются.
При закреплении планок 10 к стенке бункера длина сварного шва не должна превышать 20 мм, чтобы не допустить оплавления полиэтилена под крепежной планкой.
Пример 6. Определение границ 1 зоны ударного износа
Исходные данные (см. рис. 92):
Бункер в плане квадратный...................................................................... а2 = b2 = 6 м
Высота призматической части бункера.................................................. h2 = 4 м
Высота нижней части бункера................................................................. h1 = 3,7 м
Угол наклона стенки αb2 = 55°................................................................. tgαb2 = 1,48
Расстояние от частицы сыпучего в центре толщины слоя на загрузочном устройстве до верха бункера l = 1,5 м
Расстояние от стенки бункера до точки схода....................................... u = 3 м
Горизонтальная скорость
частицы в точке схода................................... ![]()
Вертикальная скорость частицы
в точке схода...................................... ![]()
Размер выпускного отверстия.................................................................. a1 = 0,8 м
Ширина слоя сыпучего на конвейере..................................................... n1 = 1,6 м
Бункер полностью выгружается по технологическому процессу.
Для определения ординат верхней ув и нижней ун границ зоны ударного износа необходимо найти ординату точки соударения частиц сыпучего, падающих с ленты конвейера, со стенкой бункера уА.
Последняя находится путем совместного решения уравнений стенок бункера и траектории полета частиц (п. 11.26).
Общий вид совместно решаемых уравнений и условия, определяющие соударение частицы со стенкой, приведены ниже:
вертикальной стенки (162) и траектории падения частицы (161):
y ≤ h2 + l; (175)
левой наклонной стенки (163) и траектории падения частицы (161):
0 < x ≤ 0,5(a2 - a1); (177)
плоскости выпускного отверстия (165) и траектории падения частицы (161):
(178)
0,5(a2 - а1) < x < 0,5(а2 + a1); (179)
правой наклонной стенки (164) и траектории падения частицы (161):
(180)
0,5(a2 + a1) < x ≤ u. (181)
Решая уравнение (174), находим у = 11 м, что не соответствует условию (175). Следовательно, частица на вертикальную стенку не падает. Определяем, есть ли соударение с левой наклонной стенкой.
Используя уравнение (176), определяем хА = 0,73 м. Ордината х удовлетворяет условию (177). Следовательно, точка соударения А находится на левой наклонной стенке бункера.
Подставляя значение хА в формулу (163), находим уА = 6,54 м.
Ординаты горизонтальных границ I зоны ударного износа, ее ширину n и длину L определяем по формулам (158), (159) и (160):
ув = 6,54 - 0,35 = 6,19 м;
ун = 6,54 + 0,65 = 7,19 м;
n = 1,6 + 0,4 = 2 м;
![]()
При полной выгрузке сыпучего из бункера участок от выпускного отверстия до точки А подвергается ударному износу, так как при пуске и остановке конвейера горизонтальная скорость падающих частиц сыпучего изменяется от 0 до 2 м/с. Поэтому нижняя часть наклонной стенки от зоны удара до выпускного отверстия относится к зоне Iб и защищается соответственно рекомендациям.
ПРИНЯТЫЕ ОСНОВНЫЕ БУКВЕННЫЕ ОБОЗНАЧЕНИЯ
Геометрические параметры бункеров
h1 - высота нижней части бункера (воронки);
h2 - высота верхней части бункера;
а1 и b1 - соответственно большая и меньшая стороны нижнего основания воронки;
а2 и b2 - соответственно большая и меньшая стороны верхнего основания воронки;
ca1, са2 и св1, св2 - соответственно большее и меньшее расстояния в плане от нижнего основания до краев верхнего основания воронки;
αа1, αа2 - углы наклона к горизонтали стенок воронки шириной поверху а2 (αа1 < αа2);
αв1, αв2 - угол наклона к горизонтали стенок воронки шириной поверху b2 (αв1 < αв2);
ha1, ha2 - высота стенок воронки шириной поверху a2;
hв1, hв2 - высота стенок воронки шириной поверху b2;
х0, y0 - координаты центра нижнего основания воронки при расположении координатных осей в центре верхнего основания воронки;
Характеристики сыпучего материала
γ - объемный вес сыпучего материала;
φ - угол внутреннего трения;
φ' - угол внешнего трения;
f - коэффициент трения сыпучего по материалу защиты.
Усилия от внешних нагрузок
- нормативное вертикальное давление в любой точке бункера
рв - то же, расчетное;
- нормативное горизонтальное давление на вертикальные стенки
бункера;
рг - то же, расчетное;
- нормативное нормальное давление на наклонные стенки
бункера;
pн - то же, расчетное;
- нормативное касательное давление на наклонные стенки
бункера;
рк - то же, расчетное.
МЕХАНИЧЕСКИЕ СВОЙСТВА СЫПУЧИХ МАТЕРИАЛОВ
Таблица 1
|
Объемный вес, тс/м3 |
Угол внутреннего трения, град |
Коэффициент внешнего трения |
|||||
|
каменное и шлакокаменное литье, ситалл |
резина |
дерево |
сталь |
бетон |
|||
|
1 |
2 |
3 |
4 |
5 |
6 |
7 |
8 |
|
Агломерат (отсев) |
1,6 - 2,5 |
45 |
0,38 - 0,45 |
0,43 |
0,54 |
0,45 |
- |
|
Антрацит* |
1 - 1,4 |
35 |
0,36 - 0,55 |
- |
0,5 - 0,6 |
0,4 - 0,8 |
0,45 - 0,68 |
|
Апатит порошкообразный* |
2 |
31 - 33 |
- |
0,63 |
0,63 |
0,6 |
0,55 |
|
Гипс |
1,6 |
30 - 39 |
- |
0,7 - 0,82 |
- |
0,61 - 0,78 |
0,45 - 0,55 |
|
Глина |
1,6 |
40 - 45 |
- |
- |
- |
- |
- |
|
Глинозем порошкообразный |
1 - 1,2 |
28 - 29 |
- |
0,46 - 0,48 |
0,45 - 0,53 |
0,42 - 0,54 |
0,5 |
|
Гравий |
2 |
26 - 45 |
- |
- |
- |
0,58 - 1 |
- |
|
Гранит |
- |
- |
- |
0,86 |
0,47 - 0,52 |
0,4 - 0,42 |
- |
|
Доломит |
1,6 - 2 |
- |
- |
- |
0,52 - 0,55 |
0,46 - 0,51 |
- |
|
Зола |
- |
40 - 50 |
- |
- |
1 |
0,6 - 0,85 |
0,84 - 1 |
|
Известняк |
1,6 - 2 |
29 - 51 |
0,33 - 0,65 |
0,87 - 0,77 |
0,39 - 0,89 |
0,3 - 1 |
- |
|
Известь гашеная |
0,7 |
- |
- |
- |
- |
0,35 |
0,55 |
|
Известь шламовая |
0,8 - 1,1 |
- |
- |
- |
- |
0,6 |
- |
|
Камень |
1,3 - 2 |
20 |
- |
- |
0,46 - 0,6 |
0,58 - 0,84 |
0,84 |
|
Карбид кальция |
- |
20 |
- |
- |
- |
0,3 - 0,55 |
0,5 |
|
Кварц |
1,8 |
- |
- |
- |
0,6 |
0,4 - 0,5 |
- |
|
Кварцит |
1,4 - 1,6 |
- |
- |
- |
0,56 |
0,37 - 0,55 |
- |
|
Клинкер |
- |
29 - 33 |
- |
- |
- |
- |
- |
|
Кокс |
0,5 - 0,6 |
28 - 51 |
0,38 - 0,42 |
0,5 - 0,7 |
0,6 - 1 |
0,47 - 0,53 |
0,84 - 1 |
|
Концентрат шихтового отделения аглофабрики |
- |
- |
0,7 - 0,95 |
0,82 |
0,99 |
0,89 |
- |
|
Криолит |
1,2 - 1,35 |
28 - 48 |
- |
0,6 - 0,65 |
0,59 - 0,68 |
0,55 - 0,95 |
- |
|
Нефелиновый концентрат |
1,5 |
31 - 40 |
- |
0,6 - 0,62 |
0,58 - 0,6 |
0,3 - 0,68 |
0,5 |
|
Опилки древесные |
0,25 |
31 - 56 |
- |
0,51 - 0,65 |
- |
0,39 - 0,83 |
- |
|
Песок |
1,6 |
30 - 40 |
- |
0,46 - 0,56 |
- |
0,32 - 0,8 |
0,58 - 0,84 |
|
Песчаник |
- |
- |
- |
- |
0,49 - 0,6 |
0,3 - 0,59 |
- |
|
Пыль угольная |
0,7 |
- |
- |
- |
- |
0,32 - 0,77 |
0,64 - 0,73 |
|
Руда |
1,8 - 3,5 |
30 - 41 |
- |
- |
- |
0,57 - 0,84 |
- |
|
Руда железная |
2 - 2,6 |
35 - 37 |
0,54 - 0,65 |
0,65 - 1 |
0,7 - 0,8 |
0,5 - 1 |
- |
|
Руда магнетитовая |
- |
- |
- |
- |
0,47 |
0,46 |
0,52 |
|
Селитра |
1,2 |
38 - 40 |
- |
- |
- |
- |
- |
|
Скарп |
- |
- |
- |
- |
0,54 - 0,6 |
0,35 - 0,49 |
- |
|
Сланец |
1,1 |
- |
- |
- |
- |
0,35 - 0,58 |
- |
|
Сода кальцинированная |
0,6 |
35 - 45 |
- |
0,44 - 0,68 |
0,48 |
0,3 - 0,7 |
0,5 |
|
Соль поваренная |
- |
30 - 50 |
- |
0,68 |
- |
0,49 |
- |
|
Сульфат аммония |
0,9 |
40 |
- |
- |
- |
- |
- |
|
Уголь каменный* |
1 - 1,5 |
27 - 45 |
0,4 - 0,6 |
0,55 - 0,7 |
0,7 - 1 |
0,3 - 0,8 |
0,5 - 0,9 |
|
Фтористый алюминий |
0,9 - 0,95 |
27 - 36 |
- |
0,53 - 0,61 |
0,52 - 0,55 |
0,58 - 0,6 |
- |
|
Цемент |
1,6 |
27 - 40 |
- |
0,64 |
0,3 - 0,4 |
0,3 - 0,65 |
0,58 |
|
Штыб угольный |
- |
34 - 44 |
- |
- |
0,4 - 0,74 |
- |
- |
|
Щебень |
2 |
40 - 45 |
- |
- |
0,3 - 0,6 |
0,47 - 0,63 |
- |
______________
* Коэффициент внешнего трения антрацита по керамической плитке 0,43 - 0,6 и кирпичу 0,48 - 0,7; апатита порошкообразного по керамической плитке 0,58; каменного угля по керамической плитке 0,4 - 0,65 и кирпичу 0,52 - 1.
Таблица 2
|
Наименование сыпучих материалов |
Коэффициент крепости по шкале Протодьяконова |
Степень абразивности |
||
|
малоабразивный |
абразивный |
весьма абразивный |
||
|
Агломерат (доменный, марганцевый) |
- |
+ |
||
|
Антрацит |
1,5 - 2,8 |
+ |
||
|
Апатит |
7 - 8,4 |
+ |
||
|
Боксит каменистый |
7,7 - 10,8 |
+ |
||
|
Гипс |
2,6 |
+ |
||
|
Гранит |
9,6 |
+ |
||
|
Гранит биотитовый |
10,1 - 12 |
+ |
||
|
Гранит лейкократовый |
22,6 |
+ |
||
|
Графит |
3,4 |
+ |
||
|
Джеспилит |
15 - 20,6 |
+ |
||
|
Диабаз |
12 - 13,6 |
+ |
||
|
Диорит-порфирит скарнированный |
16,7 |
+ |
||
|
Доломит |
8 - 9,5 |
+ |
||
|
Железняк бурый |
5,1 - 5,3 |
+ |
||
|
Железняк магнитный |
8 - 8,3 |
+ |
||
|
Известняк |
2,4 - 11,4 |
+ |
+ |
|
|
Известняк доломитизированный |
4 |
+ |
||
|
Известняк мраморизованный |
5,2 - 10,5 |
+ |
+ |
|
|
Известняк: |
||||
|
мягкий |
3 |
+ |
||
|
окварцованный |
15 - 17 |
+ |
||
|
молотый |
4 - 6 |
+ |
||
|
обожженный |
3,2 - 5 |
+ |
||
|
Известь |
- |
+ |
||
|
Кварц |
8,7 |
+ |
||
|
Кварцит |
10 - 18,3 |
+ |
+ |
|
|
Кварцевая мелочь |
- |
+ |
||
|
Кокс |
7,2 - 8,4 |
+ |
||
|
Колошниковая пыль |
- |
+ |
||
|
Концентрат рудный |
- |
+ |
||
|
Магнезитовый порошок |
- |
+ |
||
|
Мрамор |
6,8 - 6,9 |
+ |
||
|
Окалина |
- |
+ |
||
|
Песчаник: |
||||
|
донецкий |
6,2 - 11,4 |
+ |
+ |
|
|
кварцевый слабосцементированный |
10,4 |
+ |
||
|
карагандинский |
2,9 - 6,1 |
+ |
||
|
коркинский |
7,2 |
+ |
||
|
мелкозернистый зеленый |
11,8 |
+ |
||
|
Песчаник: |
||||
|
на глинистом цементе |
1,1 - 1,8 |
+ |
||
|
на карбонатном цементе |
3,3 - 9,1 |
+ |
+ |
|
|
на известковом цементе |
5 |
+ |
||
|
окремненный |
6,8 - 8,1 |
+ |
||
|
плотный очень крепкий |
14,4 |
+ |
||
|
черемховский |
1,8 - 6 |
+ |
||
|
Плавиковый шпат |
- |
+ |
||
|
Порода: |
||||
|
кварцевая |
11,3 - 17,1 |
+ |
+ |
|
|
кремнистая с пиритом |
12,4 |
+ |
||
|
кремнисгоуглистая |
7,9 |
+ |
||
|
Руда: |
||||
|
апатитовая |
6,6 - 10 |
+ |
||
|
окисленная |
2,8 - 4 |
+ |
||
|
глинистая мягкая |
3 - 6,5 |
+ |
||
|
железная красковая |
5,2 - 6,9 |
+ |
||
|
железная красково-мартитовая |
8,6 - 12 |
+ |
||
|
железная магнетитовая |
9 - 13,1 |
+ |
||
|
железная мартитовая |
7,8 - 12,5 |
+ |
||
|
колчеданная |
9,3 - 13,6 |
+ |
||
|
кварцевая |
8,7 - 12,8 |
+ |
||
|
марганцевая |
6,1 - 6,8 |
+ |
||
|
магнетитовая плотная |
15,5 |
+ |
||
|
мартитовая |
3,5 - 4,2 |
+ |
||
|
песчаниковая крепкая |
14,1 - 15,7 |
+ |
||
|
средняя |
9,2 - 11,4 |
+ |
||
|
мягкая |
5,7 - 6,4 |
+ |
||
|
пиритовая |
10 - 11,8 |
+ |
||
|
скарновая |
9,2 - 10 |
+ |
||
|
свинцовоцинковая |
5,3 |
+ |
||
|
сульфидная |
7,6 - 10,3 |
+ |
||
|
халькопиритогаленито-фалеритовая |
11,9 |
+ |
||
|
хромовая |
5,4 - 6,3 |
+ |
||
|
Сланец: |
||||
|
амфиболомагнетитовый |
7,4 - 8,6 |
+ |
||
|
глинистоуглистый окремненный |
7,6 |
+ |
||
|
глинистый |
0,7 - 2,7 |
+ |
||
|
глинисто-углистый |
3,4 - 5 |
+ |
||
|
кварцевый |
7,3 - 9,5 |
+ |
||
|
песчанистый |
5,2 - 7,4 |
+ |
||
|
Суглинок |
1,4 |
+ |
||
|
Уголь |
0,4 - 2,9 |
+ |
||
|
Шпат полевой |
14 |
+ |
||
|
Штыб |
- |
+ |
||
Таблица 3
|
Фракция, мм |
Влажность, % |
Коэффициент внешнего трения |
||||||||
|
ПЭВД* |
ПЭНЛ |
МОПЭНЛ |
ПП |
УПМ |
ВП |
Асботекстолит |
ТМКЩ |
|||
|
Руда |
25-0 |
5 |
0,56 |
0,56 |
0,54 |
0,50 |
0,47 |
0,5 |
0,50 |
0,65 |
|
Известняк |
5-0 |
4 |
0,54 |
0,53 |
0,56 |
0,54 |
0,46 |
0,5 |
0,47 |
0,67 |
|
8 |
0,55 |
0,46 |
0,51 |
0,52 |
0,49 |
0,77 |
0,50 |
0,67 |
||
|
То же |
0,05-0 |
1 |
0,62 |
0,62 |
0,61 |
0,57 |
0,57 |
0,47 |
0,57 |
0,67 |
|
3 |
0,58 |
0,59 |
0,59 |
0,59 |
0,59 |
0,58 |
0,59 |
0,65 |
||
|
Бентонит |
0,05-0 |
1 |
0,57 |
0,57 |
0,57 |
0,57 |
0,59 |
0,51 |
0,54 |
0,59 |
|
6 |
0,58 |
0,58 |
0,59 |
0,63 |
0,59 |
0,53 |
0,59 |
0,62 |
||
|
Шихта рудных окатышей |
0,05-0 |
9 |
0,60 |
0,58 |
0,59 |
0,71 |
0,66 |
0,67 |
0,68 |
0,79 |
|
12 |
0,68 |
0,64 |
0,70 |
0,71 |
0,64 |
0,64 |
0,69 |
0,71 |
||
|
Концентрат рудный |
0,05-0 |
7 |
0,67 |
0,61 |
0,68 |
0,69 |
0,65 |
0,69 |
0,67 |
0,75 |
|
10 |
0,69 |
0,69 |
0,70 |
0,69 |
0,66 |
0,69 |
0,62 |
0,74 |
||
______________
* Марки пластмасс, см. прил. 11.
Таблица 4
|
Фракция, мм |
Влажность, % |
Адгезия** некоторых пылевидных сыпучих материалов к листовым пластмассам, г/см2 |
||||||||
|
ПЭНП* |
ПЭВП |
МОПЭВП |
ПП |
УПМ |
ВП |
Асботекстолит |
ТМКЩ |
|||
|
Бентонит |
0,05-0 |
6 |
0,04 |
0,032 |
0,111 |
0,043 |
0,067 |
0,091 |
0,197 |
0,095 |
|
1 |
0,322 |
0,293 |
0,353 |
0,463 |
0,260 |
0,378 |
0,237 |
0,265 |
||
|
Известняк |
0,05-0 |
3 |
0,227 |
0,189 |
0,198 |
0,217 |
0,184 |
0,248 |
0,213 |
0,145 |
______________
* Марки пластмасс, см. прил. 11.
** По методике Харьковского Промстройниипроекта.
КОЭФФИЦИЕНТЫ БОКОВОГО ДАВЛЕНИЯ СЫПУЧЕГО. КОЭФФИЦИЕНТЫ т0 и т'0
Таблица 1
Значения коэффициентов т0
|
Значения φ, град |
Для зерна при k = 0,44 |
||||||||
|
20 |
25 |
30 |
35 |
40 |
45 |
50 |
55 |
||
|
Значение k = tg2(45° - φ/2) |
|||||||||
|
0,490 |
0,406 |
0,333 |
0,271 |
0,217 |
0,172 |
0,132 |
0,0994 |
||
|
1 |
2 |
3 |
4 |
5 |
6 |
7 |
8 |
9 |
10 |
|
25 |
0,909 |
0,893 |
0,881 |
0,869 |
0,860 |
0,852 |
0,845 |
0,839 |
0,899 |
|
30 |
0,872 |
0,852 |
0,833 |
0,818 |
0,804 |
0,793 |
0,783 |
0,775 |
0,860 |
|
35 |
0,832 |
0,805 |
0,781 |
0,760 |
0,742 |
0,727 |
0,715 |
0,704 |
0,816 |
|
40 |
0,789 |
0,755 |
0,725 |
0,699 |
0,677 |
0,657 |
0,642 |
0,629 |
0,769 |
|
42 |
0,772 |
0,734 |
0,701 |
0,673 |
0,650 |
0,629 |
0,612 |
0,593 |
0,749 |
|
44 |
0,754 |
0,713 |
0,678 |
0,648 |
0,622 |
0,600 |
0,581 |
0,565 |
0,730 |
|
45 |
0,745 |
0,703 |
0,667 |
0,636 |
0,609 |
0,586 |
0,566 |
0,550 |
0,720 |
|
46 |
0,736 |
0,698 |
0,655 |
0,623 |
0,595 |
0,571 |
0,551 |
0,534 |
0,710 |
|
48 |
0,719 |
0,672 |
0,632 |
0,598 |
0,568 |
0,543 |
0,521 |
0,502 |
0,691 |
|
50 |
0,701 |
0,651 |
0,608 |
0,572 |
0,540 |
0,513 |
0,491 |
0,472 |
0,671 |
|
52 |
0,684 |
0,631 |
0,586 |
0,547 |
0,514 |
0,486 |
0,461 |
0,441 |
0,652 |
|
54 |
0,666 |
0,611 |
0,563 |
0,523 |
0,487 |
0,457 |
0,432 |
0,411 |
0,634 |
|
55 |
0,658 |
0,601 |
0,552 |
0,511 |
0,475 |
0,444 |
0,418 |
0,396 |
0,624 |
|
56 |
0,649 |
0,592 |
0,542 |
0,499 |
0,462 |
0,430 |
0,404 |
0,381 |
0,615 |
|
58 |
0,633 |
0,573 |
0,520 |
0,476 |
0,437 |
0,404 |
0,376 |
0,352 |
0,597 |
|
60 |
0,617 |
0,555 |
0,500 |
0,453 |
0,413 |
0,378 |
0,349 |
0,324 |
0,580 |
|
62 |
0,602 |
0,537 |
0,480 |
0,431 |
0,389 |
0,354 |
0,324 |
0,298 |
0,563 |
|
64 |
0,588 |
0,520 |
0,461 |
0,411 |
0,367 |
0,330 |
0,299 |
0,272 |
0,548 |
|
65 |
0,581 |
0,512 |
0,452 |
0,401 |
0,357 |
0,320 |
0,287 |
0,260 |
0,540 |
|
66 |
0,574 |
0,504 |
0,443 |
0,391 |
0,346 |
0,308 |
0,276 |
0,248 |
0,533 |
|
68 |
0,561 |
0,490 |
0,426 |
0,373 |
0,327 |
0,287 |
0,254 |
0,226 |
0,518 |
|
70 |
0,550 |
0,476 |
0,412 |
0,356 |
0,309 |
0,268 |
0,234 |
0,205 |
0,506 |
|
72 |
0,539 |
0,463 |
0,397 |
0,341 |
0,292 |
0,251 |
0,215 |
0,185 |
0,494 |
|
74 |
0,529 |
0,451 |
0,384 |
0,326 |
0,276 |
0,235 |
0,198 |
0,168 |
0,482 |
|
75 |
0,524 |
0,446 |
0,378 |
0,32 |
0,269 |
0,227 |
0,19 |
0,16 |
0,477 |
|
76 |
0,516 |
0,437 |
0,369 |
0,311 |
0,263 |
0,22 |
0,183 |
0,152 |
0,473 |
|
78 |
0,512 |
0,432 |
0,362 |
0,302 |
0,251 |
0,208 |
0,170 |
0,138 |
0,464 |
|
80 |
0,505 |
0,424 |
0,353 |
0,293 |
0,241 |
0,197 |
0,158 |
0,126 |
0,457 |
|
82 |
0,5 |
0,418 |
0,346 |
0,285 |
0,232 |
0,188 |
0,149 |
0,117 |
0,451 |
|
84 |
0,496 |
0,412 |
0,34 |
0,279 |
0,226 |
0,181 |
0,141 |
0,109 |
0,446 |
|
85 |
0,494 |
0,411 |
0,338 |
0,276 |
0,223 |
0,178 |
0,139 |
0,106 |
0,444 |
|
86 |
0,493 |
0,409 |
0,336 |
0,274 |
0,221 |
0,176 |
0,136 |
0,104 |
0,443 |
|
88 |
0,491 |
0,407 |
0,334 |
0,272 |
0,218 |
0,173 |
0,133 |
0,1 |
0,441 |
|
90 |
0,49 |
0,406 |
0,333 |
0,271 |
0,217 |
0,172 |
0,132 |
0,0994 |
0,44 |
Таблица 2
Значения коэффициента m'0
|
α, град |
Значения φ, град |
||||||||
|
20 |
25 |
30 |
35 |
40 |
45 |
50 |
55 |
Для зерна при k = 0,44 |
|
|
Значения (1 - k) = 1 - tg2(45° - φ/2) |
|||||||||
|
0,510 |
0,594 |
0,667 |
0,729 |
0,783 |
0,828 |
0,868 |
0,901 |
||
|
1 |
2 |
3 |
4 |
5 |
7 |
8 |
9 |
10 |
|
|
25 |
0,195 |
0,228 |
0,256 |
0,279 |
0,300 |
0,317 |
0,332 |
0,345 |
0,214 |
|
30 |
0,221 |
0,257 |
0,288 |
0,315 |
0,338 |
0,358 |
0,375 |
0,390 |
0,242 |
|
35 |
0,239 |
0,279 |
0,313 |
0,342 |
0,367 |
0,389 |
0,407 |
0,423 |
0,263 |
|
40 |
0,251 |
0,292 |
0,327 |
0,358 |
0,385 |
0,407 |
0,426 |
0,444 |
0,276 |
|
42 |
0,253 |
0,295 |
0,330 |
0,361 |
0,388 |
0,411 |
0,430 |
0,448 |
0,278 |
|
44 |
0,255 |
0,297 |
0,333 |
0,364 |
0,391 |
0,414 |
0,433 |
0,450 |
0,280 |
|
45 |
0,255 |
0,297 |
0,333 |
0,364 |
0,391 |
0,414 |
0,433 |
0,450 |
0,280 |
|
46 |
0,255 |
0,297 |
0,333 |
0,364 |
0,391 |
0,414 |
0,433 |
0,450 |
0,280 |
|
48 |
0,253 |
0,295 |
0,330 |
0,361 |
0,388 |
0,411 |
0,430 |
0,448 |
0,278 |
|
50 |
0,251 |
0,292 |
0,327 |
0,358 |
0,385 |
0,407 |
0,426 |
0,444 |
0,276 |
|
52 |
0,247 |
0,288 |
0,323 |
0,353 |
0,379 |
0,402 |
0,420 |
0,437 |
0,272 |
|
54 |
0,242 |
0,282 |
0,317 |
0,347 |
0,372 |
0,394 |
0,413 |
0,428 |
0,266 |
|
55 |
0,239 |
0,279 |
0,313 |
0,342 |
0,367 |
0,389 |
0,407 |
0,423 |
0,263 |
|
56 |
0,236 |
0,275 |
0,309 |
0,338 |
0,363 |
0,384 |
0,402 |
0,413 |
0,260 |
|
58 |
0,229 |
0,266 |
0,298 |
0,327 |
0,351 |
0,372 |
0,389 |
0,405 |
0,252 |
|
60 |
0,221 |
0,256 |
0,288 |
0,315 |
0,338 |
0,358 |
0,375 |
0,390 |
0,242 |
|
62 |
0,212 |
0,246 |
0,276 |
0,302 |
0,325 |
0,344 |
0,360 |
0,373 |
0,232 |
|
64 |
0,201 |
0,234 |
0,263 |
0,287 |
0,308 |
0,326 |
0,342 |
0,355 |
0,221 |
|
65 |
0,195 |
0,228 |
0,255 |
0,278 |
0,300 |
0,317 |
0,332 |
0,345 |
0,214 |
|
66 |
0,190 |
0,221 |
0,248 |
0,271 |
0,291 |
0,308 |
0,322 |
0,335 |
0,208 |
|
68 |
0,177 |
0,206 |
0,231 |
0,252 |
0,271 |
0,288 |
0,300 |
0,313 |
0,194 |
|
70 |
0,164 |
0,190 |
0,214 |
0,234 |
0,251 |
0,266 |
0,278 |
0,290 |
0,180 |
|
72 |
0,150 |
0,174 |
0,196 |
0,214 |
0,230 |
0,243 |
0,255 |
0,265 |
0,164 |
|
74 |
0,135 |
0,157 |
0,177 |
0,193 |
0,207 |
0,219 |
0,224 |
0,239 |
0,148 |
|
75 |
0,127 |
0,148 |
0,167 |
0,182 |
0,196 |
0,207 |
0,217 |
0,225 |
0,140 |
|
76 |
0,120 |
0,139 |
0,157 |
0,171 |
0,184 |
0,194 |
0,204 |
0,211 |
0,131 |
|
78 |
0,104 |
0,121 |
0,136 |
0,148 |
0,159 |
0,168 |
0,176 |
0,183 |
0,114 |
|
80 |
0,087 |
0,102 |
0,114 |
0,125 |
0,134 |
0,142 |
0,148 |
0,154 |
0,096 |
|
82 |
0,070 |
0,082 |
0,092 |
0,100 |
0,108 |
0,114 |
0,120 |
0,124 |
0,077 |
|
84 |
0,053 |
0,062 |
0,069 |
0,076 |
0,081 |
0,086 |
0,090 |
0,094 |
0,058 |
|
85 |
0,044 |
0,052 |
0,057 |
0,063 |
0,068 |
0,072 |
0,075 |
0,078 |
0,049 |
|
86 |
0,036 |
0,041 |
0,046 |
0,051 |
0,054 |
0,058 |
0,060 |
0,063 |
0,039 |
|
88 |
0,018 |
0,021 |
0,023 |
0,025 |
0,027 |
0,029 |
0,030 |
0,031 |
0,020 |
|
90 |
0 |
0 |
0 |
0 |
0 |
0 |
0 |
0 |
0 |

Таблица 1
Прогибы и изгибающие моменты в прямоугольных пластинках, опертых по всему контуру при нагрузке, распределенной по закону треугольника
|
а:b |
0,5 |
0,6 |
0,7 |
0,8 |
0,9 |
1 |
1/0,9 |
1/0,8 |
1/0,7 |
1/0,6 |
1/0,5 |
|
|
схема |
множитель |
Для прогибов |
Для прогибов |
|||||||||
|
|
fmax |
0,00506 |
0,00432 |
0,00363 |
0,00302 |
0,00249 |
0,00203 |
0,00249 |
0,00306 |
0,00370 |
0,00449 |
0,00541 |
|
f0 |
0,00506 |
0,00432 |
0,00363 |
0,00302 |
0,00249 |
0,00203 |
0,00249 |
0,00302 |
0,00363 |
0,00432 |
0,00506 |
|
|
Mу |
0,04820 |
0,04110 |
0,03410 |
0,02800 |
0,02280 |
0,01840 |
0,01800 |
0,01680 |
0,01490 |
0,01210 |
0,00870 |
|
|
Mуmax |
0,05020 |
0,04350 |
0,03690 |
0,03110 |
0,02600 |
0,02160 |
0,02280 |
0,02320 |
0,02330 |
0,02250 |
0,02080 |
|
|
Мx |
0,00370 |
0,01210 |
0,01490 |
0,01680 |
0,01800 |
0,01840 |
0,02280 |
0,02800 |
0,03410 |
0,04110 |
0,05020 |
|
|
Mхmax |
0,01170 |
0,01350 |
0,01490 |
0,01680 |
0,01800 |
0,01840 |
0,02280 |
0,02800 |
0,03450 |
0,04250 |
0,05140 |
|
|
|
fmax |
0,00220 |
0,00203 |
0,00185 |
0,00167 |
0,00148 |
0,00128 |
0,00168 |
0,00217 |
0,00279 |
0,00357 |
0,00446 |
|
f0 |
0,00220 |
0,00203 |
0,00185 |
0,00167 |
0,00148 |
0,00128 |
0,00168 |
0,00217 |
0,00279 |
0,00357 |
0,00446 |
|
|
|
-0,06530 |
-0,06290 |
-0,05970 |
-0,05610 |
-0,05230 |
-0,04950 |
-0,05490 |
-0,06120 |
-0,06890 |
-0,07640 |
-0,08400 |
|
|
Mуmax |
0,02730 |
0,02550 |
0,02300 |
0,02050 |
0,01790 |
0,01550 |
0,01630 |
0,01710 |
0,01760 |
0,01720 |
0,01690 |
|
|
Mу |
0,02730 |
0,02550 |
0,02300 |
0,02050 |
0,01790 |
0,01550 |
0,01630 |
0,01690 |
0,01590 |
0,01380 |
0,01090 |
|
|
Mхmax |
0,00510 |
0,00670 |
0,00850 |
0,00930 |
0,01010 |
0,01110 |
0,01480 |
0,01970 |
0,02590 |
0,03380 |
0,04230 |
|
|
Мx |
0,00290 |
0,00460 |
0,00670 |
0,00840 |
0,01010 |
0,01110 |
0,01480 |
0,01970 |
0,02590 |
0,03380 |
0,04230 |
|
|
|
fmax |
0,00283 |
0,00261 |
0,00234 |
0,00210 |
0,00184 |
0,00159 |
0,00206 |
0,00269 |
0,00339 |
0,00423 |
0,00526 |
|
f0 |
0,00268 |
0,00248 |
0,00222 |
0,00199 |
0,00175 |
0,00151 |
0,00194 |
0,00246 |
0,00313 |
0,00393 |
0,00482 |
|
|
|
-0,05600 |
-0,05310 |
-0,04900 |
-0,044600 |
-0,04020 |
-0,03520 |
-0,03780 |
-0,04020 |
-0,04110 |
-0,04050 |
-0,03770 |
|
|
Mуmax |
0,03840 |
0,03540 |
0,03170 |
0,02810 |
0,02480 |
0,02150 |
0,02280 |
0,02370 |
0,02380 |
0,02310 |
0,02120 |
|
|
Mу |
0,03110 |
0,02840 |
0,02550 |
0,02230 |
0,01940 |
0,01630 |
0,01660 |
0,01570 |
0,01500 |
0,01300 |
0,00940 |
|
|
Mхmax |
0,00700 |
0,00810 |
0,00980 |
0,01130 |
0,01260 |
0,01380 |
0,01830 |
0,02410 |
0,03130 |
0,04010 |
0,05000 |
|
|
Мx |
0,00310 |
0,00580 |
0,00840 |
0,01030 |
0,01190 |
0,01320 |
0,01740 |
0,02270 |
0,02950 |
0,03690 |
0,04580 |
|
|
|
fmax |
0,00132 |
0,00126 |
0,00120 |
0,00114 |
0,00106 |
0,00096 |
0,00130 |
0,00177 |
0,00239 |
0,00322 |
0,00422 |
|
f0 |
0,00132 |
0,00126 |
0,00120 |
0,00114 |
0,00106 |
0,00096 |
0,00130 |
0,00177 |
0,00239 |
0,00322 |
0,00422 |
|
|
|
-0,05120 |
-0,05060 |
-0,04930 |
-0,04720 |
-0,04560 |
-0,04320 |
-0,05040 |
-0,05750 |
-0,06760 |
-0,07480 |
-0,08400 |
|
|
|
-0,03350 |
-0,03330 |
-0,03240 |
-0,03090 |
-0,02900 |
-0,02670 |
-0,02980 |
-0,03230 |
-0,03420 |
-0,03600 |
-0,03740 |
|
|
Mуmax |
0,02080 |
0,02010 |
0,01900 |
0,01770 |
0,01630 |
0,01480 |
0,01640 |
0,01770 |
0,01840 |
0,01750 |
0,01680 |
|
|
Mу |
0,02070 |
0,02000 |
0,01890 |
0,01750 |
0,01600 |
0,01430 |
0,01530 |
0,01590 |
0,01600 |
0,01460 |
0,01170 |
|
|
Mхmax |
0,00370 |
0,00480 |
0,00600 |
0,00690 |
0,00750 |
0,00790 |
0,01120 |
0,01580 |
0,02220 |
0,03010 |
0,03990 |
|
|
Мx |
0,00090 |
0,00210 |
0,00380 |
0,00520 |
0,00670 |
0,00790 |
0,01120 |
0,01580 |
0,02220 |
0,03010 |
0,03990 |
|
|
|
fmax |
0,00422 |
0,00323 |
0,00239 |
0,00177 |
0,00130 |
0,00098 |
0,00112 |
0,00126 |
0,00137 |
0,00150 |
0,00161 |
|
f0 |
0,00422 |
0,00323 |
0,00239 |
0,00177 |
0,00130 |
0,00096 |
0,00106 |
0,00113 |
0,00120 |
0,00126 |
0,00132 |
|
|
|
-0,06110 |
-0,05600 |
-0,05220 |
-0,04750 |
-0,04240 |
-0,03750 |
-0,04050 |
-0,04330 |
-0,04730 |
-0,05210 |
-0,05720 |
|
|
|
-0,06070 |
-0,05530 |
-0,05090 |
-0,04510 |
-0,03990 |
-0,03490 |
-0,03720 |
-0,03910 |
-0,04080 |
-0,04190 |
-0,04240 |
|
|
Mуmax |
0,04250 |
0,03300 |
0,02540 |
0,02020 |
0,01630 |
0,01300 |
0,01310 |
0,01250 |
0,01150 |
0,00990 |
0,00760 |
|
|
Mу |
0,03990 |
0,03010 |
0,02220 |
0,01580 |
0,01120 |
0,00790 |
0,00670 |
0,00520 |
0,00380 |
0,00210 |
0,00090 |
|
|
Mхmax |
0,01170 |
0,01450 |
0,01600 |
0,01590 |
0,01530 |
0,01430 |
0,01630 |
0,01850 |
0,02100 |
0,02310 |
0,02470 |
|
|
Мx |
0,01170 |
0,01450 |
0,01600 |
0,01590 |
001530 |
0,01430 |
0,01600 |
0,01750 |
0,01890 |
0,02000 |
0,02070 |
|
|
|
fmax |
0,00203 |
0,00173 |
0,00145 |
0,00119 |
0,00095 |
0,00074 |
0,00087 |
0,00099 |
0,00110 |
0,00123 |
0,00141 |
|
f0 |
0,00203 |
0,00173 |
0,00145 |
0,00119 |
0,00095 |
0,00074 |
0,00087 |
0,00099 |
0,00108 |
0,00116 |
0,00124 |
|
|
|
-0,06140 |
-0,05650 |
-0,05050 |
-0,04450 |
-0,03890 |
-0,03400 |
-0,03620 |
-0,03840 |
-0,04060 |
-0,04280 |
-0,04480 |
|
|
|
-0,03620 |
-0,03580 |
-0,03470 |
-0,03280 |
-0,03060 |
-0,02850 |
-0,03240 |
-0,03660 |
-0,04130 |
-0,04590 |
-0,04980 |
|
|
|
-0,03620 |
-0,03580 |
-0,03470 |
-0,03280 |
-0,03060 |
-0,02830 |
-0,03130 |
-0,03450 |
-0,03750 |
-0,03970 |
-0,04120 |
|
|
Mуmax |
0,02510 |
0,02170 |
0,01790 |
0,01420 |
0,0{170 |
0,00950 |
0,00960 |
0,00940 |
0,00930 |
0,00920 |
0,00920 |
|
|
Mу |
0,02510 |
0,02170 |
0,01790 |
0,01420 |
0,01120 |
0,00860 |
0,00790 |
0,00730 |
0,00530 |
0,00340 |
0,00170 |
|
|
Mхmax |
0,00580 |
0,00680 |
0,00880 |
0,01000 |
0,01060 |
0,01050 |
0,01260 |
0,01470 |
0,01680 |
0,01970 |
0,02290 |
|
|
Мx |
0,00440 |
0,00680 |
0,00880 |
0,01000 |
0,01060 |
0,01050 |
0,01260 |
0,01470 |
0,01670 |
0,01890 |
0,02020 |
|
|
|
fmax |
0,00263 |
0,00221 |
0,00182 |
0,00148 |
0,00117 |
0,00090 |
0,00107 |
0,00122 |
0,00133 |
0,00141 |
0,00148 |
|
f0 |
0,00247 |
0,00210 |
0,00172 |
0,00139 |
0,00109 |
0,00083 |
0,00095 |
0,00101 |
0,00116 |
0,00125 |
0,00130 |
|
|
|
-0,05120 |
-0,04530 |
-0,03820 |
-0,03130 |
-0,02550 |
-0,02050 |
-0,01920 |
-0,01790 |
-0,01580 |
-0,01340 |
-0,01110 |
|
|
|
-0,04640 |
-0,04580 |
-0,04470 |
-0,04190 |
-0,03850 |
-0,03610 |
-0,03920 |
-0,04320 |
-0,04830 |
-0,05320 |
-0,05910 |
|
|
|
-0,04190 |
-0,04110 |
-0,03990 |
-0,03750 |
-0,03460 |
-0,03140 |
-0,03360 |
-0,03620 |
-0,03960 |
-0,04140 |
-0,04230 |
|
|
Mymax |
0,03520 |
0,03000 |
0,02520 |
0,02080 |
0,01690 |
0,01360 |
0,01370 |
0,01300 |
0,01220 |
0,01190 |
0,00980 |
|
|
My |
0,02840 |
0,02350 |
0,01900 |
0,01480 |
0,01110 |
0,00830 |
0,00700 |
0,00550 |
0,00390 |
0,00240 |
0,00100 |
|
|
Mxmax |
0,00650 |
0,00870 |
0,01100 |
0,01260 |
0,01300 |
0,01290 |
0,01530 |
0,01790 |
0,02050 |
0,02290 |
0,02480 |
|
|
Mx |
0,00540 |
0,00850 |
0,01080 |
0,01220 |
0,01230 |
0,01230 |
0,01410 |
0,01640 |
0,01870 |
0,01950 |
0,02050 |
|
|
|
fmax |
0,00125 |
0,00117 |
0,00104 |
0,00091 |
0,00077 |
0,00064 |
0,00077 |
0,00091 |
0,00104 |
0,00118 |
0,00139 |
|
f0 |
0,00125 |
0,00117 |
0,00104 |
0,00091 |
0,00077 |
0,00064 |
0,00077 |
0,00091 |
0,00104 |
0,00117 |
0,00125 |
|
|
|
-0,04940 |
-0,04740 |
-0,04440 |
-0,04080 |
-0,03700 |
-0,03300 |
-0,03590 |
-0,03830 |
-0,04060 |
-0,04280 |
-0,04480 |
|
|
|
-0,03230 |
-0,03080 |
-0,02780 |
-0,02450 |
-0,02110 |
-0,01760 |
-0,01740 |
-0,01690 |
-0,01550 |
-0,01350 |
-0,01100 |
|
|
|
-0,02940 |
-0,02970 |
-0,02980 |
-0,02910 |
-0,02860 |
-0,02700 |
-0,03130 |
-0,03590 |
-0,04140 |
-0,04610 |
-0,05000 |
|
|
|
-0,02800 |
-0,02810 |
-0,02800 |
-0,02750 |
-0,02660 |
-0,02530 |
-0,02900 |
-0,03260 |
-0,03620 |
-0,03910 |
-0,04090 |
|
|
Mymax |
0,02000 |
0,01830 |
0,01610 |
0,01420 |
0,01220 |
0,01010 |
0,01040 |
0,01010 |
0,00930 |
0,00920 |
0,00920 |
|
|
My |
0,02000 |
0,01830 |
0,01610 |
0,01360 |
0,01110 |
0,00880 |
0,00830 |
0,00720 |
0,00580 |
0,00380 |
0,00190 |
|
|
Mxmax |
0,00500 |
0,00520 |
0,00580 |
0,00720 |
0,00830 |
0,00880 |
0,01110 |
0,01360 |
0,01640 |
0,01960 |
0,02230 |
|
|
Mx |
0,00190 |
0,00380 |
0,00580 |
0,00720 |
0,00830 |
0,00880 |
0,01110 |
0,01360 |
0,01610 |
0,01830 |
0,02000 |
|
Примечание: D - цилиндрическая
жесткость пластинки,
f0 - прогиб в центре
пластины.

Таблица 2
Прогибы и изгибающие моменты в прямоугольных пластинках со свободной от сил гранью при нагрузке, распределенной по закону треугольника
|
а:b |
0,3 |
0,4 |
0,5 |
0,6 |
0,7 |
0,8 |
0,9 |
1 |
1,2 |
1,5 |
2 |
|
|
схема |
множитель |
Для прогибов |
Для остальных моментов pb2 |
|||||||||
|
|
f0 |
0,00051 |
0,00089 |
0,00127 |
0,00165 |
0,00204 |
0,00242 |
0,00284 |
0,00311 |
0,00373 |
0,00446 |
0,00534 |
|
My |
0,00450 |
0,00710 |
0,00940 |
0,01110 |
0,01230 |
0,01310 |
0,01340 |
0,01330 |
0,01260 |
0,01060 |
0,00700 |
|
|
Mx |
0,00450 |
0,00780 |
0,01120 |
0,01490 |
0,01870 |
0,02250 |
0,02580 |
0,02900 |
0,03510 |
0,04240 |
0,05100 |
|
|
fг |
0,00085 |
0,00149 |
0,00202 |
0,00245 |
0,00283 |
0,00307 |
0,00323 |
0,00336 |
0,00343 |
0,00322 |
0,00281 |
|
|
Mxг |
0,00860 |
0,01380 |
0,01900 |
0,02340 |
0,02710 |
0,02970 |
0,03130 |
0,03270 |
0,03340 |
0,03140 |
0,02750 |
|
|
|
f0 |
0,00009 |
0,00021 |
0,00042 |
0,00069 |
0,00098 |
0,00132 |
0,00166 |
0,00200 |
0,00270 |
0,00357 |
0,00472 |
|
My |
-0,00160 |
-0,00010 |
0,00180 |
0,00380 |
0,00580 |
0,00780 |
0,00940 |
0,01080 |
0,01170 |
0,01200 |
0,00920 |
|
|
Mx |
0,00050 |
0,00150 |
0,00320 |
0,00570 |
0,00870 |
0,01200 |
0,01500 |
0,01810 |
0,02480 |
0,03360 |
0,04490 |
|
|
|
-0,15040 |
-0,13420 |
-0,11580 |
-0,10030 |
-0,08640 |
-0,07460 |
-0,06550 |
-0,05740 |
-0,04510 |
-0,03300 |
-0,02120 |
|
|
fx |
0,00021 |
0,00049 |
0,00087 |
0,00132 |
0,00171 |
0,00209 |
0,00239 |
0,00261 |
0,00296 |
0,00295 |
0,00273 |
|
|
Mxг |
0,00150 |
0,00410 |
0,00770 |
0,01220 |
0,01620 |
0,02000 |
0,02290 |
0,02510 |
0,02880 |
0,02880 |
0,02676 |
|
|
|
f0 |
0,00032 |
0,00044 |
0,00056 |
0,00071 |
0,00081 |
0,00090 |
0,00098 |
0,00105 |
0,00114 |
0,00120 |
0,00124 |
|
My |
0,00470 |
0,00670 |
0,00770 |
0,00790 |
0,00780 |
0,00760 |
0,00700 |
0,00630 |
0,00500 |
0,00310 |
0,000*0 |
|
|
Mx |
0,00380 |
0,00590 |
0,00790 |
0,00980 |
0,01150 |
0,01310 |
0,01450 |
0,01580 |
0,01800 |
0,01980 |
0,02080 |
|
|
|
-0,01380 |
-0,01860 |
-0,02270 |
-0,02620 |
-0,02940 |
-0,03220 |
-0,03440 |
-0,03650 |
-0,03930 |
-0,04140 |
-0,04250 |
|
|
fг |
0,00052 |
0,00065 |
0,00075 |
0,00080 |
0,00080 |
0,00074 |
0,00066 |
0,00057 |
0,00047 |
0,00036 |
0,00023 |
|
|
Mxг |
0,00730 |
0,00990 |
0,01150 |
0,01190 |
0,01180 |
0,01130 |
0,01060 |
0,00960 |
0,00830 |
0,00640 |
0,00420 |
|
|
|
-0,02120 |
-0,02270 |
-0,02280 |
-0,02020 |
-0,01780 |
-0,01550 |
-0,01120 |
-0,01130 |
-0,00920 |
-0,00700 |
-0,00460 |
|
|
|
f0 |
0,00008 |
0,00016 |
0,00025 |
0,00039 |
0,00054 |
0,00067 |
0,00074 |
0,00081 |
0,00102 |
0,00116 |
0,00123 |
|
My |
-0,00090 |
0,00010 |
0,00150 |
0,00330 |
0,00490 |
0,00640 |
0,00730 |
0,00730 |
0,00660 |
0,00440 |
0,00200 |
|
|
Mx |
0,00080 |
0,00210 |
0,00360 |
0,00540 |
0,00740 |
0,00940 |
0,01080 |
0,01180 |
0,01380 |
0,01620 |
0,01880 |
|
|
|
-0,13690 |
-0,11470 |
-0,09160 |
-0,07280 |
-0,05650 |
-0,04530 |
-0,03900 |
-0,03450 |
-0,02600 |
-0,01820 |
-0,01120 |
|
|
|
-0,00480 |
-0,00790 |
-0,01170 |
-0,01600 |
-0,02020 |
-0,02410 |
-0,02720 |
-0,03010 |
-0,03470 |
-0,03820 |
-0,04120 |
|
|
fг |
0,00017 |
0,00030 |
0,00044 |
0,00057 |
0,00060 |
0,00059 |
0,00057 |
0,00053 |
0,00046 |
0,00035 |
0,00023 |
|
|
Mxг |
0,00240 |
0,00480 |
0,00680 |
0,00830 |
0,00920 |
0,00990 |
0,00990 |
0,00950 |
0,00820 |
0,00630 |
0,00410 |
|
|
|
-0,00830 |
-0,01310 |
-0,01580 |
-0,01660 |
-0,01640 |
-0,01560 |
-0,01380 |
-0,01190 |
-0,01000 |
-0,00740 |
-0,0046» |
|
Примечание. D -
цилиндрическая жесткость пластинки
f0 - прогиб в центре пластины; fг - прогиб свободной
от сил грани.

Таблица 3
Коэффициенты для вычисления прогибов, кривизны, изгибающих моментов и опорных реакций в равнобедренных треугольных плитах под равномерно распределенную нагрузку р
|
|
|
|
||||||||||||||||
|
α |
γx |
γy |
ηx |
ηy |
β |
α |
γx |
γy |
ηx |
ηy |
β |
α |
γx |
γy |
ηx |
ηy |
β |
|
|
1 |
0 |
0 |
1,3977 |
-0,2330 |
-1,3977 |
2,444 |
0 |
0 |
1,2547 |
-0,2091 |
-1,2547 |
2,219 |
0 |
0 |
0,9215 |
-0,1536 |
-0,9215 |
1,823 |
|
2 |
0 |
0 |
1,2044 |
-0,2008 |
-1,2044 |
2,184 |
0 |
0 |
1,0721 |
-0,1787 |
-1,0721 |
1,968 |
0 |
0 |
0,7729 |
-0,1288 |
-0,7729 |
1,603 |
|
3 |
0 |
0 |
0,7111 |
-0,1185 |
-0,7111 |
1,428 |
0 |
0 |
0,6232 |
-0,1039 |
-0,6232 |
1,294 |
0 |
0 |
0,4291 |
-0,0715 |
-0,4291 |
1,061 |
|
4 |
0 |
0 |
0,2055 |
-0,0343 |
-0,2055 |
0,442 |
0 |
0 |
0,1784 |
-0,0297 |
-0,1784 |
0,481 |
0 |
0 |
0,1169 |
-0,0195 |
-0,1169 |
0,478 |
|
5 |
0 |
0 |
0 |
0 |
0 |
0 |
0 |
0 |
0 |
0 |
0 |
0 |
0 |
0 |
0 |
0 |
0 |
0 |
|
6 |
0 |
0,5630 |
0,0772 |
-0,5758 |
-0,1710 |
1,148 |
0 |
0,2141 |
0,0601 |
-0,2241 |
-0,0958 |
0,577 |
0 |
0,0520 |
0,0035 |
-0,0526 |
-0,0122 |
0,318 |
|
7 |
0 |
1,2920 |
0,1406 |
-1,3155 |
-0,3559 |
2,175 |
0 |
0,6496 |
0,1516 |
-0,6748 |
-0,2598 |
1,515 |
0 |
0,1771 |
0,0778 |
-0,1901 |
-0,1073 |
0,780 |
|
8 |
0 |
1,5756 |
0,1850 |
-1,6064 |
-0,4476 |
2,531 |
0 |
1,0074 |
0,2337 |
-1,0464 |
-0,4016 |
2,118 |
0 |
0,3466 |
0,1966 |
-0,3794 |
-0,2543 |
1,313 |
|
9 |
0 |
1,3232 |
0,1734 |
-1,3521 |
-0,3939 |
2,240 |
0 |
1,0600 |
0,2510 |
-1,1018 |
-0,4276 |
2,204 |
0 |
0,4777 |
0,2964 |
-0,5271 |
-0,3761 |
1,708 |
|
10 |
0 |
0,8056 |
0,1219 |
-0,8259 |
-0,2561 |
1,633 |
0 |
0,7986 |
0,1975 |
-0,8148 |
-0,3305 |
1,796 |
0 |
0,4898 |
0,3182 |
-0,5428 |
-0,3998 |
1,774 |
|
11 |
0 |
0,3343 |
0,0623 |
-0,3447 |
-0,1180 |
1,016 |
0 |
0,3987 |
0,1090 |
-0,4169 |
-0,1754 |
1,116 |
0 |
0,3577 |
0,2365 |
-0,3970 |
-0,2961 |
1,393 |
|
12 |
0 |
0,0560 |
0,0236 |
-0,0600 |
-0,0330 |
0,493 |
0 |
0,0927 |
0,0348 |
-0,0984 |
-0,0502 |
0,481 |
0 |
0,1607 |
0,0840 |
-0,1747 |
-0,1108 |
0,613 |
|
13 |
0 |
0 |
0 |
0 |
0 |
0 |
0 |
0 |
0 |
0 |
0 |
0 |
0 |
0,0947 |
-0,0533 |
-0,0858 |
0,0375 |
0 |
|
14 |
1,24235 |
-0,3436 |
-0,3328 |
0,3990 |
0,3901 |
- |
0,62733 |
-0,1825 |
-0,1446 |
0,2066 |
0,1750 |
- |
0,20477 |
-0,0660 |
0,0230 |
0,0622 |
-0,0120 |
- |
|
15 |
0,89879 |
-0,1799 |
-0,3224 |
0,2337 |
0,3524 |
- |
0,44479 |
-0,0838 |
-0,1814 |
0,1141 |
0,1954 |
- |
0,13276 |
-0,0208 |
-0,0458 |
0,0284 |
0,0493 |
- |
|
16 |
0,37532 |
0,1482 |
-0,2300 |
-0,1088 |
0,2113 |
- |
0,17844 |
0,0879 |
-0,1677 |
-0,0600 |
0,1530 |
- |
0,05195 |
0,0349 |
-0,0869 |
-0,0204 |
0,0811 |
- |
|
17 |
1,99139 |
-0,7371 |
-0,5477 |
0,8284 |
0,6706 |
- |
1,17677 |
-0,4494 |
-0,5116 |
0,5347 |
0,5865 |
- |
0,45050 |
-0,1893 |
-0,3440 |
0,2466 |
0,3756 |
- |
|
I8 |
1,62283 |
-0,5180 |
-0,4792 |
0,5979 |
0,5655 |
- |
0,95205 |
-0,3050 |
-0,4617 |
0,3819 |
0,5125 |
- |
0,35592 |
-0,1133 |
-0,3224 |
0,1670 |
0,3412 |
- |
|
19 |
0,73625 |
0,1503 |
-0,2647 |
-0,1062 |
0,2396 |
- |
0,42236 |
0,1073 |
-0,2810 |
-0,0605 |
0,2531 |
- |
0,14802 |
0,0599 |
-0,2143 |
-0,0242 |
0,2043 |
- |
|
20 |
1,58247 |
-0,7775 |
-0,2052 |
0,8117 |
0,3348 |
- |
1,10230 |
-0,5443 |
-0,3396 |
0,6009 |
0,4303 |
- |
0,49613 |
-0,2553 |
-0,3608 |
0,3154 |
-0,4033 |
- |
|
21 |
0,80496 |
-0,0275 |
-0,0656 |
0,0384 |
0,0702 |
- |
0,55797 |
-0,0136 |
-0,1697 |
0,0419 |
0,1719 |
- |
0,24086 |
0,0144 |
-0,2127 |
0,0210 |
0,2103 |
- |
|
22 |
0,98360 |
-0,7395 |
0,0746 |
0,7271 |
0,0487 |
- |
0,81779 |
-0,6130 |
-0,0554 |
0,6222 |
0,1576 |
- |
0,45203 |
-0,3487 |
-0,2081 |
0,3834 |
0,2662 |
- |
|
23 |
0,61384 |
-0,2441 |
0,1087 |
0,2260 |
-0,0681 |
- |
0,51131 |
-0,2048 |
0,0210 |
0,2013 |
0,0131 |
- |
0,27768 |
-0,1033 |
-0,1055 |
0,1209 |
0,1227 |
- |
|
24 |
0,33246 |
-0,3325 |
0,1535 |
0,3069 |
-0,0981 |
- |
0,32460 |
-0,3246 |
0,1544 |
0,2989 |
-0,1003 |
- |
0,22829 |
-0,2283 |
0,0431 |
0,2211 |
-0,0051 |
- |
|
25 |
0,11205 |
-0,2241 |
0,0925 |
0,2087 |
-0,0551 |
- |
0,11584 |
-0,2317 |
0,1584 |
0,2065 |
-0,1122 |
- |
0,10763 |
-0,2153 |
0,1504 |
0,1902 |
-0,1145 |
- |
Примечание. z - прогиб,
- кривизна,
Mx, My - изгибающие моменты;
R - опорная реакция, R = βрλx; D
- цилиндрическая жесткость пластинки, ![]()
Таблица 4
Коэффициенты для вычисления прогибов, кривизны, изгибающих моментов и опорных реакций в равнобедренных треугольных плитах под треугольную нагрузку
|
|
|
|
||||||||||||||||
|
α |
γx |
γy |
ηx |
ηy |
β |
α |
γx |
γy |
ηx |
ηy |
β |
α |
γx |
γy |
ηx |
ηy |
β |
|
|
1 |
0 |
0 |
1,1097 |
-0,1850 |
-1,1097 |
2,106 |
0 |
0 |
0,9571 |
-0,1595 |
-0,9571 |
1,849 |
0 |
0 |
0,6625 |
-0,1104 |
-0,6625 |
1,452 |
|
2 |
0 |
0 |
0,9622 |
-0,1604 |
-0,9622 |
1,908 |
0 |
0 |
0,8261 |
-0,1377 |
-0,8261 |
1,672 |
0 |
0 |
0,5663 |
-0,0942 |
-0,5663 |
1,310 |
|
3 |
0 |
0 |
0,5835 |
-0,0973 |
-0,5835 |
1,331 |
0 |
0 |
0,4948 |
-0,0825 |
-0,4948 |
1,174 |
0 |
0 |
0,3300 |
-0,0550 |
-0,3300 |
0,935 |
|
4 |
0 |
0 |
0,1761 |
-0,0294 |
-0,1761 |
0,511 |
0 |
0 |
0,1473 |
-0,0246 |
-0,1473 |
0,510 |
0 |
0 |
0,0960 |
-0,0160 |
-0,0960 |
0,470 |
|
5 |
0 |
0 |
0 |
0 |
0 |
0 |
0 |
0 |
0 |
0 |
0 |
0 |
0 |
0 |
,0 |
0 |
0 |
0 |
|
6 |
0 |
0,4696 |
0,0559 |
-0,5627 |
-0,1342 |
1,009 |
0 |
0,1767 |
0,0460 |
-0,1544 |
-0,0755 |
0,605 |
0 |
0,0427 |
0,0029 |
-0,0432 |
-0,0100 |
0,296 |
|
7 |
0 |
0,9874 |
0,1031 |
-1,0046 |
-0,2677 |
1,682 |
0 |
0,4933 |
0,1127 |
-0,5120 |
-0,1950 |
1,185 |
0 |
0,1314 |
0,0629 |
-0,1419 |
-0,0848 |
0,629 |
|
8 |
0 |
1,0384 |
0,1280 |
-1,1097 |
-0,3094 |
1,706 |
0 |
0,6975 |
0,1611 |
-0,7243 |
-0,2774 |
1,446 |
0 |
0,2367 |
0,1404 |
-0,2601 |
-0,1799 |
0,914 |
|
9 |
0 |
0,7949 |
0,1097 |
-0,8132 |
-0,2421 |
1,246 |
0 |
0,6581 |
0,1573 |
-0,6843 |
-0,2670 |
1,282 |
0 |
0,2991 |
0,1902 |
-0,3142 |
-0,2401 |
1,027 |
|
10 |
0 |
0,3894 |
0,0678 |
-0,3781 |
-0,1327 |
0,668 |
0 |
0,4265 |
0,1092 |
-0,4447 |
-0,1803 |
0,818 |
0 |
0,2786 |
0,1823 |
-0,3090 |
-0,2287 |
0,895 |
|
11 |
0 |
0,1148 |
0,0282 |
-0,1195 |
-0,0473 |
0,251 |
0 |
0,1682 |
0,0503 |
-0,1765 |
-0,0783 |
0,316 |
0 |
0,1825 |
0,1161 |
-0,2018 |
-0,1465 |
0,525 |
|
12 |
0 |
0,0144 |
0,0061 |
-0,0154 |
-0,0085 |
0,051 |
0 |
0,0292 |
0,0110 |
-0,0311 |
-0,0158 |
0,031 |
0 |
0,0768 |
0,0292 |
-0,0817 |
-0,0420 |
0,077 |
|
13 |
0 |
0 |
0 |
0 |
0 |
0 |
0 |
0 |
0 |
0 |
0 |
0 |
0 |
0,0393 |
-0,0221 |
-0,0356 |
0,0156 |
0 |
|
14 |
0,98637 |
-0,2622 |
-0,3222 |
0,3159 |
0,3659 |
- |
0,47856 |
-0,1310 |
-0,1626 |
0,1581 |
0,1844 |
- |
0,14721 |
-0,0432 |
-0,0211 |
0,0467 |
0,0283 |
- |
|
15 |
0,72419 |
-0,1490 |
-0,2997 |
0,1989 |
0,3245 |
- |
0,34753 |
-0,0692 |
-0,1789 |
0,0990 |
0,1905 |
- |
0,10402 |
-0,0182 |
-0,0619 |
0,0285 |
0,0649 |
- |
|
16 |
0,31303 |
0,0981 |
-0,2102 |
-0,0631 |
0,1938 |
- |
0,14728 |
0,0530 |
-0,1514 |
-0,0277 |
0,1425 |
- |
0,04267 |
0,0187 |
-0,0816 |
-0,0051 |
0,0785 |
- |
|
17 |
1,46605 |
-0,5265 |
-0,4262 |
0,5976 |
0,5139 |
- |
0,83376 |
-0,3079 |
-0,3968 |
0,3741 |
0,4481 |
- |
0,30398 |
-0,1190 |
-0,2621 |
0,1627 |
0,2809 |
- |
|
18 |
1,20279 |
-0,3856 |
-0,3686 |
0,4470 |
0,4328 |
- |
0,68430 |
-0,2180 |
-0,3531 |
0,2768 |
0,3396 |
- |
0,24447 |
-0,0774 |
-0,2427 |
0,1179 |
0,2556 |
- |
|
19 |
0,5539* |
0,0949 |
-0,1927 |
-0,0628 |
0,1769 |
- |
0,31286 |
0,0591 |
-0,2068 |
-0,0246 |
0,1969 |
- |
0,10752 |
0,0294 |
-0,1579 |
-0,0031 |
0,1530 |
- |
|
20 |
1,05655 |
-0,5156 |
-0,1093 |
0,5338 |
0,1953 |
- |
0,72519 |
-0,3526 |
-0,2119 |
0,3878 |
0,2707 |
- |
0,31453 |
-0,1568 |
-0,2313 |
0,1954 |
0,2574 |
- |
|
21 |
0,54094 |
-0,0253 |
-0,0126 |
0,0274 |
0,0168 |
- |
0,37265 |
-0,0201 |
-0,0915 |
0,0354 |
0,0948 |
- |
0,15771 |
-0,0009 |
-0,1293 |
0,0224 |
0,1294 |
- |
|
22 |
0,53125 |
-0,4232 |
0,1029 |
0,4060 |
-0,0323 |
- |
0,47715 |
-0,3543 |
0,0149 |
0,3519 |
0,0442 |
- |
0,26222 |
-0,1975 |
-0,0965 |
0,2136 |
0,1294 |
- |
|
23 |
0,34967 |
-0,1381 |
0,1156 |
0,1188 |
-0,0926 |
- |
0,29998 |
-0,1228 |
0,0574 |
0,1133 |
-0,0369 |
- |
0,16348 |
-0,0647 |
-0,0356 |
0,0707 |
0,0464 |
- |
|
24 |
0,14304 |
-0,1430 |
0,1235 |
0,1225 |
-0,0997 |
- |
0,15539 |
-0,1554 |
0,1349 |
0,1329 |
-0,1090 |
- |
0,11764 |
-0,1176 |
0,0660 |
0,1066 |
-0,0464 |
- |
|
25 |
0,02384 |
-0,0577 |
0,0561 |
0,0483 |
-0,0465 |
- |
0,03653 |
-0,0731 |
0,1006 |
0,0563 |
-0,0884 |
- |
0,04468 |
-0,0894 |
0,1139 |
0,0704 |
-0,0991 |
- |
Примечание. z - прогиб,
- кривизна,
Mx, My - изгибающие моменты;
R - опорная реакция, R. - βрλx; D - цилиндрическая жесткость пластинки,
![]()

Таблица 5
Прогибы, кривизна, изгибающие моменты и опорные ре акции в равносторонней треугольной плите, заделанной по всему контуру
|
|
|
|
|
|
|
|
|
|
1 |
0 |
0,345 |
0 |
0,2891 |
-0,0482 |
-0,2891 |
|
|
2 |
0 |
0,281 |
0 |
0,2367 |
- |
-0,0394 |
-0,2367 |
|
3 |
0 |
0,132 |
0 |
0,1202 |
- |
-0,0200 |
-0,1202 |
|
4 |
0 |
0,007 |
0 |
0,0280 |
- |
-0,0047 |
-0,0280 |
|
5 |
0 |
0 |
0 |
0 |
0 |
0 |
0 |
|
6 |
0 |
0,061 |
0,0210 |
0,0070 |
-0,0280 |
-0,0221 |
-0,0105 |
|
7 |
0 |
0,271 |
0,1006 |
0,0335 |
-0,1341 |
-0,1062 |
-0,0503 |
|
8 |
0 |
0,565 |
0,2239 |
0,0746 |
-0,2985 |
-0,2363 |
-0,1119 |
|
9 |
0 |
0,819 |
0,320 |
0,1068 |
-0,4271 |
-0,3382 |
-0,1602 |
|
10 |
0 |
0,926 |
0,3272 |
0,1091 |
-0,4361 |
-0,3454 |
-0,1636 |
|
11 |
0 |
0,816 |
0,2268 |
0,0756 |
-0,3025 |
-0,2394 |
-0,1134 |
|
12 |
0 |
0,496 |
0,0757 |
0,0252 |
-0,1010 |
-0,0799 |
-0,0379 |
|
13 |
0 |
0 |
0 |
0 |
0 |
- |
0 |
|
14 |
0,10840 |
- |
-0,0393 |
0,0297 |
- |
0,0343 |
-0,0232 |
|
15 |
0,06914 |
- |
-0,0089 |
0,0058 |
- |
0,0080 |
-0,0043 |
|
16 |
0,02098 |
- |
0,0272 |
-0,0119 |
- |
-0,0252 |
0,0074 |
|
17 |
0,25736 |
- |
-0,1124 |
-0,1048 |
- |
0,1298 |
0,1235 |
|
18 |
0,20117 |
- |
-0,0654 |
-0,1004 |
- |
0,0821 |
0,1113 |
|
19 |
0,07962 |
- |
0,0419 |
-0,0700 |
- |
-0,0303 |
0,0630 |
|
20 |
0,29962 |
- |
-0,1553 |
-0,1334 |
- |
0,1776 |
0,1593 |
|
21 |
0,14427 |
- |
0,0111 |
-0,0838 |
- |
0,0029 |
0,0820 |
|
22 |
0,28610 |
- |
-0,2200 |
-0,0886 |
- |
0,2348 |
0,1253 |
|
23 |
0,17610 |
- |
-0,0661 |
-0,0509 |
- |
0,0746 |
0,0619 |
|
24 |
0,15113 |
- |
-0,1511 |
0,0060 |
- |
0,1501 |
0,0192 |
|
25 |
0,07573 |
- |
-0,1514 |
0,0500 |
- |
0,1431 |
-0,0248 |
Примечание. z
- прогиб; Wx, y - кривизна; Mu, Mx, My - изгибающие
моменты; R - опорная реакция; D
- цилиндрическая жесткость пластинки, ![]()

Таблица 6
Прогибы, кривизна, изгибающие моменты и опорные реакции в равносторонней треугольной плите, заделанной по двум сторонам и свободно опертой по третьей стороне
|
|
|
|
|
|
|
||
|
1 |
0 |
0,253 |
0 |
0 |
0 |
0 |
0 |
|
2 |
0 |
0,194 |
0 |
0 |
0 |
0 |
0 |
|
3 |
0 |
0,078 |
0 |
0 |
0 |
0 |
0 |
|
4 |
0 |
-0,069 |
0 |
0 |
0 |
0 |
0 |
|
5 |
0 |
-0,041 |
0 |
0 |
0 |
0 |
0 |
|
6 |
0 |
0,126 |
0,0427 |
0,0142 |
-0,0569 |
-0,0451 |
-0,0213 |
|
7 |
0 |
0,369 |
0,1537 |
0,0512 |
-0,2050 |
-0,1623 |
-0,0769 |
|
8 |
0 |
0,651 |
0,2815 |
0,0938 |
-0,3753 |
-0,2971 |
-0,1408 |
|
9 |
0 |
0,869 |
0,3612 |
0,1204 |
-0,4816 |
-0,3813 |
-0,1806 |
|
10 |
0 |
0,942 |
0,3466 |
0,1155 |
-0,4621 |
-0,3658 |
-0,1733 |
|
11 |
0 |
0,815 |
0,2317 |
0,0772 |
-0,3089 |
-0,2446 |
-0,1158 |
|
12 |
0 |
0,551 |
0,0759 |
0,0252 |
-0,1012 |
-0,0801 |
-0,0379 |
|
13 |
0 |
0 |
0 |
0 |
0 |
0 |
0 |
|
14 |
0,19923 |
- |
-0,0690 |
-0,0925 |
- |
0,0844 |
0,1040 |
|
15 |
0,13020 |
- |
-0,0185 |
-0,0840 |
- |
0,0324 |
0,0871 |
|
16 |
0,04271 |
- |
0,0448 |
-0,0548 |
- |
-0,0356 |
0,0473 |
|
17 |
0,34902 |
- |
-0,1489 |
-0,1456 |
- |
0,1732 |
0,1705 |
|
18 |
0,27456 |
- |
-0,0891 |
-0,1343 |
- |
0,1114 |
0,1491 |
|
19 |
0,11104 |
- |
0,0525 |
-0,0847 |
- |
-0,0384 |
0,0759 |
|
20 |
0,35235 |
- |
-0,1819 |
-0,1294 |
- |
0,2034 |
0,1597 |
|
21 |
0,17047 |
- |
0,0114 |
-0,0742 |
- |
0,0010 |
0,0723 |
|
22 |
0,31006 |
- |
-0,2386 |
-0,0697 |
- |
0,2502 |
0,1095 |
|
23 |
0,19076 |
- |
-0,0715 |
-0,0324 |
- |
0,0769 |
0,0444 |
|
24 |
0,15581 |
- |
-0,1558 |
0,0209 |
- |
0,1523 |
0,0051 |
|
25 |
0,07588 |
- |
-0,1518 |
0,0560 |
- |
0,1424 |
-0,0307 |
Примечание: z
- прогиб; Wx,y - кривизна; Mu, Мх, My - изгибающие
моменты; R - опорная реакция; D - цилиндрическая жесткость пластинки, ![]()

Таблица 7
Коэффициенты
для вычисления
изгибающих моментов в равнобедренных трапециевидных плитах под треугольную нагрузку при ![]()
|
защемленные по трем сторонам и свободно опертые по меньшему основанию |
защемленные по двум сторонам и свободно опертые по двум основаниям |
защемленные по всему контуру |
||||||||||||||||
|
прямая нагрузка q |
обратная нагрузка q |
прямая нагрузка q |
обратная нагрузка q |
прямая нагрузка q |
обратная нагрузка q |
|||||||||||||
|
µu |
µx |
µy |
µu |
µx |
µy |
µu |
µx |
µy |
µu |
µx |
µy |
µu |
µx |
µy |
µu |
µx |
µy |
|
|
1 |
- |
-0,0765 |
-0,4590 |
-0,1152 |
-0,6910 |
0 |
0 |
0 |
0 |
-0,0685 |
-0,4110 |
-0,1098 |
-0,6588 |
|||||
|
2 |
- |
-0,0629 |
-0,3774 |
- |
-0,1001 |
-0,6006 |
- |
0 |
0 |
- |
0 |
0 |
- |
-0,0539 |
-0,3417 |
- |
-0,0961 |
-0,5767 |
|
3 |
- |
-0,0322 |
-0,1935 |
- |
-0,0613 |
-0,3677 |
- |
0 |
0 |
- |
0 |
0 |
- |
-0,0301 |
-0,1806 |
- |
-0,0598 |
-0,3591 |
|
4 |
- |
-0,0076 |
-0,0456 |
- |
-0,0188 |
-0,1126 |
- |
0 |
0 |
- |
0 |
0 |
- |
-0,0074 |
-0,0443 |
- |
-0,0186 |
-0,1118 |
|
5 |
0 |
0 |
0 |
0 |
0 |
0 |
0 |
0 |
0 |
0 |
0 |
0 |
0 |
0 |
0 |
0 |
0 |
0 |
|
6 |
- |
0,0547 |
-0,0237 |
- |
0,0870 |
0,1268 |
- |
0,1349 |
0,1742 |
- |
0,2097 |
0,4483 |
- |
0,0488 |
-0,0105 |
- |
0,0830 |
0,1390 |
|
7 |
- |
0,0147 |
-0,0026 |
- |
0,0609 |
0,1374 |
- |
0,0541 |
0,1435 |
- |
0,1292 |
0,3788 |
- |
0,0161 |
0,0022 |
- |
0,0630 |
0,1444 |
|
8 |
- |
-0,0393 |
0,0130 |
- |
-0,0031 |
0,1123 |
- |
-0,0560 |
0,0771 |
- |
-0,0222 |
0,2225 |
- |
-0,0318 |
0,0167 |
- |
0,0015 |
0,1146 |
|
9 |
-0,0456 |
-0,0361 |
-0,0171 |
-0,1126 |
-0,0892 |
-0,0422 |
-0,0922 |
-0,0730 |
-0,0346 |
-0,1938 |
-0,1535 |
-0,0727 |
-0,0443 |
-0,0351 |
-0,0166 |
-0,1118 |
-0,0585 |
-0,0419 |
|
10 |
- |
0,2003 |
0,2183 |
- |
0,2106 |
0,3221 |
- |
0,2708 |
0,2940 |
- |
0,3201 |
0,4434 |
- |
0,1579 |
0,2171 |
- |
0,1888 |
0,3210 |
|
11 |
- |
0,1329 |
0,1919 |
- |
0,1623 |
0,2023 |
- |
0,1804 |
0,2529 |
- |
0,2335 |
0,3302 |
- |
0,1201 |
0,1892 |
- |
0,1537 |
0,2805 |
|
12 |
- |
-0,0411 |
0,1053 |
- |
0,0016 |
0,1507 |
- |
0,0545 |
0,1261 |
- |
-0,0163 |
0,1831 |
- |
-0,0604 |
0,1180 |
- |
0,0135 |
0,1499 |
|
13 |
-0,2160 |
-0,1709 |
-0,0310 |
-0,3461 |
-0,2740 |
-0,1298 |
-0,3303 |
-0,4579 |
-0,2169 |
-0,5336 |
-0,4264 |
-0,2020 |
-0,2003 |
-0,158-1 |
-0,0751 |
-0,3356 |
-0,2?56 |
-0,1258 |
|
14 |
- |
0,2630 |
0,2922 |
- |
0,2132 |
0,2014 |
- |
0,3062 |
0,2956 |
- |
0,2818 |
0,2068 |
- |
0,2041 |
0,2521 |
- |
0,1736 |
0,1745 |
|
15 |
- |
0,0270 |
0,1457 |
- |
0,0316 |
0,0745 |
- |
0,0241 |
0,1313 |
- |
0,0275 |
0,0503 |
- |
0,0411 |
0,1296 |
- |
0,0510 |
0,1237 |
|
16 |
-0,4681 |
-0,3705 |
-0,1755 |
-0,5061 |
-0,4006 |
-0,1898 |
-0,5935 |
-0,4699 |
-0,2226 |
-0,7102 |
-0,5623 |
-0,2663 |
-0,4049 |
-0,3205 |
-0,1518 |
-0,4638 |
-0,3671 |
-0,1789 |
|
17 |
- |
0,2492 |
0,2571 |
- |
0,1574 |
0,0623 |
- |
0,2747 |
0,2520 |
- |
0,1984 |
0,0333 |
- |
0,1418 |
0,0931 |
- |
0,0854 |
-0,0543 |
|
18 |
- |
0,1458 |
0,1476 |
- |
0,0734 |
-0,0037 |
- |
0,1528 |
0,1263 |
- |
0,0845 |
-0,0381 |
- |
0,0935 |
0,0376 |
- |
0,0336 |
-0,0773 |
|
19 |
-0,6042 |
-0,4783 |
-0,2266 |
-0,4750 |
-0,3761 |
-0,1781 |
-0,6956 |
-0,5507 |
-0,2309 |
-0,6217 |
-0,4922 |
-0,2332 |
-0,4219 |
-0,3304 |
-0,1707 |
-0,3754 |
-0,2971 |
-0,1408 |
|
20 |
- |
0 |
0 |
- |
0 |
0 |
- |
0 |
0 |
- |
0 |
0 |
- |
-0,0832 |
-0,4993 |
- |
-0,0559 |
-0,3351 |
|
21 |
0 |
0 |
0 |
0 |
0 |
0 |
0 |
0 |
0 |
0 |
0 |
0 |
-0,1805 |
-0,1805 |
-0,1805 |
-0,1184 |
-0,1184 |
-0,1184 |
Примечание. Ми, Мх, Мy - изгибающие моменты: Mu = µuqΔx2; Mx = µxqΔx2; My = µyqΔx2.

Таблица 1
Напряжения в балке-стенке с защемленными краями при равномерно распределенной нагрузке
|
|
|
|
|||||||
|
σx |
σy |
τxy |
σx |
σy |
τxy |
σx |
σy |
τxy |
|
|
1 |
-0,306 |
-1 |
0 |
-0,602 |
-1 |
0 |
-1,376 |
-1 |
0 |
|
2 |
-0,188 |
-0,928 |
0 |
-0,323 |
-0,943 |
0 |
-0,885 |
-0,963 |
0 |
|
3 |
-0,158 |
-0,801 |
0 |
-0,197 |
-0,813 |
0 |
-0,532 |
-0,952 |
0 |
|
4 |
-0,125 |
-0,656 |
0 |
-0,132 |
-0,659 |
0 |
-0,282 |
-0,693 |
0 |
|
5 |
-0,083 |
-0,500 |
0 |
-0,083 |
-0,500 |
0 |
-0,083 |
-0,500 |
0 |
|
6 |
-0,041 |
-0,343 |
0 |
-0,034 |
-0,341 |
0 |
+0,115 |
-0,307 |
0 |
|
7 |
-0,008 |
-0,199 |
0 |
+0,031 |
-0,186 |
0 |
+0,366 |
-0,148 |
0 |
|
8 |
+0,021 |
-0,072 |
0 |
+0,157 |
-0,057 |
0 |
+0,718 |
-0,037 |
0 |
|
9 |
+0,140 |
0 |
0 |
+0,436 |
0 |
0 |
+1,210 |
0 |
0 |
|
10 |
-0,296 |
-1 |
0 |
-0,537 |
-1 |
0 |
-1,201 |
-1 |
0 |
|
11 |
-0,182 |
-0,930 |
-0,056 |
-0,289 |
-0,939 |
-0,105 |
-0,733 |
-0,967 |
-0,153 |
|
12 |
-0,157 |
-0,807 |
-0,068 |
-0,187 |
-0,802 |
-0,147 |
-0,422 |
-0,856 |
-0,286 |
|
13 |
-0,123 |
-0,661 |
-0,076 |
-0,131 |
-0,656 |
-0,157 |
-0,229 |
-0,694 |
-0,363 |
|
14 |
-0,083 |
-0,500 |
-0,080 |
-0,083 |
-0,500 |
-0,158 |
-0,083 |
-0,500 |
-0,389 |
|
15 |
-0,043 |
-0,339 |
-0,076 |
-0,036 |
-0,343 |
-0,157 |
+0,062 |
-0,306 |
-0,363 |
|
16 |
-0,010 |
-0,193 |
-0,068 |
+0,020 |
-0,192 |
-0,147 |
+0,261 |
-0,144 |
-0,296 |
|
17 |
+0,016 |
-0,070 |
-0,058 |
+0,122 |
-0,061 |
-0,105 |
+0,566 |
-0,033 |
-0,153 |
|
18 |
+0,129 |
0 |
0 |
+0,371 |
0 |
0 |
+1,036 |
0 |
0 |
|
19 |
-0,216 |
-1 |
0 |
-0,315 |
-1 |
0 |
-0,598 |
-1 |
0 |
|
20 |
-0,167 |
-0,935 |
-0,107 |
-0,187 |
-0,928 |
-0,216 |
-0,259 |
-0,976 |
-0,304 |
|
21 |
-0,148 |
-0,827 |
-0,135 |
-0,158 |
-0,801 |
-0,290 |
-0,109 |
-0,860 |
-0,578 |
|
22 |
-0,117 |
-0,675 |
-0,157 |
-0,125 |
-0,656 |
-0,310 |
-0,071 |
-0,690 |
-0,730 |
|
23 |
-0,083 |
-0,500 |
-0,165 |
-0,083 |
-0,500 |
-0,315 |
-0,083 |
-0,500 |
-0,781 |
|
24 |
-0,049 |
-0,325 |
-0,157 |
-0,041 |
-0,343 |
-0,310 |
-0,095 |
-0,309 |
-0,730 |
|
25 |
-0,018 |
-0,173 |
-0,135 |
-0,008 |
-0,199 |
-0,290 |
-0,058 |
-0,140 |
-0,578 |
|
26 |
-0,001 |
-0,061 |
-0,107 |
+0,020 |
-0,072 |
-0,216 |
+0,092 |
-0,023 |
-0,304 |
|
27 |
+0,050 |
0 |
0 |
+0,148 |
0 |
0 |
+0,431 |
0 |
0 |
|
28 |
-0,045 |
-1 |
0 |
+0,115 |
-1 |
0 |
+0,557 |
-1 |
0 |
|
29 |
-0,142 |
-0,971 |
-0,141 |
-0,047 |
-0,937 |
-0,318 |
+0,596 |
-0,957 |
-0,488 |
|
30 |
-0,129 |
-0,872 |
-0,203 |
-0,111 |
-0,846 |
-0,418 |
+0,398 |
-0,821 |
-0,882 |
|
31 |
-0,106 |
-0,702 |
-0,247 |
-0,105 |
-0,694 |
-0,471 |
+0,158 |
-0,663 |
-1,081 |
|
32 |
-0,083 |
-0,500 |
-0,260 |
-0,083 |
-0,500 |
-0,489 |
-0,083 |
-0,509 |
-1,146 |
|
33 |
-0,060 |
-0,298 |
-0,247 |
-0,061 |
-0,305 |
-0,471 |
-0,325 |
-0,337 |
-1,081 |
|
34 |
-0,037 |
-0,128 |
-0,203 |
-0,055 |
-0,153 |
-0,418 |
-0,565 |
-0,179 |
-0,882 |
|
35 |
-0,025 |
-0,028 |
-0,141 |
-0,120 |
-0,062 |
-0,318 |
-0,763 |
-0,043 |
-0,488 |
|
36 |
-0,122 |
0 |
0 |
-0,281 |
0 |
0 |
-0,723 |
0 |
0 |
|
37 |
+0,104 |
-1 |
0 |
+0,878 |
-1 |
0 |
+3,051 |
-1 |
0 |
|
38 |
-0,092 |
-1,091 |
-0,164 |
+0,132 |
-1,213 |
-0,328 |
+1,669 |
-0,960 |
-0,656 |
|
39 |
-0,092 |
-0,944 |
-0,281 |
-0,013 |
-1,093 |
-0,562 |
+1,012 |
-0,904 |
-1,125 |
|
40 |
-0,087 |
-0,759 |
-0,351 |
-0,023 |
-0,829 |
-0,703 |
+0,476 |
-0,704 |
-1,406 |
|
41 |
-0,083 |
-0,500 |
-0,375 |
-0,083 |
-0,500 |
-0,750 |
-0,083 |
-0,500 |
-1,500 |
|
42 |
-0,079 |
-0,241 |
-0,351 |
-0,144 |
-0,170 |
-0,703 |
-0,643 |
-0,296 |
-1,406 |
|
43 |
-0,074 |
-0,056 |
-0,281 |
-0,180 |
-0,093 |
-0,562 |
-1,179 |
-0,096 |
-1,125 |
|
44 |
-0,074 |
+0,091 |
-0,164 |
-0,298 |
+0,213 |
-0,328 |
-1,832 |
-0,037 |
-0,656 |
|
45 |
-0,027 |
0 |
0 |
-1,045 |
0 |
0 |
-3,218 |
0 |
0 |
Примечание. Толщина стенки равна единице.

Таблица 2
Напряжения в балке-стенке с защемленными краями при сосредоточенной силе в середине пролета
|
Напряжение |
y/a |
х/а |
|||
|
0 |
1/3 |
2/3 |
1 |
||
|
|
1 |
-3,038 |
-0,390 |
0,654 |
1,511 |
|
2/3 |
0,130 |
-0,392 |
-0,138 |
0,074 |
|
|
1/3 |
0,286 |
-0,104 |
-0,238 |
-0,252 |
|
|
0 |
0,170 |
-0,010 |
-0,168 |
-0,249 |
|
|
-1/3 |
0,101 |
0,018 |
-0,101 |
-0,193 |
|
|
-2/3 |
0,147 |
0,073 |
-0,085 |
-0,228 |
|
|
-1/0 |
0,441 |
0,287 |
-0,130 |
-0,748 |
|
|
|
- |
0,176 |
0,038 |
0,055 |
0,138 |
|
|
1 |
-6 |
0 |
0 |
0 |
|
2/3 |
-3,352 |
-0,802 |
-0,093 |
0,012 |
|
|
1/3 |
-1,748 |
-0,828 |
-0,230 |
-0,042 |
|
|
0 |
-0,925 |
-0,697 |
-0,246 |
-0,042 |
|
|
-1/3 |
-0,457 |
-0,346 |
-0,187 |
-0,032 |
|
|
-2/3 |
-0,154 |
-0,131 |
-0,101 |
-0,038 |
|
|
-1,0 |
0 |
0 |
0 |
0 |
|
|
Напряжения |
y/а |
х/а |
|||
|
1/6 |
1/2 |
5/6 |
1 |
||
|
|
±1 |
0 |
0 |
0 |
0 |
|
5/6 |
1,324 |
0,522 |
0,429 |
0,435 |
|
|
1/2 |
0,802 |
0,776 |
0,640 |
0,613 |
|
|
1/6 |
0,411 |
0,642 |
0,626 |
0,626 |
|
|
-1/6 |
0,234 |
0,485 |
0,544 |
0,549 |
|
|
-1/2 |
0,151 |
0,366 |
0,452 |
0,449 |
|
|
-5/6 |
0,077 |
0,208 |
0,309 |
0,328 |
|
Примечание. Толщина стенки равна единице; zх - равнодействующая растягивающих напряжений.

Таблица 3
Напряжения в балке-стенке с защемленными краями для соотношения сторон 1,5:1 при сосредоточенной силе в середине пролета
|
Напряжения |
y/а |
х/а |
|||
|
0 |
1/3 |
2/3 |
1 |
||
|
|
2/3 |
-3,311 |
-0,564 |
0,742 |
1,955 |
|
1/3 |
0,058 |
-0,428 |
-0,091 |
0,189 |
|
|
0 |
0,308 |
-0,081 |
-0,214 |
-0,225 |
|
|
-1/3 |
0,400 |
0,138 |
-0,218 |
-0,463 |
|
|
-2/3 |
1,108 |
0,631 |
-0,370 |
-1,632 |
|
|
|
- |
0,220 |
0,076 |
0,062 |
0,194 |
|
|
2/3 |
-6,0 |
0 |
0 |
0 |
|
1/3 |
-3,252 |
-0,721 |
-0,046 |
0,032 |
|
|
0 |
- 1,476 |
-0,620 |
-0,149 |
-0,037 |
|
|
-1/3 |
-0,477 |
-0,262 |
-0,130 |
-0,077 |
|
|
-2/3 |
0 |
0 |
0 |
0 |
|
|
Напряжения |
у/а |
х/а |
|||
|
1/6 |
1/2 |
5/6 |
1 |
||
|
|
2/3 |
0 |
0 |
0 |
0 |
|
1/2 |
1,374 |
0,653 |
0,607 |
0,622 |
|
|
1/6 |
0,888 |
0,990 |
0,881 |
0,852 |
|
|
-1/6 |
0,500 |
0,857 |
0,875 |
0,856 |
|
|
-1/2 |
0,238 |
0,500 |
0,631 |
0,670 |
|
|
-2/3 |
0 |
0 |
0 |
0 |
|
Примечание. Толщина стенки равна единице; zx - равнодействующая растягивающих напряжений.

Таблица 4
Напряжения в однопролетной балке-стенке, свободно лежащей на опорах
|
y |
x |
|||||
|
0 |
+0,2а |
+0,4а |
+0,6а |
+0,8а |
+1а |
|
|
Напряжения σy для случая единичной нагрузки, равномерно распределенной на нижней грани |
||||||
|
+1,0b |
-0,076 |
-0,067 |
-0,038 |
+0,020 |
+0,125 |
+0,278 |
|
+0,8b |
-0,075 |
-0,072 |
-0,050 |
+0,006 |
+0,120 |
+1,418 |
|
+0,6b |
-0,031 |
-0,032 |
-0,032 |
-0,007 |
+0,080 |
+0,296 |
|
+0,4b |
+0,055 |
+0,042 |
+0,009 |
-0,019 |
-0,003 |
+0,064 |
|
+0,2b |
+0,180 |
+0,148 |
+0,069 |
-0,038 |
-0,130 |
-0,174 |
|
0 |
+0,340 |
+0,292 |
+0,151 |
-0,058 |
-0,285 |
-0,418 |
|
-0,2b |
+0,533 |
+0,464 |
+0,266 |
-0,074 |
-0,498 |
-0,769 |
|
-0,4b |
+0,745 |
+0,671 |
+0,472 |
-0,054 |
-0,715 |
-1,354 |
|
-0,6b |
+0,920 |
+0,870 |
+0,653 |
+0,054 |
-1,033 |
-2,120 |
|
-0,7b |
+0,980 |
+0,945 |
+0,784 |
+0,187 |
-1,235 |
-2,400 |
|
-0,8b |
+1,014 |
+0,995 |
+0,903 |
+0,449 |
-1,643 |
-2,240 |
|
-0,9b |
+1,024 |
+1,015 |
+0,976 |
+0,810 |
-2,120 |
-0,668 |
|
-1,0b |
+1,017 |
+1,009 |
+0,985 |
+0,968 |
-2,161 |
- |
|
Напряжения σy для случая единичной нагрузки, равномерно распределенной по верхней грани |
||||||
|
+1,0b |
-1,076 |
-1,067 |
-1,038 |
-0,980 |
-0,875 |
-0,722 |
|
+0,8b |
-1,075 |
-1,072 |
-1,050 |
-0,994 |
-0,880 |
-0,582 |
|
+0,6b |
-1,031 |
-1,032 |
-1,032 |
-1,007 |
-0,920 |
-0,704 |
|
+0,4b |
-0,945 |
-0,958 |
-0,991 |
-1,019 |
-1,008 |
-0,936 |
|
+0,2b |
-0,820 |
-0,852 |
-0,931 |
-1,038 |
-1,130 |
-1,174 |
|
0 |
-0,660 |
-0,708 |
-0,849 |
-1,058 |
-1,285 |
-1,418 |
|
-0,2b |
-0,467 |
-0,536 |
-0,734 |
-1,074 |
-1,498 |
-1,769 |
|
-0,4b |
-0,255 |
-0,329 |
-0,528 |
-1,054 |
-1,715 |
-2,354 |
|
-0,6b |
-0,080 |
-0,130 |
-0,347 |
-0,946 |
-2,033 |
-3,120 |
|
-0,7b |
-0,020 |
-0,055 |
-0,216 |
-0,813 |
-2,235 |
-3,400 |
|
-0,8b |
+0,014 |
-0,008 |
-0,097 |
-0,551 |
-2,643 |
-3,240 |
|
-0,9b |
+0,024 |
+0,015 |
-0,024 |
-0,190 |
-3,120 |
-1,668 |
|
-1,06 |
+0,017 |
+0,009 |
-0,015 |
-0,032 |
-3,161 |
- |
|
Напряжения σy для случая единичной нагрузки собственным весом |
||||||
|
+1,0b |
-0,076 |
-0,067 |
-0,038 |
+0,020 |
+0,125 |
+0,278 |
|
+0,8b |
-0,175 |
-0,172 |
-0,150 |
-0,094 |
+0,020 |
+0,318 |
|
+0,6b |
-0,231 |
-0,232 |
-0,232 |
-0,207 |
-0,120 |
+0,096 |
|
+0,4b |
-0,245 |
-0,258 |
-0,291 |
-0,319 |
-0,308 |
-0,236 |
|
+0,2b |
-0,220 |
-0,252 |
-0,331 |
-0,438 |
-0,530 |
-0,574 |
|
0 |
-0,160 |
-0,208 |
-0,349 |
-0,558 |
-0,785 |
-0,918 |
|
-0,2b |
-0,067 |
-0,136 |
-0,334 |
-0,674 |
-1,098 |
-1,768 |
|
-0,4b |
+0,045 |
-0,029 |
-0,228 |
-0,754 |
-1,415 |
-2,054 |
|
-0,6b |
+0,120 |
+0,070 |
-0,147 |
-0,746 |
-1,833 |
-2,920 |
|
-0,7b |
+0,130 |
+0,095 |
-0,066 |
-0,663 |
-2,085 |
-3,250 |
|
-0,8b |
+0,114 |
+0,095 |
+0,003 |
-0,451 |
-2,543 |
-3,140 |
|
-0,9b |
+0,074 |
+0,065 |
+0,026 |
-0,140 |
-3,070 |
-1,618 |
|
-1,0b |
+0,017 |
+0,009 |
+0,015 |
-0,032 |
-3,161 |
- |
|
Напряжения σx, одинаковые для всех трех случаев нагрузки |
||||||
|
+1,0b |
-0,433 |
-0,403 |
-0,314 |
-0,184 |
-0,036 |
+0,100 |
|
+0,8b |
-0,236 |
-0,214 |
-0,150 |
-0,057 |
+0,049 |
+0,098 |
|
+0,6b |
-0,149 |
-0,131 |
-0,075 |
-0,001 |
+0,070 |
+0,092 |
|
+0,4b |
-0,134 |
-0,113 |
-0,068 |
-0,001 |
+0,056 |
+0,085 |
|
+0,2b |
-0,167 |
-0,149 |
-0,098 |
-0,026 |
+0,040 |
+0,078 |
|
0 |
-0,212 |
-0,194 |
-0,142 |
-0,060 |
+0,030 |
+0,073 |
|
-0,2b |
-0,224 |
-0,215 |
-0,176 |
-0,092 |
+0,019 |
+0,073 |
|
-0,4b |
-0,141 |
-0,145 |
-0,161 |
-0,109 |
+0,006 |
+0,077 |
|
-0,6b |
+0,131 |
+0,088 |
-0,021 |
-0,071 |
+0,061 |
+0,086 |
|
-0,7b |
+0,369 |
+0,309 |
+0,133 |
+0,008 |
+0,130 |
+0,093 |
|
-0,8b |
+0,713 |
+0,614 |
+0,424 |
+0,080 |
+0,313 |
+0,100 |
|
-0,9b |
+1,028 |
+0,983 |
+0,840 |
+0,462 |
+0,016 |
+0,108 |
|
-1,0b |
+1,424 |
+1,427 |
+1,441 |
+1,501 |
-1,523 |
+0,117 |
|
Напряжения τ, одинаковые для всех трех случаев нагрузки |
||||||
|
+1,0b |
0 |
-0,030 |
-0,067 |
-0,090 |
-0,104 |
-0,018 |
|
+0,8b |
0 |
+0,022 |
+0,035 |
+0,033 |
+0,016 |
+0,002 |
|
+0,6b |
0 |
+0,064 |
+0,110 |
+0,124 |
+0,088 |
-0,032 |
|
+0,4b |
0 |
+0,101 |
+0,174 |
+0,194 |
+0,136 |
-0,033 |
|
+0,2b |
0 |
+0,128 |
+0,237 |
+0,271 |
+0,184 |
-0,006 |
|
0 |
0 |
+0,172 |
+0,304 |
+0,349 |
+0,246 |
+0,012 |
|
-0,2b |
0 |
+0,201 |
+0,369 |
+0,446 |
+0,339 |
-0,004 |
|
-0,4b |
0 |
+0,205 |
+0,412 |
+0,546 |
+0,448 |
-0,024 |
|
-0,6b |
0 |
+0,155 |
+0,368 |
+0,626 |
+0,561 |
+0,014 |
|
-0,7b |
0 |
+0,103 |
+0,285 |
+0,623 |
+0,602 |
+0,042 |
|
-0,8b |
0 |
+0,048 |
+0,168 |
+0,565 |
+0,840 |
+0,012 |
|
-0,9b |
0 |
+0,003 |
+0,040 |
+0,355 |
+1,375 |
+0,019 |
|
-1,0b |
0 |
-0,014 |
-0,017 |
+0,019 |
+0,207 |
+0,023 |
Примечание. Толщина стенки равна единице; множитель при всех табличных
числах ![]()

Таблица 5
Значения нормальных усилий Nx в сечении ξ = 0,5 свободно опертой прямоугольной балки-стенки, загруженной по стороне у = 0
|
схема |
γ |
0,5 |
0,75 |
1 |
1,5 |
2 |
||||||||||
|
ξ η |
0,05 |
0,1 |
0,2 |
0,05 |
0,1 |
0,2 |
0,05 |
0,1 |
0,2 |
0,05 |
0,1 |
0,2 |
0,05 |
0,1 |
0,2 |
|
|
А |
1,000 |
-0,010 |
-0,009 |
-0,008 |
-0,078 |
-0,071 |
-0,056 |
-0,230 |
-0,210 |
-0,161 |
-1,365 |
-1,190 |
-0,877 |
-2,708 |
-2,440 |
-1,818 |
|
0,875 |
0,013 |
0,010 |
0,006 |
-0,053 |
-0,051 |
-0,041 |
-0,198 |
-0,181 |
-0,131 |
-0,940 |
-0,823 |
-0,599 |
-1,922 |
-1,789 |
-0,241 |
|
|
0,750 |
0,004 |
0,002 |
0,000 |
-0,141 |
-0,093 |
-0,064 |
-0,326 |
-0,224 |
-0,154 |
-0,705 |
-0,589 |
-0,429 |
-1,386 |
-1,218 |
-0,891 |
|
|
0,625 |
-0,020 |
-0,017 |
-0,014 |
-0,189 |
-0,155 |
-0,111 |
-0,339 |
-0,291 |
-0,205 |
-0,460 |
-0,413 |
-0,308 |
-0,703 |
-0,622 |
-0,463 |
|
|
0,500 |
-0,085 |
-0,073 |
-0,061 |
-0,273 |
-0,239 |
-0,194 |
-0,409 |
-0,362 |
-0,253 |
-0,259 |
-0,245 |
-0,197 |
-0,125 |
-0,113 |
-0,110 |
|
|
0,375 |
-0,231 |
-0,192 |
-0,151 |
-0,328 |
-0,283 |
-0,215 |
-0,352 |
-0,311 |
-0,240 |
0,044 |
0,027 |
-0,024 |
0,514 |
0,368 |
0,286 |
|
|
0,250 |
-0,408 |
-0,362 |
-0,254 |
-0,231 |
-0,164 |
-0,181 |
0,005 |
-0,005 |
-0,051 |
0,559 |
0,490 |
0,376 |
1,273 |
1,122 |
0,800 |
|
|
0,125 |
-0,009 |
-0,015 |
-0,058 |
0,400 |
0,353 |
0,221 |
0,815 |
0,724 |
0,501 |
1,341 |
1,210 |
0,914 |
2,081 |
1,870 |
1,424 |
|
|
0,000 |
1,887 |
1,709 |
1,424 |
1,899 |
1,117 |
1,431 |
1,945 |
1,752 |
1,457 |
2,313 |
2,104 |
1,699 |
3,198 |
2,839 |
2,207 |
|
|
Б |
1,000 |
-0,009 |
-0,008 |
-0,008 |
-0,067 |
-0,065 |
-0,061 |
-0,205 |
-0,202 |
-0,197 |
-1,037 |
-1,012 |
-0,988 |
-2,261 |
-2,209 |
-2,132 |
|
0,875 |
0,005 |
0,005 |
0,005 |
-0,051 |
-0,049 |
-0,047 |
-0,162 |
-0,159 |
-0,152 |
-0,704 |
-0,695 |
-0,671 |
-1,508 |
-1,490 |
-1,429 |
|
|
0,750 |
0,000 |
-0,001 |
-0,001 |
-0,077 |
-0,074 |
-0,072 |
-0,188 |
-0,183 |
-0,177 |
-0,523 |
-0,515 |
-0,494 |
-1,118 |
-1,104 |
-1,053 |
|
|
0,625 |
-0,019 |
-0,019 |
-0,018 |
-0,128 |
-0,125 |
-0,120 |
-0,247 |
-0,240 |
-0,232 |
-0,434 |
-0,425 |
-0,400 |
-0,728 |
-0,713 |
-0,660 |
|
|
0,500 |
-0,071 |
-0,069 |
-0,066 |
-0,193 |
-0,188 |
-0,180 |
-0,316 |
-0,309 |
-0,294 |
-0,406 |
-0,392 |
-0,356 |
-0,470 |
-0,444 |
-0,372 |
|
|
0,375 |
-0,161 |
-0,158 |
-0,154 |
-0,277 |
-0,269 |
-0,258 |
-0,382 |
-0,365 |
-0,348 |
-0,395 |
-0,364 |
-0,299 |
-0,280 |
-0,236 |
-0,092 |
|
|
0,250 |
-0,316 |
-0,312 |
-0,300 |
-0,380 |
-0,361 |
-0,335 |
-0,416 |
-0,393 |
-0,320 |
-0,355 |
-0,280 |
0,090 |
-0,078 |
0,106 |
0,442 |
|
|
0,125 |
-0,419 |
-0,396 |
-0,323 |
-0,463 |
-0,391 |
-0,195 |
-0,391 |
-0,236 |
0,108 |
-0,120 |
0,299 |
0,866 |
0,514 |
1,249 |
1,784 |
|
|
0,000 |
19,440 |
9,422 |
4,399 |
19,443 |
9,427 |
4,403 |
19,466 |
9,451 |
4,426 |
19,736 |
9,729 |
4,707 |
20,336 |
10,331 |
5,285 |
|
Примечание. Толщина стенки равна единице; множитель при всех
табличных числах - р;
![]()
Таблица 6
Значения нормальных усилий Nх для неразрезной прямоугольной балки-стенки, загруженной равномерно распределенной внешней нагрузкой по нижней грани
Примечание. Толщина
стенки равна единице; множитель при всех табличных числах - р;
с
= 2ξ1а.
ХАРАКТЕРИСТИКИ СЕЧЕНИЙ РЕБЕР ЖЕСТКОСТИ СТАЛЬНЫХ ВОРОНОК
Статические характеристики ребер жесткости воронки бункера из равнобокого уголка определяются по приведенным ниже зависимостям.
Обозначения геометрических параметров сечения показаны на рис. 1 прил. 6.
Рис. 1. Сечение ребра жесткости воронки бункера из равнобокого уголка
А1 - площадь уголка;
А2 - площадь листа.
А = А1 + А2; А2 = 30 t2;
![]()
![]()
![]()

Статические характеристики ребер жесткости воронки из двутавра определяются по приведенным ниже зависимостям. Обозначения геометрических параметров сечения показаны на рис. 2 прил 6.
А1 - площадь двутавра;
А2 - площадь листа.
Рис. 2. Сечение ребра жесткости воронки бункера из двутавра
Расчет вертикальной стенки бункера шириной а2:
А = А1 + А2; А2 = 30
t2; ![]()
![]()
![]()
![]()

Таблица 1
Характеристики сечений ребер относительно оси υ при t = 6 мм
|
Ребро Ð b×d, мм |
Масса ребра без обшивки, кг/м |
А, см2 |
α, град. |
||||||||||||||
|
25 |
30 |
35 |
40 |
45 |
50 |
55 |
|||||||||||
|
W1, см2 |
W2, см2 |
W1, см2 |
W2, см2 |
W1, см2 |
W2, см2 |
W1, см2 |
W2, см2 |
W1, см2 |
W2, см2 |
W1, см2 |
W2, см2 |
W1, см2 |
W2, см2 |
||||
|
|
63×6 |
5,72 |
18,08 |
14,4 |
155,9 |
15,7 |
58,4 |
16,9 |
60,6 |
18,2 |
62,4 |
19,3 |
63,8 |
20,4 |
64,8 |
21,5 |
65,3 |
|
75×6 |
6,89 |
19,58 |
19,8 |
71,2 |
21,7 |
74,1 |
23,4 |
76,6 |
25,2 |
78,7 |
25,9 |
80,3 |
28,5 |
81,4 |
30,0 |
82,0 |
|
|
80×7 |
8,51 |
21,6 |
25,4 |
80,9 |
27,6 |
83,9 |
29,9 |
86,4 |
32,1 |
88,5 |
34,2 |
90,0 |
36,2 |
91,1 |
38,1 |
91,5 |
|
|
90×7 |
9,64 |
23,1 |
31,6 |
95,5 |
34,4 |
98,7 |
37,3 |
101,4 |
40,0 |
103,6 |
42,7 |
105,2 |
45,3 |
106,3 |
47,8 |
106,7 |
|
|
100×8 |
12,2 |
26,4 |
42,6 |
114,8 |
46,4 |
118,0 |
50,2 |
120,8 |
53,9 |
122,9 |
57,5 |
124,5 |
61,0 |
125,4 |
64,3 |
125,6 |
|
|
110×8 |
13,5 |
28,0 |
50,9 |
132,0 |
55,4 |
135,4 |
59,9 |
138,2 |
64,3 |
140,4 |
68,6 |
141,9 |
72,7 |
142,7 |
76,8 |
142,8 |
|
|
125×8 |
15,5 |
30,5 |
64,3 |
159,0 |
70,1 |
162,4 |
75,7 |
165,3 |
81,4 |
167,5 |
86,8 |
169,0 |
92,"2 |
169,6 |
97,4 |
169,4 |
|
|
140×9 |
19,4 |
35,5 |
87,3 |
197,0 |
94,9 |
200,2 |
102,3 |
202,8 |
109,7 |
204,7 |
117,0 |
205,7 |
124,1 |
205,8 |
131,0 |
204,8 |
|
|
160×10 |
24,7 |
42,2 |
121,6 |
252,6 |
131,7 |
255,2 |
141,9 |
257,2 |
151,9 |
258,4 |
161,9 |
258,6 |
171,6 |
257,8 |
181,2 |
255,8 |
|
|
180×11 |
30,5 |
49,6 |
163,7 |
318,8 |
177,0 |
320,4 |
190,2 |
321,5 |
203,3 |
321,7 |
216,2 |
320,8 |
228,9 |
318,6 |
241,5 |
315,2 |
|
|
180×12 |
33,1 |
53,0 |
175,7 |
332,5 |
189,7 |
333,7 |
203,6 |
334,4 |
217,4 |
334,2 |
231,0 |
332,9 |
244,3 |
330,3 |
257,5 |
326,3 |
|
|
200×12 |
37,0 |
57,9 |
214,0 |
396,2 |
230,9 |
396,4 |
247,7 |
396,1 |
264,4 |
394,7 |
280,9 |
392,5 |
297,2 |
388,7 |
313,3 |
383,3 |
|
|
200×14 |
42,8 |
65,4 |
242,6 |
429,5 |
261,1 |
428,7 |
279,4 |
427,5 |
297,5 |
425,3 |
315,5 |
421,9 |
333,1 |
416,9 |
350,6 |
410,4 |
|
|
200×16 |
48,7 |
72,8 |
270,2 |
461,5 |
290,1 |
459,9 |
309,8 |
457,8 |
329,3 |
454,7 |
348,4 |
450,3 |
367,3 |
444,4 |
386,0 |
436,8 |
|
|
60 |
65 |
70 |
75 |
80 |
85 |
90 |
|||||||||||
|
63×6 |
5,72 |
18,08 |
22,5 |
65,4 |
23,4 |
65,1 |
24,3 |
64,3 |
25,1 |
63,1 |
25,8 |
61,6 |
26,6 |
59,5 |
27,5 |
57,2 |
|
|
75×6 |
6,89 |
19,58 |
31,5 |
82,0 |
32,8 |
81,6 |
34,2 |
80,6 |
35,4 |
79,1 |
36,7 |
77,1 |
38,0 |
74,6 |
39,4 |
71,7 |
|
|
80×7 |
8,51 |
21,6 |
39,9 |
91,4 |
41,7 |
90,7 |
43,4 |
89,5 |
45,0 |
87,7 |
46,6 |
85,4 |
48,3 |
32,5 |
50,2 |
79,2 |
|
|
90×7 |
9,64 |
23,1 |
50,4 |
106,4 |
52,4 |
105,6 |
54,6 |
104,1 |
56,8 |
101,9 |
59,0 |
99,2 |
61,4 |
95,9 |
64,0 |
92,1 |
|
|
100×8 |
12,2 |
26,4 |
67,5 |
125,1 |
70,6 |
123,8 |
73,7 |
121,8 |
76,8 |
119,1 |
80,0 |
115,8 |
83,5 |
111,8 |
87,5 |
107,3 |
|
|
110×8 |
13,5 |
28,0 |
80,7 |
142,0 |
84,5 |
140,4 |
88,3 |
138,1 |
92,1 |
134,9 |
96,1 |
131,1 |
100,4 |
126,5 |
105,6 |
121,3 |
|
|
125×8 |
15,5 |
30,5 |
102,5 |
168,3 |
107,5 |
166,2 |
112,6 |
163,2 |
117,7 |
159,4 |
123,2 |
151,7 |
129,3 |
149,3 |
136,6 |
143,1 |
|
|
140×9 |
19,4 |
35,5 |
137,9 |
202,8 |
144,7 |
199,8 |
151,5 |
195,8 |
158,6 |
190,8 |
166,4 |
184,7 |
175,2 |
177,9 |
185,9 |
170,3 |
|
|
160×10 |
24,7 |
42,2 |
190,7 |
252,6 |
200,3 |
248,1 |
210,1 |
242,5 |
220,4 |
235,7 |
231,9 |
227,8 |
245,2 |
218,9 |
262,0 |
209,3 |
|
|
180×11 |
30,5 |
49,6 |
254,1 |
310,3 |
266,8 |
304,0 |
279,9 |
296,3 |
294,0 |
287,3 |
309,9 |
277,1 |
328,7 |
265,8 |
352,8 |
253,6 |
|
|
180×12 |
33,1 |
53,0 |
270,7 |
320,9 |
284,1 |
314,1 |
297,9 |
305,9 |
312,8 |
296,3 |
329,6 |
285,5 |
349,8 |
273,6 |
375,6 |
260,8 |
|
|
200×12 |
37,0 |
57,9 |
329,6 |
376,4 |
346,2 |
367,8 |
363,5 |
357,7 |
382,3 |
346,2 |
403,8 |
333,2 |
429,8 |
319,0 |
463,7 |
303,8 |
|
|
200×14 |
42,8 |
65,4 |
368,2 |
402,3 |
386,1 |
392,5 |
405,0 |
381,1 |
425,6 |
368,2 |
449,2 |
353,8 |
478,1 |
338,3 |
516,1 |
321,7 |
|
|
200×16 |
48,7 |
72,8 |
404,8 |
427,5 |
424,0 |
416,5 |
444,2 |
403,8 |
466,3 |
389,6 |
491,8 |
373,9 |
523,3 |
357,1 |
564,9 |
339,3 |
|
Таблица 2
Характеристики сечений ребер относительно оси υ при t = 8 мм
|
Сечение |
Ребро ∟b×d, мм |
Масса ребра без обшивки, кг/м |
А, см2 |
α, град. |
|||||||||||||
|
25 |
30 |
35 |
40 |
45 |
50 |
55 |
|||||||||||
|
W1, см2 |
W2, см2 |
W1, см2 |
W2, см2 |
W1, см2 |
W2, см2 |
W1, см2 |
W2, см2 |
W1, см2 |
W2, см2 |
W1, см2 |
W2, см2 |
W1, см2 |
W2, см2 |
||||
|
|
63×6 |
5,72 |
26,48 |
15,6 |
81,5 |
17,1 |
86,2 |
18,4 |
90,3 |
19,7 |
93,7 |
21,0 |
96,5 |
22,2 |
96,6 |
23,3 |
99,9 |
|
75×6 |
6,89 |
27,98 |
21,6 |
105,3 |
23,6 |
110,9 |
25,6 |
115,8 |
27,5 |
120,0 |
29,3 |
123,2 |
31,0 |
125,7 |
32,6 |
127,2 |
|
|
80×7 |
8,51 |
30,0 |
27,8 |
119,9 |
30,3 |
125,8 |
32,8 |
130,8 |
35,2 |
135,1 |
37,5 |
138,4 |
39,6 |
140,8 |
41,7 |
142,2 |
|
|
90×7 |
9,64 |
31,5 |
34,6 |
141,6 |
37,9 |
148,1 |
41,0 |
153,7 |
44,1 |
158,3 |
47,0 |
162,0 |
49,8 |
164,6 |
52,4 |
166,1 |
|
|
100×8 |
12,2 |
34,8 |
47,0 |
168,8 |
53,7 |
175,7 |
55,6 |
181,6 |
59,8 |
186,5 |
63,7 |
190,3 |
67,6 |
192,9 |
71,2 |
194,3 |
|
|
110×8 |
13,5 |
36,4 |
56,1 |
193,1 |
61,3 |
200,4 |
66,4 |
206,7 |
71,4 |
212,0 |
76,2 |
216,0 |
80,8 |
218,6 |
85,2 |
220,0 |
|
|
125×8 |
15,5 |
38,9 |
71,0 |
230,4 |
77,6 |
238,4 |
84,1 |
245,3 |
90,5 |
250,9 |
96,7 |
255,2 |
102,7 |
258,0 |
108,4 |
259,2 |
|
|
140×9 |
19,4 |
43,9 |
96,6 |
279,5 |
105,4 |
287,6 |
114,1 |
294,7 |
122,6 |
300,3 |
130,9 |
304,4 |
139,0 |
306,9 |
146,7 |
307,6 |
|
|
160×10 |
24,7 |
50,6 |
134,3 |
348,8 |
146,4 |
357,1 |
158,4 |
364,2 |
170,2 |
369,7 |
181,7 |
373,4 |
192,9 |
375,3 |
203,8 |
375,1 |
|
|
180×11 |
30,5 |
58,0 |
180,6 |
428,8 |
196,4 |
436,8 |
212,2 |
443,5 |
227,6 |
448,5 |
242,8 |
453,5 |
257,6 |
452,3 |
272,1 |
450,9 |
|
|
180×12 |
33,1 |
61,4 |
193,8 |
442,5 |
210,6 |
450,2 |
227,1 |
456,4 |
243,5 |
461,0 |
259,5 |
463,6 |
275,1 |
464,0 |
290,4 |
462,0 |
|
|
200×12 |
37,0 |
66,3 |
235,3 |
519,6 |
255,5 |
526,8 |
275,6 |
532,8 |
295,5 |
536,8 |
315,0 |
538,8 |
334,1 |
538,3 |
352,9 |
535,2 |
|
|
200×14 |
42,8 |
73,8 |
266,3 |
552,6 |
288,5 |
558,9 |
310,5 |
563,9 |
332,2 |
567,0 |
353,5 |
567,9 |
374,4 |
566,2 |
394,9 |
562,0 |
|
|
200×16 |
48,7 |
81,2 |
296,0 |
584,4 |
320,0 |
589,9 |
343,7 |
594,0 |
367,1 |
596,1 |
390,0 |
596,0 |
412,4 |
593,3 |
434,4 |
588,0 |
|
|
60 |
65 |
70 |
75 |
80 |
85 |
90 |
|||||||||||
|
63×6 |
5,72 |
26,48 |
24,3 |
100,4 |
25,2 |
100,2 |
26,1 |
99,3 |
26,8 |
97,6 |
27,6 |
95,2 |
28,3 |
92,1 |
28,9 |
88,3 |
|
|
75×6 |
6,89 |
27,98 |
34,1 |
127,8 |
35,5 |
127,5 |
36,8 |
126,3 |
38,1 |
124,2 |
39,2 |
121,3 |
40,4 |
117,5 |
41,5 |
112,9 |
|
|
80×7 |
8,51 |
30,0 |
43,6 |
142,7 |
45,4 |
142,1 |
47,0 |
140,6 |
48,6 |
138,1 |
50,1 |
134,7 |
51,6 |
130,4 |
53,1 |
125,3 |
|
|
90×7 |
9,64 |
31,5 |
54,9 |
166,5 |
57,2 |
165,8 |
59,5 |
164,0 |
61,6 |
161,1 |
63,6 |
157,1 |
65,7 |
152,2 |
67,9 |
146,3 |
|
|
100×8 |
12,2 |
34,8 |
74,6 |
194,4 |
77,9 |
193,3 |
81,0 |
191,0 |
84,0 |
187,4 |
87,0 |
182,7 |
90,0 |
176,8 |
93,3 |
169,9 |
|
|
110×8 |
13,5 |
36,4 |
89,4 |
220,0 |
93,4 |
218,6 |
97,2 |
215,8 |
100,9 |
211,7 |
104,6 |
206,3 |
108,5 |
199,6 |
112,8 |
191,8 |
|
|
125×8 |
15,5 |
38,9 |
113,9 |
259,0 |
119,2 |
257,1 |
124,4 |
253,7 |
129,4 |
248,7 |
134,6 |
242,3 |
140,0 |
234,5 |
146,1 |
225,4 |
|
|
140×9 |
19,4 |
43,9 |
154,2 |
306,5 |
161,4 |
303,7 |
168,5 |
299,1 |
175,6 |
292,8 |
183,0 |
284,7 |
190,9 |
275,2 |
199,9 |
264,2 |
|
|
160×10 |
24,7 |
50,6 |
214,4 |
373,0 |
224,8 |
368,7 |
235,1 |
362,4 |
246,6 |
354,2 |
256,6 |
344,0 |
268,9 |
332,0 |
283,2 |
318,4 |
|
|
180×11 |
30,5 |
58,0 |
286,2 |
447,2 |
300,2 |
441,1 |
314,3 |
432,7 |
328,8 |
422,0 |
344,3 |
409,1 |
361,8 |
394,3 |
382,8 |
377,6 |
|
|
180×12 |
33,1 |
61,4 |
305,3 |
457,8 |
320,1 |
451,1 |
335,0 |
442,1 |
350,5 |
430,8 |
367,1 |
417,3 |
335,9 |
401,9 |
408,7 |
384,6 |
|
|
200×12 |
37,0 |
66,3 |
371,4 |
529,6 |
389,9 |
521,2 |
408,6 |
510,3 |
428,3 |
496,8 |
449,6 |
480,9 |
474,2 |
462,8 |
504,4 |
442,7 |
|
|
200×14 |
42,8 |
73,8 |
415,1 |
555,1 |
435,3 |
545,4 |
455,9 |
533,1 |
477,6 |
518,2 |
501,5 |
500,9 |
589,1 |
481,4 |
563,6 |
450,9 |
|
|
200×16 |
48,7 |
81,2 |
456,2 |
579,8 |
478,0 |
568,9 |
500,2 |
555,3 |
523,8 |
539,1 |
549,8 |
520,4 |
580,3 |
499,5 |
618,5 |
470,7 |
|
Таблица 3
Характеристики сечений ребер относительно оси υ при t = 10 мм
|
Сечение |
Ребро ∟b×d, мм |
Масса ребра без обшивки, кг/м |
А, см2 |
α, град. |
|||||||||||||
|
25 |
30 |
35 |
40 |
45 |
50 |
55 |
|||||||||||
|
W1, см2 |
W2, см2 |
W1, см2 |
W2, см2 |
W1, см2 |
W2, см2 |
W1, см2 |
W2, см2 |
W1, см2 |
W2, см2 |
W1, см2 |
W2, см2 |
W1, см2 |
W2, см2 |
||||
|
|
63×6 |
5,72 |
37,28 |
16,6 |
104,3 |
18,1 |
111,4 |
19,5 |
117,6 |
20,3 |
123,0 |
22,1 |
127,3 |
23,3 |
130,6 |
24,5 |
132,8 |
|
75×6 |
6,89 |
38,78 |
22,9 |
138,4 |
25,0 |
147,2 |
27,1 |
154,9 |
29,0 |
161,5 |
30,9 |
166,8 |
32,7 |
170,9 |
34,3 |
173,6 |
|
|
80×7 |
8,51 |
40,8 |
29,5 |
160,0 |
32,2 |
169,3 |
34,8 |
177,5 |
37,3 |
184,4 |
39,7 |
190,0 |
42,0 |
194,1 |
44,1 |
196,8 |
|
|
90×7 |
9,64 |
42,3 |
36,9 |
190,8 |
40,3 |
201,4 |
43,6 |
210,6 |
46,8 |
218,4 |
49,9 |
224,6 |
52,8 |
229,2 |
55,6 |
232,3 |
|
|
100×8 |
12,2 |
45,6 |
50,3 |
229,2 |
55,0 |
240,7 |
59,5 |
250,7 |
63,9 |
259,1 |
68,2 |
265,8 |
72,2 |
270,7 |
75,9 |
273,7 |
|
|
110×8 |
13,5 |
47,2 |
60,0 |
262,7 |
65,6 |
275,2 |
71,1 |
286,1 |
76,4 |
295,7 |
81,5 |
302,4 |
84,4 |
307,6 |
91,0 |
310,7 |
|
|
125×8 |
15,5 |
49,7 |
76,1 |
313,8 |
83,3 |
327,6 |
90,3 |
339,7 |
97,2 |
349,8 |
103,8 |
357,7 |
110,2 |
363,4 |
116,2 |
366,7 |
|
|
140×9 |
19,4 |
54,7 |
103,8 |
378,1 |
113,5 |
392,9 |
123,1 |
405,7 |
132,3 |
416,2 |
141,3 |
424,4 |
149,9 |
430,0 |
158,2 |
432,9 |
|
|
160×10 |
24,7 |
61,4 |
144,9 |
466,4 |
158,4 |
482,1 |
171,7 |
495,7 |
184,6 |
506,8 |
197,2 |
515,2 |
209,4 |
520,6 |
221,1 |
523,0 |
|
|
170×11 |
30,5 |
68,8 |
195,0 |
565,0 |
212,9 |
581,3 |
230,5 |
595,3 |
247,7 |
606,5 |
264,5 |
614,6 |
230,8 |
619,4 |
296,4 |
620,8 |
|
|
180×12 |
33,1 |
72,2 |
209,6 |
579,3 |
228,5 |
595,2 |
247,2 |
608,7 |
265,5 |
619,5 |
283,3 |
627,1 |
300,5 |
631,4 |
317,1 |
632,2 |
|
|
200×12 |
37,0 |
77,1 |
254,2 |
673,7 |
277,2 |
690,2 |
299,9 |
704,2 |
322,3 |
715,2 |
344,1 |
722,7 |
365,3 |
726,6 |
385,8 |
7266 |
|
|
200×14 |
42,8 |
84,6 |
288,1 |
707,3 |
313,4 |
722,8 |
338,5 |
735,8 |
363,1 |
745,7 |
387,1 |
752,2 |
410,4 |
751,8 |
433,1 |
753,5 |
|
|
200×16 |
48,7 |
92,0 |
320,4 |
739,4 |
347,9 |
754,0 |
375,1 |
766,0 |
401,7 |
775,0 |
427,7 |
780,4 |
452,9 |
781,9 |
477,4 |
779,4 |
|
|
200×20 |
60,1 |
106,5 |
331,4 |
799,0 |
412,5 |
812,0 |
443,2 |
822,5 |
473,3 |
829,7 |
502,5 |
833,2 |
530,9 |
832,7 |
558,5 |
828,1 |
|
|
60 |
65 |
70 |
75 |
80 |
85 |
90 |
|||||||||||
|
63×6 |
5,72 |
37,28 |
25,5 |
133,9 |
26,4 |
133,9 |
27,3 |
132,9 |
28,0 |
130,7 |
28,7 |
127,4 |
29,4 |
123,2 |
30,0 |
118,0 |
|
|
75×6 |
6,89 |
38,78 |
35,9 |
175,0 |
37,3 |
175,0 |
38,6 |
173,6 |
39,8 |
170,9 |
40,9 |
166,9 |
41,9 |
161,6 |
43,0 |
155,2 |
|
|
80×7 |
8,51 |
40,8 |
46,0 |
198,0 |
47,8 |
197,8 |
49,5 |
196,0 |
51,0 |
192,7 |
52,4 |
188,1 |
53,8 |
182,1 |
55,2 |
174,8 |
|
|
90×7 |
9,64 |
42,3 |
58,1 |
233,6 |
60,5 |
233,2 |
62,7 |
231,0 |
64,7 |
227,3 |
66,7 |
221,9 |
68,5 |
214,9 |
70,5 |
206,5 |
|
|
100×8 |
12,2 |
45,6 |
79,5 |
274,8 |
82,8 |
274,0 |
85,9 |
271,2 |
88,8 |
266,6 |
91,6 |
260,2 |
94,4 |
258,1 |
97,3 |
242,3 |
|
|
110×8 |
13,5 |
47,2 |
95,3 |
311,7 |
99,4 |
310,6 |
103,2 |
307,4 |
106,8 |
302,1 |
110,4 |
294,8 |
113,9 |
25,6 |
117,6 |
274,6 |
|
|
125×8 |
15,5 |
49,7 |
121,9 |
367,6 |
127,3 |
366,1 |
132,5 |
362,2 |
137,4 |
355,9 |
142,2 |
347,4 |
147,1 |
336,6 |
158,4 |
323,8 |
|
|
140×9 |
19,4 |
54,7 |
166,0 |
433,1 |
173,5 |
430,6 |
180,6 |
425,3 |
187,5 |
417,4 |
194,4 |
406,9 |
201,6 |
394,0 |
209,4 |
378,7 |
|
|
160×10 |
24,7 |
61,4 |
232,3 |
522,2 |
243,1 |
518,3 |
253,6 |
511,2 |
233,9 |
501,1 |
274,3 |
488,1 |
285,5 |
472,2 |
298,0 |
453,7 |
|
|
180×11 |
30,5 |
68,8 |
311,6 |
618,5 |
326,3 |
612,7 |
3407 |
603,4 |
355,1 |
590,6 |
369,9 |
574,4 |
386,0 |
555,1 |
404,4 |
532,8 |
|
|
180×12 |
33,1 |
72,2 |
333,2 |
629,4 |
348,8 |
623,0 |
364,2 |
613,0 |
379,5 |
599,5 |
395,5 |
582,7 |
412,8 |
562,8 |
432,9 |
539,9 |
|
|
200×12 |
37,0 |
77,1 |
405,8 |
722,6 |
425,4 |
714,6 |
444,8 |
702,6 |
464,5 |
686,7 |
485,2 |
667,1 |
507,9 |
644,0 |
534,6 |
617,7 |
|
|
200×14 |
42,8 |
84,6 |
455,1 |
748,2 |
476,7 |
738,8 |
498,3 |
725,3 |
520,2 |
708,0 |
543,5 |
686,9 |
569,3 |
662,3 |
600,0 |
634,5 |
|
|
200×16 |
48,7 |
92,0 |
501,3 |
772,3 |
524,8 |
762,1 |
548,2 |
747,3 |
572,3 |
728,5 |
597,9 |
706,0 |
626,6 |
680,0 |
661,1 |
650,9 |
|
|
200×20 |
60,1 |
106,5 |
585,3 |
819,2 |
611,7 |
806,1 |
638,2 |
788,8 |
665,5 |
767,4 |
694,9 |
742,3 |
728,3 |
713,7 |
769,2 |
682,0 |
|
Таблица 4
Характеристики сечений ребер относительно оси υ при t = 12 мм
|
Сечение |
Ребро ∟b×d, мм |
Масса ребра без обшивки, кг/м |
А, см2 |
α, град. |
|||||||||||||
|
25 |
30 |
35 |
40 |
45 |
50 |
55 |
|||||||||||
|
W1, см2 |
W2, см2 |
W1, см2 |
W2, см2 |
W1, см2 |
W2, см2 |
W1, см2 |
W2, см2 |
W1, см2 |
W2, см2 |
W1, см2 |
W2, см2 |
W1, см2 |
W2, см2 |
||||
|
|
90×7 |
9,64 |
55,5 |
38,6 |
237,3 |
42,1 |
252,5 |
45,6 |
265,8 |
48,9 |
277,2 |
52,1 |
236,5 |
55,1 |
293,5 |
57,9 |
298,2 |
|
100×8 |
12,2 |
58,8 |
52,8 |
289,9 |
57,7 |
306,8 |
62,5 |
321,6 |
67,0 |
334,2 |
71,4 |
344,4 |
75,6 |
352,0 |
79,4 |
357,0 |
|
|
110×8 |
13,5 |
60,4 |
63,0 |
334,6 |
68,9 |
353,2 |
74,7 |
369,6 |
80,2 |
383,3 |
85,5 |
394,4 |
90,5 |
402,6 |
95,3 |
404,0 |
|
|
125×8 |
15,5 |
62,9 |
80,0 |
402,7 |
87,6 |
423,6 |
95,0 |
442,0 |
102,2 |
457,5 |
109,1 |
470,0 |
115,7 |
479,2 |
121,9 |
485,1 |
|
|
140×9 |
19,4 |
67,9 |
109,5 |
436,9 |
119,8 |
509,7 |
129,9 |
529,6 |
139,7 |
546,3 |
149,1 |
559,4 |
158,1 |
569,0 |
166,6 |
574,7 |
|
|
160×10 |
24,7 |
74,9 |
153,4 |
599,8 |
167,8 |
624,7 |
182,0 |
646,4 |
195,8 |
664,5 |
209,2 |
678,6 |
222,0 |
688,4 |
234,2 |
694,0 |
|
|
180×11 |
30,5 |
82,0 |
206,9 |
722,4 |
226,2 |
749,0 |
245,2 |
772,1 |
263,8 |
791,0 |
281,7 |
805,5 |
298,9 |
815,2 |
315,4 |
820,0 |
|
|
180×12 |
33,1 |
85,4 |
222,7 |
738,0 |
243,3 |
764,1 |
263,5 |
786,7 |
283,2 |
805,1 |
302,3 |
819,1 |
320,6 |
828,3 |
338,2 |
832,4 |
|
|
200×12 |
37,0 |
90,3 |
270,3 |
854,3 |
295,4 |
882,1 |
320,1 |
906,1 |
344,3 |
925,6 |
367,7 |
940,2 |
390,4 |
949,5 |
412,2 |
953,3 |
|
|
200×14 |
42,8 |
97,8 |
307,1 |
889,6 |
334,9 |
916,4 |
362,3 |
939,3 |
389,1 |
957,7 |
415,1 |
971,0 |
440,3 |
979,0 |
464,4 |
981,4 |
|
|
200×16 |
48,7 |
105,2 |
342,2 |
922,8 |
372,5 |
948,6 |
402,4 |
970,5 |
431,6 |
987,9 |
460,0 |
1000,1 |
487,3 |
1006,9 |
513,6 |
1008,0 |
|
|
200×20 |
60,1 |
119,7 |
408,3 |
983,8 |
443,0 |
1008,0 |
477,1 |
1028,1 |
510,4 |
1043,5 |
542,6 |
1053,7 |
573,6 |
1058,3 |
603,5 |
1057,1 |
|
|
60 |
65 |
70 |
75 |
80 |
85 |
90 |
|||||||||||
|
90×7 |
9,64 |
55,5 |
60,5 |
300,6 |
62,9 |
300,6 |
65,1 |
298,3 |
67,1 |
293,6 |
68,9 |
286,7 |
70,7 |
277,6 |
72,4 |
266,5 |
|
|
100×8 |
12,2 |
58,8 |
83,0 |
359,3 |
86,4 |
358,9 |
89,5 |
355,8 |
92,3 |
350,1 |
95,0 |
341,8 |
97,5 |
381,1 |
100,2 |
318,1 |
|
|
110×8 |
13,5 |
60,4 |
99,7 |
410,4 |
103,3 |
409,8 |
107,6 |
406,1 |
111,1 |
399,6 |
114,5 |
390,2 |
117,7 |
378,1 |
121,1 |
363,3 |
|
|
125×8 |
15,5 |
62,9 |
127,7 |
487,5 |
133,2 |
486,6 |
138,3 |
482,2 |
143,1 |
474,4 |
147,7 |
463,4 |
152,3 |
449,3 |
157,0 |
432,1 |
|
|
140×9 |
19,4 |
67,9 |
174,7 |
576,5 |
182,2 |
574,5 |
189,3 |
56s,6 |
196,1 |
558,9 |
202,7 |
545,5 |
209,3 |
523,6 |
216,2 |
508,3 |
|
|
160×10 |
24,7 |
74,9 |
245,7 |
695,0 |
256,7 |
691,6 |
267,2 |
683,7 |
277,3 |
671,5 |
287,3 |
655,0 |
297,5 |
634,5 |
308,6 |
610,1 |
|
|
180×11 |
30,5 |
82,0 |
331,1 |
819,7 |
346,2 |
814,4 |
360,7 |
804,0 |
374,8 |
788,7 |
339,0 |
768,6 |
403,7 |
743,9 |
420,1 |
715,0 |
|
|
180×12 |
33,1 |
85,4 |
355,0 |
831,6 |
371,0 |
825,6 |
386,5 |
814,5 |
401,6 |
798,5 |
416,9 |
777,6 |
432,9 |
752,3 |
450,7 |
722,7 |
|
|
200×12 |
37,0 |
90,3 |
433,1 |
951,5 |
453,3 |
943,9 |
473,0 |
930,7 |
492,4 |
912,0 |
512,2 |
888,0 |
533,2 |
858,9 |
557,0 |
825,1 |
|
|
200×14 |
42,8 |
97,8 |
487,7 |
978,1 |
510,1 |
969,1 |
532,1 |
954,3 |
553,9 |
934,0 |
576,2 |
908,4 |
600,3 |
877,7 |
627,7 |
842,3 |
|
|
200×16 |
48,7 |
105,2 |
539,0 |
1003,4 |
563,5 |
992,9 |
587,5 |
976,7 |
611,5 |
954,9 |
636,2 |
927,8 |
663,1 |
895,6 |
694,1 |
858,8 |
|
|
200×20 |
60,1 |
119,7 |
632,3 |
1050,0 |
660,2 |
1037,0 |
687,6 |
1018,1 |
715,1 |
993,6 |
743,9 |
963,6 |
775,4 |
928,7 |
812,5 |
889,1 |
|
Таблица 5
Характеристики сечений ребер относительно оси υ при t = 14 мм
|
Сечение |
Ребро ∟b×d, мм |
Масса ребра без обшивки, кг/м |
А, см2 |
α, град. |
|||||||||||||
|
25 |
30 |
35 |
40 |
45 |
50 |
55 |
|||||||||||
|
W1, см2 |
W2, см2 |
W1, см2 |
W2, см2 |
W1, см2 |
W2, см2 |
W1, см2 |
W2, см2 |
W1, см2 |
W2, см2 |
W1, см2 |
W2, см2 |
W1, см2 |
W2, см2 |
||||
|
|
90×7 |
9,64 |
71,1 |
40,0 |
277,0 |
43,7 |
296,9 |
47,2 |
314,4 |
50,6 |
329,6 |
53,8 |
342,0 |
56,9 |
351,6 |
59,7 |
358,2 |
|
100×8 |
12,2 |
74,4 |
54,9 |
345,7 |
59,9 |
368,5 |
64,8 |
388,6 |
69,5 |
405,7 |
74,0 |
419,7 |
78,2 |
430,4 |
82,2 |
437,6 |
|
|
110×8 |
13,5 |
76,0 |
65,5 |
403,0 |
71,6 |
428,4 |
77,5 |
450,7 |
83,2 |
469,8 |
88,6 |
485,2 |
93,8 |
497,0 |
98,6 |
504,9 |
|
|
125×8 |
15,5 |
78,5 |
83,1 |
490,5 |
91,0 |
519,6 |
98,6 |
545,2 |
106,1 |
566,9 |
113,2 |
584,6 |
119,9 |
598,0 |
126,2 |
606,9 |
|
|
140×9 |
19,4 |
83,5 |
114,0 |
599,2 |
124,8 |
631,4 |
135,3 |
659,5 |
145,4 |
683,3 |
155,2 |
702,4 |
164,4 |
716,6 |
173,1 |
725,7 |
|
|
160×10 |
24,7 |
90,2 |
160,2 |
742,5 |
175,4 |
778,3 |
190,2 |
809,7 |
204,6 |
835,9 |
218,5 |
856,9 |
231,7 |
872,1 |
244,2 |
881,4 |
|
|
180×11 |
30,5 |
97,6 |
216,7 |
895,1 |
237,1 |
933,9 |
257,1 |
967,7 |
276,5 |
995,9 |
295,3 |
1018,0 |
313,2 |
1033,6 |
330,2 |
1042,6 |
|
|
180×12 |
33,1 |
101,0 |
233,6 |
913,0 |
255,4 |
951,4 |
276,8 |
984,7 |
297,5 |
1012,3 |
317,5 |
1033,8 |
336,6 |
1048,8 |
354,8 |
1057,2 |
|
|
200×12 |
37,0 |
105,9 |
283,7 |
1055,7 |
310,4 |
1097,1 |
336,6 |
1133,1 |
362,1 |
1162,8 |
386,8 |
1185,8 |
410,5 |
1201,7 |
433,1 |
1210,1 |
|
|
200×14 |
42,8 |
113,4 |
323,2 |
1094,5 |
353,0 |
1134,8 |
382,2 |
1169,5 |
410,7 |
1198,0 |
438,2 |
1219,6 |
464,6 |
1234,0 |
489,8 |
1240,9 |
|
|
200×16 |
48,7 |
120,8 |
361,0 |
1130,3 |
393,6 |
1169,5 |
425,6 |
1203,1 |
456,8 |
1230,4 |
486,9 |
1250,8 |
515,8 |
1263,9 |
543,4 |
1269,4 |
|
|
200×20 |
60,1 |
135,3 |
432,2 |
1194,6 |
469,9 |
1232,0 |
506,7 |
1263,7 |
542,5 |
1288,9 |
577,1 |
1307,1 |
610,2 |
1317,7 |
641,8 |
1320,7 |
|
|
60 |
65 |
70 |
75 |
80 |
85 |
90 |
|||||||||||
|
90×7 |
9,64 |
71,1 |
62,3 |
361,8 |
64,7 |
362,3 |
66,9 |
359,8 |
68,9 |
354,3 |
70,7 |
345,9 |
72,4 |
334,7 |
74,1 |
320,9 |
|
|
100×8 |
12,2 |
74,4 |
85,8 |
441,3 |
89,2 |
441,5 |
92,2 |
438,2 |
95,1 |
431,4 |
97,7 |
421,2 |
100,1 |
407,8 |
102,5 |
391,3 |
|
|
110×8 |
13,5 |
76,0 |
103,0 |
508,9 |
107,2 |
508,9 |
110,9 |
504,9 |
114,4 |
497,1 |
117,7 |
485,5 |
120,8 |
470,2 |
123,9 |
451,6 |
|
|
125×8 |
15,5 |
78,5 |
132,1 |
611,2 |
137,6 |
611,0 |
142,7 |
606,2 |
147,4 |
596,9 |
151,9 |
533,2 |
156,2 |
565,4 |
160,5 |
543,6 |
|
|
140×9 |
19,4 |
83,5 |
181,3 |
729,6, |
188,9 |
728,3 |
196,0 |
721,8 |
202,6 |
710,1 |
208,9 |
693,5 |
215,1 |
672,2 |
221,5 |
646,3 |
|
|
160×10 |
24,7 |
90,2 |
256,0 |
884,3 |
267,1 |
882,1 |
277,5 |
873,4 |
287,5 |
858,8 |
297,0 |
838,5 |
306,6 |
812,7 |
316,7 |
781,7 |
|
|
180×11 |
30,5 |
97,6 |
346,3 |
1044,8 |
361,6 |
1040,2 |
376,0 |
1028,7 |
389,9 |
1010,6 |
403,4 |
985,9 |
417,2 |
955,1 |
432,0 |
918,5 |
|
|
180×12 |
33,1 |
101,0 |
372,0 |
1053,7 |
338,3 |
1053,3 |
403,8 |
1041,1 |
413,6 |
1022,1 |
433,2 |
996,7 |
448,1 |
965,1 |
464,2 |
927,7 |
|
|
200×12 |
37,0 |
105,9 |
454,7 |
1210,9 |
475,2 |
1204,0 |
494,9 |
1189,6 |
514,0 |
1167,6 |
532,9 |
1138,5 |
552,6 |
1102,4 |
574,1 |
1059,9 |
|
|
200×14 |
42,8 |
113,4 |
513,9 |
1240,2 |
536,8 |
1231,6 |
554,8 |
121,5,5 |
530,3 |
1191,8 |
601,8 |
1160,9 |
624,2 |
1123,1 |
649,0 |
1079,0 |
|
|
200×16 |
48,7 |
120,8 |
569,8 |
1267,2 |
594,9 |
1257,1 |
619,1 |
1239,4 |
642,8 |
1214,1 |
666,6 |
1181,6 |
691,7 |
1142,2 |
719,8 |
1096,5 |
|
|
200×20 |
60,1 |
135,3 |
672,0 |
1315,7 |
700,8 |
1302,9 |
728,6 |
1282,2 |
756,0 |
1254,0 |
783,8 |
1218,5 |
813,5 |
1176,1 |
847,2 |
1127,4 |
|
Таблица 6
Характеристики сечений ребер относительно оси υ при t = 6 мм
|
Сечение |
Профиль |
Масса ребра без обшивки, кг/м |
А, см2 |
α, град. |
|||||||||||||
|
25 |
30 |
35 |
40 |
45 |
50 |
55 |
|||||||||||
|
W1, см2 |
W2, см2 |
W1, см2 |
W2, см2 |
W1, см2 |
W2, см2 |
W1, см2 |
W2, см2 |
W1, см2 |
W2, см2 |
W1, см2 |
W2, см2 |
W1, см2 |
W2, см2 |
||||
|
|
15БТ1 |
16,3 |
31,6 |
47,0 |
114,3 |
54,7 |
119,3 |
63,1 |
125,5 |
72,2 |
132,2 |
81,9 |
139,0 |
92,0 |
145,6 |
102,5 |
151,8 |
|
20БТ1 |
23,6 |
40,9 |
79,5 |
162,2 |
93,4 |
170,4 |
108,7 |
180,2 |
125,3 |
190,7 |
142,8 |
201,3 |
161,1 |
211,4 |
179,9 |
220,9 |
|
|
25БТ1 |
36,0 |
56,7 |
137,9 |
245,2 |
161,4 |
254,4 |
187,5 |
266,7 |
215,9 |
280,3 |
246,2 |
294,4 |
278,2 |
308,2 |
311,6 |
321,2- |
|
|
30БТ1 |
51,5 |
76,5 |
220,6 |
351,2 |
256,7 |
360,7 |
297,3 |
375,3 |
341,7 |
392,5 |
389,3 |
410,5 |
439,9 |
428,3 |
493,1 |
445,4 |
|
|
35БТ1 |
63,5 |
91,7 |
293,3 |
458,6 |
343,6 |
474,3 |
399,8 |
496,3 |
461,2 |
521,3 |
526,9 |
547,2 |
596,4 |
572,7 |
669,4 |
596,8 |
|
|
40БТ1 |
77,4 |
109,4 |
380,8 |
556,6 |
451,2 |
584,5 |
529,4 |
618,8 |
613,9 |
655,8 |
703,6 |
693,3 |
797,7 |
729,5 |
895,5 |
763,& |
|
|
45БТ1 |
96,3 |
133,8 |
521,0 |
748,1 |
614,8 |
779,0 |
719,6 |
819,7 |
833,6 |
864,8 |
955,4 |
911,1 |
1084,0 |
956,3 |
1218,5 |
998,9 |
|
|
50БТ1 |
113,0 |
155,8 |
655,2 |
893,4 |
778,1 |
933,9 |
914,5 |
994,8 |
1062,1 |
1055,2 |
1218,9 |
1116,2 |
1383,5 |
1175,3 |
1554,4 |
1230,8- |
|
|
60 |
65 |
70 |
75 |
80 |
85 |
90 |
|||||||||||
|
15БТ1 |
16,3 |
31,6 |
113,3 |
157,3 |
124,3 |
162,2 |
135,7 |
166,3 |
147,4 |
169,4 |
159,6 |
171,7 |
172,3 |
173,0 |
185,9 |
173,4 |
|
|
20БТ1 |
23,6 |
40,9 |
199,4 |
229,5 |
219,4 |
237,0 |
239,8 |
243,3 |
260,7 |
248,2 |
282,3 |
251,7 |
304,8 |
253,8 |
328,6 |
254,5 |
|
|
25БТ1 |
36,0 |
56,7 |
346,4 |
332,9 |
382,3 |
343,3 |
419,6 |
352,1 |
458,5 |
358,9 |
499,3 |
363,9 |
542,6 |
366,9 |
539,6 |
367,9 |
|
|
30БТ1 |
51,5 |
76,5 |
548,7 |
460,9 |
606,8 |
474,7 |
667,5 |
486,3 |
731,4 |
495,6 |
799,1 |
502,3 |
871,9 |
506,4 |
952,0 |
507,9 |
|
|
35БТ1 |
63,5 |
91,7 |
745,4 |
618,8 |
824,5 |
633,3 |
906,8 |
654,7 |
992,8 |
667,8 |
1083,6 |
677,4 |
1180,5 |
683,3 |
1286,2 |
685,5 |
|
|
40БТ1 |
77,4 |
109,4 |
996,5 |
794,3 |
1100,3 |
821,4 |
1207,0 |
844,3 |
1316,9 |
862,5 |
1430,8 |
875,9 |
1550,2 |
884,2 |
1677,4 |
887,3 |
|
|
45БТ1 |
96,3 |
133,8 |
1358,4 |
1037,8 |
1503,4 |
1072,1 |
1653,8 |
1101,1 |
1810,3 |
1124,3 |
1874,3 |
1141,4 |
2148,6 |
1152,1 |
2337,3 |
1156,2 |
|
|
50БТ1 |
113,0 |
155,8 |
1731,0 |
1281,2 |
1912,4 |
1325,4 |
2098,9 |
1362,9 |
2291,0 |
1392,8 |
2490,0 |
1414,9 |
2698,3 |
1428,8 |
2920,3 |
1434,2 |
|
Таблица 7
Характеристики сечений ребер относительно оси v при t = 8 мм
|
Сечение |
Профиль |
Масса ребра без обшивки, кг/м |
А, см2 |
α, град. |
|||||||||||||
|
25 |
30 |
35 |
40 |
45 |
50 |
55 |
|||||||||||
|
W1, см2 |
W2, см2 |
W1, см2 |
W2, см2 |
W1, см2 |
W2, см2 |
W1, см2 |
W2, см2 |
W1, см2 |
W2, см2 |
W1, см2 |
W2, см2 |
W1, см2 |
W2, см2 |
||||
|
|
15БТ1 |
16,3 |
40,0 |
52,8 |
164,7 |
61,9 |
176,6 |
71,9 |
189,6 |
82,4 |
202,7 |
93,4 |
215,5 |
104,6 |
227,1 |
116,1 |
238,8 |
|
20БТ1 |
23,6 |
49,3 |
90,1 |
229,4 |
110,0 |
247,1 |
125,2 |
266,1 |
144,5 |
285,4 |
164,6 |
304,2 |
185,2 |
321,9 |
206,1 |
338,3 |
|
|
25БТ1 |
36,0 |
65,1 |
156,2 |
330,7 |
185,0 |
351,9 |
216,5 |
375,8 |
250,2 |
400,6 |
285,5 |
425,1 |
322,1 |
448,4 |
359,6 |
470,0 |
|
|
30БТ1 |
51,5 |
84,9 |
248,1 |
454,1 |
292,8 |
478,3 |
342,0 |
507,0 |
394,9 |
537,5 |
450,8 |
568,0 |
509,2 |
597,4 |
569,5 |
624,9 |
|
|
35БТ1 |
63,5 |
100,1 |
327,4 |
576,3 |
388,2 |
609,1 |
455,1 |
647,6 |
527,0 |
688,2 |
603,0 |
728,8 |
682,3 |
767,8 |
764,2 |
304,0 |
|
|
40БТ1 |
77,4 |
117,8 |
424,0 |
687,2 |
734,9 |
598,6 |
788,3 |
696,0 |
843,4 |
798,2 |
897,8 |
904,1 |
949,5 |
1012,8 |
997,5 |
||
|
45БТ1 |
96,3 |
142,2 |
572,8 |
896,2 |
682,7 |
949,5 |
803,8 |
1011,8 |
934,1 |
1077,3 |
1071,9 |
1142,7 |
1215,7 |
1205,5 |
1364,4 |
1263,9 |
|
|
50БТ1 |
113,0 |
164,2 |
717,1 |
1054,6 |
858,9 |
1125,2 |
1014,5 |
1205,3 |
1181,2 |
1288,5 |
1356,7 |
1370,8 |
1538,9 |
1449,4 |
1726,4 |
1522,5 |
|
|
60 |
65 |
70 |
75 |
80 |
85 |
90 |
|||||||||||
|
15БТ1 |
16,3 |
40,0 |
127,6 |
248,8 |
139,3 |
257,4 |
151,0 |
264,6 |
162,6 |
270,2 |
174,3 |
274,1 |
186,1 |
276,4 |
198,1 |
276,9 |
|
|
20БТ1 |
23,6 |
49,3 |
227,2 |
352,9 |
248,4 |
365,5 |
269,5 |
376,1 |
290,6 |
384,3 |
311,7 |
390,2 |
332,9 |
393,6 |
354,3 |
394,5 |
|
|
25БТ1 |
36,0 |
65,1 |
397,9 |
489,4 |
436,8 |
506,3 |
476,1 |
520,4 |
515,9 |
531,5 |
556,3 |
539,4 |
597,8 |
544,0 |
640,9 |
545,4 |
|
|
30БТ1 |
51,5 |
84,9 |
631,5 |
649,6 |
684,9 |
671,3 |
759,7 |
689,4 |
826,1 |
703,7 |
894,4 |
713,9 |
965,4 |
720,0 |
1040,3 |
721,9 |
|
|
35БТ1 |
63,5 |
100,1 |
848,2 |
836,8 |
934,2 |
865,4 |
1021,9 |
889,4 |
1111,5 |
908,4 |
1203,6 |
922,2 |
1299,2 |
930,4 |
1400,0 |
933,1 |
|
|
40БТ1 |
77,4 |
117,8 |
1123,5 |
1040,7 |
1235,7 |
1078,3 |
1349,1 |
1109,8 |
1483,7 |
1134,8 |
1580,0 |
1152,9 |
1698,8 |
1163,9 |
1821,8 |
1167,6 |
|
|
45БТ1 |
96,3 |
142,2 |
1517,1 |
1316,7 |
1673,2 |
1362,9 |
1832,7 |
1401,8 |
1995,8 |
1432,6 |
2163,5 |
1455,1 |
2337,5 |
1468,8 |
2521,0 |
1473,7 |
|
|
50БТ1 |
113,0 |
164,2 |
1917,9 |
1588,4 |
2112,5 |
1645,9 |
2309,9 |
1694,3 |
2510,1 |
1732,8 |
2714,0 |
1760,9 |
2923,3 |
1778,1 |
3141,1 |
1784,4 |
|
Таблица 8
Характеристики сечений ребер относительно оси υ при t = 10 мм
|
Сечение |
Профиль |
Масса ребра без обшивки, кг/м |
А, см2 |
α, град. |
|||||||||||||
|
25 |
30 |
35 |
40 |
45 |
50 |
55 |
|||||||||||
|
W1, см2 |
W2, см2 |
W1, см2 |
W2, см2 |
W1, см2 |
W2, см2 |
W1, см2 |
W2, см2 |
W1, см2 |
W2, см2 |
W1, см2 |
W2, см2 |
W1, см2 |
W2, см2 |
||||
|
|
15БТ1 |
16,3 |
50,8 |
57,3 |
222,8 |
67,6 |
243,7 |
78,5 |
265,2 |
89,9 |
286,5 |
101,6 |
306,9 |
113,6 |
326,2 |
125,6 |
343,7 |
|
20БТ1 |
23,6 |
60,1 |
99,0 |
310,5 |
118,0 |
340,4 |
138,2 |
371,3 |
159,4 |
401,9 |
181,1 |
431,2 |
203,2 |
458,7 |
225,3 |
483,8 |
|
|
25БТ1 |
36,0 |
75,9 |
172,5 |
437,0 |
205,6 |
473,7 |
241,3 |
512,6 |
278,9 |
551,6 |
317,9 |
589,4 |
357,7 |
625,0 |
398,1 |
657,6 |
|
|
30БТ1 |
51,5 |
95,7 |
274,4 |
584,1 |
326,4 |
626,9 |
382,9 |
673,6 |
442,9 |
721,4 |
505,5 |
768,1 |
570,0 |
812,3 |
635,5 |
853,1 |
|
|
35БТ1 |
63,5 |
120,9 |
361,3 |
725,8 |
431,7 |
780,6 |
508,2 |
840,2 |
589,4 |
901,0 |
674,2 |
960,3 |
761,5 |
1016,6 |
850,6 |
1068,5 |
|
|
40БТ1 |
77,4 |
128,6 |
468,3 |
853,9 |
564,0 |
927,1 |
667,4 |
1005,0 |
776,6 |
1083,3 |
889,9 |
1159,3 |
1006,2 |
1231,0 |
1124,1 |
1296,9 |
|
|
45БТ1 |
96,3 |
153,0 |
627,9 |
1086,1 |
753,7 |
1168,1 |
890,9 |
1258,1 |
1036,9 |
1349,8 |
1189,7 |
1439,7 |
1347,4 |
1525,0 |
1508,8 |
1603,7 |
|
|
50БТ1 |
113,0 |
175,0 |
784,3 |
1262,0 |
945,5 |
1364,7 |
1120,5 |
1475,6 |
1306,9 |
1588,1 |
1499,7 |
1697,7 |
1698,8 |
1801,5 |
1901,7 |
1897,l |
|
|
60 |
65 |
70 |
75 |
80 |
85 |
90 |
|||||||||||
|
15БТ1 |
16,3 |
50,8 |
137,6 |
359,4 |
149,4 |
372,8 |
161,2 |
384,0 |
172,6 |
392,6 |
183,9 |
398,7 |
195,0 |
402,2 |
206,1 |
402,9 |
|
|
20БТ1 |
23,6 |
60,1 |
247,4 |
506,2 |
269,1 |
525,5 |
290,5 |
541,5 |
311,4 |
554,0 |
331,9 |
562,8 |
351,9 |
567,9 |
371,5 |
569,1 |
|
|
25БТ1 |
36,0 |
75,9 |
438,6 |
686,9 |
479,1 |
712,1 |
519,3 |
733,1 |
559,2 |
749,5 |
598,7 |
761,2 |
638,1 |
768,0 |
677,7 |
769,8 |
|
|
30БТ1 |
51,5 |
95,7 |
702,0 |
889,7 |
768,9 |
921,4 |
836,0 |
947,9 |
903,2 |
968,6 |
970,7 |
983,5 |
1038,9 |
992,1 |
1108,6 |
994,6 |
|
|
35БТ1 |
63,5 |
120,9 |
940,8 |
1115,1 |
1031,6 |
1155,6 |
1122,8 |
1189,2 |
1214,2 |
1215,8 |
1306,0 |
1234,8 |
1398,9 |
1246,1 |
1493,8 |
1249,4 |
|
|
40БТ1 |
77,4 |
128,6 |
1242,7 |
1355,9 |
1361,4 |
1407,1 |
1479,6 |
1449,8 |
1597,0 |
1483,5 |
1713,7 |
1507,6 |
1830,3 |
1522,1 |
1947,7 |
1526,6 |
|
|
45БТ1 |
96,3 |
153,0 |
1672,6 |
1674,5 |
1838,0 |
1736,0 |
2004,5 |
1787,5 |
2172,0 |
1828,2 |
2340,9 |
1857,5 |
2512,5 |
1875,2 |
2688,7 |
1881,0 |
|
|
50БТ1 |
113,0 |
175,0 |
2106,9 |
1983,0 |
2312,9 |
2057,6 |
2519,2 |
2120,1 |
2725,4 |
2169,4 |
2931,9 |
2205,2 |
3139,6 |
2226,8 |
3350,9 |
2234,1 |
|
Таблица 9
Характеристики сечений ребер относительно оси υ при t = 12 мм
|
Сечение |
Профиль |
Масса ребра без обшивки, кг/м |
А, см2 |
α, град. |
|||||||||||||
|
25 |
30 |
35 |
40 |
45 |
50 |
55 |
|||||||||||
|
W1, см2 |
W2, см2 |
W1, см2 |
W2, см2 |
W1, см2 |
W2, см2 |
W1, см2 |
W2, см2 |
W1, см2 |
W2, см2 |
W1, см2 |
W2, см2 |
W1, см2 |
W2, см2 |
||||
|
|
15БТ1 |
16,3 |
64,0 |
61,1 |
284,0 |
72,0 |
315,4 |
83,6 |
347,1 |
95,6 |
378,2 |
107,8 |
407,8 |
120,2 |
435,5 |
132,5 |
460,7 |
|
20БТ1 |
23,6 |
73,3 |
106,2 |
401,2 |
126,7 |
445,9 |
148,4 |
491,2 |
170,8 |
535,4 |
193,7 |
577,5 |
216,6 |
616,8 |
239,5 |
652,5 |
|
|
25БТ1 |
36,0 |
89,1 |
186,4 |
560,6 |
222,8 |
616,1 |
261,7 |
673,2 |
302,1 |
729,6 |
343,7 |
783,6 |
385,8 |
834,2 |
428,0 |
880,4 |
|
|
30БТ1 |
51.5 |
108,9 |
298,0 |
738,1 |
356,1 |
803,9 |
418,4 |
872,7 |
483,8 |
941,5 |
551,4 |
1007,8 |
620,3 |
1070,2 |
689,7 |
1127,3- |
|
|
35БТ1 |
63,5 |
124,1 |
392,8 |
904,7 |
471,5 |
986,2 |
555,9 |
1071,7 |
644,7 |
1157,0 |
736,4 |
1239,4 |
830,1 |
1316,8 |
904,5 |
1387,8 |
|
|
40БТ1 |
77,4 |
141,8 |
510,6 |
1054,6 |
617,1 |
1158,8 |
731,1 |
1266,6 |
850,3 |
1373,2 |
973,0 |
1475,7 |
1097,5 |
1571,7 |
1222,7 |
1659,5 |
|
|
45БТ1 |
96,3 |
166,2 |
682,2 |
1315,9 |
822,8 |
1433,0 |
974,5 |
1556,6 |
1134,5 |
1680,4 |
1300,3 |
1800,2 |
1470,0 |
1913,0 |
1641,9 |
2016,6 |
|
|
50БТ1 |
113,0 |
188,2 |
852,1 |
1513,8 |
1031,6 |
1655,6 |
1224,6 |
1804,3 |
1427,6 |
1952,4 |
1637,4 |
2095,4 |
1851,5 |
2229,8 |
2067,7 |
2353,1 |
|
|
60 |
65 |
70 |
75 |
80 |
85 |
90 |
|||||||||||
|
15БТ1 |
16,3 |
64,0 |
144,7 |
483,1 |
156,7 |
502,3 |
168,4 |
518,3 |
179,8 |
530,6 |
190,7 |
539,3 |
201,4 |
544,2 |
211,8 |
545,2 |
|
|
20БТ1 |
23,6 |
73,3 |
262,1 |
684,3 |
284,2 |
711,7 |
305,6 |
734,3 |
326,3 |
751,9 |
346,2 |
764,3 |
365,3 |
771,5 |
383,6 |
773,2 |
|
|
25БТ1 |
36,0 |
89,1 |
469,9 |
921,6 |
511,3 |
957,1 |
551,8 |
986,5 |
591,4 |
1009,4 |
630,0 |
1025,7 |
667,6 |
1035,1 |
704,4 |
1037,4 |
|
|
30БТ1 |
51,5 |
108,9 |
759,2 |
1178,3 |
828,2 |
1222,4 |
896,4 |
1259,0 |
963,6 |
1287,7 |
1029,8 |
1308,0 |
1095,2 |
1319,8 |
1160,1 |
1322,9- |
|
|
35БТ1 |
63,5 |
124,1 |
1019,2 |
1451,2 |
1113,3 |
1506,0 |
1206,5 |
1551,6 |
1298,4 |
1587,4 |
1389,1 |
1612,9 |
1478,7 |
1627,8 |
1568,1 |
1632,0 |
|
|
40БТ1 |
77,4 |
141,8 |
1347,4 |
1737,9 |
1470,7 |
1805,7 |
1591,9 |
1862,0 |
1710,6 |
1906,2 |
1826,5 |
1937,9 |
1940,0 |
1956,5 |
2051,6 |
1962,0 |
|
|
45БТ1 |
96,3 |
166,2 |
1814,5 |
2109,2 |
1986,9 |
2189,5 |
2158,3 |
2256,3 |
2328,1 |
2309,0 |
2496,5 |
2346,8 |
2664,1 |
2369,2 |
2832,4 |
2376,г |
|
|
50БТ1 |
113,0 |
188,2 |
2284,1 |
2463,3 |
2499,3 |
2558,8 |
2712,3 |
2638,4 |
2922,2 |
2701,1 |
3129,1 |
2746,2 |
3333,5 |
2773,2 |
3536,9 |
2781,& |
|
Таблица 10
Характеристики сечений ребер относительно оси υ при t = 14 мм
|
Профиль |
Масса ребра без обшивки, кг/м |
А, см2 |
α, град. |
||||||||||||||
|
25 |
30 |
35 |
40 |
45 |
50 |
55 |
|||||||||||
|
W1, см2 |
W2, см2 |
W1, см2 |
W2, см2 |
W1, см2 |
W2, см2 |
W1, см2 |
W2, см2 |
W1, см2 |
W2, см2 |
W1, см2 |
W2, см2 |
W1, см2 |
W2, см2 |
||||
|
|
15БТ1 |
16,3 |
79,6 |
64,4 |
344,0 |
75,8 |
387,0 |
87,8 |
430,0 |
100,2 |
472,0 |
112,7 |
511,9 |
125,4 |
549,1 |
137,9 |
583,0 |
|
20БТ1 |
23,6 |
88,9 |
112,3 |
496,6 |
133,8 |
558,4 |
156,5 |
620,1 |
179,8 |
680,1 |
203,4 |
737,0 |
227,0 |
790,0 |
250,4 |
838,1 |
|
|
25БТ1 |
36,0 |
104,7 |
198,2 |
696,8 |
237,1 |
774,6 |
278,2 |
853,2 |
320,8 |
929,9 |
364,2 |
1003,1 |
407,8 |
1071,2 |
451,3 |
1133,3 |
|
|
30БТ1 |
51,5 |
124,5 |
318,6 |
912,6 |
381,5 |
1005,4 |
448,3 |
1100,3 |
508,0 |
1193,8 |
589,3 |
1283,4 |
661,3 |
1367,1 |
733,4 |
1443,5 |
|
|
35БТ1 |
63,5 |
139,7 |
421,1 |
1109,6 |
506,5 |
1222,7 |
597,4 |
1338,7 |
612,2 |
1453,0 |
789,4 |
1562,5 |
887,7 |
1664,9 |
986,2 |
1758,4 |
|
|
40БТ1 |
77,4 |
157,4 |
549,2 |
1286,5 |
665,0 |
1427,3 |
787,8 |
1570,3 |
915,2 |
1710,3 |
1045,3 |
1844,0 |
1176,4 |
1968,8 |
1307,1 |
2082,5 |
|
|
45БТ1 |
96,3 |
181,8 |
733,4 |
1583,2 |
887,1 |
1741,6 |
1051,3 |
1905,1 |
1223,1 |
2066,7 |
1399,8 |
2221,8 |
1579,2 |
2367,0 |
1759,4 |
2500,0 |
|
|
50БТ1 |
113,0 |
203,8 |
917,2 |
1807,8 |
1113,2 |
1995,9 |
1322,3 |
2189,0 |
1540,4 |
2379,3 |
1764,2 |
2561,7 |
1990,8 |
2732,2 |
2217,9 |
2888,1 |
|
|
60 |
65 |
70 |
75 |
80 |
85 |
90 |
|||||||||||
|
15БТ1 |
16,3 |
79,6 |
150,3 |
613,0 |
162,3 |
638,9 |
174,0 |
660,3 |
185,3 |
676,8 |
196,1 |
688,4 |
206,4 |
694,9 |
216,3 |
696,3 |
|
|
20БТ1 |
23,6 |
88,9 |
273,3 |
880,8 |
295,5 |
917,6 |
316,9 |
947,9 |
337,4 |
971,5 |
356,9 |
988,2 |
375,3 |
997,6 |
392,7 |
999,9 |
|
|
25БТ1 |
36,0 |
104,7 |
494,1 |
1188,5 |
536,0 |
1236,0 |
576,6 |
1275,3 |
615,8 |
1305,9 |
653,5 |
1327,6 |
689,6 |
1340,0 |
724,3 |
1343,0 |
|
|
30БТ1 |
51,5 |
124,5 |
804,1 |
1511,5 |
875,2 |
1570,2 |
943,9 |
1618,8 |
1010,7 |
1656,7 |
1075,5 |
1683,6 |
1133,3 |
1699,1 |
1199,4 |
1703,1 |
|
|
35БТ1 |
63,5 |
139,7 |
1083,9 |
1841,6 |
1180,2 |
1913,5 |
1274,4 |
1973,1 |
1366,2 |
2019,7 |
1455,3 |
2052,9 |
1541,9 |
2072,1 |
1626,4 |
2077,3 |
|
|
40БТ1 |
77,4 |
157,4 |
1436,2 |
2183,7 |
1562,7 |
2271,0 |
1685,7 |
2343,4 |
1804,7 |
2400,1 |
1919,3 |
2440,5 |
2029,4 |
2464,2 |
2135,5 |
2470,9 |
|
|
45БТ1 |
96,3 |
181,8 |
1939,0 |
2618,3 |
2116,4 |
2720,7 |
2290,8 |
2805,9 |
2461,6 |
2872,6 |
2628,4 |
2920,4 |
2791,5 |
2948,5 |
2951,9 |
2956,8 |
|
|
50БТ1 |
113,0 |
203,8 |
2443,3 |
3027,1 |
2665,5 |
3177,2 |
2883,0 |
3247,1 |
3094,8 |
3325,6 |
3300,8 |
3381,7 |
3500,8 |
3415,1 |
3695,9 |
3425,2 |
|
ЗОНЫ ИЗНОСА ВНУТРЕННИХ ПОВЕРХНОСТЕЙ БУНКЕРОВ РАСПРОСТРАНЕННЫХ В ПРОМЫШЛЕННОСТИ ФОРМ (СМ. НА РИС. 1 - 11 ПРИЛ. 7)
Рис. 1. Приемные бункера для весьма абразивных сыпучих материалов фракции 1500-0 и 900-0

Рис. 2. Приемные бункера для весьма абразивных сыпучих материалов фракции 300-0

Рис. 3. Бункер ящичного типа для весьма абразивных сыпучих материалов фракции 300-0 (загрузка автостеллами)

Рис. 4. Бункер ящичного типа для весьма абразивных сыпучих материалов фракции 300-0 (загрузка транспортерами)

Рис. 5. Бункер ящичного типа для сыпучих материалов фракций 25-0

Рис. 6. Бункер параболический для весьма абразивных сыпучих материалов фракций 25-0

Рис. 7. Узлы перегрузки сыпучих материалов фракции 100-0 и 25-0
а - лоток; б, в, г - короб; д - воронка

Рис. 8. Воронки под бункерами весьма абразивных сыпучих материалов
а, б - фракции 25-0; в, г - фракции 300 - 0

Рис. 9. Бункер для концентрата, бентонита, известняка и других сыпучих материалов фракции 0,05-0

Рис. 10. Бункер для шахты фракции 0,05-0
Рис. 11. Узлы перегрузок концентрата, известняка, бентонита, шихты и других сыпучих материалов фракции 0,05-0
а - воронка; б - наклонный желоб; в - короб на подвесках; 1 - каркас из уголка; 2 - транспортерная лента; 3 - металлический стержень; 4 - рама из уголков; 5 - резина листовая
ПРИМЕР ОПРЕДЕЛЕНИЯ ТОЛЩИНЫ РЕЗИНОВОЙ ЗАЩИТЫ ПО НОМОГРАММЕ
На номограмме (см. рисунок прил. 8) приведен пример определения толщины резиновой защиты, обеспечивающей минимальную величину износа, для следующих условий: вес куска сыпучего Р = 10 кг; радиус выступов R = 1 см; модуль упругости резины E = 80 кгс/см2, скорость сыпучего в момент, предшествующий соударению с защитой, υ = 20 м/с.
Через фиксированную точку А и значение Р = 10 кг на правой шкале проводят линию 1 и фиксируют точку ее пересечения со вспомогательной шкалой Р, через эту точку и точку, соответствующую значению R = 1 см, на правой шкале проводят линию 2 и фиксируют точку ее пересечения со вспомогательной шкалой R. Через эту точку и точку, соответствующую значению E = 80 кг/см2, на правой шкале проводят прямую 3 и фиксируют точку ее пересечения со вспомогательной шкалой E.
Полученную точку на вспомогательной шкале E соединяют прямой с точкой, соответствующей значению υ = 20 м/с на правой шкале, и фиксируют точку пересечения этой прямой со вспомогательной шкалой υ. Через эту точку и точку со значением 1 на правой шкале проводят линию и на ее пересечении с левой шкалой δ1 отсчитывают толщину резиновой защиты, обеспечивающую минимальную величину износа.
В примере, приведенном на номограмме, см. рисунок, эта величина составляет 6 см.

Номограмма для определения толщины защиты резины
СОСТАВЫ ДЛЯ ПОДСТИЛАЮЩИХ СЛОЕВ И ШВОВ (КРЕПЛЕНИЕ ШТУЧНЫХ НЕМЕТАЛЛИЧЕСКИХ МАТЕРИАЛОВ ЗАЩИТЫ ИЗ СИТАЛЛА, КАМЕННОГО ЛИТЬЯ, БЕТОНА И ДР.)
Растворы:
цементно-песчаный не ниже М300 на основе портландцемента при соотношении цемент:песок не ниже 1:2,5;
полимерцементный - то же, с добавкой до 10 % латекса бутидиилстирольного каучука СКС-65ГП; до 2 % водорастворимой смолы «водамин-115»;
расширяющийся раствор (для швов).
Для растворов используются:
портландцемент М400 и выше, кварцевый песок при соотношении 1:3 (по весу); В/Ц = 0,4; химические добавки, % от веса цемента: сульфат алюминия - 2; нитрит натрия - 2.
Полиуретановые мастики
УРП-72с (в частях по массе): полиэфир «Лапрол» 5003-2-610 - 100; 1,4 бутиленгликоль - 21; цеолит - 12; октоат олова - 0,05; этилсиликат-32 - 8; маршалит - 51; полиизоцианат марки «Б» - 71.
УРП-213с (в частях по массе): трициклокарбонат полиэфира ППТ-750 - 100; аминоаддукт УП-0617 - 62; кремнийорганический эфир АГМ-9 - 1,5; маршалит - 188.
Кислотоупорная замазка (в частях по массе):
каменный порошок (диабазовая мука, базальтовый порошок) - 100;
кремнефтористый натрий - 6;
жидкое стекло (плотность 1,4) - 34.
УДЕЛЬНАЯ ГЛУБИНА ИЗНОСА НЕКОТОРЫХ МАТЕРИАЛОВ ЗАЩИТЫ*
|
Наименование материала |
Предел прочности при сжатии, кгс/см2 |
В бункерах для сыпучего крупностью, мм |
|||||||||
|
100 |
50 - 100 |
25 - 50 |
13 - 25 |
13 - 100 |
|||||||
|
Удельный износ, мм/т×106 |
|||||||||||
|
Δhy |
Δhu |
Δhy |
Δhu |
Δhy |
Δhu |
Δhy |
Δhu |
Δhy |
Δhu |
||
|
Плитки из ситалла |
- |
19,5 |
0,3 |
11 |
0,3 |
4,1 |
0,33 |
3,3 |
0,38 |
4,8 |
0,34 |
|
Плитки из каменного литья |
- |
3,2 |
0,1 |
4,5 |
0,1 |
2,2 |
0,11 |
1,4 |
0,13 |
2,3 |
0,11 |
|
Плитки керамические |
- |
60 |
0,9 |
34 |
0,9 |
14 |
1 |
10 |
1,1 |
16 |
0,91 |
|
Кирпич глиняный |
100 |
340 |
5 |
190 |
5 |
78 |
5,5 |
60 |
6,4 |
88 |
5,3 |
|
150 |
306 |
4 |
170 |
4 |
69 |
4,4 |
53 |
6 |
80 |
4,9 |
|
|
Металлоцемент |
400 |
80 |
1,2 |
44 |
1,2 |
18 |
1,2 |
14 |
1,5 |
21 |
1,25 |
|
Цементный раствор |
100 |
1040 |
13,2 |
560 |
14 |
32 |
15 |
182 |
15,5 |
270 |
15 |
|
150 |
750 |
11 |
410 |
12 |
175 |
12,8 |
130 |
13 |
185 |
13 |
|
|
200 |
510 |
10,1 |
290 |
10,8 |
106 |
11 |
96 |
11,2 |
125 |
11,4 |
|
|
Бетон |
300 |
164 |
2,5 |
92 |
2,5 |
37 |
2,7 |
2,9 |
3,1 |
43 |
2,8 |
|
» |
400 |
125 |
1,8 |
68 |
1,8 |
27 |
2 |
2,2 |
2,3 |
32 |
2 |
|
Сталь (Ст3) |
- |
15 |
0,8 |
7 |
0,8 |
3 |
0,9 |
2,5 |
0,8 |
5 |
0,9 |
______________
* Приведенные данные соответствуют градации крупности сыпучего, принятой в угольной промышленности.
ФИЗИКО-МЕХАНИЧЕСКИЕ СВОЙСТВА ПОЛИМЕРНЫХ МАТЕРИАЛОВ
|
Листовые пластмассы и резина |
Марка, ТУ, ГОСТ, тип и др. |
Предел прочности на срез, кгс/см2 |
Предел текучести при растяжении, кгс/см2 |
Теплостойкость по Вика, °С |
Стойкость к химической среде1 |
Модуль упругости, кгс/см2 |
Твердость по Бринеллю, кгс/см2 |
Плотность, г/см3 |
Ударный износ2 г |
|||||
|
кислоты |
щелочи |
бензин |
минеральное масло |
при растяжении |
при изгибе |
|||||||||
|
минеральная |
органическая |
|||||||||||||
|
Полиэтилен высокого давления |
ПЭВД, ГОСТ 16337-77 |
- |
95 - 120 |
- |
С |
С |
С |
ОС |
С |
- |
900 - 2300 |
1,7 - 2,3 |
0,922 - 0,924 |
- |
|
Полиэтилен низкого давления высокопрочный |
ПЭНД, ТУ 6-05-1721-75 |
250 - 290 |
230 - 260 |
129 - 134 |
С |
С |
С |
ОС |
С |
- |
6500 - 7500 |
4,9-5,3 |
0,951 - 0,953 |
0,19 |
|
Модифицированный полиэтилен низкого давления высокопрочный |
МОПЭНД, ТУ 6-05-1721-75 |
155 - 220 |
120 - 122 |
С |
С |
С |
ОС |
С |
5500 - 6500 |
- |
4 - 4,5 |
0,937 - 0,945 |
0,11 |
|
|
Полипропилен |
ПП, ТУ 6-05-1105-78 |
- |
280 - 350 |
130 - 140 |
С |
С |
С |
С |
С |
11000 - 13500 |
- |
- |
0,91 |
- |
|
Полистирол ударопрочный |
УПМ-0703Э, ОСТ 6-05-406-80 |
320 - 340 |
180 - 2503 |
80 - 95 |
С |
НС |
С |
НС |
ОС |
- |
- |
10 - 13 |
1,06 |
0,29 |
|
Винипласт |
ВП, ГОСТ 9639-71 |
490 - 510 |
500 - 550 |
70 - 85 |
- |
- |
- |
- |
- |
- |
- |
- |
1,38 |
- |
|
Асботекстолит |
ТУ 6-05-898-71 |
- |
- |
- |
- |
- |
- |
- |
- |
2800 - 4500 |
- |
1,3 - 1,7 |
- |
|
|
Резина кислото-щелочестойкая |
ТМКЩ, ГОСТ 7338-77 |
- |
35 - 454 |
-30 ÷ +506 |
С |
С |
С |
ОС |
ОС |
- |
- |
4 - 206 |
0,04 |
|
|
Пластины резиновые футеровочные (ребристые) |
ОФР-026-В7 ОФР-026-Г7 |
- |
- |
|||||||||||
______________
1 С - стойкий; ОС - относительно стойкий; НС - нестойкий.
2 По методике Харьковского Промстройниипроекта.
3 Разрушающее напряжение при растяжении.
4 Предел прочности при разрыве.
5 Температурные условия работы.
6 Твердость по ТШМ-2.
7 № чертежа завода-изготовителя (Курский завод резино-технических изделий).
НОМЕНКЛАТУРА ПЛИТ ИЗ СИТАЛЛА И КАМЕННОГО ЛИТЬЯ
|
Размер плит, мм |
Шифр или Ту |
Дополнительные сведения о размерах |
Завод-изготовитель |
||
|
длина |
ширина |
толщина |
|||
|
400 |
200 |
8 - 9 |
ГОСТ 19246-82 |
Листовой шлакоситалл белого цвета |
Константиновский завод «Автостекло» |
|
400 |
400 |
||||
|
500 |
500 |
||||
|
1000 |
500 |
||||
|
150 |
150 |
6 |
ТУ 21 УССР 160-78 |
Стеклянная плита облицовочная |
Константиновский завод им. Октябрьской революции |
|
250 |
250 |
17 |
ТУ 21 УССР 903-75 |
Плитка из шлакоситалла темно-серого цвета |
То же |
|
180 |
115 |
18 |
ТУ 21 УССР, ТУ 21 РСФСР 652-76 |
Плиты каменного литья |
Донецкий комбинат камнелитых и керамических изделий |
|
250 |
180 |
30 |
Кондопожский завод камнелитых изделий и минерального сырья |
||
|
60 |
|||||
|
250 |
250 |
35, 40 |
ТУ 21 УССР |
Плиты трапециевидной и прямоугольной форм (в плане) с отверстиями и без них в пределах основных размеров плит |
Донецкий комбинат камнелитых и керамических изделий |
|
- |
- |
30 |
ТУ 14-12-115-76 |
Могут изготовляться с отверстиями |
Первоуральский завод по ремонту горного оборудования |
|
300 |
250 |
30 |
Криворожский завод «Ремгормаш» |
||
|
300 |
250 |
30 |
Запорожское специализированное управление № 2 |
||
|
300 |
300 |
30 |
Первоуральский завод по ремонту горного оборудования |
||
|
300 |
300 |
40 |
Московский камнеобрабатывающий комбинат |
||
|
350 |
350 |
30 |
То же |
||
|
360 |
360 |
40 |
ТУ 21 УССР |
Возможно изготовление плит с отверстием d2 не более 65 мм, d1 не менее 23 мм |
Донецкий комбинат камнелитых и керамических изделий |
|
400 |
400 |
30 |
ТУ 14-12-115-76 |
Могут изготовляться с отверстиями |
Первоуральский завод по ремонту горного оборудования |
|
500 |
300 |
35 |
Криворожский завод «Ремгормаш» |
||
|
500 |
400 |
35 |
То же |
||
|
500 |
500 |
40 |
» |
||
|
600 |
400 |
50 |
Запорожское специализированное управление № 2 |
||
|
600 |
500 |
40 |
Криворожский завод «Ремгормаш» |
||
|
700 |
500 |
40 |
То же |
||
|
800 |
500 |
40 |
» |
||
|
1000 |
500 |
50 |
» |
||
ПРИМЕРЫ КОНСТРУКЦИЙ КАМНЕЛИТЫХ И ДРУГИХ ПЛИТ С ЗАКЛАДНЫМИ ДЕТАЛЯМИ
|
Эскиз плиты |
Эскиз металлической закладной детали |
Размеры, мм |
||||
|
a |
b |
c |
d1 |
d2 |
||
|
|
200 |
300 |
30 |
20 |
36 |
|
|
200 |
300 |
40 |
20 |
42 |
||
|
200 |
300 |
50 |
20 |
48 |
||
|
200 |
300 |
60 |
20 |
54 |
||
|
|
|
200 |
300 |
20 |
19 |
25 |
|
200 |
300 |
25 |
22 |
28 |
||
|
200 |
300 |
30 |
22 |
28 |
||
|
200 |
300 |
35 |
22 |
28 |
||
|
200 |
300 |
40 |
32 |
38 |
||
|
300 |
500 |
30 |
22 |
28 |
||
|
300 |
500 |
40 |
32 |
39 |
||
|
300 |
500 |
50 |
48 |
54 |
||
|
300 |
500 |
60 |
48 |
54 |
||
|
400 |
600 |
40 |
32 |
38 |
||
|
400 |
600 |
50 |
48 |
54 |
||
|
400 |
600 |
60 |
48 |
54 |
||
|
400 |
600 |
70 |
54 |
60 |
||
|
400 |
600 |
80 |
54 |
60 |
||
|
|
300 |
500 |
20 |
20 |
30 |
|
|
300 |
500 |
25 |
20 |
33 |
||
|
300 |
500 |
30 |
20 |
36 |
||
|
300 |
500 |
35 |
20 |
39 |
||
|
300 |
500 |
40 |
20 |
42 |
||
|
300 |
500 |
50 |
20 |
48 |
||
|
300 |
500 |
60 |
20 |
54 |
||
|
400 |
600 |
40 |
20 |
42 |
||
|
400 |
600 |
50 |
20 |
48 |
||
|
400 |
600 |
60 |
20 |
54 |
||
|
400 |
600 |
70 |
20 |
60 |
||
|
400 |
600 |
80 |
20 |
66 |
||
|
400 |
600 |
100 |
20 |
72 |
||
|
|
|
200 |
300 |
20 |
- |
|
|
200 |
300 |
30 |
- |
- |
||
|
200 |
300 |
40 |
- |
- |
||
|
300 |
500 |
30 |
- |
- |
||
|
300 |
500 |
40 |
- |
- |
||
|
300 |
500 |
50 |
- |
- |
||
|
300 |
500 |
60 |
- |
- |
||
|
400 |
600 |
40 |
- |
- |
||
|
400 |
600 |
50 |
- |
- |
||
|
400 |
600 |
60 |
- |
- |
||
|
400 |
600 |
70 |
- |
- |
||
|
400 |
600 |
80 |
- |
- |
||
|
400 |
600 |
100 |
- |
- |
||
|
|
|
300 |
500 |
30 |
- |
- |
|
300 |
500 |
40 |
- |
- |
||
|
300 |
500 |
50 |
|
|
||
|
300 |
500 |
60 |
- |
- |
||
|
400 |
600 |
40 |
- |
- |
||
|
400 |
600 |
50 |
- |
- |
||
|
400 |
600 |
60 |
- |
- |
||
|
|
300 |
500 |
40 |
- |
- |
|
|
400 |
600 |
50 |
- |
- |
||
|
500 |
700 |
50 |
- |
- |
||
|
600 |
800 |
50 |
- |
- |
||
|
400 |
600 |
60 |
- |
- |
||
|
400 |
600 |
70 |
- |
- |
||
|
400 |
600 |
80 |
- |
- |
||
|
400 |
600 |
90 |
- |
- |
||
СОДЕРЖАНИЕ