ЦЕНТРАЛЬНЫЙ НАУЧНО-ИССЛЕДОВАТЕЛЬСКИЙ
И ПРОЕКТНО-ЭКСПЕРИМЕНТАЛЬНЫЙ ИНСТИТУТ
ИНЖЕНЕРНОГО ОБОРУДОВАНИЯ
(ЦНИИЭП ИНЖЕНЕРНОГО ОБОРУДОВАНИЯ)
ГОСГРАЖДАНСТРОЯ

Рекомендации
по инженерному
оборудованию
сельских
населенных
пунктов

в 6-ти частях

Часть 3

КАНАЛИЗАЦИЯ

3-е издание, переработанное и дополненное


Москва Стройиздат 1984

Рекомендованы к изданию решением секции Научно-технического совета ЦНИИЭП инженерного оборудования Госгражданстроя.

Рассмотрены технические решения централизованных и местных систем канализации с учетом новых приемов планировки и застройки сельских населенных пунктов, новых типовых проектов и оборудования. Настоящие рекомендации переработаны и дополнены.

Для инженерно-технических работников проектных организаций, а также для руководящих работников сельского хозяйства.

Табл. 21, ил. 24.

ПРЕДИСЛОВИЕ

Общие положения и принципы проектирования, относящиеся ко всем системам инженерного оборудования сельских населенных пунктов, а также технико-экономическое обоснование проектных решений, некоторые вопросы, касающиеся комплексной эксплуатации, диспетчеризации, изложены в «Общей части».

В части 3 - Канализация - освещены вопросы по канализации сельских поселков.

Настоящие Рекомендации переработаны с учетом новых типовых и экспериментальных проектов очистных канализационных станций биологической и физико-химической очистки, установок доочистки пропускной способностью 100 - 1400 м3/сут, сооружений местной канализации пропускной способностью 0,5 - 12 м3/сут, насосных установок малой пропускной способности, а также данных о водоотведении и очистке сточных вод в условиях Севера, о новом оборудовании и трубах, применяемых при канализовании населенных пунктов.

С целью облегчения выбора оптимальных проектных решений при привязке типовых проектов большое внимание уделено децентрализованным системам канализации, часто применяемым в условиях сельской местности, особенно на первом этапе строительства населенных пунктов.

Настоящие Рекомендации разработаны ЦНИИЭП инженерного оборудования Госгражданстроя (главный специалист отдела канализации М.Н. Сирота, инженеры Р.Я. Кунина, Т.Ф. Марина, Л.С. Гольдман, А.Н. Лавров, И.Ш. Свердлов) совместно с Всесоюзным научно-исследовательским институтом по сельскохозяйственному использованию сточных вод ВНПО «Прогресс» Минводхоза СССР (канд. техн. наук В.М. Новиков, инженеры В.В. Игнатова, Н.А. Ковалева, И.П. Канардов).

1. ОСНОВНЫЕ ПОЛОЖЕНИЯ

1.1. Настоящие Рекомендации разработаны в соответствии с действующими Строительными нормами и другими нормативными материалами по проектированию и строительству систем канализации (см. часть 1).

1.2. При проектировании канализации населенного пункта должен быть решен весь комплекс важнейших вопросов, связанных с технико-экономическим обоснованием и выбором системы канализации, объемом работ, очередностью строительства.

1.3. При проектировании систем канализации сельских населенных пунктов необходимо предусматривать улучшение санитарно-гигиенических условий и защиту окружающей среды от загрязнений.

1.4. При расположении сельских населенных пунктов вблизи городов, а также в пригородных зонах больших и крупных городов проекты канализации следует разрабатывать в увязке с утвержденной документацией по канализации этих населенных пунктов.

1.5. На проектирование канализации населенного пункта заказчик выдает утвержденное задание, составленное с привлечением проектной организации (СН 202-81*).

2. СИСТЕМЫ И СХЕМЫ КАНАЛИЗАЦИИ

2.1. В условиях сельских населенных пунктов могут применяться следующие системы канализации:

централизованная - для одного или нескольких населенных пунктов, отдельных групп зданий и производственных зон;

децентрализованная (местная) - для отдельных объектов или небольших групп зданий;

в некоторых случаях целесообразно предусмотреть комбинированную систему канализации, охватывающую две зоны населенного пункта: с централизованной системой отведения и очистки воды (часто в центральной части поселка) и с децентрализованными установками для очистки, располагаемыми вблизи отдельных жилых и общественных зданий (как правило, на периферии поселка).

В каждом случае выбор системы канализации должен осуществляться с учетом местных условий и очередности строительства на основе технико-экономических расчетов.

При этом следует иметь в виду, что в перспективных поселках общественные центры и прилегающие к ним жилые секционированные дома обеспечиваются централизованными системами канализации, а населенные пункты, сохраняемые на расчетный срок и сселяемые, - децентрализованными системами.

Производственные зоны следует оборудовать централизованными системами канализации.

В проектах планировки и застройки жилой и производственной зон должны быть предусмотрены свободные от застройки участки для размещения очистных установок для каждого дома или группы домов в зависимости от конкретных условий строительства.

2.2. Децентрализованные системы канализации предназначены для удаления и обезвреживания небольших количеств сточных вод (0,5 - 6 м3/сут) и применяются в следующих случаях (кроме указанных в п. 2.1):

при отсутствии централизованной системы канализации в перспективном населенном пункте для объектов, которые должны быть канализованы в первую очередь (больницы, детские сады и ясли, школы, бани, здания административно-хозяйственного назначения, отдельные жилые дома и др.);

для отдельных зданий, когда присоединение их к централизованной системе экономически не оправдано.

2.3. Децентрализованная система канализации применяется при соответствующих геологических и гидрогеологических условиях, при наличии свободных площадей, пригодных для устройства местных сооружений, и отсутствии опасности загрязнения почвы и водоносных горизонтов, используемых для водоснабжения.

2.4. Централизованные системы канализации, как правило, предусматриваются для центральных усадеб совхозов и колхозов, имеющих развитый общественный центр и прилегающую к нему многоквартирную секционную и блокированную застройку.

2.5. Системы канализации могут быть объединенными или раздельными - для жилой и производственной зон.

Основными факторами, определяющими возможность объединения систем канализации, являются характер и концентрация загрязнений производственных стоков, благоприятные топографические и гидрогеологические условия.

Производственные сточные воды при необходимости должны проходить предварительную очистку перед объединением с бытовыми.

Выбор оптимального варианта определяется на основе технико-экономического сравнения.

2.6. Схемы и методы очистки сточных вод, а также расчетные параметры очистных сооружений должны приниматься в соответствии с главой СНиП по проектированию наружных сетей и сооружений канализации с учетом данных, приведенных в настоящих Рекомендациях.

2.7. Поселки обычно канализуются по неполной раздельной системе, при которой бытовые сточные воды отводятся закрытой сетью на очистные сооружения и далее к месту сброса, дождевые - по открытым лоткам или канавам в водоем.

2.8. Условия спуска сточных вод в водоемы определяются расчетом (см. Справочник проектировщика. Канализация населенных мест и промышленных предприятий. - М.; Стройиздат, 1981) в соответствии с требованиями Правил охраны поверхностных вод от загрязнений сточными водами (М., Минводхоз СССР, 1975) и согласовываются с органами санитарно-эпидемиологической службы, охраны рыбных запасов и органами по регулированию использования и охране вод.

3. НОРМЫ ВОДООТВЕДЕНИЯ, КОЭФФИЦИЕНТ НЕРАВНОМЕРНОСТИ. ОПРЕДЕЛЕНИЕ РАСЧЕТНЫХ РАСХОДОВ И ЗАГРЯЗНЕНИЙ СТОЧНЫХ ВОД

3.1. Сточные воды от поселков подразделяются на бытовые и производственные (от производственных зон), а загрязнения, содержащиеся в них, - фекальные, хозяйственные и производственные.

3.2. Концентрация загрязнений бытовых сточных вод от жилой зоны определяется в соответствии с нормами водоотведения и средним количеством загрязнений на одного жителя в сутки.

Нормы водоотведения при централизованной и децентрализованной системах в зависимости от степени благоустройства и санитарно-технического оборудования зданий приводятся в табл. 1.

Таблица 1

Степень благоустройства районов жилой застройки

Норма водоотведения на 1 жителя, л/сут

Застройка зданиями, оборудованными внутренним водопроводом и канализацией

125 - 160

То же, ваннами с местными водонагревателями

160 - 230

То же, системой централизованного горячего водоснабжения

230 - 350

Примечание. В приведенные нормы включены все расходы на хозяйственно-питьевые нужды в жилых и общественных зданиях населенного пункта.

Нормы водоотведения и коэффициенты часовой неравномерности притока от зданий специального назначения для учета сосредоточенных расходов сточных вод приводятся в табл. 2.

Таблица 2

Объект

Единица измерения

Норма водоотведения, л/сут

Коэффициент часовой неравномерности Кч

Общежития без душевых

1 житель/сут

50 - 75

2,5

Гостиницы и пансионаты с общими ваннами

то же

100 - 120

2,5

Больницы (с общими ваннами и душевыми)

1 койка/сут

250 - 300

2,5

Поликлиники и амбулатории

1 больной

15

2,5

Бани

1 посетитель

125 - 180

1

Прачечные

1 кг сухого белья

40

1

Предприятия общественного питания

1 блюдо

12

1,5

Дошкольные учреждения с пребыванием детей:

дневным

1 ребенок/сут

75

3

круглосуточным

то же

100

3

Школы-интернаты

1 учащийся/сут

200 - 220

1

Пионерские лагеря

то же

200 - 250

1

Административные здания

1 работающий

10 - 15

2

Кинотеатры

1 место

3 - 5

2

Клубы

то же

10

1,5

Обслуживающий персонал общественных зданий

1 чел/смену

25

2,5

3.3. Норму среднесуточного водоотведения в неканализованных районах следует определять из расчета 25 л/сут на одного жителя при сбросе в канализацию сточных вод сливными станциями и коммунально-бытовыми предприятиями (бани, прачечные и др.).

Количество сточных вод от предприятий местной промышленности, а также неучтенные расходы допускается принимать дополнительно в размере 5 - 10 % суммарного количества сточной воды населенного пункта.

Количество сточных вод от производственных объектов (фермы, мастерские и др.) определяется по соответствующим проектам, при этом не допускается сброс навозной жижи в бытовую канализацию, а сточные воды от мытья машин и механизмов должны очищаться на локальных установках и использоваться вторично.

3.4. Колебания расхода сточных вод учитываются коэффициентами суточной и часовой неравномерности водоотведения.

Отношение максимальных расходов (суточного или часового) к среднему дает коэффициенты неравномерности соответственно Ксут и Кч.

Общий или расчетный коэффициент неравномерности Кобщ = КсутКч.

Ниже приведены значения общего коэффициента неравномерности притока сточных вод от жилых зданий.

средний расход сточных вод, л/с     До 5           15          30           50          100

Кобщ                                                      3                 2,5         2             1,8         1,6

Примечание. При промежуточных значениях среднего расхода сточных вод Кобщ притока следует определять интерполяцией. Расчетные расходы, полученные в соответствии с пп. 3.2 - 3.4, суммируются.

3.5. Основными критериями загрязненности бытовых сточных вод органическими веществами являются содержание взвешенных веществ и биохимическая потребность в кислороде, выражаемые в граммах на 1 м3 сточной жидкости (или в миллиграммах на литр), а также в граммах на одного жителя в сутки.

3.6. Для определения концентрации загрязнений в бытовых сточных водах количество загрязнений на одного жителя следует принимать по табл. 3.

Таблица 3

Ингредиент

Количество загрязнений на одного жителя, г/сут

Взвешенные вещества

65

БПК5 неосветленной жидкости

54

    »       осветленной           »

35

БПКполн неосветленной жидкости

75

    »             осветленной            »

40

Азот аммонийных солей (N)

8

Фосфаты (Р2О5)

3,3

В том числе от моющих веществ

1,6

Хлориды (Cl)

9

Поверхностно-активные вещества (ПАВ)

2,5

Примечание. Загрязнения в бытовых сточных водах неканализованных районов составляют 33 % от указанных в табл. 3.

3.7. Для определения суммарных величин основных загрязнений, а также их концентрации в сточных водах может быть использован приведенный ниже расчет.

Пример. В канализацию поступают сточные воды жилых зданий с различной степенью благоустройства (табл. 1), в зависимости от которой принимают соответствующие нормы водоотведения.

Население, чел.

Норма водоотведения, л/чел, в сутки

300…….

275

200…….

180

400…….

20

Кроме того, в канализацию отводятся производственные сточные воды птицефермы в количестве 30 м3/сут с концентрацией загрязнений по взвешенным веществам 510, а по БПК5 - 400 мг/л.

Общее количество загрязнений:

по взвешенным веществам

65(300 + 200 + 400/3)/1000 + 510 ∙ 30/1000 = 41,2 + 15,3 = 56,5 кг/сут;

по БПК5

54(300 + 200 + 400/3)/1000 + 400 ∙ 30/1000 = 34,2 + 12 = 46,2 кг/сут.

Общее количество сточных вод:

0,275 ∙ 300 + 0,18 ∙ 200 + 0,02 ∙ 400 + 30 = 156,5 м3/сут.

Концентрация загрязнений в общем стоке:

по взвешенным веществам

56,5 ∙ 1000/156 = 362 г/м3 (мг/л);

по БПК5

46,1 ∙ 1000/156 = 295 г/м3 (мг/л).

4. ТЕХНИКО-ЭКОНОМИЧЕСКИЕ ПРЕДПОСЫЛКИ ВЫБОРА СИСТЕМЫ КАНАЛИЗАЦИИ

4.1. Технико-экономическое обоснование выбранного варианта производится на основании сравнения вариантов проектных решений по методу приведенных затрат (см. часть 1 настоящих Рекомендаций), исчисляемых по формуле

                                              (1)

где  - приведенные затраты по всем элементам системы канализации, тыс. руб./год;

Ен - нормативный коэффициент экономической эффективности, принимаемый равным 0,12;

 - сумма капитальных вложений по всем элементам системы, тыс. руб. (К - определяется по сметам);

i - количество элементов системы;

 - текущие издержки по элементам системы канализации, включающие отчисления на реновацию и капитальный ремонт (амортизацию), текущий ремонт, заработную плату основного производственного персонала с отчислениями соцстраху; выработку теплоты, расход топлива, электроэнергии, воды, реагентов, тыс. руб./год.

4.2. Для более точного определения стоимости строительства централизованных систем канализации поселков могут быть использованы ориентировочные укрупненные удельные капитальные затраты, приведенные в табл. 4, которые получены на основе обобщения данных для поселков с различной численностью населения.

Таблица 4

Жилая зона с населением, чел

Средняя норма водоотведения, л/чел. в сутки

Расход сточных вод, м3/сут

Удельные капитальные затраты на 1 жителя, руб.

на сети и насосные станции

на очистные сооружения

всего

Малая

до 500

220

110

100

150

250

до 1000

230

230

105

130

235

Средняя

1000 - 2000

250

500

110

110

220

Большая

2000 - 5000

250

1250

120

85

205

Крупная

Св. 5000

250

1500

130

50

180

Примечание. Укрупненные показатели составлены для II климатической зоны с расчетной зимней температурой наружного воздуха -30 °С для сухих грунтов и при сейсмичности не выше 6 баллов.

4.3. Для более точного определения капитальных затрат на строительство сетей на стадии разработки проекта в прил. 1 приведены укрупненные показатели стоимости прокладки 1 км самотечных сетей и напорных трубопроводов.

4.4. В прил. 2 приведены показатели стоимости строительства сооружений для биологической очистки сточных вод.

4.5. Ориентировочная удельная стоимость строительства местных систем канализации (на одного жителя) приведена в разд. 9 настоящих Рекомендаций.

4.6. Эксплуатационные расходы по системе канализации складываются из следующих статей затрат: амортизационные отчисления, заработная плата обслуживающего персонала с начислениями, стоимость энергоресурсов (электроэнергия и топливо) и текущего ремонта, прочие расходы.

4.7. Размеры амортизационных отчислений по элементам систем канализации приведены в прил. 3.

4.8. Анализ технико-экономических показателей систем канализации ряда поселков с различным характером застройки, очередностью строительства, грунтовыми и климатическими условиями показывает, что строительство местных систем канализации предпочтительно при следующих условиях:

низкая концентрация канализуемой застройки (плотность населения до 20 - 30 чел/га);

относительно низкий уровень благоустройства жилого фонда: норма водоотведения до 100 л/чел. в сутки;

наличие отдельных объектов первоочередного строительства (детские сады, школы, больницы и т.д.), в особенности при расположении их на значительном расстоянии друг от друга и отсутствии в поселке компактного общественного центра;

необходимость благоустройства жилых домов усадебного типа, находящихся на периферии поселка;

отсутствие достаточных средств и мощностей для строительства системы централизованной канализации в нормативные сроки (1,5 - 2 года).

Важным фактором, определяющим экономичность местных систем с сооружениями подземной фильтрации, являются грунтовые и гидрогеологические условия строительства. При строительстве в песчаных и супесчаных грунтах стоимость местных систем на 30 - 40 % ниже, чем в суглинках и глинах.

5. КАНАЛИЗАЦИОННЫЕ СЕТИ И КОЛЛЕКТОРЫ

Трассировка сетей и коллекторов

5.1. Трассировка сетей и коллекторов должна производиться с учетом рельефа местности и мест расположения очистных сооружений, а также возможности максимального охвата канализуемой территории самотечными линиями при наименьших глубинах заложения.

5.2. Сети и коллекторы должны трассироваться, как правило, вне проезжей части при соблюдении нормативных расстояний от фундаментов зданий и сооружений, автомобильных и железных дорог, деревьев и подземных инженерных сетей согласно главе СНиП по проектированию генеральных планов промышленных предприятий.

Углы поворота трассы канализационного трубопровода, а также углы между присоединениями и основными трубопроводами должны быть не менее 90°. Присоединения под любым углом допускают перепады в виде стояков.

Трубопроводы

5.3. Диаметры и уклоны самотечных сетей следует определять в зависимости от расхода и скорости движения сточной воды, наполнения и материала трубопровода.

5.4. При определении диаметра самотечной сети по величине расчетного секундного расхода и скорости движения стоков, а также наполнения трубопроводов следует пользоваться данными табл. 5.

Таблица 5

Условный диаметр труб Ду, мм

Расчетное наполнение трубопроводов, h/d

Наименьшая скорость движения жидкости, м/с

Уклон

минимальный

нормальный

150

≤ 0,6

0,007

0,008 - 0,01

200

0,7

0,005 - 0,004

0,006

250

0,003

0,005

300

≤ 0,7

0,003

0,004

350

0,8

0,0025

0,004

400

0,002

0,003

5.5. Диаметры самотечных сетей рекомендуется определять по таблицам для гидравлического расчета (Н.Ф. Федоров, Л.Е. Волков. Гидравлический расчет канализационных сетей. - Л.: Стройиздат, 1970 г.).

5.6. Наибольшие расчетные скорости движения жидкости не должны превышать для металлических труб 8 м/с; для неметаллических - 4 м/с.

5.7. Диаметры и уклоны труб принимают с таким расчетом, чтобы скорость движения воды не уменьшалась. При значениях скорости, выше приведенной в п. 5.6, следует предусмотреть перепадный колодец с выходом трубы при меньших уклоне и скорости.

При изменении уклона трубопровода с меньшего на больший для труб диаметром 250 мм и более допускается принимать меньший диаметр; при этом для труб диаметром до 300 мм разница не должна превышать одного размера по сортаменту. В этом случае трубопроводы должны соединяться по лоткам труб.

5.8. Для самотечных сетей централизованных и местных систем диаметром 50 - 400 мм могут применяться пластмассовые, асбестоцементные, керамические и бетонные трубы, а при диаметре 400 мм также и железобетонные (см. прил. 4).

Для напорных трубопроводов рекомендуется, как правило, асбестоцементные водопроводные трубы с муфтами. Металлические трубы (чугунные и стальные) допускается применять при соответствующем технико-экономическом обосновании.

Пластмассовые трубы диаметром до 200 мм целесообразно использовать для напорных трубопроводов и по возможности для самотечных сетей.

Выбор типа труб должен определяться технико-экономическими расчетами с учетом условий строительства и поставок заводов-изготовителей. При этом применение стальных труб допускается только с разрешения Госстроя союзной республики, получаемого проектной организацией в установленном порядке.

5.9. Глубина заложения труб должна диктоваться условиями присоединения канализуемых объектов и глубиной промерзания грунтов. Необходимо учитывать зависимость максимальной глубины заложения (при соответствующих технико-экономических обоснованиях) от способа механизации земляных работ.

Минимальная глубина заложения лотка должна приниматься на 0,3 м меньше максимальной глубины промерзания грунта, но не менее 0,7 м до верха трубы на замощенных и 1 м на незамещенных проездах, считая от планировочных отметок. При меньшей глубине заложения трубопроводов необходимы мероприятия по предохранению труб от механических повреждений и замерзания.

Колодцы

5.10. Смотровые колодцы на самотечных сетях устраивают в местах присоединений и изменения диаметров и уклонов трубопроводов, на прямых участках на расстоянии не более 35 м при d = 150 мм и не более 50 м при d = 200 мм и выше, на дворовых и внутриквартальных выпусках (контрольные колодцы).

5.11. Поворотные колодцы располагают в местах изменения направления трассы.

5.12. Колодцы на напорных трубопроводах устраивают при необходимости установки задвижек, вантузов, выпусков, компенсаторов и другой арматуры.

5.13. Колодцы обычно бывают круглые в плане. В зависимости от местных условий они выполняются из железобетонных колец, кирпича или бетона по действующему типовому проекту.

5.14. Перепадные колодцы следует устраивать в виде стенок-растекателей, размещаемых внутри колодца.

5.15. Вентиляция канализационной сети осуществляется через стояки внутренней канализационной сети зданий.

5.16. В начальных участках сети при малых расходах сточных вод возможны засоры. Для их нормальной работы предусматриваются колодцы-емкости (промывные колодцы).

Объем колодца должен быть достаточным для пропуска сточных вод со скоростью не ниже минимальной (см. табл. 5) по всей длине участка сети. Колодец наполняется от водопровода через поливочные или пожарные краны или от специальных автомашин.

Колодцы оборудуются запорными устройствами на отводящем трубопроводе.

Дюкеры

5.17. Камеры дюкеров выполняются по действующему типовому проекту.

5.18. При пересечении водоемов или суходолов трубопроводами допускается устройство дюкеров, если скорость сточной воды при пропуске максимального расхода составляет не менее 1 м/с. Минимальный диаметр дюкеров следует принимать 150 мм. Дюкеры рекомендуется устраивать в две нитки из стальных труб с усиленной антикоррозийной изоляцией, защищенной от механических повреждений.

Заложение подводной части дюкера целесообразно производить на глубину не менее 0,5 м от уровня возможного размыва или от проектных отметок дна реки.

Расстояние между нитками дюкера в свету должно быть не менее 0,7 м.

5.19. Во входной и выходной камерах дюкера, а также на аварийном выпуске следует предусматривать задвижки.

Устройство и использование аварийных выпусков допускается по согласованию с местными органами санитарного надзора. На задвижках аварийных выпусков должны быть предусмотрены устройства для их опечатывания.

Отметки планировки у камер дюкера при расположении их в пойменной части реки должны приниматься на 0,5 м выше горизонта высоких вод 3 %-ной обеспеченности.

6. НАСОСНЫЕ СТАНЦИИ

6.1. Строить насосные станции для перекачки сточных вод рекомендуется по действующим типовым проектам.

6.2. Требуемая пропускная способность насосов определяется с учетом режима притока сточных вод к насосной станции, вместимости приемного резервуара и числа включений насосов в один час.

6.3. Требуемый напор насосов Н определяется по формуле

H = Δz + hнс + 1,15hтр + hизл,                                                 (2)

где Δz - геометрическая разность отметок уровня, на который производится подъем сточной жидкости, и среднего уровня воды в приемном резервуаре насосной станции;

hнс - потери напора в трубопроводах насосной станции, которые следует принимать равными 1,5 - 2 м;

1,15hтр - потери напора в напорном трубопроводе (с учетом 15 % потерь на местные сопротивления);

hизл - свободный напор на излив, принимаемый равным 1 м.

6.4. Для подъема сточных вод рекомендуется использовать центробежные насосы, погружные и пневматические установки. Резервуары для приема сточных вод могут быть отдельно стоящими или размешаться в блоке с насосной установкой. При отдельно стоящем резервуаре допускается размещение насосов и компрессоров в специально отведенных помещениях производственных зданий.

Работа насосных станций должна быть автоматизирована

6.5. Санитарный разрыв между зданиями насосных станций и жилыми кварталами или пищевыми предприятиями должен быть следующий: для станций пропускной способностью до 200 м3/сут - не менее 15 м; от 200 до 5000 м3/сут - не менее 20 м. На территории насосных станций следует предусматривать защитные зеленые насаждения.

6.6. Перед насосными станциями необходимо устраивать аварийные выпуски в лощину или водоем. Их расположение должно быть согласовано с местным Советом, районной санитарно-эпидемиологической станцией, бассейновой инспекцией Минводхоза и органами охраны природы.

Рис. 1. Канализационные насосные станции

а - по типовому проекту 902-1-53; б - по типовому проекту 902-1-46; 1 - подводящий коллектор; 2 - напорные трубопроводы Ду = 80 мм; 3 - насосная; 4 - шкаф управления

6.7. Напорные водоводы от насосных станций, как правило, укладываются в две рабочие нитки. Для бесперебойной работы насосная станция должна быть обеспечена электроэнергией по двум самостоятельным фидерам:

от двух независимых источников питания;

от одного источника при наличии на станции резервного оборудования или резервных трансформаторов на подстанции.

6.8. Из выпускаемых в настоящее время промышленностью фекальных насосов для канализации малых населенных пунктов обычно используются насосы марок ФГ, НЦС, 2,5 ЭЦК и ЦМК, имеющие наименьшую производительность (прил. 5).

6.9. Основные показатели насосных станций с центробежными и погружными насосами приведены в прил. 6, примеры компоновок на рис. 1. Применение погружных моноблочных насосов в камерах типа канализационных колодцев позволяет отказаться от строительства наземной части насосных станций.

7. СООРУЖЕНИЯ ЦЕНТРАЛИЗОВАННЫХ СИСТЕМ

Очистные сооружения

7.1. При канализовании поселка для биологической очистки сточных вод могут быть применены как сооружения естественной биологической очистки (поля фильтрации, поля орошения, биологические пруды), так и искусственной (аэротенки различных типов, циркуляционные окислительные каналы, биофильтры различных типов).

Во всех случаях следует отдавать предпочтение естественным методам очистки, сооружения искусственной очистки следует применять при соответствующем технико-экономическом обосновании.

7.2. Для удобрения и орошения сельскохозяйственных пахотных земель (земледельческие поля орошения совхозов, колхозов, подсобных хозяйств и государственный земельный фонд) и пастбищ используются бытовые сточные воды после их полной биологической очистки.

7.3. Для механической очистки применяют решетки (или решетки-дробилки) и песколовки.

7.4. Смесь бытовых и производственных сточных вод при поступлении на сооружения биологической очистки в любое время суток не должна иметь:

значение рН ниже 6,5 и выше 8,5;

температуру ниже 6 и выше 30 °С;

общую концентрацию растворенных солей более 10 мг/л;

концентрацию взвешенных веществ более 500 мг/л;

Таблица 6

Очистные сооружения

Минимальное расстояние, м, при расчетной пропускной способности очистных сооружений, м/сут

до 1

1 - 2

2 - 4

4 - 8

8 - 15

Септики

5

5

5

5

5

Фильтрующие колодцы

8

-

-

-

-

Поля подземной фильтрации

15

15

15

15

15

Фильтрующие траншеи

25

25

25

25

25

Песчано-гравийные фильтры

25

25

25

25

25

Таблица 7

Очистные сооружения

Минимальное расстояние, м, при расчетной пропускной способности очистных сооружений, м3/сут

50 - 200

200 - 5000

Поля орошения

150

200

Поля фильтрации

200

300

Биологические пруды

200

200

Сооружения механической и биологической очистки с иловыми площадками для стабилизированных осадков, а также отдельно расположенные иловые площадки

150

200

Сооружения механической и биологической очистки с обработкой осадка в закрытых помещениях

100

150

Сооружения с циркуляционными окислительными каналами

150

200

Насосные станции

15

20

Примечания: 1. При отсутствии иловых площадок на территории очистных сооружений пропускной способностью более 0,2 тыс. м3/сут размер зоны следует сократить на 30 %.

2. Для полей фильтрации площадью до 0,5 га и сооружений механической и биологической очистки пропускной способностью до 50 м3/сут санитарно-защитная зона должна быть 100 м, для установок на полное окисление (продленной аэрации) - 50 м.

3. Размер санитарно-защитных зон (см. табл. 6 и 7) допускается увеличивать, но не более чем в 2 раза при расположении жилой застройки с подветренной стороны по отношению к очистным сооружениям или уменьшать не более чем на 25 % при благоприятной розе ветров.

4. При сушке на иловых площадках сырого (несброженного) осадка размер санитарно-защитных зон устанавливается по согласованию с местными органами санитарно-эпидемиологической службы.

БПКполн выше 500 мг/л.

При БПКполн более 500 мг/л необходима рециркуляция:

7.5. Содержание биогенных элементов в стоках должно быть не менее: по концентрации азота аммонийных солей 15 мг/л и фосфатов (Р2О5) 3 мг/л.

7.6. Разрывы санитарно-защитных зон от канализационных сооружений до границ жилой застройки, участков общественных зданий и предприятий пищевой промышленности (с учетом их перспективного расширения) должны приниматься в зависимости от пропускной способности очистных сооружений. В табл. 6 приведены санитарные разрывы для станции пропускной способностью до 15 м3/сут, а в табл. 7 - до 50 - 5000 м3/сут.

7.7. При выборе места под очистные сооружения необходимо учитывать следующие требования:

площадка должна быть расположена ниже поселка по течению водоема, в который намечен выпуск очищенных сточных вод, и с подветренной стороны господствующих ветров теплого периода года по отношению к жилой застройке;

поступление сточных вод на сооружения должно осуществляться по возможности самотеком;

территория площадки не должна быть подвержена затоплению и береговому размыву от воздействия поверхностных вод;

геологическое строение площадки должно быть по возможности благоприятным для строительства очистных сооружений, не требующим специальных дорогостоящих оснований.

7.8. Санитарно-защитные зоны, отделяющие очистные сооружения от границ жилой застройки, должны быть озеленены, и их решение увязано с проектом планировки и застройки населенного пункта.

7.9. При компоновке и расположении сооружений необходимо учитывать возможности строительства по очередям и дальнейшее расширение сооружений.

7.10. Действующие типовые и экспериментальные проекты очистных сооружений разработаны в соответствии с унифицированным рядом пропускных способностей, м3/сут, утвержденным Госстроем СССР в 1962 г.: 0,5; 1; 2; 4; 6; 12; 25; 50; 100; 200; 400; 700; 1400.

Основные сооружения для предварительной механической очистки сточных вод

7.11. Перед любыми очистными сооружениями должны устраиваться решетки. При перекачке сточных вод на очистные сооружения насосами решетки устанавливаются в приемных резервуарах насосных станций.

Примечание. Если расстояние от насосной станции до очистных сооружений не превышает 0,5 км, установка решеток не обязательна.

Ширину прозоров решетки в составе очистных сооружений следует принимать 16 мм.

7.12. Для выделения из сточных вод тяжелых минеральных примесей (главным образом песка) используются песколовки, рассчитанные таким образом, чтобы в них выпадал песок и другие тяжелые частицы, при этом не оседал легкий осадок органического происхождения.

7.13. Песколовки должны применяться на очистных сооружениях пропускной способностью свыше 100 м3/сут.

Для осаждения взвесей применяются септики и отстойники.

Септики применяют на очистных сооружениях пропускной способностью до 25 м3/сут. Продолжительность пребывания сточной воды в них принимают 3 сут при пропускной способности до 5 м3/сут и 2,5 сут, если она свыше 5 м3/сут. Целесообразно выполнять одно-, двух- и трехкамерные септики для станций пропускной способностью соответственно до 1, 10 и свыше 10 м3/сут.

При пропускной способности свыше 5 м3/сут следует в каждой камере септиков предусматривать по два отделения.

В схемах с биопрудами или полями фильтрации, как правило, применяют вертикальные отстойники, в которых сточная вода поступает по центральной трубе в нижнюю зону сооружения, при движении вверх осветляется и отводится кольцевым желобом.

Расчет отстойников производится с учетом концентрации загрязнений в поступающей воде, требуемой эффективности отстаивания и геометрических размеров сооружения.

Приближенно можно принимать продолжительность отстаивания 1 - 1,5 ч при максимальном часовом притоке.

Диаметр отстойника принимают от 2 до 6 м, глубину соответственно от 2 до 4 м.

Показатели отстойников по типовым проектам приведены в прил. 7.

Сооружения биологической очистки сточных вод в естественных условиях

7.14. В качестве сооружений для естественной очистки сточных вод рекомендуются поля фильтрации и биологические пруды.

7.15. Область применения сооружений естественной биологической очистки можно определять по табл. 8.

Поля фильтрации

7.16. Поля фильтрации предназначаются для очистки сточных вод (без выращивания сельскохозяйственных культур) и представляют собой спланированные карты с незначительным уклоном, разделенные земляными оградительными валиками.

Таблица 8

Сооружение

Грунт

Глубина залегания грунтовых вод

Средняя годовая температура воздуха, °С

Рельеф

Диапазон применения

по расходам сточных вод, м3/сут

по БПК5, г/м3

Поля фильтрации

Песок, супесь, суглинок

Не менее 1,5 м от поверхности земли

0 - 15

Спокойный слабовыраженный i = 0,02

Св. 15

До 500

Биологические пруды

Тяжелый суглинок, глина

Не менее 1 м до дна пруда

Св. 6

Резко выраженный со значительным перепадом i  = 0,07 - 0,08

То же

До 500

7.17. Сточная жидкость, профильтровавшаяся через слой почвы, отводится осушительной сетью в водоем, балку или овраг.

7.18. Водоподводящие линии, распределители и картавые оросители следует проектировать открытыми (в виде лотков и земляных канав) или закрытыми (с применением неметаллических труб).

7.19. Поля фильтрации могут устраиваться на песчаных, супесчаных и легких суглинистых грунтах в районах со среднегодовой температурой воздуха не ниже 0 °С.

7.20. Площадь полей фильтрации следует определять в зависимости от характера грунтов, уровня грунтовых вод Н и среднегодовой температуры воздуха T по нормам нагрузок, приведенным в прил. 8.

7.21. Площади полей фильтрации определены для районов со среднегодовым количеством атмосферных осадков 300 - 500 мм.

При количестве осадков более 500 мм указанные площади следует принимать с коэффициентом 1,25 - 1,35.

7.22. Площади полей фильтрации в районах с холодным и умеренным климатом следует проверять на зимнее намораживание.

Биологические пруды

7.23. Биологические пруды для очистки сточных вод сельских населенных пунктов могут применяться в IV климатическом районе в течение всего года, во II и III климатических районах - в теплый сезон и при температуре воды в них не ниже 8 °С - в холодный (производится теплотехнический расчет).

7.24. Биопруды с естественной аэрацией могут применяться для очистки сточных вод с концентрацией по БПКполн не выше 200 мг/л.

Продолжительность tсут очистки сточных вод в биопруду с естественной аэрацией определяется по формуле

t = 1/αK ∙ lg ∙ L0/Lt,                                                         (3)

где α - коэффициент использования объема биопруда; при соотношении ширины и длины биопруда 1:1 - 1:3 коэффициент α = 0,35 (независимо от конструкции водораспределительных и водосбросных устройств); K - константа скорости разложения органических загрязнений, при температуре воды в биопруду 20 °С K = 0,1; L0 - концентрация загрязнений по БПК5 в поступающей воде; Lt - то же, в выходящей воде.

Биопруды для полной очистки целесообразно проектировать в 2 - 3 ступени, принимая степень очистки в каждой из ступеней по БПК5 равной 70 %.

7.25. Аэрируемые биопруды могут применяться для очистки сточных вод с концентрацией по БПК5 до 500 мг/л во II и III климатических районах (при расчетной зимней температуре -30 °С и ниже сооружения следует рассматривать как экспериментальные).

7.26. Продолжительность tсут очистки сточных вод в аэрируемом биопруду определяется по формуле

                                              (4)

где n - количество ступеней пруда; K = 0,7 при температуре воды в биопруду 20 °С;

Lв - величина, принимаемая летом - 3 мг/л; зимой - 1 мг/л.

7.27. Для полной биологической очистки могут применяться следующие схемы биопрудов (рис. 2):

Рис. 2. Схема генплана биопрудов пропускной способностью 100 и 200 м3/сут

1, 2, 3 - соответственно I, II, III ступени очистки; 4 и 5 - соответственно I и II ступени доочистки; 6 - контактная емкость; 7 - аэратор; М2 - сточная вода на очистку; M3, M4 - сточная вода соответственно после очистки и доочистки; M5 - очищенная сточная вода

двух- или трехступенчатые с аэрируемыми биопрудами на каждой ступени;

двух- или трехступенчатые с аэрируемыми биопрудами для I ступени, биопрудами с естественной аэрацией для II и III ступеней.

Глубина аэрируемых биопрудов должна приниматься 1,5 - 5 м с учетом параметров аэраторов, а также снижения теплопотерь.

7.28. Биопруды с естественной аэрацией могут применяться также и для доочистки сточных вод, прошедших полную биологическую очистку на других сооружениях, до концентрации загрязнений по БПКполн = 5 - 6 мг/л.

Пруды для доочистки устраиваются в две или три ступени.

Расчет времени пребывания сточных вод t в каждой ступени биопруда производится по формуле

                                               (5)

где K при температуре воды 10 °С равна 0,063, при 15 °С - 0,079, при 20 °С - 0,100; L0 - БПКполн поступающих на очистку сточных вод, г/м3; ht - то же, очищенных сточных вод; Lв - остаточная БПКполн, обусловленная внутриводоемными процессами: в теплый сезон принимается равной 3 г/м3, в холодный - 1 - 2 г/м3.

Степень разложения органических загрязнений в биопруду принимается: в 1-й ступени 40 - 60 %, во 2-й - 20 - 40 % и в 3-й - 10 - 20 %.

Объем биопруда V определяется по формуле

V = Qt, м3,                                                              (6)

где Q - суточное количество поступающих сточных вод.

Гидравлическая глубина биопрудов для доочистки принимается 0,5 - 1,0 м, высота над водной поверхностью - 0,5 м.

В 1979 году ЦНИИЭП инженерного оборудования разработаны типовые проекты 902-3-7, 902-3-8, 902-3-9, 902-3-10 и 902-3-11 «Аэрируемые биопруды для очистки сточных вод в IV климатической зоне производительностью 12 - 1400 м3/сут».

Основные показатели по типовым проектам приведены в прил. 9.

Сооружения биологической очистки сточных вод в искусственно созданных условиях

7.29. Экономическая целесообразность применения различных типов сооружений искусственной биологической очистки сточных вод определяется требуемой пропускной способностью сооружений, величиной БПКполн сточных вод, климатическими и местными условиями.

7.30. В табл. 9 приведены рекомендуемые области применения сооружений в зависимости от расходов и БПКполн бытовых сточных вод.

Аэротенки продленной аэрации

7.31. Аэротенки продленной аэрации предназначены для совместной биологической очистки твердой и жидкой фаз сточных вод. Благодаря низкой нагрузке на активный ил происходит полная минерализация органических веществ.

Ввиду совмещения обработки воды и ила в общей емкости упрощаются конструкция сооружений и их эксплуатация по сравнению с аэротенками с аэробной минерализацией ила.

Таблица 9

Очистные сооружения апробированные

Расходы сточных вод, м3/сут

БПКполн сточных вод, г/м3

Расчетная зимняя температура воздуха, °С

Аэротенки продленной аэрации

12 - 14000

До 400

-30 (с пневматической и механической аэрацией - при размещении вне здания и без перекрытия);

-40 (с пневматической аэрацией - при размещении вне здания с перекрытием или в здании)

Аэротенки с аэробной минерализацией ила

Более 200

До 500

То же

Циркуляционные окислительные каналы

15 - 700

До 400

До -25

Примечание. Показатель БПКполн в приведен для неосветленной пробы.

7.32. Для аэротенков продленной аэрации может быть применена механическая, пневматическая, эжекторная и низконапорная система аэрации.

7.33. Расчет полезного объема аэротенков производится исходя из скорости окисления загрязнений активным илом.

Время аэрации определяется по формуле

t = (La - Lt)/ρ(1 - S)a,                                                     (7)

где La и Lt - БПКполн соответственно поступающей и очищенной сточной воды, ρ - скорость окисления загрязнений по БПКполн на беззольное вещество активного ила; принимается равной 6 мг БПКполн на 1 г беззольного вещества ила в 1 г; S - зольность ила (в долях единицы), принимается равной 0,3 - 0,35; а - доза ила, принимается равной 3 - 5 г/л.

Пример расчета аэротенка

Исходные данные: общий расход сточных вод Q = 227 м3/сут;

общее содержание загрязнений по БПКполн неосветленной сточной воды, поступающей в аэротенки, G = 64,2 кг/сут (концентрация загрязнений по БПКполн = 285 мг/л);

требуемая величина БПКполн очищенной сточной воды составляет 15 мг/л.

Принимаем ρ = 0,3, а = 3,5 г/л. Время аэрации определяется по формуле (7) t = (285 - 15)/6(1 - 0,3)3,5 = 18 ч. Объем аэротенка V = Q = 227 м3.

Концентрация активного ила Kил в иловой части отстойника составит 6 г/л.

Коэффициент циркуляции ила

Kц.и = а/(Kил - а) = 3,5 ∙ (6 - 3,5) = 1,4.                                        (8)

7.34. Удельный расход воздуха на 1 м3 сточной воды при очистке сточных вод в аэротенке следует определять по формуле

D = z(La - Lt)/K1K2n1n2(Cp - C), м3,                                         (9)

где z - удельный расход кислорода на 1 мг снятой БПКполн/мг, принимается равным: для полной очистки - 1,1; для частичной - 0,9; для полной минерализации - 1,0;

K1 - коэффициент, учитывающий тип аэратора: для мелкопузырчатых аэраторов принимается в зависимости от величины отношения площади аэрируемой зоны к площади аэротенка (f/F) по табл. 10, для среднепузырчатых аэротенков, а также для систем низконапорной аэрации K1 = 0,75; K2 - коэффициент, зависящий от глубины погружения аэратора h, принимается по табл. 11; n1 - коэффициент, учитывающий температуру сточных вод, определяется по формуле

n1 = 1 + 0,02(tср - 20),                                                   (10)

где tср - среднемесячная температура сточной воды за летний период, °С;

n2 - коэффициент, учитывающий отношение скорости переноса кислорода в иловой смеси к скорости переноса его в чистой воде (для городских сточных вод n2 = 0,85);

Ср - растворимость кислорода в воде, мг/л; определяется по формуле

Ср = Ст(1 + H/20,6),                                                  (11)

здесь Ст - растворимость кислорода воздуха в воде в зависимости от температуры и давления (принимается по таблицам ориентировочно 10 мг/л);

С - средняя концентрация кислорода в аэротенке, принимается равной 2 мг/л.

Таблица 10

f/F

0,05

0,1

0,2

0,3

0,4

0,5

0,75

1,0

K1

1,34

1,47

1,68

1,89

1,94

2

2,13

2,3

jмакс, м3

5

10

20

30

40

50

75

100

Примечание. j - интенсивность аэрации.

Таблица 11

h1, м

0,5

0,6

0,7

0,8

0,9

1

3

4

5

6

K2

0,4

0,46

0,6

0,8

0,9

1

2,С8

2,52

2,92

3,3

jмин, м3

48

42

38

32

28

24

4

3,5

3,0

2,5

Примечание. Площадь аэрируемой зоны принимается в зависимости от площади, занимаемой аэраторами. Для аэраторов из пористых керамических пластин или труб просветы между ними до 0,3 м включаются в площадь аэрируемой зоны.

Требуемый напор для подачи воздуха в аэротенки

H = h1 + h2 + h3,                                                        (12)

где h1 - потеря напора в дырчатых трубах (80 - 120 мм);

h2 - то же, в трубопроводах и арматуре (100 - 150 мм);

h3 - глубина погружения аэратора, м.

7.35. В состав станции с аэротенками продленной аэрации входят следующие основные сооружения: решетки, аэротенки продленной аэрации; вторичные отстойники, контактные резервуары, хлораторная, воздуходувная (при пневматической аэрации), устройство для перекачки активного ила (насос или эрлифт), иловые площадки (рис. 3).

Очистка производится следующим образом.

Сточная вода поступает на станцию самотеком или под напором, проходит решетку и подается в аэротенк, куда также возвращается активный ил из вторичных отстойников. Смесь воды и ила аэрируется перемешиванием с помощью поверхностных аэраторов (механическая аэрация) или подачей сжатого воздуха через дырчатые трубы (пневматическая аэрация), при этом трубы могут размещаться на 0,3 - 0,5 м выше дна (обычная аэрация) или на 0,6 - 0,7 м ниже поверхности воды (низконапорная аэрация).

Иловая смесь, состоящая из очищенной сточной воды и активного ила, поступает во вторичные отстойники, где происходит разделение воды и ила. Вода отводится самотеком в контактные резервуары, активный ил - в начало аэротенка с помощью эрлифтов или насосов.

Избыточный ил из отстойников периодически отводится на иловые площадки. Ил не загнивает и легко отдает воду на площадках.

В состав станции с раздельной стабилизацией (минерализацией) ила входят, кроме перечисленных сооружений, также аэробный стабилизатор (минерализатор).

Схемы очистки воды в аэротенках продленной аэрации и с раздельной стабилизацией ила аналогичны. Избыточный активный ил из вторичных отстойников подается в стабилизатор, где аэрируется в течение 3 - 7 сут аналогично аэротенку. В результате получают не-загнивающий ил, который легко отдает воду на иловых площадках.

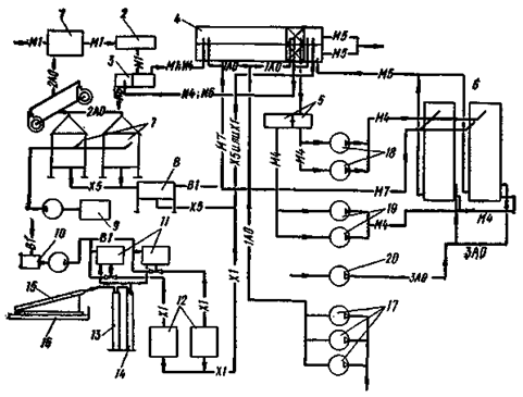
Рис. 3. Схема биологической очистки сточных вод на станциях пропускной способностью 100, 200, 400, 700 м3/сут

1 - приемная камера; 2 - решетка ручная; 3 - смесительная камера воды и ила; 4 - блок емкостей (аэротенк и отстойник); 5 - блок резервуаров; 6 - фильтр; 7 -электролизер; 8 - бак гипохлорита натрия; 9 - затворный бак для соли; 10 - бак разрыва струи; 11 - хлоратор; 12 - бочка с хлорной водой; 13 - грязевик; 14 - фильтр; 15 - баллон с хлором; 16 - весы с подставкой для баллонов; 17 - воздуходувки; 18 - насос для подачи воды на фильтры; 19 - насос промывной воды; 20 - воздуходувка для фильтров; M1 - поступающая сточная вода; М4 - сточная вода на фильтры; М5 - очищенная сточная вода; М7 - грязная промывная вода; X1 - хлорная вода; Х5 - раствор гипохлорита натрия; И4 - циркулирующий активный ил; И6 - избыточный активный ил; АО - воздух; В1 - питьевая вода

Измерение расходов воды может производиться на водосливах, которые устраиваются после решеток или контактных резервуаров.

7.36. В настоящее время созданы и получили широкое распространение различные модификации очистных станций с аэротенками.

ЦНИИЭП инженерного оборудования разработал несколько серий станций биологической очистки с аэротенками продленной аэрации пропускной способностью 100 - 700 м3/сут: с пневматической аэрацией для районов с расчетной зимней температурой наружного воздуха -20, -30 °С (рис. 4 и 5), с пневматической аэрацией для районов с расчетной зимней температурой -40 °С (рис. 6) и с механическими аэраторами на вертикальном валу (рис. 7).

Рис. 4. Схема генплана станций пропускной способностью 400 - 700 м3/сут (без доочистки)

1 - приемная камера; 2 - блок емкостей; 3 - производственно-вспомогательное здание; 4 - иловые площадки; 5 - биологические пруды

Рис. 5. Схема генплана станций пропускной способностью 100 и 200 м3/сут

1 - приемная камера; 2 - блок емкостей; 3 - производственно-вспомогательное здание; 4 - иловые площадки; 5 - биологические пруды

Рис. 6. Схема генплана станций биологической очистки сточных вод в аэротенках продленной аэрации с пневматической аэрацией (100, 200, 400, 700 м3/сут) для районов с расчетной зимней температурой минус 40 °С

1 - производственно-вспомогательное здание; 2 - блок емкостей с аэротенком; 3 - иловые площадки; M1 - поступающая сточная вода; М2 - очищенная сточная вода

Рис. 7. Схема генплана станции пропускной способностью 100 м3/сут с аэраторами на вертикальном валу

1 - здание решеток; 2 - аэротенк; 3 - отстойник; 4 - производственно-вспомогательное здание; 5 - контактный резервуар; М1 - поступающая сточная вода; М2 - очищенная сточная вода; И6 - избыточный активный ил

Действует также типовой проект № 902-03-13 станции биологической очистки сточных вод пропускной способностью 1400 м3/сут с раздельной стабилизацией осадков (рис. 8). Емкости во всех станциях выполнены из железобетонных элементов (серия 3.900-3).

Институтом «Гипрокоммунводоканал» совместно с НИИ КВОВ АКХ им. К.Д. Памфилова разработаны типовые проекты станция биологической очистки с аэротенками на полное окисление (продленная аэрация) пропускной способностью 12 - 700 м3/сут (рис. 9) и с раздельной стабилизацией ила пропускной способностью 200 - 700 м3/сут (рис. 10). Аэрация сточной воды пневматическая. В составе станций применены металлические компактные установки ПО «Водомаштехника» Минжилкомхоза РСФСР (г. Воронеж). Некоторые организации освоили производство в заводских условиях аналогичных компактных установок с аэротенками продленной аэрации (Эстсельхозтехника, комбинат Инжсельстрой Мособлстроя, заводы системы Сельхозтехники в Украинской и Казахской ССР). В настоящее время изготавливаются также в заводских условиях компактные установки, применяемые в системе Миннефтегазстроя СССР.

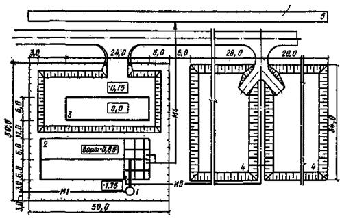
Рис. 8. Схема генплана станции пропускной способностью 1400 м3/сут

1 - приемная камера; 2 - здание решеток; 3 - песколовки; 4 - водоизмерительный лоток; 5 - блок емкостей (первичные отстойники, аэротенки, вторичные отстойники, контактные резервуары, аэробные стабилизаторы); 6 - административно-бытовое здание; 7 - производственное здание; 8 - котельная; 9 - газовыбросная труба; 10 - хлораторная; 11 - склад угля; 12 - песковые площадки; 13 - иловые площадки; 14 - склад шлака; 15 - площадки компостирования осадка; 16 - жиросборник; 17 - иловая камера; 18 - камера опорожнения емкостей; 19 - приемный колодец бытовой сточной воды; 20 - резервуар технической воды

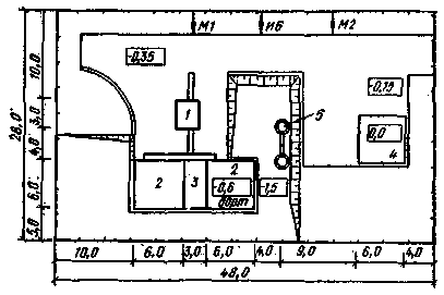
Рис. 9. Схема генплана станции биологической очистки пропускной способностью 200 м3/сут с компактными установками заводского изготовления (полное окисление)

1 - производственно-вспомогательное здание; 2 - блок приемной камеры и решетки-дробилки РД-200; 3 - компактные установки из унифицированных секций пропускной способностью 25 м3/сут каждая; 4 - иловые площадки; 5 - контактный резервуар

Рис. 10. Схема генплана станции биологической очистки пропускной способностью 200 м3/сут с компактными установками заводского изготовления (раздельная стабилизация)

1 - производственно-вспомогательное здание; 2 - блок приемной камеры и решетки-дробилки РД-200; 3 - компактная установка (изготовитель ПО «Водомаштехника», г. Воронеж); 4 - иловые площадки; 5 - контактный резервуар

Рис. 11. Установки проточного типа пропускной способностью 25 м3/сут

а - с горизонтальным насосом; б - с погружным насосом; 1 - трубопровод поступающих сточных вод Ду = 100 мм; 2 - трубопровод очищенной воды Ду = 100 мм; 3, 4 - аэротенки № 1 и 2; 5 - насосная станция; 6 - насос; 7 - отстойник; 8 - контактный резервуар

7.37. С 1984 г. введены в действие типовые проекты компактных установок с аэротенками, разработанные ЦНИИЭП инженерного оборудования, строительство которых может вестись в комплектно-блочном исполнении. При этом сооружения должны поставляться на объект строительства вместе со смонтированным на заводе оборудованием и трубопроводами в транспортабельных блоках.

ЦНИИЭП инженерного оборудования разработаны также типовые проекты установок с аэротенками из железобетонных элементов - колодцев, которые можно поставлять укрупненными узлами со смонтированным оборудованием. Производительность установок 6 - 50 м3/сут, аэрация эжекторная (рис. 11).

7.38. Для станций пропускной способностью 700 м3/сут с низконапорной аэрацией ЦНИИЭП инженерного оборудования разработаны экспериментальные блоки емкостей, сборность которых значительно повышена за счет применения элементов производственных корпусов элеваторов (серия 3.702-1).

7.39. Основные показатели по проектам приведены в прил. 10 - 17.

Проекты станций разработаны с использованием достаточно изученных данных о проверенных в производственных условиях процессах и практически равноценны по технологическим показателям.

Выбор оптимального проекта для конкретных условий следует делать с учетом технико-экономического обоснования метода и степени очистки сточных вод, а также условий их отведения на очистку и выпуска или использования после очистки; определения целесообразности искусственной очистки, климатических условий (применение механических аэраторов и установка вентиляторов непосредственно на емкости); наличия достаточных фондов у заказчика на металл для изготовления емкостей и других сооружений; возможности получения заказчиком газодувок, компрессоров, дутьевых вентиляторов или погружных насосов; изготовления нестандартизированных механических аэраторов; специализации и оснащения территориальных подрядных строительных организаций и базы стройиндустрии; организации комплектно-блочного метода строительства.

Характеристики газодувок и водокольцевых компрессоров, применяемых для пневматической аэрации на очистных станциях, приведены в прил. 18.

Циркуляционные окислительные каналы

7.40. Циркуляционные окислительные каналы (ЦОК) предназначены для полной и частичной очистки сточных вод в районах с расчетной зимней температурой наружного воздуха не ниже -25 °С при расходе сточных вод до 1400 м3/сут. ЦОКи по сравнению с аэротенками требуют значительно меньшего расхода железобетона.

7.41. Типовые проекты станций с ЦОКами пропускной способностью 100, 200, 400, 700 и 1400 м3/сут разработаны ЦНИИЭП инженерного оборудования в 1975 г. (902-2-255; 902-2-256, 902-2-257, прил. 19).

В состав станций (рис. 12) входят следующие сооружения: решетки или решетки-дробилки, циркуляционный окислительный канал, вторичные отстойники, контактный резервуар, иловые площадки, производственно-вспомогательный блок (иловая насосная, хлораторная, комната дежурного и бытовые помещения).

Рис. 12. Схема генплана станции пропускной способностью 200 м3/сут

1 - приемная камера; 2 - здание решеток; 3 - водослив для измерения расхода воды; 4 - циркуляционный окислительный канал; 5 - камера водовыпуска; 6 - вторичный отстойник; 7 - лоток-смеситель; 8 - контактный резервуар; 9 - производственно-вспомогательный блок; 10 - иловые площадки; M1 - поступающая стойкая вода; М2 - очищенная сточная вода

7.42. Выбор циркуляционных окислительных каналов рекомендуется производить в соответствии с табл. 12.

Таблица 12

Пропускная способность станции, м3/сут

Концентрация загрязнений сточных вод по БПК5, мг/л

Характеристика циркуляционного окислительного канала

площадь рабочего сечения, м2

число ЦОКов

число аэраторов в ЦОКе

100 - 200

150 - 400

2,5

1

1

400

150 - 400

4,6

1

1 - 2

700

150 - 400

4,6

1 - 2

1 - 2

1400

150 - 400

4,6

2

1 - 2

7.43. В типовых проектах принята следующая технология обработки. Сточная вода, поступающая самотеком или под напором, проходит решетку, затем подается в циркуляционный окислительный канал, в который также подается активный ил. Горизонтальный клеточный аэратор интенсивно перемешивает иловую смесь и насыщает ее кислородом. Процесс очистки происходит в режиме продленной аэрации при низкой нагрузке на активный ил и глубокой его минерализации. Иловая смесь из ЦОКа поступает во вторичный отстойник, где активный ил отделяется. Циркуляционный ил перекачивается в ЦОК, а очищенная вода после отстойника обеззараживается и сбрасывается в водоем. При необходимости дополнительной очистки используют биологические пруды.

7.44. Расчет сооружений. Нагрузка по БПКполн на ЦОК, кг/сут, определяется по формуле

БПКполн = (Lа - Lв)Q/1000,                                                (13)

где Lа - концентрация поступающей сточной жидкости по БПКполн (150 - 400 мг/л); Lв - то же, выходящей по БПКполн (15 мг/л); Q - суточный расход сточных вод, м3/сут.

Нагрузка по БПКполн на единицу объема ЦОК Р определяется по формуле

P = ρ(1 - S)a,                                                           (14)

где ρ = 0,07 - скорость окисления органических загрязнений, кг, по БПКполн на 1 кг беззольного вещества ила в сутки; S = 0,3 - зольность ила; а = 4 кг/м3 - доза ила в окислительном канале.

Время пребывания сточной жидкости в канале, сут

t = БПКполн/Р.                                                          (15)

Объем циркуляционного окислительного канала, м3

V = Qt.                                                                (16)

Длина канала, м

L = V/ω,                                                              (17)

где ω - площадь сечения канала.

Крутизна заложения откосов определяется в зависимости от категории грунта по формуле

m = (a - b)/2h1,                                                      (18)

где a - ширина канала по поверхности жидкости, м; b - ширина канала по дну, м; h1 - рабочая глубина канала, м.

Вторичные отстойники

7.45. На станциях очистки сточных вод сельских населенных пунктов могут применяться вертикальные вторичные отстойники, которые представляют собой круглые в плане резервуары с коническим днищем. Сточная вода поступает в центральную трубу. При выходе из нее изменяется направление движения потока и снижается его скорость, вследствие чего из воды выделяется активный ил. Осветленная вода переливается в периферийный лоток и отводится. Выпавший ил под гидростатическим напором удаляется по трубе в иловый колодец и возвращается в аэротенк, а часть его (избыточный ил) направляется на обработку.

7.46. Техническая характеристика вторичных вертикальных отстойников по действующим типовым проектам приведена в прил. 7.

7.47. Время отстаивания принимается равным 2 ч, при продленной аэрации - 1,5 ч.

Скорости движения воды в вертикальных отстойниках должны составлять: в центральной трубе - не более 30 мм/с; в отстойнике - не более 0,5 мм/с.

7.48. Во вторичных отстойниках после аэротенков центральная труба рассчитывается на суммарный расход сточной воды и активного ила, а собственно отстойник - только на расчетный расход воды, ввиду того, что поступающий вместе с водой активный ил выпадает на дно и удаляется.

Сооружения физико-химической очистки

7.49. Физико-химическая очистка (ФХО) в основном состоит в отстаивании сточной воды с применением реагентов и последующем фильтровании уже осветленной воды.

Схема ФХО может оказаться предпочтительнее биологической на объектах:

без горячего водоснабжения, где температура сточных вод зимой длительное время ниже 8 °С;

с резко колеблющимся по сезонам суточным притоком сточных вод (соотношение выше 1:2);

с временным сбросом сточных вод (перерыв в притоке на очистные сооружения более двух суток).

В целом емкость сооружений ФХО меньше, чем биологической очистки в аэротенках, поэтому метод физико-химической очистки может найти применение в некоторых случаях при технико-экономическом обосновании.

В настоящее время не накоплен достаточный опыт работы установок ФХО на станциях малой пропускной способности, вместе с тем разработаны проекты, которые могут быть использованы в сельском строительстве в ограниченном объеме.

7.50. ЦНИИЭП инженерного оборудования разработаны проекты установок ФХО пропускной способностью 6 - 400 м3/сут для вахтовых поселков строителей, эксплуатационников па отдельно стоящих объектах.

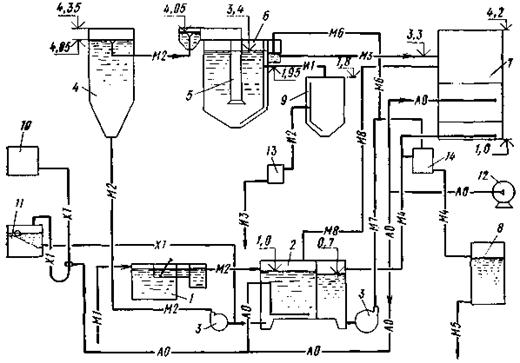
В состав оборудования и сооружений входят: приемный (или регулирующий) резервуар, решетки, песколовки, смеситель, отстойник со встроенной камерой хлопьеобразования, фильтр с аэрируемой крупнозернистой загрузкой, хлораторная установка, контактный резервуар, насосная, реагентная установка (рис. 13).

Сточная вода поступает через решетку и песколовку в приемный или регулирующий резервуар, из которого насосом подается в смеситель, куда дозируется раствор реагента (сернокислого алюминия или сернокислого железа). Далее вода проходит камеру хлопьеобразования, где происходит группировка, укрупнение содержащихся в ней частиц загрязнений, и поступает в отстойники, где эффективно осветляется. Осадок отводится на иловые площадки, обеззараживается (компостированием), удаляется и затем используется в сельском хозяйстве.

Рис. 13. Технологическая схема физико-химической очистки сточных вод

1 - приемный резервуар с решеткой; 2 - усреднитель и резервуар чистой воды; 3 - насос; 4 - смеситель; 5 - камера хлопьеобразования; 6 - отстойник; 7 - фильтр; 8 - контактный резервуар; 9 - илоуплотнитель; 10 - затворный бак коагулянта; 11 - расходный бак коагулянта; 12 - газодувка; 13 - дегельминтизатор; 14 - установка «Каскад»; M1 - сточная вода, поступающая на очистку; М2 - сточная вода, поступающая на отстойник; M3 - осветленная вода; M4 - фильтрованная вода; М5 - выпуск очищенных сточных вод; М6 - очищенная вода на рециркуляцию; М7 - вода на промывку фильтров; М8 - грязная промывная вода; X1 - раствор коагулянта; И1 - осадок из отстойников; И2 - уплотненный осадок; И3 - дегельминтизированный осадок; АО - воздух

Осветленная вода поступает самотеком в верхнюю зону фильтров, крупнозернистая загрузка которых аэрируется через дырчатые трубы, что способствует эффективному снижению концентрации органических веществ.

Очищенная вода отводится в контактный резервуар, перед которым проходит установку прямого электролиза, и затем в водоем.

Пример генплана и технико-экономические показатели установок ФХО приведены в прил. 20.

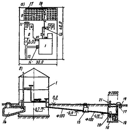
Особенностью строительства станций является комплектно-блочный метод - поставка сооружений в виде блок-боксов полностью заводской готовности на строительную площадку (рис. 14).

Рис. 14. Установка физико-химической очистки в комплектно-блочном исполнении

1 - отстойник с камерой хлопьеобразования; 2 - фильтр; 3 - резервуар контактный; 4 - резервуар грязной промывной воды; 5 - резервуар-усреднитель; 6 - установка «Каскад»; 7 - газодувка; 8 - насос; 9 - затворный бак коагулянта; 10 - расходный бак коагулянта; 11 - уплотнитель; 12 - дегельминтизатор; 13 - приемная камера с решеткой; 14 - песколовка; 15 - смеситель

Дезинфекция сточных вод

7.51. Дезинфекцию (обеззараживание) сточных вод - уничтожение содержащихся в них болезнетворных бактерий - осуществляют хлорированием с применением жидкого хлора, электролитического гипохлорита, приготовляемого на месте, а также методом прямого электролиза сточной воды.

По согласованию с планирующими органами допускается применение хлорной извести или готового раствора гипохлорита натрия.

Расчетная доза хлора при дезинфекции биологически очищенной воды - 3 мг/л. Установка для обеззараживания должна обеспечивать повышение этой дозы в 1,5 раза.

Продолжительность контакта хлора со сточной водой - 30 мин с учетом времени протекания хлорированных сточных вод в лотках и трубах до спуска в водоем.

7.52. Сооружения для дезинфекции сточных вод состоят из устройств для приготовления дезинфектанта, смесителя и контактных резервуаров. При обеззараживании сточных вод, очищенных на биофильтрах и аэрофильтрах, в качестве контактных резервуаров используются вторичные отстойники. Как правило, приготовление дезинфектанта предусматривается в производственно-вспомогательном здании.

Хлораторная состоит из склада баллонов, хлордозаторной, насосной и вспомогательных помещений.

Склад хлора предназначен для хранения в баллонах емкостью 55 л. Жидкий хлор подается в испаритель. После испарения газообразный хлор проходит грязевик и затем подводится через хлораторы ЛОНИИ100К к эжекторам, в которые насосом-повысителем напора типа ВК подается вода из водопровода. После эжекторов хлорная вода отводится потребителю.

Для обеззараживания питьевых и сточных вод предусмотрен также вариант подачи потребителю газообразного хлора.

Сметная стоимость строительства хлораторной составляет 23,1 тыс. руб.

7.53. Учитывая сложность транспортирования, хранения и использования хлора, который представляет собой удушливый ядовитый газ, институтом «Гипрокоммунводоканал» совместно с НИИ КВОВ АКХ им. К.Д. Памфилова в 1973 г. разработаны проекты электролизных установок производительностью 25 кг активного хлора в сутки.

В результате электролиза раствора поваренной соли получается гипохлорит натрия, используемый для обеззараживания питьевых и сточных вод непосредственно на месте.

Установки состоят из баков для растворения соли и накопления раствора гипохлорита натрия, электролизеров, выпрямителей, вентиляторов и насосов для додачи раствора соли на электролизер и гипохлорита натрия в обрабатываемую воду.

Технологическая схема работы установок следующая. Техническая поваренная соль загружается в растворный бак и заливается водой до концентрации 220 - 260 г/л. После отстаивания раствор перекачивается в электролизер, где разбавляется водопроводной водой до концентрации 100 - 120 г/л. Затем через выпрямительный агрегат на электролизеры подается напряжение, в результате чего образуется гипохлорит натрия, который сливается в бак-накопитель и оттуда дозируется в обрабатываемую воду с помощью эжекторов, насосов-дозаторов или самотеком.

Основные показатели электролизных установок приведены в прил. 21.

7.54. В настоящее время начат серийный выпуск установок прямого электролиза воды «Каскад» и «Поток» пропускной способностью по воде соответственно от 2,0 до 80 м3/ч. При этом «Поток» применяется после сооружений доочистки.

Обеззараживание воды происходит при пропуске ее через ванну с электродами, на которые подается постоянный ток. Хлориды, содержащиеся в воде, выделяются в виде хлора и других хлорсодержащих веществ, которые оказывают непосредственное дезинфицирующее действие.

Установки «Каскад» и «Поток» выпускаются заводом «Коммунальник» АКХ им. К.Д. Памфилова.

В состав установок входят устройства для пропуска воды и выпрямители электрического тока.

Доочистка сточных вод

7.55. При необходимости снижения загрязнений в биологически очищенной сточной воде предусматривается ее доочистка на открытых однослойных песчаных фильтрах с нисходящим потоком.

Сточная вода из вторичных отстойников поступает в резервуар промывной воды и далее через перелив с верхнего уровня в приемный резервуар, откуда насосом подается на фильтры. Фильтрованная вода отводится через сборно-распределительную систему фильтра в смеситель контактного резервуара (рис. 15).

Промывка фильтра водовоздушная, при этом сточная вода после отстойников забирается из резервуара промывной воды и подается насосом через сборно-распределительную систему фильтра. Промывка производится при восходящем потоке, грязная промывная вода отводится самотеком в аэротенки.

ЦНИИЭП инженерного оборудования разработаны установки для доочистки отдельно стоящие (ТП 902-2-248, 249, 250) и сблокированные с производственно-вспомогательным зданием (ТП 902-9-14), приведены в прил. 22.

Рис. 15. Схема установки для доочистки сточных вод

1 - фильтр; 2 - газодувка; 3 - приемный резервуар; 4 - резервуар промывной воды; 5 - колодец фильтрованной воды; 6 - насосы для подачи воды на фильтры; 7 - насос для подачи чистой промывной воды; М4 - трубопровод отвода воды после биологической очистки; M5 - трубопровод фильтрованной воды; М6 - трубопровод на промывку воды; M7 - трубопровод грязной промывной воды; АО - воздуховод

Сооружения для обработки и транспортирования осадка

Иловые площадки

7.56. Иловые площадки на естественном основании допускается проектировать при условии залегания грунтовых вод на глубине не менее 1,5 м от поверхности карты и только в тех случаях, когда допускается фильтрация иловых вод в грунт. При меньшей глубине залегания грунтовых вод следует понижать их уровень.

7.57. Влажность осадка, выпускаемого из отстойников после аэротенков продленной аэрации или аэротенков с минерализаторами, 97 - 98,5 %. Влажность подсушенного на иловых площадках осадка 70 - 80 %.

7.58. Нагрузку на иловые площадки в районах со среднегодовой температурой воздуха 3 - 6 °С и среднегодовым количеством атмосферных осадков до 500 мм следует принимать по табл. 13.

7.59. При проектировании иловых площадок следует принимать рабочую глубину 0,7 - 1 м; высоту оградительных валиков - на 0,3 м выше рабочего уровня; ширину валиков по верху - не менее 0,7 м (при использовании механизмов для ремонта земляных валиков 1,8 - 2 м); уклон дна разводящих труб или лотков - по расчету, но не менее 0,01.

Таблица 13

Характеристика осадка

Нагрузка осадка на иловые площадки с естественным основанием, м32 в год

Ил из аэротенков продленной аэрации и аэробных минерализаторов

1,2

Сброженный осадок из первичных отстойников

2

Примечание. Нагрузки на иловые площадки в других климатических условиях определяются с учетом климатического коэффициента, устанавливаемого СНиП по проектированию наружных сетей и сооружений канализации.

7.60. Требуемая полезная площадь иловых площадок определяется по допустимой годовой нагрузке осадка на 1 м2 площади. Число карт должно составлять не менее 4.

7.61. Площадь иловых площадок следует проверять на намораживание осадка в зимнее время. Период намораживания составляет число дней со среднесуточной температурой воздуха ниже минус 10 °С.

Высоту намораживаемого слоя осадка следует принимать на 0,1 м менее высоты валика. Дно разводящих лотков или труб должно быть выше горизонта намораживания.

7.62. Дренажные сточные воды от иловых площадок при невозможности или недопустимости инфильтрации их в грунт рекомендуется отводить на очистные сооружения для обработки или обеззараживания.

Иловые насосные установки

7.63. Иловые насосные установки могут потребоваться для перекачки:

избыточного ила из вторичных отстойников на иловые площадки;

сброженного и уплотненного в двухъярусных отстойниках осадка на иловые площадки (при их расположении на высоких отметках и невозможности поступления осадка самотеком);

возвратного активного ила из вторичных отстойников в аэротенки.

7.64. Наименьшие расчетные скорости движения сырых и сброженных осадков, а также уплотненного активного ила в напорных илопроводах диаметром 150 - 100 мм следует принимать в зависимости от влажности.

Влажность, %...

94

95

96

97

98

Скорость, м/с…

1,2

1,1

1

0,9

0,85

7.65. При подборе насосов следует учитывать несовпадение указанных в п. 7.63 функций во времени и возможность использования одной группы насосов для нескольких операций.

В качестве иловых насосов могут применяться обычные канализационные насосы.

7.66. Для перекачки возвратного активного ила в аэротенки с пневматической аэрацией целесообразно использовать эрлифты, в которые воздух будет подаваться от воздуховодов аэротенков.

8. ИСПОЛЬЗОВАНИЕ ОЧИЩЕННЫХ СТОЧНЫХ ВОД И ОСАДКОВ В СЕЛЬСКОМ ХОЗЯЙСТВЕ В КАЧЕСТВЕ УДОБРЕНИЯ

8.1. Очищенные сточные воды рекомендуется использовать на земледельческих полях орошения (ЗПО) - специализированных мелиоративных системах.

ЗПО создаются с целью повышения урожайности сельскохозяйственных культур и плодородия почвы, присоединения к сельскохозяйственным угодьям малопродуктивных земель, а также для доочистки сточных вод, в результате чего достигается защита водоемов от загрязнения.

8.2. При проектировании и эксплуатации ЗПО необходимо пользоваться следующими нормативными документами:

Инструкцией по проектированию земледельческих полей орошения (ВСН II-28-76);

Временной инструкцией по разработке проектов и смет для мелиоративного строительства (ВСН 110-71);

Правилами охраны поверхностных вод от загрязнения сточными водами (М., Министерство мелиорации и водного хозяйства СССР, 1975);

Правилами эксплуатации земледельческих полей орошения. ВСН Э-4-76 (М., Министерство мелиорации и водного хозяйства СССР, 1976);

Руководством по использованию сточных вод для орошения сенокосов и пастбищ в Нечерноземной зоне (ВТР II-9-76);

Ветеринарно-санитарными рекомендациями по использованию сточных вод для орошения пастбищ (М., Минсельхоз, 1977 г.).

8.3. ЗПО проектируются на землях колхозов и совхозов и других хозяйств без изъятия этих земель из сельскохозяйственного производства.

8.4. ЗПО могут быть трех видов:

с круглогодовым приемом сточных вод и орошением (на легких, хорошо фильтрующих почвах);

с круглогодовым приемом сточных вод в регулирующие емкости и орошением сельскохозяйственных культур только в вегетационный период;

с приемом сточных вод и орошением только в вегетационный период при наличии специальных сооружений для доочистки.

8.5. Проектировать сооружения для очистки сточных вод населенного пункта рекомендуется в комплексе с ЗПО с учетом п. 8.4.

8.6. Проекты ЗПО согласовываются с органами по регулированию использования и охране вод Минводхоза СССР, государственного санитарного надзора, государственной ветеринарной службы, сельского хозяйства и геологии.

8.7. На ЗПО сточные воды могут подаваться после механической и биологической очистки. При количестве сточных вод до 1 тыс. м3/сут временно допускается очистка в двухъярусных отстойниках и биологических прудах.

8.8. При проектировании сооружений для использования очищенных сточных вод рекомендуется сочетать регулирующие емкости (пруды-накопители) с поливными участками (собственно полями орошения). Это позволит обеспечить удовлетворительное санитарно-гигиеническое состояние сооружений (за счет длительного пребывания сточных вод в прудах-накопителях) и сельскохозяйственный эффект, так как накопители дают возможность использовать воду в периоды наибольшей потребности в орошении и не производить поливы во время затяжных дождей.

8.9. Выбор территории под ЗПО следует производить с учетом защищенности подземных вод и размещения действующих и проектируемых сооружений для их забора. Как правило, ЗПО располагаются внизу по течению грунтового потока от сооружений для забора подземных вод (при централизованном водоснабжении) на расстоянии не менее: для суглинков - 200 м, супеси - 300 м и песков - 500 м.

8.10. Между массивом орошения сточными водами и населенными пунктами в зависимости от способов полива должна находиться санитарно-защитная зона размером не менее: 100 м - при подпочвенном способе полива, 200 м - при поверхностно-самотечном и 300 м - при дождевании коротко- и среднеструйными аппаратами. Санитарно-защитные зоны до магистральных дорог, включая полосу отчуждения, должны составлять не менее 50 м.

На землях с близким залеганием грунтовых вод орошение сточными водами допускается при условии дренажа.

8.11. Пруды-накопители системы ЗПО рационально устраивать на малопригодных для сельского хозяйства землях (овраги, балки, естественные понижения). При этом следует учитывать возможное влияние фильтрационных потерь из накопителя в грунтовые воды.

Пруд-накопитель следует предусматривать на ЗПО с песчаными почвами из расчета трехмесячного накопления, а на глинистых почвах - шестимесячного, который выполняют, составляя баланс поступления и потребления воды в расчетный год, например, по декадам, и увязывать с продолжительностью морозного периода, когда проведение поливов затруднено.

Пруды-накопители целесообразно устраивать на командных отметках ЗПО с тем, чтобы полезный объем воды мог поступать на орошение самотеком.

Гидравлическая нагрузка сточных вод в условиях средней полосы СССР составляет около 150 м3/га пруда в сутки при устройстве ЗПО на легких почвах и 75 м3/га в сутки - на тяжелых.

Минимальное количество ступеней пруда - 4. Глубина слоя воды 1,5 м при общей глубине пруда 2 м.

Общий объем прудов складывается из полезного и мертвого объемов. Мертвый объем необходим для поддержания антифильтрационных свойств закольматированного дна прудов. При песчаных грунтах следует предусматривать противофильтрационные мероприятия. Кроме того, при эксплуатации нельзя допускать сработку мертвого объема.

Подачу воды в пруды-накопители и отвод целесообразно осуществлять в каждой ступени, что позволит эксплуатировать их в качестве проточных и контактных.

В прудах-накопителях проточного типа вода непрерывно подается в первую ступень и отводится на орошение из четвертой.

8.12. Из прудов-накопителей сточную воду следует подавать на ЗПО в вегетационный период и частично во вневегетационный. Основным расчетным показателем ЗПО служит нагрузка для средней полосы СССР, которая рекомендуется 10 м3/га в сутки на легких почвах и 5 м3/га в сутки - на тяжелых почвах.

Учитывая, что интенсивность биологических процессов в водной среде и почве, а также рост и развитие растений находятся в прямой зависимости от климатических условий, в первую очередь, от температуры воздуха и солнечной радиации, норму нагрузки для других районов можно рассчитать по формуле

                                                      (19)

где Мх - годовая норма нагрузки для условий района проектируемых ЗПО;

Мср - то же, для таких же почвенных условий средней полосы СССР (1825 - 3650 м3/га в год);

 - годовая сумма положительных среднесуточных температур района проектирования ЗПО, °С.

Расчетным режимом при проектировании ЗПО является в среднесухой год 75 %-ная обеспеченность осадками, а в сухой год в засушливых районах - 90 %-ная обеспеченность.

8.13. На ЗПО разрешается выращивать однолетние и многолетние травы, технические, кормовые, зерновые и силосные культуры, а также древесные и кустарниковые породы деревьев.

Для условий средней полосы СССР в качестве компонентов травяной смеси многолетних трав рекомендуется «костер безостый», «тимофеевка луговая», «лисохвост луговой», «ежа сборная», «канареечник тростниковидный», «овсяница тростниковидная», «мятлик луговой».

8.14. Площадь ЗПО Fбрутто определяется по формуле

Fбрутто = Q/qη, га,                                                       (20)

где Q - суточный расход сточной воды; q - среднесуточная нагрузка; η - коэффициент земельного использования (КЗИ).

КЗИ в зависимости от расхода сточных вод принимается

Расход, м3/сут       25 - 50     100        200        400         700        1400

КЗИ                       0,72          0,73       0,76       0,78        0,8         0,81

8.15. Система ЗПО включает:

закрытую оросительную сеть;

гидранты (водовыпуски) на каждом поливном участке;

колодцы-водовыпуски для опорожнения оросительной сети;

поливные средства (трубопроводы, шланги и т.д.);

валики по границам поливных участков;

дороги;

лесозащитные полосы.

8.16. Оросительная сеть выполняется в виде закрытых трубопроводов из железобетонных, асбоцементных и других неметаллических труб. Глубина заложения труб не менее 0,7 м, считая от их верха до поверхности земли.

8.17. Конструкция и параметры гидрантов определяются принятой техникой полива и условиями орошения (вегетационное, круглогодовое). При круглогодовом орошении необходимо предусматривать утепление гидрантов на зимний период.

8.18. Колодцы-водовыпуски устраиваются на нижних точках продольного профиля закольцованного трубопровода.

8.19. На ЗПО могут применяться все существующие в орошаемом земледелии способы полива: по бороздам, полосам, затоплением по чекам, подпочвенное орошение, дождевание.

8.20. За пределы территории ЗПО запрещается сброс сточных вод при поливе, что необходимо учитывать при выборе техники и технологии полива.

Для предупреждения аварийных сбросов при поверхностно-самотечном поливе рекомендуется по нижней границе ЗПО устраивать ограждающий валик (высотой не менее 0,3 м); сбросные воды направляются ограждающими валиками и ложбинами для впитывания и испарения на буферные площадки, устраиваемые на самых низких участках. Площадки рекомендуется оборудовать дренажем и устраивать высотой не более 0,8 м. Водосброс с буферных площадок рассчитывается на пропуск ливневого и паводкового расхода 5 %-ной обеспеченности после двухчасового отстаивания. Сбросная сеть может состоять из открытых каналов, которые целесообразно облицовывать бетоном, если они не выполняют дренажные функции.

8.21. По границам ЗПО и регулирующих водоемов устраиваются санитарно-защитные лесополосы плотной конструкции: ширина полосы со стороны населенных пунктов при поливе дождеванием рекомендуется не менее 30 м, а при других поливах - 10 - 15 м. Ассортимент древесно-кустарниковых пород выбирается с учетом опыта обычного орошения конкретной зоны.

Дороги на ЗПО следует прокладывать вдоль закрытой сети, совмещая их с эксплуатационными, а при поверхностном орошении - преимущественно параллельно водосборной сети, с ее нижней стороны.

8.22. Осадки, образующиеся при очистке сточных вод, следует применять в качестве удобрения, поскольку они содержат в комплексе азот, фосфор и калий. Количество основных элементов питательных веществ, в %, на сухое вещество приведено в табл. 14.

Таблица 14

Наименование элемента

Тип осадка

Навоз крупного рогатого скота

сырой

активный ил

анаэробно-сброженный осадок

Азот (N)

1,6 - 4

2,4 - 6,5

1,7 - 6

2 - 2,6

Фосфор (P2O5)

0,6 - 5,2

2,3 - 8

0,9 - 6,6

1,6 - 1,8

Калий (K2O)

0,2 - 0,6

0,3 - 0,4

0,2 - 0,5

1,8 - 1,9

Из таблицы видно, что осадки уступают навозу лишь по содержанию калия.

8.23. Использовать осадок разрешается после обезвреживания. С этой целью осадок подсушивается на иловых площадках и затем компостируется в течение 5 - 6 мес, из которых 2 - 3 мес должны приходиться на теплое время года (при условии достижения температуры компоста не менее 60 °С). При этом для повышения его пористости ж удобства погрузки, перемещения механизмами осадок целесообразно перемешивать с торфом, опилками, грунтом.

Благодаря высокой удобрительной ценности на отдельных участках осадок вносят (запахивают) в почву 1 раз в 3 - 4 года.

9. ОЧИСТНЫЕ СООРУЖЕНИЯ СИСТЕМ ДЕЦЕНТРАЛИЗОВАННОЙ (МЕСТНОЙ) КАНАЛИЗАЦИИ

9.1. Децентрализованные системы канализации предназначены для удаления небольших количеств сточных вод (до 6 м3/сут в варианте для трех домов с общим количеством жителей 24 чел.) при поэтапном развитии инженерного оборудования поселка с выделением зоны, обслуживаемой этими системами.

9.2. Самотечные сети децентрализованных систем следует выполнять из асбестоцементных и керамических труб диаметрами 150 - 100 мм, которые принимаются без расчета вследствие малых расходов отводимых стоков.

9.3. В составе очистных сооружений предусматриваются септики и сооружения подземной фильтрации на основе типовых проектов ЦНИИЭП инженерного оборудования 902-03-23 «Канализационные очистные сооружения биологической очистки производительностью 0,45 - 12,0 м3/сут»; 902-3-24 «Фильтрующие колодцы и вспомогательные сооружения производительностью 0,45 - 0,75 м3/сут»; 902-3-25 «Септики и вспомогательные сооружения производительностью 0,45 - 12,0 м3/сут» (рис. 16, 17, 18).

В настоящих Рекомендациях дается пример решения раздельной системы канализации с люфт-клозетом и отведением стоков от ванны, мойки и умывальника на орошение участка (прил. 3).

9.4. Очистные сооружения подземной фильтрации в комплексе с септиками применяются при наличии свободных площадей для их размещения и грунтовых условиях, исключающих опасность загрязнения водоносных горизонтов.

Сточная вода, осветляемая в септиках, поступает на сооружения подземной фильтрации, устраиваемые при песчаных и супесчаных грунтах в виде фильтрующих колодцев и полей подземной фильтрации, а при суглинистых и глинистых грунтах в виде фильтрующих траншей и песчано-гравийных фильтров. В первом случае очищенная вода фильтруется в грунт, во втором - отводится в естественные водоприемники (лог, овраг, река).

9.5. Раздельная система канализации с люфт-клозетом и отведением стоков («серых вод») от ванны, мойки и умывальника на орошение участка рекомендуется, в первую очередь, в засушливой зоне и зоне недостаточного увлажнения. Серые воды поступают в накопитель, обрабатываются известью (для осаждения ПАВ) и насосом подаются на орошение по бороздам (см. прил. 23). Обеззараживание серых вод в накопителе осуществляется хлорпатроном (рис. 19).


 

Рис. 16. Принципиальные схемы очистных сооружений

а - с фильтрующей траншеей при отсутствии самотечного выпуска и фильтрующим колодцем; б - с полями фильтрации; в - с фильтрующей траншеей при самотечном выпуске; 1 - колодец; 2 - септик; 3 - фильтрующий колодец; 4 - фильтрующая траншея или песчано-гравийный фильтр (вариант для плоского рельефа или удаленного водоприемника); 5 - колодец гашения напора; 6 - погружной насос 2,5 ЭЦК-16-6; 7 - насосная станция перекачки; 8 - поля подземной фильтрации; 9 - дозирующая камера

Рис. 17. Канализация одного дома

I - септик и фильтрующий колодец; II - септик и поля подземной фильтрации; а - в песчаных грунтах; б - в супесчаных грунтах; в - септик и фильтрующая траншея в глинистых грунтах; г - септик и песчано-гравийный фильтр в суглинистых грунтах; 1 - жилой дом; 2 - летняя кухня с выгребом; 3 - помещение для переработки продукции личного подсобного хозяйства; 4 - хозяйственный навес; 5 - помещение для хранения инвентаря и топлива; 6 - помещение для содержания скота и птицы; 7 - гараж; 8 - баня; 9 - теплица; 10 - выгульный дворик; 11 - площадка для навоза; 12 - огород; 13 - сад; 14 - смотровой канализационный колодец; 15 - септик; 16 - распределительный колодец; 17 - фильтрующий колодец; 18 - песчано-гравийный фильтр; 19 - поля подземной фильтрации; 20 - фильтрующая траншея

Рис. 18. Канализация трех домов

а - септик и поля подземной фильтрации в песчаных грунтах; б - септик и поля подземной фильтрации в супесчаных грунтах; в - септик и фильтрующая траншея в глинистых грунтах; г - септик и песчано-гравийный фильтр в суглинистых грунтах; 1 - поля подземной фильтрации; 2 - смотровой канализационный колодец; 3 - септик; 4 - распределительный колодец; 5 - фильтрующая траншея; 6 - собирающий колодец; 7 - песчано-гравийный фильтр


Рис. 19. Вариант канализации одного дома с люфт-клозетом и отведением «серых» стоков на орошение приусадебного участка

а - план участка; б - схема канализации; 1 - жилой дом; 2 - летняя кухня с погребом; 3 - помещение для переработки продукции личного подсобного хозяйства; 4 - хозяйственный навес; 5 - помещение для хранения инвентаря и топлива; 6 - помещение для содержания скота и птицы; 7 - гараж: 8 - баня; 9 - теплица; 10 - выгульный дворик; 11 - площадка для навоза; 12 - огород; 13 - сад; 14 - люфт-клозет; 15 - смотровой колодец; 16 - накопитель; 17 - распределительный лоток; 18 - приямок гашения напора; 19 - насос типа 2,5 ЭЦК-16-6; 20 - хлорпатрон; 21 - вытяжной стояк

9.6. В настоящее время для очистки малых расходов сточных вод ЦНИИЭП инженерного оборудования разработан проект биотуалета в комплексе с электрокоагулятором. Серые воды, прошедшие обработку и обеззараживание на электрокоагуляторе, могут быть использованы для орошения участка.

9.7. Применение того или иного способа очистки сточных вод, размещение очистных сооружений и выпуск очищенных стоков в каждом конкретном случае следует согласовывать с органами саннадзора.

9.8. Размещать очистные сооружения рекомендуется в соответствии с требованиями СНиП по проектированию наружных сетей и сооружений канализации с учетом уклона рельефа местности и тока грунтовых вод ниже водозабора.

Оросительные трубы полей подземной фильтрации, отводящие дрены песчано-гравийных фильтров и фильтрующие траншеи, а также основания фильтрующих колодцев должны располагаться выше уровня грунтовых вод не менее чем на 1 м.

9.9. Ведомственные организации и индивидуальные застройщики до начала работ обязаны согласовать проект и отвод участка под строительство с заинтересованными организациями.

Септики

9.10. Септики применяются для предварительной обработки сточных вод, поступающих в системы подземной фильтрации, и служат для задержания и анаэробного разрушения содержащихся в стоках нерастворенных органических веществ. В системах канализации индивидуальной застройки септики могут применяться при расходах 0,45 - 6 м3/сут и в отдельных общественных зданиях до 12 м3/сут.

Поля подземной фильтрации

9.11. Поля подземной фильтрации пропускной способностью 0,45 - 12 м3/сут применяются в фильтрующих грунтах - песках и супесях. Выбор схемы расположения полей в плане зависит от суточного расхода и рельефа местности. На полях подземной фильтрации допускается выращивание огородных культур.

Песчано-гравийные фильтры и фильтрующие траншеи

9.12. Песчано-гравийные фильтры и фильтрующие траншеи применяются в глинистых и суглинистых грунтах. Они могут быть одно- и двухступенчатые.

Двухступенчатые фильтры рекомендуется применять для более глубокой очистки сточных вод (менее 15 мг/л по БПК5) при благоприятном рельефе местности. Толщина фильтрующего слоя принимается от 1,0 до 1,5 м.

Фильтрующие траншеи являются конструктивной разновидностью песчано-гравийных фильтров и применяются в зависимости от местных топографических и гидрогеологических условий. Толщину фильтрующего слоя следует принимать 0,8 - 1,0 м. Загрузка выполняется аналогично одноступенчатому песчано-гравийному фильтру.

Материалы и изделия

9.13. Оросительная и дренажная сети в сооружениях подземной фильтрации выполняются из асбестоцементных труб с пропилами или дренажных керамических труб, а в качестве фильтрующего материала используется песок, щебень и гравий. Септики и фильтрующие колодцы выполняются из сборных железобетонных колец диаметром 1 - 2 м, а также из монолитного железобетона и кирпича.

Планировочные решения

9.14. При планировке поселков с выделением зоны децентрализованной системы канализации необходимо предусматривать свободные участки для очистных сооружений. В условиях фильтрующих грунтов размеры таких участков могут быть аналогичны размерам участков, выделяемых под застройку. В условиях слабофильтрующих грунтов (глина, суглинки) децентрализованную систему канализации целесообразно размещать на периферийных участках вследствие больших разрывов от границ жилой застройки до сооружений типа песчано-гравийных фильтров и фильтрующих траншей, а также применять люфт-клозеты.

9.15. В условиях плоского рельефа и удаленного расположения приемника очищенных сточных вод на выходе после очистных сооружений устанавливается сборный колодец с погружным фекальным насосом. Сброс очищенных сточных вод в этом случае может осуществляться по напорному трубопроводу.

Таблица 15

Тип очистных сооружений

Грунты

Капитальные затраты, тыс. руб., при среднесуточном расходе сточных вод, м3/сут

0,56

1,7

очистные сооружения

сети

внутреннее оборудование

очистные сооружения

сети

внутреннее оборудование

Септики и фильтрующие колодцы

Песок

0,4

0,15

0,3

-

-

-

Супесь

0,6

0,15

0,3

-

-

-

Септики и поля подземной фильтрации

Песок

0,5

0,15

0,3

0,75

0,95

0,9

2,6/0,87

Супесь

0,625

0,175

0,3

1,175

0,95

0,9

3/1

Септики и фильтрующие траншеи

Суглинки и глины

0,4

0,2

0,3

0,9

1

0,9

2,8/0,94

Септики и песчано-гравийные фильтры

-

-

-

0,9

1

0,9

2,8/0,94

Примечания: 1. Среднесуточные расходы приведены для домов с условной численностью 3,6 и 10,8 чел.

2. В знаменателе даны показатели из расчета на одну семью.

3. Годовые эксплуатационные затраты на септики и поля подземной фильтрации составляют от 0,04 до 0,14 тыс. руб.

9.16. Технико-экономические показатели оборудования канализации приведены в табл. 15.

10. УСТАНОВКА ДЛЯ ОЧИСТКИ БАННЫХ ВОД

10.1. Специальные установки для очистки банных и банно-прачечных вод следует предусматривать в тех случаях, когда соотношение расходов банно-прачечных и бытовых сточных вод превышает 1:1 или когда по местным условиям нецелесообразен отвод банно-прачечных вод в общую канализационную сеть поселка (значительное расстояние, неудобный рельеф и т.п.).

10.2. Осветление банных и банно-прачечных вод осуществляется методами коагуляции и отстаивания в горизонтальных отстойниках контактного типа.

10.3. Банные воды должны дезинфицироваться раствором хлорной извести. Коагулянт и дезинфектант обычно вводятся в контактный отстойник совместно. Для этой цели используется общее реагентное хозяйство (растворные и затворные баки, дозирующий бачок и ершовый смеситель).

10.4. В качестве коагулянта применяется известь (в количестве 400 г/м3 сточных вод, считая по активной окиси кальция), расчетное количество которой следует принимать равным 50 % массы товарной извести.

Раствор извести концентрацией до 5 % (после смешения со сточной водой) вводится в контактный отстойник 2 - 3 раза в сутки.

10.5. Число отстойников принимается равным: 1 - при работе бани в одну смену и 2 - в две смены.

Объем отстойной части должен быть равен суточному притоку при одном отстойнике и полусуточному - при двух.

Объем иловой части определяется по количеству осадка, принимаемому равным 2 % объема сточных вод; продолжительность накопления осадка составляет не более 2 сут.

Высоту нейтрального слоя следует принимать равной 0,2 м.

11. УСЛОВИЯ СОВМЕСТНОГО КАНАЛИЗОВАНИЯ ЖИЛОЙ И ПРОИЗВОДСТВЕННОЙ ЗОН

11.1. В производственной зоне (в общем случае) образуются следующие виды сточных вод: бытовые, производственные, загрязненный и незагрязненный поверхностные стоки.

Ввиду относительно небольшого объема бытовых сточных вод их, как правило, отводят совместно с производственными. В ряде случаев возникает необходимость отвода в эту же сеть загрязненного поверхностного стока. Незагрязненные поверхностные воды отводятся в водоем системой открытых каналов и лотков.

Производственные сточные воды, подлежащие очистке совместно с бытовыми, не должны нарушать работу сетей и сооружений (см. п. 7.4): содержать вещества, способные засорять трубы канализационной сети или откладываться на их стенках, разрушая материал труб и элементы сооружений канализации; горючие примеси и растворенные газообразные вещества, способные образовывать взрывоопасные смеси в канализационных сетях и сооружениях, а также вредные вещества в концентрациях, препятствующих биологической очистке сточных вод или сбросу их в водоем; иметь температуру выше 40 °C.

Примечание. Производственные сточные воды, не удовлетворяющие указанным требованиям, следует подвергать предварительной очистке, степень которой должна быть согласована с органами водной охраны и санитарного надзора, а также с организациями, проектирующими очистные сооружения населенного пункта.

11.2. Навоз, навозная жижа и помет домашних птиц - ценные органические удобрения - должны отводиться отдельной сетью, собираться и утилизироваться.

При этом необходимо руководствоваться правилами Системы удаления, обработки, обеззараживания, хранения, подготовки и использования навоза и помета. ОНТП-17-81 (М., Минсельхоз, 1981).

11.3. При разработке проектов совместной канализации жилой и производственной зон в первую очередь следует выявлять техническую возможность и экономическую целесообразность объединения систем.

11.4. К наружной канализационной сети присоединяются все здания комплекса, оборудованные внутренней канализацией для отвода бытовых и производственных стоков.

В объединенные системы канализации могут отводиться сточные воды после следующих производственных процессов (в зависимости от назначения комплекса):

мойки корнеплодов, овощей и фруктов - после локальной очистки в грязеотстойниках;

мойки автомашин, тракторов и другой сельскохозяйственной техники - после локальной очистки в грязеотстойниках с маслобензоуловителем (мойка машин, работающих на этилированном бензине, должна производиться в соответствии с правилами, утвержденными Министерством здравоохранения СССР);

мойки молочной посуды, молокопроводов и другого молочного оборудования;

поения птиц (из проточных поилок, установленных в птичниках), мойки поддонов клеток, инкубаторных станций, убойных пунктов на птицефермах и птицефабриках - при соответствии состава загрязнений требованиям, изложенным в п. 7.4;

сухой уборки помета в птичниках (вода расходуется на промывку поилок и кормушек, периодическую промывку клеток, а также на мытье полов) - при концентрации загрязнений по взвешенным веществам до 500 мг/л, БПК5 - до 400 мг/л.

11.5. Расчет сооружений для локальной очистки производственных стоков следует проводить в соответствии с ведомственными нормами Министерства сельского хозяйства СССР.

11.6. Сточные воды из изоляторов для содержания животных с инфекционными заболеваниями, убойных и утилизационных отделений санитарных боен должны собираться отдельной сетью и перед выпуском в объединенную систему канализации обеззараживаться.

Методы обеззараживания производственных сточных вод устанавливаются в каждом отдельном случае по согласованию с органами санитарно-эпидемиологической службы Министерства здравоохранения СССР и Ветеринарной инспекцией МСХ СССР.

При дезинфекции сточных вод изоляторов дозу хлора (по активному хлору) следует принимать не менее 100 мг/л. Применяются отстойники контактного типа. Емкость дезинфектора должна быть равна полусуточному притоку.

Отвод обеззараженных стоков из отстойника-дезинфектора разрешается через 2 ч после их поступления.

12. ТЕХНИЧЕСКИЕ РЕШЕНИЯ СИСТЕМ КАНАЛИЗАЦИИ В РАЙОНАХ КРАЙНЕГО СЕВЕРА И СИБИРИ

12.1. К особенностям строительства канализационных сетей и сооружений в районах Крайнего Севера и Сибири относятся:

специальные теплотехнические и другие мероприятия, исключающие замерзание сточных вод в сетях и емкостях;

прокладка коллекторов с тепловой изоляцией;

предотвращение переохлаждения сточных вод (для обеспечения процесса биологической очистки на очистных сооружениях);

минимальное число присоединений к магистральным трубопроводам за счет объединения выпусков из зданий;

устройство выпусков из зданий минимальной длины во избежание их обмерзания;

размещение канализационных трубопроводов вне проезжей части (например, на уличных газонах, участках озеленения во дворах и т.п.).

12.2. Нормы водоотведения для расчета канализационных сетей и сооружений принимают на 10 - 30 % выше норм водопотребления для обеспечения расхода на принудительные «холостые» сбросы воды из водопровода в канализацию и предохранения сети от обмерзания. Холостые сбросы воды допускаются только в том случае, если в результате технико-экономических сравнений с другими способами предохранения сетей от обмерзания этот способ окажется более эффективным и экономичным.

12.3. В отечественной практике в населенных пунктах Крайнего Севера, имеющих централизованные системы канализации, распространена неполная раздельная система.

12.4. В Северной зоне применяются подземная, надземная и наземная прокладки канализационных сетей (рис. 20).

Подземную прокладку целесообразно осуществлять в пределах застройки поселка в целях максимального благоустройства. Необходимость теплоизоляции трубопроводов обосновывается расчетом. Подземная прокладка не рекомендуется в просадочных и льдонасыщенных грунтах в связи с образованием больших таликов и сложностью обеспечения устойчивости трубопроводов. При необходимости прокладки сетей в таких грунтах следует предусматривать меры, обеспечивающие устойчивость трубопроводов при оттаивании грунтов в основании, а именно: преимущественно замену грунта в ореоле оттаивания, в отдельных вынужденных условиях устройство свайного основания и изоляцию трубопровода с целью уменьшения теплового влияния на грунт и др. Глубина заложения трубопроводов должна быть возможно меньшей. В зависимости от мерзлотно-грунтовых условий она обычно колеблется в пределах 0,5 - 0,7 м (до верха трубы). Самотечные трубопроводы могут заглубляться до 3 - 3,5 м.

Наземная прокладка применяется за пределами застройки поселка, на пониженных и заболоченных территориях, на участках трассы с льдонасыщенными грунтами. В пределах поселков наземная прокладка допускается при малоэтажной застройке и минимальном числе пересечений трубопроводов с проездами и тротуарами. Трубопроводы прокладывают по низким лежневым и городковым опорам, а также в земляных валиках или в непроходных полузаглубленных каналах, как правило, в кольцевой теплоизоляции.

Надземная прокладка осуществляется по эстакадам, мачтам и другим опорам; в проветриваемых подпольях зданий; по конструкциям зданий и сооружений. При этом трубы покрываются кольцевой теплоизоляцией.

При подземной прокладке арматуру и приборы размещают в колодцах (рис. 21), а при наземной и надземной - в камерах-колодцах, камерах-будках. Тип прокладок выбирается с учетом местных условий на основе технико-экономического сравнения вариантов.

12.5. При проектировании канализации в условиях вечномерзлых грунтов принимают во внимание тепловое влияние сетей (подземная прокладка) на температурный режим грунтов в основании близрасположенных зданий и сооружений. Кроме того, производят теплотехнические расчеты для определения падения температуры сточных вод по длине трубопровода. Если по режиму водоотведения на отдельных участках канализационной сети не обеспечивается необходимый постоянный приток сточной воды или происходит недопустимое ее охлаждение, то для этих участков следует предусматривать меры, предохраняющие сеть от замерзания.

Рис. 20. Конструкции одиночных прокладок трубопроводов канализации для строительства на вечномерзлых грунтах

I - подземная: а - на искусственном основании из древесных лежней: 1 - местный грунт; 2 - трубопровод; 3 - опорный брусок; 4 - продольные лежни из бревен; 5 - то же, из брусьев; 6 - глинобетон; б - на грунтовом основании при напорной (А) и самотечной (В) канализации: 1 - местный грунт; 2 - трубопровод; 3 - глинобетон; 4 - замененный грунт; в - на свайном основании: 1 - трубопровод; 2 - опорный брусок; 3 - прогоны из окантованных бревен; 4 - сваи диаметром 30 см через 3 м с заглублением на 3 м в вечномерзлый грунт ниже деятельного слоя; 5 - местный грунт; II - в земляных валиках: а - по естественному растительному покрову: 1 - песчано-гравийный слой; 2 - местный грунт; 3 - одерновка; 4 - глинобетон; 5 - местный уплотненный грунт; 6 - торф; 7 - снег; б - полувыемка-полунасыпь: 1 - песчано-гравийный слой; 2 - местный грунт; 3 - одерновка; 4 - глинобетон; 5 - местный уплотненный грунт; III - наземная: а - на лежневой опоре: 1 - поверхность земли; 2 - грунтовая подсыпка; 3 - брус 10×16 см; 4 - чугунная труба; 5 - теплоизоляция; 6 - прогоны диаметром 22 см; б - на железобетонных промежуточных катковых опорах; в - на городковых опорах: 1 - трубопровод; 2 - опора; 3 - грунтовая призма; 4 - естественный грунт; г - на сваях с деревянными опорами; д - на сваях с железобетонными опорами

Рис. 21. Конструкция сборных железобетонных канализационных колодцев для строительства на вечномерзлых грунтах

1 - деревянная утепленная крышка; 2 - опорное кольцо; 3 - стеновое кольцо; 4 - плита перекрытия колодца; 5 - штукатурная асфальтовая гидроизоляция; 6 - сальник; 7 - набетонка из бетона М 50 толщиной 0,02; 8 - граница оттаивания грунта; 9 - железобетонное днище (цементная стяжка - 15 мм, штукатурная асфальтовая изоляция - 15 мм, цементная стяжка - 15 мм, щебень, втрамбованный в грунт; уплотненная оптимальная смесь); 10 - засыпка оптимальной грунтовой смесью; 11 - металлические крепежные детали для колодцев в сейсмических районах; 12 - асфальтовая стяжка; 13 - граница сезонного оттаивания грунта; 14 - граница оттаивания грунта после возведения сооружения

12.6. При биологической очистке следует предусматривать следующие способы защиты трубопроводов от переохлаждения сточных вод (ниже 10 °С):

рациональная схема трассировки сетей;

применение соответствующего вида прокладки;

обеспечение непрерывного движения по трубопроводам;

подогрев воды (холостые сбросы и др.);

подогрев трубопровода;

тепловая изоляция.

Способ предохранения сети от переохлаждения выбирается на основе технико-экономического сравнения вариантов для каждого конкретного случая.

12.7. Конструкцию выпусков очищенных сточных вод выбирают в зависимости от особенностей водоема-приемника (рис. 22). Если водоем не промерзающий, то выпуск может быть затопленным. При этом оголовок выпуска заглубляют с учетом ледового гидрогеологического режимов водоема. В промерзающих водоемах выпуски сооружают с учетом возможного намораживания сточных вод в зимний период.

Рис. 22. Конструкция выпусков для строительства на вечномерзлых грунтах (вариант наземной прокладки)

а - в реку, не промерзающую до дна; б - то же, промерзающую; в - то же, промерзающую, с широкой поймой; 1 - коллектор; 2 - береговой колодец; 3 - каменная наброска; 4 - лоток; 5 - оголовок

Очищенные сточные воды могут быть направлены в овраги и суходолы. В таких случаях также необходимо учитывать возможность зимнего намораживания сточных вод.

12.8. Канализационные насосные станции в районах с вечномерзлыми, просадочными при оттаивании грунтами необходимо располагать в местах залегания коренных, талых или непросадочных грунтов. При этом используются типовые проекты канализационных насосных станций для обычных условий с корректировкой подземной части. При строительстве насосных станций на вечномерзлых грунтах, просадочных при оттаивании, следует предусматривать меры по сохранению вечной мерзлоты (рис. 23).

12.9. Обеззараживание сточных вод может осуществляться жидким хлором или гипохлоритом натрия, полученным электролизом поваренной соли.

Метод прямого электролиза представляется наиболее рациональным в условиях Крайнего Севера, поскольку не требуется регулярная поставка реагентов.

12.10. Для обработки осадков рекомендуются способы намораживания осадка на площадках с последующим оттаиванием, сушкой и вывозом в отвал, механического обезвоживания осадка на центрифугах и вывоза совместно с бытовым мусором в отвал.

Рис. 23. Канализационная насосная станция для строительства на вечномерзлых грунтах

1 - вентиляционная камера; 2 - электрощитовое помещение; 3 - гардероб; 4 - бытовое помещение; 5 - тамбур; 6 - машинное отделение; 7 - приемный резервуар; 8 - решетка-дробилка; 9 - насос; 10 - бак разрыва струи; 11 - граница оттаивания грунта после возведения сооружений; 12 - отвод на взмучивание осадка в приемном резервуаре; 13 - засыпка оптимальной грунтовой смесью; 14 - напорный трубопровод; 15 - граница сезонного оттаивания грунта

Выбор метода производится в зависимости от местных условий на основании технико-экономического сравнения вариантов, при этом предпочтение следует отдавать естественным методам.

13. ПРИМЕР РЕШЕНИЯ СХЕМЫ КАНАЛИЗАЦИИ ПОСЕЛКА

Характеристика объекта канализования

13.1. Канализованию подлежит один из поселков, расположенных в средней полосе.

Основные показатели проекта планировки и застройки поселка, разработанного ЦНИИЭП граждансельстрой (1982 г.), приведены в табл. 16.

Жилая застройка поселка оборудована водопроводом, канализацией и ваннами с местными водонагревателями. В производственной зоне, прилегающей к поселку, расположены ферма крупного рогатого скота (КРС) и ремонтно-механический двор (РМД).

Таблица 16

Наименование

Значения показателей

Численность населения, чел.

1580

Обеспеченность жилой площадью, м2/чел.

18

Общая жилая площадь поселка, м2

28440

Удельный вес одноэтажной застройки в процентах жилой площади

92

Плотность жилого фонда, м2/га

259

Территория всего поселка, га

121,25

На ферме КРС содержатся: коровы - 1000 голов; молодняк - 1200; овцы - 5000; лошади - 70.

Ремонтно-механический двор рассчитан на 25 тракторов и 45 прочих сельскохозяйственных машин (включая пункты технического обслуживания).

Рельеф территории поселка понижается в направлении с юга на север и северо-запад к водостоку. Преобладающие грунты - суглинки и супеси.

Схемы канализации поселка

13.2. Проектом предусмотрены три варианта канализации поселка;

I - централизованная всей жилой застройки с отводом всех сточных вод на единые очистные сооружения (рис. 24, вариант 1);

II - централизованная двухэтажной застройки общественных зданий и производственной зоны; децентрализованная поэтапная одноэтажной застройки (рис. 24, вариант 2).

III - децентрализованная поэтапная всей застройки. Общий срок службы системы канализации принят 15 лет.

В проекте выделена первая очередь строительства сооружений и сетей канализации пропускной способностью 200 м3/сут (по I и II варианту). Установки децентрализованной канализации должны возводиться равномерно по годам в течение срока службы системы.

Сточные воды централизованно канализуемой застройки поступают на очистные сооружения самотеком и после полной биологической очистки и доочистки в биологических прудах сбрасываются в водоток.

Очистные сооружения рекомендуется располагать ниже поселка по течению водотока, на расстоянии 200 м от границы застройки.

13.3. Норма водоотведения принята: при централизованной системе канализации - 230 л/чел ∙ сут, при децентрализованной - 160 л/чел ∙ сут.

В бытовую канализацию поселка от фермы КРС после предварительной очистки поступают бытовые стоки, стоки от мойки молочной посуды, ветсанпропускника, ветпункта, кормозаготовительной.

Сточные воды ремонтно-механического двора образуются от мытья машин. Перед выпуском в канализацию они проходят бензомаслоуловитель.

Основные расчетные данные о системах канализации (по вариантам) приведены в табл. 17.

Таблица 17

Наименование

Варианты

I

II

III

Число жителей, обслуживаемых централизованной системой, чел.

1580

350

-

То же, децентрализованной системой

-

1230

1580

Количество сточных вод при централизованной системе канализации, м3/сут

500

217

136

В том числе:

от жилой и общественной зон

364

81

-

от производственной зоны

136

136

136

Количество сточных вод от децентрализованных систем, м3/сут

-

197

253

Количество установок при пропускной способности одной установки 0,58 м3/сут, шт.

-

340

440

13.4. Концентрация загрязнения в сточных водах, поступающих на очистные сооружения централизованной системы канализации от поселка и производственной зоны, приведена в табл. 18. Величины концентрации загрязнений от производственной зоны даны с учетом работы сооружений локальной очистки.

Расчет необходимой степени очистки сточных вод

13.5. Расчет ведется для двух вариантов централизованного канализования. Сброс сточных вод после очистки проектируется в водоток, который является водоемом второго вида водопользования в рыбохозяйственных целях. Характеристику водоприемника следует запросить в местных органах Госгидромета.


Рис. 24. Схема канализации (вариант I и II)

1 - зона одноэтажной застройки; 2 - зона двухэтажной застройки; 3 - трехэтажные секционные жилые дома; 4 - общественные и коммунальные здания; 5 - локальные очистные сооружения; 6 - производственные здания; 7 - станция подкачки сточных вод; 8 - площадка очистных сооружений; 9 - пруды доочистки; 10 - выпуск в водоток; K1, HK1 - соответственно самотечные и напорные канализационные трубопроводы

Таблица 18

Объекты канализования

Количество производственных сточных вод, м3/сут

Загрязнения по взвешенным веществам

Загрязнения по БПКполн

Общее количество сточных вод, м3/сут

Концентрация загрязнений в общем потоке, г/м3

норма от населения, г/чел. в сут.

норма от производственной зоны, г/м3

суммарные загрязнения, кг/сут

норма от населения, г/чел. в сут

норма от производственной зоны, г/м5

суммарные загрязнения, кг/сут

от населения

от производственной зоны

всего

от населения

от производственной зоны

всего

по взвешенным веществам

по БПКполн

I вариант (централизованная система)

КРС

95

65

400

102,7

38,0

148,9

75

500

118,5

47,5

170,1

500

298

340

РМС

41

-

200

-

8,2

-

-

100

-

4,1

-

-

-

-

II вариант (смешанная система)

КРС

95

65

400

22,7

38

68,9

75

500

26,3

47,5

77,9

217

316

356

РМС

41

-

200

-

8,2

-

-

100

-

4,1

-

-

-

-

III вариант (децентрализованная система)

КРС

95

-

400

-

38

46,2

500

-

47,5

51,6

136

340

380

РМС

41

-

200

-

8,2

-

-

100

-

41,1

-

-

-

-


Водоток в месте выпуска имеет следующую характеристику:

Наименьший среднемесячный расход воды 95 %-ной

обеспеченности Q, м3/с.................................................................... 0,05

Глубина средняя Hср, м.................................................................... 0,2

Средняя скорость течения Vcp, м/с.................................................. 0,1

Коэффициент извилистости реки φ............................................... 1,1

Содержание в воде, мг/л

растворенного кислорода φ0...................................................... 3,2

взвешенных веществ Kр.............................................................. 8

БПКполн Kр..................................................................................... 1,8

В соответствии с Правилами охраны поверхностных вод от загрязнения сточными водами сточные воды после смешения с водотоком должны иметь следующие показатели по загрязнениям, мг/л:

БПКполн Kнор............................................................................. …………..3

Взвешенные вещества Kдоп.................................. увеличение не более чем на 0,75

Нефтепродукты................................................................. ………………0,05

ПАВ..................................................................................... ………………0,5

Коэффициент турбулентной диффузии

ξ = VсрHср/200.                                                           (21)

Коэффициент учета гидравлических условий смешения

                                                             (22)

где q - среднесекундный расход сточных вод, м3/с;

ξ - коэффициент выпуска, для берегового выпуска = 10.

Коэффициент смешения сточных вод

                                                             (23)

где

                                                                (24)

L = 500 м - расстояние до расчетного створа

Кратность разбавления сточной воды в расчетном створе

n = (αQ + q)/q.                                                         (25)

Предельно допустимая концентрация взвешенных веществ в очищенной воде

                                                       (26)

по БПКполн

                                               (27)

Расчетные величины характеристик показателей приведены в табл. 19.

Таблица 19

Показатели

Количество

I вариант

II вариант

III вариант

I очередь

полное развитие

Расчетный приток q, м3

0,0025

0,0058

0,0025

0,0016

Коэффициент смешения α

0,475

0,46

0,475

0,5

Кратность разбавления n

10,5

5

10,5

16,5

Предельно допустимые концентрации в сточной воде, мг/л

взвешенных веществ

15,8

11,7

15,8

20,4

БПКполн

14,4

7,8

14,4

21,8

Коэффициенты, учитывающие условия смешения в водоеме

α

0,375

0,28

0,375

0,44

β

0,05

0,11

0,05

0,03

Данные таблицы показывают необходимость полной биологической очистки сточных вод для вариантов II и III и доочистки для варианта I.

Очистные сооружения

13.6. Очистка сточных вод в аэротенках продленной аэрации с пневматической аэрацией по типовым проектным решениям 902-03-16 предусмотрена для вариантов: I - пропускной способностью 500 м3/сут; II - 200 м3/сут; III - 100 м3/сут.

В варианте I, кроме того, предусмотрена доочистка. Ввиду благоприятных климатических и гидрогеологических условий строительства предусмотрены биологические пруды доочистки.

Время пребывания сточных вод в каждой ступени пруда определяется по формуле (5)

t = 1/2,3K1[L0/(Lt - Lв) - 1], сут,

где K1 = 0,063 - константа скорости разложения органических загрязнений при температуре воды 10 °С;

L0 - БПК20 поступающих на доочистку сточных вод, L0 = 15 мг/л;

Lt - БПК20 очищенных в биопрудах сточных вод, принимается после I ступени 9 мг/л;

Lв - остаточная БПК20, обусловленная внутриводоемными процессами: в теплый сезон принимается равной 3 мг/л, в холодный - 1 мг/л.

Продолжительность пребывания сточных вод в биопруду I ступени 6,1 сут, II - 3,8 сут, общая продолжительность доочистки 9,9 сут.

Объем биопрудов Т определяется по формуле (6)

Т = Qt = 500 ∙ 9,9 = 4950 м3,

где Q - суточный расход сточных вод, м3/сут.

При глубине пруда 1 м площадь I ступени составит 3050 м2, II ступени - 1900 м2.

Во II ступени биопруда деревянной перегородкой отделяется контактная емкость, куда в случае необходимости хлорирования очищенных сточных вод поступает хлорная вода. При отсутствии отстойников в составе очистных сооружений эта емкость рассчитывается на двухсуточный расход сточных вод.

Биопруды представляют собой прямоугольные земляные емкости, глубина которых 1,0 м, высота над водой 0,5 м, заложение подводных откосов 1:2, внешних откосов валиков 1:1,5.

Дно пруда горизонтальное с уклоном 0,002 в сторону трубопровода опорожнения. Основание - естественное.

На перепусках и выпусках устраиваются шахтные колодцы с водосливами на регулируемой высоте, позволяющие изменять уровень воды в биопрудах.

Конструктивные элементы биопрудов даны в типовом проекте 902-3-7.

Технико-экономическое обоснование выбора варианта схемы канализования

13.7. Стоимость строительства канализации определена по сметам типовых проектов очистных сооружений с учетом привязки к местным условиям и присоединения к инженерным системам поселка, по укрупненным показателям сметной стоимости (УПСС) сетей водопровода и канализации и очистных установок местных систем.

Эксплуатационные расходы по вариантам определены по данным типовых проектов очистных станций и установок, а также укрупненным показателям эксплуатационных затрат на сети.

Срок службы системы принимается одинаковым для трех вариантов - 15 лет. Нормативная продолжительность строительства один год.

Таблица 20

Наименование

Варианты строительства

I

II

III

I очередь

расчетный срок

I очередь

расчетный срок

I очередь

расчетный срок

Годовое количество сточных вод, тыс. м3

103,5

183

103,5

151,5

79,6

142,1

В том числе по способам канализования:

централизованный

103,5

183

79,5

79,5

49,6

49,6

децентрализованный

-

-

24

72

30

92,5

Капитальные вложения, тыс. руб.

158,3

348,3

211,8

342,3

208,5

469,5

В том числе:

станции биологической очистки сточных вод с доочисткой в биологических прудах, тыс. руб.

59

105

45

45

35

35

сети с насосной станцией перекачки сточных вод,*

км

тыс. руб.

3,7

99,3

11,3

243,3

3,7

99,3

3,7

99,3

1

38,5

1

38,5

местные очистные сооружения для одноэтажной застройки,

система**

тыс. руб.

-

-

75

67,5

220

198

150

135

440

396

Годовые эксплуатационные затраты, тыс. руб.

41,9

55,8

45,3

65,2

44,5

70,2

Полные приведенные затраты за период функционирования систем, тыс. руб.

-

621,4

-

665,2

-

722,9

* Над чертой приводится протяженность сетей, км; под чертой - их стоимость, тыс. руб.

** Над чертой приводится количество местных систем, под чертой - их стоимость, тыс. руб.

При обосновании выбора варианта решения следует, прежде всего, определить возможности выделения застройщиком средств на строительство системы канализации. Целесообразно поэтапное строительство системы:

по I варианту - сети и сооружения пропускной способностью 217 м3/сут;

по II варианту - сети и сооружения централизованной системы, а также третья часть автономных установок.

Ввод автономных установок производится ежегодно равномерно в течение срока службы системы.

Результаты расчетов см. в табл. 20. Данные таблицы показывают экономическую целесообразность применения I варианта - централизованной системы.

В рассматриваемом примере застройщик располагает средствами для финансирования строительства в размере не более 100 тыс. руб. в год. Подрядная организация также может освоить не свыше 100 тыс. руб. в год на строительно-монтажные работы.

Таблица 21

Пропускная способность системы, м3/сут

Год

Стоимость, тыс. руб.

строительства

эксплуатации

всего

I вариант

217

1

164,3

-

164,3 (133,3)

217

2

-

42,2

42,2 (25,8)

217

3

-

42,2

42,2 (25,8)

217

4

-

42,2

42,2 (25,8)

217

5

-

42,2

42,2 (25,8)

217

6

184

42,2

226,2

500

7

-

55,8

55,8 (39,4)

...

...

...

...

...

500

15

-

55,8

55,8 (39,4)

II вариант

217

1

144,3

-

144,3 (113,3)

230

2

20

45,3

65,3 (48,9)

243

3

20

46,8

66,8 (50,4)

257

4

20

48,2

68,2 (51,8)

270

5

20

49,6

69,6 (53,2)

283

6

20

51

71,0 (54,6)

...

...

...

...

...

414

15

20

64,3

84,3 (67,9)

III вариант

153

1

93

-

93 (27)

170

2

27

44,5

71,5 (55,1)

187

3

27

46,2

73,2 (56,8)

204

4

27

47,9

74,9 (58,5)

221

5

27

49,6

76,6 (60,2)

238

6

27

51,3

78,3 (61,9)

255

7

27

53

80 (63,6)

...

...

...

...

...

389

15

27

70,2

97,2 (80,8)

Примечание. Значения в скобках относятся к затратам по жилой зоне.

Поэтому окончательный выбор варианта следует сделать, учитывая имеющиеся средства, мощность и специализацию строительной организации, возможности поставки материалов и оборудования, распределение капиталовложений и эксплуатационных затрат по годам (табл. 21).

Данные таблиц 20 и 21 показывают, что в III варианте сумма ежегодных затрат за первые четыре года службы системы меньше, чем в I и II, соответственно на 10 и 20 %, а за пять лет - примерно равна затратам в I варианте. При этом пропускная способность систем примерно одинакова, а число обслуживаемых жителей (480 чел.) в 1,5 раза больше, чем в других вариантах.

Выводы

1. Ввиду ограниченности располагаемых средств финансирования, а также отсутствия специализированной строительно-монтажной организации предусмотрено строительство децентрализованной системы.

2. В первые два года предусмотрено строительство местных очистных установок для детских садов, школ, общественного центра, а также очистных сооружений, насосной станции и напорного коллектора производственной зоны.


ПРИЛОЖЕНИЕ 1

УКРУПНЕННЫЕ ПОКАЗАТЕЛИ СТОИМОСТИ ПРОКЛАДКИ САМОТЕЧНЫХ И НАПОРНЫХ ТРУБОПРОВОДОВ, ТЫС. РУБ./КМ

Трубопроводы

Глубина заложения, м

Стоимость прокладки при условном диаметре трубопроводов, мм

100

150

200

250

300

350

400

грунты

сухие

мокрые

сухие

мокрые

сухие

мокрые

сухие

мокрые

сухие

мокрые

сухие

мокрые

сухие

мокрые

Самотечные сети:

из керамических труб (ГОСТ 288-72 с изм.)

2

-

-

8

10

9

11

11

13

13

15

14

16

15

17

3

-

-

10

15

11

16

13

18

14

19

16

21

17

22

4

-

-

13

26

14

28

16

29

18

31

19

32

20

33

5

-

-

16

35

17

37

19

38

20

40

22

41

23

42

из бетонных раструбных труб (ГОСТ 20054-82)

2

-

-

-

-

8

10

-

-

10

11

-

-

11

12

3

-

-

-

-

10

15

-

-

11

17

-

-

12

18

4

-

-

-

-

13

26

-

-

15

28

-

-

16

29

Сети и коллекторы:

2

-

-

-

-

-

-

-

-

-

-

-

-

12

14

из железобетонных раструбных труб, ГОСТ 6482.1-79

3

-

-

-

-

-

-

-

-

-

-

-

-

14

19

4

-

-

-

-

-

-

-

-

-

-

-

-

17

31

5

-

-

-

-

-

-

-

-

-

-

-

-

20

40

из асбестоцементных безнапорных труб, ГОСТ 1839-72

2

-

-

7

8

8

9

8

10

10

11

10

12

10

12

3

-

-

8

14

9

14

10

15

11

15

12

17

13

18

4

-

-

12

25

13

26

13

26

14

28

15

29

16

29

Напорные трубопроводы:

из асбестоцементных напорных труб ВТ-6, ГОСТ 539-80

2

4

-

-

-

6

-

8

-

9

-

-

-

15

-

3

6

-

-

-

8

-

9

-

10

-

-

-

16

-

4

8

-

-

-

11

-

12

-

13

-

-

-

19

-

из чугунных труб класса А, ГОСТ 9583-75

2

8

9

-

-

14

15

17

19

21

23

-

-

32

34

3

9

14

-

-

15

20

19

23

23

28

-

-

33

38

4

12

24

-

-

18

30

21

34

26

38

-

-

36

49

из стальных труб (изоляция усиленная, ГОСТ 10704-76 с изм.)

2

6

8

-

-

11

12

13

14

16

17

-

-

25

26

3

7

12

-

-

12

17

14

19

17

22

-

-

26

31

4

10

23

-

-

15

27

17

29

20

32

-

-

29

42

Примечания: 1. Показатели приведены для I территориального района для грунтов II группы - сухих и мокрых при высоте стояния грунтовых вход 1,5 м от поверхности земли (выполнение земляных работ при открытом водоотливе).

2. Показатели стоимости составлены по укрупненным показателям стоимости строительства (УПСС), Госстрой СССР, 1980 г., учитывающим укладку трубопроводов, устройство колодцев на них и установку арматуры с ручным приводом.


ПРИЛОЖЕНИЕ 2

ПОКАЗАТЕЛИ СТОИМОСТИ СТРОИТЕЛЬСТВА СООРУЖЕНИЙ ДЛЯ БИОЛОГИЧЕСКОЙ ОЧИСТКИ СТОЧНЫХ ВОД

Сооружения

Производительность, м3/сут.

№ типового проекта

Количество обслуживаемого населения, чел.

Стоимость строительства тыс. руб.

Организация-разработчик

Станции биологической очистки сточных вод с установками заводского изготовления

12

902-2-261

10

5

Гипрокоммунводоканал

25

902-2-262

125

7

50

902-2-263

250

8

100

902-2-223

500

48

200

902-2-224

1000

69

400

902-2-225

2000

92

700

902-2-226

3500

136

То же, с аэробной стабилизацией осадка

200

902-2-265

1000

54

То же

400

902-2-266

2000

73

700

902-2-267

3500

95

Станции биологической очистки сточных вод в аэротенках продленной аэрации с аэратором на вертикальном валу

100

902-2-320

500

27

ЦНИИЭП инженерного оборудования

200

902-2-321

1000

39

400

902-2-322

2000

55

700

902-2-323

3500

66

Станции биологической очистки сточных вод с пневматической аэрацией с доочисткой и без доочистки на песчаных фильтрах (для районов с расчетной зимней температурой наружного воздуха -20; -30 °С)

100 - 700

902-03-16

902-3-18

902-3-17

902-9-13

902-9-14

280 - 4600

52 - 95

То же

Станции биологической очистки сточных вод с циркуляционными окислительными каналами

100 - 200

902-2-255

500 - 1000

28 - 35

»

400 - 700

902-2-256

2000 - 3500

42 - 51

700 - 1400

902-2-257

3500 - 7000

74 - 82

Аэрируемые биопруды для очистки сточных вод в IV климатическом районе с пневматической аэрацией

12, 25, 30

902-3-6

25 - 250

12 - 16

»

100 - 200

902-3-7

300 - 600

18 - 28

400 - 700

902-3-9

2000 - 3500

24 - 26

То же, с механической аэрацией

400 - 700

902-3-8

2000 - 3500

22 - 27

»

1400

902-3-10

7000

34

Станции биологической очистки сточных вод в аэротенках продленной аэрации с пневматической аэрацией (для районов с расчетной зимней температурой наружного воздуха -40 °С)

100

902-03-1

500

37

»

200

902-3-2

1000

69

400

902-3-3

2000

84

700

902-3-4

3500

92

Станции биологической очистки сточных вод

1400

902-03-13

902-2-345, 331

902-9-5,

902-3-14

902-3-15,

902-9-11, 12

903-1-23,

907-2-221,

901-7-1,

901-3-76

7000

301,6

ЦНИИЭП инженерного оборудования

Установка физико-химической очистки сточных вод для вахтовых поселков в комплектно-блочном исполнении

6 - 400

Т-1384

30 - 2000

10,5 - 75

То же

Станции биологической очистки сточных вод с полносборными неметаллическими емкостями (экспериментальные)

12 - 50

Э-1374

-

4,35 - 9,73

»

100 - 700

Э-1454

36,15 - 58,15

Установка для доочистки сточных вод на песчаных фильтрах

100 - 1400

902-2-248

902-2-249

902-2-250

-

18,85 - 36,04

»

ПРИЛОЖЕНИЕ 3

НОРМЫ АМОРТИЗАЦИОННЫХ ОТЧИСЛЕНИЙ НА КАНАЛИЗАЦИОННЫЕ СЕТИ И СООРУЖЕНИЯ, %

Элементы систем

Отчисления

общие

на полное восстановление

на капитальный ремонт

Дюкеры стальные канализационные (с камерами)

5,3

4,0

1,3

Песковые площадки с искусственным основанием

13,6

6,7

6,9

Канализационные насосные станции, заглубленные, совмещенные с приемными резервуарами

3,8

2,0

1,8

Трубы канализационные:

керамические

3,3

2,5

0,8

железобетонные и бетонные

5,8

5

0,8

асбестоцементные

4,4

3,3

1,1

Сети водопровода, включая водоводы (напорные трубопроводы с колодцами):

асбестоцементные

5,5

5

0,5

стальные

5,5

5

0,5

чугунные

2,4

1,7

0,7

Песколовки железобетонные (горизонтальные и вертикальные)

4,3

2,0

2,3

Отстойники (первичные и вторичные) железобетонные вертикальные и двухъярусные

3,6

2,0

1,6

Иловые площадки с основанием:

естественным

30,0

10,0

20,0

искусственным

11,9

5,0

6,9

Поля орошения и поля фильтрации

9,3

5,0

4,3

Аэротенки железобетонные

3,6

2,0

1,6

Колодцы:

кирпичные

4,8

3,3

1,5

железобетонные

2,7

1,7

1,0

Насосы канализационные

19,1

11,1

8,0

Решетки

34,6

20

14,6

Электродвигатели мощностью, кВт:

до 100

12,6

9,5

3,1

более 100

8,1

5,3

2,8

ПРИЛОЖЕНИЕ 4

ТЕХНИЧЕСКИЕ ХАРАКТЕРИСТИКИ ТРУБ ДЛЯ ОБЪЕКТОВ КАНАЛИЗАЦИИ

Таблица 1

Трубы винипластовые повышенной прочности из НПВХ

Наружный диаметр или размер, мм

Тяжелый тип - рабочее давление 10 кгс/см2 = 1 МПа

Изготовитель

толщина стенки, мм

масса 1 м трубы, кг

Трубы из НПВХ (ТУ 6.19.99-78)

25

1,5

0,174

Броварский завод пластмасс

50

2,4

0,552

То же

канализационные (ТУ в стадии разработки).

50

2,4

0,552

»

(ТУ 6.19.100-78)

110

5,3

2,61

»

160

7,7

5,47

»

225

10,8

10,8

»

280

13,4

16,7

»

315

15,0

20,9

»

(ТУ 6.19.051.339-81)

63

3,0

0,854

»

90

4,3

1,750

»

Примечания: 1. НПВХ - непластифицированный поливинилхлорид.

2. Трубы предназначены для наружных и внутренних трубопроводов, транспортирующих воду, воздух, кислоты и щелочи.

3. Трубы с раструбами соединяются с помощью резиновых уплотнительных колец. Поставляются отрезками длиной 6 м, допускается поставка длиной 5,5 м.

4. На применение труб из НПВХ в хозяйственно-питьевом водоснабжении имеется разрешение Минздрава СССР.

Таблица 2

Трубы полиэтиленовые (ГОСТ 18599-73 с изм.)

Наружный диаметр, мм

Легкий тип - условное давление 0,25 МПа

Среднелегкий тип - условное давление 0,4 МПа

Средний тип - условное давление 0,6 МПа

Тяжелый тип - условное давление 1 МПа

Изготовитель

толщина стенки, мм

масса 1 м, кг

толщина стенки, мм

масса 1 м, кг

толщина стенки, мм

масса 1 м, кг

толщина стенки, мм

масса 1 м, кг

10

-

-

-

-

-

-

2

0,05

ПО «ЛАТБЫТХИМ»

12

-

-

-

-

-

-

2

0,063

То же

20

-

-

-

-

-

-

2

0,118

Вильнюсский завод пластмассовых изделий

25

-

-

-

-

2

0,154

2,3

0,170

Ахангаранский комбинат «Стройпластмасс»

32

-

-

-

-

2

0,197

2,9

0,282

То же

40

-

-

2

0,250

2,3

0,282

3,6

0,434

»

50

-

-

2

0,316

2,8

0,444

4,5

0,671

»

50

-

-

-

-

2,8

0,444

-

-

Вильнюсский завод пластмассовых изделий

63

2

0,402

2,5

0,490

3,6

0,693

5,7

1,06

Ахангаранский комбинат «Стройпластмасс», Казанское ордена Октябрьской революции ПО «Органический синтез»

63

-

-

-

-

3,6

0,69

-

-

Тамбовский машиностроительный завод

63

-

-

-

-

3,6

0,69

-

-

Вильнюсский завод пластмассовых изделий

75

2

0,482

2,9

0,681

4,3

0,974

6,8

1,5

Ахангаранский комбинат «Стройпластмасс»

90

2,2

0,632

3,5

0,973

5,1

1,39

8,2

2,13

То же

110

6,2

2,08

Вильнюсский завод пластмассовых изделий

110

2,7

0,949

4,3

1,4

6,2

2,08

10

3,17

Ахангаранский комбинат «Стройпластмасс»

110

-

-

6,2

2,08

Тамбовский машиностроительный завод

140

3,5

1,54

5,4

2,32

7,9

3,36

12,7

5,16

Ахангаранский комбинат «Стройпластмасс»

160

-

-

-

-

9,1

4,36

-

-

Вильнюсский завод пластмассовых изделий

160

-

-

-

-

9,1

4,36

-

-

Тамбовский машиностроительный завод

160

3,9

2,01

6,2

3,04

9,1

4,36

14,6

6,72

Ахангаранский комбинат «Стройпластмасс»

225

5,5

3,85

8,7

5,99

12,8

8,6

20,5

13,2

То же

225

-

-

-

-

12,8

8,6

-

-

Вильнюсский завод пластмассовых изделий

315

-

-

12,2

-

11,7

-

-

-

То же

315

7,7

7,54

12,2

11,7

17,9

16,8

-

-

Ахангаранский комбинат «Стройпластмасс»

Таблица 3

Трубы асбестоцементные напорные (ГОСТ 539-80)

Условный проход, мм

Внутренний диаметр, мм, труб класса

Наружный диаметр обточенных концов, мм

Длина трубы, мм

Справочная масса 1 м труб класса

ВТ6

ВТ9

ВТ12

ВТ6

ВТ9

ВТ12

Тип 1

100

104

100

96

122

2950

3950

7,8

9,2

10,4

150

146

141

135

168

2950

3950

12,9

15,2

17,9

200

196

189

181

224

3950

22,1

26,4

31,2

250

244

235

228

274

3950

28,4

35,9

41,1

300

289

279

270

324

3950

40,2

49,4

57,4

350

334

322

312

373

3950

50,9

63,7

74

400

381

368

356

427

3950

68,8

84,7

98,7

Тип 2

200

-

196

188

224

5000

-

24,5

30

250

-

242

234

274

5000

-

33,8

40,7

300

-

286

276

324

5000

-

47,7

57,9

350

-

329

317

373

5000

-

62,5

76,5

400

-

377

363

427

5000

-

81,8

100,6

Тип 3

200

-

198

192

224

5950

-

22,7

26,7

300

-

279

270

324

5950

-

49,4

57,4

Примечания: 1. Трубы в зависимости от величины рабочего давления подразделяются на 3 класса - ВТ6, ВТ9 и ВТ12 (цифры указывают рабочее гидравлическое давление, для которого они предназначены, кг/см2). Трубы каждого класса в зависимости от пропускной способности (внутреннего диаметра) и длины подразделяют на три типа: 1, 2 и 3.

2. Пример условного обозначения трубы класса ВТ9 условным проходом 200 мм, длиной 3950 мм: ВТ9200×3950, тип 1, ГОСТ 539-80.

Таблица 4

Заводы-изготовители асбестоцементных труб

Изготовитель

Условный проход, мм, труб класса

ВТ6

ВТ9

ВТ12

Карагандинский завод асбестоцементных изделий

100

100

-

150

150

-

200

200

-

300

300

-

400

400

-

Араратский цементно-шиферный комбинат

100

100

-

150

150

-

Комбинат строительных материалов № 1, г. Краснодар

150

100

200

150

150

300

200

200

-

300

-

Душанбинский комбинат асбестоцементных изделий

-

100

-

-

150

-

-

200

-

-

250

-

-

300

-

-

400

-

Себряковский комбинат асбестоцементных изделий

-

100

-

-

300

300

-

400

400

Спасский комбинат асбестоцементных изделий

-

100

-

-

150

-

-

200

-

-

300

-

-

400

-

Безмеинский комбинат строительных материалов им. 50-летия Туркменской ССР

-

100

-

-

300

-

-

400

-

Сухоложский комбинат асбестоцементных изделий***

-

100

-

-

200

-

-

400

400

Чимкентский комбинат асбестоцементных конструкций***

-

100

-

-

150

-

-

200

300

-

300

300

-

400

400

Брянский ордена Трудового Красного Знамени комбинат асбестоцементных изделий

-

100

-

-

200

-

-

250

-

Акмянский цементно-шиферный комбинат

300

-

-

Рыбницкий цементно-шиферный комбинат имени Октябрьской революции***

100

-

-

150

150

-

200*

200*

-

300*

300*

-

400*

400*

-

Красноярский комбинат асбестоцементных изделий

150

-

-

400*

400*

Воскресенский комбинат асбестоцементных изделий «Красный строитель»***

150

150

-

250

200

-**

300

-

-

400

-

-

Белгородский ордена Трудового Красного Знамени комбинат асбестоцементных изделий***

-

100

-

-

300

300

-

400

400

Коркинский комбинат асбестоцементных изделий

-

200*

-

-

250*

-

Киевский комбинат асбестоцементных изделий

-

400*

400*

_____________

* Трубы выпускаются по ТУ 21-24-69-79.

** Трубы выпускаются по ТУ 21-24-77-76.

*** Завод - изготовитель муфт.

Таблица 5

Трубы керамические канализационные (ГОСТ 286-74)

Толщина стенки ствола и раструба, мм

Ствол трубы, мм

Раструб трубы, мм

диаметр

длина

диаметр

глубина

внутренний

наружный

ствола

нарезки

внутренний

наружный

19

150

168

1000 и 1200

-

224

262

-

20

200

240

60

282

322

60

22

250

294

-

340

384

-

25

300

350

-

398

448

28

350

406

-

456

512

-

30

400

460

70

510

570

70

34

450

518

-

568

636

-

36

500

572

-

622

694

-

Таблица 6

Заводы-изготовители керамических труб

Завод-изготовитель

Диаметр труб Д, мм

Артемовский строительной керамики, Донецкая обл.

150

200

300

350

400

Шахтинский керамический комбинат

150

200

Свердловский керамических изделий

Кудиновский керамических блоков, г. Электроугли Московской обл.

200

150

Речицкий керамикотрубный, Гомельская обл.

150

250

300

Рязанский керамических труб

150

200

Харьковский керамикотрубный

200

300

Щекинский «Кислотоупор», Тульская обл.

150

200

300

400

Таблица 7

Трубы керамические дренажные (ГОСТ 8411-74)

Диаметр, мм

Толщина стен, мм

Длина трубы, мм

Масса трубы, кг

Изготовитель

условный

внутренний

125

125

18

333

5,53

Рязанский з-д керамических труб

150

150

20

550

-

То же

175

175

22

-

10

»

150

150

20

550

-

Ташкентский комбинат строительных материалов

150*

150

20

600

15

Кызыл-Кийский комбинат стройматериалов

200*

200

-

-

22

То же

150**

150

19

-

-

Шахтинский керамический комбинат

200**

200

20

-

-

То же

_____________

* Трубы выпускаются по PCT Киргизской ССР 529-78.

** Трубы выпускаются по ТУ 21-01-49-68.

Таблица 8

Трубы чугунные напорные (ГОСТ 9583-75)

Условный проход Ду, мм

Наружный диаметр Дн, мм

Толщина стенки труб, мм, класса

Масса 1 м трубы, кг (без раструба), класса

ЛА

А

Б

ЛА

А

Б

65

81

6,7

7,4

8,0

11,3

12,4

13,3

80

98

7,2

7,9

8,6

14,9

16,2

17,5

100

118

7,5

8,3

9,0

18,9

20,8

22,3

125

144

7,9

8,7

9,5

24,5

26,8

29,1

150

170

8,3

9.2

10,0

30,5

33,7

36;4

200

222

9,2

10,1

11,0

44,6

48,8

52,9

250

274

10,0

11,0

12,0

60,1

65,9

71,6

300

326

10,8

11,9

13,0

77,6

85,2

92,7

350

378

11,7

12,8

14,0

97,6

106,5

116,1

400

429

12,5

13,8

15,0

118,5

130,5

141,4

Таблица 9

Трубы чугунные канализационные (ГОСТ 6942.7-80)

Диаметр условного прохода, мм

Толщина стенки, мм

Строительная длина, мм

Масса, кг

50

4

500

3,3

750

4,6

1000

5,9

1250

7,2

1500

8,4

17500

9,7

2000

11,0

2100

11,5

100

4,5

500

7,6

750

10,5

1000

13,4

1250

16,3

1500

19,2

17500

22,1

2000

25,0

2100

26,2

150

5,0

500

12,7

750

17,3

1000

21,8

1250

26,3

1500

30,9

1750

35,5

2000

40,0

2100

41,8

Примечания: 1. Липецкий трубный завод изготовляет трубы d = 50, 100 и 150 мм, длиной 1 и 2 м и фасонные части к ним.

2. Условное обозначение чугунной канализационной трубы Ду = 100 мм, длиной 1500 мм, класса А: труба ТЧК-100-1500-А (ГОСТ 6942.7-80).

Таблица 10

Заводы-изготовители чугунных напорных труб

Завод-изготовитель

Условный проход Ду, мм

Толщина стенки, мм

Тип трубы

Керченский труболитейный

65

7,4

Раструбные ГОСТ 9583-75

Донецкий металлопрокатный

100

»

То же

Ленинградский «Лентрублит»

200

10,1 - 11,0

»

Могилевский металлургический имени Мясникова

100

»

Раструбные ГОСТ 9583-75 класса А и Б

200

250

300

400

Могилевский металлургический имени Мясникова

100

По ТУ

Быстромонтируемые под резиновую манжету ТУ 14-3-259-74

200

250

300

Синарский трубный, г. Каменск-Уральский, Свердловской обл.

100

8,3 - 9,0

Раструбные ГОСТ 9583-75

150

9,2 - 10

200

10,1 - 11

300

11,9 - 13

400

13,8 - 15

Липецкий «Свободный сокол»

100

По ТУ

То же

150

200

300

Примечания: 1. Максимальное рабочее давление 16 атм.

2. Трубы поставляются в комплекте с резиновыми уплотнительными манжетами.

3. Пример условного обозначения раструбной трубы мерной длины 6000 мм, диаметром 150 мм, класса Б: труба ЧНР 150×6000 Б ГОСТ 9583-75.

То же, немерной длины диаметром 400 мм, класса ЛА: труба ЧНР 400 ЛА ГОСТ 9583-75.

Таблица 11

Трубы стальные водогазопроводные (газовые) (ГОСТ 3262-76 с изм.)

Диаметр, мм

Трубы

легкие

обыкновенные

усиленные

условный

наружный

толщина стенки, мм

теоретическая масса 1 м длины (без муфт) кг

толщина стенки, мм

теоретическая масса 1 м длины (без муфт) кг

толщина стенки, мм

теоретическая масса 1 м длины (без муфт) кг

15

21,3

2,5

1,16

2,8

1,28

3,2

1,43

20

26,8

2,5

1.5

2,8

1,66

3,2

1,86

25

33,5

2,8

2,12

3,2

2,39

4

2,91

32

42,3

2,8

2,73

3,2

3,09

4

3,78

40

48

3

3,33

3,5

3,84

4

4,34

50

60

3

4,22

3,5

4,88

4,5

6,16

65

75,5

3,2

5,71

4

7,05

4,5

7,88

80

88,5

3,5

7,34

4

8,34

4,5

9,32

90

101,3

3,5

8,44

4

9,6

4,5

10,74

100

114

4

10,85

4,5

12,15

5

13,44

125

140

4

13,42

4,5

15,04

5,5

18,24

150

165

4

15,88

4,5

17,81

5,5

21,63

Примечание. Трубы изготовляются оцинкованными и неоцинкованными.

Таблица 12

Заводы-изготовители стальных водо-, газопроводных труб

Завод-изготовитель

Условный диаметр, мм

Толщина стенки, мм

Марка стали

«Трубосталь», Ленинград

15 - 20

2,8

Ст.2кп

25

3,2

15 - 20

2,8

25 - 32

3,2

40 - 50

3,5

80 - 100

4

Ворошиловградский трубный

10

2,2

БСт.1кп;

15 - 20

2,8

БСт.2кп

40 - 50

3,5

Выксунский ордена Ленина металлургический

32

3,2

БСт.2кп

40

4

3,5

4

Днепропетровский трубопрокатный имени В.И. Ленина

65 - 80

4; 4,5

Ст.2кп

100

4; 4,5; 5

125

4; 4,5; 5,5

Таганрогский металлургический

8 - 10

2; 2,2; 2,8

БСт.1кп2

15 - 20

2,5; 2,8; 3,2

БСт.2кп2

25 - 32

2,8; 3,2; 4

40

3; 3,5; 4

50

3; 3,5; 4,5

65

3,2; 4

80 - 90

3,5; 4; 4,5

100

4; 4,5; 5

Новосибирский металлургический им. Кузьмина

15 - 20

2,8 - 32

Ст.10

25 - 32

3,2 - 4

Ст.10оп

40

3,5 - 4

Ст.10кп

50

3,5 - 4,5

65 - 80

4,0 - 4,5

Ст.1кп;

100

4,0 - 5

Ст.2кп

Северский трубный

65 - 80

4

Ст.2кп

Челябинский трубопрокатный

21,3; 26,3

2,5; 2,8; 3,2

БСт.2кп2

33,5; 42,3

2,8; 3,2; 4

48

3; 3,5; 4

60

3; 3,5; 4,5

88,5

4

ПРИЛОЖЕНИЕ 5

НАСОСЫ КАНАЛИЗАЦИОННЫЕ

Таблица 1

Характеристика фекальных насосов Рыбницкого насосного завода

Обозначение

Диаметр рабочего колеса, мм

Мощность электродвигателя, кВт

Частота вращения, мин-1

Подача, м3

Напор, м

Стоимость (ориентировочная) агрегата, руб.

новое

старое

ФГ 16/27

1,5 Ф-6

150

4

2900

8,6 - 21,6

30 - 25

182

ФГ 16/27а

1,5 Ф-6

142

3

2900

7,6 - 18,7

25 - 21

166

ФГ 16/27б

1,5 Ф-6

134

3

2900

6,8 - 16,5

21 - 18

166

ФП 16/27

-

150

4

2900

8,6 - 21,6

30 - 25

422

ФП 16/27а

-

142

3

2900

7,6 - 18,7

25 - 21

415

ФП 16/27б

-

134

3

2900

6,8 - 16,5

21 - 18

415

ФГ 14,5/10

2 Ф-6

185

1,5

1450

7,7 - 19

11 - 9

149

ФГ 14,5/10а

2 Ф-6

170

1,1

1450

6,8 - 17

9,5 - 7,5

141

ФГ 14,5/10б

2 Ф-6

158

1,1

1450

6 - 14,7

7,7 - 6,6

141

ФГ 29/40

2 Ф-6

185

10

2900

15,5 - 38

44 - 46

197

ФГ 29/40а

2 Ф-6

170

7,5

2900

13,3 - 34

36,5 - 30

178

ФГ 29/40б

2 Ф-6

158

5,5

2900

12 - 29,5

31 - 25

171

ФГ 25,5/14,5

2 Ф-6

220

3

1450

14 - 34

16,2 - 13

190

ФГ 25,5/14,5а

2 Ф-6

204

3

1450

12,3 - 30,6

13,4 - 11

180

ФГ 25,5/14,5б

2 Ф-6

192

2,2

1450

10,8 - 27

11,5 - 9,5

171

ФГ 51/58

2 Ф-6

220

22

2900

28 - 68

65 - 52

337

ФГ51/58а

2 Ф-6

204

17

2900

24 - 60

54 - 43

298

ФГ 51/58б

2 Ф-6

192

13

2900

21 - 54

46 - 38

272

ФГ 57,5/9,5

3 Ф-12

192

4

1450

29,5 - 85

12 - 7,5

164

ФГ 57,5/9,5а

3 Ф-12

180

4

1450

27 - 78

11 - 6,6

164

ФГ 57,5/9,5б

3 Ф-12

170

3

1450

24 - 71

9,2 - 5,6

157

ФГ 115/38

3 Ф-12

192

30

2900

43 - 115

48 - 38

340

ФГ 115/38а

3 Ф-12

180

22

2900

39,6 - 105

42 - 33

306

ФГ 115/38б

3 Ф-12

170

17

2900

35 - 93,5

35 - 29

270

ФГ 81/18

4 Ф-9

250

10

1450

43 - 108

22 - 16

290

ФГ81/18а

4 Ф-9

235

10

1450

39 - 100

18,5 - 13

290

ФГ 81/18б

4 Ф-9

220

7,5

1450

35 - 86

15 - 11

278

ФВ81/18

4 ФВ-9

250

10

1450

43 - 108

22 - 16

350

ФВ81/18а

4 ФВ-9

235

10

1450

39 - 100

18,5 - 13

350

ФВ81/18б

4 ФВ-9

220

7,5

1450

35 - 86

15 - 11

338

ФГ 81/31

4 Ф-6

314

17

1450

43 - 107

34 - 28

338

ФГ81/31а

4 Ф-6

296

13

1450

38 - 94

28 - 24

312

ФГ 81/31б

4 Ф-6

276

13

1450

34 - 83

24 - 20

278

ФГС 81/31

-

300

22

1450

43 - 107

34 - 28

360

Примечание. Насосы предназначены для перекачивания жидкостей с кислотностью РН не менее 6 и не более 8, плотностью до 1050 кг/м3, содержанием абразивных частиц по объему не более 1 % и с температурой до 373 К (100 °С).

Насос ФГС 81/31 изготовляется по ТУ 26-06-1023-76.

Таблица 2

Характеристика самовсасывающих насосов марки НЦС Кусинского машиностроительного завода

Марка насоса

Диаметр рабочего колеса, м

Тип электродвигателя, его мощность

Частота вращения, мин-1

Подача, м3

Напор, м

НЦС-1

150

АО-42-2, 7,5 кВт

2910

18 - 30

8

18 - 130

21 - 8

НЦС-2

150

Бензиновый двигатель УД-2, 9 кВт

3000

18 - 130

21 - 8

НЦС-3

140

4А 100-2, 4 кВт

2880

8

22

36

16

60

4

НЦС-4

140

Бензиновый двигатель УД-2, 9 кВт

3000

8

22

36

16

60

4

Таблица 3

Характеристика погружных моноблочных насосов

Марка насоса

Подача, м3

Напор, м

Мощность электродвигателя, кВт

Размеры, мм

Масса, кг

Изготовитель

ГНОМ 10-10

16

10

1,1

500×240

22

Московский механический завод

ГНОМ 16-15

16

15

1,7

31

ПО «Молдавгидромаш» (г. Кишинев)

ГНОМ 25-20

25

20

4

58

То же

ГНОМ 100-25

100

25

15

300×360×725

140

»

ЦМК 16-27-72

16

27

3,3

130

»

2.5-ЭЦК 16-6

16

6

3

Æ 250×660

30

Севастопольский завод электроремонтный коммунального оборудования

ПРИЛОЖЕНИЕ 6

КАНАЛИЗАЦИОННЫЕ СТАНЦИИ С ПОГРУЖНЫМИ ЭЛЕКТРОНАСОСАМИ

Союзводоканалпроектом разработаны канализационные станции с погружными электронасосами пропускной способностью 5 - 20 м3/ч (при H = 10 - 40 м и Hк = 3; 4 и 5 м) и 6 - 173 м3/ч (при H = 6 - 65 м и Hк = 4; 5,5 и 7 м)* соответственно по типовым проектам 902-1-53 и 902-1-46. Канализационная станция по типовому проекту 902-1-53 рассчитана на установку насосов марки ЦМК 16-27 или 2.5ЭЦК 16-6 (один рабочий и один резервный), а по проекту 902-1-46 - на установку насосов марок ФГ 57,5/9,5; ФГ 51/58; ФГ 29/40; ФГ 14,5/10; ФГ 16/27 (два рабочих и один резервный).

_____________

* H - напор насоса; Hк - глубина заложения подводящего коллектора.

Технико-экономические показатели

Показатель

Типовой проект

902-1-53

Hк = 4,0 м**

902-1-46

Hк = 5,5 м**

Сметная стоимость, тыс. руб.

общая

9,29

34,67

строительно-монтажных работ

7,87

27,52

Трудоемкость возведения, чел.-ч

здания в целом

1045,36

7225

1 м3 здания

28,64

17,1

Общая площадь, м2

7,9

68,74

_____________

** Мокрые грунты.

ПРИЛОЖЕНИЕ 7

ТЕХНИЧЕСКАЯ ХАРАКТЕРИСТИКА ОТСТОЙНИКОВ

№ типового проекта

Диаметр отстойника, м

Высота, м

Объем, м3

общая

цилиндрической части

конической части

общий

цилиндрической части

конической части

Первичные отстойники

902-2-354

4,5

6,05

3,6

2,45

70,0

57,0

13,0

902-2-355

4,5

6,05

3,6

2,45

70,0

57,0

13,0

902-2-360

9

9,3

4,2

5,1

371,0

264,0

107,0

Вторичные отстойники

902-2-357

4

3,9

2,1

1,8

34,6

26,2

8,4

902-2-358

6

7,5

4,2

3,3

150

120

31

902-2-24

6

4,9

2,1

2,8

87,3

59,0

28,3

902-2-356

4,5

6,05

3,6

2,45

70,0

57,0

13

902-2-359

6

6,3

3,0

3,3

116,0

85

31

902-2-361

9

8,1

3,0

5,1

295,5

188,5

107

ПРИЛОЖЕНИЕ 8

РЕКОМЕНДУЕМЫЕ ПЛОЩАДИ ПОЛЕЙ ФИЛЬТРАЦИИ

Грунт

H, м

Т, °С

Нагрузка, м3/сут

Полезные площади, га, при Q, м3/сут

до 50

100

200

400

700

1400

2700

Песок

1,5

0 - 3

120

0,4

0,84

1,68

3,36

5,90

11,7

22,5

3 - 6

150

0,4

0,68

1,36

2,72

4,78

9,3

18,0

6 - 11

160

0,4

0,64

1,28

2,56

4,50

8,8

17,0

11 - 15

180

0,4

0,56

1,12

2,24

3,92

7,7

15,0

То же

2,0

0 - 3

140

0,4

0,72

1,44

2,88

5,05

10,0

19,3

3 - 8

175

0,4

0,56

1,12

2,24

3,92

8,0

15,5

6 - 11

190

0,4

0,52

1,04

2,08

3,64

7,4

14,8

11 - 15

210

0,4

0,48

0,86

1,72

3,36

6,7

13,4

»

3,0

0 - 3

180

0,4

0,56

1,12

2,24

3,32

7,8

15,0

3 - 6

225

0,4

0,44

0,88

1,76

3,08

6,2

12,0

6 - 11

235

0,4

0,44

0,88

1,76

3,08

6,0

11,5

11 - 15

250

0,4

0,4

0,8

1,6

2,8

5,6

10,8

Супесь

1,5

0 - 3

80

0,62

1,24

2,48

4,96

8,7

17,5

33,8

3 - 6

90

0,56

1,12

2,24

4,48

7,84

15,6

30,0

6 - 11

100

0,50

1,0

2,0

4,0

7,0

14,0

27,0

11 - 15

120

0,52

1,04

2,08

4,16

7,28

11,7

22,5

То же

2,0

0 - 3

85

0,58

1,15

2,32

4,64

8,12

16,5

31,8

3 - 6

100

0,50

1,0

2,0

4,0

7,0

14,0

27,0

6 - 11

110

0,46

0,92

1,84

3,68

6,44

12,7

24,5

11 - 15

130

0,38

0,76

1,52

3,04

5,32

10,8

20,8

»

3,0

0 - 3

110

0,5

1,0

2,0

4,0

7,0

14,0

27,0

3 - 6

120

0,42

0,84

1,68

3,38

5,88

11,7

22,5

6 - 11

130

0,38

0,76

1,52

3,04

5,32

10,8

20,8

11 - 15

150

0,34

0,68

1,36

2,72

4,76

93

18,0

Суглинки легкие

1,5

0 - 3

50

1,0

2,0

4,0

8,00

14,0

28

54

3 - 6

65

0,76

1,52

3,04

6,08

10,6

21,6

41,5

6 - 11

70

0,72

1,44

2,88

5,76

10,1

20,0

38,6

11 - 15

80

0,68

1,36

2,72

5,54

0,5

17,5

33,8

То же

2,0

0 - 3

55

0,92

1,84

3,68

1,38

12,9

25,5

49

3 - 6

70

0,72

1,44

2,88

51,6

10,1

20

38,6

6 - 11

75

0,66

1,32

2,64

5,28

9,25

18,7

36,0

11 - 15

85

0,58

1,16

2,32

4,64

8,1

16,5

31,8

»

3,0

0 - 3

60

0,84

1,68

2,36

6,72

11,8

23,4

45,0

3 - 6

75

0,66

1,32

2,64

5,28

9,25

18,7

36,0

6 - 11

85

0,58

1,16

2,32

4,64

8,1

16,5

31,8

11 - 15

100

0,5

1,0

2,0

4,0

1,0

14,0

27,0

Примечания: 1. Н - глубина наивысшего уровня грунтовых вод; Т - среднегодовая температура воздуха; Q - расход сточных вод.

2. Для определения общей площади полей фильтрации принимается коэффициент K = 1,8.

ПРИЛОЖЕНИЕ 9

АЭРИРУЕМЫЕ БИОПРУДЫ ДЛЯ ОЧИСТКИ СТОЧНЫХ ВОД В IV КЛИМАТИЧЕСКОМ РАЙОНЕ

Технико-экономические показатели

Показатель

Пропускная способность, м3/сут

100

200

400

700

1400

ТП

902-3-7

902-3-8

902-3-9

902-3-10

902-3-11

Площадь участка, м2

7770

12416

5341

7038

11035

Общая сметная стоимость, тыс. руб.

механическая аэрация

23,64

27,94

27,71

31,54

39,55

пневматическая    »

23,64

27,94

25,14

29

38,57

ПРИЛОЖЕНИЕ 10

СТАНЦИИ БИОЛОГИЧЕСКОЙ ОЧИСТКИ СТОЧНЫХ ВОД
С ПОЛНОСБОРНЫМИ НЕМЕТАЛЛИЧЕСКИМИ ЕМКОСТЯМИ
ПРОПУСКНОЙ СПОСОБНОСТЬЮ 12 - 50 м3/сут

Технико-экономические показатели

Показатель

Значения показателей для станции пропускной способностью, м3/сут

12

25

50

Стоимость строительства станции, руб.

вариант с горизонтальным насосом

3,86

4,35

6,08

5,50

9,48

9,73

вариант с погружным насосом

2,86

3,73

4,40

4,58

8,66

9,06

Строительно-монтажные работы, руб.

вариант с горизонтальным насосом

3,39

3,44

5,26

4,20

7,51

7,80

вариант с погружным насосом

1,99

2,53

3,51

3,21

7,03

6,46

Стоимость оборудования, руб.

вариант с горизонтальным насосом

0,47

0,90

0,82

1,30

0,97

1,83

вариант с погружным насосом

0,87

1,19

0,88

1,36

1,63

2,60

Трудозатраты, чел.-дни

вариант с горизонтальным насосом

96,86

98,29

150,29

120,00

243,14

200,86

вариант с погружным насосом

56,86

72,29

100,29

91,71

222,86

184,57

Стоимость очистки 1 м3 воды, руб.

0,55

0,56

0,29

0,28

0,27

0,27

Примечание. Над чертой приведены показатели установки контактного типа, под чертой - проточного.

ПРИЛОЖЕНИЕ 11

СТАНЦИИ БИОЛОГИЧЕСКОЙ ОЧИСТКИ СТОЧНЫХ ВОД С ПОЛНОСБОРНЫМИ НЕМЕТАЛЛИЧЕСКИМИ ЕМКОСТЯМИ ПРОПУСКНОЙ СПОСОБНОСТЬЮ 100 - 700 м3/сут

Технико-экономические показатели

Показатель

Значение показателей для станции пропускной способностью, м3/сут

100

200

400

700

Стоимость строительства, тыс. руб.

59,62

62,23

80,57

91,20

В том числе строительно-монтажных работ

50,02

51,61

64,57

73,07

Расход теплоты, кВт (тыс. ккал/ч)

32,6 (28)

32,6 (28)

32,6 (28)

32,6 (28)

Потребляемая мощность электроустановок, кВт

18

20

28

42

Трудозатраты, чел.-дни

600

600

600

600

Стоимость очистки 1 м3 сточных вод, коп.

28

14

10,5

7,5

Площадь участка, га

0,02

0,2

0,27

0,3

ПРИЛОЖЕНИЕ 12

СТАНЦИИ БИОЛОГИЧЕСКОЙ ОЧИСТКИ СТОЧНЫХ ВОД
С ПНЕВМАТИЧЕСКОЙ АЭРАЦИЕЙ
(ДЛЯ РАСЧЕТНОЙ ЗИМНЕЙ ТЕМПЕРАТУРЫ -20, -30 °С)
С ДООЧИСТКОЙ НА ПЕСЧАНЫХ ФИЛЬТРАХ
И БЕЗ ДООЧИСТКИ

Технико-экономические показатели

Показатель

Значения показателей для станции пропускной способностью, м3/сут

100

200

400

700

Общая сметная стоимость, тыс. руб.

52,11

68,63

58,6

76,24

66,65

84,54

72,02

94,74

Расход теплоты, кВт

32,7

35,4

32,7

35,4

32,7

35,4

32,7

35,4

Потребляемая мощность электроустановок, кВт

18,3

35,3

20,2

37,2

28

55

42,6

96,6

Годовой расход поваренной соли, т

1,31

2,63

5,25

9,20

Численность обслуживающего персонала, чел.

3

4

3

4

4

6

4

6

Стоимость очистки 1 м3 сточной воды, коп.

27

37

15

19

9,8

13,7

7

9,4

Площадь участка, га

0,22

0,23

0,23

0,33

0,38

0,46

0,46

0,53

Примечание. Над чертой даны значения для варианта без доочистки, под чертой - с доочисткой.

ПРИЛОЖЕНИЕ 13

СТАНЦИИ БИОЛОГИЧЕСКОЙ ОЧИСТКИ СТОЧНЫХ ВОД В АЭРОТЕНКАХ ПРОДЛЕННОЙ АЭРАЦИИ С АЭРАТОРАМИ НА ВЕРТИКАЛЬНОМ ВАЛУ

Технико-экономические показатели

Показатель

Значения показателей для станции пропускной способностью, м3/сут

100

200

400

700

ТП

902-2-320

902-2-321

902-2-322

902-2-323

Сметная стоимость, тыс. руб.

общая

30,18

36,78

32,31

38,91

45,52

54,52

56,97

65,97

строительных работ

20,53

21,76

22,62

23,68

32,19

35,03

40,80

43,63

оборудования и монтажа

9,65

15,01

9,69

15,23

13,33

19,49

16,16

22,32

Расход теплоты, кВт

19,0

20,0

19,0

20,0

21,5

24,3

21,5

24,3

(тыс. ккал/ч)

Потребляемая мощность электроустановок, кВт

18

22

23

27

31

36

31

36

Численность обслуживающего персонала, чел.

3

3

3

4

Стоимость очистки 1 м3 сточной воды, коп.

27

29

15

17

12

13

7,5

8,0

Площадь участка, га

0,06

0,06

0,12

0,12

Примечание. Над чертой даны значения показателей для варианта с хлораторной, в знаменателе - с электролизной.

ПРИЛОЖЕНИЕ 14

СТАНЦИИ БИОЛОГИЧЕСКОЙ ОЧИСТКИ СТОЧНЫХ ВОД В АЭРОТЕНКАХ ПРОДЛЕННОЙ АЭРАЦИИ С ПНЕВМАТИЧЕСКОЙ АЭРАЦИЕЙ ДЛЯ РАЙОНОВ С РАСЧЕТНОЙ ЗИМНЕЙ ТЕМПЕРАТУРОЙ -40 °С (ТП 902-03-1)

Технико-экономические показатели

Показатель

Значения показателей для станции пропускной способностью, м3/сут

100

200

400

700

Общая сметная стоимость, тыс. руб.

42,19

67,24

44,25

69,44

56,23

83,57

63,68

91,81

Расход теплоты, кВт

60,8

72,5

60,8

72,5

60,8

72,5

60,8

72,5

(тыс. ккал/ч)

Потребляемая мощность электроустановок, кВт

13,3

29,4

14,3

30,4

20,3

43,0

35,3

60,8

Численность обслуживающего персонала, чел.

3

4

3

4

4

6

4

6

Стоимость очистки 1 м3 сточной воды, коп.

38

20

16

11

Площадь участка, га

0,42

0,49

0,44

0,52

0,61

0,69

0,73

0,78

Примечание. Над чертой даны значения показателей для варианта с хлордозаторной, в знаменателе - с электролизной (с доочисткой).

ПРИЛОЖЕНИЕ 15

СТАНЦИИ БИОЛОГИЧЕСКОЙ ОЧИСТКИ СТОЧНЫХ ВОД С УСТАНОВКАМИ ЗАВОДСКОГО ИЗГОТОВЛЕНИЯ С АЭРОБНОЙ СТАБИЛИЗАЦИЕЙ ОСАДКА

Технико-экономические показатели

Показатель

Значения показателей для станции пропускной способностью, м3/сут

200

400

700

ТП

902-2-265

902-2-266

902-2-267

Общая сметная стоимость, тыс. руб.

54,11

72,96

95,37

Расход теплоты, кВт

56,7

56,7

56,7

(тыс. ккал/ч)

(48,7)

(48,7)

(48,7)

Потребляемая мощность электроустановок, кВт

24,6

32,5

41,4

Численность обслуживающего персонала, чел.

4

4

4

Стоимость очистки 1 м3 сточной воды, коп.

16

13

8

Площадь участка, га

0,38

0,47

0,57

ПРИЛОЖЕНИЕ 16

СТАНЦИИ БИОЛОГИЧЕСКОЙ ОЧИСТКИ СТОЧНЫХ ВОД С УСТАНОВКОЙ ЗАВОДСКОГО ИЗГОТОВЛЕНИЯ

Технико-экономические показатели

Показатель

Значения показателей для станций пропускной способностью, м/сут

100

200

400

700

ТП

902-2-223

902-2-224

902-2-225

902-2-226

Общая сметная стоимость, тыс. руб.

48,09

68,63

92,13

135,73

В том числе строительно-монтажных работ

38,39

57,87

82,88

125,57

Расход теплоты, кВт

56,6

56,6

56,6

56,6

(ккал/ч)

(48,7)

(48,7)

(48,7)

(48,7)

Потребляемая мощность электроустановок, кВт

44,44

49,94

55,94

63,44

Численность обслуживающего персонала, чел.

3

3

4

4

Стоимость очистки 1 м3 сточной воды, коп.

25

14

11

6

Площадь участка, га

0,23

0,32

0,43

0,48

ПРИЛОЖЕНИЕ 17

СТАНЦИИ БИОЛОГИЧЕСКОЙ ОЧИСТКИ СТОЧНЫХ ВОД ПРОПУСКНОЙ СПОСОБНОСТЬЮ 1,4 тыс. м3/сут
(ТП
902-03-13)

Технико-экономические показатели

Показатель

Значения показателей

Общая сметная стоимость, тыс. руб.

254,33

235,32

В том числе строительно-монтажных работ

253,6

232,59

Расход теплоты, кВт

(тыс. ккал/ч)

26,4

(22,7)

Потребляемая мощность электроустановок, кВт

185,6

185,6

Себестоимость очистки 1 м3 сточной воды, коп.

18,7

18,3

Годовые приведенные затраты, тыс. руб.

132,2

127,6

Численность обслуживающего персонала, чел.

31

Площадь участка, га

1,17

Примечание. В числителе даны значения для варианта станций биологической очистки сточных вод с первичным отстаиванием, в знаменателе - без первичного отстаивания.

ПРИЛОЖЕНИЕ 18

ХАРАКТЕРИСТИКА ГАЗОДУВОК И ЖИДКОСТНО-КОЛЬЦЕВЫХ КОМПРЕССОРОВ

Обозначение

Производительность, м3/мин

Давление МПа, (кгс/см2)

Мощность, кВт

Число оборотов, об/мин

Завод-изготовитель

Стоимость агрегата, тыс. руб.

всасывания

нагнетания

Газодувки

1АП-30-4А

0,39

0,1 (1)

0,13 (1,3)

2,2

1450

ПО «Мелитопольхолодмаш»

0,37

1А12-30-4А

0,6

0,1 (1)

0,13 (1,3)

2,2

1450

То же

0,38

1А12-50-2А

1,68

0,1 (1)

0,15 (1,5)

3

2920

»

0,38

1А22-50-2А

6,3

0,1 (1)

0,15 (1,5)

7,5

2920

»

0,83

1А22-50-4А

2,46

0,1 (1)

0,13 (1,3)

5,5

1450

»

0,83

1А24-30-2А

11,1

0,1 (1)

0,13 (1,3)

7,5

2920

»

0,94

1А24-30-4А

4,68

0,1 (1)

0,13 (1,3)

5,5

1450

»

0,9

1А24-60-2А

10,2

0,1 (1)

0,16 (1,6)

15

2920

»

0,985

1А32-30-4А

24

0,1 (1)

0,13 (1,3)

18,5

1450

»

1,74

1А32-30-6А

9,6

0,1 (1)

0,13 (1,3)

11

730

»

1,7

1А32-80-6А

11,4

0,1 (1)

0,18 (1,8)

30

980

»

1,84

Водокольцевые компрессоры

ВК-1,5

1.5

0,1 (1)

0,15 (1,5)

5,5

1500

ПО «Пензкомпрессормаш»

0,49

ВК-3

3,5

0,1 (1)

0,15 (1,5)

15

1500

То же

0,64

ВК-6

6

0,1 (1)

0,15 (1,5)

22

1460

»

0,99

ПРИЛОЖЕНИЕ 19

СТАНЦИИ БИОЛОГИЧЕСКОЙ ОЧИСТКИ СТОЧНЫХ ВОД С ЦИРКУЛЯЦИОННЫМИ ОКИСЛИТЕЛЬНЫМИ КАНАЛАМИ

Технико-экономические показатели

Показатель

Значения показателей для станций пропускной способностью, м3/сут

100 - 200

400 - 700

700 - 1400

ТП

902-2-255

902-2-256

902-2-257

Общая сметная стоимость, тыс. руб.

27,7 - 34,55

41,9 - 50,93

73,57 - 82,21

Расход теплоты, кВт (тыс. ккал/ч)

22,8 (19,65)

22,8 (19,65)

23,5 (20,19)

Потребляемая мощность электроустановок, кВт

10,2

16,23

34,0

Численность обслуживающего персонала, чел.

0,5

1

2

Площадь участка, га

0,12

0,16

0,22

ПРИЛОЖЕНИЕ 20

УСТАНОВКИ ФИЗИКО-ХИМИЧЕСКОЙ ОЧИСТКИ СТОЧНЫХ ВОД ДЛЯ ВАХТОВЫХ ПОСЕЛКОВ В КОМПЛЕКТНО-БЛОЧНОМ ИСПОЛНЕНИИ

Технико-экономические показатели

Показатель

Значения показателей для установок пропускной способностью, м3/сут

6 - 12

25

50

100

200

400

Общая сметная стоимость тыс. руб.

10,5

22,6

23,37

36

40,29

75

Строительно-монтажные работы, тыс. руб.

9,6

16,36

16,36

22,5

28,89

56

Расход коагулянта, т/год

0,8 - 1,6

3,1

-

12,4

-

49,6

Расход теплоты, кВт

-

-

8,3

-

18,4

26

(тыс. ккал/ч)

-

-

(7,105)

-

(16,83)

(22,5)

Потребляемая мощность электроустановок, кВт

3

3

5

8

12

20

Трудозатраты, чел.-дни

9

25

25

40

40

70

Площадь участка, м2

29,5

56,2

56,2

86,7

93,6

281

Численность обслуживающего персонала, чел.

1

1

2

2

2

3

ПРИЛОЖЕНИЕ 21

ОСНОВНЫЕ ПОКАЗАТЕЛИ ЭЛЕКТРОЛИЗНЫХ УСТАНОВОК

Показатель

Значения показателей для установок

ЭН-1,2

ЭН-5

Расход по активному хлору, кг/ч

1,2

5

Удельный расход на 1 кг активного хлора

поваренной соли, кг

12 - 15

12 - 15

электроэнергии, кВт ∙ ч

0,75 - 0,9

7 - 8

Концентрация активного хлора в растворе гипохлорита, г/л

7 - 8

7 - 8

Напряжение электропитания, В

380

380

Установленная мощность, кВт

8,6

8,6

Масса электролизеров, кг

800

815

Примечание. Серийный выпуск оборудования электролизных установок производится на заводе «Коммунальник» Министерства жилищно-коммунального хозяйства РСФСР.

ПРИЛОЖЕНИЕ 22

УСТАНОВКИ ДЛЯ ДООЧИСТКИ СТОЧНЫХ ВОД НА ПЕСЧАНЫХ ФИЛЬТРАХ

Технико-экономические показатели

Показатель

Значения показателей для установок пропускной способностью, м3/сут

100

200

400

700

1400

ТП

902-2-248

902-2-249

902-2-250

Общая сметная стоимость, тыс. руб.

18,85

20,72

25,66

27,20

36,04

Расход теплоты, кВт

26,0

26,0

36,0

36,0

40,7

(тыс. ккал/ч)

(22,5)

(22,5)

(31,0)

(31,0)

(35,0)

Потребляемая мощность электроустановок, кВт

38,5

38,5

51,5

51,5

66,3

Численность обслуживающего населения, чел.

2

2

2

3

4

Площадь участка, га

0,05

0,05

0,064

0,064

0,082

ПРИЛОЖЕНИЕ 23

ПОКАЗАТЕЛИ СХЕМЫ РАЗДЕЛЬНОГО ОТВЕДЕНИЯ И ОЧИСТКИ «СЕРЫХ» СТОКОВ И ФЕКАЛИЙ

Сточные воды от моек, умывальников, ванн после предварительного отстаивания и обеззараживания в накопителе используются для орошения приусадебного участка. В зимнее время применяют намораживание сточных вод. Фекалии сбрасываются в люфт-клозет и вывозятся два раза в год.

Рекомендуемый режим опорожнения накопителя - 2 раза в неделю. До включения насоса необходимо для осаждения ПАВ ввести через вытяжной стояк накопителя 0,25 кг извести. Хлорпатрон заменяется 1 раз в месяц. В таблице приведены нормы полива, л/сут (числитель), и площади участка орошения, га (знаменатель), при общем объеме водоотведения - 600 л/сут.

Почвы

Климатическая зона

засушливая

недостаточно увлажненная

неустойчиво увлажненная

избыточно увлажненная

Песчаные с глубоким залеганием грунтовых вод

300

0,02

200

0,03

150

0,04

100

0,06

Супесчаные

250

0,025

160

0,04

110

0,05

60

0,10

Легко- и среднесуглинистые

200

0,03

130

0,05

80

0,08

-

Тяжелосуглинистые

150

0,04

100

0,06

-

-

Технико-экономические показатели (ориентировочно)

Прогнозируемая численность семьи (в среднем по СССР), чел.

- 3,6

Водоотведение, л/сут

- 600

Затраты, руб.

на люфт-клозет

- 300

на отведение серых стоков

- 360

всего

- 660

СОДЕРЖАНИЕ

1. Основные положения. 2

2. Системы и схемы канализации. 2

3. Нормы водоотведения, коэффициент неравномерности. Определение расчетных расходов и загрязнений сточных вод. 3

4. Технико-экономические предпосылки выбора системы канализации. 5

5. Канализационные сети и коллекторы.. 7

6. Насосные станции. 9

7. Сооружения централизованных систем.. 10

8. Использование очищенных сточных вод и осадков в сельском хозяйстве в качестве удобрения. 31

9. Очистные сооружения систем децентрализованной (местной) канализации. 34

10. Установка для очистки банных вод. 41

11. Условия совместного канализования жилой и производственной зон. 41

12. Технические решения систем канализации в районах крайнего севера и сибири. 43

13. Пример решения схемы канализации поселка. 47

Приложение 1. Укрупненные показатели стоимости прокладки самотечных и напорных трубопроводов. 57

Приложение 2. Показатели стоимости строительства сооружений для биологической очистки сточных вод. 58

Приложение 3. Нормы амортизационных отчислений на канализационные сети и сооружения. 59

Приложение 4. Технические характеристики труб для объектов канализации. 60

Приложение 5. Насосы канализационные. 66

Приложение 6. Канализационные станции с погружными электронасосами. 68

Приложение 7. Техническая характеристика отстойников. 68

Приложение 8. Рекомендуемые площади полей фильтрации. 69

Приложение 9. Аэрируемые биопруды для очистки сточных вод в IV климатическом районе. 69

Приложение 10. Станции биологической очистки сточных вод с полносборными неметаллическими емкостями пропускной способностью 12 - 50 м3/сут. 70

Приложение 11. Станции биологической очистки сточных вод с полносборными неметаллическими емкостями пропускной способностью 100 - 700 м3/сут. 70

Приложение 12. Станции биологической очистки сточных вод с пневматической аэрацией (для расчетной зимней температуры -20, -30 °с) с доочисткой на песчаных фильтрах и без доочистки. 71

Приложение 13. Станции биологической очистки сточных вод в аэротенках продленной аэрации с аэраторами на вертикальном валу. 71

Приложение 14. Станции биологической очистки сточных вод в аэротенках продленной аэрации с пневматической аэрацией для районов с расчетной зимней температурой -40 °с (тп 902-03-1) 72

Приложение 15. Станции биологической очистки сточных вод с установками заводского изготовления с аэробной стабилизацией осадка. 72

Приложение 16. Станции биологической очистки сточных вод с установкой заводского изготовления. 72

Приложение 17. Станции биологической очистки сточных вод пропускной способностью 1,4 тыс. м3/сут  (тп 902-03-13) 73

Приложение 18. Характеристика газодувок и жидкостно-кольцевых компрессоров. 73

Приложение 19. Станции биологической очистки сточных вод с циркуляционными окислительными каналами. 74

Приложение 20. Установки физико-химической очистки сточных вод для вахтовых поселков в комплектно-блочном исполнении. 74

Приложение 21. Основные показатели электролизных установок. 74

Приложение 22. Установки для доочистки сточных вод на песчаных фильтрах. 75

Приложение 23. Показатели схемы раздельного отведения и очистки «серых» стоков и фекалий. 75