Space systems. Safety and compatibility of materials. Part 1. Determination of upward flammability of material

ФЕДЕРАЛЬНОЕ АГЕНТСТВО
ПО ТЕХНИЧЕСКОМУ РЕГУЛИРОВАНИЮ И МЕТРОЛОГИИ

НАЦИОНАЛЬНЫЙ
стандарт
РОССИЙСКОЙ
ФЕДЕРАЦИИ

ГОСТ Р ИСО
14624-1-2010

Системы космические

БЕЗОПАСНОСТЬ И СОВМЕСТИМОСТЬ
МАТЕРИАЛОВ

Часть 1

Определение воспламеняемости материалов
в направлении вверх

ISO 14624-1:2003
Space systems - Safety and compatibility of materials -
Part 1: Determination of upward flammabiiity of materials

(IDT)

Москва

Стандартинформ

2011

Предисловие

Цели и принципы стандартизации в Российской Федерации установлены Федеральным законом от 27 декабря 2002 г. № 184-ФЗ «О техническом регулировании», а правила применения национальных стандартов Российской Федерации - ГОСТ Р 1.0-2004 «Стандартизация в Российской Федерации. Основные положения»

Сведения о стандарте

1 ПОДГОТОВЛЕН ФГУП «ВНИЦСМВ» на основе собственного аутентичного перевода на русский язык стандарта, указанного в пункте 4

2 ВНЕСЕН Техническим комитетом по стандартизации ТК 339 «Безопасность сырья, материалов и веществ»

3 УТВЕРЖДЕН И ВВЕДЕН В ДЕЙСТВИЕ Приказом Федерального агентства по техническому регулированию и метрологии от 23 декабря 2010 г. № 965-ст

4 Настоящий стандарт идентичен международному стандарту ИСО 14624-1:2003 «Системы космические. Безопасность и совместимость материалов. Часть 1. Определение воспламеняемости материалов в направлении вверх» (ISO 14624-1:2003 «Space systems - Safety and compatibility of materials - Part 1: Determination of upward flammability of materials»)

5 ВВЕДЕН ВПЕРВЫЕ

Информация об изменениях к настоящему стандарту публикуется в ежегодно издаваемом информационном указателе «Национальные стандарты», а текст изменений и поправок - в ежемесячно издаваемых информационных указателях «Национальные стандарты». В случае пересмотра (замены) или отмены настоящего стандарта соответствующее уведомление будет опубликовано в ежемесячно издаваемом информационном указателе «Национальные стандарты». Соответствующая информация, уведомление и тексты размещаются также в информационной системе общего пользования - на официальном сайте Федерального агентства по техническому регулированию и метрологии в сети Интернет

Содержание

1 Область применения. 2

2 Пригодность. 2

3 Термины и определения. 2

4 Сущность метода. 2

5 Реактивы.. 2

6 Испытательная система. 2

7 Испытуемые образцы.. 2

8 Методика. 2

9 Точность. 2

10 Протокол испытания. 2

Приложение А (справочное) Компетентность и аккредитация испытательных лабораторий. 2

Приложение В (справочное) Приготовление и проверка химических воспламенителей. 2

Библиография. 2

ГОСТ Р ИСО 14624-1-2010

НАЦИОНАЛЬНЫЙ СТАНДАРТ РОССИЙСКОЙ ФЕДЕРАЦИИ

Системы космические

БЕЗОПАСНОСТЬ И СОВМЕСТИМОСТЬ МАТЕРИАЛОВ

Часть 1

Определение воспламеняемости материалов в направлении вверх

Space systems. Safety and compatibility of materials. Part 1. Determination of upward flammability of materials

Дата введения - 2012-01-01

1 Область применения

Настоящий стандарт устанавливает метод определения воспламеняемости авиационно-космических материалов в результате распространения пламени вверх. В частности, данное испытание определяет, будет ли материал, подвергнувшийся воздействию стандартного источника воспламенения, самостоятельно гаснуть и не будет ли распространять горящие осколки на расположенные рядом материалы, которые могут воспламениться от данных осколков.

2 Пригодность

Испытание необходимо проводить в аккредитованной испытательной лаборатории (см. приложение А для руководящих указаний).

Полномочные органы, имеющие юрисдикцию, или заявители испытания должны обеспечить правильную идентификацию материала(ов) для испытания. В ином случае аккредитованная испытательная лаборатория должна иметь согласие заказчика испытания для подготовки подходящего материала(ов).

3 Термины и определения

В данном стандарте применяются следующие термины с соответствующими определениями:

3.1 выгоревший участок (burn length): Расстояние от основания образца до самого дальнего признака повреждения испытуемого образца пламенем.

Примечание - Данный участок включает области частичного или полного сгорания, обугливания или появления хрупкости, но не включает покрытые сажей, запачканные, деформированные или обесцвеченные области или области, где материал дал усадку или расплавился от тепла.

3.2 время распространения пламени (burn propagation time): Время, прошедшее от момента возгорания образца до момента остановки распространения пламени в вертикальном направлении.

3.3 самозатухание (self-extinguishing): Явление, при котором выгоревший участок материала не превышает 150 мм.

3.4 тонкопленочный образец (thin-film specimen): Образец, толщина которого не превышает 0,25 мм.

Примечание - Исключая ткань или нанесенное на основу покрытие.

3.5 распространение горящих осколков (transfer of burning debris): Перемещение горящих частиц от образца к материалам, расположенным в непосредственной близости.

3.6 наименее благоприятные условия (worst-case configuration): Совокупность толщины материала, давления при проведении испытания, концентрации кислорода и температуры, при которых материал наиболее воспламеняем.

3.7 наименее благоприятная используемая толщина (worst-case use thickness): Толщина материала, которая при определенном применении делает материал наиболее воспламеняемым.

Пример - Наименьшая толщина при использовании без основы или наибольшая толщина при использовании с основой.

4 Сущность метода

Источник воспламенения с заданными характеристиками в течение определенного периода времени прикладывают к нижнему основанию образца материала, установленного вертикально в испытательной камере или в вытяжном шкафу, обеспечивающем специальные условия проведения испытания. Записывают наибольший выгоревший участок, как минимум, из трех испытанных образцов стандартного размера. При применении данного метода материалы считают способными к самозатуханию, если максимальный участок выгорания для трех образцов стандартного размера не превышает 150 мм. Воспламененный материал не должен распространять горящие осколки на расположенные рядом материалы. Если любой из образцов не выдерживает испытание, это означает, что материал не выдерживает испытание в данных условиях проведения испытания. Материалы должны быть испытаны при наименее благоприятных условиях.

5 Реактивы

Газы для испытания проверяют на соответствие спецификациям (включая точность) для концентрации кислорода в пределах  и смешивают перед воздействием на образец.

6 Испытательная система

6.1 Испытательная камера, достаточно большая для того, чтобы могло произойти полное сгорание образца с уменьшением концентрации кислорода не более чем на 5 %. Кроме того, испытательная камера не должна химически или физически препятствовать испытанию.

Испытание можно проводить в вытяжном шкафу, если могут быть удовлетворены условия, описанные выше.

6.2 Измерительные приборы должны быть правильно отградуированы.

6.3 Химический источник воспламенения, отвечающий при условиях окружающей среды следующим требованиям:

a) энергия - 3000 Дж;

b) температура -(1100 ± 90) °С;

c) длительность горения - (25 ± 5) с;

d) максимальная высота видимого пламени - (65 ± 6,5) мм.

В приложении В приведена методика подготовки, проверки и хранения химических воспламенителей.

Могут быть использованы альтернативные механизмы зажигания, если они соответствуют требованиям, перечисленным выше в пунктах а)-d).

6.4 Источник питания, обеспечивающий действующую силу тока 15 А, подключенный к оголенному никель-хромовому проводу 20 AWG для инициации воспламенителя.

6.5 Оголенный никель-хромовый провод 20 AWG с номинальным сопротивлением, равным 2,3 Ом × м, и достаточной длины, чтобы обернуть три раза одинаковой длины провода вокруг химического воспламенителя.

6.6 Подходящий держатель образца, способный поддерживать образец в вертикальном положении.

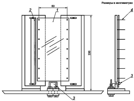
6.6.1 Стандартный держатель образца (см. рисунок 1), позволяющий подвергать воздействию образцы шириной 50 мм и во всю длину образца.

Нижняя часть держателя образца должна быть расположена, по крайней мере, в 250 мм от нижней части испытательной камеры.

Размеры в миллиметрах

1 - образец; 2 - шкала; 3 - источник воспламенения; 4 - никель-хромовая проволока;
За - источник воспламенения расположен внутри спирали

Рисунок 1 - Стандартный держатель образца

6.6.2 Держатель образца для тонкопленочных образцов, позволяющий подвергать воздействию, по крайней мере, 50 мм ширины и минимизирующий сжатие испытуемого материала вдалеке от пламени. Для больших тонкопленочных образцов ширина, подвергаемая воздействию, может быть больше, вплоть до 150 мм.

Может быть использовано два типа держателей образца:

a) держатель, подобный стандартному держателю образца (см. 6.6.1 и рисунок 1), за исключением того, что у него три зажима с барашковыми гайками вместо одного длинного зажима;

b) держатель, использующий игольчатую поверхность (см. рисунок 2).

6.7 Линейка, присоединенная к одной стороне держателя образца для измерения выгоревшего участка.

6.8 Лист бумаги, размещенный горизонтально приблизительно на 200 мм ниже держателя образца, но на 50 мм выше низа испытательной камеры, центрированный прямо по отношению к образцу и обладающий следующими характеристиками:

a) размеры - (200 ± 50) × (300 ± 50) мм;

b) плотность поверхности - от 200 до 300 г/м2;

c) тип - древесная целлюлоза;

d) цвет - однотонно белая;

e) условия - чистая, без грязных пятен, масляных пятен или инородных веществ (бумажная пыль, волоски и пр.), без дыр, разрывов, порезов, сгибов и следов потертостей, не содержащая соединений внахлест.

Лист бумаги используется для определения, будут ли горящие осколки от образца вызывать воспламенение расположенных рядом материалов.

1 - образец; 2 - шкала; 3 - источник воспламенения; 4 - игла

Рисунок 2 - Держатель с игольчатой поверхностью для тонкослойных образцов

7 Испытуемые образцы

7.1 Материалы

Минимальное количество материалов, необходимых для проведения каждого испытания, приведено в таблице 1. Фактические параметры испытания и количество материалов для форм, отличных от перечисленных в таблице (к примеру, уплотнительные кольца и другие изолирующие детали), должны быть установлены и утверждены ответственными покупателями/организациями-пользователями.

Таблица 1 - Минимальные количества материалов, требуемые для испытания в каждой среде

Форма материала

Минимальное количество

Листы

6 образцов требуемой толщины размерами 300 × 65 мм

Тонкие пленки

6 образцов требуемой толщины размерами 300 × 75 мм

Когда представляет интерес влияние испытательного стенда на результаты, могут дополнительно использоваться широкие тонкие пленки требуемой толщины размерами 300 × 200 мм при условии одобрения уполномоченными органами, имеющими юрисдикцию

Покрытия

Достаточное количество для покрытия требуемой толщиной 6 основ размерами 300 × 65 мм

Пены

6 образцов требуемой толщины размерами 300 × 65 мм

Изолированные провода

2 м

Как минимум, все материалы, используемые в испытании, должны соответствовать требованиям пользователя или превышать их.

Материалы и характеристики сконфигурированной системы могут быть значительно ухудшены источниками загрязнения, такими как воздействие растворителей, чистящих средств, аномальных температур, изменений влажности, загрязнителей из окружающей среды, твердых частиц в отработавших газах и технического обслуживания. Важно, чтобы воздействие на материал(ы) данных и других источников загрязнений контролировалось в достаточной степени, чтобы минимизировать разброс результатов испытания.

7.2 Получение и проверка материала

7.2.1 Получают и визуально оценивают испытуемый материал: при получении материал должен сопровождаться надлежащей идентификацией, и его толщина должна соответствовать заданной наименее благоприятной используемой толщине. Любые дефекты должны быть записаны. Образцы должны быть очищены и высушены в соответствии с требованиями конечного применения, перед тем как передать их на испытание.

7.2.2 Если требуется, подготавливают образцы подходящих размеров, в том числе и наименее благоприятной используемой толщины.

7.2.3 Если образцы получены с видимыми загрязнениями, их очищают. Все методы очистки должны быть утверждены заявителем испытания перед использованием. Поверхностные загрязнения могут быть удалены промыванием деионизированной водой и мягкими детергентами, промыванием деионизированной водой и сушкой отфильтрованным газообразным азотом. Как минимум, частицы на поверхности твердых пористых образцов должны быть удалены отфильтрованным газообразным азотом.

7.2.4 После подготовки и/или очистки на испытательном оборудовании проверяют образцы, чтобы убедиться, что их толщина соответствует наименее благоприятной используемой толщине. Любые трещины и остаточные загрязнения должны быть записаны. Если трещины образовались в результате подготовки образца на испытательном оборудовании, необходимо подготовить новые образцы. Образцы должны быть взвешены и каждый отдельно идентифицирован.

7.3 Подготовка испытуемых образцов

7.3.1 Листы или образцы другой объемной формы должны быть обрезаны до размера 300 × 65 мм и наименее благоприятной используемой толщины. Материалы, конфигурации и компоненты, которые не могут быть приготовлены в соответствии с данными требованиями, должны испытываться в том виде, в котором они были приобретены. Нестандартные образцы должны быть закреплены в камере таким образом, который не препятствовал бы распространению пламени.

7.3.2 Материалы, которые требуют затвердевания, должны быть приготовлены с наименее благоприятной используемой толщиной и отверждены в соответствии с требованиями инструкций заявителя. Образцы должны быть обрезаны до размера 300 × 65 мм.

7.3.3 Покрытия или любые вязкие материалы, которые не могут быть закреплены для испытания без подложки, должны быть нанесены наименее благоприятной используемой толщиной на основу из материала конечного использования. Если нет информации о конечном использовании материала или если нецелесообразно, могут использоваться алюминиевые подложки толщиной около 0,5 мм. Необходимо провести любое требуемое отверждение. Образцы должны иметь размер 300 × 65 мм. Покрытия, пленки или клейкие ленты, предназначенные для использования на неметаллических поверхностях, должны быть нанесены на предполагаемую неметаллическую поверхность наименее благоприятной используемой толщиной.

7.3.4 Нелипкие ленты на крючке и петле должны испытываться в состоянии «как были получены», если другого не требуется заявителем. Нелипкие ленты на крючке и петле должны быть нанесены на алюминиевую подложку размерами 300 × 65 × 0,5 мм. Чтобы обеспечить воспламенение подложки ленты противоположной по отношению к крючку и петле, около 13 мм испытуемого образца должно выходить за подложку.

7.3.5 Полутвердые материалы должны быть нанесены на подходящую невоспламеняемую подложку, такую как ткань из стекловолокна. Полутвердые материалы должны быть нанесены на подложку ровным слоем.

7.3.6 Жидкие материалы должны испытываться с использованием стандартной методики определения температуры вспышки жидкости.

7.3.7 Образцы тонких пленок должны быть обрезаны до размера 300 × 75 мм. При желании с целью уменьшения сокращения материала вдалеке от пламени могут быть использованы широкие тонкие пленки - при условии одобрения уполномоченными органами, имеющими юрисдикцию.

8 Методика

ОСТОРОЖНО - при горении материалов может выделяться дым и токсичные газы, которые могут влиять на здоровье операторов. Рабочая зона должна быть очищена от дыма и паров подходящими средствами.

8.1 Перед проведением испытания

Перед проведением испытания записывают всю имеющую отношение информацию (включая концентрацию кислорода, идентификацию образца, массу и размер образцов перед испытанием). Все образцы должны быть сфотографированы.

Испытательная система должна быть визуально чистой, все измерительные средства должны быть правильно отградуированы.

Ширина, подвергаемая воздействию центральной части образцов стандартного размера, должна быть равной 50 мм. Образцы не должны быть слишком натянуты или стянуты, что приведет к горизонтальным линиям сдвига. Тонкие пленки устанавливают с зазором шириной 10 мм, чтобы позволить материалу сжиматься.

Помещают воспламенитель горизонтально по отношению к нижнему краю образца и центрируют по плоскости передней поверхности образца ниже на (6 ± 1) мм от нижнего края образца. При испытании материалов на подложке необходимо убедиться, что воспламенитель центрирован вдоль плоскости передней поверхности образца, а не подложки.

Все испытания должны быть записаны на видеопленку.

8.2 Испытание

8.2.1 До воспламенения

Перед воспламенением образец выдерживают в соответствующей атмосфере в течение не менее 3 мин (выдерживание образца в вакууме должно быть меньше чем 3 минуты). По крайней мере должны быть испытаны три образца.

Измеряют, проверяют и записывают процентное содержание кислорода и общее давление.

Включают химический воспламенитель и прибор, измеряющий время, используемый для определения времени распространения пламени. Незамедлительно после инициирования воспламенителя, выключают его питание.

8.2.2 После воспламенения

Наблюдают за вертикальными поверхностями образца и записывают любые имеющие отношения к воспламенению наблюдения.

Пример - Распространение горящих осколков.

8.3 После испытания

После испытания записывают конечную концентрацию кислорода, длину сгоревшего участка и массу образца после испытания. При необходимости могут быть сделаны фотографии после испытания, чтобы задокументировать любые аномальные происшествия.

9 Точность

Измерения должны быть проведены со следующими допускаемыми отклонениями:

a) абсолютное давление - ± 1 %;

b) концентрация кислорода - ± 0,5 %;

c) размеры образцов - ±5 %;

d) масса образца - ± 1 %;

e) длина выгоревшего участка - ±10 мм.

10 Протокол испытания

10.1 Стандартные испытания

Протокол испытания должен включать детали идентификации образца, конфигурацию образца, условия испытания и наблюдения во время испытания. Правильное составление протокола о наблюдениях во время испытания, таких как длина выгоревшего участка, распространение горящих осколков и других наблюдениях (в особенности необычном поведении), является критическим. Протокол испытания должен быть предоставлен в уполномоченные органы, имеющие юрисдикцию, и/или заявителю испытания.

10.2 Нестандартные испытания

В случае отклонений от стандартных параметров испытания, таких как нестандартная подготовка образца, размеры образца, ориентация образца, испытательная камера или источник воспламенения, испытание должно быть определено как нестандартное. Кроме того, вся информация по 10.1 должна быть включена в протокол испытания.

Приложение А
(справочное)

Компетентность и аккредитация испытательных лабораторий

А.1 Компетентность

Лаборатории следует быть аккредитованной на проведение испытаний на воспламеняемость и/или горение, описанных в настоящем стандарте. Аккредитация необходима, потому что данные таких испытаний представлены для утверждения выбора штатных авиационно-космических материалов. Аккредитации необходимо базироваться на требованиях ИСО/МЭК 17025 и требованиях, описанных в настоящем стандарте.

В программу аккредитации следует включать проверку квалификации, и она должна соответствовать Руководству ИСО/МЭК 43-1.

А.2 Аккредитация

Аккредитация является ответственностью органов по аккредитации, признанных способными управлять аккредитацией лабораторий. Орган по аккредитации должен быть участником Соглашения о многостороннем взаимном признании Международной Организации Аккредитации Лабораторий или участником эквивалентного (ILAC)1) регионального/национального, требующего от органов по аккредитации следовать Руководству ИСО/МЭК 58.

1) Вся информация доступна на веб-сайте ILAC http://www.ilac.org - международной организации по аккредитации, или вы можете запросить информацию в секретариате ILAC, Австралия. Тел. +612 9736 8374, e-mail ilac@nata'.

А.3 Руководящие указания

Аккредитованной лаборатории необходимо следовать следующим руководящим указаниям:

a) для требуемых испытаний лаборатории следует проводить испытания, как минимум, один раз в течение последних восемнадцати месяцев, и лаборатории следует участвовать в сравнении результатов с другим аккредитованными лабораториями (межлабораторное испытание);

b) все инструменты, используемые при испытании, следует правильно откалибровать и сопровождать соответствующей документацией, чтобы проверить достоверность единства измерения при помощи соответствующего национального или международного эталона;

c) лаборатории следует убедиться, что все испытания проводятся в соответствии с утвержденным планом испытаний и мероприятий и что записи дат и результатов испытаний являются полными и точными;

d) лаборатории следует подготовить полные протоколы испытаний для каждого испытанного материала, и лаборатории следует хранить долговременные данные об испытании в течение, как минимум, пятнадцати лет для исторических целей.

Приложение В
(справочное)

Приготовление и проверка химических воспламенителей

В.1 Требования безопасности

Всему персоналу, привлеченному к работе с данными воспламенителями, следует ознакомиться с техникой безопасности, относящейся к материалам и используемому оборудованию.

В.2 Материалы

В.2.1 Гексаметилентетрамин (ГМТ), реактив с содержанием основного вещества 98 %, в виде порошка, упакованный и хранящийся надлежащим образом, чтобы исключить попадание влаги.

В.2.2 Безводный метасиликат натрия, реактив с содержанием основного вещества 98 %, в виде гранул, упакованный и хранящийся надлежащим образом, чтобы исключить попадание влаги.

В.2.3 Гуммиарабик (акация) в виде порошка.

В.2.4 Деионизированная вода для смешивания с сухими компонентами для формирования густой массы воспламенителя.

В.2.5 Сертифицированный воздух для дыхания, используемый при проверке воспламенителей (см. ИСО 14951-13).

В.3 Оборудование

В.3.1 Молотковая мельница для размельчения сухих компонентов воспламенителя.

В.3.2 Защитная камера с перчатками, используемая при размельчении некоторых сухих компонентов.

В.3.3 Мешки для хранения измельченных сухих компонентов.

В.3.4 Сетка с 40 ячейками (40 мкм) для просеивания измельченных сухих компонентов.

В.3.5 Вытяжной шкаф, используемый при размельчении некоторых сухих компонентов и для смешивания густой массы воспламенителя. Скорость потока воздуха в вытяжном шкафу должна быть не менее 30 м/с.

В.3.6 Противогаз с органическими фильтрующими коробками, используемый при смешивании НМТ.

В.3.7 Бюретка вместимостью 250 см3 для деионизированной воды и постепенного добавления ее в раствор.

В.3.8 Высокопроизводительный электрический миксер для смешивания густой массы воспламенения.

В.3.9 Шпатель для соскабливания густой массы воспламенителя со стенок смесительной емкости при приготовлении.

В.3.10 Пластмассовые поддоны, антипригарные, с размерами приблизительно равными 76 × 380 × 15 мм, чтобы зафиксировать экструдированную густую массу воспламенителя и удерживать ее, пока она не высохнет.

В.3.11 Лента конвейера для перемещения пластмассовых поддонов с постоянной скоростью таким образом, чтобы нить густой смеси воспламенителя не была натянутой или чтобы она не стала слишком тонкой.

В.3.12 Экструдер для выдавливания густой смеси воспламенителя в пластмассовые поддоны.

В.3.13 Режущие инструменты для обрезания нити густой смеси воспламенителя до необходимой длины.

В.3.14 Штативы для сушки для хранения пластмассовых поддонов, содержащих нити густой массы воспламенителя.

В.3.15 Эксикатор с осушителем для обеспечения соответствующей влажности во время высушивания и хранения воспламенителей.

В.3.16 Весы для взвешивания высушенных воспламенителей.

В.3.17 Рифленый пластмассовый держатель, используемый при обрезании высушенных воспламенителей, весящих больше нормы, до длины, которая обеспечивает необходимую массу.

В.3.18 Источник питания, обеспечивающий действующую силу тока 15 А, используемый при проверке воспламенителей.

В.3.19 Оголенный никель-хромовый провод 20 AWG со значением удельного сопротивления, равным 2,3 Ом × м, используемый при проверке воспламенителей.

В.3.20 Линейка с делениями для измерения длины воспламенителей и высоты пламени воспламенителя при проверке.

В.3.21 Испытательная камера (или вытяжной шкаф), используемая при проверке воспламенителей.

В.3.22 Градуированный секундомер для определения времени горения при проверке воспламенителей.

В.3.23 Щетка с мягкой щетиной, предназначенная для очистки между проверками отдельных воспламенителей намотки воспламенителя.

В.3.24 Пластмассовый контейнер (коробка) для хранения воспламенителей.

В.3.25 Гофрированная оболочка из вспененного материала для упаковки и хранения воспламенителей.

В.4 Измельчение компонентов смеси воспламенителя

В.4.1 Для обеспечения однородной смеси измельчают сырые материалы, используя молотковую мельницу. Для гуммиарабика измельчение не требуется.

В.4.2 Измельчают метасиликат натрия в защитной камере с перчатками следующим образом. Помещают молотковую мельницу, материал для размельчения и необходимые инструменты в защитную камеру с перчатками. Присоединяют мешок на выходе молотковой мельницы к ленте для захвата размельченного материала. Кроме того, помещают сетку с 40 ячейками внутрь молотковой мельницы. Герметизируют защитную камеру с перчатками и перед размельчением материала продувают перчаточную камеру сухим воздухом приблизительно в течение 4 часов или до влажности внутри защитной камеры с перчатками ниже 10 %.

В.4.3 Измельчают материал. Отсоединяют мешок от молотковой мельницы, герметизируют мешок, помещают его в другой мешок и герметизируют второй мешок.

В.4.4 Между измельчением различных материалов очищают молотковую мельницу.

В.4.5 Измельчают ГМТ в вытяжном шкафу. Скорость потока воздуха в вытяжном шкафу должна быть не менее 30 м/с, и оператор должен носить противогазы с органическими фильтрующими коробками. Следовать той же методике, как и при размельчении метасиликата натрия, описанной в пунктах В.4.2 - В.4.4.

В.4.6 После измельчения хранить каждый материал, идентифицированный должным образом, отдельно.

В.5 Взвешивание и смешивание компонентов смеси воспламенителя

В.5.1 Для приготовления 400 г смеси необходимо следующее количество каждого из твердых компонентов:

- (280,8 ± 0,2) г ГМТ;

- (105,2 ± 0,2) г безводного метасиликата натрия;

- (14,0 ± 0,2) г гуммиарабика.

В.5.2 Для порций другого объема смесь должна содержать (70,2 ± 0,1) % ГМТ, (26,3 ± 0,1) % метасиликата натрия и (3,5 ± 0,1) % гуммиарабика.

В.5.3 Взвешивание и смешивание проводят в день приготовления воспламенителя (не смешивать сухие компоненты раньше дня экструдирования).

В.6 Добавление воды

В.6.1 Наливают 200 см3 деионизированной воды при комнатной температуре в бюретку вместимостью 250 см3.

В.6.2 Открывают кран бюретки и наливают около 10 см3 деионизированной воды в смесительную чашу высокопроизводительного электрического миксера.

В.6.3 Помещают сухую смесь воспламенителя в смесительную чашу. Следят, чтобы смесь воспламенителя равномерно распределилась в чаше.

В.6.4 Включают электрический миксер на низкой скорости, медленно добавляют деионизированную воду в смесь. Вначале смесь будет очень влажной. По мере того как метасиликат натрия будет впитывать воду, смесь начнет густеть и в конечном счете достигнет консистенции густой массы. Это может занять от 20 до 30 минут в зависимости от окружающих условий. В течение размешивания соскабливают массу со стенок смесительной чаши при помощи шпателя.

В.6.5 Как только достигнута необходимая консистенция густой смеси, смесь будет отставать от стенок чаши. Когда это случится, прекращают добавление воды. Слишком большое количество воды приведет к тому, что смесь будет слишком влажной для экструдирования. Обычно из бюретки в смесь добавляют от 190 до 200 см3 деионизированной воды.

В.7 Формирование воспламенителей экструдированием

В.7.1 Экструдирование воспламенителей является операцией, выполняемой тремя людьми. Один человек помещает пластиковые поддоны на ленту конвейера. Другой человек контролирует процесс регулированием скорости ленты конвейера, и регулирует скорость экструдирования, и обрезает экструдированную густую смесь воспламенителя между поддонами. Третий человек убирает поддоны с ленты конвейера и помещает их в штативы для сушки.

В.7.2 Включают ленту конвейера и выполняют все необходимые настройки натяжения ленты, чтобы предотвратить любые колебания ленты. Кроме того, для смеси массой 400 г проверяют, чтобы от начала ленты стояло примерно 75 пластиковых поддонов. Для больших порций требуется больше. Выключают ленту конвейера.

В.7.3 Подсоединяют экструдер и наполняют густой смесью воспламенителя.

В.7.4 Как только начинается экструдирование, включают ленту конвейера и готовятся размещать пластмассовые поддоны на ленте конвейера, по мере выхода густой смеси воспламенителя. Настраивают скорость ленты конвейера и экструдера в соответствии с требованиями операции для обеспечения того, чтобы густая смесь воспламенителя выходила прямой и невытянутой. Обрезают густую смесь между пластмассовыми поддонами так, чтобы поддоны можно было поместить отдельно в штативы для сушки.

В.7.5 После того как вся густая смесь выдавлена в поддоны и поддоны убраны в штативы для сушки, очищают все оборудование.

В.8 Отверждение, обрезание и взвешивание воспламенителей

В.8.1 После того как вся густая смесь воспламенителя выдавлена в пластиковые поддоны, воспламенители оставляют сохнуть в хорошо вентилируемом помещении (относительная влажность < 20 %). После примерно 24 - 48 часов воспламенители должны быть достаточно сухими для обрезания.

В.8.2 Обрезают все нити воспламенителя в пластиковых поддонах до длины (28 ± 3,2) мм. Продолжают сушить обрезанные воспламенители при условиях, описанных в В.8.1, еще в течение 24 - 48 часов до тех пор, пока они не станут сухими на ощупь.

В.8.3 Переносят воспламенители из пластмассовых поддонов в эксикатор (относительная влажность < 15 %). Помещают их непосредственно на слой осушителя.

В.8.4 Продолжают сушить воспламенители в эксикаторе. После приблизительно семи дней выбирают 10 воспламенителей и взвешивают их. Требуемые показатели по массе для воспламенителей - от 190 до 240 мг. Если масса восьми из десяти воспламенителей входит в заданный диапазон, то окончательная стадия сушки достигнута и воспламенители готовы к проверке. Если больше чем два воспламенителя весят больше 240 мг, продолжают сушку.

В.8.5 Если требуется дополнительное время сушки, как описано в В.8.4, ждут приблизительно 24 - 48 часов, затем выбирают десять дополнительных воспламенителей. Если восемь из десяти соответствуют требованиям по массе, воспламенители готовы к проверке. Из-за различия условий в эксикаторах данный процесс может занимать две недели или больше.

В.9 Проверка воспламенителей

В.9.1 Взвешивают все воспламенители, содержащиеся в эксикаторе. Если масса воспламенителя меньше 190 мг, он имеет недовес и должен быть отбракован. Если воспламенитель весит больше чем 240 мг, он может быть обрезан на 25 мм, чтобы соответствовать требуемым показателям по массе. Если должная масса не достигнута вместе с требуемыми показателями по длине, образец должен быть отбракован. Обрезание и взвешивание воспламенителей должно производиться в сухой атмосфере (относительная влажность менее 20 %), так как воспламенители будут впитывать влагу при контакте с избыточной влажностью. Кроме того, воспламенители должны оставаться круглыми и не становиться плоскими при обрезании, для того чтобы проходить внутрь проволочной спирали воспламенителя. Для обеспечения этого воспламенители должны быть помещены в жесткий желобчатый держатель во время обрезания.

В.9.2 Для проверки партии смеси массой 400 г случайным образом отбирают выборочную партию из 20 воспламенителей. Если сделана большая партия смеси, выборочная партия должна быть соответственно увеличена. 20 отобранных воспламенителей должны быть испытаны на высшую температуру пламени, время горения и максимальную высоту пламени. Каждый испытуемый воспламенитель должен достигать температуры пламени до (1100 ± 90) °С. Пламя воспламенителя должно длиться от (25 ± 5) с с максимальной высотой пламени от (65 ± 6,5) мм.

В.9.3 Воспламенители должны быть испытаны в проверенном воздухе для дыхания при 100 кПа. Температура должна быть измерена термопарой S-типа, изготовленной из провода диаметром 0,81 мм. Провод термопары должен находиться по центру в 25 мм над верхней частью воспламенителя. Для зажигания воспламенителя источник питания способный подать 15 А (действующее) должен быть соединен с оголенным никель-хромовым проводом 20 AWG. Провод должен иметь номинальное сопротивление 2,3 Ом × м и иметь достаточную длину, чтобы сделать три одинаковых витка вокруг воспламенителя. Никель-хромовая проволочная спираль должна быть заменена перед проверкой каждой партии воспламенителей. Кроме того, участок подводящего провода к никель-хромовой проволочной спирали не должен превышать 32 мм, чтобы обеспечить правильное возгорание воспламенителя.

Линейка с делениями должна быть помещена в испытательную камеру для измерения высоты пламени.

В.9.4 Перед проверкой проверяют, чтобы провода термопары не касались друг друга и чтобы термопара была правильно градуирована.

В.9.5 Для проверки воспламенителя выполняют следующие действия для каждого из 20 случайно отобранных воспламенителей:

a) помещают воспламенитель внутрь проволочной спирали;

b) наполняют испытательную камеру до 100 кПа проверенным воздухом для дыхания;

c) включают питание воспламенителя. Когда произошло воспламенение, выключают питание;

d) записывают высшую температуру пламени (с термопарой), время горения и высоту пламени. Время от момента воспламенения до момента угасания (время горения) должно быть получено с помощью градуированного секундомера. Высота пламени должна быть получена измерением максимальной высоты пламени до высшей точки;

e) позволяют испытательной камере стабилизироваться. Перед загрузкой следующего воспламенителя очищают проволочную спираль, убирая остаток после прокаливания щеткой с мягкой щетиной;

f) партия воспламенителей приемлема для использования, если не более одного воспламенителя из 20 испытанных проходит испытание по заданным критериям (см. В.9.2). После того как партия воспламенителей была испытана и проверена, рассчитывают среднюю высшую температуру пламени и среднее время горения вместе со стандартными отклонениями.

В.10 Утилизация отходов

Утилизацию любых отходов, полученных при изготовлении, обрезании или взвешивании воспламенителей, включая всю партию, которая не прошла испытания, проводят в соответствии с постановлениями об окружающей среде и опасных отходах.

В.11 Упаковка и хранение воспламенителей

В.11.1 Воспламенители упаковывают в пластиковый контейнер для хранения между слоями рифленой упаковки толщиной 3 мм из вспененного материала. Порядок размещения в контейнере для хранения:

1) рифленая упаковка с желобками вверх;

2) слой воспламенителей в желобках упаковки;

3) рифленая упаковка с желобками вниз.

Повторяют шаги с 1) по 3) до заполнения контейнера. Таким образом, между слоями воспламенителей будет два слоя рифленой упаковки, что минимизирует перемещение при перемещении или хранении коробки. Для впитывания излишней влаги, которая может влиять на производительность воспламенителей, помещают пакеты осушителей сверху воспламенителей внутри контейнера.

В.11.2 Для предотвращения впитывания воспламенителями влаги при длительном хранении помещают воспламенители в эксикатор с осушителем, изменяющим цвет, или с индикатором влажности другого типа. Воспламенители могут храниться в течение неопределенного периода времени при условии регулярной замены осушителя и/или при поддержании влажности в сушильном шкафу меньше 18 %.

Библиография

[1] ISO 14951-13:1999*, Space systems - Fluid characteristics - Part 13: Breathing air. (ИСО 14951-13:1999 Системы космические. Характеристики текучих сред. Часть 13. Вдыхаемый и выдыхаемый воздух)

* Отменен

[2] ISO/IEC 17025:1999**, General requirements for the competence of testing and calibration laboratories. (ИСО/МЭК 17025:1999 Общие требования к компетентности испытательных и поверочных лабораторий)

** Действует ISO/IEC 17025:2005 General requirements for the competence of testing and calibration laboratories (ИСО/МЭК 17025:2005 Общие требования к компетентности испытательных и калибровочных лабораторий).

[3] ISO/IEC Guide 43-1:1997***, Proficiency testing by interlaboratory comparisons - Part 1: Development and operation of proficiency testing schemes. (ИСО/МЭК Руководство 43-1:1997 Проверка компетентности путем межлабораторных сравнений. Часть 1. Разработка и применение программ проверок компетентности лабораторий)

*** Действует ISO/IEC 17043:2010 Conformity assessment - General requirements for proficiency testing (ИСО/МЭК 17043:2010 Оценка соответствия. Общие требования к проверке квалификации).

[4] ISO/IEC Guide 58:19934*, Calibration and testing laboratory accreditation systems - General requirements for operation and recognition. (ИСО/МЭК Руководство 58:1993 Системы аккредитации поверочных и испытательных лабораторий. Общие требования к функционированию и признанию)

4* Действует ISO/IEC 17011:2004 Conformity assessment - General requirements for accreditation bodies accrediting conformity assessment bodies (ИСО/МЭК 17043:2010 Оценка соответствия. Общие требования к органам по аккредитации, аккредитующим органы по оценке соответствия).

 

Ключевые слова: системы космические, безопасность и совместимость материалов, воспламеняемость материалов