ФЕДЕРАЛЬНОЕ АГЕНТСТВО
ПО ТЕХНИЧЕСКОМУ РЕГУЛИРОВАНИЮ И МЕТРОЛОГИИ
|
|
НАЦИОНАЛЬНЫЙ |
ГОСТ
Р ИСО |
Машины землеройные
ОСВЕТИТЕЛЬНЫЕ, СИГНАЛЬНЫЕ
И ГАБАРИТНЫЕ ОГНИ
И СВЕТООТРАЖАТЕЛИ
ISO 12509:2004
Earth-moving machinery - Lighting, signalling
and marking lights, and reflex-reflector devices
(IDT)
|
|
Москва Стандартинформ 2011 |
Предисловие
Цели и принципы стандартизации в Российской Федерации установлены Федеральным законом от 27 декабря 2002 г. № 184-ФЗ «О техническом регулировании», а правила применения национальных стандартов Российской Федерации - ГОСТ Р 1.0-2004 «Стандартизация в Российской Федерации. Основные положения»
Сведения о стандарте
1 ПОДГОТОВЛЕН Открытым акционерным обществом «Центральный научно-испытательный полигон строительных и дорожных машин» (ОАО «ЦНИП СДМ») на основе собственного аутентичного перевода на русский язык стандарта, указанного в пункте 4
2 ВНЕСЕН Техническим комитетом по стандартизации ТК 267 «Строительно-дорожные машины и оборудование»
3 УТВЕРЖДЕН И ВВЕДЕН В ДЕЙСТВИЕ Приказом Федерального агентства по техническому регулированию и метрологии от 30 ноября 2010 г. № 583-ст
4 Настоящий стандарт идентичен международному стандарту ИСО 12509:2004 «Машины землеройные. Осветительные, сигнальные и габаритные огни и светоотражатели» (ISO 12509:2004 «Earth-moving machinery - Lighting, signaling and marking lights, and reflex-reflector devices»).
При применении настоящего стандарта рекомендуется использовать вместо ссылочных международных стандартов соответствующие им национальные стандарты Российской Федерации, сведения о которых приведены в дополнительном приложении ДА
5 ВВЕДЕН ВПЕРВЫЕ
Информация об изменениях к настоящему стандарту публикуется в ежегодно издаваемом информационном указателе «Национальные стандарты», а текст изменений и поправок - в ежемесячно издаваемых информационных указателях «Национальные стандарты». В случае пересмотра (замены) или отмены настоящего стандарта соответствующее уведомление будет опубликовано в ежемесячно издаваемом информационном указателе «Национальные стандарты». Соответствующая информация, уведомление и тексты размещаются также в информационной системе общего пользования - на официальном сайте Федерального агентства по техническому регулированию и метрологии в сети Интернет
СОДЕРЖАНИЕ
Введение
Землеройные машины проектируют для выполнения большого комплекса работ и операций. Типоразмеры, масса, скорость, варианты сменного рабочего оборудования чрезвычайно многообразны. Соответственно многообразны исполнения осветительных, сигнальных и габаритных огней и светоотражателей.
Настоящий стандарт позволяет выбрать устройства для осветительных, сигнальных, габаритных огней и светоотражателей в соответствии с назначением машины и ее скоростными показателями.
НАЦИОНАЛЬНЫЙ СТАНДАРТ РОССИЙСКОЙ ФЕДЕРАЦИИ
Машины землеройные
ОСВЕТИТЕЛЬНЫЕ,
СИГНАЛЬНЫЕ И ГАБАРИТНЫЕ ОГНИ
И СВЕТООТРАЖАТЕЛИ
Earth-moving machinery. Lighting, signalling and marking lights,
and reflex-reflector devices
Дата введения - 2012-01-01
Настоящий стандарт устанавливает минимальные требования к установке и исполнению осветительных, сигнальных и габаритных огней и светоотражателей для землеройных машин. Настоящий стандарт применим для самоходных колесных и гусеничных землеройных машин (как это определено ИСО 6165), предназначенных для использования как на дорогах общего пользования, так и вне их. Настоящий стандарт не применяется для машин, требующих специального технического надзора.
Для документов, содержащих обозначение даты их принятия, действительным является приведенное в настоящем разделе издание. Для документов без указания даты действительным является последнее издание документа (со всеми поправками и изменениями).
В настоящем стандарте использованы нормативные ссылки на следующие международные стандарты:
ИСО 303:2002 Транспорт дорожный. Установка осветительных и сигнальных световых устройств для автомобилей и прицепов (ISO 303:2002 Road vehicles. Installation of lighting and light signalling devices for motor vehicles and their trailers)
ИСО 6165 Машины землеройные. Основные типы. Идентификация, термины и определения (ISO 6165:2006 Earth-moving machinery. Basic types. Identification and terms and definitions)
ИСО 7227:1987 Транспорт дорожный. Приборы освещения и световой сигнализация. Словарь (ISO 7227:1987 Road vehicles. Lighting and light signalling devices. Vocabulary)
3.1 Термины и определения
В настоящем стандарте применены термины и определения по ИСО 303, ИСО 7227, а также следующие термины с соответствующими определениями.
3.1.1 нулевая плоскость Y (zero Y plane): Вертикальная плоскость, проходящая через продольную осевую линию машины.
Примечание - См. ИСО 6746-1.
3.1.2 плоскость Х (Х plane): Любая вертикальная плоскость, перпендикулярная плоскости Y.
Примечание - См. ИСО 6746-1.
3.1.3 горизонтальная грунтовая плоскость GPR (ground reference plane GRP): Плоская поверхность грунта, на которой устанавливается машина и которая должна быть максимально горизонтальной.
3.1.4 край габаритной ширины с каждой стороны машины (extreme outer edge): Плоскость, параллельная среднему продольному сечению машины, касательная к его боковому ребру без учета выступа, образуемого: шинами вблизи от точки их соприкосновения с землей и подсоединений указателей давлений в шинах; приспособлениями противоскольжения, которые могут устанавливаться на колесах; зеркалами заднего вида, боковыми указателями поворота, передними и задними габаритными фонарями, стояночными огнями.
3.1.5 габаритная ширина (overall width): Расстояние между двумя вертикальными плоскостями объемного граничного пространства.
|
3.1.6 эксплуатационная масса ОМ (operating mass ОМ): Масса базовой машины с оборудованием и приспособлениями без груза в соответствии с требованиями предприятия-изготовителя, оператором (75 кг), полным топливным баком и жидкостными системами, заполненными до уровня в соответствии с требованиями изготовителя. [ИСО 6016:1998, статья 3.2.1] |
3.1.7 огонь (lamp): Устройство, предназначенное для освещения дороги или грунта (осветительная функция), а также для подачи светового сигнала (сигнальная).
Примечание - При световой маркировке обычно используют термин «огонь» (см. ИСО 7227:1987, статья 3.8).
|
3.1.7.1 эквивалентные огни (equivalent lamps): Огни, выполняющие одну и ту же функцию и геометрически взаимозаменяемые. [ИСО 7227:1987, статья 3.8] |
|
3.1.7.2 независимые огни (independent amps): Устройства, имеющие разные освещающие поверхности, разные источники света и разные корпуса. [ИСО 7227:1987, статья 3.9] |
|
3.1.7.3 сгруппированные огни (grouped lamps): Устройства, имеющие разные освещающие поверхности и разные источники света и общий корпус. [ИСО 7227:1987, статья 3.10] |
|
3.1.7.4 комбинированные огни (combined lamps): Устройства, имеющие отдельные освещающие поверхности, но общий источник света и корпус. [ИСО 7227:1987, статья 3.11] |
|
3.1.7.5 совмещенные огни (reciprocally incorporated lamps): Устройства, имеющие разные источники света (или единый источник света работающий в различных режимах, полностью или частично общие освещающие поверхности и общий корпус). [ИСО 7227:1987, статья 3.12] |
3.1.7.6 светоотражающее устройство (reflex reflector): Устройство, предназначенное для сигнализации наличия транспортного средства посредством отражения света, излучаемого источником, не связанным с этим транспортным средством, для наблюдателя, находящегося вблизи этого источника света.
3.1.8 освещающая поверхность (illuminating surface (lighting device)): Ортогональная проекция полной выходной поверхности отражателя на поперечную плоскость.
Примечание 1 - Если устройство освещения не имеет отражателя, то для освещающей поверхности применяется определение 3.1.9. Если светоизлучающая поверхность огня перекрывает только часть полной выходной поверхности светоотражателя, то учитывается проекция только этой части.
Примечание 2 - Для фары ближнего света освещающая поверхность ограничивается видимым следом линии среза на рассеивателе. Если отражатель и рассеиватель регулируются по отношению друг к другу, то следует использовать среднее положение регулировки.
Примечание 3 - Использовать ИСО 7227:1987.
Примечание 4 - См. приложение С.
|
3.1.9 освещающая поверхность (устройство световой сигнализации не является светоотражающим устройством) (illuminating surface (signaling device other than reflex reflector): Ортогональная проекция огня на плоскость, перпендикулярную к его исходной оси и соприкасающуюся с внешней светоизлучающей поверхностью огня, причем эта проекция ограничивается краями экранов, пересекающих эту плоскость, каждый из которых позволяет сохранить внутри поверхности только 98 % общей силы света в направлении исходной оси. [ИСО 7227:1987, статья 3.36] |
Примечание - См. приложение С.
|
3.1.10 освещающая поверхность (illuminating surface (reflex reflector) (светоотражающего устройства): Ортогональная проекция светоотражающего устройства на плоскость, перпендикулярную к его исходной оси, ограничиваемая плоскостями, соприкасающимися с крайними частями оптической системы светоотражающего устройства и параллельными этой оси. [ИСО 7227:1987, статья 3.37] |
3.1.11 исходная ось (reference axis): Характерная ось огня, служащая ориентиром (a = 0°, b = 0°) для углов геометрической видимости при фотометрических измерениях и при установке на машине.
Примечание - Исходную ось определяет предприятие-изготовитель.
|
3.1.12 исходный центр (reference centre): Точка пересечения исходной оси с выходной поверхностью огня [ИСО 7227:1987, статья 3.41] |
Примечание - См. приложение С.
|
3.1.13 светоизлучающая поверхность (light-emitted surface): Вся или часть внешней поверхности оптических стекол, входящих в состав устройств освещения и устройств световой сигнализации, соответствующая требуемым фотометрическим и калориметрическим требованиям. ИСО [7227:1987, статья 3.38] |
3.1.14 контрольное устройство (control device): Устройство, показывающее нормальную работу объекта или необходимость приведения его в действие.
|
3.1.14.1 контрольный сигнал (tell-tale): Визуальный и/или звуковой сигнал, который дает информацию о работе и/или условиях работы осветительных и сигнальных световых устройств или систем. [ИСО 7227:1987, статья 3.32] |
|
3.1.14.2 контрольный сигнал функционирования (operational tell-tale): Сигнал, указывающий оператору/водителю на то, что устройство приведено в действие и оно правильно или неправильно функционирует. [ИСО 7227:1987, статья 3.33] |
|
3.1.14.3 контрольный сигнал включения (circuit-closed tell-tale): Сигнал, указывающий оператору/водителю на то, что устройство приведено в действие, но не дающий указания о том, действует оно правильно или нет. [ИСО 7227:1987, статья 3.34] |
3.1.15 углы геометрической видимости (angles of geometric visibility): Углы, определяющие зону минимального телесного угла, в которой должна быть видна видимая поверхность огня.
Примечание - Эта зона телесного угла определяется сегментами сферы, центр которой совпадает с исходным центром огня, а экватор параллелен грунту. Эти сегменты определяются в зависимости от исходной оси. Горизонтальные углы соответствуют долготе, а вертикальные углы - широте. С внутренней стороны горизонтальные углы геометрической видимости обозначают b1, с внешней стороны - b2. Сверху вертикальные углы обозначают a1, снизу - a2 (см. рисунки Е.1 - Е.4, Е.6 - Е.12, Е.14 - Е.20 приложения Е).
3.2 Обозначения:
Н1 - максимальная высота над дорогой;
Н2 - минимальная высота над дорогой;
Е - расстояние между наружной стороной машины и освещающей поверхностью устройства освещения;
D - расстояние между двумя огнями;
K - расстояние от передней части машины до края освещающей поверхности;
K1 - расстояние между краями освещающей поверхности;
a1 - вертикальный угол вверх;
a2 - вертикальный угол вниз;
b1 - горизонтальный угол внутрь;
b2 - горизонтальный угол наружу;
S - минимальные требования к фарам, сигнальным и габаритным огням, светоотражающим устройствам для условий передвижения и стоянке на дороге.
О - осветительные, сигнальные, габаритные огни и светоотражатели, факультативно устанавливаемые на машинах. Эти осветительные, сигнальные, габаритные огни и светоотражатели должны соответствовать настоящему стандарту;
N/A - не применяются.
4.1 Установка осветительных, сигнальных, габаритных огней и светоотражателей на землеройных машинах
4.1.1 Устройства осветительных, сигнальных, габаритных огней и светоотражателей должны быть установлены таким образом, чтобы были обеспечены нормальные условия их эксплуатации и, в первую очередь, их защита от любой вибрации и чтобы были сохранены все те характеристики, которые изложены в приложении Е. В частности, должна быть исключена возможность непреднамеренного нарушения работоспособности этих устройств.
4.1.2 Состояние, в частности высота и ориентировка огней, должно быть проверено на порожней машине, расположенной на плоской горизонтальной поверхности.
4.1.3 Огни, входящие в пару, должны:
a) устанавливаться на машине симметрично относительно средней плоскости Y и на той же высоте относительно грунта, за исключением машин несимметричной формы;
b) удовлетворять калориметрическим характеристикам (см. приложение D);
c) иметь практически одинаковые фотометрические характеристики (см. приложение D).
4.1.4 Максимальную высоту H1 над уровнем грунта следует измерять от самой высокой точки, а минимальную высоту Н2 - от самой нижней точки видимой поверхности. В сущности требования по высоте определяют краями видимой поверхности освещения (см. ИСО 303).
4.1.5 Расположение по ширине определяют по краю видимой поверхности, который наиболее удален от средней плоскости Y землеройной машины и находится на расстоянии Е от края габаритной ширины, а также расстоянием D между внутренними краями обеих видимых поверхностей. Для выполнения требований по ширине целесообразно прежде всего определять расстояние между краями видимых поверхностей (см. ИСО 303).
4.1.6 Никакой свет красного цвета не должен излучаться в направлении вперед. Никакой свет белого цвета, который может ввести в заблуждение других участников дорожного движения, за исключением света от фонаря заднего хода или устройства для внутреннего освещения, не должен испускаться в направлении назад. Соотношение между этими требованиями должно быть протестировано в соответствии с ИСО 303 и приложением В. В процессе тестирования машину размещают на горизонтальной плоскости, а в случае наличия шарнирно-сочлененной рамы секции машины устанавливают вдоль общей оси.
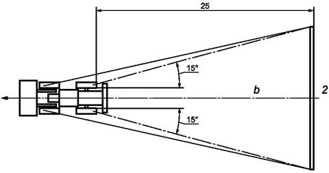
4.1.6.1 В отношении видимости красного света в направлении вперед нужно, чтобы светоизлучающая поверхность красного огня не была непосредственно видима для наблюдателя, перемещающегося в зоне 1 поперечной плоскости на расстоянии 25 м от переднего колеса/гусеницы. Ширину зоны 1 определяют для углов 15° с каждой из двух сторон колесного/гусеничного движителя машины [см. рисунок В.1а].
4.1.6.2 В отношении видимости белого света в направлении назад нужно, чтобы светоизлучающая поверхность белого огня не была непосредственно видима для наблюдателя, перемещающегося в зоне 2 поперечной плоскости на расстоянии 25 м сзади от заднего колесного/гусеничного движителя [см. рисунок В.1b)].
4.1.7 Функциональная электрическая схема должна быть такой, чтобы передние и задние габаритные огни и задние контурные огни (если таковые имеются) могли включаться и выключаться одновременно.
4.1.8 Функциональная электрическая схема должна быть такой, чтобы фары дальнего света (если такие имеются) и ближнего света и задние противотуманные фары (если используются) не могли быть включены, если не включены передние и задние габаритные огни и задние контурные огни (если таковые имеются). Однако это требование не применяется к фарам дальнего и ближнего света при попеременном включении их в течении коротких промежутков времени.
4.1.9 Число огней, установленных на машине, должно быть равно числу огней, предусмотренных в приложении Е.
Световые группы (I, II и III) - это комбинации осветительных, сигнальных и габаритных огней и светоотражателей, которые используют на землеройных машинах. Рекомендации, приведенные в таблице А.1, определяют эти группы в зависимости от вида выполняемых этими машинами работ и от их максимальной скорости передвижения.
Примечание - Эти рекомендации не гарантируют их соответствие национальным дорожным стандартам и правилам. Все осветительные, сигнальные и габаритные огни и светоотражатели, используемые на машинах световой группы II, могут потребовать корректировки в соответствии с национальными требованиями.
Таблица А.1 - Световые группы
|
Световая группа3 |
Максимальная транспортная скорость v, км/ч |
|||
|
А v £ 10 |
В 10 > v £ 40 |
С v > 40 |
||
|
Машины, не предназначенные для проезда по дорогам общего пользованияb |
I |
Например, колесный/легкий гусеничный бульдозер, колесный погрузчик, колесный экскаватор, колесный экскаватор-погрузчик, колесный/легкий гусеничный землевоз, автогрейдер, пневмоколесный каток, колесный траншеекопатель |
||
|
Машины, предназначенные для проезда по дорогам общего пользования |
II |
|||
|
Машины, которым не разрешено передвигаться по дорогам общего пользования вследствие того, что их размерные и весовые характеристики превышают дорожные лимиты |
III |
Например, колесный/легкий гусеничный бульдозер, погрузчик, экскаватор, землевоз, скрепер, трубоукладчик и уплотнитель |
||
|
а См. приложение Е. b По усмотрению изготовителя и потребителя. |
||||
Видимость
красного огня в направлении вперед
и видимость белого огня в направлении назад
а) Видимость красного огня в направлении вперед (см. 4.1.6.1)
1 - зона 1; 2 - зона 2
_____________
а Красный огонь не виден.
b Белый огонь не виден.
b) Видимость белого огня в направлении назад (см. 4.1.6.2)
Рисунок В.1
Устройства световой сигнализации

1 - освещающая поверхность; 2 - справочная ось; 3 -
справочный центр;
4 - угол геометрической видимости; 5 - светоизлучающая
поверхность; 6 - видимая поверхность;
7 - направление; 8 - непрозрачная поверхность или ее часть; 9
- нить накаливания;
10 - видимая часть линзы; 11 - граница светоизлучающей
поверхности
_____________
а Эта поверхность является касательной к светоизлучающей поверхности.
Рисунок С.1
Цветовые характеристики осветительных и сигнальных огней
Трихроматические координаты
Трихроматические координаты для осветительных и сигнальных огней должны соответствовать таблице D.1 (см. рисунок D.1).
Примечание - Трихроматические координаты, установленные здесь, необязательно согласуются с CIE S004 [1].
Таблица D.1 - Трихроматические координаты
|
Граница по отношению к |
желтому |
у £ 0,335 |
|
|
пурпурному |
z £ 0,008 |
||
|
Белый |
Граница по отношению к |
синему |
х ³ 0,310 |
|
желтому |
х £ 0,500 |
||
|
зеленому |
у £ 0,150 + 0,640х |
||
|
зеленому |
у £ 0,440 |
||
|
пурпурному |
у ³ 0,050 + 0,750х |
||
|
красному |
у ³ 0,382 |
||
|
Автожелтый |
Граница по отношению к |
зеленому |
у £ х - 0,120 |
|
красному |
у ³ 0,398 |
||
|
белому |
у = 0,790 - 0,670х |
||
|
Избирательно-желтый |
Граница по отношению к |
красному |
у ³ 0,318 + 0,580х |
|
зеленому |
у £ 1,29х - 0,100 |
||
|
белому |
у ³ -х + 0,966 |
||
|
спектральное значение |
у ³ -х + 0,992 |
||
|
Расширенный избирательно-желтый |
Граница по отношению к |
красному |
у ³ 0,138 + 0,580х |
|
зеленому |
у £ 1,290х - 0,100 |
||
|
белому |
у ³ -х + 0,940 |
||
|
у ³ 0,440 |
|||
|
спектральное значение |
у £ -х + 0,992 |
Диаграмма, отображающая зоны CIE цветового треугольника, построенная в соответствии с пределами таблицы D.1
а - белый цвет; b - автожелтый цвет; с
- расширенный избирательно-желтый цвет;
d - избирательно-желтый цвет; е - красный цвет
Рисунок D.1 - Цветовые зоны, соответствующие рекомендуемым лимитам
Осветительные,
сигнальные и габаритные огни и светоотражатели.
Информационные
листы
Е.0 Указатель к информационным листам и общая информация
В информационных листах указывают размеры и параметры геометрической видимости, основанные на транспортных и/или нагрузочных характеристиках землеройных машин в соответствии с техническими данными изготовителя.
В том случае, если национальные требования отличаются от требований настоящего стандарта, разрешается использование национальных требований.
Осветительные (lighting)
Е.1 Фары ближнего света (dipped /lower beam (dipped - beam light)).
E.2 Фары дальнего света (main/upper (driving light)).
E.3 Устройство рабочего освещения (working light).
Сигнальные огни (signaling lights)
E.4 Задняя фара (reversing lamp).
E.5 Указатель поворота (direction-indication lamp).
E.6 Аварийный сигнал (hazard warning lamp).
E.7 Стоп-сигнал (stop lamp).
Габаритные огни (marking lights)
E.8 Задний контурный огонь (rear registration-plate lamp).
E.9 Передний габаритный огонь (front position lamp).
E.10 Задний габаритный огонь (rear position lamp).
E.11 Задняя противотуманная фара (rear fog lamp).
E.12 Стояночный огонь (special warning lamp).
Светоотражатели (reflex-reflector)
E.13 Заднее светоотражающее устройство (rear reflex-reflector).
E.14 Переднее светоотражающее устройство (front reflex-reflector).
Е.15 Боковое светоотражающее устройство (side reflex-reflector).
Е.15 Опознавательный знак для тихоходной машины (slow-moving vehicle plate).
Е.1 Информационный лист
Е.1.1 фара ближнего света: огонь, предназначенный для освещения дороги или грунта спереди от землеройной машины таким образом, чтобы не ослеплять чрезмерно и не причинять неудобства водителям встречных транспортных средств и другим участникам дорожного движения или рабочим (см. рисунок Е.1).
Рисунок Е.1
Е.1.1.1 Цвет огня (colour of light) - белый.
Е.1.1.2 Направление огня (alignment) - вперед.
Е.1.1.3 Конфигурация (configuration) - фара ближнего света:
a) может быть сгруппирована с
- фарой дальнего света,
- любой другой передней фарой;
b) не должна комбинироваться с любым другим передним огнем и
c) может быть совмещена с
- фарой дальнего света,
- любым другим передним огнем или огнями.
Е.1.2 Требования к фарам ближнего света
|
Световая группа (см. приложение А) |
I |
II |
III |
||||||
|
А |
В |
С |
А |
В |
С |
А |
В |
С |
|
|
Применение к машинам |
О |
О |
О |
S |
Sa |
Sa |
N/A |
О |
О |
|
Количество |
Двеb |
N/A |
Двеb |
||||||
|
Размер, мм: |
|||||||||
|
H1 |
£ 1500c |
N/A |
£ 2100d |
||||||
|
H2 |
> 500 |
N/A |
> 500 |
||||||
|
Е |
£ 400е |
N/A |
£ 400e |
||||||
|
D |
N/A |
||||||||
|
Геометрическая видимость, минимальные углы: |
|||||||||
|
a1 |
10° |
N/A |
10° |
||||||
|
a2 |
10°f |
N/A |
10of |
||||||
|
b1 |
45° |
N/A |
45° |
||||||
|
b2 |
5°g |
N/A |
5°g |
||||||
|
Электрическая схема |
Фара ближнего света может оставаться включенной одновременно с фарой дальнего света. При переключении дальнего света на ближний все фары дальнего света должны выключаться одновременно |
||||||||
|
Контрольный сигнал |
N/A |
||||||||
|
Другие требования |
Симметрично относительно средней продольной плоскостиh |
||||||||
|
Исключения: а Не применяется для машин со стальными гусеницами или стальными колесами. b В передней части машины, насколько это возможно. Свет не должен быть причиной дискомфорта для оператора/водителя или напрямую, или через зеркало заднего вида и/или других отражающих поверхностей. Две дополнительных фары ближнего света допускается использовать факультативно. с Может быть > 1500 мм, если конструкция кузова не позволяет уложиться в 1500 мм, а максимальная скорость может быть ограничена национальными требованиями. d Может быть > 2100 мм, если конструкция кузова не позволяет уложиться в 2100 мм. е В соответствии с конструкцией может быть > 400 мм от самого удаленного внешнего края землеройной машины. f Может быть уменьшена до 5°, если это связано с конструкцией кузова. g Может быть уменьшена до 3°, если это связано с конструкцией кузова. h Предварительно необходимо согласование граничной линии. Расстояние между экраном и центром фары при настройке должно быть 10 м. Когда наивысшая точка освещающей поверхности фары составляет: - 1200 мм, наклон фары ближнего света должен находиться между 1,0 % и 3,0 %, и если - > 1200 мм, устанавливается дополнительная фара ближнего света на высоту более 1200 мм таким образом, чтобы горизонтальная часть световой границы на расстоянии 15 м от передней части землеройной машины располагалась на половине высоты от центра фары ближнего света. |
|||||||||
Е.2 Информационный лист
Е.2.1 Фара дальнего света: огонь, предназначенный для освещения дороги или грунта на дальнем расстоянии спереди от землеройной машины (см. рисунок Е.2).
Е.2.1.1 Цвет огня - белый.
Е.2.1.2 Направление огня - вперед.
Рисунок Е.2
Е.2.1.3 Конфигурация - фара дальнего света:
a) может быть сгруппирована с:
- фарой ближнего света,
- любой другой передней фарой;
b) не должна комбинироваться с любым другим передним огнем;
c) может совмещаться с:
- фарой ближнего света или
- любым другим передним огнем.
Е.2.2 Требования к фарам дальнего света
|
Световая группа (см. приложение А) |
I |
II |
III |
|||||||||
|
А |
В |
С |
А |
В |
С |
А |
В |
С |
||||
|
Применение к машинам |
N/A |
О |
Оа |
Оа |
N/A |
Оа |
Оа |
|||||
|
Количество |
N/A |
Две или четыреb |
N/A |
Две или четыреb |
||||||||
|
Размер, мм: |
||||||||||||
|
H1 |
N/A |
|||||||||||
|
H2 |
N/A |
|||||||||||
|
Е |
N/A |
c |
N/A |
c |
||||||||
|
D |
N/A |
|||||||||||
|
Геометрическая видимость, минимальные углы: |
||||||||||||
|
a1 |
N/A |
|||||||||||
|
a2 |
N/A |
|||||||||||
|
b1 |
N/A |
|||||||||||
|
b2 |
N/A |
|||||||||||
|
Электрическая схема |
N/A |
d |
N/A |
d |
||||||||
|
Контрольный сигнал |
N/A |
е |
N/A |
е |
||||||||
|
Другие требования |
N/A |
f |
N/A |
f |
||||||||
|
Исключения: а Не применяется для машин со стальными гусеницами или стальными колесами. b В передней части машины, насколько это возможно. Свет не должен быть причиной дискомфорта для оператора/водителя или напрямую, или через зеркало заднего вида и/или других отражающих поверхностей. с Внешние границы освещающих поверхностей ни в коем случае не должны быть ближе к противоположным краям внешней поверхности машины, чем внешние границы освещающих поверхностей фар ближнего света. d Фары дальнего света могут включаться одновременно или попарно. При переключении ближнего света на дальний должна включаться по крайней мере одна пара фар дальнего света. При переключении дальнего света на ближний все фары дальнего света должны выключаться одновременно. е Синий предупреждающий свет должен находиться в поле зрения оператора/водителя при выключенных фарах дальнего света. f Симметрично относительно продольной осевой плоскости машины. Максимальная сила света всех фар дальнего света, которые могут быть включены одновременно, не должна превышать 225000 кд. |
||||||||||||
Е.3 Информационный лист
Е.3.1 Рабочий огонь (work lamp): фара, используемая для освещения рабочей зоны спереди, сзади или сбоку землеройной машины и/или ее рабочих органов (см. рисунок Е.3).
Е.3.1.1 Цвет огня - белый.
Е.3.1.2 Направление огня - любое, в том числе окружное, если необходимо.
Рисунок Е.3
Е.3.1.3 Конфигурация - технологическая фара:
a) не может быть сгруппирована ни с каким огнем;
b) не должна комбинироваться ни с каким огнем и
c) не может совмещаться ни с каким огнем.
Е.3.2 Требования к технологической фаре
|
Световая группа (см. приложение А) |
I |
II |
III |
||||||
|
А |
В |
С |
А |
В |
С |
А |
В |
С |
|
|
Применение |
0 |
О |
О |
О |
О |
О |
О |
О |
О |
|
Количество |
Одна или большеa |
||||||||
|
Размер, мм: |
|||||||||
|
H1 |
N/A |
||||||||
|
H2 |
N/A |
||||||||
|
Е |
N/A |
||||||||
|
D |
N/A |
||||||||
|
Геометрическая видимость, минимальные углы: |
|||||||||
|
|
90° |
||||||||
|
a2 |
N/A |
||||||||
|
|
90° |
||||||||
|
b2 |
N/A |
||||||||
|
Электрическая схема |
Необходимо иметь независимый контроль включения |
||||||||
|
Контрольный сигнал |
N/A |
||||||||
|
Другие требования |
Технологическая фара должна быть выключена во время движения на дорогеb |
||||||||
|
Исключения: а Количество должно быть таким, чтобы обеспечивать освещение рабочей зоны машины и, если необходимо, ее навесное оборудование. b Для машин, предназначенных для строительства, содержания и очистки дорог общего пользования, а также для проведения на дорогах общего пользования монтажных работ, технологическая фара может быть включена во время движения, если это движение является частью технологического процесса. Технологическая фара может быть включена только в том случае, если при этом не будут ослеплены другие участники дорожного движения или рабочие. Если землеройная машина имеет передние и задние фары, технологические фары включаются только после включения передних и задних фар. с Линии углового сектора освещения должны покрывать угол видимости базовой машины спереди, если это требуется. d Линии углового сектора освещения должны покрывать угол видимости базовой машины сзади, если это требуется. |
|||||||||
Е.4 Информационный лист
Е.4.1 Фонарь заднего хода (reversing lamp): огонь, приводимый в действие при включении оператором органа управления для движения задним ходом и предназначенный для освещения зоны сзади машины (см. рисунок Е.4).
Е.4.1.1 Цвет огня - белый.
Е.4.1.2 Направление огня - назад.
Рисунок Е.4
Е.4.1.3 Конфигурация - задняя фара:
a) может быть сгруппирована с любым другим огнем;
b) не должна комбинироваться ни с каким огнем и
c) не должна совмещаться ни с каким огнем.
Е.4.2 Требования к задней фаре
|
Световая группа (см. приложение А) |
I |
II |
III |
||||||
|
А |
В |
С |
А |
В |
С |
А |
В |
с |
|
|
Применение к машинам |
N/A |
О |
О |
О |
О |
О |
N/A |
О |
О |
|
Количество |
Одна или больше |
||||||||
|
Размер, мм: |
|||||||||
|
H1 |
£ 1500а |
||||||||
|
H2 |
> 400 |
||||||||
|
Е |
N/A |
||||||||
|
D |
N/A |
||||||||
|
Геометрическая видимость, минимальные углы: |
|||||||||
|
a1 |
15° |
||||||||
|
a2 |
5° |
||||||||
|
b1 |
45°b |
||||||||
|
b2 |
45° |
||||||||
|
Электрическая схема |
с |
||||||||
|
Контрольный сигнал |
Факультативно |
||||||||
|
Другие требования |
N/A |
||||||||
|
Исключения: а Относится к задней части длины землеройной машины. Может быть размещена выше, если конструкция кузова не позволяет уложиться в размер 1500 мм. b Может быть уменьшен до 10°, если этого требует конструкция кузова. с Задняя фара предназначена для освещения дороги сзади и подачи предупреждающего сигнала другим пользователям дороги, когда водитель принимает решение об изменении направления движения или остановке. Задняя фара не должна загораться, если указанные выше условия не выполняются. Задняя фара не должна загораться в нейтральном положении коробки передач или при движении вперед. |
|||||||||
Е.5 Информационный лист
Е.5.1 Указатель поворота (direction indicator lamp): огонь, предназначенный для сигнализации другим участникам движения намерения водителя/оператора свернуть вправо или влево (см. рисунок Е.3).
Е.5.1.1 Цвет огня - автожелтый.
Е.5.1.2 Направление огня - в соответствии с указаниями по монтажу, предусмотренными предприятием-изготовителем.
Е.5.1.3 Частота вспышек (flashing frequency) - (1,5 ± 0,5) Гц (90 ± 30) раз/мин.
Е.5.1.4 Типы указателей поворота (types of direction-indicator lamps):
- категории 1, 1a, 1b: указатели поворота на передней части;
- категории 2а, 2b: указатели поворота на задней части;
- категория 3: передний боковой указатель поворота (никакой указатель другой категории не устанавливается);
- категория 4: передний боковой указатель поворота (комбинируется с указателем поворота категории 2а);
- категория 5: дополнительный боковой указатель поворота (комбинируется с указателями поворота категорий 1 и 2а - все три вместе).
|
Применение |
Схема монтажаa |
План установки |
Категория |
|
Землеройная машина с максимальной базовой длиной 4,60 м и максимальным расстоянием между боковыми наружными краями освещающих поверхностей 1,50 м |
[рисунок Е.5а)] |
Два передних указателя поворота |
3 |
|
Землеройная машина, конструкция которой позволяет исключать использование схем монтажа А, С и D |
[Рисунок Е.5b)] |
Два передних указателя поворота |
4 |
|
Два задних указателя поворота |
2а или 2b |
||
|
Любая землеройная машина |
[Рисунок Е.5с)] |
Два передних указателя поворота |
1 или 1а или 1b |
|
Два задних указателя поворота |
2а или 2b |
||
|
Два задних указателя поворота (дополнительных) |
5 |
||
|
Любая землеройная машина |
Два передних указателя поворота |
1 или 1а или 1b |
|
|
Два задних указателя поворота |
2а или 2b |
||
|
а Возможные варианты представлены на рисунках Е.5а) - Е.5d). |
|||
Е.5.1.5 Общие требования/разъяснения приводятся ниже:
a) включение указателей поворота осуществляется независимо от других огней. Все указатели поворота, расположенные на одной и той же стороне транспортного средства, должны включаться и выключаться одним и тем же устройством и работать в одной фазе;
b) контрольный сигнал функционирования, работающий от отдельного привода, является обязательным для передних и задних указателей поворота. Он может быть визуальным (мигающим) или звуковым (отчетливо слышимым), или визуально-звуковым. Для машин световой группы II рабочий контрольный сигнал может использоваться как для передних, так и для задних указателей поворота;
c) приведение в действие органа управления световым контрольным сигналом должно вызывать включение огня с задержкой менее 1 с и с задержкой менее 1,5 с после его выключения. Расстояние между краем видимой поверхности в направлении исходной оси огня переднего указателя поворота и краем видимой поверхности в направлении оси фары ближнего света должно быть более 40 мм для световой категории 1; для световой категории 1а: 20 мм < 1а < 40 мм; и для световой категории 1b - менее 20 мм;
d) в том случае, когда включена лампа аварийной сигнализации, функционирование указателей поворота необязательно;
e) для машин световой группы II, у которых расстояние между внутренними краями обеих видимых поверхностей передних и задних указателей поворота составляет более 6 м, с обеих боковых сторон устанавливаются дополнительные индикаторы поворота категории 5, предпочтительно на расстоянии одной трети от общей длины машины [см. рисунок Е.5с)].
Е.5.1.6 Конфигурация - указатель поворота:
a) может быть объединен с одним или несколькими огнями;
b) может комбинироваться только с
- передними указателями поворота (категории 1, 1а, 1b),
- задними указателями поворота (категории 1, 2b) и
- дополнительными указателями поворота (категория 5) и
с) может быть совмещен только с дополнительным боковым указателем поворота.
Е.5.1.7 Минимальный угол видимости указателей поворота
Е.5.1.7.1 Схемы монтажа А и В - горизонтальная геометрическая видимость (информационные листы Е.5.2 - Е.5.6). См. рисунки Е.5 а) и 5b).
Е.5.1.7.2 Схемы монтажа С и D - см. рисунки Е.5с) и 5d).
Размеры в метрах
L £ 4,6;
B £ 1,6
а) Схема А
K £ L/2a
а) Схема В
Рисунок Е.5 (лист 1)
K £ L/3a
с) Схема С
L1 £ 6
d) Схема D
L - общая длина базовой машины, включая переднее и заднее
оборудованиеc;
L1 - расстояние между краями светоизлучающих поверхностей огней;
K - расстояние от переда машины до края светоизлучающей поверхности;
K1 - расстояние между краями светоизлучающих поверхностей;
В - расстояние между внешними краями светоизлучающих поверхностей;
1 - категория 1; 2 - категория 2; 3 - категория 3; 4 - категория 4; 5 - категория 5
а Указатель поворота следует устанавливать как можно ближе к передней наружной части машины.
b Если невозможно обеспечить значение K1 £ 1/3L, указатель поворота следует устанавливать как можно ближе к передней наружной части машины.
с См. для примера ИСО 7131, ИСО 7133.
Рисунок Е.5 (лист 2)
Е.5.2.1 Передний указатель поворота (см. рисунок Е.6): категории 1, 1а и 1b (см. Е.5.1.4).
Рисунок Е.6
Е.5.2.2 Конфигурация: в схеме С совместно с указателями поворота категорий 2 и 5 и в схеме D совместно с указателями поворота категории 2 (см. Е.5.1.7.2).
Е.5.2.3 Требования к переднему указателю поворота: категории 1, 1а и 1b (см. Е.5.1.4)
|
Световая группа (см. приложение А) |
I |
II |
III |
||||||
|
А |
В |
С |
А |
В |
С |
А |
В |
С |
|
|
Применение к машинам |
N/A |
Оа |
Sa |
Sa |
Sa |
Sa |
N/A |
Оа |
Sa |
|
Количество |
N/A |
Два или четыреb |
N/A |
Два или четыреb |
|||||
|
Размер, мм: |
|||||||||
|
H1 |
N/A |
£ 1500c |
£ 1500d |
N/A |
£ 1500c |
||||
|
H2 |
N/A |
> 400 |
N/A |
> 600 |
|||||
|
Е |
N/A |
£ 400е |
£ 400 |
N/A |
£ 400e |
||||
|
D |
N/A |
> 500f |
N/A |
> 500f |
|||||
|
Геометрическая видимость, минимальные углы: |
|||||||||
|
a1 |
N/A |
15° интервал |
N/A |
15° интервал |
|||||
|
a2 |
N/A |
15° интервалg |
N/A |
15° интервал |
|||||
|
b1 |
N/A |
80°h |
N/A |
80°h, i |
|||||
|
b2 |
N/A |
45°h |
N/A |
45oh, i |
|||||
|
Электрическая схема |
N/A |
См. Е.5.1.5 |
N/A |
См. Е.5.1.5 |
|||||
|
Контрольный сигнал |
N/A |
См. Е.5.1.5 |
N/A |
См. Е.5.1.5 |
|||||
|
Другие требования |
N/A |
См. Е.5.1.5 |
N/A |
См. Е.5.1.5 |
|||||
|
Исключения: а Не применяется для машин со стальными гусеницами или стальными колесами. b Четыре указателя поворота устанавливают в том случае, если не обеспечивается угол b1 (наружный) и угол b2 (внутренний). При этом одна пара должна обеспечивать требования для угла b1, а другая пара - требования для угла b2. с Может устанавливаться выше, если конструкция машины не позволяет обеспечивать условие £ 1500 мм. d Может устанавливаться выше, если конструкция машины не позволяет обеспечивать условие £ 1500 мм; максимальная высота может быть 2100 мм. е Может быть > 400 мм, если конструкция машины не позволяет обеспечивать условие £ 400 мм. f Может быть < 500 мм, если конструкция машины не позволяет обеспечивать условие > 500 мм. g Может быть уменьшена до 5°, если это связано с конструкцией машины. h Если используют две пары указателей поворота, то для одной пары угол должен быть 80°, а для другой - 45°. i Может быть уменьшен, если конструкция машины не позволяет обеспечивать углы 80° и 45°. |
|||||||||
Е.5.3 Информационный лист
Е.5.3.1 Задний указатель поворота (см. рисунок Е.7): категории 2а и 2b.
Рисунок Е.7
Е.5.3.2 Конфигурация: в схеме В совместно с указателями поворота категории 4 (см. Е.5.1.7.1); в схеме С совместно с указателями поворота категорий 1 и 5; в схеме D совместно с указателем поворота категории 2 (см. Е.5.1.7.2).
Е.5.3.3 Требования к заднему указателю поворота: категории 2а и 2b (см. Е.5.1.4)
|
Световая группа (см. приложение А) |
I |
II |
III |
||||||
|
А |
В |
С |
А |
В |
С |
А |
В |
С |
|
|
Применение к машинам |
N/A |
Оа |
Sa |
Sa |
Sa |
Sa |
N/A |
Oa |
Sa |
|
Количество |
N/A |
Два или четыреb |
N/A |
Два или четыреb |
|||||
|
Размер, мм: |
|||||||||
|
Н1 |
N/A |
£ 1500c |
£ 1500d |
N/A |
£ 1500c |
||||
|
H2 |
N/A |
> 400 |
N/A |
> 600 |
|||||
|
Е |
N/A |
£ 400е |
£ 400 |
N/A |
£ 400е |
||||
|
D |
N/A |
> 500f |
N/A |
> 500f |
|||||
|
Геометрическая видимость, минимальные углы: |
|||||||||
|
a1 |
N/A |
15° интервалg |
N/A |
15° интервалg |
|||||
|
a2 |
N/A |
15° интервалh |
N/A |
15° интервалh |
|||||
|
b1 |
N/A |
80oi |
N/A |
80°i, j |
|||||
|
b2 |
N/A |
45oi |
N/A |
45oi, j |
|||||
|
Электрическая схема |
N/A |
См. Е.5.1.5 |
N/A |
См. Е.5.1.5 |
|||||
|
Контрольный сигнал |
N/A |
См. Е.5.1.5 |
N/A |
См. Е.5.1.5 |
|||||
|
Другие требования |
N/A |
См. Е.5.1.5 |
N/A |
См. Е.5.1.5 |
|||||
|
Исключения: а Не применяется для машин со стальными гусеницами или стальными колесами. b Четыре указателя поворота устанавливают в том случае, если не обеспечивается угол b1 (наружный) и угол b2 (внутренний). При этом одна пара должна обеспечивать требования для угла b1, а другая пара - требования для угла b2. с Может устанавливаться выше, если конструкция машины не позволяет обеспечивать условие £ 1500 мм. d Может устанавливаться выше, если конструкция машины не позволяет обеспечивать условие £ 1500 мм; максимальная высота может быть 2100 мм. е Может быть > 400 мм, если конструкция машины не позволяет обеспечивать условие £ 400 мм. f Может быть уменьшен, если конструкция машины не позволяет обеспечивать условие > 500 мм, например, это относится к карьерному самосвалу с задней разгрузкой. g Может быть уменьшена до 10°, если это связано с конструкцией машины. h Может быть уменьшена до 5°, если это связано с конструкцией машины. i Если используют две пары, угол одной пары должен быть 80°, а угол другой пары - 45°. j Может быть уменьшена, если конструкция машины не позволяет обеспечивать 80° или 45°, например для машины, у которой рабочее оборудование находится сзади, или для карьерного самосвала с задней разгрузкой. |
|||||||||
Е.5.4.1 Передний боковой указатель поворота (см. рисунок Е.8): категория 3b.
Рисунок Е.8
Е.5.4.2 Конфигурация: в схеме А (см. Е.5.1.7.1).
Е.5.4.3 Требования к переднему указателю поворота: категория 3 (см. Е.5.1.4)
|
Световая группа (см. приложение А) |
I |
II |
III |
||||||
|
А |
В |
С |
А |
В |
С |
А |
В |
С |
|
|
Применение к машинам |
Оа |
Оа |
Оа |
Sa |
Sa |
Sa |
N/A |
Sa |
Sa |
|
Количество |
Дваb |
N/A |
Дваb |
||||||
|
Размер, мм: |
|||||||||
|
H1 |
£ 1500c |
£ 1500d |
N/A |
£ 1500c |
|||||
|
H2 |
> 400 |
N/A |
> 600 |
||||||
|
Е |
N/A |
||||||||
|
D |
N/A |
||||||||
|
Геометрическая видимость, минимальные углы: |
|||||||||
|
a1 |
15° интервал |
N/A |
15° интервал |
||||||
|
a2 |
10° интервал |
N/A |
10° интервал |
||||||
|
b1 |
45° вперед |
N/A |
45° вперед |
||||||
|
60° назад |
N/A |
60° назад |
|||||||
|
b2 |
5° вперед |
N/A |
5° впереде |
||||||
|
5° назад |
N/A |
5° назаде |
|||||||
|
Электрическая схема |
См. Е.5.1.5 |
N/A |
См. Е.5.1.5 |
||||||
|
Контрольный сигнал |
См. Е.5.1.5 |
N/A |
См. Е.5.1.5 |
||||||
|
Другие требования |
См. Е.5.1.5 |
N/A |
См. Е.5.1.5f |
||||||
|
Исключения: а Не применяется для машин со стальными гусеницами или стальными колесами. b Указатель поворота категории 3 не может комбинироваться с любым другим указателем поворота (см. Е.5.1.7.1, приложение А). Если указатель поворота категории 3 не обеспечивает геометрическую видимость (при наличии рабочего оборудования и приспособлений), необходимо использовать требования приложения D (см. Е.5.1.7.2). с Может устанавливаться выше, если конструкция машины не позволяет обеспечивать условие £ 1500 мм. d Может устанавливаться выше, если конструкция машины не позволяет обеспечивать условие £ 1500 мм; максимальная высота может быть 2100 мм. е Может быть уменьшена на 2°, если этого требует конструкция машины. f Указатель поворота категории 3 может быть использован только на тех землеройных машинах, длина которых не превышает 4,60 м и расстояние между видимыми освещающими поверхностями передних и задних указателей поворота определяется неравенством значением не более 1,60 м (см. Е.5.1.7.1, приложение А). |
|||||||||
Е.5.5 Информационный лист
Е.5.5.1 Передний боковой указатель поворота (см. рисунок Е.9): категория 4.
Рисунок Е.9
Е.5.5.2 Конфигурация: в схеме В может комбинироваться с указателями поворота категории 2 (см. Е.5.1.7.1).
Е.5.5.3 Требования к переднему боковому указателю поворота: категория 4 (см. Е.5.1.4)
|
Световая группа (см. приложение А) |
I |
II |
III |
||||||
|
А |
В |
С |
А |
В |
С |
А |
В |
С |
|
|
Применение к машинам |
N/A |
Оа |
Sa |
Sa |
Sa |
Sa |
N/A |
Oa |
Sa |
|
Количество |
N/A |
Дваb |
N/A |
Дваb |
|||||
|
Размер, мм: |
|||||||||
|
H1 |
N/A |
£ 1500c |
£ 1500d |
N/A |
£ 1500c |
||||
|
H2 |
N/A |
> 400 |
N/A |
> 600 |
|||||
|
Е |
N/A |
£ 400е |
£ 400 |
N/A |
£ 400e |
||||
|
D |
N/A |
> 500 |
N/A |
> 500 |
|||||
|
K |
N/A |
f |
N/A |
f |
|||||
|
Геометрическая видимость, минимальные углы: |
|||||||||
|
a1 |
N/A |
15° интервал |
N/A |
15° интервал |
|||||
|
a2 |
N/A |
10° интервал |
N/A |
10° широты |
|||||
|
b1 |
N/A |
45° вперед |
N/A |
45° вперед |
|||||
|
N/A |
55° назад |
N/A |
55° назад |
||||||
|
b2 |
N/A |
10° вперед |
N/A |
10° впереде |
|||||
|
N/A |
-5° назад |
N/A |
- 5° назаде |
||||||
|
Электрическая схема |
N/A |
См. Е.5.1.5 |
N/A |
См. Е.5.1.5 |
|||||
|
Контрольный сигнал |
N/A |
См. Е.5.1.5 |
N/A |
См. Е.5.1.5 |
|||||
|
Другие требования |
N/A |
См. Е.5.1.5 |
N/A |
См. Е.5.1.5 |
|||||
|
Исключения: а Не применяется для гусеничных машин или машин со стальными колесами. b Боковые указатели поворота категории 4 могут применяться только в комбинации с задними индикаторами поворота категории 2. См. Е.5.1.7.1, приложение В. с Может устанавливаться выше, если конструкция машины не позволяет обеспечивать условие £ 1500 мм. d Может устанавливаться выше, если конструкция машины не позволяет обеспечивать условие £ 1500 мм; максимальная высота должна быть 2100 мм. е Может быть > 400 мм, если конструкция машины не позволяет обеспечивать условие £ 400 мм. f См. Е.5.1.7.1. |
|||||||||
Е.5.6.1 Боковой дополнительный указатель поворота (см. рисунок Е.10): категория 5.
Рисунок Е.10
Е.5.6.2 Конфигурация: в схеме С может комбинироваться с указателями поворота категории 1 и 2 (см. Е.5.1.7.2).
Е.5.6.3 Требования к боковому дополнительному указателю поворота: категория 5 (см. Е.5.1.4)
|
Световая группа (см. приложение А) |
I |
II |
III |
||||||
|
А |
В |
С |
А |
В |
С |
А |
В |
С |
|
|
Применение к машинам |
N/A |
О |
О |
S |
S |
S |
N/A |
О |
О |
|
Количество |
N/A |
Два |
N/A |
Два |
|||||
|
Размер, мм: |
|||||||||
|
H1 |
N/A |
£ 1500а |
£ 1500b |
N/A |
£ 1500а |
||||
|
H2 |
N/A |
> 500 |
N/A |
> 800 |
|||||
|
Е |
N/A |
||||||||
|
D |
N/A |
||||||||
|
K |
N/A |
с |
N/A |
с |
|||||
|
Геометрическая видимость, минимальные углы: |
|||||||||
|
a1 |
N/A |
15° интервал |
N/A |
15° интервал |
|||||
|
a2 |
N/A |
15° интервалd |
N/A |
15° интервалd |
|||||
|
b1 |
N/A |
55° назад |
N/A |
55° назад |
|||||
|
b2 |
N/A |
-5° назад |
N/A |
-5° назад |
|||||
|
Функциональная электрическая схема |
N/A |
См. Е.5.1.5 |
N/A |
См. Е.5.1.5 |
|||||
|
Контрольный сигнал |
N/A |
См. Е.5.1.5 |
N/A |
См. Е.5.1.5 |
|||||
|
Другие требования |
N/A |
См. Е.5.1.5е |
N/A |
См. Е.5.1.5е |
|||||
|
Исключения: а Может устанавливаться выше, если конструкция машины не позволяет обеспечивать условие £ 1500 мм. b Может устанавливаться выше, если конструкция машины не позволяет обеспечивать условие £ 1500 мм; максимальная высота должна быть 2100 мм. с См. Е.5.4. d Может быть уменьшен до 5°, если это связано с конструкцией машины. е Боковой дополнительный указатель поворота категории 5 может использоваться только в комбинации с указателями поворота категорий 1 и 2 на землеройных машинах с общей длиной L > 6 м (все три в одном и том же приложении). См. Е.5.1.7.2, приложение С. |
|||||||||
Е.6 Информационный лист
Е.6.1 Аварийный сигнал: одновременное действие всех указателей поворота землеройной машины, обозначающее наличие землеройной машины, не способной продолжать функционирование или работающей на пониженной скорости и таким образом представляющей опасность для других участников дорожного движения и для находящихся вне дороги (см. рисунок Е.11).
Рисунок Е.11
Е.6.2. Конфигурация: Схема - см. Е.5.
Е.6.3 Требования к аварийному сигналу
|
Световая группа (см. приложение А) |
I |
II |
III |
||||||
|
А |
В |
С |
А |
В |
С |
А |
В |
С |
|
|
Применение к машинам |
N/A |
Оа |
Sa |
Sa |
Sa |
Sa |
N/A |
Oa |
Sa |
|
Количество |
N/A |
b |
N/A |
b |
|||||
|
Размер, мм: |
N/A |
b |
N/A |
b |
|||||
|
Геометрическая видимость, минимальные углы: |
N/A |
b |
N/A |
b |
|||||
|
Электрическая схема |
N/A |
с |
N/A |
с |
|||||
|
Контрольный сигнал |
N/A |
d |
N/A |
d |
|||||
|
Другие требования |
N/A |
е |
N/A |
e |
|||||
|
Исключения: а Не применяется для машин со стальными гусеницами или стальными колесами. b Эквивалентно индикаторам поворота (см. Е.5.2 - Е.5.6). с Включение сигнала следует осуществлять отдельным приводом. Все указатели поворота должны работать одновременно. d Контрольный сигнал включения является обязательным. Он представляет собой мигающий сигнал предупреждения, который может функционировать одновременно с указателями поворота (см. Е.5.1.5). е Аварийный сигнал допускается использовать при работе в местах с интенсивным движением, например для катков, которые совершают цикличные перемещения взад - вперед, или для фронтальных погрузчиков, работа которых также является цикличной. Аварийный сигнал должен продолжать функционировать даже в том случае, когда ключ управления пуском или остановкой двигателя находится в положении, исключающим работу двигателя. |
|||||||||
E.7 Информационный лист
E.7.1 Стоп-сигнал: огонь, предназначенный для оповещения участников дорожного движения и пешеходов, находящихся сзади землеройной машины, о том что оператор привел в действие управление работой тормоза (см. рисунок Е.12).
Е.7.1.1 Цвет огня - красный.
Е.7.1.2 Направление огня - назад.
Рисунок Е.12
Е.7.1.3 Конфигурация - стоп-сигнал:
a) может быть сгруппирован с одним или несколькими задними огнями;
b) не должен комбинироваться с любым другим передним огнем и
c) не должен совмещаться с задним габаритным огнем.
Е.7.2 Требования к стоп-сигналу
|
Световая группа (см. приложение А) |
I |
II |
III |
||||||
|
А |
В |
С |
A |
В |
С |
A |
В |
С |
|
|
Применение к машинам |
N/A |
О |
Sb |
О |
Sa |
Sb |
N/A |
О |
Sb |
|
Количество |
N/A |
Дваb |
Два |
N/A |
Дваb |
||||
|
Размер, мм: |
|||||||||
|
H1 |
N/A |
£ 1500c |
£ 1500d |
N/A |
£ 1500c |
||||
|
H2 |
N/A |
> 400 |
N/A |
> 600 |
|||||
|
Е |
N/A |
||||||||
|
D |
N/A |
> 500е |
N/A |
> 500е |
|||||
|
Геометрическая видимость, минимальные углы: |
|||||||||
|
a1 |
N/A |
15° |
N/A |
10° |
|||||
|
a2 |
N/A |
15of |
N/A |
15of |
|||||
|
b1 |
N/A |
45° |
N/A |
30°g |
|||||
|
b2 |
N/A |
45° |
N/A |
30°g |
|||||
|
Электрическая схема |
N/A |
h |
N/A |
h |
|||||
|
Контрольный сигнал |
N/A |
i |
N/A |
i |
|||||
|
Другие требования |
N/A |
j |
N/A |
j |
|||||
|
Исключения: а Не применяется для машин с гидростатическим приводом, проектная скорость которых £ 20 км/ч и у которых отсутствует педаль тормоза. b He применяется для машин со стальными гусеницами или стальными колесами. с Может устанавливаться выше, если конструкция машины не позволяет обеспечивать условие £ 1500 мм. d Может устанавливаться выше, если конструкция машины не позволяет обеспечивать условие £ 1500 мм; максимальная высота должна быть 2100 мм. f Может быть уменьшен до 5°, если это связано с конструкцией машины. е Может устанавливаться ниже, если конструкция машины не позволяет обеспечивать условие > 500 мм, например карьерный самосвал с задним кузовом. g Для машин с рабочим оборудованием, смонтированным сзади, и для карьерных самосвалов, с задней разгрузкой и не являющихся субъектом дорожного движения, угол может быть уменьшен, если конструкция машины не позволяет выполнять требование 30°. h При воздействии на тормоз электрическая схема обеспечивает преимущественное зажигание стоп-сигнала. i В любом случае это не должен быть мигающий сигнал, появляющийся в случае отказа стоп-сигнала. j Яркость стоп-сигнала должна быть более значительной, чем заднего габаритного огня. |
|||||||||
Е.8 Информационный лист
Е.8.1 Фонарь освещения заднего номерного знака: приспособление, которое служит для освещения места, предназначенного для заднего номерного знака, которое может состоять из различных оптических элементов (см. рисунок Е.13).
Е.8.1.1 Цвет огня - белый.
Е.8.1.2 Направление огня - назад.
1 - направление назад
Рисунок Е.13
Е.8.1.3 Конфигурация - фонарь освещения заднего номерного знака:
a) может быть сгруппирован с одним или несколькими задними огнями;
b) может комбинироваться с задними габаритными огнями, но
c) не должен совмещаться с другим огнем.
Е.8.2 Требования к фонарю освещения заднего номерного знака
|
Световая группа (см. приложение А) |
I |
II |
III |
||||||
|
А |
В |
С |
А |
В |
С |
А |
В |
С |
|
|
Применение к машинам |
N/A |
Sa |
N/A |
||||||
|
Количество |
N/A |
b |
N/A |
||||||
|
Размер, мм: |
|||||||||
|
H1 |
N/A |
b |
N/A |
||||||
|
H2 |
N/A |
b |
N/A |
||||||
|
Е |
b |
N/A |
|||||||
|
D |
N/A |
b |
N/A |
||||||
|
Геометрическая видимость, минимальные углы: |
|||||||||
|
a1 |
N/A |
b |
N/A |
||||||
|
a2 |
N/A |
b |
N/A |
||||||
|
b1 |
N/A |
b |
N/A |
||||||
|
b2 |
N/A |
b |
N/A |
||||||
|
Электрическая схема |
N/A |
с |
N/A |
||||||
|
Контрольный сигнал |
N/A |
||||||||
|
Другие требования |
N/A |
d |
N/A |
||||||
|
Исключения: а Применяется только к тем машинам, которые имеют право движения по дорогам общего назначения, и к тем, которые в соответствии с национальным законодательством должны быть зарегистрированы и должны иметь фонарь освещения номерного знака. b Такое, которое может обеспечить освещение места расположения заднего номерного знака. с Фонарь освещения заднего номерного знака должен включаться одновременно с задним габаритным огнем. d Свет не должен ослеплять и не должен быть прямо направленным назад. |
|||||||||
Е.9 Информационный лист
Е.9.1 Передний габаритный огонь: Огонь, применяющийся для обозначения наличия и габаритной ширины землеройной машины спереди (см. рисунок Е.14).
Е.9.1.1 Цвет огня - белый. Если требования национального стандарта отличаются от требований настоящего стандарта, то можно отдать предпочтение требованиям национального стандарта.
Е.9.1.2 Направление огня - вперед.
Е.9.1.3 Конфигурация - передний габаритный фонарь:
a) может быть сгруппирован с любым передним огнем;
b) не должен комбинироваться с любыми другими огнями, но
c) может совмещаться с любым передним огнем.
Рисунок Е.14
Е.9.2 Требования к переднему габаритному огню
|
Световая группа (см. приложение А) |
I |
II |
III |
||||||
|
А |
В |
С |
А |
В |
C |
A |
В |
С |
|
|
Применение к машинам |
N/A |
S |
S |
S |
N/A |
О |
|||
|
Количество |
N/A |
Дваа |
N/A |
Дваа |
|||||
|
Размер, мм: |
|||||||||
|
H1 |
N/A |
£ 1500b |
N/A |
£ 1500c |
|||||
|
H2 |
N/A |
> 400 |
N/A |
> 600 |
|||||
|
Е |
N/A |
£ 400 |
N/A |
£ 400d |
|||||
|
D |
N/A |
> 500е |
N/A |
> 500е |
|||||
|
Геометрическая видимость, минимальные углы: |
|||||||||
|
a1 |
N/A |
15° |
N/A |
15° |
|||||
|
a2 |
N/A |
15of |
N/A |
15of |
|||||
|
b1 |
N/A |
80° |
N/A |
80° |
|||||
|
b2 |
N/A |
45°g |
N/A |
45°h |
|||||
|
Электрическая схема |
N/A |
i |
N/A |
i |
|||||
|
Контрольный сигнал |
N/A |
j |
N/A |
j |
|||||
|
Другие требования |
N/A |
k |
N/A |
k |
|||||
|
Если требования национального стандарта отличаются от требований настоящего стандарта, то можно отдать предпочтение требованиям национального стандарта. |
|||||||||
|
Исключения: а Могут использоваться четыре (см. сноску d). Дополнительные передние габаритные фонари могут быть сгруппированы с дополнительными огнями. b Может устанавливаться выше, если конструкция машины не позволяет обеспечивать условие £ 1500 мм; максимальная высота должна быть 2100 мм. с Может устанавливаться выше, если конструкция машины не позволяет обеспечивать условие £ 1500 мм. d Может быть > 400 мм, если конструкция машины не позволяет обеспечивать условие £ 400 мм. е Может быть уменьшен, если конструкция машины не позволяет обеспечивать условие > 500 мм, например, это относится к карьерному самосвалу с задней разгрузкой. f Может быть уменьшен до 5°, если это связано с конструкцией машины. g Может быть уменьшен до 10°, если конструкция и/или рабочее оборудование не позволяют обеспечивать угол 45°. h Может быть уменьшен до 5°, если конструкция и/или рабочее оборудование не позволяют обеспечивать угол 45°. i Функциональная электрическая схема должна быть такой, чтобы передние и задние габаритные огни были включенными, когда включены фары ближнего и дальнего света. Они должны быть расположены симметрично относительно вертикальной плоскости, проходящей через линию продольной симметрии машины. j Если контрольный сигнал установлен, он должен быть контрольным сигналом включения и быть немигающим. k Передний габаритный огонь не должен ослеплять. |
|||||||||
Е.10 Информационный лист
Е.10.1 Задний габаритный огонь: огонь, применяющийся для обозначения наличия и габаритной ширины землеройной машины сзади (см. рисунок Е.15).
Е.10.1.1 Цвет огня - красный.
Е.10.1.2 Направление огня - назад.
Рисунок Е.15
Е.10.1.3 Конфигурация - задний габаритный фонарь:
a) может быть сгруппирован с любым задним огнем;
b) может комбинироваться с фонарем освещения заднего номерного знака и
c) может совмещаться:
- со стоп-сигналом,
- с задним противотуманным огнем.
Е.10.2 Требования к габаритному огню
|
Световая группа (см. приложение А) |
I |
II |
III |
||||||
|
А |
В |
С |
А |
В |
С |
А |
В |
С |
|
|
Применение к машинам |
О |
О |
Sa |
Sa |
Sa |
Sa |
N/A |
O |
Sa |
|
Количество |
Минимум два |
N/A |
Минимум два |
||||||
|
Размер, мм: |
|||||||||
|
H1 |
£ 1500b |
N/A |
£ 1500c |
||||||
|
H2 |
> 400 |
N/A |
> 600 |
||||||
|
Е |
400d |
£ 400 |
N/A |
£ 400d |
|||||
|
D |
> 500е |
N/A |
> 500е |
||||||
|
Геометрическая видимость, минимальные углы: |
|||||||||
|
a1 |
15° |
N/A |
15° |
||||||
|
a2 |
15of |
N/A |
15of |
||||||
|
b1 |
80°/45°g |
N/A |
80°/45°g, j |
||||||
|
b2 |
45°/80°g |
N/A |
80°/45°g, j |
||||||
|
Электрическая схема |
h |
N/A |
h |
||||||
|
Контрольный сигнал |
i |
N/A |
i |
||||||
|
Другие требования |
N/A |
||||||||
|
Если требования национального стандарта отличаются от требований настоящего стандарта, то можно отдать предпочтение требованиям национального стандарта. |
|||||||||
|
Исключения: а Не применяется для машин со стальными гусеницами или стальными колесами. b Может устанавливаться выше, если конструкция машины не позволяет обеспечивать условие £ 1500 мм; максимальная высота должна быть 2100 мм. с Может устанавливаться выше, если конструкция машины не позволяет обеспечивать условие £ 1500 мм. d В зависимости от конструкции машины может быть > 400 мм (от края габаритной ширины землеройной машины). е Может быть уменьшена, если конструкция машины не позволяет обеспечивать условие > 500 мм, например для карьерных самосвалов с задней разгрузкой, у которых габаритная ширина < 1400 мм. f Может быть уменьшен до 5°, если это связано с конструкцией машины. g Горизонтальный угол для обоих задних габаритных огней: - или 45° внутрь и 80° наружу, - или 80° внутрь и 45° наружу. h Функциональная электрическая схема должна быть такой, чтобы передние и задние габаритные огни включались одновременно с фарами ближнего и дальнего света. i Если контрольный сигнал установлен, он должен быть немигающим и быть контрольным сигналом включения, скомбинированным с контрольным сигналом включения задних габаритных огней. j Угол 80° может быть уменьшен до 50°, а углы 45° - до 30° - в зависимости от конструкции машины. Эти углы могут быть уменьшены дополнительно, если конструкция машины не может обеспечивать 50° и 30°, это, например, относится к машинам с рабочим оборудованием, смонтированным сзади, и к карьерным самосвалам с задней разгрузкой, которые не используются на дорогах общего пользования. |
|||||||||
E.11 Информационный лист
E.11.1 Задний противотуманный огонь: огонь, предназначенный для улучшения видимости землеройной машины сзади в густом тумане или других неблагоприятных условиях (см. рисунок Е.16).
Е.11.1.1 Цвет огня - красный.
Е.11.1.2 Направление огня - назад.
Рисунок Е.16
Е.11.1.3 Конфигурация - задний противотуманный огонь:
a) может быть сгруппирован с любым другим задним огнем;
b) может комбинироваться с другим огнем и
c) может совмещаться с задним габаритным огнем.
Е.11.2 Требования к заднему противотуманному огню
|
Световая группа (см. приложение А) |
I |
II |
III |
||||||
|
А |
В |
С |
А |
В |
С |
А |
В |
С |
|
|
Применение к машинам |
N/A |
О |
Oа |
N/A |
|||||
|
Количество |
N/A |
Одинb |
N/A |
||||||
|
Размер, мм: |
|||||||||
|
H1 |
N/A |
£ 1500c |
N/A |
||||||
|
H2 |
N/A |
> 400 |
N/A |
||||||
|
Е |
N/A |
||||||||
|
D |
N/A |
||||||||
|
Геометрическая видимость, минимальные углы: |
|||||||||
|
a1 |
N/A |
5° |
N/A |
||||||
|
a2 |
N/A |
5° |
N/A |
||||||
|
b1 |
N/A |
25° |
N/A |
||||||
|
b2 |
N/A |
55° |
N/A |
||||||
|
Электрическая схема |
N/A |
d |
N/A |
||||||
|
Контрольный сигнал |
N/A |
е |
N/A |
||||||
|
Другие требования |
N/A |
f |
N/A |
||||||
|
Исключения: а S должно применяться, если максимальная скорость превышает 60 км/ч. b Два огня - это как опция. с Может устанавливаться выше, если конструкция машины не позволяет обеспечивать условие £ 1500 мм; максимальная высота должна быть 2100 мм. d Можно включать только в том случае, когда включены фары ближнего или дальнего света. е Является независимым и немигающим контрольным сигналом включения. f Если имеется только один задний противотуманный огонь, то он должен находиться с противоположной стороны средней продольной плоскости транспортного средства по отношению к направлению движения, принятому в стране регистрации машины. Расстояние между задним противотуманным огнем и стоп-сигналом должно быть более 100 мм. |
|||||||||
Е.12 Информационный лист
Е.12.1 Специальный предупреждающий огонь: проблесковый огонь, используемый для предупреждения участников дорожного движения или других лиц о нахождении на дороге землеройной машины (см. рисунок Е.17).
Е.12.1.1 Цвет огня - желтый или автожелтый.
Е.12.1.2 Направление огня - вокруг машины.
Рисунок Е.17
Е.12.1.3 Конфигурация: специальный предупреждающий огонь желтого или автожелтого цвета. Не может быть сгруппирован, скомбинирован или совмещен ни с каким другим огнем.
Е.12.2 Требования к специальному предупреждающему огню
|
Световая группа (см. приложение А) |
I |
II |
III |
||||||
|
А |
В |
С |
А |
В |
С |
А |
В |
С |
|
|
Применение к машинам |
О |
О |
О |
О |
О |
О |
О |
О |
О |
|
Количество |
Один или более (если необходимо обеспечить видимость по горизонтали и вертикали) |
||||||||
|
Размер, мм: |
|||||||||
|
H1 |
Высота и видимостьa |
||||||||
|
H2 |
N/A |
||||||||
|
Е |
N/A |
||||||||
|
D |
N/A |
||||||||
|
Геометрическая видимость, минимальные углы: |
|||||||||
|
a1 |
8° |
||||||||
|
a2 |
Должен обеспечивать освещение грунта на расстоянии 20 м от внешнего края машины |
||||||||
|
b1 |
360° |
||||||||
|
b2 |
|||||||||
|
Электрическая схема |
N/A |
||||||||
|
Контрольный сигнал |
Фиксированный оранжевый свет |
||||||||
|
Другие требования |
b |
||||||||
|
Исключения: а Один специальный предупреждающий огонь должен обеспечивать видимость в зоне, которая определяется углом a2. b Частота проблескового света от 2 до 4 Гц (от 120 до 240 раз/мин). Специальный предупреждающий огонь(и) должен устанавливаться на видном месте: преимущественно на верху кабины оператора, с тем чтобы исключить ослепление оператора. Специальный предупреждающий огонь может иметь шторы или быть съемным. |
|||||||||
Е.13 Информационный лист
Е.13.1 Заднее светоотражающее устройство (нетреугольной формы): устройство, предназначенное для сигнализации наличия землеройной машины сзади посредством отражения света, излучаемого источником, не связанным с этой машиной, для наблюдателя, находящегося вблизи от этого источника света (см. рисунок Е.18).
Е.13.1.1 Цвет огня - красный.
Е.13.1.2 Направление огня - назад.
Рисунок Е.18
Е.13.1.3 Конфигурация: заднее светоотражающее устройство может быть сгруппировано с любым другим задним огнем или огнями.
Е.13.2 Требования к заднему светоотражающему устройству (нетреугольной формы)
|
Световая группа (см. приложение А) |
I |
II |
III |
||||||
|
А |
В |
С |
А |
В |
С |
А |
В |
С |
|
|
Применение к машинам |
S |
S |
S |
S |
S |
S |
S |
S |
S |
|
Количество |
Два или четыреa |
||||||||
|
Размер, мм: |
|||||||||
|
H1 |
£ 900b |
£ 900с |
£ 900b |
||||||
|
H2 |
> 400 |
> 600 |
|||||||
|
Е |
£ 400d |
£ 400 |
£ 400d |
||||||
|
D |
> 500е |
||||||||
|
Геометрическая видимость, минимальные углы: |
|||||||||
|
a1 |
15° |
||||||||
|
a2 |
15of |
||||||||
|
b1 |
30°g |
30°h |
|||||||
|
b2 |
30°g |
30oh |
|||||||
|
Электрическая схема |
Освещающая поверхность заднего светоотражающего устройства может иметь общие части с видимой поверхностью любого другого заднего огня. |
||||||||
|
Исключения: а Четыре задних светоотражающих устройства устанавливают в том случае, если два таких устройства не обеспечивают требования по положению и видимости. b Может быть > 900 мм от грунта, если конструкция машины не позволяет обеспечивать условие £ 900 мм. с Может быть > 900 мм от грунта, если конструкция машины не позволяет обеспечивать условие £ 900 мм; максимальная высота должна быть 1500 мм. d Может быть > 400 мм, если конструкция машины не позволяет обеспечивать условие £ 400 мм. е Может быть уменьшена, если конструкция машины не позволяет обеспечивать условие > 500 мм. f Может быть уменьшен до 5°, если минимальная высота заднего светоотражающего устройства над грунтом составляет 900 мм. g Может быть обеспечен с использованием двух независимых задних светоотражающих устройств. h Может быть уменьшен, если конструкция машины не позволяет обеспечивать угол 30°. |
|||||||||
Е.14 Информационный лист
Е.14.1 Переднее светоотражающее устройство (нетреугольной формы): устройство, предназначенное для сигнализации наличия землеройной машины спереди посредством отражения света, излучаемого источником, не связанным с этой машиной, для наблюдателя, находящегося вблизи от этого источника света (см. рисунок Е.19).
Е.14.1.1 Цвет огня - белый или бесцветный.
Е.14.1.2 Направление огня - вперед.
Рисунок Е.19
Е.14.1.3 Конфигурация: переднее светоотражающее устройство класса I А может быть сгруппировано с передним габаритным огнем.
Е.14.2 Требования к переднему светоотражающему устройству (нетреугольной формы)
|
Световая группа (см. приложение А) |
I |
II |
III |
||||||
|
А |
В |
С |
А |
В |
С |
А |
В |
С |
|
|
Применение к машинам |
О |
О |
О |
О |
О |
О |
О |
О |
О |
|
Количество |
Два |
||||||||
|
Размер, мм: |
|||||||||
|
H1 |
£ 900а |
N/A |
£ 1500b |
||||||
|
H2 |
> 400 |
N/A |
> 600 |
||||||
|
Е |
£ 400с |
N/A |
£ 500d |
||||||
|
D |
> 400 |
N/A |
> 600е |
||||||
|
Геометрическая видимость, минимальные углы: |
|||||||||
|
a1 |
15° |
N/A |
15° |
||||||
|
a2 |
15of |
N/A |
15of |
||||||
|
b1 |
30°g |
N/A |
30°g |
||||||
|
b2 |
30° |
N/A |
30° |
||||||
|
Электрическая схема |
Освещающая поверхность переднего светоотражающего устройства может иметь общие части с видимой поверхностью любого другого переднего огня |
||||||||
|
Исключения: а Может быть расположено выше, если конструкция машины не позволяет обеспечивать условие £ 900 мм. b Может быть расположено выше, если конструкция машины не позволяет обеспечивать условие £ 1500 мм. с Может быть увеличен, если конструкция машины не позволяет обеспечивать условие £ 400 мм. d Может быть увеличен, если конструкция машины не позволяет обеспечивать условие £ 500 мм. е Может быть уменьшена, если конструкция машины не позволяет обеспечивать условие > 600 мм. f Может быть уменьшена до 5°, если переднее светоотражающее устройство расположено над грунтом на высоте 900 мм. g Может быть уменьшена до 10°, если конструкция машины не позволяет обеспечивать угол 30°. |
|||||||||
Е.15 Информационный лист
Е.15.1 Боковое светоотражающее устройство (нетреугольной формы): устройство, предназначенное для сигнализации наличия землеройной машины сбоку посредством отражения света, излучаемого источником, не связанным с этой машиной, для наблюдателя, находящегося вблизи от этого источника света (см. рисунок Е.20).
Е.15.1.1 Цвет огня - автожелтый.
Е.15.1.2 Направление огня - сбоку.
Рисунок Е.20
Е.15.1.3 Конфигурация: боковое светоотражающее устройство не может быть сгруппировано с любым другим огнем.
Е.15.2 Требования к боковому светоотражающему устройству (нетреугольной формы)
|
Световая группа (см. приложение А) |
I |
II |
III |
||||||
|
А |
В |
С |
А |
В |
С |
А |
В |
С |
|
|
Применение к машинам |
N/A |
О |
Sa, b |
О |
|||||
|
Количество |
N/A |
Минимальное количество на сторону в соответствии с Е.15.1.2 с соблюдением продольного расположения |
|||||||
|
Размер, мм: |
|||||||||
|
H1 |
900c |
900d |
900c |
||||||
|
H2 |
> 400 |
||||||||
|
Е |
N/A |
||||||||
|
D |
N/A |
||||||||
|
Геометрическая видимость, минимальные углы: |
|||||||||
|
a1 |
15° |
||||||||
|
a2 |
15ое |
||||||||
|
b1 |
45° |
||||||||
|
b2 |
45° |
||||||||
|
Другие требования |
f |
||||||||
|
Исключения: а Не применяется для машин со стальными гусеницами или стальными колесами. b Применяется для машин, база которых имеет длину более 6 м. с Может быть > 900 мм, если конструкция машины не позволяет обеспечивать требование 900 мм. d Может быть > 900 мм, если конструкция машины не позволяет обеспечивать требование 900 мм; максимальная высота должна быть 1500 мм. е Может быть уменьшена до 5°, если конструкция машины не позволяет обеспечивать 15°. f По крайней мере одно боковое светоотражающее устройство должно быть установлено на средней трети машины, причем крайнее спереди боковое светоотражающее устройство должно находиться на расстоянии не более 3 м от передней части машины. Расстояние между двумя смежными боковыми светоотражающими устройствами должно быть не более 3 м. Расстояние между крайним сзади боковым светоотражающим устройством и задней оконечностью машины должно быть не более 1 м. Наружные оси симметрии бокового светоотражающего устройства должны быть параллельны и перпендикулярны к продольной плоскости симметрии машины. |
|||||||||
Е.16 Информационный лист
Е.16.1 Предупреждающий знак медленно движущейся машины (треугольной формы): устройство, установленное на задней части медленно движущейся землеройной машины и используемое для предупреждения других транспортных средств, находящихся на дороге сзади землеройной машины (см. рисунок Е.21).
Е.16.1.1 Цвет отраженного огня - красный.
1 - площадь, на которой размещается знак
Рисунок Е.21
Е.16.2 Требования к опознавательному знаку тихоходной машины (SMV)
|
Световая группа (см. приложение А) |
I |
II |
III |
||||||
|
А |
В |
C |
А |
В |
C |
А |
В |
С |
|
|
Применение к машинам |
Оа |
N/A |
Оb |
N/A |
N/A |
||||
|
Количество |
Один задний |
N/A |
Один задний |
N/A |
N/A |
||||
|
Размер, мм: |
|||||||||
|
H1 |
£ 1800c |
N/A |
£ 1800c |
N/A |
N/A |
||||
|
H2 |
> 600c |
N/A |
> 600c |
N/A |
N/A |
||||
|
Е |
d |
N/A |
d |
N/A |
N/A |
||||
|
К |
£ 2000е |
N/A |
£ 2000е |
N/A |
N/A |
||||
|
Другие требования |
f, g |
N/A |
f, g |
N/A |
N/A |
||||
|
Исключения: а Машины с резиновыми шинами и машины с мягкими траками со световыми группами I А и I В, управляемые оператором, при работе на обеих сторонах дороги с движущемся по дороге транспортом или при перемещении этих машин с одного края дороги на другой должны иметь SMV - знак в процессе этих операций. b SMV - знак должны иметь землеройные машины, проектная скорость которых не более 40 км/ч и которые используются на дорогах общего пользования. Верхняя часть SMV - знака должна быть направлена вверх. с Необходимо измерять расстояние от грунта до нижней кромки знака. Если конструкция машины не позволяет обеспечивать требование £ 1800 мм и > 600 мм, знак располагают выше или ниже, но обязательно вертикально и перпендикулярно к продольной плоскости симметрии машины с отклонением не более 10°. d Может располагаться сзади на линии симметрии машины или на горизонтальной и продольной плоскостях, проходящих через линию симметрии машины. е Измеряется от заднего торца базовой машины. Рабочее оборудование в учет не принимается. Может быть > 2000 мм, если конструкция машины не позволяет обеспечить размер £ 2000 мм. f SMV - знак нельзя устанавливать сзади окна или любой другой панели из стекла. g В процессе работы землеройной машины SMV - знак может быть сложен или удален. |
|||||||||
Расположение осветительных, сигнальных и габаритных огней и светоотражателей

1 - технологическая фара; 2 - фары ближнего и дальнего света;
3 - переднее светоотражающее устройство; 4 - передняя часть
машины;
5 - специальный предупреждающий огонь; 6 - указатель
поворота/аварийный сигнал;
7 - передний габаритный огонь; 8 - боковое светоотражающее
устройство
Рисунок F.1

1 - технологическая фара; 2 - фонарь освещения заднего
номерного знака;
3 - предупреждающий знак медленно движущейся машины (SMV); 4 - задняя
часть машины;
5 - боковое светоотражающее устройство; 6 - стоп-сигнал; 7
- задняя фара;
8 - задний габаритный огонь/задний противотуманный огонь;
9 - указатель поворота/аварийный сигнал; 10 - заднее светоотражающее устройство
Рисунок F.2
Машины землеройные и их представительные образцы

Рисунок G.1 - Колесный погрузчик

Рисунок G.2 - Гусеничный погрузчик

Рисунок G.3 - Колесный бульдозер

Рисунок G.4 - Гусеничный бульдозер

Рисунок G.5 - Землевоз с шарнирно-сочлененной рамой

Рисунок G.6 - Землевоз с жесткой рамой

Рисунок G.7 - Мини-землевоз (гусеничный)

Рисунок G.8 - Мини-экскаватор

Рисунок G.9 - Гидравлический колесный экскаватор

Рисунок G.10 - Гидравлический гусеничный экскаватор

Рисунок G.11 - Колесный экскаватор-погрузчик

Рисунок G.12 - Мини-погрузчик

Рисунок G.13 - Траншеекопатель

Рисунок G.14 - Скрепер

Рисунок G.15 - Трубоукладчик

Рисунок G.16 - Автогрейдер

Рисунок G.17 - Уплотнитель

Рисунок G.18 - Каток
Правила ЕЭК для транспортных средств с силовой установкой, предназначенных для использования на дороге, могут быть полезны для изготовителя землеройных машин в вопросе выбора осветительных, сигнальных и габаритных огней и светоотражателей. Это особенно важно, если машины перемещаются по дороге общего пользования, например, при передвижении между сторонами дороги.
Правила определяют эксплуатационные требования, обеспечивающие адекватное освещение при движении таким образом, чтобы видеть машины в дорожных ситуациях.
Правила ЕЭК ООН № 1 Единообразные предписания, касающиеся официального утверждения автомобильных фар, дающих асимметричный луч ближнего и (или) дальнего света и оснащенных лампами накаливания категории R2.
Правила ЕЭК ООН № 2 Единообразные предписания, касающиеся официального утверждения нити накала автомобильных фар, дающих асимметричный луч ближнего или дальнего света.
Правила ЕЭК ООН № 3 Единообразные предписания, касающиеся официального утверждения светоотражающих приспособлений для механических транспортных средств и прицепов.
Правила ЕЭК ООН № 4 Единообразные предписания, касающиеся официального утверждения светоотражающих приспособлений для механических транспортных средств (за исключением мотоциклов) и их прицепов.
Правила ЕЭК ООН № 5 Единообразные предписания, касающиеся официального утверждения автомобильных ламп-фар («sealed beam-SB») с европейскими асимметричными огнями ближнего и (или) дальнего света.
Правила ЕЭК ООН № 6 Единообразные предписания, касающиеся официального утверждения указателей поворота механических транспортных средств и прицепов.
Правила ЕЭК ООН № 7 Единообразные предписания, касающиеся официального утверждения передних габаритных огней, задних габаритных (боковых) огней, сигналов торможения и контурных огней механических транспортных средств (за исключением мотоциклов) и их прицепов.
Правила ЕЭК ООН № 8 Единообразные предписания, касающиеся официального утверждения фар с асимметричными огнями ближнего света и (или) дальнего света механических транспортных средств, предназначенных для использования с галогенными лампами накаливания (лампы Н1, Н2 или Н3).
Правила ЕЭК ООН № 20 Единообразные предписания, касающиеся официального утверждения автомобильных фар с асимметричными огнями ближнего света и (или) огнями дальнего света, предназначенных для использования с галогенными лампами накаливания (лампы Н4).
Правила ЕЭК ООН № 23 Единообразные предписания, касающиеся официального утверждения задних фар механических транспортных средств и их прицепов.
Правила ЕЭК ООН № 31 Единообразные предписания, касающиеся официального утверждения автомобильных фар, представляющих собой галогенные оптические элементы (лампа-фара) (HSB) с асимметричными огнями ближнего и (или) дальнего света.
Правила ЕЭК ООН № 37 Единообразные предписания, касающиеся официального утверждения ламп накаливания, предназначенных для использования в официально утвержденных огнях механических транспортных средств и их прицепов.
Правила ЕЭК ООН № 38 Единообразные предписания, касающиеся официального утверждения задних противотуманных огней механических транспортных средств и их прицепов.
Правила ЕЭК ООН № 65 Единообразные предписания, касающиеся официального утверждения специальных предупреждающих огней для автотранспортных средств.
Правила ЕЭК ООН № 69 Единообразные предписания, касающиеся официального утверждения задних опознавательных знаков для тихоходных (по своей конструкции) транспортных средств и их прицепов.
Правила ЕЭК ООН № 91 Единообразные предписания, касающиеся официального утверждения боковых габаритных фонарей для механических транспортных средств и прицепов.
Таблица ДА.1
|
Обозначение
ссылочных |
Степень |
Обозначение и
наименование соответствующих |
|
ИСО 303:2002 |
- |
* |
|
ИСО 6165:2006 |
IDT |
ГОСТ Р ИСО 6165-2010 «Машины землеройные. Классификация. Термины и определения» |
|
ИСО 7227:1987 |
- |
* |
|
* Соответствующий национальный стандарт отсутствует. До его утверждения рекомендуется использовать перевод на русский язык данного международного стандарта. Перевод данного международного стандарта находится в Федеральном информационном фонде технических регламентов и стандартов. Примечание - В настоящей таблице использовано следующее условное обозначение степени соответствия стандартов: - IDT - идентичный стандарт. |
||
|
[1] |
ISO 6016 |
Earth-moving machinery. Methods of measuring the masses of whole machines, their equipment and components |
|
[2] |
ISO 6746-1 |
Earth-moving machinery. Definitions of dimensions and symbols. Part 1. Base machine |
|
[3] |
ISO 6747 |
Earth-moving machinery. Tractor-dozers. Terminology and commercial specifications |
|
[4] |
ISO 7131 |
Earth-moving machinery. Loaders. Terminology and commercial specifications |
|
[5] |
ISO 7132 |
Earth-moving machinery. Dumpers. Terminology and commercial specifications |
|
[6] |
ISO 7133 |
Earth-moving machinery. Tractor-scrapers. Terminology and commercial specifications |
|
[7] |
ISO 7134 |
Earth-moving machinery. Graders. Terminology and commercial specifications |
|
[8] |
ISO 7135 |
Earth-moving machinery. Hydraulic excavators. Terminology and commercial specifications |
|
[9] |
ISO 7136 |
Earth-moving machinery. Pipe layers. Terminology and commercial specifications |
|
[10] |
CIE S004 |
Colours of Lights Signals1) |
___________
1) International Commission on Illumination standard.
Ключевые слова: машины землеройные, осветительные, сигнальные, габаритные огни, светоотражатели, световые группы, безопасность, испытания