|
ОДМ 218.3.001-2010 |
|
ОТРАСЛЕВОЙ ДОРОЖНЫЙ МЕТОДИЧЕСКИЙ ДОКУМЕНТ |

РЕКОМЕНДАЦИИ ПО
ДИАГНОСТИКЕ
АКТИВНОЙ КОРРОЗИИ АРМАТУРЫ
В ЖЕЛЕЗОБЕТОННЫХ КОНСТРУКЦИЯХ
МОСТОВЫХ СООРУЖЕНИЙ
НА АВТОМОБИЛЬНЫХ ДОРОГАХ
МЕТОДОМ ПОТЕНЦИАЛОВ ПОЛУЭЛЕМЕНТА
_______________________________________________________________
ФЕДЕРАЛЬНОЕ
ДОРОЖНОЕ АГЕНТСТВО
(РОСАВТОДОР)
Москва 2011
Предисловие
1. РАЗРАБОТАН Государственным образовательным учреждением высшего профессионального образования «Московский государственный университет путей сообщения» (МИИТ) специалистами канд. техн. наук В.К. Матвеевым (руководитель работы), P.M. Дрыгиным, К.М. Шевчуком, Т.Ю. Матвеевой
2. ВНЕСЕН Управлением эксплуатации и сохранности автомобильных дорог Федерального дорожного агентства Министерства транспорта Российской Федерации.
3. ПРИНЯТ И ВВЕДЕН В ДЕЙСТВИЕ распоряжением Федерального дорожного агентства Министерства транспорта Российской Федерации от 30.11.2010 № 773-р
4. ВВОДИТСЯ ВПЕРВЫЕ
5. ИМЕЕТ РЕКОМЕНДАТЕЛЬНЫЙ ХАРАКТЕР
СОДЕРЖАНИЕ
ОТРАСЛЕВОЙ ДОРОЖНЫЙ МЕТОДИЧЕСКИЙ ДОКУМЕНТ
|
Рекомендации
по диагностике активной коррозии арматуры |
Отраслевой дорожный методический документ «Рекомендации по диагностике активной коррозии арматуры в железобетонных конструкциях мостовых сооружений на автомобильных дорогах методом потенциалов полуэлемента» является актом рекомендательного характера в дорожном хозяйстве.
Методика устанавливает порядок выявления участков на поверхности железобетонных конструкций мостовых сооружений, на которых возможна коррозия арматуры методом измерения потенциалов относительно стандартного электрода сравнения (далее метод потенциалов полуэлемента).
Метод потенциалов полуэлемента применяют при выполнении исследований арматуры при специальных и предпроектных обследованиях железобетонных конструкций мостовых сооружений, а также, при необходимости, в рамках приемочных обследований железобетонных конструкций после выполнения ремонта, капитального ремонта и реконструкции мостовых сооружений.
Рекомендации предназначены для применения специализированными организациями, выполняющими работы по обследованиям мостовых сооружений, а так же федеральными управлениями автомобильных дорог, управлениями автомобильных магистралей, межрегиональными дирекциями по дорожному строительству автомобильных дорог федерального значения и подрядными строительными организациями.
В настоящем методическом документе использованы ссылки на следующие стандарты:
- ГОСТ 112-78 Термометры метеорологические стеклянные
- ГОСТ 427-75 Линейки измерительные металлические. Технические условия
- ГОСТ 5272-68 Коррозия металлов. Термины.
- ГОСТ 7502-98 Рулетки измерительные металлические. Технические условия
- ГОСТ 13344-79 Шкурка шлифовальная. Тканевая водостойкая. Технические условия
- ГОСТ 17792-72 Электрод сравнения хлорсеребряный насыщенный образцовый 2-го разряда
- ГОСТ 20911-89 «Техническая диагностика. Термины и определения»
- ГОСТ 22261-94 Средства измерений электрических и магнитных величин. Общие технические условия.
- ГОСТ 22904-93 Конструкции железобетонные. Магнитный метод определения толщины защитного слоя бетона и расположения арматуры
- ГОСТ 22999-88 Опрыскиватели переносные с ручным приводом. Общие технические условия
- ГОСТ 25192-82 Бетоны. Классификация и общие технические требования.
- ГОСТ 31384-2008 Защита бетонных и железобетонных конструкций от коррозии. Общие технические требования.
В настоящем методическом документе применяются термины с соответствующими определениями по ГОСТ 5272-68, ГОСТ 20911-89, а так же следующие термины с соответствующими определениями:
3.1 коррозия арматуры: Необратимый самопроизвольный процесс разрушения арматуры в бетоне вследствие электрохимического процесса при взаимодействии с окружающей средой.
3.2 коррозионная среда: Среда, воздействие которой вызывает коррозию арматуры в конструкции.
3.3 скорость коррозии арматуры: Коррозионные потери единицы поверхности арматуры в единицу времени.
3.4 среда эксплуатации: Комплекс химических, биологических и физических воздействий, которым подвергается бетон в процессе эксплуатации конструкции и которые не учитываются как нагрузка на конструкцию в строительном расчете.
3.5 воздействие окружающей среды: Несиловое воздействие на бетон конструкции, вызванное физическими, химическими, физико-химическими, биологическими или иными проявлениями, приводящими к изменению структуры бетона или состояния арматуры.
3.6 коррозионное разрушение арматуры: Изменение массы, сечения, прочности или ухудшение других количественных характеристик и показателей качества металла арматуры конструкции вследствие коррозии.
3.7 карбонизация бетона: Процесс взаимодействия цементного камня с двуокисью углерода, приводящий к изменению структуры самого цементного камня и к снижению щелочности жидкой фазы бетона (уменьшению показателя pH раствора в порах бетона).
3.8 электродный потенциал: Мера способности электрода вступать в реакцию. Между электродом и раствором всегда образуется разность потенциалов. Стандартные потенциалы электродов определяют относительно водородного электрода при определенных величинах температуры, концентрации и давления.
3.9 электрод сравнения (гальванический полуэлемент): Металл, погруженный в раствор электролита с собственными ионами, способный к установлению равновесного потенциала; используется в качестве эталона для измерения электродных потенциалов исследуемого металла.
3.10 градиент потенциалов: Разность между потенциалами, измеренными в различных точках поверхности бетонной конструкции.
3.11 эквипотенциальная карта: Развертка поверхности бетонной конструкции с изображением изолиний равных потенциалов, разделяющих зоны разной вероятности коррозии арматуры.
3.12 дефект: Каждое отдельное несоответствие в мостовом сооружении установленным требованиям нормативно-технической и (или) конструкторской (проектной) документации.
Настоящие рекомендации разработаны на основании проведенных специальных исследований с учетом национальных стандартов, СНиП, ОДМ и положений директивы ASTM C876 (1991), «Standards Test Method for Half-cell Potentials of Reinforcing Steel in Concrete» (Стандартный метод испытания арматурной стали в бетоне потенциалов полуэлемента). При разработке рекомендаций использован многолетний опыт МИИТ и ООО «Т.К.М.» исследования вероятности наличия или отсутствия процесса коррозии арматуры в железобетонных конструкциях мостовых сооружений методом измерения потенциалов относительно стандартного электрода сравнения (потенциалов полуэлемента).
Метод потенциалов полуэлемента основан на корреляции измеренного электрохимического потенциала и наблюдаемой скоростью коррозии металла в железобетоне. Его сущность состоит в измерении электрического потенциала, возникающего между арматурной сталью и стандартным электродом сравнения, который устанавливается на интересующие участки поверхности железобетонной конструкции.
Метод позволяет выявлять в железобетонной конструкции места скрытого процесса коррозии предварительно напряженной, обычной рабочей и конструкционной арматуры, в том числе при отсутствии на бетонной поверхности видимых внешних признаков коррозии - пятен ржавчины, трещин и пр. По результатам диагностики железобетонной конструкции методом потенциалов полуэлемента дают вероятностную оценку наличия или отсутствия процесса коррозии в арматуре в местах измерений.
В связи с тем, что метод потенциалов полуэлемента не дает оценку фактического состояния арматуры, а только показывает вероятность наличия или отсутствия коррозионных процессов в арматуре в данном месте конструкции, он не является самодостаточным методом исследования и его рекомендуется применять в комплексе с другими исследованиями при специальных и предпроектных обследованиях сооружений.
При необходимости, такое исследование может выполняться как самостоятельный вид работ.
Результаты диагностики методом потенциалов полуэлемента, являются важной информацией, которую используют при оценке и прогнозировании технического состояния мостовых сооружений, остаточного срока службы конструкций и учитывают при разработке проектной документации по ремонту, капитальному ремонту и реконструкции.
Перед сдачей объекта в эксплуатацию после выполнения ремонта, капитального ремонта или реконструкции мостовых сооружений метод потенциалов полуэлемента может применяться с целью подтверждения факта прекращения коррозионных процессов в арматуре и ее перехода в пассивное состояние.
Исследование методом потенциалов полуэлемента выполняют в следующем порядке:
- выбор мест измерений;
- подготовка к проведению измерений;
- проведение измерений;
- камеральная обработка результатов измерений;
- анализ результатов измерений;
- выборочные вскрытия арматуры на интересующих участках конструкции и оценка состояния арматуры визуально-измерительным методом;
- представление результатов исследований, разработка отчетной документации.
5.1. Основными техническими средствами при потенциометрических измерениях являются:
• электрод сравнения, укрепленный на ручке, обеспечивающей электрическую изоляцию электрода от рук;
• вольтметр (мультиметр);
• электрические провода для подключения вольтметра к электроду и арматуре, оснащенные разъемами и зажимами;
• телескопический удлинитель для ручки электрода.
5.2. Электроды сравнения. В зависимости от способа измерения требуется один или два электрода сравнения.
Электроды сравнения являются узкоспециализированным оборудованием и, как правило, производятся малыми сериями и выпускаются двух видов: стационарные и переносные. Для измерений методом потенциалов полуэлемента пригодны переносные медно-сульфатные электроды сравнения, как наиболее удобные.
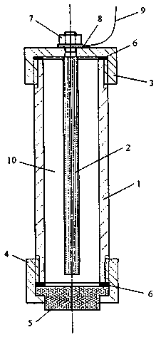
Помимо переносных медно-сульфатных электродов сравнения выпускаемых серийно, можно использовать электроды индивидуального изготовления. Принципиальная конструкция медно-сульфатного электрода представлена на рисунке 1.
1. корпус (стакан); 2. стержень из красной меди; 3. крышка для крепления стержня; 4. крышка пробки; 5. пористая пробка; 6. уплотнительное кольцо; 7. гайка; 8. наконечник проводника; 9. проводник; 10. полость, заполняемая насыщенным раствором сульфата меди.
Рисунок 1 - Принципиальная схема конструкции переносного медно-сульфатного электрода сравнения
Корпус (стакан) медно-сульфатного электрода, как правило, имеет цилиндрическую форму и изготавливается из оргстекла или прозрачной пластмассы инертной по отношению к меди и сульфату меди. Требование прозрачности корпуса обусловлено необходимостью контроля уровня электролита при проведении измерений, особенно при работе на вертикальных и потолочных поверхностях. Рекомендуется использовать медно-сульфатные электроды с корпусами, внутренний диаметр которых составляет 18 - 25 мм.
Внутри стакана находится медный стержень диаметром 6 - 9 мм и длиной не менее 50 мм, закрепленный на крышке из пластмассы или иного электроизоляционного материала, которая герметично закрывает корпус с одной из сторон. С наружной стороны медный стержень имеет клемму для подсоединения контактного провода.
Второе отверстие корпуса электрода закрывают крышкой с пробкой из пористой древесины (осина, береза и т.п.) или иного пористого материала способного насыщаться влагой, для обеспечения ионного обмена с раствором внутри электрода.
Пробку предварительно пропитывают раствором сульфата меди CuSO4 в дистиллированной воде путем вымачивания в течении суток или кипячения в насыщенном растворе в течение 1 - 2 ч.
Для обеспечения хорошего электрического контакта между электродом сравнения и поверхностью бетона, перед выполнением измерений на пористую пробку надевают предварительно увлажненную губку из эластичного пенополиуретана (поролона).
Внутреннее пространство корпуса электрода заполняют насыщенным раствором сульфата меди. Для обеспечения контроля насыщенности раствора в стакан электрода добавляют некоторое количество кристаллов сульфата меди. После заливки электролита в корпусе не должно оставаться воздушных пузырьков. В противном случае, в результате нарушения ионного обмена через пробку, могут быть получены ложные результаты при измерениях на вертикальных и, особенно, на потолочных поверхностях.
С течением времени при работе электрода кристаллы растворяются вследствие диффузии ионов через пористую пробку. По мере их расходования электрод необходимо заполнять свежим насыщенным раствором сульфата меди. Заполняют электрод раствором не менее чем за сутки до выполнения измерений.
В периоды между проведением измерений электроды сравнения могут храниться в собранном состоянии или разобранном, при условии, что пористая пробка находится в емкости с насыщенным раствором сульфата меди.
Если для измерений используют несколько электродов сравнения, все они должны быть установлены в общую емкость с насыщенным раствором сульфата меди не менее, чем за сутки до начала измерений.
В случае, если пробка длительное время не смачивается, ее поры могут оказаться закупоренными кристаллами сульфата меди что приведет к неработоспособности электрода.
При сборке электрода медный стержень очищается от окислов травлением азотной или серной кислотой и(или) полировкой с удельным давлением на обрабатываемую поверхность не более 0,8 кгс/см2. После очистки стержень тщательно промывают дистиллированной или кипяченой водой. Попадание кислоты в раствор внутрь электрода недопустимо.
Электрод сравнения должен быть оснащен сменной или несменной рукояткой, обладающей электроизолирующими свойствами и исключающей нагрев электрода от руки человека.
В протоколе измерений обязательно указывают тип использованного электрода.
Для поверки и калибровки электродов, используемых при потенциометрических измерениях, используют электрод сравнения хлорсеребряный насыщенный образцовый 2-го разряда по ГОСТ 17792-72.
5.3. Вольтметр. Для измерения значений потенциалов полуэлемента требуется вольтметр или мультиметр, работающий от автономного источника питания и позволяющий проводить измерения напряжения постоянного тока в диапазоне от -1,0 В до +1,0 В с дискретностью не менее 1 мВ по ГОСТ 22261-94. Погрешность измерений должна составлять не более ±3 % от конечного значения диапазона измерений. Следует использовать приборы с внутренним сопротивлением не менее 10 МОм. На участках, где бетон имеет низкую влажность, результаты измерений приборами с меньшим внутренним сопротивлением менее стабильны.
Вольтметр (мультиметр) должен храниться и обслуживаться в соответствии с требованиями установленными производителем.
5.4. Провода. Для подключения арматуры и электродов сравнения к вольтметру используют провода монтажные с изоляцией требуемой длины. Для работы необходимо два провода: один для соединения вольтметра с электродом сравнения, другой для соединения вольтметра с арматурой.
Провода следует оснастить быстросъемными зажимами, предназначенными для надежного подсоединения к арматурным стержням, а так же разъемами, соответствующими разъемам вольтметра и клемме электрода сравнения. Для подключения провода к арматуре удобно использовать зажим типа «крокодил». Подсоединение провода к арматурным стержням может быть осуществлено более надежно при помощи пайки.
Выбор провода и его длина определяется удобством подключения и использования. Рекомендуется использовать медный многожильный провод сечением от 0,25 мм2 до 0,75 мм2 в мягкой изоляции. Как правило, длину провода между вольтметром и электродом сравнения принимают до 7 м. Использование повода длиной более 1,5 м целесообразно при использовании электрода сравнения на удлинительной штанге в случаях отсутствия непосредственного доступа к исследуемой поверхности железобетонной конструкции. При длине провода рекомендуемого сечения до 150 м его длина не оказывает практического влияния на измеренную величину потенциала.
Не допускается использование проводов с поврежденной изоляцией или удлинение их в полевых условиях соединением на «скрутках» без надежной изоляции мест соединения.
Провода длиной более 5 м хранят на мотовильцах, провода длиной более 25 м - на специальных катушках.
Периодически следует проверять целостность и сопротивление изоляции проводов.
5.5. Специализированные приборы. Вместо комплекта оборудования состоящего из электрода сравнения, вольтметра и соединительных проводов можно использовать специализированные приборы, и комплекты оборудования, предназначенные для исследований методом потенциалов полуэлемента. Зарубежными компаниями серийно выпускается более десятка специализированных приборов с различными функциональными возможностями.
При использовании, хранении и обслуживании специализированных приборов следует руководствоваться требованиями, установленными производителем.
При выполнении исследований и обработке результатов измерений следует руководствоваться настоящими рекомендациями.
В некоторых приборах используются хлорсеребряные электроды сравнения. В этом случае полученные значения потенциалов представляют преобразованными в эквивалентные значения потенциала медно-сульфатного электрода при температуре +22 °C.
5.6. Вспомогательные технические средства. Для разметки и подготовки бетонной поверхности в местах измерений, вскрытия защитного слоя бетона для подключения к арматуре, измерения температуры, влияние которой необходимо учитывать при обработке результатов измерения потенциалов применяются следующие вспомогательные технические средства:
- Термометр для определения температуры воздуха и термометр для определения температуры электрода сравнения. Калибровку термометров осуществляют при помощи термометра метеорологического по ГОСТ 112.
- Приборы неразрушающего контроля для определения положения арматуры на участке измерений. Рекомендуется использовать измерители защитного слоя бетона внесенные в Государственный реестр средств измерений Российской Федерации, позволяющие определить положение арматурных стержней, диаметр арматуры и толщину защитного слоя.
- Инструмент для вскрытия защитного слоя бетона. Для вскрытия защитного слоя бетона, подключения вольтметра к арматуре и контроля состояния арматуры используют аккумуляторные или сетевые электроинструменты - перфораторы и углошлифовальные машины.
- Зачистку арматурных стержней для подключения вольтметра к арматуре, а также удаление влагонепроницаемого покрытия с поверхности бетона в местах измерения, проводят шкуркой шлифовальной по ГОСТ 13344-79, напильником, металлической щеткой.
- Разметку бетонной поверхности выполняют мелом по ГОСТ 17498-72 или маркером. В случае если разметку требуется сохранить после проведения измерений, используют перманентный (несмываемый) маркер.
- Измерения линейных размеров для привязки точек измерения и мест подключения к арматуре выполняют рулетками измерительными металлическими по ГОСТ 7502-98, линейками измерительными металлическими по ГОСТ 427-75*. Допускается использовать лазерные дальномеры, внесенные в Государственный реестр средств измерений Российской Федерации.
- Предварительное смачивание поверхности бетона выполняют разбрызгиванием воды или специального раствора в точках измерения с применением опрыскивателей переносных с ручным приводом по ГОСТ 22999-88.
6.1. Рекомендуется следующий порядок подготовки к проведению измерений методом потенциалов полуэлемента:
- предварительное обследование конструкции;
- выбор участков измерений;
- определение положения арматуры на участке измерений;
- выбор шага измерений;
- нанесение разметки (измерительной сетки) на поверхность бетона;
- вскрытие защитного слоя бетона для подключения измерительного прибора к арматуре;
- зачистка мест подсоединения вольтметра к арматуре для обеспечения надежного электрического контакта между ними;
- проверка наличия электрической связи между арматурным каркасом в местах измерений и местами подсоединения измерительного прибора к арматуре;
- подготовка бетонной поверхности на исследуемом участке в местах проведения измерений;
- подключение измерительного прибора к арматуре.
6.2. Предварительное обследование, выбор участков измерений и шага сетки измерений
При предварительном визуальном обследовании обращают внимание на наличие дефектов защитного слоя бетона, в первую очередь таких, которые могли быть вызваны коррозией арматуры (отслаивание защитного слоя бетона, зоны «бухтящего» бетона, трещины в защитном слое вдоль арматурных стержней, ржавые пятна на поверхности). С целью повышения надежности выявления неблагополучных участков предварительное обследование рекомендуется производить с использованием обследовательского молотка. Особенное внимание при предварительном обследовании следует обращать на участки, подверженные обводнению.
Выбранные для исследований конструкции делят на элементы (плита, ребро и т.д.).
При выборе участков измерений принимают во внимание тип и особенности исследуемой железобетонной конструкции, ее армирование, толщину защитного слоя бетона, фактическое состояние защитного слоя бетона, наличие внешних дефектов на поверхности, выявленных при предварительном визуальном обследовании исследуемой конструкции.
По результатам визуального обследования с учетом конструктивных особенностей объекта исследований, его армирования, принимают решение о выборе модели измерений - либо выполняют выборочные измерения в определенных точках элемента конструкции, либо измерения выполняют на всей поверхности элемента с заранее выбранным шагом сетки измерений. Шаг сетки может быть различным вдоль и поперек элемента.
При отсутствии информации о точном положении арматурных стержней измерения выполняют в произвольно выбранных точках.
Выполнение измерений со слишком большим шагом увеличивает вероятность того, что локальный участок с корродирующим арматурным стержнем, не будет обнаружен. Чтобы не пропустить участок с локальной коррозией арматуры шаг сетки измерений обычно выбирают в диапазоне от 0,5 м до 1,5 м. При исследовании арматуры в часто армированных конструкциях, например в плите проезжей части, шаг измерений предварительно принимают около 1,0 м.
В зависимости от результатов визуального обследования, величины потенциалов и градиентов измеренных потенциалов в соседних точках на отдельных участках конструкции предварительно выбранный шаг сетки измерений в процессе выполнения работ изменяют в большую или меньшую сторону.
В случае, если абсолютная величина разницы измеренных значений потенциалов в соседних точках составляет более 150 мВ, шаг измерений сокращают.
При правильном выборе шага сетки измерений абсолютная величина разницы измеренных значений потенциалов в соседних точках, как правило, не должна превышать 100 мВ.
При исследовании коррозии предварительно напряженной арматуры в составных по длине балках измерения потенциалов выполняют по нижнему поясу и ребру. Измерения потенциалов в таких конструкциях следует выполнять с разным шагом по длине балки, сгущая шаг сетки измерений у поперечных стыков до 0,20 - 0,25 м. При этом одно измерение следует обязательно выполнять непосредственно в стыке между соседними блоками балки.
Надежность обнаружения коррозии каждого отдельного арматурного стержня на локальном участке повышается при выполнении измерений непосредственно над арматурными стержнями. Поэтому, если проводятся детальные исследования, то места выполнения измерений рекомендуется располагать над арматурными стержнями. Положение стержней арматуры и толщину защитного слоя бетона определяют магнитным методом по ГОСТ 22904-93 (см. раздел 5).
Если точно установлено фактическое положение всей арматуры, то места измерений (узлы сетки) рекомендуется располагать в точках пересечения стержней арматурного каркаса. Для этого, если имеется возможность непосредственного доступа к исследуемой поверхности, точки измерений рекомендуется предварительно отметить мелом или перманентным маркером.
6.3. Подготовка бетонной поверхности к проведению измерений.
Целями подготовки бетонной поверхности к проведению измерений являются: удаление с нее веществ, препятствующих ионообменному процессу на границе «бетон-электрод сравнения» и обеспечение требуемой точности позиционирования (установки в требуемую точку) электрода сравнения.
Если на поверхность бетона нанесено влагонепроницаемое покрытие, то это покрытие в местах предстоящих измерений полностью удаляют. Размер очищенного участка в каждой точке измерения должен быть не менее 5´5 см. Рекомендуемые технические средства для очистки указаны в разделе 5. При разметке сетки измерений краской, место непосредственной установки электрода сравнения не окрашивают.
Разметку сетки измерений выполняют в случае, если без нее не может быть обеспечена требуемая точность позиционирования электрода сравнения на поверхности выбранного участка. Рекомендуемые технические средства для нанесения разметки указаны в разделе 5.
При необходимости выполнения нескольких серий измерений потенциалов в одной и той же конструкции в течение определенного периода времени разметку сетки измерений выполняют с использованием стойких лакокрасочных материалов.
6.4. Подключение вольтметра к арматуре.
Подключение вольтметра к арматуре требуется при выполнении измерений потенциалов одним электродом сравнения (см. раздел 7).
Положительный полюс вольтметра при помощи провода, оснащенного соответствующими разъемами, подключают к арматуре или к выступающим из бетона металлическим элементам, например к закладным деталям. Важно, чтобы между элементом, к которому производится подключение, и исследуемой арматурой существовала надежная электрическая связь. Наличие электрической связи устанавливают измерением электрического сопротивления между арматурой и металлическим элементом, к которому производится подключение.
Для подключения провода к арматуре или другому металлическому элементу в большинстве случаев удобно использовать быстросъемный зажим «крокодил». Можно приваривать или припаивать к арматуре дополнительные элементы, облегчающие подключение провода.
Металл в месте подключения очищают от окислов до металлического блеска механическим способом. Рекомендуемые технические средства для очистки металла в месте подключения прибора указаны в разделе 5.
При некачественном подключении к арматуре происходит искажение (измеряемые значения потенциалов смещаются в положительную сторону) всех значений потенциалов, которое может достигать существенных величин 100 мВ и более.
Для подключения вольтметра к арматуре, находящейся в бетоне, может потребоваться вскрытие (разрушение) защитного слоя бетона. По окончании измерений поврежденное место защитного слоя бетона восстанавливают быстротвердеющими составами, обладающими хорошей адгезией к бетону, не ниже по прочности, водонепроницаемости и морозостойкости бетона конструкции.
При исследовании коррозии предварительно напряженной рабочей арматуры, электрически не связанной с каркасной арматурой, следует подключать прибор к анкерам исследуемой арматуры.
В конструкциях, состоящих их нескольких элементов, имеющих отдельные, электрически не связанные между собой арматурные каркасы, например в пролетных строениях состоящих из плит, объединенных бетонными шпонками, подключение прибора следует выполнять индивидуально к арматуре каждой плиты.
При необходимости выполнения нескольких серий измерений потенциалов в одной и той же конструкции в течение определенного периода времени следует подключать вольтметр к арматуре в одних и тех же точках.
6.5. Подключение вольтметра к электродам.
Отрицательный полюс вольтметра подключают к контакту центрального стержня электрода сравнения при помощи провода, оснащенного соответствующими разъемами.
Если измерения проводят с использованием двух электродов сравнения (см. раздел 7), положительный полюс измерительного прибора подключают ко второму электроду.
7.1. Обеспечение стабильного ионообменного процесса между электродом сравнения и бетоном.
При выполнении измерений потенциалов необходимы достаточные условия для стабильного ионообменного процесса между электродом сравнения и поверхностью бетона. Для этого между пористой пробкой электрода и бетоном создают электролитический мостик, при помощи одной или нескольких увлажненных губок из эластичного пенополиуретана (поролона) пропитанных смачивающей жидкостью. В большинстве случаев достаточно использовать одну губку, закрепленную на стакане электрода сравнения со стороны пробки.
Жидкость для смачивания губки должна хорошо проникать в бетон и не содержать веществ, вызывающих коррозию арматуры или ускорение деградационных процессов бетона.
Для смачивания губки можно использовать 0,5 % раствор жидкого моющего средства в пресной воде. При низких температурах менее +10 °C в раствор для смачивания губки можно добавлять до 15 % спирта.
В ходе выполнения измерений следует поддерживать губку во влажном состоянии путем периодического смачивания.
7.2. Предварительное смачивание поверхности бетона.
Предварительное смачивание поверхности бетона уменьшает сопротивление электрической цепи арматура - электрод сравнения и позволяет уменьшить время, необходимое для стабилизации показаний прибора при выполнении измерений.
Потребность в предварительном смачивании бетонной поверхности определяют следующим образом:
- Вольтметр подключают к арматуре и электроду сравнения согласно рекомендациям, изложенным в разделе 6.
- Электрод сравнения с увлажненной губкой устанавливают на поверхность бетона неподвижно.
- Через 15 секунд после установки электрода снимают показания вольтметра.
- Второе показание вольтметра снимают через 5 мин. Электрод сравнения при этом должен оставаться неподвижным на поверхности бетона.
- Считают, что предварительного смачивания поверхности бетона не требуется в случае, если абсолютная величина разницы между первым и вторым показаниями вольтметра не превышает 20 м В.
Как правило, предварительное смачивание поверхности бетона выполняют разбрызгиванием раствора при помощи переносного опрыскивателя с ручным приводом по ГОСТ 22999-88, а так же промакиванием полипропиленовых губок пропитанных раствором, использующимся для смачивания губки электрода сравнения.
Измерения потенциалов выполняют после того, как нанесенный на исследуемую поверхность раствор впитался в бетон.
Практически, в большинстве случаев при обильном предварительном смачивании разбрызгиванием раствора стабилизация показаний вольтметра наступает уже через 10 - 30 секунд.
В случае если для проведения измерений требуется более интенсивное предварительное смачивание, то к поверхности бетона в местах измерений заранее на нужное время закрепляют пропитанные раствором полипропиленовые губки. Губки удаляют после выполнения измерений.
Предварительное смачивание поверхности бетона проводится до тех пор, пока показания вольтметра, подключенного к электроду сравнения и установленному в течении 5 мин неподвижно на поверхность бетона, будут меняться менее чем на 20 мВ.
Если предварительным смачиванием не удается добиться соблюдения требуемого условия, то это может свидетельствовать либо об очень высоком электрическом сопротивлении измерительного контура по отношению к внутреннему входному сопротивлению вольтметра, при котором не обеспечивается достоверность измерения потенциала, либо о наличии блуждающих токов, искажающих считываемые значения. В первом случае можно рекомендовать применить вольтметр с еще более высоким входным сопротивлением. Во втором случае применение метода потенциала полуэлемента не рекомендуется.
7.3. Измерение температуры.
Температура электрода сравнения влияет на его собственный потенциал, что требует корректировки измеренных значений. Для различных электродов сравнения это влияние температуры различно.
Потенциал медно-сульфатного электрода сравнения зависит только от электрохимического равновесия между медью и ионами меди в растворе. Для меди в насыщенном растворе сульфата меди (CuSO4) это равновесие несильно зависит от температуры и насыщенности раствора медного купороса, что делает его надежным инструментом для измерения поля потенциалов. В диапазоне от +3 °C до +46 °C потенциал медно-сульфатного электрода сравнения изменяется в среднем на 0,9 мВ на один градус Цельсия. Средние величины смещения потенциала медно-сульфатного электрода сравнения в различных диапазонах температур относительно температуры +22 °C приведены в таблице 1.
Непосредственное измерение температуры электрода сравнения, который не является однородным телом, затруднительно. В связи с этим, при проведении измерений потенциала полуэлемента принимают меры, что бы температура воздуха и температура электрода сравнения была одинаковой.
Для этого перед проведением измерений выравнивают температуру электрода путем выдержки его на воздухе около участка предстоящих измерений. Время выдержки зависит от разности температуры, при которой проводилась транспортировка электрода, и температуры в месте измерений. Как правило, для выравнивания температуры электрода, достаточно его выдержки на воздухе в течение 20 - 30 мин. После выравнивания температуры электрода достаточно фиксировать только температуру воздуха при выполнении измерений.
Таблица 1 - Зависимость смещения потенциала медно-сульфатного электрода сравнения в различных диапазонах температур относительно температуры +22 °C
|
Смещение потенциала, мВ |
|
|
3 |
-16 |
|
22 |
0 |
|
36 |
+11 |
|
46 |
+24 |
При проведении измерений не следует держать электрод голыми руками за корпус, так как это может привести к его дополнительному нагреву.
Измерения рекомендуется выполнять во время, когда температура воздуха наиболее стабильна.
Периодичность измерения температуры воздуха во время выполнения работ потенциалов зависит от продолжительности измерений. Как правило, достаточно зафиксировать температуру в начале и в конце измерений.
Температуру измеряют в градусах Цельсия с точностью 1 °C и записывают в протокол измерений.
7.4. Измерение потенциала с использованием одного электрода сравнения (метод 1).
Метод 1 является основным методом измерения потенциалов полуэлемента в железобетонных конструкциях. Измерение этим методом выполняют путем установки электрода сравнения подключенного к отрицательному полюсу вольтметра на бетонную поверхность через увлажненную губку. Положительный полюс вольтметра при этом подключают к арматуре согласно рекомендациям раздела 6. Схема измерения по методу 1 показана на рисунке 2.
Снятие показаний вольтметра выполняют после стабилизации показаний прибора. Показания считают стабильными, если они остаются неизменными в течение не менее 15 секунд при измерениях в режиме работы прибора с дискретностью 1 мВ.
Запись измеренной величины потенциала допускается выполнять с округлением измеренной величины до 10 мВ. Запись полученных значений ведется в милливольтах с указанием полярности.
Рисунок 2 - Метод 1. Подключение переносного медно-сульфатного электрода сравнения к отрицательному полюсу измерительного прибора, арматуры - к положительному полюсу
Если при выполнении измерений по заранее размеченной сетке абсолютная величина разницы измеренных значений потенциалов в двух соседних точках составляет более 150 мВ, выполняют дополнительное измерение потенциала в промежуточной точке, расположенной посередине отрезка, соединяющего эти точки.
После завершения серии измерений, выполненных с одного и того же подключения к арматуре, следует сделать контрольные повторные измерения в трех - пяти точках, измерения в которых выполнялось в начале серии. Это необходимо для контроля стабильности измерительной цепи на протяжении всего времени выполнения серии измерений.
Если разница между значениями потенциала в одних и тех же точках измеренными в начале и конце измерений не превышает ±10 мВ, стабильность измерительной цепи считают удовлетворительной.
В противном случае следует проверить состояние электрода сравнения и соединительных проводов, надежность электрических контактов в местах подключения к арматуре, вольтметру и электроду. После проверки оборудования следует выполнить повторные измерения.
7.5. Измерение потенциала с использованием двух электродов сравнения (метод 2).
Метод 2 используют в случаях, когда отсутствует возможность подключения к арматуре или требуется получить только величину градиента потенциала в одной точке относительно потенциала в другой точке измерения. Метод может применяться в том числе, для конструкций пролетных строений, в которых имеются электрически не связанные арматурные каркасы.
При выборе метода исследований следует учитывать, что относительная погрешность измерений градиента потенциалов по методу 2 (двумя электродами) в два раза больше, чем по методу 1 (одним электродом).
При измерениях методом 2 оба полюса вольтметра подключают к двум электродам сравнения. Схема измерения по методу 2 показана на рисунке 3. Подготовку электродов сравнения к измерениям проводят согласно требованиям раздела 5.
Рисунок 3 - Метод 2. Подключение одного переносного медно-сульфатного электрода сравнения к отрицательному полюсу измерительного прибора, второго переносного медно-сульфатного электрода сравнения к положительному полюсу
Измерения двумя электродами проводят по одной из двух схем:
Схема 1 (с базовым электродом). Электрод сравнения, подключенный к положительному полюсу вольтметра, устанавливают неподвижно на бетонную поверхность через увлажненную губку и не перемещают за все время проведения серии измерений. Этот электрод является базовым. При выборе точки установки базового электрода следует руководствоваться результатами визуального обследования защитного слоя бетона, результатами вскрытия арматуры и др. Второй электрод сравнения, подключенный к отрицательному полюсу вольтметра, устанавливают для выполнения измерений в интересующие точки конструкции.
Схема 2 (последовательные измерения). Измерения выполняют, перемещая попеременно оба электрода сравнения от одной точки к другой.
При выполнении измерений по схеме 2, контрольные повторные измерения не выполняют.
Снятие показаний вольтметра и запись измеренных значений потенциалов по методу 2 выполняют, аналогично методу 1.
7.6. Измерение потенциала с предварительной поляризацией (метод 3)
Метод основан на способности стали, находящейся в пассивном состоянии, сохранять определенное время потенциал положительного знака после поляризации от внешнего источника и отключения тока. В противном случае, после отключения тока величина потенциала быстро возвращается к исходным отрицательным значениям стационарного потенциала.
Данный метод применим в том случае, если сопротивление бетона на измеряемом участке не превышает 100 кОм. Это характерно для бетона, находящегося в воздушно-влажных условиях. Для измерений на сухом бетоне, когда сопротивление на измеряемом участке превышает 100 кОм, этот метод не используют.
При исследованиях по методу 3 используют медно-сульфатный электрод сравнения. Дополнительно при выполнении измерений потенциала с предварительной поляризацией требуется:
- источник постоянного тока напряжением на клеммах 6 - 12 В (аккумуляторная батарея, выпрямитель),
- вольтметр с внутренним сопротивлением не менее 10 МОм позволяющий измерять величину потенциала в интервале ±11 В с точностью не менее ±0,01 В,
- омметр позволяющий измерять величину сопротивление в интервале от 10 Ом до 100 МОм,
Вместо вольтметра и омметра можно использовать мультиметр, обладающий требуемыми параметрами.
Принципиальная схема измерений приведена на рисунке 4.
Рисунок 4 - Метод 3. Измерение потенциала с предварительной поляризацией
Подготовку к измерениям потенциала с предварительной поляризацией выполняют в той же последовательности, как и при измерениях потенциалов полуэлемента с использованием одного электрода сравнения по методу 1.
Один из соединительных проводов подсоединяют к арматуре, очищенной от окислов согласно разделу 6. Другой провод подключают к электроду сравнения. Между арматурой и электродом сравнения подключают омметр. Электрод сравнения устанавливают на поверхности бетона над арматурным стержнем. Измеряют электрическое сопротивление цепи «электрод - бетон - арматура».
Если сопротивление не превышает 100 кОм, отключают омметр и подключают источник постоянного тока. Положительный полюс источника тока подключают к арматуре, отрицательный полюс подключают к электроду сравнения и в течение 1 мин поляризуют стальную арматуру анодным током.
Затем источник тока отключают и подключают положительный полюс вольтметра к арматуре, отрицательный полюс подключают к электроду сравнения. Через 0,5; 1; 2 и 3 минуты после отключения источника тока измеряют величину потенциала.
Если за 1 мин потенциал понизится не более чем до нуля вольт, считают, что стальная арматура в бетоне находится в пассивном состоянии. При более быстром спаде потенциала сталь активна - возможно коррозионное поражение арматуры.
Метод 3 является более трудоемким, по сравнению с методом 1. Метод 3 рекомендуется использовать на отдельных участках конструкции для уточнения наличия или отсутствия процессов коррозии арматуры, в случаях, когда методом 1 не удается с высокой степенью вероятности это установить, например, в зонах неопределенного состояния арматуры (см. раздел 8).
8.1. Данные, полученные при измерениях, оформляют протоколом. Протокол должен содержать название объекта исследования, дату измерений, погодные условия, температуру, тип электрода, описание места подключения вольтметра к арматуре и таблицы исходных данных с величинами измеренных потенциалов.
8.2. Если температура измерительного электрода сравнения выходит за диапазон 22,2 ± 5 °C, то исходные данные в протоколе корректируют с учетом температуры. В диапазоне температур от 0 до +50 °С температурный коэффициент для медно-сульфатного электрода принимают kt = 0,9 мВ/°C.
Корректировку данных производят по формуле (1):
jt = j - (22,2 - tэ)´kt, (1)
где jt - скорректированное значение потенциала, мВ;
j - исходное значение потенциала, мВ;
tэ - температура электрода сравнения при измерениях, °C;
kt - температурный коэффициент электрода сравнения.
8.3. При использовании электрода сравнения отличного от медно-сульфатного производят пересчет исходных данных в эквиваленте медно-сульфатного электрода.
8.4. Полученные данные статистически обрабатывают и представляют результаты исследований в виде эквипотенциальных карт, кумулятивных частотных диаграмм.
8.5. Эквипотенциальные карты строят с учетом температурной корректировки и поправок на тип электрода, при наличии такой необходимости.
При построении эквипотенциальной карты на графике изображают поверхность бетонного элемента конструкции с привязкой мест измерений и строят изолинии равных потенциалов или области с заливкой определенным цветом в указанном интервале значений потенциалов. Шаг изолиний равных потенциалов принимают не более 100 мВ. Желательно, чтобы на карте присутствовали изолинии или диапазоны областей со значениями -200 и -350 мВ, поскольку эти величины являются общими критериями оценки вероятности отсутствия или наличия коррозионных процессов в арматуре по методу 1.
Пример эквипотенциальной карты приведен в приложении А на рисунке А.1.
Оформление эквипотенциальной карты выполняют в произвольном виде в зависимости от конструктивных особенностей исследуемого элемента конструкции. Для большей наглядности и удобства анализа результатов исследований полезно показать на эквипотенциальной карте схему армирования конструкции, места вскрытий защитного слоя бетона, места изъятия проб бетона для определения содержания хлоридов, а также внешние дефекты, свидетельствующие о коррозии арматуры.
8.6. При значительных объемах измерений для облегчения анализа данных строят кумулятивные частотные диаграммы. Диаграммы в обобщенном виде позволяют анализировать состояние исследуемой площади бетона. Диаграммы можно строить, откладывая по оси абсцисс границы интервалов или значения потенциалов.
В первом случае, для построения диаграммы значения потенциалов разбивают на диапазоны с шагом 50 мВ, затем подсчитывают число отсчетов, попавших в каждый диапазон в процентном отношении к общему числу измерений. По полученным данным строят кривую распределения процентного числа измерений по диапазонам с накоплением от наименьших значений к большим значениям.
Во втором случае, построение диаграммы заключается в сортировке исходных данных в порядке возрастания значений потенциалов и определению для каждого значения накопленной частоты путем деления порядкового номера отсчета на общее число значений.
На графиках по оси ординат откладываются накопленные значения частот.
Примеры кумулятивных кривых приведены в приложении А на рисунках А.2 и А.3.
8.7. Метод потенциалов полуэлемента не дает оценку фактического состояния арматуры, а показывает вероятность наличия или отсутствия коррозионных процессов в арматуре на данном участке.
На первом этапе анализа результатов измерений вероятностную оценку коррозии арматуры дают согласно общим критериям. Общие критерии оценки вероятности коррозии арматуры для медно-сульфатного электрода, в зависимости от величины потенциалов Р, приведены в таблице 2.
Таблица 2 - Общие критерии для оценки вероятности коррозии арматуры для медно-сульфатного электрода по методу 1
|
Неопределенное состояние арматуры |
Коррозия арматуры с вероятностью 90 % |
|
|
Р > -200 мВ |
-200 мВ > Р > -350 мВ |
Р < -350 мВ |
8.8. При анализе результатов диагностики коррозии арматуры следует учитывать, что небольшие отрицательные значения потенциалов (положительнее -200 мВ) означают только то, что в настоящее время на данном участке конструкции процессы коррозии арматуры с большой степенью вероятности не происходят. Однако, это не всегда означает отсутствие коррозионного поражения арматуры, которое она могла получить на более ранних этапах эксплуатации мостового сооружения.
Например, если ранее в конструкции произошли какие-то значительные изменения, связанные с ремонтом, например, была устроена накладная плита, заменена гидроизоляция, деформационные швы, оштукатурены поверхности ли другие мероприятия защищающие конструкцию от обводнения, способствующие замедлению и прекращению коррозии, то небольшие измеренные отрицательные значения потенциалов в таких случаях могут не означать благополучного коррозионного состояния арматуры. В данном случае сталь во время измерения потенциалов может находиться в пассивном состоянии, но арматура могла получить серьезные коррозионные повреждения в предыдущие периоды эксплуатации. При этом процесс коррозии мог длиться как месяц, так и пять лет, и повреждение арматуры при этом будет различным. Если отсутствует достоверная информация о состоянии арматуры до ремонта мостового сооружения, то состояние арматуры в таких случаях рекомендуется уточнять после выборочного вскрытия защитного слоя бетона визуально измерительным методом.
Отсюда следует один очень важный вывод о том, что перед проектированием ремонта мостовых сооружений для принятия правильного проектного решения по ремонту, необходимо обязательно выполнять исследования арматуры с использованием метода потенциалов полуэлемента.
8.9. Большие отрицательные значения потенциалов (< -350 мВ) означают то, что в настоящее время на данном участке конструкции процессы коррозии арматуры происходят с большой степенью вероятности. На участках с величиной потенциалов меньше -350 мВ в бетоне часто наблюдаются внешние дефекты, вызванные коррозией арматуры - трещины, отслоения защитного слоя и др. Так как во многих случаях неизвестно когда началась коррозия, состояние арматуры на этих участках выборочно уточняют визуально измерительным методом после вскрытия защитного слоя бетона. В целях выяснения причины возникновения коррозии арматуры, и для принятия правильного проектного решения по ремонту на таких участках рекомендуется выполнение исследований глубины карбонизации бетона и содержания в бетоне хлоридов.
8.10. В зонах со значениями потенциалов, соответствующими неопределенному состоянию арматуры от -200 мВ до -350 мВ, наличие или отсутствие коррозионных процессов в арматуре на этих участках можно установить, применяя измерение потенциала с предварительной поляризацией по методу 3 (см. П.7.6).
8.11. При выполнении измерений двумя электродами по методу 2 вероятность коррозии оценивают по градиенту потенциалов. При установке базового (неподвижного) электрода в точке, где после визуального осмотра и других видов исследований высока вероятность отсутствия коррозии, критерием возможного наличия коррозии принимают абсолютную разность потенциалов между базовым и перемещаемым электродом превышающую 200 мВ. Градиент потенциалов является хорошим индикатором по выбору мест для дальнейшего исследования с применением частично разрушающих методов исследований. Измеренные значения потенциалов могут колебаться в зависимости от различных факторов, однако, градиент потенциалов остается постоянным.
9.1. Результаты диагностики коррозии арматуры оформляются в виде отдельного раздела в составе отчета об обследовании, либо в виде отдельного заключения о результатах исследований коррозии арматуры, если диагностика выполнялась, как самостоятельный вид работ.
9.2. Результаты представляют в виде пояснительного текста, в котором дают описание выполненных измерений с указанием мест измерений, даты выполнения измерений, погодных условий, температуры, типа электрода, мест подключения вольтметра к арматуре, полученных результатов статистической обработки данных.
Дают анализ эквипотенциальных карт и сопоставление данных, полученных по результатам исследований методом потенциалов с данными визуального осмотра исследуемой поверхности.
В раздел отчета или в заключение включают: протокол измерений, пояснительный текст, выводы по результатам диагностики. В зависимости целей, задач и объема измерений, в отчет при необходимости включают эквипотенциальные карты, кумулятивные диаграммы и другие иллюстрирующие материалы. Примеры оформления результатов - эквипотенциальная карта, кумулятивные кривые и графики изменения потенциалов приведены в приложении А.
10.1. Наличие защитных покрытий на арматуре.
Метод потенциалов полуэлемента не подходит для измерения коррозии оцинкованной арматуры или арматуры с эпоксидным покрытием. Покрытие арматуры не обеспечивает достаточно хорошего электрического соединения для измерительной схемы.
10.2. Ингибиторы коррозии
Химические вещества, использованные в качестве ингибиторов коррозии, могут изменить потенциал, как в положительную, так и в отрицательную сторону, в зависимости от того какой применяется ингибитор, анодный или катодный.
Анодный ингибитор коррозии является сильным окислителем, смещает потенциалы в положительную сторону, и существенно снижает скорость коррозии. Например, величины потенциалов полуэлемента в железобетонных конструкциях, содержащих нитрат кальция, как правило, более высокие, чем без него.
Катодный ингибитор смещает потенциал к отрицательным значениям, при сокращении скорости коррозии стали. Применение катодных ингибиторов коррозии должны быть приняты во внимание при интерпретации данных исследований потенциалов полуэлемента.
10.3. Наличие покрытия на исследуемой бетонной поверхности.
В зонах, где покрытие повреждено или разрушено измерения могут выполняться без его удаления.
Измерения потенциалов, выполненные на поверхности железобетона с органическим покрытием, могут дать неточные результаты или вообще могут быть невозможны из-за высокого сопротивления покрытия. В таких случаях перед выполнением измерений потенциалов необходимо удалять слой покрытия в точках измерений. Удаление влагонепроницаемого покрытия проводится для обеспечения ионообменного процесса на границе бетон-электрод. Без удаления покрытия измеренные значения потенциалов обычно смещаются в положительную сторону относительно истинных значений до +50 мВ.
Уменьшение концентрации кислорода на поверхности арматуры смещает величины потенциалов в отрицательную область. Низкий потенциал в данном случае не обязательно связан с коррозионными процессами в стали. Например, для плотного бетона с низкой проницаемостью значения потенциалов могут быть несколько ниже, чем для пористого бетона с более высокой проницаемостью. Если покрытие на исследуемой бетонной поверхности непроницаемо для кислорода, низкое содержание кислорода должно быть учтено при интерпретации данных.
10.4. Наличие дефектов в виде отслоений защитного слоя и сколов на поверхности конструкции в месте измерения.
Наличие дефектов в виде отслоений защитного слоя на поверхности и других приводящих к нарушению целостности бетона конструкции непосредственно в месте установки электрода сравнения может приводить к существенному увеличению электрического сопротивления в цепи и внести искажения в измерения потенциала. Электрод на такие участки при выполнении измерений устанавливать не рекомендуется.
10.5. Арматура не полностью окружена бетоном, наличие раковин и других пустот в бетоне.
Присутствие пустот в бетоне вокруг арматуры провоцирует образование микроэлементов вокруг пустот, в которых арматура становится анодом, на участках около пустоты становится катодом микрогальванических пар. Это увеличивает скорость коррозии арматуры в бетоне вокруг пустот. На участках с пустотами результаты измерений потенциалов полуэлемента могут показать более высокие отрицательные значения, чем фактические. Таким образом, применение метода потенциалов в бетоне с пустотами вокруг арматуры является непростой задачей, метод должен применяться с соответствующими поправками. Оценка коррозии вблизи пустот по измеренным значениям потенциалов без коррекции, полученной по результатам выборочного вскрытия, может привести к неточным результатам оценки фактической коррозии.
10.6. Наличие отремонтированных участков бетона.
Применение метода потенциалов полуэлемента на отремонтированных участках конструкции возможно.
Новый бетон на отремонтированных участках поверхности создает среду, отличающуюся от существующего бетона. Это приводит к так называемому электрохимическому потенциальному дисбалансу между арматурой в старом бетоне и новым бетоном отремонтированного участка. При этом возможны отличия в значениях потенциалов на отремонтированных и прилегающих к ним старых участках бетона.
При применении метода потенциалов полуэлемента после завершения ремонтных работ необходим опыт в отображении результатов на эквипотенциальных картах и в правильном толковании значений потенциалов.
10.7. Электрическое сопротивление бетона.
Высокое электрическое сопротивление бетона может внести искажения в измерения потенциалов. Измерения будут достоверны, когда внутреннее сопротивление вольтметра намного больше сопротивления бетона. Существует два пути повышения точности измерений: уменьшить сопротивление бетона путем смачивания его поверхности или применять вольтметр с высоким внутренним сопротивлением (более 20 МОм). Размещение электрода непосредственно над арматурным стержнем также может уменьшить сопротивление бетона и положительно влиять на точность измерений. В случаях высокого электрического сопротивления бетона измерения выполняют только после стабилизации показаний прибора.
10.8. Плотность бетона.
Плотный бетон обеспечивает хороший физический барьер для защиты арматуры от хлоридно-индуцированной коррозии, и ограничивает процесс диффузии кислорода. Концентрация кислорода на границе сталь-бетон может быть очень низкой, что может отразиться в низких величинах потенциалов. В этом случае, данные могут ошибочно указывать на высокую вероятность коррозии.
10.9. Катодная защита и наличие блуждающих токов
Катодная защита и блуждающие токи могут сделать невозможным применение метода потенциалов полуэлемента.
Измерения не должны проводиться, по меньшей мере, в течение 24 часов после выключения системы катодной защиты.
Возможность использования метода потенциалов полуэлемента на путепроводах через электрифицированные железнодорожные пути должно проверяться в каждом конкретном случае. При наличии блуждающих токов может не наступить стабилизации показаний прибора.
Примеры оформления результатов диагностики коррозии арматуры
Балка Б3, фасад
Условные обозначения
Диапазоны потенциалов, мВ

Рисунок А.1. - Пример оформления эквипотенциальной карты
Рисунок А.2 - Пример кумулятивной кривой. По оси абсцисс отложены интервалы
Рисунок А.3 - Пример кумулятивной кривой. По оси абсцисс отложены значения потенциалов

Рисунок А.4 - Пример изменения потенциалов по длине составной балки. Во втором стыке наблюдается значительный градиент потенциалов, свидетельствующий о высокой вероятности коррозии предварительно напряженной арматуры
|
Ключевые слова: коррозия, арматура, мостовые сооружения, электрохимический потенциал, обследование |