ИНФОРМАЦИОННО-ИЗДАТЕЛЬСКИЙ
ЦЕНТР
ГОСКОМСАНЭПИДНАДЗОРА РОССИЙСКОЙ ФЕДЕРАЦИИ
МЕТОДИЧЕСКИЕ
УКАЗАНИЯ
ПО ИЗМЕРЕНИЮ КОНЦЕНТРАЦИИ
ВРЕДНЫХ ВЕЩЕСТВ В ВОЗДУХЕ РАБОЧЕЙ ЗОНЫ
Выпуск 25
Москва 1994
ГОСУДАРСТВЕННЫЙ
КОМИТЕТ РСФСР
САНИТАРНО-ЭПИДЕМИОЛОГИЧЕСКОГО НАДЗОРА
ПОСТАНОВЛЕНИЕ
№ 1
|
06.02.92 г. Москва |
О порядке действия на территории Российской Федерации нормативных актов бывшего Союза ССР в области санитарно-эпидемиологического благополучия населения |
Государственный комитет санитарно-эпидемиологического надзора при Президенте Российской Федерации на основании Закона РСФСР "О санитарно-эпидемиологическом благополучии населения" и Постановления Верховного Совета РСФСР "О ратификации Соглашения о создании Содружества Независимых Государств" от 12 декабря 1991 года постановляет:
Установить, что на территории России действуют санитарные правила, нормы и гигиенические нормативы, утвержденные бывшим Министерством здравоохранения СССР, в части, не противоречащей санитарному законодательству Российской Федерации, Указанные документы действуют впредь до принятия соответствующих нормативных актов Российской Федерации в области санитарно-эпидемиологического благополучия населения.
|
Председатель
Госкомсанэпиднадзора |
Е.Н. Беляев |
Аннотация
Методические указания по измерению концентраций вредных веществ в воздухе рабочей зоны предназначены для работников санитарно-эпидемиологических станций и санитарных лабораторий промышленных предприятий при осуществлении контроля за содержанием вредных веществ в воздухе рабочей зоны, а также научно-исследовательских институтов системы здравоохранения России и других заинтересованных министерств и ведомств.
Методические указания разрабатываются и утверждаются с целью обеспечения контроля соответствия фактических концентраций вредных веществ в воздухе рабочей зоны их предельно допустимым концентрациям (ПДК) - санитарно-гигиеническим нормативам, утвержденным Министерством здравоохранения СССР, оценки эффективности внедренных санитарно-гигиенических мероприятий, установления необходимости использования средств индивидуальной защиты органов дыхания, оценки влияния вредных веществ на состояние здоровья работающих.
Включенные в данный выпуск Методические указания подготовлены в соответствии с требованиями ГОСТ 12.1.005-88 "ССБТ. Общие санитарно-гигиенические требования к воздуху рабочей зоны" и ГОСТ 12.1.016-79 "ССБТ. Воздух рабочей зоны. Требования к методикам измерения концентраций вредных веществ" и одобрены Проблемной комиссией "Научные основы гигиены труда и профессиональной патологии" Методические указания являются обязательными при осуществлении вышеуказанного контроля.
Ответственные за выпуск: С.И. Муравьева, Г.А. Дьякова, К.М. Грачева, Е.В. Грыжина, В.Г. Овечкин
|
|
УТВЕРЖДЕНО Заместителем Главного
государственного "12" декабря 1988 г. № 4898-88 |
МЕТОДИЧЕСКИЕ УКАЗАНИЯ
по измерению концентраций 2-амино-4-метокси-6-метил-1,б/н,3,5-
триазина методом тонкослойной хроматографии в воздухе
рабочей зоны

М.м. 140,14
2-амино-4-метокси-6-метил-1,3,5-триазин - белое твердое вещество, Тпл. - 252 - 260 °С, упругость 1,4×10-7 мм рт. ст., летучесть - 1,1×10-6 мг/л, растворим в диметилформамиде, уксусной кислоте. В воздухе находится в виде аэрозоля и паров. Относится к препаратам с выраженными кумулятивными свойствами. ПДК в воздухе 2 мг/м3.
Метод основан на хроматографическом выделении триазина в тонком слое сорбента с последующим проявлением хроматограмм.
Отбор проб производится с концентрированием на фильтр и поглотительный прибор.
Нижний предел измерения вещества - 3 мкг в анализируемом объеме. Нижний предел измерения вещества в воздухе - 1,0 мг/м3 (при отборе 3 л воздуха).
Диапазон измеряемых концентраций в воздухе от 1,0 до 5,0 мг/м3.
Измерению не мешают: комплекс хлористого цинка с О-метил-гуанилизомочевиной, ацетонитрил, триэтиламин, ацетат триэтиламина, метанол.
Суммарная погрешность не превышает ±18,2 %.
Время выполнения измерения, включая отбор проб, 80 минут.
2-амино-4-метокси-6-метил-1,3,5-триазин.
Диметилформамид (ДМФА), х.ч., ГОСТ 20289-74.
Гептан, ч., ТУ 6-09-33-75-74.
Хлороформ, х.ч., ТУ 6-09-4263-76.
Метиловый спирт, ч.д.а., ТУ 6-09-945-76.
Нитрат серебра, ч.д.а., ГОСТ 277-75.
Аммиак водный 25 %, ч.д.а., ГОСТ 376-79.
Ацетон, ч., ГОСТ 2601-79.
Фильтр АФА-ВП-20.
Стандартный раствор № 1 - 2-амино-4-метокси-6-метил-1,3,5-триазин с концентрацией 100 мкг/мл готовят растворением 10 мг вещества в 100 мл ДМФА.
Подвижная фаза: гептан-хлороформ-метанол (30:20:8) по объему.
Проявляющий реактив: в 5 мл дистиллированной воды растворяют 0,5 г нитрата серебра прибавляют 5 - 7 мл амиака 25 %-го водного раствора и доводят ацетоном до 100 мл, облучают УФ-светом (30 сек).
Аспирационное устройство.
Фильтродержатели.
Хроматографическая камера, ГОСТ 10565-75.
Пульверизатор стеклянный, ГОСТ 10381-74.
Хроматографические пластинки "Силуфол R"-254 (ЧССР), 150×150 мм.
Пипетки, вместимостью 1, 2, 5 и 10 мл, ГОСТ 20292-74.
Колбы мерные 100 мл, ГОСТ 1770-74.
Лампа ПРК-4.
Испаритель ротационный, МРТУ 42-2589-66.
Цилиндры мерные на 50 мл, ГОСТ 1770-74.
Поглотительные приборы с пористой пластинкой № 1.
Воздух с объемным расходом 0,5 л/мин аспирируют через последовательно соединенные фильтр, помещенный в фильтродержатель, и поглотитель с пористой пластинкой, заполненный 10 мл ДМФА. Поглотительный прибор на время отбора проб помещают в сосуд со льдом.
Для измерения 1/2 ПДК следует отобрать 3 л воздуха.
Срок хранения проб 1 сутки.
Раствор из поглотительного прибора сливают в колбу для отгонки растворителей, прибор промывают дважды по 5 мл ДМФА и этими растворами обрабатывают фильтр, после чего экстракты объединяют и отгоняют под вакуумом при комнатной температуре. Нелетучий остаток растворяют в 0,2 мл ДМФА и наносят с помощью капилляра на хроматографическую пластинку так, чтобы диаметр пятна не превышал 1,0 см. Центр пятна должен быть на расстоянии 1,5 см от нижнего края пластинки. Одновременно на стартовую линию пластинки наносят серию стандартных растворов в количестве 3, 5, 7, 9, 15 мкг препарата. Пластинку помещают в камеру для хроматографирования, в которую за 30 минут до хроматографирования наливают подвижный растворитель. После поднятия фронта подвижного растворителя пластинку вынимают из камеры и оставляют на несколько минут на воздухе до полного испарения растворителя. После того, как растворитель испарится, пластинку обрабатывают проявляющим реактивом; когда исчезнет запах аммиака, хроматограмму облучают УФ-светом (30 сек).
Вещество проявляется в виде темно-желтого пятна на светло-желтом фоне Rf = 0,48.
Количественное определение проводят путем сравнения площади пятен стандартных растворов и проб с помощью планиметра и вычисляют площадь пятна.
Концентрацию 2-амино-4-метокси-6-метил-1,3,5-триазин "С" в воздухе в мг/м3 вычисляют по формуле:
С = (а × в)/(б × V), где
а - содержание вещества, найденное в анализируемом объеме пробы, мкг;
б - общий объем пробы, взятый для анализа, мл;
в - общий объем пробы, мл;
V - объем воздуха, отобранный для анализа и приведенный к стандартным условиям, л (см. Приложение 1).
Приведение объема воздуха к стандартным условиям проводят по следующей формуле:
![]()
где V - объем воздуха, отобранный для анализа, л;
Р - барометрическое давление, кПа (101,33 кПа = 760 мм рт. ст.);
t - температура воздуха в месте отбора пробы, °С.
Для удобства расчета V20 следует пользоваться таблицей коэффициентов (см. Приложение 2). Для приведения воздуха к стандартным условиям надо умножить V на соответствующий коэффициент.
Коэффициент К для приведения объема воздуха к стандартным условиям
|
°С |
Давление Р, кПа (мм рт. ст.) |
|||||||||
|
97,33 (730) |
97,86 (734) |
98,4 (738) |
98,93 (742) |
99,46 (746) |
100 (750) |
100,53 (754) |
101,06 (758) |
101,33 (760) |
101,86 (764) |
|
|
-30 |
1,1582 |
1,1646 |
1,1709 |
1,1772 |
1,1836 |
1,1899 |
1,1963 |
1,2026 |
1,2058 |
1,2122 |
|
-26 |
1,1393 |
1,1456 |
1,1519 |
1,1581 |
1,1644 |
1,1705 |
1,1763 |
1,1831 |
1,1862 |
1,1925 |
|
-22 |
1,1212 |
1,1274 |
1,1336 |
1,1396 |
1,1458 |
1,1519 |
1,1581 |
1,1643 |
1,1673 |
1,1735 |
|
-18 |
1,1036 |
1,1097 |
1,1159 |
1,1218 |
1,1278 |
1,1338 |
1,1399 |
1,1460 |
1,1490 |
1,1551 |
|
-14 |
1,0866 |
1,0926 |
1,0986 |
1,1045 |
1,1105 |
1,1164 |
1,1224 |
1,1284 |
1,1313 |
1,1373 |
|
-10 |
1,0701 |
1,0760 |
1,0819 |
1,0877 |
1,0986 |
1,0994 |
1,1053 |
1,1112 |
1,1141 |
1,1200 |
|
-06 |
1,0640 |
1,0599 |
1,0657 |
1,0714 |
1,0772 |
1,0829 |
1,0887 |
1,0945 |
1,0974 |
1,1032 |
|
-02 |
1,0385 |
1,0442 |
1,0499 |
1,0556 |
1,0613 |
1,0669 |
1,0726 |
1,0784 |
1,0812 |
1,0869 |
|
0 |
1,0309 |
1,0366 |
1,0423 |
1,0477 |
1,0535 |
1,0591 |
1,0648 |
1,0705 |
1,0733 |
1,0789 |
|
+02 |
1,0234 |
1,0291 |
1,0347 |
1,0402 |
1,0459 |
1,0514 |
1,0571 |
1,0627 |
1,0655 |
1,0712 |
|
+06 |
1,0087 |
1,0143 |
1,0198 |
1,0253 |
1,0309 |
1,0363 |
1,0419 |
1,0475 |
1,0502 |
1,0557 |
|
+10 |
0,9944 |
0,9990 |
1,0054 |
1,0108 |
1,0162 |
1,0216 |
1,0272 |
1,0326 |
1,0353 |
1,0407 |
|
+14 |
0,9806 |
0,9860 |
0,9914 |
0,9967 |
1,0027 |
1,0074 |
1,0128 |
1,0183 |
1,0209 |
1,0263 |
|
+18 |
0,9671 |
0,9725 |
0,9778 |
0,9880 |
0,9884 |
0,9936 |
0,9989 |
1,0043 |
1,0069 |
1,0122 |
|
+20 |
0,9605 |
0,9658 |
0,9711 |
0,9783 |
0,9816 |
0,9868 |
0,9921 |
0,9974 |
1,0000 |
1,0053 |
|
+22 |
0,9539 |
0,9592 |
0,9645 |
0,9696 |
0,9749 |
0,9800 |
0,9853 |
0,9906 |
0,9932 |
0,9985 |
|
+24 |
0,9475 |
0,9527 |
0,9579 |
0,9631 |
0,9683 |
0,9735 |
0,9787 |
0,9839 |
0,9865 |
0,9917 |
|
+26 |
0,9412 |
0,9464 |
0,9516 |
0,9566 |
0,9618 |
0,9669 |
0,9721 |
0,9773 |
0,9755 |
0,9851 |
|
+28 |
0,9349 |
0,9401 |
0,9453 |
0,9503 |
0,9955 |
0,9605 |
0,9657 |
0,9708 |
0,9734 |
0,9785 |
|
+30 |
0,9288 |
0,9339 |
0,9391 |
0,9440 |
0,9432 |
0,9542 |
0,9594 |
0,9646 |
0,9670 |
0,9723 |
|
+34 |
0,9167 |
0,9218 |
0,9268 |
0,9318 |
0,9368 |
0,9418 |
0,9468 |
0,9519 |
0,9544 |
0,9595 |
|
+38 |
0,9049 |
0,9099 |
0,9149 |
0,9198 |
0,9248 |
0,9297 |
0,9347 |
0,9397 |
0,9421 |
0,9471 |
|
№№ п/п |
Методические указания |
Учреждения, представившие Методические указания |
|
1 |
2 |
3 |
|
1 |
Методические указания по газохроматографическому измерению концентраций аллилглицидилового эфира в воздухе рабочей зоны |
НИИ ГТиПЗ АМН СССР |
|
2 |
Методические указания по газохроматографическому измерению концентраций аллил-2-метилпропеоната (аллилметакрилат, АлМАК) в воздухе рабочей зоны |
НИИ ГТиПЗ, г. Горький |
|
3 |
Методические указания по фотометрическому измерению концентраций аллил-(альфа)- цианакрилата и аллилцианацетата в воздухе рабочей зоны |
НИИ ГТиПЗ, г. Горький |
|
4 |
Методические указания по измерению концентраций 2-амино-4-метокси-6-метил-1,б/н,3,5-триазина методом тонкослойной хроматографии в воздухе рабочей зоны |
Мединститут, г. Львов |
|
5 |
Методические указания по хроматографическому измерению концентраций бициклата в воздухе рабочей зоны |
ВНИИГИНТОКС г. Киев |
|
6 |
Методические указания по фотометрическому измерению концентраций бромида аммония в воздухе рабочей зоны |
НИИМСК, г. Ярославль |
|
7 |
Методические указания по измерению концентраций бромида калия потенциометрическим титрованием с ионселективным электродом в воздухе рабочей зоны |
НИИМСК, г. Ярославль |
|
8 |
Методические указания по измерению концентраций бромида лития методом пламенной фотометрии в воздухе рабочей зоны |
НИИМСК, г. Ярославль |
|
9 |
Методические указания по газохроматографическому измерению концентраций О-бромтолуола в воздухе рабочей зоны |
НИИ ГТиПЗ АМН СССР |
|
10 |
Методические указания по измерению концентраций гексабромциклододекакана (ГБЦД) методом тонкослойной хроматографии в воздухе рабочей зоны |
ВНИИГИНТОКС, г. Киев |
|
11 |
Методические указания по фотометрическому измерению концентраций диалкилдиметил-аммоний хлорида (С17 - С20) и алкилбензилдиметиламмоний хлорида (С10 - С16)-ДОН-2, диалкиламинопропионитрила (С7 - С9)-Ифхангаз, алкилтриметиламмоний хлорида (C10 - C16), ДОН-52 в воздухе рабочей зоны |
Ростовский-на-Дону мединститут |
|
12 |
Методические указания по газохроматическому измерению концентраций диметилацеталя-(альфа)-бром-(бета)-метоксипропионового альдегида в воздухе рабочей зоны |
Мединститут, г. Донецк |
|
13 |
Методические указания по газохроматографическому измерению концентраций диметилацеталя-(бета)- метоксиакролеина в воздухе рабочей зоны |
- « - |
|
14 |
Методические указания по фотометрическому измерению концентраций 5,5-диметилгидантоина в воздухе рабочей зоны |
Организация Минхимпром |
|
15 |
Методические указания по газохроматографическому измерению концентраций диметилэтинилкарбинола (ДМЭК) в воздухе рабочей зоны |
НИИ ГТиПЗ АМН СССР |
|
16 |
Методические указания по газохроматографическому измерению концентраций изопропилциклогексана (гидрокумола) в воздухе рабочей зоны |
ГорСЭС, г. Москвы |
|
17 |
Методические указания по измерению концентраций ингибиторов КЛОЭ-15 и ВНХ-1 методом тонкослойной хроматографии в воздухе рабочей зоны |
НИИ ГТиПЗ, г. Киев |
|
18 |
Методические указания по фотометрическому измерению концентраций кальциевой соли карбоксиметилцеллюлозы в воздухе рабочей зоны |
НИИ ГТиПЗ, г. Ангарск |
|
19 |
Методические указания по газохроматографическому измерению концентраций канифоли и модифицированной моноэтаноламином канифоли в воздухе рабочей зоны |
Белорусский санитарно-гигиенический институт |
|
20 |
Методические указания по фотометрическому измерению концентраций соединений кальция (ОВК, поликара, гидроксидакальция) в воздухе рабочей зоны |
Армянский НИИ ГТиПЗ г. Ереван |
|
21 |
Методические указания по измерению концентраций кобальту, титана и вольфрама методом атомно-абсорбционной спектрофотометрии в воздухе рабочей зоны |
НИИ ГТиПЗ АМН СССР |
|
22 |
Методические указания по фотометрическому измерению концентраций синтетических моющих средств "Лотос- автомат", "Эра-A", "Био-С", "Юка", "Вихрь", "Бриз" по основному компоненту - поверхностно-активному веществу додецилбензолсульфонату натрия в воздухе рабочей зоны |
Мединститут, г. Донецк |
|
23 |
Методические указания по измерению концентрации люминофора ФГИ-520-1 методом атомно-абсорбционной спектрофотометрии в воздухе рабочей зоны |
Мединститут, г. Ставрополь |
|
24 |
Методические указания по фотометрическому измерению концентраций люминофора Л-43 в воздухе рабочей зоны |
Мединститут, г. Ставрополь |
|
25 |
Методические указания по газохроматографическому измерению концентраций метилового эфира ацетоуксусной кислоты в воздухе рабочей зоны |
НИИ ГТиПЗ, г. Уфа |
|
26 |
Методические указания по газохроматографическому измерению концентраций метилпиразола в воздухе рабочей зоны |
Армянский НИИ ГТиПЗ г. Ереван |
|
27 |
Методические указания по фотометрическому измерению концентрации монохлорацетата натрия в воздухе рабочей зоны |
НИИ ГТиПЗ, г. Уфа |
|
28 |
Методические указания по хроматографическому измерению концентраций альфа-нафтоксипропионовой кислоты в воздухе рабочей зоны |
НИИ ГТиПЗ, г. Уфа |
|
29 |
Методические указания по газохроматографическому измерению концентраций 2-нитро-4-хлорфенола в воздухе рабочей зоны |
НИИ ГТиПЗ, АМН СССР |
|
30 |
Методические указания по измерению концентрации оксим-2-метил-1-диэтиламинобутанона-3(аминооксима) в воздухе рабочей зоны методом тонкостлойной хроматографии |
НИИ ГТиПЗ, г. Киев |
|
31 |
Методические указания по газохроматографическому измерению концентраций пентанола-2 в воздухе рабочей зоны |
НИИ ГТиПЗ АМН СССР |
|
32 |
Методические указания по фотометрическому измерению концентраций пирокатехина, резорцина, гидрохинона в воздухе рабочей зоны |
НИИ гигиены водного транспорта г. Одесса |
|
33 |
Методические указания по фотометрическому измерению концентраций селеноводорода в воздухе рабочей зоны |
НПО "Исток" Фрязино |
|
34 |
Методические указания по газохроматографическому измерению концентраций толуола в воздухе рабочей зоны с применением для отбора проб пассивных дозиметров |
НИИ ГТиПЗ АМН СССР |
|
35 |
Методические указания по фотометрическому измерению концентраций 4, 5, 6-триаминопиримидина сернокислого (TAП∙H2SО4) в воздухе рабочей зоны |
Мединститут г. Рига |
|
36 |
Методические указания по фотометрическому измерению 1-(2', 4', 6' - трихлорфенил)-3-[3''-(2''', 4'''-дитретамилфеноксиацетиламино) бензоиламино]-4-(4''''-метоксифенилазо)-пиразолона-5 в воздухе рабочей зоны |
НИИМСК г. Ярославль |
|
37 |
Методические указания по фотометрическому измерению концентраций 2, 4, 6-трихлорфенилгидразина в воздухе рабочей зоны |
КазНИИ фотопроект |
|
38 |
Методические указания по фотометрическому измерению концентрации 1-(2', 4', 6'-трихлорфенил)-3 [3''-(2''',4'''-дитретамилфеноксиацетиламино) бензоиламино]-пиразолона-5 в воздухе рабочей смеси |
НИИМСК г. Ярославль |
|
39 |
Методические указания по фотометрическому измерению концентраций (фенилазо) малондинитрила в воздухе рабочей зоны |
Мединститут г. Рига |
|
40 |
Методические указания по фотометрическому измерению концентрации фузикокцина в воздухе рабочей зоны |
- « - |
|
41 |
Методические указания по фотометрическому измерению концентраций фурадонина в воздухе рабочей зоны |
- « - |
|
42 |
Методические указания по измерению концентраций О-хлорбензолсульфамида методом тонкослойной хроматографии в воздухе рабочей зоны |
Мединститут г. Львов |
|
43 |
Методические указания по измерению концентраций О-хлорбензолсульфохлорида методом тонкослойной хроматографии в воздухе рабочей зоны |
Мединститут г. Львов |
|
44 |
Методические указания по газохроматографическому измерению концентраций циклододеканоноксима и додекалактама в воздухе рабочей зоны |
ГорСЭС г. Москва |
|
45 |
Методические указания по измерению концентраций цинкового комплекса диэтилен- триаминпентауксусной кислоты методом атомно-абсорбционной спектрофотометрии в воздухе рабочей зоны |
Ростовский-на-Дону мединститут |
Вещества, определяемые по ранее утвержденным и опубликованным Методическим Указаниям:
|
Наименование вещества |
Опубликованные Методические Указания |
|
пентаэритрит |
МУ на гравиметрическое определение пыли в воздухе рабочей зоны и в системах вентиляционных установок. М., 1981, с. 235 (переизданный сборник МУ вып. 1 - 5) |
|
фторуглеродные волокна |
|
|
2-нафтойная кислота |
|
|
эпоксидная смола Э-23 |
- « - |
|
эпоксидная краска |
|
|
ПЭП-534 |
|
|
гексаметиллендиамин уксуснокислый |
МУ на колориметрическое определение гексаметилендиамина в воздухе М., 1981, с. 106 (переизданный сборник МУ, вып. 1 - 5) Отбор проб на фильтр АФА-ВП-20 |
|
2,2-дипиридил с этилдихлорсиланом |
МУ по хроматографическому измерению концентраций 2,2-дипиридила в воздухе, в.23/1 с. 41 (в печати) |
|
рифампицин |
МУ по фотометрическому определению рифампицина в воздухе, М., в. XVIII, с. 198 |
|
6. Катализатор Дабко |
|
|
эпоксидные клеи |
МУ по газохроматографическому измерению концентраций эпихлоргидрина в воздухе, М., 1988, вып. 22, с. 378 |
|
УП-5-207, УП-207-3, |
|
|
УП-5-253, УП-5-240, |

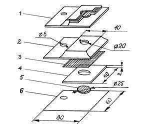
Рис. 1. Пассивный дозиметр ПД-1
1. Общий вид в разрезе
2. Верхняя крышка (фольгированный материал)
3. Мемебрана (фильтр "красная лента")
4. Вкладыш картонный для адсорбента
5. Подложка под адсорбент (стекловолокно ФСВ-А)
6. Нижняя крышка (фольгированный материал)
СОДЕРЖАНИЕ