Carbon materials. Test method for thermal conductivity at room temperaturе

ФЕДЕРАЛЬНОЕ АГЕНТСТВО
ПО ТЕХНИЧЕСКОМУ РЕГУЛИРОВАНИЮ И МЕТРОЛОГИИ

НАЦИОНАЛЬНЫЙ
стандарт
РОССИЙСКОЙ
ФЕДЕРАЦИИ

ГОСТ Р
54254-
2010

Материалы углеродные

МЕТОД ОПРЕДЕЛЕНИЯ ТЕПЛОПРОВОДНОСТИ
ПРИ КОМНАТНОЙ ТЕМПЕРАТУРЕ

Москва

Стандартинформ

2013

Предисловие

Цели и принципы стандартизации в Российской Федерации установлены Федеральным законом от 27 декабря 2002 г. № 184-ФЗ «О техническом регулировании», а правила применения национальных стандартов Российской Федерации - ГОСТ Р 1.0-2004 «Стандартизация в Российской Федерации. Основные положения»

Сведения о стандарте

1 РАЗРАБОТАН Открытым акционерным обществом «Уральский электродный институт»

2 ВНЕСЕН Техническим комитетом по стандартизации ТК 109 «Электродная продукция»

3 УТВЕРЖДЕН И ВВЕДЕН В ДЕЙСТВИЕ Приказом Федерального агентства по техническому регулированию и метрологии от 23 декабря 2010 г. № 1055-ст

4 ВВЕДЕН ВПЕРВЫЕ

Информация об изменениях к настоящему стандарту публикуется в ежегодно издаваемом информационном указателе «Национальные стандарты», а текст изменений и поправок - в ежемесячно издаваемых информационных указателях «Национальные стандарты». В случае пересмотра (замены) или отмены настоящего стандарта соответствующее уведомление будет опубликовано в ежемесячно издаваемом информационном указателе «Национальные стандарты». Соответствующая информация, уведомление и тексты размещаются также в информационной системе общего пользования - на официальном сайте Федерального агентства по техническому регулированию и метрологии в сети Интернет

ГОСТ Р 54254-2010

НАЦИОНАЛЬНЫЙ СТАНДАРТ РОССИЙСКОЙ ФЕДЕРАЦИИ

Материалы углеродные

МЕТОД ОПРЕДЕЛЕНИЯ ТЕПЛОПРОВОДНОСТИ ПРИ КОМНАТНОЙ ТЕМПЕРАТУРЕ

Carbon materials.
Test method for thermal conductivity at room temperature

Дата введения -2012-07-01

1 Область применения

Настоящий стандарт устанавливает метод определения теплопроводности углеродных материалов в квазистационарном режиме в диапазоне 2,5-250 Вт/(м · К) при температуре окружающей среды с использованием измерителя теплопроводности типа ИТ-30М.

2 Нормативные ссылки

В настоящем стандарте использованы нормативные ссылки на следующие стандарты:

ГОСТ Р 54256-2010 Продукция электродная. Термины и определения

ГОСТ 166-89 (ИСО 3599-76) Штангенциркули. Технические условия

ГОСТ 6259-75 Реактивы. Глицерин. Технические условия

ГОСТ 8026-92 Линейки поверочные. Технические условия

ГОСТ 18300-87 Спирт этиловый ректификованный технический. Технические условия

Примечание - При пользовании настоящим стандартом целесообразно проверить действие ссылочных стандартов в информационной системе общего пользования - на официальном сайте Федерального агентства по техническому регулированию и метрологии в сети Интернет или по ежегодно издаваемому информационному указателю «Национальные стандарты», который опубликован по состоянию на 1 января текущего года, и по соответствующим ежемесячно издаваемым информационным указателям, опубликованным в текущем году. Если ссылочный стандарт заменен (изменен), то при пользовании настоящим стандартом следует руководствоваться заменяющим (измененным) стандартом. Если ссылочный стандарт отменен без замены, то положение, в котором дана ссылка на него, применяется в части, не затрагивающей эту ссылку.

3 Термины, определения и обозначения

В настоящем стандарте применены термины и определения по ГОСТ Р 54256-2010, а также следующий термин с соответствующим определением:

3.1 теплопроводность l, Вт/(м·К): Отношение поверхностной плотности теплового потока, пропущенного через образец, к температурному градиенту.

4 Оборудование и материалы

4.1 Измеритель типа ИТ-30М приведен в приложении А.

4.2 Мера теплопроводности с относительной погрешностью поверки не более ± 5,0 % со значением l, соответствующим диапазону теплопроводности испытуемых углеродных материалов.

4.3 Штангенциркуль типа ШЦ-1-125 с ценой деления 0,05 мм по ГОСТ 166.

4.4 Поверочная линейка с широкой поверхностью, имеющая отклонения от плоскости 2,5 - 100 мк по ГОСТ 8026.

4.5 Спирт этиловый ректификованный технический высшего или первого сорта по ГОСТ 18300.

4.6 Глицерин по ГОСТ 6259.

4.7 Допускается использовать другие средства измерений и материалы с характеристиками, соответствующими требованиям настоящего стандарта.

4.8 Используемые средства измерений должны быть поверены или калиброваны.

5 Подготовка к проведению испытания

5.1 Требования к испытуемым образцам

5.1.1 Испытания проводят на цилиндрических образцах диаметром 20 - 30 мм, высотой 20 - 40 мм.

5.1.2 Место отбора проб, направление отбора проб относительно оси прессования заготовки, а также число заготовок, отбираемых от партии углеродной продукции, должны быть указаны в нормативном документе на изделие соответствующего вида.

5.1.3 Испытывают не менее двух образцов, отобранных от одного изделия.

5.1.4 На образцах не должно быть сколов и трещин. Торцы образцов должны быть с отклонением от плоскостности, не превышающей 0,01 мм, определяемой при помощи поверочной линейки с широкой поверхностью.

5.1.5 Если форма и размеры образца не оговорены в нормативном документе, испытание проводят на цилиндрических образцах диаметром (30,0 ± 0,1) мм и высотой (40,0 ± 0,1) мм.

5.1.6 Проверку образцов на соответствие требованию 5.1.5 проводят путем трехкратного измерения штангенциркулем диаметра и высоты каждого образца.

5.2 Условия испытания

Температура окружающей среды должна быть от 15 °С до 30 °С.

5.3 Подготовка измерителя теплопроводности

5.3.1 Протирают этиловым спиртом контактные поверхности термоблоков для обезжиривания.

5.3.2 Включают прибор в соответствии с руководством по эксплуатации.

5.3.3 Нажимают кнопку «ПУСК» для прогрева установки. Звуковой сигнал, непрерывное свечение светодиода «ПРОГРЕВ» и высвечивание числа «100» на цифровом дисплее означают окончание режима прогрева.

5.4 Контроль точности результатов измерений

5.4.1 Смачивают глицерином торцевую поверхность меры теплопроводности.

5.4.2 Устанавливают меру в центр нижнего термоблока измерителя теплопроводности и опускают верхний термоблок.

5.4.3 Нажимают кнопку «ПУСК». Измеренное значение теплопроводности высвечивается на табло прибора.

5.4.4 Допускаемое отклонение измеренного значения от значения теплопроводности меры должно быть не более ± 5,0 %.

5.4.5 Теплопроводность меры определяют перед началом серии измерений не реже одного раза вдень.

6 Проведение испытания

6.1 Смачивают глицерином торцевую поверхность углеродного образца.

6.2 Устанавливают образец в центр нижнего термоблока измерителя теплопроводности и опускают верхний термоблок.

6.3 Нажимают кнопку «ПУСК». Измеренное значение теплопроводности высвечивается на табло прибора.

6.4 Испытания проводят не менее чем на двух образцах.

7 Обработка и оформление результатов испытаний

7.1 За окончательный результат испытания принимают среднеарифметическое значение результатов измерений теплопроводности, испытанных образцов одного изделия.

7.2 Результат выражают с точностью, установленной в нормативной документации на выпускаемую продукцию.

7.3 Результат испытания фиксируют в протоколе рекомендуемой формы.

7.4 Относительная приборная погрешность определения теплопроводности при доверительной вероятности Р = 0,95 должна быть не более 7,0 %.

Относительная погрешность метода определения теплопроводности при доверительной вероятности Р = 0,95 должна быть не более 10,0 %.

8 Протокол испытаний

Протокол испытаний должен содержать:

- наименование объекта испытания;

- контролируемые геометрические размеры образцов;

- ссылку на настоящий стандарт;

- тип, заводской номер и характеристики использованного измерителя теплопроводности;

- наименование лаборатории, дату и время проведения испытания;

- температуру окружающей среды;

- результаты определения теплопроводности образцов (единичные значения и окончательный результат, указанные в 7.1 - 7.2);

- наименование меры теплопроводности, использованной для контроля точности результатов, дату и результат измерения теплопроводности меры;

- указание о соответствии полученных результатов заданным нормам точности;

- дополнительные сведения (необычные особенности, которые происходили при проведении испытания и которые могут повлиять на его результат).

Приложение А
(справочное)

Измеритель теплопроводности цифровой ИТ-30М для определения
теплопроводности углеродных материалов

А.1 Измеритель ИТ-30М предназначен для определения теплопроводности твердых образцов углеродных материалов в диапазоне (2,5 - 250) Вт/(м · К). Предел допускаемой относительной погрешности ± 7,6 %.

Теплопроводность материалов определяют в квазистационарном режиме, при котором через образец проходит постоянный тепловой поток, создаваемый и измеряемый термоэлектрическими устройствами. Перепад температур на образце определяют дифференциальной термопарой.

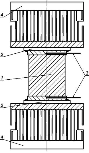
А.2 Измеритель теплопроводности состоит из измерительного и приборного блоков. Измерительный блок включает в себя верхний и нижний термоблоки с термоэлектрическими устройствами, первичный преобразователь температуры, теплоотводы.

Калибровочная кривая (отношение разности потенциалов на термоэлектрических устройствах к разности потенциалов на дифференциальной термопаре как функция ), полученная для мер теплопроводности, находится в памяти приборного блока измерителя.

А.3 Ток через термоэлектрические устройства протекает таким образом, что при нагреве верхнего конца образца нижний конец охлаждается, что создает постоянный тепловой поток через образец. Время установления стационарного теплового потока определяют на образцовых мерах по стабилизации термоэлектрического сигнала до третьей значащей цифры.

Первичным преобразователем температуры является дифференциальная медь - константановая термопара. Теплоотвод осуществляют вентиляторами.

А.4 Значение теплопроводности определяется в приборном блоке путем сравнения отношения электрических сигналов от термоэлектрического устройства и дифференциальной термопары, полученного для образца, с отношением для мер теплопроводности. Значение l высвечивается на электронном табло приборного блока.

А.5 Принципиальная схема измерительного блока ИТ-30М показана на рисунке А.1.

1 - образец; 2 - термоэлектрическое устройство; 3 - дифференциальная термопара; 4 - вентилятор

Рисунок А.1-Принципиальная схема измерительного блока ИТ - 30М

Ключевые слова: материалы углеродные, теплопроводность, измеритель теплопроводности, мера