ПНИИИС Госстроя СССР
Рекомендации
по геофизическим
работам
при инженерных
изысканиях
для строительства
(электроразведка)

Москва СТРОЙИЗДАТ 1984
Рекомендации составлены канд. геол.-минерал. наук А.Н. Боголюбовым, инж. Н.П. Боголюбовой (главы 1 - 6, 8, 11, 12, ПНИИИС) и инженерами В.В. Лисицыным, Н.П. Курандиным (главы 7, 9, 10, производственное объединение «Стройизыскания» Госстроя РСФСР).
При составлении рекомендаций использованы материалы из работ А.Н. Боголюбова, И.А. Брашниной, Р.И. Коркиной, А.Э. Липской, И.М. Блоха и В.А. Ряполовой, Н.С, Лиханова, В.П. Мельникова, А.М. Снегирева, В.Я. Пригоды, О.В. Стихова, Н.Н. Шаропанова, Г.Я. Черняка, В.А. Барона.
СОДЕРЖАНИЕ
В нашей стране непрерывно растут объемы промышленного, гражданского, сельскохозяйственного и других видов строительства, связанные как с освоением новых территорий, так и с возведением сооружений в обжитых районах. Застраиваемые территории часто характеризуются сложными геолого-структурными и инженерно-геологическими условиями. В связи с этим к надежности и точности инженерных изысканий предъявляют повышенные требования, что приводит к значительному увеличению объемов горно-буровых работ. Применение геофизических методов разведки способствует повышению качества изысканий при одновременном снижении затрат средств и времени на их производство. Среди них электроразведка занимает одно из ведущих мест по следующим причинам.
Во-первых, электроразведка позволяет определять строение среды даже в сложных геолого-структурных условиях, что делает ее весьма эффективной при решении большинства задач инженерных изысканий.
Во-вторых, электроразведочные методы дешевы, удобны в применении, мобильны и не требуют громоздкого оборудования.
В настоящее время известно большое количество электроразведочных методов, различающихся по используемым полям, измеряемым параметрам, степени разработанности теории и приемов интерпретации, обеспеченности аппаратурой и оборудованием. Все эта поставило авторов перед необходимостью выбора тех электроразведочных методов, которые обеспечивают наиболее полное решение задач инженерных изысканий при наименьших затратах средств и времени. В рекомендациях рассмотрены только те методы, которые отвечают следующим требованиям:
обеспеченность серийной аппаратурой и оборудованием;
наличие достаточно полной теории метода;
существование разработанной методики интерпретации результатов измерений.
Методы, не удовлетворяющие любому из перечисленных требований, не были рекомендованы, что отнюдь не умаляет их достоинств. При доведении их до требуемой кондиции они будут внесены в рекомендации при переиздании последних.
Настоящие рекомендации составлены в соответствии со СНиП II-9-78 «Инженерные изыскания в строительстве. Основные положения» и СН 255-79 «Инструкция по инженерным изысканиям для промышленного строительства».
Удельное электрическое сопротивление (УЭС)
1.1. УЭС горных пород изменяется в широких пределах от долей Ом⋅м до сотен тысяч и даже миллионов Ом⋅м. В табл. 1 приведены значения УЭС некоторых из них.
|
Наименование породы |
УЭС, Ом⋅м |
|
Изверженные и метаморфические породы |
|
|
Базальт |
2×101 |
|
Гнейс |
2×102 - 3,4×104 |
|
Гранит |
3×102 |
|
Диабаз |
2×10 - 2×104 |
|
Диорит |
5×104 |
|
Кварцит |
10×105 |
|
Кристаллический сланец |
2×104 |
|
Мрамор |
102 - 105 |
|
Осадочные породы |
|
|
Ангидрит |
102 - 105 |
|
Глина, содержащая соленую воду |
0,5 - 10 |
|
Глинистые сланцы |
4×10-4 - 9×102 |
|
Известняк |
6×10 - 5×102 |
|
Каменная соль |
3×10 - 105 |
|
Конгломерат |
2,5×10 - 1,15×104 |
|
Мергель |
0,5 - 7×10 |
|
Песок |
0,5 - 7×10 |
|
Песок, насыщенный пресной водой |
10 - 6×10 |
|
Песок, насыщенный соленой водой |
0,2 - 4 |
|
Песчаник |
3×10 - 1×105 |
|
Суглинок |
10 - 4,5×102 |
1.2. Проводимость горных пород по своей природе может быть электронной и ионной. Первой обладают отдельные минералы, а второй - влага, насыщающая поровое пространство. Для большинства горных пород и особенно для пород осадочного комплекса ионная проводимость является доминирующей. Поэтому УЭС пород тесно связано с пористостью, степенью заполнения пор водой (влажностью) и ее минерализацией.
1.3. УЭС талых пород слабо зависит от температуры. Эта зависимость описывается формулой
|
|
(1) |
где ρt° и ρ18° - УЭС пород при температуре t° и 18° С соответственно;
αt - температурный коэффициент, примерно равный 0,025 °С-1.
В практической деятельности влиянием положительной температуры на УЭС пород можно пренебречь.
1.4. При отрицательных температурах свободная вода переходит в лед, и прохождение тока через мерзлую породу осуществляется по пленкам незамерзшей, главным образом, связанной воды, окружающим зерна минерального скелета и льда. Присутствие льда как породообразующего минерала уже само по себе меняет электрические свойства пород, присущие им в талом состоянии, а многообразие взаимодействия незамерзшей воды с минеральным скелетом и льдом делает очень широким диапазон изменения электрических свойств в зависимости от состава, структуры и типа криогенной текстуры.
1.5. Зависимость УЭС мерзлых рыхлых пород (гальки, песков, супесей, суглинков, глин) с массивной криогенной текстурой от их температуры изображена на рис. 1. Там же представлена зависимость УЭС талых рыхлых пород от их состава и влажности при нормальной минерализации воды (M = 0,1 - 0,3 г/л) и положительной температуре.
1.6. Минерализация грунтовых вод оказывает существенное влияние на УЭС как вод, так и горных пород.
1.7. Переход от УЭС воды к ее минерализации осуществляется по формулам:
или
|
|
(3) |
где K1 и K2 - переходные коэффициенты, зависящие от класса воды. Например, для группы Na+ гидрокарбонатного класса и группы Са++ и Na+ хлоридного класса получен коэффициент K2 = 1,03; для группы Са++ гидрокарбонатного класса K2 = 1,11; для группы Na+ сульфатного класса K2 = 1,19; для группы Са++ и Mg++ сульфатного класса K2 = 1,4. Точность определения минерализации не менее ±4 - 8 %, если известен относительный состав (класс и группа) изучаемой воды.
1.8. Для определения минерализации вод без учета их относительного состава используют корреляционную зависимость вида ρ20° = F(M) (рис. 2), которую составляют для каждого района исследований отдельно по установленным в ходе работ данным о величинах УЭС и минерализации поверхностных и подземных вод.
Рис. 1. Приближенная
зависимость УЭС мерзлых рыхлых пород с массивной
криогенной текстурой от состава и температуры (по А.Н. Боголюбову) и УЭС
талых пород от состава и влажности (по Н.Н. Шаропанову и др.)
Рис. 2. Корреляционная
зависимость
УЭС воды от минерализации (по И.А. Брашниной)
1.9. На рис. 3 изображены зависимости удельного сопротивления водонасыщенных рыхлых пород от общей минерализации грунтовых вод. Они построены по результатам интерпретации кривых вертикальных электрических зондирований (ВЭЗ), выполненных вблизи скважин и шурфов.
1.10. УЭС льда также зависит от концентрации (минерализации) замерзшего электролита и температуры. Характер этой зависимости показан на рис. 4.
1.11. Для определения льдистости, коэффициента анизотропии и криотекстуры мерзлых пород составлены специальные номограммы (рис. 5 - 8), описывающие зависимости: ρm/ρn; ρt/ρn от температуры, льдистости и анизотропии для песков, супесей, суглинков и глин, где ρm - среднеквадратическое УЭС мерзлой породы со шлировой криогенной текстурой; ρt - продольное УЭС мерзлой породы с массивной криогенной текстурой; ρn - УЭС породы с массивной криогенной текстурой, залегающей между шлирами льда; ρm - определяется путем интерпретации кривых ВЭЗ; ρt - определяется при измерениях в скважинах зондами по методу сопротивления.
Величина ρn снимается с обобщенных кривых, приведенных на рис. 1.
Рис. 3. Зависимость
удельного сопротивления водонасыщенных пород
от общей минерализации воды М
Водовмещающие породы: 1
- гравийно-галечниковые отложения;
2 - пески; 3 - легкие суглинки; 4 - средние и тяжелые
суглинки
1.12. Правила пользования этими номограммами следующие. Зная состав и приблизительную температуру мерзлой толщи, находят по номограмме (см. рис. 1) значение ρn, которое свойственно ей при массивной криогенной текстуре. Далее вычисляют отношение ρm/ρn или ρt/ρn в зависимости от того, каким способом получено значение УЭС, и, выбрав номограмму (см. рис. 5 - 8), соответствующую данной породе, определяют величины льдистости Лв, коэффициента анизотропии при горизонтально-слоистой или сетчатой криогенной текстуре при одной и той же температуре.
1.13. Льдистость и коэффициент анизотропии мерзлых глин и суглинков с сетчато-слоистой криогенной текстурой могут быть учтены с помощью номограммы, связывающей значения Лв и λ с соотношением q/m и m при μ2 ≈ 100 (рис. 9). Для этого необходимо в нижней части номограммы, описывающей зависимость Лв от q/m и m, отложить величины Лв сл и Лв ст, полученные в предположении горизонтально-слоистой (q/m = 0) или равномерно-сетчатой (q/m = 1) криогенной текстуры. Соединив эти два значения Лв прямой линией, находим точку пересечения ее с кривой, соответствующей заданному значению m. Координаты этой точки будут равны Лв.ст.сл и q/m, в соответствии с которыми может быть найден коэффициент анизотропии по кривым во второй части номограммы. Во всех случаях задача решается однозначно, если известны ρm или ρt, состав, температура, тип криогенной текстуры и соотношение m или состав, ρm и ρt мерзлой породы. Точность решений не выходит за пределы ±0,1 при оценке льдистости и коэффициента анизотропии.
Рис. 4. Приближенная зависимость УЭС льда от температуры и минерализации
1 - значения УЭС льда, полученные А.М. Снегиревым;
2 - Значения УЭС льда, полученные Ю.Д. Зыковым
Рис. 5. Номограмма,
изображающая зависимость ρm/ρn, ρt/ρn или ρm/ρn = ρt/ρn
от температуры, льдистости и коэффициента анизотропии в глинах со слоистой (а)
и равномерно-сетчатой (б) криогенной текстурой при
минерализации льда 100 мг/л (по А.Н. Боголюбову)
Рис. 6. Номограмма,
изображающая зависимость ρm/ρn, ρt/ρn или ρm/ρn = ρt/ρn
от температуры, льдистости и
коэффициента анизотропии в суглинках со слоистой криогенной
текстурой (в), с равномерно-сетчатой криогенной текстурой (б)
при минерализации льда 100 мг/л (по А.Н. Боголюбову)
Рис. 7. Номограмма,
изображающая зависимость ρm/ρn, ρt/ρn или ρm/ρn = ρt/ρm
от льдистости и коэффициента анизотропии в супесях со слоистой (а)
и равномерно-сетчатой (б) криогенной текстурой (по А.Н. Боголюбову)
Рис. 8. Номограмма,
изображающая зависимость ρm/ρn, ρt/ρn или ρm/ρn = ρt/ρn
от температуры, льдистости, коэффициента анизотропии для пылеватых песков со
слоистой (а)
и равномерно-сетчатой криогенной текстурой (б) (по А.Н. Боголюбову)
1.14. При отсутствии необходимых сведений о составе
мерзлых пород с помощью имеющихся номограмм могут быть получены приближенные
значения Лв, λ и
. Из этих данных выбирают наиболее
вероятные значения для исследуемого района. Установленные зависимости дают
возможность применять электроразведку с целью определения состава и физических
свойств мерзлых грунтов.
Поляризуемость горных пород
1.15. Поляризуемость проводящих горных пород зависит от многих природных факторов, среди которых существенную роль играют влажность, концентрация солей во внутрипоровой влаге, пористость, гранулометрический состав, минералогический состав, структура (дисперсность, анизотропия) и др. Величина поляризуемости мерзлых пород, кроме вышеперечисленных факторов, зависит и от температуры.
1.16. Номограмма, отражающая характер зависимости поляризуемости от весовой влажности для пород различного литологического состава, представлена на рис. 10. На ней видно, что для песчано-глинистых грунтов максимальные значения поляризуемости соответствуют тяжелым супесям - легким суглинкам. Низкие значения η характерны, с одной стороны, для водонасыщенных крупнообломочных по род, с другой - для однородных глинистых грунтов.
Рис. 9. Номограмма, изображающая зависимость
льдистости, коэффициента
анизотропии глин и суглинков с сетчато-слоистой криогенной текстурой от
соотношения
суммарных мощностей шлиров льда и прослоев мерзлой породы с
массивной криогенной текстурой в различных направлениях (по А.Н. Боголюбову);
m -
отношение суммарных мощностей прослоев льда и породы в основной системе шлиров;
q -
то же, в подчиненных системах шлиров
Рис. 10. Приближенная
зависимость поляризуемости
песчано-глинистых грунтов от их влажности
Рис. 11. Зависимость
поляризуемости кварцевого песка (фракция 0,25 - 0,5 мм),
отмытого от водорастворимых соединений,
от влажности и температуры (по А.М. Снегиреву)
Указанная зависимость осложняется дополнительным увеличением поляризуемости кварцевого песка до η = 3 - 5 % при малой влажности (W = 3 - 5 %).
1.17. При повышении минерализации растворов поляризуемость талых пород уменьшается и практически исчезает при содержании солей более 10 г/л, а максимум кривой η (W) при увеличении концентрации порового раствора сдвигается в область малых влажностей.
1.18. Лабораторными и полевыми исследованиями установлено, что разрушенные и трещиноватые известняки характеризуются пониженными значениями поляризуемости. При этом поляризуемость уменьшается с увеличением коэффициента пористости (табл. 2).
(По Э.Н. Кузминой)
|
№ образца |
Коэффициент пористости |
η, % |
№ образца |
Коэффициент пористости |
η, % |
|
24 |
0,63 |
0,55 |
12 |
0,40 |
1,9 |
|
9 |
0,51 |
0,9 |
28 |
0,0983 |
3,34 |
1.19. Для мерзлых ионопроводящих пород диапазон изменения поляризуемости значительно шире, чем у талых. Он изменяется от долей процента до 20 % и более. В качестве примера можно привести таблицу значений η и α мерзлых пород по одному из районов центральной Якутии.
(По А.М. Снегиреву)
|
Возраст |
Наименование пород |
η % |
|
|
t |
Известняки, доломиты |
0,6 - 1,5 |
0,3 - 0,7 |
|
Cr1 |
Переслаивание песков, глин, алевролитов |
0,5 - 1,5 |
0,3 - 0,7 |
|
I |
Переслаивание песков, алевролитов, глин и песчаников |
1,0 - 15,0 |
0,6 - 0,9 |
|
Q |
Чередование суглинков, супесей, песков, глин |
0,5 - 2,0 |
0,4 - 0,8 |
Зависимость поляризуемости мерзлого кварцевого песка от влажности и температуры представлена на рис. 11.
1.20. На поляризуемость мерзлых горных пород, как и на их УЭС, существенное влияние оказывает лед. Его поляризуемость может достигать 10 % и более, что зависит от концентрации исходного электролита и температуры.
1.21. Указанные зависимости показывают, что наиболее полное представление о составе, структуре, влажности и других свойствах рыхлых грунтов можно получить только на основе совместного анализа изменений всех электрических свойств пород.
2.1. Электрическое профилирование используется для выявления и прослеживания негоризонтальных геоэлектрических границ. Этот метод применяется в качестве основного геофизического метода при решении следующих задач инженерных изысканий для строительства:
оконтуривание и оценка элементов залегания границ локальных неоднородностей (зон трещиноватости, тектонических нарушений и т.д.);
изучение распространения в плане многолетнемерзлых пород и выявление в пределах мерзлых массивов льда и сильнольдистых пород, имеющих негоризонтальное залегание;
исследование динамики слоя протаивания и промерзания;
картирование поверхности скальных и мерзлых пород;
определение коррозионной активности грунтов.
2.2. Кроме решения задач инженерных изысканий, данные электропрофилирования используются при выборе систем размещения центров ВЭЗ.
2.3. Физической предпосылкой применения ЭП методом сопротивления является дифференциация геоэлектрического массива по удельному сопротивлению в горизонтальном направлении.
2.4. Под геоэлектрическим массивом понимается таксе полупространство, которое сложено средами с различными УЭС, отделенными друг от друга границами произвольной формы. Строение геоэлектрического массива описывается истинными значениями УЭС контактирующих сред, истинными мощностями слоев, истинными углами падения и простирания плоскостей и истинными формами криволинейных поверхностей. Геоэлектрический разрез представляет собой сечение геоэлектрического массива вертикальной плоскостью в направлении разносов питающих электродов измерительной установки. В связи с этим он характеризуется «видимыми» структурными и электрическими параметрами (видимыми углами падения, видимой мощностью и т.д.).
2.5. В зависимости от строения геоэлектрические массивы можно разделить на три группы: простые, осложненные и сложные.
2.6. Простые геоэлектрические массивы характеризуются следующими признаками:
возмущающие тела заметно отличаются по УЭС друг от друга и от вмещающих пород;
УЭС возмущающих тел и вмещающих пород меняется вдоль линии профиля в небольших пределах;
расстояние между возмущающими телами превышает длину измерительной установки;
возмущающие тела имеют простую форму;
форма, размеры и глубина залегания возмущающих тел выдержаны по простиранию.
2.7. Осложненные геоэлектрические массивы характеризуются следующими условиями:
возмущающие тела заметно отличаются по УЭС от вмещающих пород;
возмущающие тела достаточно удалены друг от друга;
УЭС возмущающих тел и вмещающих пород меняются в широком диапазоне, неизменным остается μ;
глубина залегания возмущающих тел меняется в широких пределах;
форма возмущающих тел может быть достаточно сложной.
2.8. Сложные геоэлектрические массивы характеризуются следующими условиями:
различные возмущающие тела могут иметь близкие значения УЭС;
соотношение УЭС возмущающих тел и вмещающих пород произвольное и может меняться в пределах участка на обратное, что может быть обусловлено, например, фациальным изменением порол по простиранию;
расстояние между возмущающими телами меньше размеров измерительной установки.
2.9. В случае простых и частично осложненных массивов рекомендуется применение электропрофилирования методом сопротивлений (ЭП КС); осложненные и сложные геоэлектрические массивы следует изучать с помощью профилирования по методу двух составляющих (ЭП МДС).
2.10. При электрическом профилировании измерения проводятся с помощью установки фиксированных размеров, перемещающейся с некоторым шагом по заданным профилям. В зависимости от шага различают точечное и непрерывное профилирование. Точечным профилированием называется такая модификация работ, при которой шаг измерений превышает длину приемной линии. Когда шаг меньше или равен длине приемных линий, профилирование называется непрерывным.
2.11. Вид измерительной установки и система наблюдений выбираются в зависимости от строения исследуемого разреза, решаемых задач и требований к точности получаемых данных. Здесь можно привести лишь следующие общие положения.
2.12. В условиях простых геоэлектрических массивов целесообразно проводить точечное профилирование, в более сложных случаях предпочтительнее непрерывное профилирование.
2.13. При изысканиях под линейные сооружения измерения ведутся по профилю, совпадающему, как правило, с осью сооружения; на участках более сложного строения закладываются дополнительные поперечные профили (поперечники).
2.14. На участках площадных изысканий измерения проводятся по системе профилей (зачастую параллельных).
2.15. В случаях обнаружения аномалий на концах профилей измерения следует продолжать до выхода на нормальное поле.
2.16. Для оценки точности наблюдений проводятся повторные (контрольные) измерения. Объем контрольных измерений зависит от условий измерения. Когда показания приборов снимаются уверенно, количество повторных измерений должно составлять 5 % общего числа точек. В трудных условиях измерения (наличие промышленных помех, сложные условия заземления и т.д.) объем контрольных измерений повышается до 10 %.
2.17. Относительная погрешность наблюдений вычисляется по формуле
|
|
(4) |
где Ai
и
- основное и
контрольное значения измеряемого параметра в i-той точке; n - общее число контрольных
точек.
Рис. 12. Схемы наиболее употребительных установок ЭП
а - симметричная; б - двусторонняя
трехэлектродная;
в - симметричная с двумя разносами питающих электродов;
г -двусторонняя дипольная
2.18. Контроль влияния утечки производится систематически, в сухую погоду контролируется не менее 5 %, а в сырую или при влажной почве не менее 10 % всего количества измерений. Наличие утечки в питающих линиях проверяется путем поочередного отключения заземлений. При обнаружении утечки следует ее локализовать и устранить.
2.19. При инженерных изысканиях методом ЭП наиболее употребительны симметричные, трехэлектродные и дипольные установки (рис. 12, а, б, в, г), существенно отличающиеся друг от друга по производительности, разрешающей способности и глубинности исследований. Наибольшей производительностью обладают симметричные установки (см. рис. 12, а и в), однако для них характерна низкая разрешающая способность при картировании локальных неоднородностей с пониженными сопротивлениями. По этим причинам область их успешного применения ограничивается геоэлектрическими массивами простого строения с хорошей дифференциацией пород по УЭС. Производительность ЭП КС двусторонними дипольными осевыми и трехэлектродными установками (см. рис. 12, б, г) приблизительно вдвое ниже, чем у симметричных. Однако снижение производительности окупается более высокой разрешающей способностью по отношению к проводящим объектам. Поэтому дипольные и трехэлектродные установки следует применять при исследовании массивов, содержащих зоны повышенной проводимости (талики, заполненные карстовые полости и т.д.)
2.20. Интенсивность аномалий, т.е. отношение их амплитуд к уровню нормального поля, различна над возмущающими объектами разной формы и меняется с различной скоростью по мере увеличения их глубины залегания. В связи с этим под глубинностью исследований понимается такая максимальная глубина погружения h1 верхней границы возмущающего объекта, с которой при заданные размерах измерительной установки может быть получена аномалия интенсивностью не менее 10 - 15 %. Так как глубинность исследований зависит от разносов питающих электродов установок, то для ее оценки и обозначении удобно пользоваться отношением 2h1/AB - для симметричных, h1/AO (h1/ОВ) - для трехэлектродных и h1/OOʹ - для дипольных установок. Максимальная глубинность характеризуется следующими цифрами (табл. 4) для достаточно контрастных резервов (μ2 ≥ 10).
|
Вид элементарного геоэлектрического массива (ЭГМ) |
2h1/AB |
|
|
Контакт двух изотропных сред |
0,6 |
0,55 |
|
Непроводящий пласт большой мощности |
0,55 |
0,5 |
|
Непроводящий пласт средней мощности |
0,45 |
0,4 |
|
Непроводящий пласт малой мощности (вертикальный) |
0,25 - 0,3 |
0,2 |
|
Наклонный непроводящий пласт малой мощности |
0,3 - 0,4 |
0,25 - 0,35 |
|
Горизонтальный непроводящий цилиндр (при D > MN) |
0,2 |
0,15 |
|
Непроводящий шар (D > MN) |
0,15 |
0,1 |
|
Проводящий пласт малой мощности |
0,6 |
0,6 |
2.21. При увеличении разносов глубинность исследования всех установок возрастает. Однако при этом снижается разрешающая способность по отношению к телам ограниченной мощности и протяженности. При выборе разносов питающих электродов (действующих расстояний) измерительных установок ЭП следует исходить из требуемой глубинности исследований и степени сложности геоэлектрических условий. В случаях, когда при заданной глубинности необходимо подробно исследовать верхнюю часть массива, ЭП КС следует выполнять установками с двумя действующими расстояниями (см. рис. 12, в). При этом разносы должны быть подобраны так, чтобы меньший из них обеспечивал требуемую детальность исследований верхней части разреза, а больший - требуемую глубинность.
2.22. Для картирования локальных непроводящих объектов, например жильных льдов, карстовых пустот, подземных выработок и т.п., используют установку с двумя разносами приемных электродов. При этом длина малой приемной линии должна быть меньше поперечных размеров искомых объектов, а большая приемная линия должна их превосходить. Рекомендуемая система наблюдений обеспечивает надежное выявление локальных высокоомных объектов по характерным признакам и позволяет с высокой точностью определять их поперечные размеры.
2.23. Профили следует закладывать в крест предполагаемому Простиранию негоризонтальных границ раздела. Расстояния между Профилями, длины поперечников и шаг измерений выбираются в зависимости от сложности строения исследуемого массива и масштаба съемки.
2.24. Измерения в методе ЭП КС выполняются с помощью серийных переносных электроразведочных компенсаторов, предназначенных для работы с постоянным (ЭСК-1, АЭ-72) или низкочастотным переменным (АНЧ-1, ИКС-1, ИКС-50, АНЧ-3) током. При проведении изысканий в условиях интенсивных промышленных помех предпочтительнее использование аппаратуры для переменного тока, поскольку в ней предусмотрено подавление помех с частотами, близкими к 50 Гц. Измерения проводятся со стандартным электроразведочным оборудованием. Ток в питающей линии возбуждается либо с помощью сухих батарей, либо с использованием генераторов низкочастотного переменного тока, входящих в комплект аппаратуры АНЧ и ИКС. Измерительная установка монтируется из проводов, обычно сталемедных, типа, например, ПВР или ПСМО. В качестве питающих электродов применяются железные или стальные стержни. На приемных линиях предпочтительнее использовать медные стержни.
2.25. В процессе измерений методом ЭП КС на каждой точке профиля регистрируются сила тока I в питающей линии АВ и разность Потенциалов ΔU на приемных электродах MN, ориентированных вдоль оси установки. Величины ΔU и I используются для расчета кажущегося сопротивления по формуле
где K - коэффициент, характеризующий геометрию установки и в общем случае определяющийся по формуле
Для трехэлектродной установки расстояния RBM и RBN принимаются равными бесконечности.
2.26. В случае установок с несколькими разносами измерения соответствующих параметров и расчет ρK производятся для каждого действующего расстояния.
2.27. Результаты ЭП КС представляются в виде графиков изменения ρK по профилям наблюдений (рис. 13). Масштаб по оси абсцисс принимается равным масштабу съемки. Вертикальный масштаб следует брать таким, чтобы величина средней ошибки соответствовала примерно одному миллиметру.
Рис. 13. Пример представления результатов ЭП КС (по И.М. Блоху)
1 - угольный пласт; 2 - песок; 5 - песок
с гравием и галькой;
4 - тектонические нарушения; 5 - графики ρK дипольного профилирования
2.28. При проведении измерений на нескольких разносах питающих или приемных линий помимо графиков ρK для каждого разноса иногда целесообразно строить графики отношения кажущихся сопротивлений, отвечающих разным разносам. Часто на таких графиках более четко выделяются границы локальных возмущающих тел (карстовых полостей, линз и т.д.).
2.29. Интерпретация данных ЭП КС заключается в определении формы и размеров возмущающих тел. Негоризонтальные границы раздела проявляются на графиках электропрофилирования в виде характерных аномалий. Простирание этих границ устанавливается путем прослеживания (корреляции) от профиля к профилю аномалий одинакового типа. Вид аномалий весьма различается в случае точечного или непрерывного профилирования.
2.30. На графиках непрерывного профилирования границы раздела проявляются в виде аномалий, которые возникают при последовательном пересечении граничных поверхностей приемными (основные аномалии) и питающими (экранные аномалии) электродами. Форма и взаимное расположение основных и экранных аномалий, соответствующих различным возмущающим телам и типам установок, как правило, отличаются друг от друга. Однако во всех случаях интенсивность основных аномалий выше, а их характерные точки располагаются над выходами границ на поверхность или под наносы. По этому признаку производится локализация границ неоднородностей (рис. 14).
Рис. 14. Типичные аномалии непрерывного симметричного
профилирования над непроводящими объектами
а - контакт
двух сред; б - вертикальный пласт большой мощности;
в - вертикальный пласт малой мощности
2.31. Положение границы наклонного контакта относительно профиля определяется с точностью до шага измерений. Ориентировочное соотношение УЭС контактирующих сред оценивается по значению кажущихся сопротивлений. При неглубоком залегании крупных неоднородностей кажущееся сопротивление бывает близко к истинному. Основным критерием выделения и корреляции границ в плане является форма аномалии, а не их интенсивность.
2.32. Пример построения корреляционной схемы по данным ЭП КС приводится на рис. 15. Отметим, что критерием обнаружения разрывного нарушения, помимо профильных аномалий, является нарушение корреляции границ пластов.
Рис. 15. Пример построения
корреляционной схемы и
карты равных сопротивлений по данным ЭП КС
1 - граница выхода коренных пород по данным корреляции,
2 - графики ρK ЭП КС по профилям;
3 - карта изоом, I - IV -
профили
2.33. На графиках точечного профилирования экранные аномалии, как правило, отсутствуют. Аномалии, соответствующие возмущающим телам различного типа, зачастую имеют очень сходную форму. При достаточно большом шаге многие границы могут быть пропущены. Все это делает чрезвычайно затруднительным прослеживание границ тел, имеющих сравнительно небольшую протяженность вдоль профиля. Поэтому эту модификацию профилирования можно применять только при работах на участках, с признаками простых геоэлектрических массивов, на которых развиты только неоднородности типа контактов. Выход контактов на поверхность или под наносы с точностью до ±АВ соответствует средней точке перехода графиков ρK с более высокого на более низкий уровень значений (или наоборот). Результаты измерений представляются в виде карт равных кажущихся сопротивлений, причем при их построении необходимо привлекать данные микрорайонирования.
2.34. При корреляции аномалий между профилями следует иметь в виду возможные источники ошибок. Один из них связан с тем, что различные по морфологическим и электрическим свойствам возмущающие объекты могут проявляться на графиках ρK в виде сходных по форме и амплитуде аномалий. В таком случае корреляция аномалий становится неправомерной. Для примера рассмотрим рис. 16. Графики ρK сильно изрезаны, содержат множество аномалий, иногда наложенных друг на друга. Не располагая дополнительной информацией, корреляции можно проводить самыми различными способами. Приведенная схема построена на основании того факта, что исследуемые полигонально-жильные льды образуют сетку, близкую к прямоугольной.
2.35. Другой причиной ошибочной интерпретации может быть присутствие в разрезе расположенных достаточно близко друг от друга границ, характеризующихся различными углами падения и простирания, наложение аномалий разного порядка (региональных и локальных).
2.36. В силу перечисленных причин применение ЭП КС для изучения более сложных разрезов или по системе чрезмерно разреженных профилей может привести к результатам, содержащим серьезные ошибки Поэтому еще раз подчеркнем, что область применения электропрофилирования методом сопротивления ограничивается разрезами относительно простого строения. В более сложных геоэлектрических условиях следует применять метод ЭП МДС, свободный от перечисленных недостатков.
2.37. Результаты ЭП КС по каждому профилю представляются в виде геоэлектрического разреза, на который выносятся местоположение и форма негоризонтальных границ раздела, значения кажущегося сопротивления, взятые по максимуму основных аномалий п качественно отражающие соотношение УЭС контактирующих сред (см. рис. 14). В случае площадной съемки составляются корреляционные схемы, на которых сопоставляются сходные по форме аномалии, связанные с одними и теми же негоризонтальными границами раздела (см. рис. 15). Необходимо отметить, что геоэлектрические границы выделяются точнее на корреляционных схемах, чем на картах изоом.
Рис. 16. Графики ρK ЭП КС и корреляционная схема аномалий ЭП КС
над полигональными льдами (по Р.И. Коркиной)
1 - графики ρK ЭП КС; 2 - сетка полигонально-жильных льдов; 3 - буровые скважины и их номер
3.1. В ЭП МДС используются в принципе те же установки, что и при ЭП КС. Единственное отличие между ними заключается в том, что в установках ЭП МДС присутствует еще одна приемная линия, ориентированная перпендикулярно оси установки (рис. 17). В процессе всех измерений длины обеих приемных линий должны быть равны между собой, центры их должны располагаться па оси установки. Выбор вида и размеров установки производится на основании тех же критериев, которые сформулированы для ЭП КС. При этом следует иметь в виду, что метод ЭП МДС обладает большей информативностью по сравнению с ЭП КС.
Рис. 17. Схемы наиболее употребительных установок ЭП МДС
а - симметричная; б - двусторонняя
трехэлектродная;
в - симметричная с двумя разносами питающих электродов; г -
дипольная двусторонняя
3.2. Система наблюдений при ЭП МДС в основном такая же, как и при ЭП КС. Отличия заключаются в следующем. Профили наблюдений при площадной съемке можно располагать на местности произвольно, в тех направлениях, где искажающее действие рельефа минимально или, по крайней мере, постоянно. Расстояние между профилями можно увеличивать по сравнению со схемой для ЭП КС.
3.3. Знак азимутальной разности потенциалов ΔUn имеет принципиальное значение для результатов интерпретации, поэтому взаимное расположение электродов должно быть неизменным в процессе всех измерений. Способы количественной интерпретации разработаны для «правой» расстановки электродов, т.е. такой, при которой электрод Mt осевой приемной линии расположен ближе к токовому электроду А, подключенному к положительному полюсу батареи, а электрод Мn азимутальной приемной линии располагается при этом справа, если смотреть на электрод А, ЭП МДС следует проводить «правой» расстановкой электродов. Если в силу каких-либо причин использовалась «левая» расстановка (т.е. электроды Мn и Nn азимутальной приемной линии переставлены), необходимо изменить знак ΔUn на противоположный.
3.4. ЭП МДС следует выполнять только в варианте непрерывного профилирования, т.е. с шагом измерений, равным длине приемной линии.
3.5. В силу указанной принципиальности знака азимутальной разности потенциалов ЭП МДС выполняется только на постоянном токе. В качестве измерительной аппаратуры используются автокомпенсаторы ЭСК-1 и АЭ-72. Остальное оборудование такое же, как и при ЭП КС.
3.6. В процессе измерений методом ЭП МДС на каждой точке профиля фиксируются сила тока в питающей линии I и значения разности потенциалов на осевой (вдоль профиля) ΔUt и азимутальной (перпендикулярной) ΔUn приемных линиях. Далее рассчитываются отношения ΔUt/I и ΔUn/I. Перевод значений ΔUt/I в ρK производится путем умножения их на коэффициент установки K.
3.7. Результаты ЭП МДС представляют в виде графиков отношений ΔUt/I и ΔUn/I по каждому профилю с учетом истинных знаков этих величин. Истинный знак отношений ΔUt/I в подавляющем большинстве случаев положительный, в то время как величины ΔUn/I знакопеременны. Графики строятся один под другим в одинаковом масштабе по осям абсцисс и ординат (рис. 18).
3.8. Интерпретация данных ЭП МДС заключается в выявлении в разрезе негоризонтальных границ, определении их простирания и глубины залегания верхней или нижней кромки, прослеживания их в плане. Присутствие таких границ в массиве проявляется на графиках ΔUt/I (соответственно, ρK) и ΔUn/I в виде характерных основных и экранных аномалий. При этом аномалии, соответствующие возмущающим телам различного типа (контакт, пласты различной мощности и т.д.), будут отличаться по форме друг от друга. По характерным точкам аномалий с точностью до шага измерений определяется положение возмущающих границ (рис. 19). Следует отметить, что при малой величине угла между линией профиля и направлением простирания границы на кривой ΔUt/I (ρK) нет четких признаков для локализации границы. В этом случае ее местоположение следует определять по кривой ΔUn/I (см. рис. 19, а).
3.9. Интерпретация данных ЭП МДС проводится по каждому профилю в отдельности в два этапа. На первом этапе по виду и соотношению аномалий на графиках ΔUt/I и ΔUn/I с учетом их знака определяются форма и местоположение возмущающих тел, а также их приблизительные размеры и направление их простирания по отношению к линии профиля. На основании анализа этих данных выбирается модель для количественной интерпретации.
Рис. 18. Схема представления результатов ЭП МДО (по А.Н. Боголюбову)
1 и 2 - графики ΔUt/I и ΔUn/I,
полученные в поле; 3 - известняки; 4 - суглинки;
I -
результаты интерпретации данных ЭП МДС; II
- план простирания границ по данным
интерпретации ЭП МДС; III -
геологический разрез
Рис. 19. Типичные аномалии
ΔUt/I и ΔUn/I симметричного и
дипольного
профилирования по методу двух составляющих и правила определения
интерпретационных соотношений; I - непроводящие тела; II - проводящие тела
3.10. На втором этапе с помощью специальных номограмм (Труды ПНИИИС, т. 15. 1972 г.), составленных для пластовых тел различной мощности с бесконечным простиранием в плане и протяженностью на глубину, определяют с точностью ±10° угол, составленный направлением простирания с линией профиля, а также глубину залегания верхней или нижней кромки возмущающего тела.
3.11. Глубина залегания верхней границы возмущающего тела (с точностью ±30 - 50 %) и ее элементы залегания (с точностью ±10 %) определяются по номограммам, если длина разносов питающих электродов соизмерима с максимальной глубиной выклинивания боковых контактов возмущающего тела. Если же длина питающей линии измерительной установки значительно превышает глубину залегания нижней границы возмущающего объекта h2 (т.е. 2h2/АВ ≤ 0,3 - 0,4), то по тем же номограммам с такой же точностью определяется глубина залегания нижней границы возмущающего тела (независимо от поперечных размеров этого возмущающего тела).
3.12. Для объектов, верхняя граница которых залегает вблизи дневной поверхности (рис. 20, б), а нижняя расположена на глубине, не превышающей 0,4 г, характерны четко выраженные аномалии на графиках ΔUt/I и ΔUn/I даже при сравнительно больших значениях глубин, получаемых по данным количественной интерпретации. При этом проявляется следующая характерная зависимость: чем больше значения глубины, полученные по данным количественной интерпретации, тем больше амплитуды основных и экранных аномалий.
Рис. 20. Графики ΔUt/I и ΔUn/I ЭП МДС
а - графики ЭП МДС, полученные над объектом, верхняя
граница
которого залегает на глубине n
≥ r;
б - графики ЭП МДС, полученные над объектом,
верхняя граница которого залегает на глубине n
≈ 0,4r; 1
- графики ΔUt/I;
2 - графики ΔUn/I;
3 - возмущающее тело
Для объектов, верхняя кромка которых залегает на сравнительно большой глубине (h ≥ r), характерны сглаженные основные и экранные аномалии (рис. 20, а) на графиках профилирования, большим глубинам соответствуют меньшие амплитуды аномалий (разность между ρK макс и ρK мин в зоне аномалий). Случай, когда величина отношения глубины распространения тела к разносу колеблется от 0,4 до 1, является наименее благоприятным для интерпретации, так как определяемые по номограммам глубины относятся к средней части возмущающего тела.
3.13. По данным двустороннего дипольного или трехэлектродного профилирования можно оценить угол падения маломощных пластов с точностью до ±10 - 15° по номограммам. Эти номограммы приведены в Методике инженерно-геологических изысканий (труды ПНИИИС, т. 15. 1972 г.).
3.14. Положение негоризонтальных границ в плане устанавливается путем их прослеживания от профиля к профилю. Критерием корреляции являются данные о простирании границ, полученные в результате количественной интерпретации графиков по отдельным профилям. При этом существует возможность прослеживания границы возмущающих объектов, УЭС которых изменяется по простиранию. Кроме того, можно выявлять и прослеживать границы возмущающих тел, имеющих различные элементы залегания.
3.15. Результаты интерпретации данных ЭП МДС по каждому профилю в отдельности представляются в виде геоэлектрического разреза и помещенного под ним плана простирания геоэлектрических границ по отношению к линии профиля (см. рис. 18). Горизонтальный масштаб геоэлектрического разреза и плана простирания должен быть одинаковым. На разрез выносятся результаты количественной интерпретации, т.е. местоположение границ возмущающих объектов, глубина залегания их верхней или нижней кромки в принятом масштабе. Если определен угол падения границ возмущающих объектов, это также отражается на разрезе, причем границы проводятся под углом, соответствующим их проекциям на вертикальную плоскость, проходящую через линию профиля. Величина и направление падения границ выносятся также на план простираний. На разрезе проставляются также значения ρK в экстремальных точках аномалий.
3.16. При площадной съемке необходимо составлять корреляционную схему аномалий, отражающую изменение простирания границ возмущающих объектов по площади. Критерием для прослеживания одних и тех же аномалий служит сходство вида аномалий на графиках ΔUt/I и ΔUn/I на соседних профилях и совпадение простирания границ возмущающих объектов. В точках пересечения границ с профилями на схеме должно быть показано определенное по данным количественной интерпретации направление простирания каждой границы и обозначено значение кажущегося сопротивления каждой профильной аномалии, которое качественно отражает изменение УЭС возмущающего объекта и глубины его залегания. На схему выносятся и установленные углы падения, стрелкой указывается направление падения.
3.17. Пример корреляционной схемы приводится на рис. 21. Для .сравнения на рис. 21, б изображена схема расположения границ карстовых полостей, составленная по данным бурения. Следует обратить внимание на огромный объем буровых работ, который потребовался для составления этой схемы. При этом разрежение сети скважин в любом месте приводит к ошибочным структурным построениям (например, выход коренных пород между правым концом РЛ-20 и серединой РЛ-18).
Рис. 21. Схема расположения карстовых полостей (по А.Н. Боголюбову)
1 - известняки; 2 - значение УЭС;
а - корреляционная схема по данным ЭП МДС; б - схема по данным
бурения;
1 - известняки; 2 - дайки диабазов; 3 - карстовый
заполнитель; 4 - линия разведочных профилей
4.1. Электрические зондирования служат для изучения геоэлектрического строения массивов пород в вертикальном направлении. Различные модификации зондирования применяются при инженерных изысканиях для:
изучения рельефа поверхности скальных оснований и мерзлых пород и определения мощности рыхлых отложений;
расчленения разреза, выявления протяженных границ и определения глубины их залегания (зон трещиноватости и тектонических нарушений, крупных карстовых полостей и подземных выработок, линз соленых и пресных вод, погребенных останцов и локальных переуглублений, льдов и высокольдистых пород, межмерзлотных вод и таликов);
изучения физических свойств и инженерно-геологических характеристик пород (литологического состава, влажности, пористости, проницаемости, льдистости, температуры, степени трещиноватости, минерализации подземных вод);
изучения геологических и инженерно-геологических процессов (динамики, уровня грунтовых вод (УГВ), влажности глинистых и лессовых грунтов, загрязнения подземных вод, динамики протаивания и промерзания, изменения температуры и свойств мерзлых грунтов).
4.2. Физической предпосылкой электрических зондирований является дифференциация геоэлектрического массива по УЭС.
4.3. В зависимости от строения и электрических свойств геоэлектрические массивы следует разделить на три группы: простые, осложненные и сложные.
4.4. Простые геоэлектрические массивы характеризуются следующими условиями:
граничные поверхности слоев с различными УЭС залегают параллельно земной поверхности или наклонены к ней под углом, не превышающим 20°;
количество, мощность и последовательность залегания слоев с различным УЭС выдерживаются в пределах исследуемой площадки;
соседние слои хорошо дифференцированы по УЭС. Тип кривой ρK на исследуемой территории сохраняется неизменным, а по форме эти кривые изменяются незначительно.
4.5. Осложненные геоэлектрические массивы обладают следующими признаками:
граничные поверхности слоев с различными УЭС залегают параллельно земной поверхности или наклонены к ней под углом, не превышающим 20°;
количество, мощность и последовательность залегания слоев с различными УЭС в пределах исследуемой площади меняется;
некоторые соседние слои слабо дифференцированы по УЭС;
УЭС отдельных слоев может плавно меняться по простиранию.
При таких условиях тип кривых ρK в пределах исследуемой территории может меняться, однако количество различных типов кривых невелико. И в пределах отдельных участков тип кривых остается постоянным. Форма кривых ρK ВЭЗ меняется в достаточно широких пределах.
4.6. Для сложных геоэлектрических массивов характерны следующие особенности:
границы слоев с различными УЭС залегают произвольно;
количество, мощность и последовательность слоев с различными УЭС меняются в вертикальном и горизонтальном направлениях, встречаются крутоподающие контакты.
Для сложных массивов характерно большое разнообразие типов кривых ρK ВЭЗ, причем типы кривых могут резко изменяться на небольших расстояниях.
4.7. Степень сложности геоэлектрического разреза оценивается предварительно на основании всех известных для этого района геофизических и геологических данных и уточняется в ходе электрометрических исследований по данным электропрофилирования и рекогносцировочных зондирований.
4.8. При проведении зондирований приемные линии
закрепляются на местности, а центры их определяют точку, к которой относятся
результаты измерений, называемую центром зондирования. Расстояние от центра
зондирования до питающего электрода или до центра питающего диполя
последовательно увеличивается с целью постепенного наращивания глубинности
исследования. Величины разносов растут как геометрическая прогрессия со
знаменателем
.
4.9. Вид измерительной установки, ее размеры, система наблюдений выбираются в зависимости от строения исследуемого массива, круга решаемых задач и масштаба съемки.
4.10. В случае простых и осложненных геоэлектрических массивов рекомендуется проводить зондирование методом сопротивлений (ВЭЗ КС). Сложные массивы следует изучать с помощью зондирований по методике двух составляющих (ВЭЗ МДС).
4.11. Симметричные установки применяются для изучения районов с преимущественно горизонтальным залеганием геоэлектрических границ. При наличии в массиве наклонных границ раздела целесообразно применять двусторонние несимметричные установки.
4.12. Величина начального разноса выбирается такой, чтобы она могла обеспечить изучение верхней части массива. Максимальный разнос должен быть таким, чтобы самый глубокий горизонт, подлежащий исследованию, проявлялся на кривой зондирования тремя - четырьмя и более точками. Обычно это достигается при отношении максимального разноса к глубине залегания опорного горизонта, равном 3 - 10 в зависимости от соотношения УЭС пород (μ2).
4.13. Система наблюдений определяется видом и масштабом работ. При изысканиях под линейные сооружения центры зондирований располагаются либо на оси предполагаемого сооружения, либо рядом с ней. При необходимости может быть выполнено несколько зондирований по секущему профилю (поперечнику). Расстояния между соседними центрами зондирования варьируются от нескольких десятков до нескольких сотен метров и должны быть соизмеримы с предполагаемой глубиной залегания опорных горизонтов, представляющих наибольший интерес при исследовании данного района
4.14. При изысканиях на площадях центры зондирований располагаются по системе профилей. Расстояния между профилями и между центрами ВЭЗ по профилю выбираются в зависимости от масштаба работ, сложности строения массива, требуемой точности, с учетом данных ЭП.
4.15. Направления разносов зондирований выбираются таким образом, чтобы свести к минимуму искажающее влияние рельефа.
4.16. Для оценки точности измерений необходимо проводить контрольные зондирования. В зависимости от сложности условий измерения объем контрольных исследований составляет от 5 до 10 % общего количества зондирований.
4.17. Зондирования методом сопротивлений выполняются, как правило, симметричными установками. Начальные разносы питающих линий обычно равны 1 - 1,5 м; максимальные определяются требуемой глубинностью исследований. Длина приемной линии должна удовлетворять соотношению 3МN ≤ АВ. При достаточно больших разносах разность потенциалов на приемных электродах становится слишком малой, что не позволяет получить непрерывную кривую ρK ВЭЗ. Поэтому для увеличения измеряемой разности потенциалов нужно увеличить длину приемной линии, сохраняя указанное соотношение с длиной питающей линии. Для сопряжения ветвей кривой ВЭЗ, соответствующих различным линиям MN, необходимо получить их перекрытие, для чего при переходных разносах питающих электродов производятся замеры на обеих линиях MN.
4.18. Система наблюдений методом ВЭЗ КС определяется, в первую очередь, характером решаемых задач и масштабом исследований. Расстояния между точками ВЭЗ вдоль профиля и между профилями (при площадных работах) выбираются в соответствии с масштабом съемки, особенностями строения геоэлектрического массива и требованиями к точности решения поставленных задач. При изысканиях в сложных условиях (например, работы в зонах сплошной застройки, при сильной залесенности и т.д.) допускается проведение зондирований в отдельных точках, не связанных единой системой.
4.19. При разбивке сети наблюдений необходимо предусмотреть некоторый объем (не менее 5 % всего количества ВЭЗ КС) параметрических зондирований, которые выполняются вблизи пройденных скважин или горных выработок, а также на участках с известным геологическим строением, гидрогеологическими условиями и т.д. В зависимости от степени сложности геологического строения изучаемой территории параметрические зондирования могут быть обычными, крестовыми, круговыми или по методу двух составляющих.
4.20. Во всех изданных руководствах и инструкциях рекомендуется определять степень однородности массива с помощью крестовых и круговых зондирований. Этот вид исследований следует проводить с помощью несимметричных установок (трехэлектродных, дипольных). Размотка линий производится в четырех и более направлениях. По расхождению кривых, полученных в различных азимутах, судят о степени горизонтальности массива. При наличии анизотропии, изолированного наклонного пласта или контакта, по данным круговых ВЭЗ, можно определить параметры анизотропной толщи, элементы залегания возмущающих границ. Центры зондирований должны располагаться либо в центре анизотропных зон, либо вблизи выхода возмущающих контактов на поверхность или под покровные отложения. Эти точки определяются по данным электропрофилирования. Крестовые и круговые ВЭЗ без потери информации могут быть заменены ВЭЗ МДС при одном направлении разносов питающей линии.
4.21. ВЭЗ КС производят с той же аппаратурой и оборудованием, что и ЭП КС.
4.22. На каждом разносе ВЭЗ КС регистрируются сила тока I в питающей линии АВ и разность потенциалов на приемных электродах MN, ориентированных вдоль оси установки ΔU, и рассчитывается кажущееся сопротивление по формуле (5).
4.23. Результаты наблюдений изображаются на бланке с двойным логарифмическим масштабом (модуль масштабного бланка обычно равен 6,25 см), причем по оси ординат откладываются значения ρK, а по оси абсцисс - величины соответствующих им разносов. Для симметричной установки откладывается AВ/2, для трехэлектродной АО, для дипольных осевых OOʹ/2. В случае горизонтального залегания пород полученная кривая ВЭЗ (рис. 22) отражает строение разреза в вертикальном направлении.
Рис. 22. Пример изображения кривой ВЭЗ
I - особые точки на кривой
ρK; II - диаграмма изменения УЭС с глубиной
по данным интерпретации ρK ВЭЗ
4.24. В случае крестовых и круговых ВЭЗ КС кривая ρK измеряется в двух, четырех и более направлениях на земной поверхности. Кривые ρK, относящиеся к различным азимутам, строятся на одном билогарифмическом бланке одна под другой с обязательным указанием направления разносов питающих электродов (рис. 23). Кроме того, отдельно вычерчиваются полярные диаграммы для каждого разноса (рис. 24), по форме которых судят о наличии анизотропии в исследуемом массиве или о присутствии в нем единичных наклонных контактов пород.
4.25. Интерпретация кривых ВЭЗ КС заключается в определении количества и последовательности залегающих слоев, их мощности с учетом анизотропии, УЭС. Точность и надежность выделения отдельных пластов зависит от соотношения сопротивлений соседних слоев и от отношения их мощности к глубине залегания. Наиболее детально расчленяются разрезы, в которых соотношение сопротивлений последовательных слоев постоянно меняется на обратное, например, ρ1 > ρ2, ρ2 < ρ3, ρ3 > ρ4 (разрез типа НК) и т.д. Сложнее интерпретировать кривые, отвечающие разрезам с монотонным изменением сопротивления, например ρ1 < ρ2 < ρ3 (разрез типа А) и т.д.
Рис. 23. Пример представления симметричных ВЭЗ, полученных в различных азимутах
4.26. Интерпретация данных ВЭЗ КС производится с помощью палеток А.М. Пылаева, А.А. Огильви, В.К. Хмелевского, К. Шлюмберже, либо с помощью ЭВМ, либо с помощью специально рассчитанных номограмм, использующих метод особых точек («Руководство по интерпретации кривых ВЭЗ МДС. М., Стройиздат, 1984 г.).
Рис. 24. Полярная диаграмма, построенная для разносов АВ/2 = 10, 20, 50, 100, 150 м
4.27. Методика интерпретации по палеткам достаточно широко разобрана в литературе и здесь описываться не будет.
4.28. В области машинной интерпретации можно выделить два основных направления: метод подбора теоретической кривой, наиболее близкой к наблюденной, и метод численного анализа функциональных зависимостей, связывающих кажущееся сопротивление с параметрами среды. И палеточные и машинные методы при отсутствий сведений о параметрах разреза дают решение обратной задачи в пределах принципа эквивалентности, о котором будет сказано ниже. Существуют программы, построенные по принципу диалога интерпретатора с ЭВМ, позволяющие учитывать имеющуюся информацию, что позволяет сузить пределы эквивалентности. Разработаны также программы совместной интерпретации большого количества кривых ВЭЗ (например, полученных на одной площади).
4.29. Детальность и точность расчленения разреза по данным ВЭЗ КС в первую очередь определяется значениями УЭС и мощностью каждого слоя.
4.30. Из номограмм для определения пределов действия принципа эквивалентности видно (Е.Н. Каленов, 1961 г.), что при малых μ2 (ρ2/ρ1 < 1,5) и больших мощностях (h2/h1 > 5) промежуточных горизонтов параметры разреза определяются с точностью 10 %, при этом не требуется никаких сведений о строении разреза. При повышении УЭС и уменьшении мощности слоев пределы действия принципа эквивалентности расширяются. Если сведения о параметрах промежуточных слоев отсутствуют, то ошибки интерпретации могут достигать нескольких сот процентов. Сократить размеры ошибок можно лишь в том случае, когда интерпретатор располагает сведениями об УЭС или мощности промежуточных слоев.
4.31. Необходимую информацию о параметрах промежуточных горизонтов можно получить в результате:
интерпретации зондирований, выполненных на участках, где мощности промежуточных слоев в 10 и более раз превышают мощности перекрывающих отложений, в этом случае пределы принципа эквивалентности достаточно узки;
обработки данных электрического каротажа скважин;
параметрических измерений УЭС на участках, где промежуточный слой выходит на поверхность или подходит близко к ней;
интерпретации параметрических зондирований, выполненных на участках, где мощность промежуточных слоев известна.
4.32. Когда известен один из параметров промежуточного слоя, второй определяется с точностью до 10 - 20 %. Такая точность достигается при интерпретации параметрических зондирований. Полученные при этом сведения об УЭС, мощности и коэффициенте анизотропии отдельных слоев и пачек прослоев используются при интерпретации кривых близлежащих ВЭЗ, мало отличающихся по типу. Точность интерпретации в этом случае составляет 20 - 30 %.
4.33. Пачки маломощных по сравнению с глубиной залегания слоев отражаются на кривой кажущегося сопротивления как единые анизотропные слои, характеризующиеся некоторыми среднеквадратическими УЭС ρm, мощностью и коэффициентом анизотропии λ. Мощность анизотропного пласта, получаемая в результате интерпретаций кривой, в λ раз превышает истинную, что обязательно следует учитывать.
4.34. В последнее время завершена разработка иного способа количественной интерпретации кривых ρK ВЭЗ. В основу этого способа положена зависимость координат особых точек на кривых ρK ВЭЗ от строения и свойств изучаемого разреза.
4.35. Под особыми точками понимаются максимумы или минимумы на кривых ρK ВЭЗ над разрезами типов K (ρ1 < ρ2, ρ2 > ρ3) или Н (ρ1 > ρ2, ρ2 < ρ3), а также точки отрыва левой ветви интерпретируемой кривой ρK ВЭЗ от двухслойной теоретической кривой в случае разрезов типов A (ρ1 < ρ2 < ρ3) или Q (ρ1 > ρ2 > ρ3). Примеры нахождения особых точек на кривых ρK ВЭЗ приведены на рис. 22.
4.36. Интерпретация
кривых ρK ВЭЗ методом особых
точек выполняется с помощью специальных номограмм, которые описывают
зависимость координат особых точек от соотношений
в трехслойных разрезах типов K, H, A, Q
при трех дискретных значениях ρ3. Номограммы относятся к
категории сетчатых, построены в прямоугольной системе координат и обеспечивают
определение величин v2 и μ2 по соотношениям
|
|
снимаемым с интерпретируемых кривых. На рис. 25 приведена номограмма вида K - ρ1 Правила пользования ею следующие. Убедившись в горизонтальности залегания слоев, с помощью палеток для двухслойной среды (ГП-2) находят h1 и ρ1 первого слоя. Далее вычисляют значения А/ρ1 и roc/h1 и откладывают их на соответствующих осях ординат подвижного прозрачного транспаранта в масштабе осей координат выбранной номограммы, фиксируя их каким-либо знаком. После этого транспарант начинают перемещать вдоль оси абсцисс номограммы, соблюдая все время параллельность оси ординат транспаранта и номограммы, а также постоянное совмещение оси абсцисс на них. Перемещение транспаранта продолжается до тех пор, пока нанесенные на нем точки не совпадут с парой кривых, имеющих одинаковый индекс. В этом положении центр осей координат на транспаранте укажет на оси абсцисс величину v2, а индекс кривых будет соответствовать значению μ2. В силу эквивалентности по Т и S возможны совпадения одной пары значений A/ρ1 и roc/h1 с несколькими парами кривых с различными v2 и μ2. Зафиксировав первое положение точек на номограмме, следует перемещать транспарант дальше, чтобы убедиться либо в единственности решения, либо в неоднозначности его, определяя тем самым пределы действия принципа эквивалентности по Т или S в зависимости от разреза.
Рис. 25. Номограмма для
определения параметров трехслойного разреза вида
K - ρ1, способом особых точек
4.37. К числу преимуществ интерпретации методом особых точек относятся:
сравнительно небольшое количество (семнадцать) номограмм, необходимое и достаточное для интерпретации любой многослойной кривой ВЭЗ КС;
возможность проведения формальной интерпретации многослойных кривых ВЭЗ КС, если даже нет никаких сведений о мощности и УЭС промежуточных слоев;
возможность определения пределов действия эквивалентности по каждому элементу разреза типа K и H без каких-либо дополнительных номограмм или определений;
возможность выявления и приблизительной оценки параметров слоев, не нашедших явного отражения на интерпретируемой кривой;
возможность обнаружения в разрезе анизотропных пластов и определения параметров анизотропной толщи с помощью специальных номограмм;
возможность обнаружения в разрезе слоев с градиентным распределением УЭС с глубиной и учета этого явления в процессе интерпретации.
4.38. Интерпретация кривых ВЭЗ КС методом особых точек приобретает самостоятельное значение при изучении разрезов сложного строения, поскольку применение в этих случаях традиционных способов интерпретации приводит к потере информации или снижению ее точности.
4.39. Полярные диаграммы, построенные по данным круговых ВЭЗ, используются для оценки направления простирания наклонных границ, направления главных осей анизотропных толщ (преимущественного направления трещиноватости) и параметров анизотропии.
4.40. Результаты интерпретации каждой кривой ВЭЗ представляют в виде колонки, на которой в выбранном масштабе нанесены границы каждого слоя или пачки прослоев и проставлены соответствующие им значения УЭС (см. рис. 22). Если зондирования выполнялись в отдельных точках, то эти колонки являются конечным результатом. При достаточной густоте точек ВЭЗ путем корреляции между соседними колонками вдоль профиля строятся с учетом рельефа местности геоэлектрические разрезы. При этом в один горизонт объединяют слои или пачки пород, обладающие близкими значениями сопротивления и занимающие сходное положение в разрезе (рис. 26). Особое внимание уделяется опорным горизонтам, которые прослеживаются вдоль всего профиля.
4.41. При площадных электроразведочных исследованиях геоэлектрические разрезы строятся вдоль каждого профиля. В этом случае рекомендуется строить карты кровли или подошвы опорных (а в случае необходимости и промежуточных) горизонтов, их строят по общепринятой методике. Методика построения этих карт изложена в Инструкции по электроразведке (М., Госгеолтехиздат, 1961).
Рис. 26. Геоэлектрический разрез, полученный по данным интерпретации кривых ρK ВЭЗ КС.
1 -
суглинки; 2 - песок с галькой; 3 - песчано-глинистая толща; 4
- скальные породы;
5 - УЭС пород по данным интерпретации ВЭЗ КС
5.1. Донные зондирования (ДЗ) рекомендуется выполнять двусторонними трехэлектронными или дипольными осевыми установками. Начальные разносы питающих линий обычно не превышают 1 - 1,5 м, максимальные определяются требуемой глубинностью и размерами водоемов. Соотношения размеров приемных и питающих линий, правила перехода с одной пары приемных электродов на другую сохраняются такими же, как и при ВЭЗ КС.
5.2. В случае постановки донных ВЭЗ система наблюдений выбирается согласно общим принципам, сформулированным в п. 4.13. Расстояния между центрами ДЗ вдоль профиля и между профилями определяются масштабом съемки, особенностями строения геоэлектрического массива и требованиями к точности решения геологических задач.
5.3. Для донных зондирований применяется та же аппаратура, что и для ВЭЗ и ЭП методом сопротивления. Измерительная установка монтируется в виде косы с выводом концов от питающих и приемных электродов в центре. Схема косы приведена на рис. 27. Коса изготовляется из какого-либо геофизического провода (например, ПВР или ПСМО) и прикрепляется к размеченному буксирному тросу (в качестве которого можно использовать отрезок провода). Питающие и приемные электроды изготовляются из свинцовых пластинок, плотно облегающих косу. Измерения рекомендуется проводить с воды, располагая измерительный центр (лодку, плот) в центре косы.
Рис. 27. Схема косы данных ВЭЗ
5.4. Последовательность работ при проведении донных ВЭЗ должна быть-следующей:
а) на противоположных берегах водоема выставляются по две пары вешек, расположенных в одном створе Концы створов закрепляются на местности и привязываются к профилям наземных работ;
б) в створе на одном берегу устанавливается лебедка с косой, а на противоположном - пустая;
в) строго в створе на лодке перевозится с одного берега на другой тонкий провод, прикрепленный к свободному концу буксирного троса. Провод в натянутом состоянии укладывается на дно. Заметим, что коса при протягивании почти полностью повторяет все изгибы ведущего троса;
г) с помощью размеченного буксирного троса и лебедки в определенную точку створа протягивается центр косы. При фиксированном положении косы производятся все замеры, необходимые для зондирования. Затем коса перемещается на следующую точку (соответствующую меткам на буксирном тросе), измерения производятся заново и т.д.;
д) по окончании измерений в одном створе (в случае необходимости) створ переносится на новое место и все операции повторяются в той же последовательности.
5.5. При проведении донных зондирований в центре каждого ВЭЗ измеряется глубина водоема и определяется с помощью резистивиметра удельное сопротивление воды на разных уровнях.
5.6. Путем последовательного подключения косы на каждом разносе установок AMN и MNB регистрируется сила тока I в питающей цепи и разность потенциалов ΔU (па приемных электродах). С их помощью рассчитывается кажущееся сопротивление ρK по формуле (2). Тот факт, что питающий электрод контактирует не с полупространством, а с пространством, учитывается не коэффициентом K, а формой теоретических кривых кажущегося сопротивления, используемых для интерпретации результатов донных зондирований (рис. 28).
5.7. Кривые донных ВЭЗ строятся на стандартном билогарифмическом бланке так же, как в случае наземных ВЭЗ КС (рис. 29).
5.8. Методика интерпретации донных ВЭЗ разработана только для горизонтально-слоистых геоэлектрических массивов. Поэтому для количественной интерпретации из двух регистрируемых кривых выбирается та, которая меньше искажена влиянием негоризонтальных границ.
5.9. Интерпретация донных зондирований заключается в определении количества прослоев, их мощности с учетом анизотропии и УЭС.
5.10. Интерпретация донных зондирований производится с помощью палеток. Левая ветвь кривых, отвечающая разносам, на которых влияние слоя воды наиболее сильно, интерпретируется с помощью специально рассчитанных палеток Е.И. Терехина (для соленой воды) и В.Б. Пугача (для пресной воды) (см. рис. 28). Части кривой ρK, удовлетворяющие соотношению r/h0 > 2 (где r - разнос, h0 - толщина слоя воды), можно интерпретировать и обычными методами, используемыми при интерпретации ВЭЗ КС.
5.11. Детальность и точность расчленения разреза по данным донных ВЭЗ определяются теми же параметрами, что и в случае ВЭЗ КС. Поэтому объем и точность информации, получаемой в результате интерпретации данных донных зондирований и ВЭЗ КС, в общем такие же.
5.12. Результаты интерпретации донных ВЭЗ должны быть увязаны с данными интерпретации наземных зондирований (ВЭЗ КС и ВЭЗ МДС) и изображаться в виде колонок и разрезов по принципам, указанным в п. 4.23. На разрезе должны быть показаны уровень воды и рельеф дна (рис. 30).
5.13. Если донные зондирования выполняются по системе профилей, то, помимо геоэлектрических разрезов вдоль каждого профиля, строятся также структурные карты кровли или подошвы геоэлектрических горизонтов (см. рис. 30).
Рис. 28. Двуслойные палетки
ВЭЗ донной трехэлектродной установкой AMN (по В.Б. Пугачу)
В → ∞, ρ1 - электросопротивление воды; ρ2
- электросопротивление грунта
Рис. 29. Пример построения кривых донных ВЭЗ и изображение результатов интерпретации
1 - кривые ρK,
полученные установками AMN и MNB; 2 - кривая ρK, снятая с палетки;
3 - диаграмма изменения УЭС с глубиной
Рис. 30. План озера и
структурная карта кровли мерзлоты, геоэлектрический
разрез через озеро по данным донных зондирований (по А.Н. Боголюбову)
1 -
песчано-галечниковая толща; 2 - торфяник; 3 - болото;
4 - изолинии кровли мерзлоты; 5 - граница мерзлоты
6.1. Зондирования по методу двух составляющих выполняются преимущественно двусторонними трехэлектродными установками. Применение симметричных установок приводит к потере очень важной информации о негоризонтальном строении геоэлектрического массива.
Рис. 31. Пример изображения результатов измерений ρK и ΔUn/ΔUt ВЭЗ МДС
6.2. Особенностью установок ВЭЗ МДС является наличие двух приемных линий, из которых одна ориентирована вдоль оси установки (осевая), а другая - перпендикулярно ей (азимутальная). Длины приемных линий равны, а центры их совмещены и расположены на оси установки. Соотношение между размерами питающих и приемных линий, правила перехода с одной приемной линии на другую сохраняются такими же, как и при ВЭС КС.
6.3. Система наблюдений при ВЭЗ МДС в общем та же, что и при ВЭЗ КС. Профили могут быть ориентированы произвольно, поскольку это не влияет на точность результатов, но сами профили должны быть прямолинейными. Расстояние между ними выбирается в соответствии с масштабом съемки, требуемой точностью решения поставленных задач и с учетом геолого-геоморфологической обстановки в пределах изучаемой территории.
6.4. Шаг наблюдений по профилям не должен превышать половины максимального разноса.
В сложных условиях (сплошная застройка, сильно пересеченная местность) допускается проведение ВЭЗ МДС в отдельных изолированных точках.
6.5. При разработке сети наблюдений необходимо предусмотреть некоторый объем параметрических ВЭЗ МДС, которые следует располагать на участках с хорошо изученными геологическими и гидрогеологическими условиями.
6.6. При проведении ВЭЗ МДС используется та же аппаратура п оборудование, что и при ЭП МДС.
6.7. При проведении ВЭЗ МДС необходимо располагать буссолью или экером для восстановления перпендикуляра к оси установки.
6.8. В методе ВЭЗ МДС на каждом разносе регистрируются сила тока I, величины и знаки разности потенциалов на осевых ΔUt и азимутальных ΔUn приемных линиях и вычисляются ρK по формуле (5) и отношение ΔUn/ΔUt.
Рис. 32. Характерные кривые ρK и ΔUn/ΔUt симметричных ВЭЗ МДС
а - кривые ρK и
ΔUn/ΔUt, не
несущие явных признаков влияния крутопадающих границ;
б - кривые ВЭЗ МДС, сопровождающиеся незначительными
аномалиями ΔUn/ΔUt на больших разносах;
в - кривые ρK и ΔUn/ΔUt искаженные
6.9. Результаты измерений в каждой точке изображаются в виде кривых ρK и ΔUn/ΔUt, которые строятся на одном билогарифмическом бланке друг под другом. Для кривых ΔUn/ΔUt по оси ординат принимается арифметический масштаб (рис. 31).
6.10. Интерпретация симметричных ВЭЗ МДС производится в два этапа.
6.11. На первом этапе производится предварительная сортировка кривых ρK и ΔUn/ΔUt по их внешнему виду. При этом целесообразно выделять три характерных группы.
6.12. В первую группу включают кривые ρK ВЭЗ МДС, не несущие явных признаков влияния крутопадающих границ при нулевых или близких к нулю значениях ΔUn/ΔUt на всех разносах питающих и приемных электродов (рис. 32, а).
6.13. Во вторую группу объединяют неискаженные кривые ВЭЗ МДС, сопровождающиеся незначительными аномалиями одного знака на больших (завершающих) разносах питающих электродов (рис. 32, б).
Кривые ρK и ΔUn/ΔUt такого вида формируются, когда центр зондирования располагается над наклонно-слоистой (анизотропной) средой или в сфере влияния единичного крутопадающего контакта двух сред на достаточно большом удалении от него.
6.14. В третью группу объединяются кривые ρK, на которых присутствуют резкие перегибы и срывы, хорошо коррелирующиеся со специфическими аномалиями на соответствующих им кривых ΔUn/ΔUt (рис. 32, в).
6.15. Выделенные в группы кривые симметричных ВЭЗ МДС подвергаются качественному анализу, в результате которого устанавливается:
ориентировочное количество горизонтальных и пологонаклонных слоев в разрезе;
количество и местоположение крутопадающих границ раздела, расстояние от центра зондирования до их выхода на поверхность или под перекрывающие отложения;
приблизительное простирание крутопадающих границ относительно оси установки;
наличие в исследуемом массиве анизотропных зон.
6.16. На втором этапе производится количественная интерпретация кривых симметричных ВЭЗ МДС, вошедших в первую и вторую группу. Интерпретация ведется методом подбора или по особым точкам. При этом следует иметь в виду, что ошибки в определении глубины залегания в УЭС последнего слоя по кривым второй группы возрастают.
6.17. Кривые ρK и ΔUn/ΔUt симметричных ВЭЗ МДС третьей группы не могут быть количественно проинтерпретированы.
6.18. Интерпретация кривых двусторонних трехэлектродных ВЭЗ МДС подразделяется на два этапа: качественную и количественную.
6.19. Целью качественной интерпретации является последовательное решение таких вопросов, как:
определение строения изучаемого массива по совокупности аномалий на кривых ρK и ΔUn/ΔUt ВЭЗ с выделением полого и крутопадающих границ;
определение и уточнение местоположения центра зондирования относительно выхода наклонных границ под наносы и приблизительная оценка расстояния до них;
выбор кривых ρK и ΔUn/ΔUt ВЭЗ, которые могут быть подвергнуты количественной интерпретации с помощью палеток и номограмм для параллельно-слоистых и наклонно-слоистых сред, а также определение местоположения особых точек на них.
Рис. 33. Практические кривые
ρK и ΔUn/ΔUt
двусторонних трехэлектродных
ВЭЗ МДС и пример их качественной интерпретации
6.20. Результаты качественной интерпретации могут иметь самостоятельное значение. Поэтому полезно изображать их в виде схематических геоэлектрических разрезов по направлению разносов питающих электродов и планов простирания наклонных геоэлектрических границ (рис. 33).
6.21. Целью количественной интерпретации является определение по отобранным кривым ρK и ΔUn/ΔUt ВЭЗ численных значений электрических свойств и структурных параметров геоэлектрических массивов. При количественной интерпретации используются теоретические кривые ρK/ρ1 для горизонтально-слоистых сред, а также специальные номограммы для определения параметров сред с горизонтальными, наклонными и вертикальными контактами. С их помощью по кривым ρK и ΔUn/ΔUt двусторонних трехэлектродных ВЭЗ могут быть оценены:
простирание пологонаклонных и крутопадающих границ с точностью до ±5 - 10°;
величина истинного угла падения наклонных и крутопадающих границ с ошибкой ±2 - 10°;
глубины залегания границ слоев и УЭС пород с относительной погрешностью не более ±20 - 30 %;
простирание слоистости или трещиноватости, соотношение суммарных мощностей проводящих (разрушенных) и непроводящих (сохранных) прослоев пород, коэффициент электрической анизотропии толщи и величины УЭС прослоев. Все эти вопросы подробно рассмотрены в «Руководстве по интерпретации кривых ВЭЗ МДС».
Рис. 34. Пример построения
геоэлектрического разреза и плана простирания
геоэлектрических границ по профилю
1 - точки ВЭЗ МДС и направление разноса А; 2 -
скважина и ее номер;
3 - УЭС пород, полученные по данным интерпретации ВЭЗ; 4 -
геоэлектрические границы;
5 - элементы залегания по данным интерпретации ВЭЗ; 6 - суглинки;
7 - известняки; 8 - глины
6.22. Результаты качественной и количественной интерпретации кривых ВЭЗ МДС представляются в виде колонок, которые затем в соответствии с указанными принципами объединяются в геоэлектрические разрезы (п. 4.41). На разрезе в принятом масштабе с учетом рельефа местности выносятся наклонные границы. Каждый геоэлектрический разрез должен сопровождаться планом простирания негоризонтальных границ относительно линии профиля, который строится под разрезом в одинаковом с ним горизонтальном масштабе (рис. 34).
6.23. Если ВЭЗ МДС выполнялись по системе профилей, то, помимо разрезов с планами простираний, строятся структурные карты, на которых изолиниями показываются изменения глубины залегания кровли или подошвы промежуточных и опорных горизонтов. Изолинии проводятся с учетом падения и простирания границ, их выклинивания и смещения по крутопадающим границам. Дополнительно на структурные карты выносятся контуры простирания анизотропных зон (рис. 35).
7.1. Метод вычитания полей МВП относится к дифференциальным методам электроразведки. Сущность его состоит в том, что измеряемая разность потенциалов Δ(ΔU) является результатом наложения двух электрических полей (ΔU1 - ΔU2), создаваемых в земле двумя питающими линиями с противоположно направленными в них токами. Такой способ измерений обладает повышенной чувствительностью к локальным неоднородностям и маломощным прослоям в разрезе.
7.2. В основу метода вычитания полей положена формула А.А. Петровского для пересчета полевых графиков ВЭЗ
|
|
(7) |
где ρT - некое, отличное от ρK, принятое в методе вычитания полей кажущееся сопротивление, зависящее от параметров разреза и размеров установки; t - угловой коэффициент касательной к кривой ВЭЗ, построенной в билогарифмическом масштабе.
Рис. 35. Структурная карта, полученная по данным интерпретации кривых ВЭЗ МДС
1 - изолинии глубин залегания кровли карстующихся
пород; 2 - линии равных удельных
сопротивлений; 3 - тектоническое нарушение; 4 - точки ВЭЗ МДС и
направление разноса А;
5 - область распространения глинистых прослоев в известняках
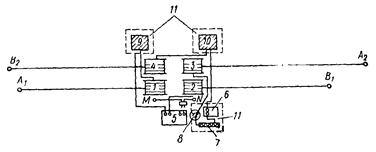
Рис. 36. Схема установки методом вычитания полей
1 - 4 - катушки питающих линий; 5 - прибор АЭ-72 или
ЭСК-1; 6 - амперметр;
7 - реостат; 8 - тумблер включения линии А2В2,
9 - 10 - батареи питания;
11 - диэлектрические коврики; А1В1 и
А2В2 - токовые линии; MN - приемная
линия
7.3. Токи в питающих линиях установок МВП всегда направлены в противоположные стороны, а их величины подбираются из соотношения
|
|
где I1 и I2 - соответственно сила тока в малой и большой токовой линиях;
l1 и l2 - величины полуразносов малой и большой токовой линии;
а - величина полуразноса измерительной линии.
7.4. МВП разработан в двух модификациях: зондирования - ЗМВП и профилирования - ПМВП.
7.5. При выборе величин разносов токовых линий в ЗМВП следует придерживаться следующих рекомендаций ЦНИИС:
наибольшее отношение величины последующего действующего расстояния l0 к предыдущему не должно превышать 1,5;
отношение величины разноса меньшей токовой линии к величине MN должно быть не менее 3;
отношение длин токовых линий l2/l1 должно быть близким к величине
;
в процессе работ токовые и измерительные линии не должны соприкасаться между собой и по возможности не находиться в непосредственной близости друг от друга.
Монтажная схема установки приведена на рис. 36.
7.6. Величина разносов установки ПВМП выбирается на основании рекогносцировочных зондирований. При выборе величины разносов установки ПВМП рекомендуется учитывать следующее:
оптимальным отношением длин тоновых линий является величина 1,7 - 2;
для четкого проявления высокоомных объектов действующее расстояние l0 должно быть в 3 - 4 раза больше глубины залегания этого объекта. Действующим расстоянием установки принято считать среднее арифметическое из полуразносов малой l1 и большой l1 токовой линий.
7.7. Для выполнения полевых работ может быть использована серийная электроразведочная аппаратура и оборудование: АЭ-72, ЭСК-1, ЭСК-2; реостат с сопротивлением 1 - 3 КОм, набор сопротивлений, две батареи типа 29-ГРМЦ-13 или 100-АМЦГ-2. В качестве источников питания при АB > 1000 м следует использовать генераторы постоянного тока.
7.8. Расчеты показывают, что погрешность определения ρТ в основном определяется точностью подбора токов и расстановки токовых электродов. Допустимая ошибка измерений тока mq = ±0,125.
7.9. Измерения ρТ на точке выполняются в следующем порядке:
измеряют ΔU1 и I1 при включенной линии А1B1;
измеряют требуемую величину тока I2 в большой токовой линии А2В2 по формуле
|
|
(8) |
где D - коэффициент пропорциональности, определяемый из соотношения:
|
|
(9) |
где K1 и K2 - соответственно коэффициенты для малой и большой токовых линий;
l1 и l2 - полуразносы малой и большой токовых линий;
подбирают ток I2 в большой токовой линии при помощи реостата и набора сопротивлений;
измеряют величину ΔU2 при включенной одной линии А2В2;
измеряют величину Δ(ΔU), для чего включают обе токовые линии с противоположным направлением тока;
вычисляют величину ρТ по формуле
|
|
(10) |
где
|
|
(11) |
При измерении ΔU2 и Δ(ΔU) тщательно проверяют величину l2, добиваясь ее постоянства. Одновременно с вычислением ρТ определяется и ρK.
Рис. 37. Кривые ЗМВП и ВЭЗ
1 - кривые ρK ВЭЗ; 2- кривые ρT ЗМВП
7.10. Во всех точках, где отмечено нарушение закономерного хода кривой, следует проверить правильность размеров установки и расстановки питающих и приемной линий, а затем произвести повторные отсчеты при изменении силы тока в питающих линиях.
7.11. При значениях Δ(ΔU) < 1 мВ необходимо внимательно следить за знаком этой величины, поскольку возможны случаи, когда ΔU2 > ΔU1 и величина Δ(ΔU) становится отрицательной (кривая ЗМВП терпит разрыв). Последнее имеет место при наличии в разрезе вертикального контакта двух однородных пород с отношением сопротивлений ρ2/ρ1 ≥ 5.
7.12. При значительной дифференциации разреза по УЭС допускается трансформация кривой ρK ВЭЗ в кривую ρТ путем пере счета по формуле
|
|
(12) |
где l2 и l1 - полуразносы последующей и предыдущей токовых линий;
и
- соответствующие им кажущиеся
сопротивления.
Форма построения пересчитанных кривых ЗМВП показана на рис. 37.
7.13. Начальным этапом обработки кривых МВП является их качественная интерпретация, основные приемы которой остаются такими же, как и в методе ВЭЗ. При этом необходимо иметь в виду следующие особенности кривых ЗМВП.
7.14. В случае разрезов типа Н (ρ1 > ρ2; ρ2 < ρ3) ордината точки минимума на кривой ρT ЗМВП меньше соответствующей ординаты на кривой ρK ВЭЗ. Кривая ЗМВП при большой мощности второго слоя (v ≥ 24) выходит после минимума на асимптоту, ордината которой близка к УЭС второго слоя. Значения абсцисс минимумов при малых μ и v превышают суммарную мощность (h1 + h2) не более чем в 2,3 раза.
Рис. 38. Графики зависимости
абсциссы минимума и максимума от v и μ
в разрезах типов Н(а) и K(б)
С увеличением μ и v
отношение
уменьшается и при v = 24 она в
6,25 раза меньше глубины залегания опорного горизонта (рис. 38, а).
7.15. Над разрезами типа K (ρ1 < ρ2, ρ2 > ρ3) отношение абсцисс точек максимума кривых ρT и ρK изменяется от 1,3 до 9,2. Сокращение разносов в МВП относительно ВЭЗ тем больше, чем выше риг. Отношение ординат точек максимума кривых ВЭЗ и ЗМВП изменяется от 1,01 до 3,19 (при μ = 39 и v = 5). Ординаты максимума кривых ρT с v = 9 и 24 незначительно превышают значения УЭС второго слоя. Значения абсциссы максимума при v < 2 больше суммарной мощности (рис. 38, б). Смещение абсциссы ρTмакс в основном определяется изменением мощности первого горизонта, в то время как в методе ВЭЗ на ту же величину влияют все параметры разреза. Смещение ординаты ρTмакс зависит от изменения сопротивления второго горизонта и эта зависимость больше, нежели для кривых ρK ВЭЗ.
7.16. Количественную интерпретацию кривых ρT ЗМВП рекомендуется проводить при помощи палеток ЗМВП, альбом которых составлен на основе пересчета трехслойных теоретических кривых ВЭЗ. В основу систематизации однотипных кривых ρT положен принцип постоянства соотношения мощностей, поскольку в пределах небольших площадей чаще изменчив этот параметр при относительном постоянстве УЭС слоев, слагающих разрез.
7.17. Применение палеток для интерпретации двухслойных и трехслойных кривых ρT ЗМВП аналогично тому, что имеет место при интерпретации кривых ВЭЗ (рис. 39).
7.18. При совмещении интерпретируемой кривой ρT ЗМВП с палеточными следует добиваться совмещения перегибов этих кривых. Несовпадение интерпретируемой кривой с теоретическими означает, что в разрезе присутствует либо большее число слоев, либо вблизи центра ВЭЗ расположены наклонные или вертикальные контакты.
Рис. 39. Палетка двухслойных кривых (μr > 1)
1 - двухслойные кривые ρK/ρ1; 2 - двухслойные кривые ρT/ρ1
7.19. По абсциссам смещения эквивалентных точек
определяют мощность второго слоя h2,
а из значения
двухслойной палетки находят ρ3.
Значение ρ3, определенное с помощью двухслойной палетки и
вспомогательных палеток, является максимально возможным для кривых типа Н
и минимально возможным для кривых типа K.
7.20. При достаточно большой мощности второго слоя (v = 5 ÷ 24 для μ = 1/39), кривые Н характеризуются ложным минимумом с ρT < ρ2, а кривые K ложным максимумом с ρT > ρ2.
Рис. 40. Кривые ρK ВЭЗ и ρT ЗМВП вблизи тектонического нарушения
1 - кривые ρK ВЭЗ
и особые точки на них; 2 - кривые ρr ЗМВП
и результаты их интерпретации;
3 - диаграмма УЭС по данным интерпретации кривых ρK ВЭЗ; 4 - четвертичные суглинки;
5 - сарматские известняки; кавернозные; 6 - меловые мергели; 7
- кембрийские песчаники
7.21. При малой мощности второго слоя, когда трехслойные кривые ρT ЗМВП внешне похожи на двухслойные, не рекомендуется интерпретировать кривую ρT с помощью двухслойной палетки, поскольку это может привести к большим ошибкам при определении глубины залегания кровли третьего слоя. В этом случае наблюденную кривую рекомендуется интерпретировать способом непосредственного наложения на палеточные трехслойные кривые соответствующего типа трехслойного разреза.
7.22. При интерпретации многослойных кривых ЗМВП применяют те же приемы, как и при интерпретации многослойных кривых ρK ВЭЗ
7.23. В качестве примера рассмотрим кривые, приведенные на рис. 40. Это многослойные кривые ρK ВЭЗ и ρT ЗМВП, полученные при изучении тектонической трещиноватости в кембрийских песчаниках и меловых карбонатных породах. Кривые ρK ВЭЗ проинтерпретированы методом особых точек. Для интерпретации кривых ρT ЗМВП были использованы координаты максимумов, по которым определялись величины УЭC непроводящих горизонтов и их ориентировочные мощности. Можно видеть, что точность оценки мощности и УЭС непроводящих слоев по данным ВЭЗ и ЗМВП одинакова. Глубины залегания непроводящих пластов, а также мощность и УЭС проводящих горизонтов установлены с помощью ЗМВП весьма приближенно, что обнаруживается при сопоставлении результатов интерпретации кривых ρT ЗМВП с данными ВЭЗ и бурения (см. рис. 10). В области тектонического нарушения ЗМВП № 4 структура разреза в общем остается тон же, что и за его пределами. Увеличение трещиноватости карбонатных пород сопровождается уменьшением УЭС, что уверенно обнаруживается с помощью любого из рассматриваемых видов зондирования.
7.24. МВП применяется с целью выявления, оконтуривания и прослеживания маломощных горизонтов, поисков и оконтуривания закарстованных нарушений, старых подземных выработок, тектонических нарушений, картирования крутопадающих геоэлектрических нарушений, картирования крутопадающих геоэлектрических контактов, включая границы распространения мерзлых и талых пород. Для получения надежных результатов ЗМВП рекомендуется комплексировать с ВЭЗ КС и ВЭЗ МДС, сейсморазведкой МПВ, каротажем КС, ПС, ГК.
8.1. Метод ВП применяется для исследования строения разреза в вертикальном и горизонтальном направлениях. Он основан на изучении вторичных электрических полей, возникающих вследствие физико-химических процессов, протекающих в породах при наложении первичного электрического поля. Дифференциация изучаемых отложений по поляризационным свойствам делает возможным применение метода ВП при инженерно-геологических изысканиях.
8.2. Вызванная поляризация пород зависит от очень многих факторов. Некоторые из них сходным образом влияют на измеряемые поляризационные параметры, что затрудняет их уверенную геологическую интерпретацию. Поэтому работы методом ВП следует обязательно сочетать с электроразведкой КС или МДС.
8.3. Метод вызванной поляризации применяется в качестве вспомогательного для уточнения и более достоверной геологической интерпретации результатов профилирования и зондирования КС и МДС. В качестве ведущего метода ЭП ВП и ВЭЗ ВП в инженерной геологии применяются для расчленения песчано-глинистых отложений, обладающих различными поляризационными свойствами, т.е. различной реакцией на приложенный импульс электрического тока.
8.4. Основные задачи, решаемые методом ВП, сводятся к:
расчленению пород по литологическому составу, пористости,
влажности, льдистости;
поискам и разведке строительных и балластных материалов;
поискам и разведке водоносных горизонтов;
изучению оползневых склонов;
картированию сильнольдистых мерзлых пород.
8.5. При инженерных изысканиях работы методом ВП следует проводить в импульсном варианте. В питающую линию подается ток силы Iпр. При этом на приемных электродах возникает разность потенциалов ΔUпр, обусловленная первичным полем в среде. Затем ток отключается и на приемных электродах остается разность потенциалов ΔUВП, связанная с изменяющимся во времени вторичным полем в той же среде.
8.8. Перед началом работ методом ВП на одном или нескольких характерных для данного района участках следует провести цикл опытных измерений, предназначенных для изучения зависимости ЭДС вызванной поляризации от величины тока зарядки и времени зарядки. На основании анализа графиков ΔUВП = f(Iзар); ΔUВП = φ(tзар) выбирается оптимальный режим зарядки, который используется при проведении всех работ.
8.7. В процессе измерений методом ВП регистрируется
величина поляризующего тока Iпр,
величина первичного поля ΔUпр и
ЭДС вызванной поляризации ΔUtВП
после отключения первичного поля. В зависимости от технических возможностей
ΔUВП регистрируется либо в
заданный момент времени t1, t2, …, tn
, либо спад ВП регистрируется во
времени непрерывно. Кроме того, регистрируется полное время релаксации
вторичного поля Тн.
8.8. По полученным данным рассчитывается:
а) ρK - кажущееся сопротивление
|
|
(13) |
где K - коэффициент установки, вычисляется по формуле (6);
б) ηK - кажущаяся поляризуемость
|
|
(14) |
в) αK - коэффициент, характеризующий скорость спада вторичного поля
|
|
(15) |
г) τn - коэффициент, характеризующий форму спада вторичного поля, которая аппроксимируется суммой экспонент
Для большинства горных пород n
= 3. При t > t0
В полулогарифмическом масштабе
соотношение (16) принимает вид:
|
|
(17) |
Если конечную часть кривой спада ВП, построенной в полулогарифмическом масштабе, аппроксимировать прямой, то точка пересечения последней с ординатой даст величину V03, а тангенс угла ее наклона будет равен 1/τ3lge, из этого соотношения определяется τ3. Для удобства определения τ3 можно построить несложную номограмму. Далее, вычитая последовательно из кривой спада третью, а затем вторую экспоненты, можно аналогичным образом определить τ2 и τ1. Однако для практических целей обычно достаточно параметра τ3.
Если породы достаточно уверенно разделяются по параметру αK, то величину τ3 можно не определять;
д) на практике многие исследователи пользуются приращением коэффициента ηK за некоторый постоянный (стандартный) интервал времени. В качестве такого принят интервал, заключенный между первой и одиннадцатой секундами после выключения тока заряда. Эта величина названа комплексным параметром АK:
|
|
(18) |
Параметр АK рекомендуется в качестве одного из основных при практическом использовании метода ВП для решения задач съемки, так как при вычислении параметра АK полностью исключается систематическая погрешность за счет дрейфа компенсационного нуля во время пропускания тока заряда. Значение параметра АK определяется не только амплитудой, но и временными характеристиками процесса деполяризации.
8.9. Для измерения по методу ВП разработаны и выпускаются серийно специальные электроразведочные станции, различающиеся по мощности, габаритам, способу регистрации и другим параметрам. Учитывая специфику геофизических исследований, при инженерных изысканиях для работы можно рекомендовать комплекты аппаратуры ВПО-62 и ВПП-67. Помимо этого допускается применение самодельных приставок к автокомпенсаторам ЭСК-1 и АЭ-72, если они отвечают техническим условиям измерении.
8.10. В качестве источника поляризующего тока используются бензоэлектрические агрегаты АБ-1, АБ-0,5, а также батареи сухих элементов или аккумуляторов.
8.11. Используемые измерительные приборы имеют два канала для регистрации ΔUпр и ΔUВП, причем последний позволяет вести визуальный отсчет ЭДС ВП в заданные моменты времени после выключения тока, начиная с 0,5 с. Все станции, кроме того, при наличии осциллографа позволяют вести регистрацию на фотобумагу.
8.12. В качестве приемных электродов используются неполяризующиеся электроды конструкции А.С. Семенова или А.С. Полякова. В качестве токовых электродов применяются металлические штыри.
8.13. Работы методом ВП производятся в двух модификациях: профилирование и зондирование.
Профилирование методом ВП (ЭП ВП)
8.14. ЭП ВП следует применять для выявления в геоэлектрическом массиве крутопадающих границ, разделяющих отложения с различными УЭС и поляризационными свойствами.
8.15. Измерения методом ЭП ВП обычно выполняются с помощью симметричных четырехэлектродных установок. Поскольку величина ЭДС ВП в осадочных породах невелика, рекомендуется применять установку Вейнера (АВ = 3MN), которая обеспечивает наибольшую величину измеряемого сигнала. Критерии выбора размеров установки в общем те же, что и при работах методом ЭП КС. При проведении ЭП ВП на большой территории и наличии мощных источников тока становится эффективной схема наблюдений методом срединного градиента.
8.16. Система наблюдений методом ЭП ВП определяется задачами, которые должны решаться с его помощью. Если метод используется как вспомогательный, то измерения производятся на аномальных участках профилей. Если же этот метод используется в качестве ведущего, то наблюдения выполняются по системе профилей. Критерии выбора расстояния между профилями, а также величины шага измерений остаются теми же, что и при ЭП КС.
8.17. При проведении ЭП ВП па каждой точке профиля
измеряются ΔUпр, Iпр,
и рассчитываются ρK, ηK,
αK.
Рис. 41. Примеры представления результатов наблюдений ЭП ВП
1 - суглинок; 2 - песчаник; 3 - лед; 4
- талые породы; 5 - мерзлые породы; 6 - график ρK;
7 - график ηK (по данным А.М. Снегирева. В.П. Мельникова, Л.Л.
Ляхова)
8.18. Результаты наблюдений изображаются в виде графиков ρK, ηK (в некоторых случаях и TK), которые вычерчиваются в одинаковом масштабе по оси абсцисс один под другим (рис. 41).
8.19. Интерпретация данных ЭП ВП заключается в выявлении аномальных участков на графиках ρK и поляризационных параметров. Аномалии выделяются по отклонениям графиков от общего фона. По конфигурации аномалий судят о форме и приблизительных размерах аномально поляризующего тела. Положение наклонных границ определяется с точностью до шага. Ориентировочное соотношение истинных поляризуемостей контактирующих пород определяется по значениям ηK. Простирание выявленных границ определяется путем корреляции аномалий сходного типа от профиля к профилю
8.20. Источники ошибок интерпретации данных ЭП ВП в общем те же, что и при ЭП КС. При анализе полевых материалов и составлении на основании их заключения о характере геоэлектрического разреза следует иметь в виду, что параметры ρK, ηK при фиксированных размерах установки могут отвечать разным глубинам. Кроме того, при существенном изменении УЭС пород вдоль профиля на графиках ηK будут наблюдаться вариации, несмотря на неизменную истинную поляризацию этих пород.
Зондирование методом ВП (ВЭЗ ВП)
8.21. ВЭЗ ВП применяют главным образом для расчленения пород по составу, дисперсности и влажности в вертикальном направлении. Постановка ВЭЗ ВП наиболее эффективна в том случае, когда границы, разделяющие отложения с различными УЭС и поляризационными свойствами, горизонтальны или составляют с земной поверхностью угол не более 20°.
8.22. Измерения в методе ВЭЗ ВП обычно выполняются симметричной установкой Вейнера (AM = MN - NB). Критерии выбора размеров установки те же, что и при ВЭЗ КС.
8.23. При работах методом ВЭЗ ВП в условиях низкоомных разрезов (УЭС пород не превышает первых единиц Ом⋅м) при больших разносах питающих электродов (AB/2 ≥ 500 м) кривая спада ВП, полученная с помощью установки Вейнера, может быть искажена индукционными явлениями (особенно на ранних временах). В этих условиях при проведении глубоких зондирований следует применять установки с взаимно перпендикулярными приемной и питающей линиями.
8.24. Поскольку для получения уверенного отсчета с увеличением длины линии АВ поляризующий ток должен увеличиваться, для получения надежного заземления количество токовых электродов на каждом конце питающей линии на больших разносах увеличивается до 10 шт.
8.25. Система наблюдений методом ВЭЗ ВП, как и в случае ЭП ВП, определяется задачами, которые должны решаться с его помощью. Соответственно измерения проводятся либо на отдельных участках, либо по всей изучаемой площади. Критерии выбора системы наблюдений остаются такими же, что и при ВЭЗ КС.
8.26. При проведении ВЭЗ ВП длины питающих и приемных линий увеличиваются одновременно, поэтому размотку приемной линии следует также производить с помощью катушек.
8.27. В процессе измерений методом ВЭЗ ВП на каждом
разносе регистрируется ΔUпр, Iпр,
по которым рассчитываются ρK и все
поляризационные параметры. Точность расчета этих параметров зависит от
устойчивости «нуля» ΔUВП, которую необходимо регулярно
контролировать. Результаты измерений представляются в виде кривых ρK, ηK,
αK, либо АK, строящихся друг под другом на билогарфмическом
бланке (рис. 42).
Рис. 42. Пример представления результатов ВЭЗ ВП
а - кривая ρK ВЭЗ
и особые точки на ней; б - кривая ηK; в
- кривая αK; 1 - пески; 2 - глины;
3 - граница сухих и обводненных песков (по данным В.А. Рянолова и А.Э.
Липской)
8.28. В случаях, когда метод ВП используется в качестве вспомогательного, результаты интерпретации изображаются па графическом материале основного метода, где проводятся дополнительно выявленные границы, выносятся значения новых определенных параметров.
8.29. Если метод используется в качестве основного, результаты интерпретации изображаются так же, как и результаты электропрофилирования и зондирования в виде корреляционных схем, колонок, разрезов, структурных карт. Принципы их построения остаются прежними (пп. 2.5, 4.4, 4.5).
8.30. Интерпретация данных ВЭЗ ВП заключается в определении формы и размеров, глубины залегания аномально поляризующихся тел, а также в установлении количества последовательно залегающих слоев, их мощности, УЭС и поляризуемости. Точность и надежность результатов интерпретации зависит от соотношения сопротивлений и поляризуемости контактирующих пород, от выдержанности и мощности отдельных слоев, от размеров возмущающих тел.
8.31. В случае горизонтально-слоистого или близкого к нему разреза интерпретация кривых ВЭЗ ВП производится либо методом подбора теоретических кривых, либо по особым точкам. Ошибка интерпретации не превышает 30 %.
8.32. При наличии в разрезе негоризонтальных границ интерпретация проводится по характерным точкам на кривых ηK и АK, при этом в некоторых случаях имеется возможность определить элементы залегания негоризонтальных границ.
8.33. Методика интерпретации остальных поляризационных параметров разработана слабее. Приблизительные значения αK, τ3, τK определяются по асимптотам соответствующих кривых. Решение этой задачи облегчается тем, что асимптотические значения указанных параметров достигаются при меньших разносах питающей линии, чем асимптоты ηK. Глубины залегания геоэлектрических границ оцениваются приблизительно по абсциссам перегиба кривых αK, τ3, τK.
8.34. Во всех случаях интерпретации ВЭЗ ВП при определении мощностей значительную роль играет метод сопоставлений с использованием параметрических кривых ВЭЗ, выполненных у скважин.
8.35. При сложном строении массива количественная интерпретация данных ВЭЗ ВП невозможна. В этом случае проводится качественная интерпретация, которая заключается в построении разрезов ρK и поляризационных параметров Эти разрезы позволяют получить общее представление об изменении электропроводности и поляризационных свойств в плане и с глубиной.
8.36. Геологическая интерпретация данных ВП основывается на ряде зависимостей поляризационных свойств пород от их состава, структуры, влажности и т.д.
9.1. Метод заряда (МЗ) основан на изучении постоянного (импульсного) электрического или низкочастотного магнитного поля точечного источника, расположенного в проводящей среде или во вмещающих отложениях.
При заряде проводящая среда (рудное тело, заполненная карстовая полость, трещиноватые зоны и т.д.), вскрытая скважиной или горной выработкой, становится источником тока (заряженное тело). На земной поверхности по определенной системе профилей наблюдают распределение электрического потенциала или градиента потенциала и таким образом определяют форму и пространственное положение объекта исследования. При этом аномальность электрического поля устанавливается путем сравнения с нормальным полем, характерным для данных геоэлектрических условий.
9.2. Метод заряда позволяет оценить в благоприятных условиях размеры объекта исследования, элементы его залегания, определить наличие связи между отдельными частями объекта, а также определять скорость и направление движения подземных вод (гидрогеологический вариант МЗ).
9.3. Для решения инженерно-геологических и гидрогеологических задач в настоящее время используется метод заряда с измерением характеристик электрического поля.
Эффективность метода заряда в значительной степени зависит от соотношения электрических параметров проводящей среды и вмещающих пород, условий залегания проводящей среды и т.д. Наиболее подходящими для работы МЗ являются участки с резкой контрастностью удельной электропроводности объекта и вмещающих пород.
9.4. Геоэлектрические массивы по степени сложности проведения работ МЗ можно подразделить на три типа.
9.5. Простые геоэлектрические массивы. К ним относятся массивы, в которых объекты расположены на небольшой глубине (до 25 м), мощность перекрывающих отложений соизмерима с размерами изучаемого объекта, величина контрастности удельной электропроводности объекта и вмещающих пород большая (ρвм/ρоб > 10).
9.6. Осложненные массивы. В них объекты расположены сравнительно глубоко (25 - 50 м), мощность перекрывающей толщи в 2 - 3 раза превышает размеры исследуемого объекта, контрастность электрических параметров среды и вмещающих пород средняя (ρвм/ρоб ≈ 10).
9.7. В сложных массивах объекты находятся на глубине свыше 50 м, перекрывающие отложения представлены несколькими слоями различной мощности и сопротивления, контрастность объекта и вмещающей среды по электрическим свойствам средняя или малая (ρвм/ρоб < 10).
9.8. Работы МЗ рекомендуется проводить в масштабах 1:5000 - 1:2000 при изучении поля на земной поверхности и 1:200 - 1:100 при измерениях в скважине.
9.9. Измерительная схема в МЗ весьма проста. Токовый электрод А+ заземляется в исследуемый объект или проводящую зону, связанную с ним. Второй токовый электрод В- относят на расстояние, превышающее в 10 - 20 раз глубину заземления электрода А («в бесконечность») с тем, чтобы его полем можно было пренебречь в пределах исследуемой площади.
Положительный полюс питающей батареи следует подключить к электроду А (зарядному электроду).
9.10. Измерения потенциала или градиент потенциала проводятся на земной поверхности по системе параллельных или радиальных профилей. Наиболее удобной является радиальная схема наблюдений по восьми профилям (16 лучей), отходящим от устья скважины через 45°. При параллельной сетке наблюдений расстояние между профиля, ми принимают равными 20 - 25 м с ориентировкой профилей в крест предполагаемого простирания изучаемого объекта. Расстояние между точками наблюдений рекомендуется не более 5 - 10 м. При исследовании тел небольших размеров сетку профилей и шаг наблюдений выбирают из такого расчета, чтобы возникающие аномалии регистрировались на двух профилях, как минимум, тремя точками.
9.11. При наблюдениях по способу потенциала необходимо всегда фиксировать знак измеряемых разностей потенциалов. Для этого необходимо, чтобы в процессе наблюдений не менялось взаимное положение измерительных электродов. Электрод, располагаемый на планшете восточнее (правее), всегда должен подключаться к клемме М прибора.
9.12. При работе по способу градиента потенциала длина измерительной линии и шаг наблюдений равны 5 - 10 м. В удаленных от зарядной скважины участках, где разности потенциалов оказываются весьма незначительными, измерительная линия может быть увеличена,
9.13. Измерения по всему профилю производят с одной стоянки измерительного прибора, к которому подводятся провода от токовых электродов и измерительных линий. Сила тока в питающей цепи измеряется и фиксируется через 10 - 20 точек наблюдения. Постоянство силы тока контролируется на каждой точке.
9.14. Для уточнения конфигурации изучаемых объектов (например, заполненных карстовых полостей) используется МЗ в поисково-картировочном варианте электрической корреляции МЗ (ПК). Измерительная схема способа следующая. По скважине производится запись потенциала и при различных заземлениях токового электрода А+ по радиальным лучам на поверхности земли вокруг скважины на расстояниях, составляющих 0,5; 1,0 и 1,5 м глубины залегания предполагаемого объекта. Второй токовый электрод В выносится за пределы участка работ, второй измерительный электрод N располагается у устья скважины. Шаг измерений по скважине принимают либо непрерывным (при регистрации каротажной станцией), либо через 0,5 - 1,0 м. Измерения производятся при подъеме электрода М от забоя скважины. Во время регистрации кривых ΔU необходимо следить за постоянством силы тока.
9.15. Для увязки и определения размеров объектов, вскрытых двумя (и более) скважинами, применяют МЗ в варианте электрической корреляции МЗ (K).
Схема измерения в этом способе следующая. В изучаемый объект (карстовую полость) в первой скважине (так называемая зарядная скважина ЗС) помещают токовый электрод А+, а по другой скважине (измерительной скважине ИС) изучают поведение потенциала. Затем зарядный электрод А+ помещают в скважину ИС, а запись потенциала ведут но скважине ЗС и производят увязку изучаемого объекта. Измерения потенциала проводят по скважине либо непрерывно (при регистрации каротажной станцией), либо через 0,2 - 0,5 м.
Для измерения используют тот же зонд, что в МЗ (ПК). Величину рабочего тока выбирают достаточной для уверенной регистрации потенциала и в процессе работы поддерживают постоянной.
9.16. Работы по МЗ при отсутствии или слабом уровне помех выполняются на постоянном токе серийной электроразведочной аппаратурой (АЭ-72, ЭСК-1, ЭСК-2 и т.д.). При наличии помех следует применять переменный ток низкой частоты с избирательной помехозащищенной измерительной аппаратурой (ИКС-50, АНЧ-3).
9.17. Для осуществления заряда в скважине служит специальный токовый электрод. С целью создания надежного контакта с проводящим слоем удобно пользоваться электродом, представляющим собой металлическую трубу длиной от 1 до 2 м, обмотанную антенным канатиком (для скважин, заполненных водой), или с выводом щеток из антенного канатика через 5 - 10 см по всей длине металлической трубы (щеточный электрод для сухих скважин).
9.18. Зарядный электрод опускается в скважину на каротажном кабеле (типа КТШ-0,3, КТО-1 и т.д.) либо на проводе ГПСМП и закрепляется на необходимой глубине. Оптимальное место точки заряда при этом уточняется измерением силы тока в цепи питания при перемещении электрода в пределах намеченного интервала заземления. Электрод следует закреплять в точке, в которой сила тока будет наибольшей.
9.19. В качестве приемных электродов применяются медные или латунные шпильки. Для уменьшения переходных сопротивлений рекомендуется глубже забивать электроды или увеличивать их число. Сопротивление линии MN должно быть не больше 5 - 10 кОм.
9.20. В качестве источников питания используются батареи типа 29-ГРМЦ-13 или ГРМЦ-6, аккумуляторы, генераторные установки, обеспечивающие получение устойчивых токов до 0,5 - 1 А в течение длительного времени.
9.21. Для определения направления горизонтальной составляющей скорости движения подземных вод применяется метод заряда в модификации изолиний потенциала (гидрогеологический вариант МЗ). Съемку изолиний производят по системе радиальных лучей.
9.22. Зарядный электрод выполняется в виде свинцового кольца. Его погружают в скважину до середины водоносного горизонта; второе заземление относят в «бесконечность». В скважину на уровне водоносного горизонта вводится концентрированный раствор электролита, обычно поваренной соли.
9.23. Первая серия эквипотенциальных линий снимается сразу после введения электролита в скважину. Они называются базисными изолиниями. Расстояние между устьем скважины и базисными изолиниями должно в 1,5 - 2,5 раза превышать глубину погружения зарядного электрода.
9.24. Последующая съемка изолиний производится через определенные интервалы времени, величина которых устанавливается эмпирически в соответствии со скоростью движения подземных вод в каждом конкретном случае. По направлению и величинам смешения этих изолиний относительно базисных судят о на правлении и величине горизонтальной составляющей скорости движения подземных вод (рис. 43).
Рис. 43. Схема представления результатов МЗТ
1 - направление подземного потока;
2 - базисные изолиния; 3 - смещенные изолинии на ΔR°; 4
- лучи азимутов измерений;
9.25. Наблюдения МЗ от носятся к разряду трудных из-за малой величины измеряемых разностей потенциалов. Оценку точности наблюдений рекомендуется производить на основании контрольных измерений на профилях, расположенных в пределах аномальных зон и на профилях и скважинах, вызывающих сомнения в надежности первичных измерений.
9.26. Оценка точности наблюдений производится по средней относительной разности значении первичного и контрольного измерения, при этом допустимая величина расхождения не должна превышать ±10 %. В отдельных случаях при наличии сильных помех допустимая погрешность может достигать ±20 %. Объем контрольных наблюдений не должен быть меньше 5 - 7 % объема всех рабочих наблюдений.
9.27. Результаты наблюдений в методе заряда в варианте электрической корреляции МЗ (К) изображают в виде корреляционной схемы, которая строится следующим образом: на геологические колонки исследуемых скважин переносят кривые потенциала, градиент потенциала и точки расположения электродов А+. Далее на кривых выделяют характерные точки и проводят их увязку.
9.28. Данные МЗ (К) подвергаются качественной интерпретации, которая состоит в установлении наличия электрической связи между Проводящими зонами (карстовыми полостями, трещиноватыми зонами и т.д.) а межскважинном пространстве. Основным признаком связи проводящих зон в межскважинном пространстве является совпадение максимума потенциала с коррелируемой зоной (полостью, пластом низкого сопротивления и т.д. в исследуемой скважине, рис. 44).
Рис. 44. Прослеживание
области карстовой полости и пластов высокого
сопротивления в межскважинном пространстве
1 - песчаники; 2 - известняки; 3 - карстовая
полость; 4 - зоны трещиноватости;
5 - контуры полости и границы пород по данным МЗ (K) и
МЗ (З); 6 - кривые потенциала;
7 - местоположение источников тока; 8 - кривые градиента
потенциала по МЗ
9.29. Окончательная интерпретация производится путем сопоставления выделенных аномалии МЗ (К) с известными геологическими разрезами скважин, данными каротажа и результатами наземных геофизических исследований.
10.1. Естественные электрические поля образуются в результате различных процессов, происходящих в горных породах и вызывающих появление электрических зарядов. Способ изучения локальных естественных электрических полей назван в электроразведке методом естественного электрического поля (ЕП).
10.2. При инженерно-геологических изысканиях применение метода естественного электрического поля (ЕП) обусловлено возможностями решения не только узких инженерно-геологических задач, например выявления зон интенсивной фильтрации вод в теле плотины, в бортах канала или водохранилища и т.д., но и детального изучения во времени различных процессов, происходящих в массивах грунтов или инженерных сооружений.
10.3. Многообразие инженерно-геологических задач, решаемых с помощью метода ЕП, вытекает из физических предпосылок возникновения и существования во времени различных по своей природе естественных полей. К основным из них следует отнести электрохимические, фильтрационные и диффузионные, а также естественные фоновые и меняющиеся во времени поля.
10.4. Электрохимические поля образуются вокруг искусственных подземных проводников (подземные трубопроводы, металлические опоры железно- и автодорожных мостов, линий электропередач, металлических крепей шахтных стволов и т.д.), подвергающихся коррозионным процессам, а также на площадях развития сульфидных залежей руд, толщ графитизированных, пиритизированных, пирротинизированных, шунгитоносных и углистых пород, пластов антрацита, магнетитовых тел и некоторых других геологических образований.
Для электрохимических полей отмечена зависимость изменения интенсивности поля от изменения уровня грунтовых вод. На заболоченных участках или на участках с высоким УГВ интенсивные естественные поля электрохимической природы, как правило, не наблюдаются.
10.5. Фильтрационные поля образуются при фильтрации подземных вод в грунтах или в массиве инженерных сооружений. Наиболее интенсивно они проявляются в условиях резко пересеченного рельефа или в долинах рек. Возвышенности, с которых воды фильтруются в пониженные области, характеризуются отрицательными значениями потенциала и, наоборот, пониженные области рельефа - положительными. Наличие устойчивой связи между формой рельефа и формой графика потенциала ЕП фильтрационного характера позволило установить функциональную зависимость вида E = KΔh, где K - коэффициент пропорциональности; Δh - превышение между элементами рельефа. Поэтому при изысканиях в районах с сильно пересеченным рельефом необходимо оценивать значения потенциала ЕП, обусловленные рельефом местности, и учитывать их при выделении полей от изучаемых объектов. Следует особо отметить как один из диагностических признаков распознавания природы естественных полей это зависимость градиента фильтрационных потенциалов от скорости движения подземных вод, их минерализации, мощности водоносного гори, зонта, размеров и глубины залегания подземного потока и некоторые другие факторы.
10.6. Диффузионные поля обусловлены диффузионно-сорбционными процессами, происходящими в местах соприкосновения подземных или наземных вод, имеющих различную концентрацию и состав растворимых солей. Интенсивность диффузионных полей зависит от электрохимических свойств твердых минералов, слагающих среду, особенно от скорости растворения или выщелачивания активных элементов. Эти поля характеризуются небольшой интенсивностью и весьма широким распространением. Диффузионные поля выявляются экспериментально с учетом тщательного изучения физико-химических и гидрогеологических условий района работ.
10.7. К естественным полям, меняющимся во времени, прежде всего следует отнести поля, интенсивность которых зависит от резких колебаний температуры поверхностного слоя грунтов при отсутствии развитого слоя почвы, а также от изменения упругих напряжений в массиве горных пород. Природа и механизм образования меняющихся во времени полей окончательно не установлены. Эти поля пытаются использовать при стационарных наблюдениях за упругой деформацией массивов горных пород при изучении движения селевых потоков и оползней. Интенсивность меняющихся во времени полей в зависимости от природы их возникновения может быть самой различной; она меняется от долей милливольт при температурных изменениях до значительных величин в период подготовки разрушительных землетрясений.
10.8. Для работы методом естественного электрического поля применяется аппаратура ЭП-1, ЭСК-1, ЭСК-2, АЭ-72. При стационарных наблюдениях для непрерывной или дискретно-непрерывной записи сигнала могут использоваться регистраторы типа ПАСК-8, ПАСК-9, ФР-5, Н-361, Н3020 и некоторые др.
10.9. В качестве приемных (измерительных) электродов используются неполяризующиеся электроды специальной конструкции, представляющие собой пористый сосуд (керамический или брезентовый), заполненный насыщенным раствором медного купороса. В сосуд вмонтирован медный стержень с отверстием для подключения соединительных проводов.
10.10. Другое оборудование для работы методом естественного электрического поля (электроразведочные катушки, одно- или двухштырьковые вилки, электроразведочные провода и т.д.) то же, что и для метода сопротивления. Для работы методом ЕП желательно применять электроразведочные легкие провода в хлорвиниловой изоляции или специальные провода ГПСМПО.
10.11. В методе ЕП применяются два способа наблюдения: способ потенциала, когда на каждой точке измеряют потенциал по отношению к какой-либо одной точке профиля или планшета, и способ градиента потенциала, при котором измеряют разность потенциалов между соседними точками.
10.12. При работах способом потенциала маршрутные наблюдения следует проводить с учетом возможного изменения геологической и геоморфологической обстановки, а также влияния промышленных помех. Все наблюдения па планшете приводят к одному условно выбранному нулю. Для этого выполняют при необходимости серию увязочных маршрутов или профилей. Повторные увязочные измерения производят по магистрали и, если возможно, по концам профилей.
10.13. В сложных случаях, когда обычные способы увязки не дают достаточно надежных результатов, на планшете разбивают профиль, параллельный основной магистрали, с таким расчетом, чтобы он проходил в основном по нормальному полю. Наблюдения ведутся на нескольких точках по обе стороны от увязочной линии на каждом профиле. В результате строят карту отрезков кривых потенциала, которые должны быть параллельны основным графиком ЕП. При этом в качестве пулевой точки выбирают одну из точен в нормальном поле в средней части планшета. Приведение значений ЕП к одному нулю производится для каждого профиля по отрезкам увязочных кривых путем параллельного смещения их к новой нулевой линии.
10.14. Признаком правильной увязки профилей служит одинаковая величина нормального поля на всем планшете с учетом возможного появления локальных полей ЕП другого происхождения.
10.15. Аналогично увязываются значения ЕП соприкасающихся отдельных планшетов. Как правило, их увязка осуществляется путем перекрытия на 3 - 5 точках общих магистралей или профилей.
10.16. В отдельных случаях, когда невозможно произвести увязку данных ЕП, результаты работ могут быть представлены неувязанными в виде карт графиков ЕП, с приведением всех графиков по рабочим и увязочным профилям.
10.17. При работе способом градиента потенциала снимают разности потенциалов между соседними точками профиля. За основную систему наблюдения принята такая, при которой каждый электрод поочередно становится то передним то задним. После наблюдения на точке задний электрод перемещается вперед через два интервала и т.д. При каждом переходе провода отключаются от электродов, сохраняется неизменность их положения на данном профиле. При обратном ходе первым должен быть электрод N.
10.18. Наблюдения выполняют по системам профилей, образующим замкнутые ходы, которые удобно составлять из двух соседних профилей или их половин. При такой системе наблюдений исключается необходимость учитывать различия в поляризации электродов. Увязка замкнутых полигонов осуществляется по магистралям или концам общих для данных полигонов профилей.
10.19. Аномалии, выявленные способом градиента, рекомендуется детализировать способом потенциала с малыми линиями.
10.20. При работе способом градиента необходимо учитывать то обстоятельство, что погрешность отдельного измерения отражается на значении потенциала многих других точек. Ошибочные наблюдения устанавливаются по резким выскокам на отдельных разрозненных точках на графиках градиента потенциала.
Особо следует обратить внимание на выявление блуждающих токов в земле. Для этого рекомендуется снимать показание с прибора через каждые 5 - 10 с в течение 10 - 15 мин в каждой 5 - 10-й точке. Если измеряемая разность потенциалов изменяется по величине и знаку или только по величине, то это указывает на наличие в земле блуждающих токов. Если разность потенциалов устойчива, не меняется во времени, то это свидетельствует о наличии в земле токов естественного электрического поля или от линий электропередач постоянного тока, подключенных по схеме «провод-земля».
10.21. Организация наблюдения за естественным полем на точке сводится к следующим операциям:
а) при работе способом потенциала прибор устанавливается у неподвижного электрода, оборудование в некотором удалении от него, с тем, чтобы не потревожить электрод в процессе наблюдений, прибор прочно закрепляется на треноге с таким расчетом, чтобы наблюдатель мог следить за присоединением провода к катушке и работой рабочих на линии.
Вычислитель должен быть рядом с наблюдателем с тем, чтобы последний мог, не отходя от прибора, следить за правильностью записей и построением кривой ЕП. Если наблюдатель передвигается вместе с передвижным электродом, то прибор устанавливается в 1 - 2 м от электрода М;
б) при работе по способу градиента прибор устанавливается в середине между электродами N и М или вблизи электрода М. По окончании измерений прибор переносится на следующую точку.
10.22. Измерения на точке выполняются в строгом соответствии с инструкцией по эксплуатации прибора. При рядовых наблюдениях измерения можно выполнять с погрешностью ±0,5 мВ. Из-за значительного влияния различного рода помех более высокая точность измерений не имеет смысла.
10.23. Оценка точности наблюдений при работе способом потенциала производится по средней разности между основными и повторными наблюдениями. Средняя разность по планшету не должна превышать 5 мВ.
10.24. При работах по способу градиента потенциала оценка точности производится по величине невязки, которая не должна превышать 5 % суммы абсолютных значений измеренных градиентов по полигону. Расхождение наблюдений на отдельных точках в спокойном поле не должно превышать 5 мВ, в аномальных полях - 15 мВ.
10.25. Общий объем контрольных наблюдений при работах по методу ЕП может составлять от 10 до 30 % общего объема работ этим методом.
10.26. При стационарных непрерывных наблюдениях за изменением естественного электрического поля основным документом являются осциллограмма или лента самописца, а также журнал регистрации лент или осциллограмм.
10.27. В обязательном порядке в процессе работ вычислитель строит графики потенциала или градиента потенциала на миллиметровой бумаге, включенной в журнал полевых работ. Эти графики служат для оперативного управления процессом полевых наблюдений, своевременного выбора точек для контроля измерении и т.д.
10.28. Результаты работ представляются в виде карт графиков потенциала или градиента потенциала, карты потенциалов в изолиниях, а также в виде отдельных графиков (рис. 51, 59).
Рекомендуется карты изолиний потенциала составлять с учетом карты графиков потенциалов, так как использование только цифровых материалов может привести к серьезным ошибкам в проведении изолиний.
При проведении работ только способом градиента потенциала (без вычислений потенциалов) представляют карты профилей градиента потенциала. Значение градиента потенциала при этом дается на метр или на длину основной установки независимо от того, с каким шагом проводили наблюдения,
10.29. Карты графиков и карты изолиний представляются на единой топооснове, в масштабе производимых инженерно-геологических съемок (работ). Для привязки профилей ЕП на карты выносятся буровые скважины, горные выработки, триангуляционные пункты, инженерно-геологическая ситуация и т.д. Вертикальный масштаб графиков выбирается в зависимости от уровня наблюденного естественного поля и решаемой задачи с таким расчетом, чтобы ошибка измерений не превышала одного миллиметра.
10.30. На полевых и на окончательных графиках потенциала или градиента потенциала, помещаемых в отчет, обязательно должны быть нанесены все основные, контрольные наблюдения. Построенные кривые потенциала приводят к единой для всего планшета нулевой точке, а затем для всей площади работ.
10.31. При качественной интерпретации необходимо прежде всего установить возможную природу естественного поля и связь его с изучаемыми объектами или процессами.
По картам профилей и изолиний выделяются аномальные зоны, определяются ориентировочно форма и глубина залегания исследуемого объекта.
При предварительном анализе результатов работ методом ЕП учитываются данные других видов исследований, проводившихся в пределах изучаемой площади. При необходимости выделяются участки детальных работ, по которым должна быть дана более полная и точная интерпретация результатов наблюдений, а также намечены места заложения проверочных горных выработок или скважин.
10.32. Общая схема интерпретации материалов при поисковых и картировочных работах может быть представлена в следующем виде:
а) на карте выделяют аномальные зоны с интенсивностью аномалий, в 2 - 3 раза превышающей погрешность измерения и колебания фона нормального поля;
б) в пределах аномальных зон на геологической или инженерно-геологической основе выделяются и прослеживаются отдельные аномалии, устанавливается их связь с изучаемыми объектами. При этом учитываются все факторы, мешающие правильной интерпретации наблюденных данных, в том числе геоморфологические, гидрогеологические, геохимические и антропогенные;
в) по характеру аномалий на графиках ЕП определяется принадлежность их к одному или нескольким объектам и дается приблизительная оценка глубины залегания последних;
г) данные метода ЕП рассматриваются в комплексе с другими геофизическими материалами для повышения достоверности результатов интерпретации, что позволяет разделить аномалии, имеющие разную природу их образования.
10.33. Наиболее часто метод естественного поля применяется для изучения фильтрационных полей, в основном для определения направления фильтрации подземных вод и локализации участков фильтрации вод через основания плотин и других инженерных сооружений. Фильтрационные поля обычно хорошо идентифицируются и надежно выделяются среди других полей по их характерным особенностям и связи с определенной литолого-гидрогеологической или геоморфологической обстановкой.
10.34. На интенсивность фильтрационного поля оказывает влияние электрическое сопротивление среды и подземных вод. Так, удельное сопротивление сильно минерализованных вод часто не превышает десятых долей Ом⋅м, тогда как пресные воды достигают сопротивления многих десятков и даже сотен Ом⋅м. За счет различной степени минерализации интенсивность фильтрационных полей может меняться на 2 - 3 порядке. Это обстоятельство позволяет успешно использовать метод ЕП при решении задач мелиорации, связанных с расслоением почв и грунтов.
10.35. Благоприятными условиями для образования интенсивных полей ЕП являются: большой перепад давления в фильтрующем пласте; малая минерализация вод, насыщающих пласт; небольшая глубина залегания водонасыщенного фильтрующего горизонта; высокое УЭС покрывающих и подстилающих фильтрующий горизонт пород; тонкопористая структура пород. Эти условия наиболее полно удовлетворяются в районах с горным рельефом, где наблюдается четкая зависимость характера поля от рельефа. Участки водосбора (возвышенности) отмечаются отрицательными, а области разгрузки (долины) - положительными аномалиями потенциала ЕП. При этом в прирусловой части рек, ручьев наблюдается соответственно повышение потенциала в направлении к руслу реки.
Кроме того, могут отмечаться узколокализованные участки вертикальной фильтрации вод над закарствованными зонами, отмечающиеся, как правило, отрицательными аномалиями ЕП. При поступлении карстовых вод из коренных пород в наносы (движение воды снизу вверх) места водопритоков отмечаются положительными аномалиями.
10.36. Метод ЕП может применяться на различных стадиях инженерно-геологических и инженерно-гидрогеологических изысканий или гидромелиоративных исследований, а также при сейсмическом микрорайснировании. Круг решаемых задач при этом определяется не только целевым характером выполняемых изысканий, но и специфичными инженерно-геологическими условиями района работ.
10.37. При инженерно-геологических изысканиях метод ЕП применим для выявления закарстованных зон, изучения процесса карстообразования (суффозий), движения оползней, коррозии подземных трубопроводов, мостовых переходов, металлических опор электропередач, выявления зон тектонических нарушений, трещинозатости пород и т.д.
10.38. При инженерно-гидрогеологических изысканиях и мелиорации метод ЕП применяется для поисков источников водоснабжения па базе подземных и поверхностных вод, локализации мест фильтрации вод из водохранилищ и каналов, выявления восходящих под наносы вод, изучения динамики влагопереноса в зоне аэрации, оконтуривания очагов питания селей, контроля за колебаниями уровня грунтовых вод и их минерализации, определения размеров, мощности и глубины залегания подземного потока воды.
10.39. Весьма перспективно применение метода ЕП при сейсмическом микрорайонировании территории массовой застройки жилыми зданиями и сооружениями. По стационарным наблюдениям за изменением ЕП представляется возможным оценивать напряженное состояние массива, особенно в местах возможных сейсмодислокаций, устанавливать связь слабых землетрясений, регистрируемых с помощью сейсмологической аппаратуры, с изменениями естественного электрического поля. Появление электрического поля в период упругих напряжений объясняется проявлением новых или нарушением старых двойных электрических слоев, поляризацией горных пород, связанных с развитием трещин.
11.1. В основу метода положена отчетливая зависимость
УЭС подземных вод от их минерализации, т.е. от концентрации в них растворов
солей, содержащих преимущественно ионы
. Резистивиметрия выгодно отличается от
гидрохимических методов определения минерализации подземных вод своей высокой
производительностью и возможностью непрерывной регистрации изменений УЭС воды,
что в свою очередь позволяет с большей точностью картировать изменения
минерализации вод как по площади, так и по глубине водоемов.
11.2. Разрешающая способность и точность резистивиметрии делает возможным ее применение при гидрохимических съемках и режимных наблюдениях вместо массовых гидрохимических анализов однотипных вод. Получаемая при этом информация используется для районирования водоемов по минерализации вод и определения мест разгрузки подземных вод, принадлежащих к различным горизонтам. При работах в районах, сложенных скальными породами, резистивиметрия может быть использована для обнаружения и трассирования обводненных тектонических нарушений и трещиноватых зон. При решении проблем, связанных с охраной окружающей среды, резистивиметрия может быть использована для изучения загрязнения поверхностных и подземных вод промышленными стоками.
11.3. УЭС поверхностных и подземных вод измеряется с помощью резистивиметра, который представляет собой трех- или четырехэлектродного установку, смонтированную либо по принципу каротажного зонда, либо на внутренней стенке цилиндрического сосуда. Через токовые электроды резистивиметра пропускается ток I, а на приемных электродах измеряется разность потенциалов УЭС воды вычисляется по формуле
|
|
где K - коэффициент резистивиметра, определяется экспериментально путем измерений в растворах с известным УЭС.
11.4. Резистивиметры могут быть любой конструкции, удобной для измерений в заданных условиях. Необходимо, чтобы конструкции резистивиметра допускали непрерывное измерение УЭС в движении. В качестве измерительной аппаратуры используются электроразведочные автокомпенсаторы постоянного и переменного тока типа ЭСК-1, АЭ-72, АНЧ-2, если наблюдения ведутся дискретно, по отдельным точкам. Измерения в движении осуществляются с помощью шлейфовых осциллографов или самописцев различных систем. Во всех случаях резистивиметрия должна сопровождаться термометрией в точках определения УЭС воды.
11.5. Наблюдения ведутся либо в виде профилирования по сети продольных профилей при постоянной глубине погружения резистивиметра, либо в виде «зондирований», предусматривающих определение УЭС и температуры воды на различных глубинах в одной точке. Профили и точки «зондирований» обязательно должны быть привязаны к лоцманским или топографическим картам.
11.6. Результаты измерений изображаются в виде графиков изменения УЭС и температуры воды в горизонтальном (профилирование) или вертикальном (зондирование) направлении (рис. 45). При определении минерализации вод УЭС приводят к температуре 18° С по формуле
|
|
(16) |
где t° - температура, при которой измерено УЭС воды.
11.7. В зависимости от решаемых задач и масштаба съемки окончательные результаты резистивиметрии изображаются в виде:
графиков ρ18° и М, г/л, по отдельным профилям (см. рис. 45);
карт изоом УЭС воды на исследованной площади съемки (рис. 46);
карт изолиний равной минерализации поверхностных вод; кривых режимных наблюдений, отражающих изменение ρ18° и M, г/л, во времени (см. рис. 45).
Рис. 45. График изменения УЭС и минерализации воды в реке при профилировании
1 - глубина дна реки; 2 - УЭС воды в реке; 3 - минерализация воды в реке
Рис. 46. Результаты резистивиметрической съемки по р. Оке (по И.А. Братниной)
1 - линии изоом воды; 2 - значения УЭС воды в водоемах, источниках, колодцах
12.1. Несколько электроразведочных методов могут применяться совместно (комплексироваться) с целью устранения неоднозначности результатов интерпретации.
12.2. Включаемые в комплекс электроразведочные методы должны иметь:
физические предпосылки для решения поставленных задач в заданных геолого-структурных условиях;
серийную аппаратуру и оборудование;
разработанную методику проведения полевых работ и интерпретации получаемых результатов применительно к реальным геологогеофизическим условиям.
Невыполнение хотя бы одного из перечисленных выше пунктов сводит на нет практическую ценность любого сколь угодно перспективного метода.
12.3. По информативности и технико-экономическим показателям включаемые в комплекс электроразведочные методы делятся на основные и вспомогательные.
12.4. К основным относятся методы, которые позволяют получить максимальный объем информации о составе, строении и свойствах грунтов в заданных условиях при оптимальных затратах средств и времени. С помощью основных методов выполняется основной объем электроразведочных работ.
12.5. Вспомогательные методы привлекаются для уточнения и устранения неоднозначности решений, полученных с помощью основных методов. В их число включаются методы, обладающие высокой надежностью и точностью.
12.6. Согласно СНиП II-9-78 (прил. 4), электроразведка может быть использована для;
изучения строения массивов грунтов;
установления и прослеживания зон тектонических нарушений и трещиноватости;
выявления и оконтуривания полостей естественного и искусственного происхождения;
определения направления, скорости течения и мест разгрузки подземных вод;
определения коррозионной активности грунтов и интенсивности блуждающих токов;
сейсмического микрорайонирования территории.
В каждом из перечисленных выше случаев приходится иметь дело с существенно различными задачами, условиями проведения работ и требованиями к точности получаемых результатов.
Изучение строения массива грунтов
12.7. Изучение строения массива грунтов предполагает решение таких задач, как:
расчленение разреза по составу;
определение рельефа кровли скальных оснований;
установление мощности коры выветривания;
определение уровня грунтовых вод (УГВ);
изучение распространения многолетнемерзлых пород и оценка их мощности.
Комплекс электроразведочных методов, а также роль каждого из них целиком зависит от геоэлектрических условии и условий измерений в пределах изучаемых массивов грунтов.
12.8. Простые геоэлектрические условия имеют место при сочетании слабо расчлененного рельефа местности с выдержанным пологим залеганием геоэлектрических границ. В этом случае основным электроразведочным методом следует считать ВЭЗ КС. К числу вспомогательных методов относится ВЭЗ ВП, который позволяет получить дополнительные сведения о составе и влажности пород. Методы ВЭЗ ВП, ЕП и МЗ могут стать основными при решении гидрогеологических задач и при наличии особо благоприятных предпосылок для их применения.
12.9. Простые геоэлектрические условия переходят в осложненные, если при спокойном залегании пород рельеф становится расчлененным, или, наоборот, при спокойном рельефе появляются выдержанные наклонные и крутопадающие геоэлектрические границы с различными элементами залегания. При работах в осложненных геоэлектрических условиях основными методами являются ЭП КС и ВЭЗ КС. В качестве вспомогательных следует использовать ЭП МДС, ВЭЗ ВП для определения элементов залегания геоэлектрических границ и уточнения состава и влажности грунтов. При решении гидрогеологических задач и изучении карста а число основных методов необходимо включить съемку, ЕП, МЗ и резистивиметрию поверхностных водотоков и водоемов.
12.10. Сложные геоэлектрические условия характеризуются сложным рельефом и невыдержанным залеганием различных по составу грунтов. Основными методами исследования в этих случаях являются ЭП МДС и ВЭЗ МДС двусторонними дипольными или трехэлектродными установками. Вспомогательными методами могут служить ВЭЗ и ЭП, ВП, ЕП, МЗ в «рудном» или гидрогеологическом вариантах, резистивиметрия поверхностных водотоков и водоемов. Необходимо иметь в виду, что указанный комплекс методов полезен при решении практически всех задач, связанных с изучением строения массива грунтов, поскольку обеспечивает получение максимума полезной информации. В качестве примера рассмотрим результаты работ, проведенных с целью изучения строения карстующейся толщи. Геоэлектрические условия в исследуемом районе могут быть отнесены к категории сложных из-за частой смены пород различной литологии и сложной конфигурации кровли карстующейся толщи.
Основным методом исследований служил ВЭЗ МДС, в качестве вспомогательного метода привлекалась съемка потенциала естественного поля
Исследования выполнялись двусторонними трехэлектродными установками по сети профилей с шагом 300 м. На участках детализации шаг сгущался до 25 - 50 м. Максимальные разносы питающей линии ВЭЗ достигали 300 м. Для определения параметров анизотропной толщи проводились крестовые ВЭЗ МДС.
Съемка естественного потенциала велась на той же территории с шагом, равным 10 м. Все наблюдения на площади производились по стандартной методике.
Типичная для данного района кривая двустороннего трехэлектродного ВЭЗ МДС представлена на рис. 47. Анализ этой кривой позволяет установить, что разрез имеет пятислойное строение.
Рис. 47. Типичные кривые
ρK и ΔUn/ΔUt двустороннего трехэлектродного
ВЭЗ МДС в сложных условиях
Первые два слоя залегают горизонтально. Кровля третьего горизонта простирается под острым углом к линии профиля. В кровле высокоомного горизонта присутствует ступень, простирающаяся под тупым углом к линии профиля. Результаты качественной интерпретации показаны на рис. 48. Количественная интерпретация кривой велась способом особых точек с помощью номограмм для негоризонтальных сред и дала следующие результаты:
|
h1 = 1 |
h2 = 2 |
h3 = 16 |
dАО = 10 м |
|
|
ρ1 = 1150 |
ρ2 = 280 |
ρ3 = 174 |
φ = 40° α = 21° |
|
|
dОВ = 20 м |
h4 = 13 |
h5 = ∞ |
dОВ = 50 м |
|
|
φ = 130° α = 25° |
ρ4 = 9 |
ρ5 = ∞ |
Δh = 32 м |
φ = 160° |
Рис. 48. Результаты качественной интерпретации кривых ρK и ΔUn/ΔUt ВЭЗ МДС № 51 (см. рис. 47)
Рис. 49. Карта залегания
карбонатных пород, полученная по данным
интерпретации двусторонних трехэлектродных ВЭЗ МДС на участке детальных работ.
На карту вынесены контуры, в пределах которых (по данным
интерпретации кривых ВЭЗ МДС) отсутствуют юрские глины
По данным количественной интерпретации ВЭЗ МДС построена карта глубин залегания карбонатных пород и гипсов (рис. 49), на которую вынесены границы «гидрогеологических окон», в пределах которых в разрезе отсутствуют плотные юрские глины. Особенности строения территории, установленные по данным электроразведки, показаны на блок-разрезе по ломаной линии I - I (рис. 50). На нем видно, что кровля имеет сложную форму. Древняя карстовая воронка приурочена к крупному переуглублению в кровле карстующейся толщи и сопровождается увеличением трещиноватости и пустотности известняков под ней. Вновь образовавшаяся воронка также приурочена к переуглублению. Однако известняки под ней достаточно плотные. Картина приобретает законченный характер, если обратить внимание на поведение поля ЕП (рис. 51). Над «гидрогеологическими окнами» наблюдаются отрицательные аномалии, свидетельствующие о преобладании здесь процессов поглощения подземных вод. Положительные аномалии, которые обычно связывают с зонами движения и разгрузки подземных вод, имеют вытянутую форму и совпадают с направлением переуглублений в кровле карстующейся толщи, а величина потенциала ЕП нарастает в направлении падения водоупора, указывая направление движения подземных вод. По геофизическим данным были заданы четыре скважины (см. рис. 49), Две из них располагались на точках ВЭЗ, а две другие - в области максимального поднятия и переуглубления для проверки достоверности построения геологической карты. Для каждой скважины были составлены соответствующие колонки по геофизическим данным с указанием числа слоев в разрезе, их мощности, состава пород и влажности (обводненности). Результаты бурения полностью подтвердили правильность геофизических данных.
Рис. 50. Блок-разрез по линии I - I
1 - значения УЭС пород; 2 - пески; 3 -
суглинки; 4 - песчаники; 5 - полость;
6 - обломочный материал; 7 - известняка; 8 - гипсы; 9 -
линии изопотенциал ЕП
Рис. 51. Карта изопотенциал ЕП на участке детализации
Другим примером могут служить результаты электроразведочных работ, полученные в одном из районов Крайнего Севера.
Электроразведочные работы на исследуемом участке проводились с целью мерзлотной съемки территории.
Геоэлектрические условия района работ относятся к категории сложных из-за невыдержанного залегания различных по составу и льдистости грунтов, широкого развития повторно-жильных льдов и термокарстовых процессов. Электроразведочный комплекс состоял из симметричного электропрофилирования и ВЭЗ в модификации двух составляющих. На первом этапе выполнялось ЭП МДС установкой АВ/2 = 30 м, MN/2 = 10 м и шагом, равным 20 м. Профили располагались взаимно перпендикулярно, образуя на местности замкнутые четырехугольники. Расстояние между профилями равнялось 300 - 500 м. На втором этапе работы для определения строения массива по вертикали проводились ВЭЗ МДС. Они размещались на местности выборочно с учетом данных ЭП МДС. Максимальные разносы питающей липни АВ/2 = 500 м.
В результате интерпретации ЭП МДС выделились участки с распространением сильнольдистых пород и полигональных льдов, на присутствие которых указывает частое чередование знакопеременных аномалии на графиках ΔUn/I, приуроченных к локальным максимумам на графиках ΔUt/I (рис. 52). Количественная интерпретация этих аномалий с применением соответствующих номограмм показала, что они вызваны вертикальными маломощными пластами высокого сопротивления, образующими полигональную систему. Глубина залегания этих пластов меняется от 4,5 до 9 м (табл. 5).
Практические кривые ρK и ΔUn/ΔUt симметричных ВЭЗ МДС, полученных над жилой ВЭЗ № 8 и между жилами ВЭЗ № 12, приведены на рис. 53. Результаты интерпретации их приведены ниже.
|
ВЭЗ № 8 (пк. 54) |
Аномалия на кривых ρK и ΔUn/ΔUt соответствует массиву, в котором под центром присутствует непроводящая жила бесконечного простирания вглубь. С помощью специальных номограмм, рассчитанных для этого случая, находим, что:
|
|
Пользуясь известными зависимостями УЭС от температуры и состава (см. рис. 1), находим, что первый от поверхности слой может быть представлен мерзлыми песками или супесями с массивной криогенной текстурой при температуре от -0,5 до -1 °С.
Рис. 52. График ΔUt/J(ρK) и ΔUn/J ЭП
МДС по профилю 1 - 1. Геоэлектрический
разрез и план простирания геоэлектрических границ
1 - жильные
льды; 2 - УЭС пород; 3 - граница мерзлоты; 4 - границы
террасы;
5 - точки ВЭЗ МДС; 6 - скважины и их номера
Рис. 53. Типичные кривые
ρK и ΔUn/ΔUt
над мерзлой толщей с повторно-жильными льдами.
I - IV особые точки на кривой ρK ВЭЗ
|
№ пикета |
Тип аномалий |
ΔUn/ΔUt |
An/At |
φ° |
h1, м |
|
51 |
Вертикальный непроводящий пласт малой мощности |
-0,03 |
0,15 |
79 |
9 - 11 |
|
54 |
То же |
+0,09 |
+0,26 |
109 |
7,5 |
|
58 |
» |
-0,16 |
-0,425 |
64 |
6,0 |
|
63 |
Наклонный контакт двух сред |
-0,22 |
-0,4 |
45 |
9 |
|
68 |
Вертикальный непроводящий пласт малой мощности |
+0,031 |
+0,15 |
100 |
9 |
|
70 |
То же |
-0,072 |
-0,175 |
77 |
6 |
|
74 |
» |
-0,035 |
-0,122 |
80 |
6 |
|
77 |
» |
-0,12 |
-0,33 |
68 |
6 |
|
78 |
Наклонный контакт двух сред |
-0,12 |
-0,21 |
59 |
12 |
|
80 |
Вертикальный непроводящий пласт средней мощности |
+0,15 |
+0,45 |
117 |
7,5 |
|
85 |
Вертикальный контакт двух сред |
-0,125 |
-0,135 |
78 |
0 - 1,5 |
|
91 |
Вертикальный непроводящий пласт средней мощности |
+0,056 |
+0,12 |
108 |
4,5 |
Второй слой по характеру залегания и величинам УЭС может быть отнесен к жиле ультрапресного льда с температурой от -6 до -8 °С. С и М = 0,01 - 0,001 г/л (см. рис. 4).
|
ВЭЗ № 12 (пк. 73) |
Тщательный анализ кривых ρK и ΔUn/ΔUt позволяет установить, что массив имеет семислойное строение типа AKQQQ. Восходящая ветвь кривой в интервале 5 < AВ/2 < 20 осложнена влиянием близко расположенной жилы льда и вздымается по отношению к оси абсцисс под углом более 45°. Подтверждением тому служит характерная аномалия на кривой ΔUn/ΔUt, указывающая на то, что жила или совокупность их простирается под острым углом к линии профиля. На больших разносах приемных линий искажающее влияние жил ослабевает и кривая ρK может быть проинтерпретирована как горизонтально-слоистая интерпретация ее по особым точкам дает следующие результаты:
|
h1 = 0,5 |
h2 = 2,5 |
h3 = 10 |
h4 = 24 |
h5 = 113 |
|
ρ1 = 600 |
ρ2 = 23400 |
ρ3 = 81000 |
ρ4 = 2160 |
ρ5 = 890 |
|
h6 = 65 |
h7 = ∞ |
|
|
|
|
ρ6 = 54 |
ρ7 = 20 |
|
|
|
Мерзлотно-геологическая трактовка разреза может быть дана на основании зависимостей, описанных номограммами в первой главе.
Первый от поверхности слой сложен талыми сухими песками.
Второй слой с УЭС = 23400 Ом⋅м относится к мерзлым пескам с массивной криогенной текстурой и температурой до -5 °С.
Третий слой с УЭС = 81000 Ом⋅м представлен мерзлыми песками с массивной криогенной текстурой и температурой до -8 °С.
Резкое уменьшение УЭС в четвертом горизонте можно связать только с изменением состава и льдистости пород при сравнительно постоянной температуре около -6 °С. (Здесь возможны два варианта, один из которых относится к супесям с массивной криогенной текстурой, а второй - к суглинкам с сетчато-слоистой криогенной текстурой, льдистостью Лв = 0,1 - 0,15 и коэффициентом анизотропии λ = 1 - 4. Эти данные получены по номограммам, приведенным на рис. 6 и 9.)
Уменьшение УЭС до 890 Ом⋅м в пятом слое следует связывать с повышением температуры, а не с уменьшением льдистости, хотя и этот вариант не исключается. Этот горизонт может быть сложен супесями с массивной криогенной текстурой и температурой около минус 1 - 2 °С, что следует из номограммы (см. рис. 1), или суглинками с сетчато-слоистой криогенной текстурой, льдистостью Лв = 0,1 и коэффициентом анизотропии λ = 1 - 4 (см. рис. 6 и 9).
Рис. 54. План корреляции геоэлектрических границ на участке I
1 - линии профилей и номера пикетов; 2 - повторно-жильные льды
Шестой геоэлектрический горизонт может быть сложен либо талыми суглинками, либо мерзлыми глинами при температуре около -0,5 °С с сетчато-слоистой текстурой, льдистостью Лв = 0,03 и коэффициентом анизотропии λ ≈ 1 (см. рис. 5 и 9).
Седьмой слой с УЭС = 20 Ом⋅м может быть отнесен к талым глинам. В зависимости от принятых вариантов состава, льдистости и типа криогенной текстуры мощность мерзлой толщи на данной точке ВЭЗ может изменяться от 150 до 225 м. Последняя цифра наиболее вероятна, поэтому следует принять варианты, относящиеся к ней. По результатам ЭП МДС и ВЭЗ МДС была составлена корреляционная схема геоэлектрических аномалий по всему участку исследований (см. рис. 54). На ней отчетливо обрисовалась полигональная система жил. Для проверки полученных данных на пк. 54, 77, 78, 90 были пройдены шурфы. Все они вскрыли жилы льда, элементы залегания которых оказались в хорошем соответствии с результатами количественной интерпретации данных электропрофилирования и ВЭЗ (ошибка в оценке простирания ф не превышала ±5°). Глубины залегания жил, установленные с помощью ЭП МДС и ВЭЗ МДС, отвечают глубине выклинивания ледяных жил, характерной для данного района. Буровые скважины, пройденные в последствии, полностью подтвердили геофизические данные.
Обнаружение и прослеживание зон тектонических нарушений и трещиноватости
12.11. Геоэлектрические условия, в которых приходится решать указанные задачи, относятся, как правило, к категории сложных и редка - к осложненным.
12.12. При небольшой мощности (до 10 - 15 м) рыхлых отложений основными методами являются ЭП МДС двусторонними дипольными или трехэлектродными установками и крестовые ВЭЗ МДС двусторонними дипольными или трехэлектродными установками, которые ставятся над обнаруженными анизотропными зонами. ЭП КС включается в основные методы вместо ЭП МДС, если тектонические нарушения и зоны трещиноватости имеют выдержанную линейную форму. В качестве вспомогательных могут быть использованы съемка ЕП и резистивиметрия водотоков и водоемов. При изучении подземных вод, приуроченных к трещинным зонам, в число вспомогательных методов следует включить МЗ.
12.13. С увеличением мощности перекрывающих отложений эффективность любых видов электропрофилирования снижается и роль основных методов переходит к ВЭЗ МДС двусторонними трехэлектродными установками. Вспомогательные методы остаются теми же.
Примером проведения электроразведочных работ с целью выделения трещиноватых зон и тектонических нарушений могут служить работы, выполненные на южном берегу Крыма (ЮБК).
Электроразведочные работы проводились на участке с опережением, и результаты их в последствии были проверены шурфами и скважинами.
Геоэлектрические условия района работ могут быть отнесены к категории сложных из-за сильнорасчлененного рельефа и крутого падения пород.
Комплекс состоял из ЭП и ВЭЗ МДС. Учитывая расположение близлежащих строений, садов и асфальтовых дорог, на участке съемки были заданы только четыре профиля. Три из них располагались вдоль склона, а четвертый пересекал склон под острым углом. ЭП МДС выполнялось двусторонней дипольной установкой, размеры измерительной линии которой равнялись A20Aʹ20M10N20Bʹ20B, что обеспечивало максимальную глубинность до 15 - 20 м. Шаг измерений составлял 5 м. Вследствие сложности геоморфологических условий, а также застроенности участка исследований ВЭЗ МДС выполнялись симметричной установкой в отдельных точках, для определения строения массива по вертикали и уточнения некоторых данных интерпретации ЭП МДС.
Интерпретация ЭП МДС выполнялась с использованием соответствующих номограмм, по которым определялось простирание, глубина залегания и угол падения крутопадающих геоэлектрических границ.
Анализ результатов ЭП показал, что на изучаемой площади преобладают маломощные пласты с повышенным и пониженным УЭС. Они имеют одинаковое простирание, почти совпадающее с направлением профилей, и хорошо прослеживаются от профиля к профилю. Пласты имеют большой угол падения (α = 60 - 90°) по отношению к земной поверхности и залегают на глубине 3 - 5 м (реже 8 - 10 м). На участках неглубокого залегания выделенных слоев обнаружена анизотропия (λK = 1,4 - 1,45) толщи, которая исчезает с увеличением глубины залегания слоев (рис. 55).
Типичные кривые ВЭЗ МДС представлены на рис. 56. Кривые проинтерпретированы по особым точкам. Располагая данными о простирании слоистости, которая была определена по данным ЭП МДС, в точках пересечения профилей, по кривым ΔUn/ΔUt ВЭЗ были вычислении и построены кривые изменения коэффициента анизотропии λK с глубиной (рис. 56). По данным интерпретации кривых ЭП МДС и ВЭЗ МДС были построены геоэлектрический разрез (см. рис. 55) и план простирания геоэлектрических границ к нему. По совокупности полученных данных было предположено, что непроводящие пласты связаны с более массивными слоями пород (песчаниками). Зоны пониженного сопротивления были отнесены к более трещиноватым ослабленным пропласткам (аргиллитам и алевролитам). Высокие значения УЭС, не свойственные породам таврической серии, позволили сделать заключение об общей высокой трещиноватости и рассланцеванности изучаемой толщи и ее низкой влажности на большую глубину. По имеющейся сети профилей была составлена корреляционная схема геоэлектрических аномалий, на которой были прослежены границы всех возмущающих объектов (рис. 57). При анализе корреляционной схемы установлено, что в нижней части склона присутствует контакт между нижне- и верхнеюрскими отложениями, на который указывает нарушение корреляции непроводящих аномалий и изменение направления анизотропии. Эти признаки были использованы для обнаружения и грубого оконтуривания оползневых масс. Горнобуровые работы подтвердили хорошую точность электроразведочных данных.
Рис. 55. Результаты ЭП МДС на участке Поликуровский Холм
a - профиль II - II; б - геоэлектрический разрез; в - простирание геоэлектрических границ
Рис. 56. Симметричные кривые
ρK ВЭЗ МДС, полученные на участке
Поликуровский Холм, и рассчитанные кривые λK
Выявление и оконтуривание полостей естественного и искусственного происхождения
12.14. Достаточно надежное решение поставленной задачи может быть достигнуто, если содержащая полость среда характеризуется простыми геоэлектрическими условиями. Разрешающая возможность большинства электроразведочных методов такова, что незаполненная полость (пустота) может быть выявлена с требуемой достоверностью, если ее поперечные размеры соизмеримы с глубиной залегания искомого объекта или превышают его. Заполненные проводимым материалом полости могут быть обнаружены на глубинах, превышающих в два - три раза поперечные размеры искомых объектов. При этом глубинность исследования зависит от соотношения УЭС заполнителя и вмещающей полость среды.
Рис. 57. Корреляционная схема на участке Поликуровский Холм
1 - пачки слоев с повышенным УЭС; 2 - пачки
слоев с пониженным УЭС;
3 - простирание слоистости и коэффициента анизотропии; 4 -
элементы залегания
слоев по отношению и склону; 5 - скважины, пробуренные в 1972 г;
6 - проектируемые скважины; 7 - зона дробления пород по
тектоническим нарушениям;
8 - стратиграфическая граница; 9 - точки ВЭЗ; 10 - шурфы
12.15. При изучении полостей, не вскрытых горными выработками, необходимо использовать методы, позволяющие либо ослабить искажающее влияние поверхностных неоднородностей на стадии измерений, либо учитывать его в процессе интерпретации результатов наблюдений. Таким условиям удовлетворяют методы вычитания полей и двух составляющих. Поэтому в число основных методов изучения распространения полостей в массиве следует включить ЭП МВП и ЭП МДС, а также ВЭЗ МВП и ВЭЗ МДС для определения глубины залегания полостей и УЭС заполнителя. В качестве вспомогательных методов могут быть использованы ЭП и ВЭЗ ВП и съемка ЕП, если для их применения существуют физические предпосылки.
12.16. Для оконтуривания полостей, вскрытых скважинами или другими горными выработками, необходимо включить МЗ и метод корреляции в число основных методов.
Определение направления, скорости течения, и мест разгрузки подземных вод
12.17. Основными методами обнаружения мест разгрузки подземных вод являются съемка ЕП на земной поверхности и в водоемах, а также резистивиметрия в последних. В качестве вспомогательных могут быть привлечены любые другие электроразведочные методы, имеющие благоприятные предпосылки для своего применения в заданной геолого-гидрогеологической обстановке.
Рис. 58. Кривые ρK ВЭЗ, полученные над пещерой
12.18. Направление и скорость течения подземных вод определяются методом заряда в гидрогеологическом варианте.
Вопрос обнаружения и картирования карстовых полостей, заполненных глиной или водой, и пустот, не имеющих никакого заполнителя, кроме воздуха, решается довольно устойчиво с помощью комплекса геофизических методов, если полости и пустоты обладают достаточно большими размерами по сравнению с глубиной их залегания и существуют в достаточно простой гидрогеологической обстановке. В качестве примера рассмотрим данные над одной из пещер, полученные И.А. Братниной. Использованный комплекс методов состоял из симметричных ВЭЗ, высокоточной гравиметрии и съемки ЕП.
Анализ кривых ВЭЗ (рис. 58) позволяет установить трехслойное строение среды, осложненное ступенью в районе ВЭЗ № 4 и 5. Поэтому количественной интерпретации подвергались кривые, «реставрированные» на основании известных закономерностей изменения кривых ρK вблизи ступени (см. рис. 58). Интерпретация велась методом особых точек с определением «видимой» амплитуды смещения ступени. В результате интерпретации получили:
|
ВЭЗ № 3 |
||||
|
|
h1 = 2,1 |
h2 = 6,1 |
h3 = ∞ |
|
|
|
ρ1 = 26 |
ρ2 = 104 |
ρ3 = 335 |
|
|
ВЭЗ № 5 |
||||
|
h1 = 3 |
h2 + h3 = 2,1 |
|
h4 = ∞ |
d = 8 м |
|
ρ1 = 26 |
ρ2 = 1000 |
ρ3 = 13 |
ρ4 = 1100 |
Δh = 3 м |
|
ВЭЗ № 4 |
||||
|
|
h1 = 2,1 |
h2 = 3,7 |
h3 = ∞ |
d = 5 м |
|
|
ρ1 = 25 |
ρ2 = 75 |
ρ3 = 330 |
Δh = 5 - 7 м |
По данным интерпретации построен геоэлектрический разрез (рис. 59), на котором отчетливо выделились рыхлые отложения, трещиноватая зона в кровле карстующихся толщ и монолитные пли слаботрещиноватые гипсы. Граница между трещиноватыми и монолитными гипсами наклонена по отношению к земной поверхности и образует уступ, который хорошо фиксируется по данным интерпретации кривых ВЭЗ. Пещера не выделилась на геоэлектрическом разрезе в силу слабой разрешающей способности последних по отношению к маломощным непроводящим телам. По данным гравиметрии (см. рис. 59) установлено, что пустота приурочена к уступу и залегает в кровле монолитных гипсов или в подошве разрушенных пород.
На графике естественного потенциала над пещерой формируется отрицательная аномалия, свидетельствующая о преобладании здесь процессов поглощения поверхностных вод и стока их по падению монолитных гипсов.
Определение коррозионной активности грунтов и интенсивности блуждающих токов
12.19. Коррозионная активность грунтов во многом зависит от величин их УЭС. Так как коррозионное влияние на металл оказывают рыхлые грунты низкого сопротивления, основными методами ее изучения являются ВЭЗ и ЭП КС.
Рис. 59. Результаты съемки ЕП, гравиметрии и симметричных ВЭЗ над пещерой
1 - границы ступени, полученные по данным интерпретации
симметричных ВЭЗ способом особых точек;
2 - значения УЭС пород по данным интерпретации; 3 - область
распространения пещеры;
4 - график ЕП; 5 - график Δg; 6 - точки ВЭЗ
12.20. Измерение интенсивности блуждающих токов производится на двух взаимно перпендикулярных приемных линиях, ориентированных по странам света. В качестве измерительной аппаратуры используют либо шлейфовый осиллограф, либо два милливольтметра переменного тока. Милливольтметры и электроразведочные автокомпенсаторы постоянного тока применяются для изучения длиннопериодных (более 10 - 15 с) блуждающих токов. Наблюдения на одной точке производятся в течение 15 - 20 мин и состоят в одновременном определении величин и знака разности потенциалов на приемных линиях через каждые 10 - 15 с. Определение знака разности потенциалов является условным. Установление его производится по отношению к подземному металлическому сооружению путем измерения разности потенциалов между ним и землей. Необходимо всегда иметь в виду, что измерение интенсивности длиннопериодных блуждающих токов должно производиться только с помощью неполяризующихся электродов.
Сейсмическое микрорайонирование территории
12.21. При сейсмическом микрорайонировании электроразведки может быть использована для решения вспомогательных задач, в число которых входит изучение строения массивов грунтов, установление и прослеживание зон тектонических нарушений и повышенной трещиноватости пород. Применяемый в этих случаях комплекс электроразведочных методов рассмотрен в пп. 12.7 - 12.13.