Earth-moving machinery. Horizontal direction drills. Terminology and specifications

ФЕДЕРАЛЬНОЕ АГЕНТСТВО
ПО ТЕХНИЧЕСКОМУ РЕГУЛИРОВАНИЮ И МЕТРОЛОГИИ

НАЦИОНАЛЬНЫЙ
СТАНДАРТ
РОССИЙСКОЙ
ФЕДЕРАЦИИ

ГОСТ Р ИСО
21467-
2011

Машины землеройные

МАШИНЫ ДЛЯ ГОРИЗОНТАЛЬНОГО
НАПРАВЛЕННОГО БУРЕНИЯ

Терминология и эксплуатационные показатели

ISO 21467:2004

Earth-moving machinery - Horizontal directional drills -

Terminology and specifications

(IDT)

Москва

Стандартинформ

2012

Предисловие

Цели и принципы стандартизации в Российской Федерации установлены Федеральным законом от 27 декабря 2002 г. № 184-ФЗ «О техническом регулировании», а правила применения национальных стандартов Российской Федерации - ГОСТ Р 1.0-2004 «Стандартизация в Российской Федерации. Основные положения»

Сведения о стандарте

1 ПОДГОТОВЛЕН Открытым акционерным обществом «Центральный научно-испытательный полигон строительных и дорожных машин» (ОАО «ЦНИП СДМ») на основе собственного аутентичного перевода на русский язык стандарта, указанного в пункте 4

2 ВНЕСЕН Техническим комитетом по стандартизации ТК 267 «Строительно-дорожные машины и оборудование»

3 УТВЕРЖДЕН И ВВЕДЕН В ДЕЙСТВИЕ Приказом Федерального агентства по техническому регулированию и метрологии от 28 сентября 2011 г. № 376-ст

4 Настоящий стандарт идентичен международному стандарту ИСО 21467:2004 «Машины землеройные. Горизонтальные направляющие буры. Терминология и технические требования» (ISO 21467:2004 «Earth-moving machinery - Horizontal directional drills - Terminology and specifications»).

Наименование настоящего стандарта изменено относительно наименования международного стандарта для приведения в соответствие с ГОСТ Р 1.5-2004 (пункт 3.5).

При применении настоящего стандарта рекомендуется использовать вместо ссылочных международных стандартов соответствующие им национальные стандарты Российской Федерации, сведения о которых приведены в дополнительном приложении ДА

5 ВВЕДЕН ВПЕРВЫЕ

Информация об изменениях к настоящему стандарту публикуется в ежегодно издаваемом информационном указателе «Национальные стандарты», а текст изменений и поправок - в ежемесячно издаваемых информационных указателях «Национальные стандарты». В случае пересмотра или отмены настоящего стандарта соответствующее уведомление будет опубликовано в ежемесячно издаваемом информационном указателе «Национальные стандарты». Соответствующая информация, уведомление и тексты размещаются также в информационной системе общего пользования - на официальном сайте Федерального агентства по техническому регулированию и метрологии в сети Интернет

Содержание

1 Область применения. 2

2 Нормативные ссылки. 3

3 Термины и определения. 3

3.1 Общие. 3

3.2 Размеры.. 3

3.3 Массы.. 4

3.4 Эксплуатационные показатели. 4

4 Номенклатура. 5

4.1 Машина без рабочего места оператора (non-riding machine). 6

4.2 Машина с рабочим местом оператора (ride-on-machine). 6

4.3 Колодезная машина (pit-launched machine). 6

4.4 Машина поузлового монтажа (attachment-mounted machine). 6

Приложение ДА (справочное) Сведения о соответствии ссылочных международных стандартов ссылочным национальным стандартам Российской Федерации. 9

 

ГОСТ Р ИСО 21467-2011

НАЦИОНАЛЬНЫЙ СТАНДАРТ РОССИЙСКОЙ ФЕДЕРАЦИИ

Машины землеройные

МАШИНЫ ДЛЯ ГОРИЗОНТАЛЬНОГО НАПРАВЛЕННОГО БУРЕНИЯ

Терминология и эксплуатационные показатели

Earth-moving machinery. Horizontal directional drills.
Terminology and specifications

Дата введения - 2012-07-01

1 Область применения

Настоящий стандарт устанавливает терминологию и номенклатуру эксплуатационных показателей машин для горизонтального направленного бурения, как это определено в 3.1.1.

Настоящий стандарт распространяется на машины без рабочего места оператора, машины с рабочим местом оператора, колодезные машины, а также машины поузлового монтажа.

2 Нормативные ссылки

В настоящем стандарте использованы недатированные нормативные ссылки на международные стандарты. Для стандартов, не содержащих обозначения даты их принятия, действительными являются последние издания приведенных стандартов (со всеми поправками и изменениями).

ИСО 6165 Машины землеройные. Основные типы. Идентификация. Термины и определения (ISO 6165 Earth-moving machinery. Basic types. Vocabulary)

ИСО 9249 Машины землеройные. Правила испытания двигателей. Полезная мощность (ISO 9249 Earth-moving machinery. Engine test code. Net power)

3 Термины и определения

В настоящем стандарте применены термины по ИСО 6165, а также следующие термины с соответствующими определениями:

3.1 Общие

3.1.1 машина для горизонтального направленного бурения (horizontal directional drilling machine): Машина, в которой используется управляемая бурильная головка, находящаяся на конце колонны бурильных труб, для образования скважины в грунте в горизонтальном направлении.

См. рисунки 1 - 4.

Примечание 1 - Бурение может обеспечиваться путем подачи под давлением жидкости через колонну бурильных труб к бурильной головке с использованием датчиков или преобразователей, установленных рядом с бурильной головкой, с последующим расширением скважины посредством втягивания колонны бурильных труб.

Примечание 2 - На этих машинах, как правило, усилие на колонне бурильных труб обеспечивается при установке рамы бурильной машины параллельно рабочей поверхности грунта или под углом 30° к ней.

3.1.2 скважина (bore): Отверстие, проделанное в грунте и используемое для установки в нем коммуникационных систем.

3.1.3 колонна бурильных труб (drill string): Одна или несколько бурильных труб, соединенных вместе и используемых для передачи усилий от опорной рамы машины к бурильной головке, при создании или расширении скважины в процессе бурения.

Примечание - Колонна используется также для поворота бурильной головки в требуемое положение в процессе бурения.

3.1.4 рама бурильной машины (drill frame): Конструкция в составе машины направленного горизонтального бурения, обеспечивающая передачу вращательного и толкающего/втягивающего усилий к колонне бурильных труб.

3.1.5 расширение при втягивании (backreaming): Процесс расширения скважины относительно ее начального значения при втягивании инструмента с большим, чем у бурильной головки, диаметром.

3.2 Размеры

3.2.1 общая длина машины (overall machine length) L: Продольное расстояние между двумя плоскостями, проходящими через наружные крайние точки в транспортном положении машины.

3.2.2 общая высота машины (overall machine height) Н: Расстояние от грунта до самой высокой точки в транспортном положении машины.

3.2.3 общая ширина машины (overall machine width) W: Поперечное расстояние между двумя плоскостями, проходящими через наружные крайние точки в транспортном положении машины.

3.2.4 угол входа (entry angle), градус: Угол между бурильной трубой и плоскостью грунта при нахождении машины в эксплуатационном (рабочем) положении.

3.2.5 диаметр бурильной трубы (drill pipe diameter) D1: Минимальный наружный диаметр бурильной трубы, за исключением ее конца, к которому присоединяется бурильный инструмент.

См. рисунок 5.

3.2.6 диаметр соединяемого с бурильным инструментом конца трубы (drill pipe tool joint end diameter) D2: Максимальный наружный диаметр конца бурильной трубы с присоединенным бурильным инструментом.

См. рисунок 5.

3.2.7 номинальная длина бурильной трубы (drill pipe nominal length) L1. Расчетная длина бурильной трубы.

См. рисунок 5.

3.2.8 общая длина бурильной трубы (drill pipe overall length) L2: Полная длина бурильной трубы.

См. рисунок 5.

3.2.9 толщина стенки бурильной трубы (drill pipe wall thickness) Т. Номинальная толщина стенки секции бурильной трубы, за исключением конца трубы, к которому присоединяется инструмент.

См. рисунок 5.

3.2.10 вместимость жидкости бурильной трубы (fluid capacity of drill pipe): Измеренный максимальный объем воды, приходящийся на метр длины бурильной трубы.

3.2.11 радиус изгиба бурильной трубы по маршруту скважины (drill pipe bore path bend radius) R: Расчетный предел радиуса изгиба углеродистой стальной трубы в колонне труб в процессе операции бурения, определяемый формулой:

где R - радиус изгиба, м;

Е - модуль упругости материала трубы, МПа;

D1 - наружный диаметр трубы, мм;

U - заданное напряжение растяжения материала трубы, МПа.

3.2.12 диаметр расширения при втягивании (backreamer diameter): Максимальный диаметр отверстия, создаваемого при расширении.

3.2.13 размер колодца (pit size): Минимальная требуемая ширина и длина колодца для колодезной машины (см. рисунок 3).

3.2.14 ширина колодца (pit width) Л: Минимальная измеренная ширина дна колодца между расчетными для данной машины вертикальными земляными стенками.

3.2.15 длина колодца (pit length) В: Минимальная измеренная длина дна колодца между расчетными для данной машины вертикальными земляными стенками.

3.3 Массы

3.3.1 снаряженная масса машины для горизонтального направленного бурения (drilling machine operating mass): Масса базовой машины с полностью заполненными топливным баком, баком гидросистемы, системой с жидкостью для бурения, если имеется, и ящиком для складирования труб, если он смонтирован.

3.3.2 удельное давление на грунт (ground-bearing pressure): Снаряженная масса машины, деленная на контактную площадь грунта.

3.4 Эксплуатационные показатели

Примечание - Измеренные, но не расчетные параметры, должны соответствовать требуемому значению для типового представительного образца машины при рабочей температуре.

3.4.1 полезная мощность двигателя (engine net power): Полезная мощность двигателя в соответствии с ИСО 9249.

3.4.2 скорость передвижения на грунте (ground travel speed): Максимальная скорость передвижения машины для горизонтального бурения в направлении вперед и назад при снаряженной массе.

3.4.3 мощность на вращающемся валу (rotary spindle power): Максимальная мощность, измеренная на шпинделе.

3.4.4 максимальный крутящий момент на валу (maximum spindle torque): Максимальное значение крутящего момента, при котором вращение шпинделя прекращается.

3.4.5 максимальная скорость вращения шпинделя (maximum spindle speed): Максимальная измеренная скорость вращения шпинделя в минуту.

3.4.6 скорость перемещения каретки (carriage thrust travel speed): Максимальная скорость движения каретки при отсутствии нагрузки в направлении рабочего движения.

3.4.7 скорость обратного движения каретки (carriage pullback travel speed): Максимальная скорость движения каретки при отсутствии нагрузки в направлении втягивания.

3.4.8 проталкивающее усилие (thrust force): Максимальное усилие, измеренное при движении каретки вперед.

3.4.9 усилие втягивания (pullback force): Максимальное усилие, измеренное при движении каретки в направлении втягивания.

3.4.10 мощность жидкости при бурении (drilling fluid power): Максимальное значение энергии жидкости, рассчитанное по результатам одновременного измерения величин давления и расхода воды, проходящей через шпиндель.

3.4.11 максимальное значение давления жидкости при бурении (maximum drilling fluid pressure): Максимальное давление жидкости, измеренное на шпинделе.

3.4.12 максимальное значение расхода жидкости при бурении (maximum drilling fluid flow): Максимальный расход жидкости, измеренный на шпинделе.

3.4.13 Эксплуатационные показатели бурильной трубы

3.4.13.1 усилие на колонне (column strength): Максимальное усилие сжатия, определяемое при испытании, вдоль оси между концами прямой трубы в горизонтальном положении последней, не приводящее к потере устойчивости.

См. рисунок 6.

3.4.13.2 крутящий момент (torque capacity): Максимальный крутящий момент на трубе, определяемый при испытании, возникающий между ее концами, не приводящий к остаточной деформации.

См. рисунок 7.

3.4.13.3 толкающее/тянущее усилие (push/pull capacity): Максимальное усилие сжатия и растяжения на трубе, определяемое при испытании на четверти пролета трубы, возникающее между ее концами, не приводящее к остаточной деформации.

См. рисунок 8.

3.4.13.4 цикличная долговечность при вращении с изгибом (rotational bending life rating): Количество полностью реверсивных вращательных нагрузочных циклов (количество экспериментов не менее трех), которое может выдержать труба без изменения измеренного радиуса (R1), равного 0,67R.

См. рисунок 9.

3.4.13.5 пропускная способность (flow capacity): Расход воды, при котором потеря давления на расстоянии 30 м подлине колонны труб составляет 0,7 МПа (7 атм).

3.4.13.6 момент затяжки (make-up torque): Рекомендуемый изготовителем момент затяжки резьбы двух труб.

4 Номенклатура

Примечание - Некоторые указанные названия не могут относиться к стандартному оборудованию.

4.1 Машина без рабочего места оператора (non-riding machine).

См. рисунок 1.

4.1.1 прямое управление (direct control).

4.1.2 управление с использованием контрольного провода (control by wire).

4.1.3 дистанционный (без провода) контроль (remote (wireless) control).

4.2 Машина с рабочим местом оператора (ride-on-machine).

См. рисунок 2.

4.3 Колодезная машина (pit-launched machine).

См. рисунок 3.

4.4 Машина поузлового монтажа (attachment-mounted machine).

См. рисунок 4.

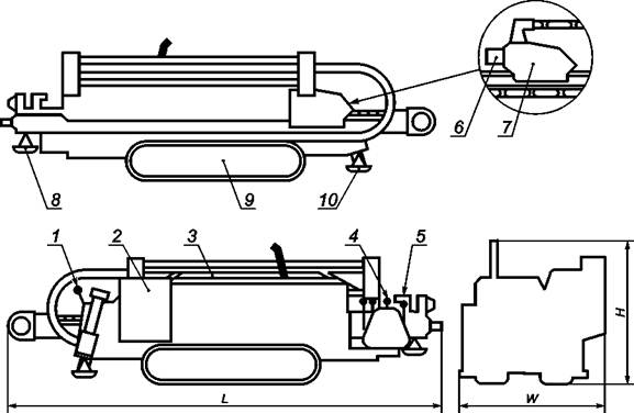
Н - общая высота машины; L - общая длина машины; W - общая ширина машины; 1 - управление
установкой машины; 2 - бак для воды; 3 - ящик для бурильных труб; 4 - управление процессом бурения;
5 - зажим; 6 - шпиндель; 7 - каретка; 8 - передний аутригер; 9 - шасси; 10 - задний аутригер

Рисунок 1 - Машина горизонтального направленного бурения без рабочего места оператора

Н - общая высота машины; L - общая длина машины; W- общая ширина машины; 1 - управление
установкой машины; 2 - бак для воды; 3 - ящик для бурильных труб; 4 - управление процессом
бурения - место оператора; 5 - зажим; 6 - шпиндель; 7 - каретка; 8 - задний аутригер; 9 - шасси

Рисунок 2 - Машина для горизонтального направленного бурения с рабочим местом оператора

А - ширина колодца; Б - длина колодца; H - общая высота машины; L - общая длина машины; W - общая
ширина машины; 1 - место оператора; 2 - управление процессом бурения; 3 - шпиндель; 4 - каретка; 5 - зажим

Рисунок 3 - Колодезная машина для горизонтального направленного бурения

Н - общая высота машины; L - общая длина машины; W - общая ширина машины; 1 - место оператора;
2 - управление процессом бурения; 3 - шпиндель; 4 - каретка; 5 - зажим

Рисунок 4 - Машина поузлового монтажа для горизонтального направленного бурения

Рисунок 5 - Бурильная труба

а - нагрузка

Рисунок 6 - Бурильная труба. Испытание по определению усилия на колонне

а - крутящий момент

Рисунок 7 - Бурильная труба. Испытание по определению крутящего момента на колонне

а - нагрузка

Рисунок 8 - Бурильная труба. Испытание по определению толкающего/тянущего усилия

R1 - испытательный радиус; а - вращение

Рисунок 9 - Испытание по определению цикличной долговечности при вращении с изгибом

Приложение ДА
(справочное)

Сведения о соответствии ссылочных международных стандартов
ссылочным национальным стандартам Российской Федерации

Таблица ДА.1

Обозначение ссылочного
международного стандарта

Степень
соответствия

Обозначение и наименование соответствующего
национального стандарта

ИСО 6165:2006

IDT

ГОСТ Р ИСО 6165-2010 «Машины землеройные. Классификация. Термины и определения»

ИСО 9249:2007

-

*

* Соответствующий национальный стандарт отсутствует. До его утверждения рекомендуется использовать перевод на русский язык данного международного стандарта. Перевод данного международного стандарта находится в Федеральном информационном фонде технических регламентов и стандартов.

Примечание - В настоящей таблице использовано следующее условное обозначение степени соответствия стандарта:

- IDT - идентичный стандарт.

 

Ключевые слова: машины землеройные, машины для горизонтального направленного бурения, колонна бурильных труб, бурильная головка; каретка, шпиндель, зажим, аутригер, ящик для бурильных труб, расход жидкости при бурении