НИИЖБ

ГОССТРОЯ СССР

РЕКОМЕНДАЦИИ
ПО ПРИМЕНЕНИЮ АРМАТУРНОЙ
СТАЛИ СТЕРЖНЕВОЙ
ТЕРМИЧЕСКИ УПРОЧНЕННОЙ
СТОЙКОЙ ПРОТИВ КОРРОЗИОННОГО
РАСТРЕСКИВАНИЯ
КЛАССОВ Атп-V И Атп-VI
В ПРЕДВАРИТЕЛЬНО-НАПРЯЖЕННЫХ
ЖЕЛЕЗОБЕТОННЫХ КОНСТРУКЦИЯХ

МОСКВА - 1978

Печатается по решению секции теории железобетона НТС НИИЖБ Госстроя СССР (протокол от 25 июля 1978 г.).

Рекомендации содержат основные положения по применению в предварительно-напряженных железобетонных конструкциях, предназначенных для эксплуатации в условиях сложных сочетаний воздействий и нагрузок, стержневой термически упрочненной арматуры стойкой против коррозионного растрескивания классов Атп-V и Атп-VI. Приведены требования к производству работ.

Рекомендации предназначены для инженерно-технических работников проектных организаций и заводов железобетонных изделий.

Рис. 2.

ПРЕДИСЛОВИЕ

Рекомендации предусматривают применение стержневой термически упрочненной арматуры стойкой против коррозионного растрескивания классов Атп-V и Атп-VI в предварительно-напряженных железобетонных конструкциях, эксплуатируемых в условиях сложных сочетаний воздействий и нагрузок, а также в агрессивной газовой среде, в конструкциях, рассчитываемых на выносливость, и в длинномерных конструкциях, стержни арматуры которых соединяются по длине сваркой.

В результате совместных работ, проведенных Макеевским металлургическим заводом им. С.М. Кирова, Институтом черной металлургии Минчермета СССР и НИЖЕ Госстроя СССР, на Макеевском заводе освоен выпуск термически упрочненной арматуры диаметром 16 - 25 мм, подвергнутой после упрочнения специальной обработке токами высокой частоты* (арматура условно обозначена Атп).

______________

* Авт. свид. № 433815.

Исследования показали, что такая арматура помимо высокой прочности обладает повышенной пластичностью, высокой стойкостью против коррозионного растрескивания, повышенной выносливостью и хорошей свариваемостью при дуговой сварке.

Рекомендации разработаны НИИЖБ лабораторией арматуры (кандидаты техн. наук Н.М. Мулин и И.Г. Хаит) при участии лаборатории коррозии (д-р техн. наук. проф. С.Н. Алексеев и канд. техн. наук Г.М. Красовская).

Дирекция НИИЖБ

1. ОБЛАСТЬ ПРИМЕНЕНИЯ И ДАННЫЕ ДЛЯ ПРОЕКТИРОВАНИЯ

1.1. Настоящими Рекомендациями можно руководствоваться при проектировании и изготовлении предварительно-напряженных железобетонных конструкций, армированных стержневой термически упрочненной сталью классов Атп-V и Атп-VI, стойкой против коррозионного растрескивания.

1.2. Арматурная сталь классов Атп-V и Атп-VI должна отвечать требованиям ТУ 14-1-1318-75 «Сталь стержневая термически упрочненная стойкая против коррозионного растрескивания для армирования предварительно-напряженных железобетонных конструкций».

1.3. В качестве напрягаемой арматуры рекомендуется преимущественно применять:

а) в конструкциях, эксплуатируемых в агрессивной газовой среде, - сталь классов Атп-V и Атп-VI;

б) в конструкциях, рассчитываемых на выносливость, - сталь класса Атп-V;

в) в конструкциях, рассчитываемых на выносливость и эксплуатируемых в агрессивной газовой среде, - сталь класса Атп-V;

г) в длинномерных конструкциях, эксплуатируемых неагрессивной газовой среде, не рассчитываемых на выносливость, стержни арматуры которых должны соединяться по длине сваркой, - сталь класса Атп-V.

1.4. Арматурную сталь классов Атп-V и Атп-VI рекомендуется применять в предварительно-напряженных железобетонных конструкциях, эксплуатируемых в агрессивной газовой среде, в которых нормами ограничивается применение арматуры классов Ат-IV, Ат-V, Ат-VI и А-V.

Арматурную сталь классов Атп-V и Атп-VI диаметром 16 - 25 мм следует применять в таких конструкциях взамен упрочненной вытяжкой арматуры класса А-IIIв и горячекатаной класса А-IV.

1.5. Требования по категории трещиностойкости и максимальной допустимой ширине раскрытия трещин, предъявляемые к железобетонным конструкциям с арматурной сталью классов Атп-V и Атп-VI, эксплуатируемым в агрессивной газовой среде, те же, что и к конструкциям с арматурой класса А-IV (СНиП II-28-73 «Защита строительных конструкций от коррозии», табл. 6).

1.6. При применении в железобетонных конструкциях арматурной стали классов Атп-V и Атп-VI должны соблюдаться требования главы СНиП II-28-73 по антикоррозионной защите железобетонных конструкций (максимальной толщины защитного слоя бетона, плотности бетона, защитных покрытий поверхности бетона).

1.7. Расчет и конструирование элементов предварительно-напряженных железобетонных конструкций с арматурной сталью классов Атп-V и Атп-VI следует выполнять в соответствии с требованиями главы СНиП II-21-75 «Бетонные и железобетонные конструкции», так же как конструкций с арматурной сталью классов Ат-V и Ат-VI, и с соблюдением положений «Руководства по проектированию предварительно-напряженных железобетонных конструкций из тяжелого бетона» (М., Стройиздат, 1977), а также дополнительных требований, изложенных в пп. 1.8 - 1.15 настоящих Рекомендаций.

1.8. Основные механические свойства арматурной стали классов Атп-V и Атп-VI приведены в табл. 1.

Таблица 1

Класс арматурной стали

Номинальный диаметр стержней, мм

Механические свойства

Испытание на изгиб в холодном состоянии вокруг оправки диаметром, равным 5d стержня, в градусах

временное сопротивление

σв

кгс/мм2

условный предел текучести

σ0,2

кгс/мм2

относительное удлинение после разрыва

δз, %

δр, %

не менее

Атп-V

16 - 20

100

80

10

3

45

22 - 25

8

2

Атп-VI

16 - 20

120

100

8

2

22 - 25

7

За нормативное сопротивление арматурной стали классов Атп-V и Атп-VI принимается браковочный минимум предела текучести σ0,2.

1.9. При расчете по прочности железобетонных элементов с арматурой классов Атп-V и Атп-VI при соблюдении условия ξ < ξR расчетное сопротивление арматуры Ra должно быть умножено на коэффициент условий работы mа4, определяемый в соответствии с п. 3.13 СНиП II-21-75, как для арматуры классов Ат-V и Ат-VI.

1.10. Арматурную сталь класса Атп-V рекомендуется применять в предварительно-напряженных железобетонных конструкциях, рассчитываемых на выносливость, взамен упрочненной вытяжкой и горячекатаной арматуры классов А-IIIв и А-IV. При этом рекомендуется преимущественно применять арматуру класса Атп-V с профилем по черт. 26 ГОСТ 5781-75 «Сталь горячекатаная для армирования железобетонных конструкций».

1.11. Расчетные сопротивления растянутой арматуры класса Атп-V при расчете железобетонных конструкций на выносливость вычисляются путем умножения расчетного сопротивления растянутой арматуры Ra (табл. 2) на коэффициент условий работы арматуры ma1, принимаемый по табл. 3 в зависимости от характеристики цикла напряжений в арматуре  где σа мин и σа макс - соответственно наименьшее и наибольшее значения напряжений в растянутой арматуре в пределах цикла изменения нагрузки.

Таблица 2

Класс арматурной стали

Показатели арматуры, используемые в расчетах сечений элементов конструкций

I. Расчетные сопротивления, кгс/см2

растяжению

сжатию

Ra.c

продольной, поперечной (хомутов и отогнутых стержней) при расчете наклонных сечений на действие изгибающего момента Ra

поперечной (хомутов и отогнутых стержней) при расчете наклонных сечений на действие поперечной силы Ra.x

Атп-V

6400

5100

4000

Атп-VI

8000

6400

4000

Атп-V

Атп-VI

2. Коэффициент безопасности но арматуре Ка при расчете конструкции по предельным состояниям

первой группы 1,25; второй группы 1

Атп-V

Атп-VI

3. Модуль упругости Еа, кгс/см2

1900000

Таблица 3

Коэффициенты ma1 арматуры класса Атп-V в зависимости от коэффициента асимметрии цикла ρа

ρа

0,2

0,4

0,7

0,8

0,9

1

ma1

0,2

0,35

0,65

0,8

0,95

1

Примечания: 1. Значения ma1 для промежуточных значений ρа определяются интерполяцией.

2. Значения ma1 относятся к растянутой арматуре без сварных стыков.

3. Значения ma1 для стержней арматуры с профилем по ГОСТ 5781-75 черт. 2б могут быть увеличены при экспериментальном обосновании.

1.12. Арматурную сталь класса Атп-V рекомендуется применять в длинномерных конструкциях, стержни арматуры которых должны соединяться по длине сваркой. Ее следует применять в таких конструкциях, взамен упрочненной вытяжкой арматуры класса А-IIIв и горячекатаной класса А-IV.

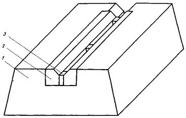
Стыковые соединения арматуры класса Атп-V диаметром 16 - 25 мм следует выполнять дуговой электросваркой фланговыми швами с круглыми накладками длиной, равной 10d стержня (рис. 1).

1.13. Сварку арматуры класса Атп-V для соединений, указанных в п. 1.12, следует производить в соответствии с требованиями СН 393-78 «Инструкции по технологии сварки соединений арматуры и закладных деталей железобетонных конструкций» (М., Стройиздат, 1979), предъявляемыми к сварке арматуры класса А-IV марки 20ХГ2Ц.

Рис. 1. Сварное соединение арматуры Атп, выполняемое дуговой электросваркой

а - конструкция сварного соединения; б - схема сборки; в - порядок и направление сварки

1, 2, 3, 4 - цифры, обозначающие последовательность сварки

1.14. Стыковые соединения арматуры класса Атп-V диаметром 16 - 18 мм допускается выполнять контактной стыковой электросваркой на машинах типа МСМУ-150М в соответствии с требованиями пп. 2.7 - 2.9 настоящих Рекомендаций.

1.15. Сварные стыки стержней рекомендуется размещать в менее напряженных участках железобетонных элементов, располагая их вразбежку, с расстоянием между стыками не менее 20 диаметров свариваемых стержней.

2. ТРЕБОВАНИЯ К ПРОИЗВОДСТВУ РАБОТ

2.1. Поступающая арматура независимо от наличия сертификата должна подвергаться внешнему осмотру и испытаниям на растяжение по ГОСТ 12004-66 «Сталь арматурная. Методы испытаний на растяжение» и изгиб в холодном состоянии по ГОСТ 14019-68 «Металлы. Методы технологических испытаний на изгиб» для установления соответствия ее характеристик требованиям технических условий.

2.2. На поверхности стержней не должно быть трещин, раковин, плен и закатов; не допускаются местные механические повреждения в виде вмятин и насечек.

2.3. Арматуру классов Атп-V и Атп-VI надлежит хранить на стеллажах в закрытом сухом помещении.

2.4. Для закрепления стержней арматуры классов Атп-V и Атп-VI на упорах рекомендуется преимущественно применять временные концевые анкера в виде «высаженных головок», коротышей, приваренных дуговой сваркой, а также резьбовых наконечников, привариваемых к стержням контактной стыковой сваркой или сваркой трением.

2.5. Натяжение арматуры Атп-V и Атп-VI можно осуществлять как механическим, так и электротермическим (до температуры 500 °С) способами.

2.6. Подготовка к сварке, технология и режим дуговой сварки арматуры класса Атп-V должны выполняться в соответствии с требованиями СН 393-78.

2.7. Подготовка к сварке, технология и режим контактной стыковой электросварки арматуры класса Атп-V диаметром 16 - 18 мм должны выполняться в соответствии с требованиями СН 393-78 и пп. 2.8 и 2.9 настоящих Рекомендаций.

2.8. Машину МСМУ-150М необходимо модернизировать:

электроды машины заменить электродами со съемными губками (рис. 2);

заменить эксцентриковый кулачок механизма оплавления и осадки новым кулачком, обеспечивающим увеличение осадки на 5 мм;

конечный выключатель ВК-200, выключающий ток и регулирующий продолжительность осадки под током, заменить микровыключателей типа МП-1;

контроль продолжительности осадки под током осуществлять при помощи электросекундомера.

2.9. Сварку следует производить способом непрерывного оплавления, обеспечивая рекомендуемые параметры режима сварки (табл. 4).

Таблица 4

Диаметр свариваемых стержней, мм

Ступень трансформатора (ориентировочно)*

Установочная длина lуст, мм

Положение вариатора скорости оплавления на делении:

Продолжительность осадки под током Тос, c

16

V

35 - 40

8

0,15 - 0,35

18

VI

40 - 45

10

0,2 - 0,55

______________

* Ступень трансформатора следует устанавливать минимальной из обеспечивающих устойчивое оплавление стержней без замыкания.

2.10. Технические требования, а также правила контроля и приемки сварных соединений арматуры класса Атп-V такие же, как для соединений арматуры класса А-V по ГОСТ 10922-75 «Арматурные изделия и закладные детали сварные для железобетонных конструкций. Технические требования и методы испытаний» за исключением величины допускаемой несоосности стержней при контактной стыковой сварке, которая не должна превышать 0,03dн.

2.11. При производстве работ с арматурой классов Атп-V и Атп-VI необходимо руководствоваться также требованиями «Руководства по технологии изготовления предварительно-напряженных железобетонных конструкций» (М., Стройиздат, 1975), как к арматуре класса А-V.

Рис. 2. Электроды машины МСМУ-150 со съемными губками

1 - электрод - медь; 2 - разъемная губка - медь; 3 - распорный вкладыш - медь

СОДЕРЖАНИЕ

1. Область применения и данные для проектирования. 2

2. Требования к производству работ. 4