ФЕДЕРАЛЬНАЯ СЛУЖБА ПО ГИДРОМЕТЕОРОЛОГИИ
И МОНИТОРИНГУ ОКРУЖАЮЩЕЙ СРЕДЫ (РОСГИДРОМЕТ)

РЕКОМЕНДАЦИИ

Р 52.08.665-2004

Вертушки морские ВММ.

Методика проверки
в прямолинейном бассейне

Москва

МЕТЕОАГЕНТСТВО РОСГИДРОМЕТА

2005

Предисловие

1 РАЗРАБОТАНЫ Государственным учреждением «Государственный гидрологический институт» (ГУ ГГИ) Росгидромета

2 РАЗРАБОТЧИКИ Д.А. Коновалов, канд. физ.-мат. наук (руководитель темы); Н.И. Зайцев, канд. техн. наук

3 ОДОБРЕНЫ методической комиссией ГУ ГГИ, протокол № 4 от 23.11.2004

4 СОГЛАСОВАНЫ с ФГУП «ВНИИМ им. Д.И. Менделеева» 18.11.2004

5 УТВЕРЖДЕНЫ директором ГУ ГГИ 22.12.2004

6 ЗАРЕГИСТРИРОВАНЫ ЦКБ ГМП за номером Р 52.08.665-2004 от 28.12.2004

7 ВЗАМЕН РД 52.08.45-85

СОДЕРЖАНИЕ

1 Область применения. 2

2 Нормативные ссылки. 2

3 Операции поверки. 2

4 Средства поверки. 3

5 Требования безопасности. 3

6 Условия проведения поверки и подготовка к ней. 3

7 Проведение поверки. 4

7.1 Внешний осмотр. 4

7.2 Опробование. 4

7.2.1 Проверка вращения вертлюга. 4

7.2.2 Проверка приспособления для преобразования вращения винта вертушки в электрические сигналы.. 4

7.2.3 Проверка намагниченности магнитной стрелки. 4

7.3 Определение индивидуальной функции преобразования вертушки. 4

7.4 Определение относительной основной погрешности вертушки. 5

7.5 Определение абсолютной основной погрешности датчика направления течения. 6

7.6 Оформление результатов поверки. 6

Приложение А (обязательное) Описание и работа поворотного стола для поверки датчика направления течения вертушки морской ВММ... 7

Приложение Б (обязательное) Приспособление для преобразования вращения винта вертушки в электрические сигналы.. 8

Приложение В (обязательное) Форма таблицы оформления результатов измерений скорости потока. 8

Приложение Г (обязательное) Расчет коэффициентов ИФП вертушки методом наименьших квадратов. 9

Приложение Д (обязательное) Форма таблицы оформления результатов измерений угла датчика направления течения. 10

Приложение Е (обязательное) Форма протокола проведения поверки вертушки ВММ... 10

Приложение Ж (обязательное) Форма свидетельства о поверке вертушки морской ВММ... 11

Приложение И (обязательное) Форма извещения о непригодности к применению.. 11

Приложение К (справочное) Библиография. 12

 

РЕКОМЕНДАЦИИ

Вертушки морские ВММ.

Методика поверки в прямолинейном бассейне

Дата введения 2005-10-01

1 Область применения

Настоящие рекомендации распространяются на вертушки морские ВММ ТУ 25-04-1360-73 (далее - вертушки ВММ) и устанавливают методы и средства их первичной и периодической поверок (далее - поверки) в прямолинейном градуировочном бассейне.

Межповерочный интервал 2 года.

Методические указания предназначены для применения в организациях Росгидромета.

2 Нормативные ссылки

В настоящих методических указаниях использованы ссылки на следующие стандарты:

ГОСТ 8.009-84 ГСИ Нормируемые метрологические характеристики средств измерений

ГОСТ Р 51232-98 Вода питьевая. Общие требования к организациям и методам контроля качества

ГОСТ 535-88 Прокат сортовой и фассонный из стали углеродистой обыкновенного качества. Общие технические условия.

3 Операции поверки

При проведении поверки вертушек ВММ следует выполнять операции, указанные в таблице 1. Выполняемые операции при первичной и периодической поверках полностью совпадают.

Таблица 1

Наименование операции поверки

Номер пункта

Внешний осмотр

7.1

Опробование

7.2

Определение индивидуальной функции преобразования вертушки

7.3

Определение относительной основной погрешности вертушки

7.4

Определение абсолютной основной погрешности датчика направления течения

7.5

4 Средства поверки

При проведении поверки вертушек ВММ должны быть использованы следующие средства измерения и регистрации:

а) прямолинейный градуировочный бассейн (далее - ПГБ), аттестованный по методике, утвержденной ТУ Росгидромета [1] (приложение К):

1) нижний предел диапазона измерения, м/с

не более 0,04;

2) верхний предел диапазона измерения в зависимости от технических возможностей ПГБ, м/с

не менее 2,5;

3) погрешность измерения скорости, %

не более ±0,5;

б) регистратор скорости водного потока PC*) (далее - регистратор скорости) [2];

в) поворотный стол для поверки датчика направления течения вертушки ВММ (приложение А), погрешность поворота датчика, мин

не более 20;

г) приспособление для преобразования вращения винта вертушки в электрические сигналы (приложение Б);

д) буссоль БГ-1 круговая:

1) цена деления кольца буссоли, градус

1;

2) цена деления лимба, градус

1;

3) погрешность отсчетов углов по лимбу, мин

10;

е) термометр:

1) диапазон измерения температуры, °С

от 0 до 40;

2) погрешность измерения температуры, %

не более ±0,5;

ж) средство измерения влажности воздуха:

1) диапазон измерения, %

от 0 до 100;

2) погрешность измерения, %

не более ±10;

и) источник питания постоянного напряжения:

1) диапазон напряжения, В

от 0 до 50;

2) относительная погрешность установки напряжения источника, %

не более ±1,0;

3) нестабильность выходного напряжения, %

±0,01.

__________

*Поверку регистратора скорости водного потока PC проводят при аттестации ПГБ.

Для всех средств измерения, которые используются при проведении поверки, должны быть в наличии действующие свидетельства о поверке.

5 Требования безопасности

5.1 При поверке вертушки ВММ следует соблюдать правила по технике безопасности, предусмотренные инструкцией по эксплуатации ПГБ.

5.2 К измерениям при поверке и (или) обработке результатов допускают лиц, имеющих право поверять гидрологические приборы и ознакомленных с нормативной документацией на средства и объект поверки.

6 Условия проведения поверки и подготовка к ней

6.1 При проведении поверки следует соблюдать условия, указанные в таблице 2.

Таблица 2

Условия поверки

Тип ПГБ

открытый

закрытый

Относительная влажность воздуха, %

20 - 98

30 - 80

Температура воды в бассейне, °С

5 - 30

15 ± 5

Атмосферное давление, гПа

840 - 1067

840 - 067

Отклонение напряжения питания сети от номинального значения, %

Не более ±5

Не более ±5

Качество воды в бассейне

ГОСТ Р 51232-98

ГОСТ Р 51232-98

6.2 Перед поверкой вертушку ВММ и используемые средства поверки следует подготовить согласно инструкциям по их эксплуатации.

6.3 Вертушку и датчик направления течения, входящие в состав вертушки ВММ, поверяют раздельно. Вертушку устанавливают на штангу градуировочной тележки ПГБ (далее - тележки). Датчик направления течения (компасную коробку) крепят на поворотном столе.

7 Проведение поверки

7.1 Внешний осмотр

При проведении внешнего осмотра вертушек ВММ и их разборке следует установить:

а) соответствие комплектов нормативной документации на них;

б) отсутствие дефектов, механических повреждений и следов коррозии на деталях, которые могут повлиять на метрологические характеристики;

в) надежность крепления всех деталей и узлов;

г) надежность срабатывания переключающего (спускового) механизма путем последовательных ударов посылочным грузом по приемной втулке;

д) отсутствие деформаций стенок секторов компасной коробки и надежность их фиксации;

е) правильность установки оси винта в подшипниках: осевой люфт винта должен быть от 0,1 до 0,3 мм;

ж) надежность выпадения шарика из магазина в компасную коробку через 33,5 оборота винта.

7.2 Опробование

7.2.1 Проверка вращения вертлюга

Проверку производят путем буксировки вертушки ВММ в сборе с рулем (хвостовым оперением) в ПГБ, прикрепленной к штанге тележки на тросе; при скорости течения (движения тележки), равной (0,4 ± 0,1) м/с.

Положение руля (хвостового оперения) в горизонтальной и вертикальной плоскостях относительно штанги тележки оценивают визуально.

7.2.2 Проверка приспособления для преобразования вращения винта вертушки в электрические сигналы

Приспособление устанавливают на коробке счетчика вертушки ВММ согласно рисунку Б.1 (приложение Б).

Сигналы с геркона подаются на вход регистратора скорости посредством вращения винта вертушки вручную.

Проверку и поверку вертушки выполняют обязательно при подключенном механическом счетчике к оси винта через червячную пару.

7.2.3 Проверка намагниченности магнитной стрелки

Намагниченность магнитной стрелки компасной коробки проверяют при помощи пластинки из слабоуглеродистой стали: ст. 3 по ГОСТ 535-88. Магнитная стрелка должна удерживать пластинку массой, равной (70 ± 5) г.

7.3 Определение индивидуальной функции преобразования вертушки

7.3.1 Вертушку ВММ, предварительно сняв с нее руль, устанавливают в ПГБ на штанге тележки в соответствии с требованиями инструкции по эксплуатации ПГБ.

7.3.2 Индивидуальную функцию преобразования вертушки (ИФП) определяют при следующих заданных значениях скорости движения тележки:

а) для пластмассового винта: 0,05; 0,06; 0,08; 0,10; 0,15; 0,20; 0,25; 0,35; 0,50; 0,75; 1,00 м/с;

б) для металлического винта: 0,06; 0,08; 0,10; 0,15; 0,20; 0,30; 0,50; 0,75; 1,00; 1,25; 1,50; 2,00; 2,50; 3,00; 4,00 м/с.

7.3.3 Допускаемое отклонение скорости движения тележки от заданной должно быть не более ±10 %.

7.3.4 При переходе с одной заданной скорости движения тележки на другую в соответствии с инструкцией по эксплуатации ПГБ следует выдерживать время, в течение которого вода в бассейне успокаивается.

7.3.5 При каждой заданной скорости движения тележки измеряют частоту оборотов лопастного винта вертушки ni и скорость движения тележки .Результаты заносят в таблицу по форме приложения В. Результаты вычислений округляют следующим образом:

- до четырех значащих цифр, если первая значащая цифра меньше 5;

- до трех значащих цифр, если первая значащая цифра равна или превышает 5.

7.3.6 Измерения производят на регистраторе скорости сигналов от датчика вращения лопастных винтов вертушки и датчика скорости движения пути тележки.

7.3.7 ИФП определяют по результатам одного измерения в каждой заданной i-й точке диапазона скоростей.

7.3.8 По результатам измерений определяют ИФП вертушки:

V = an + b,

(1)

где V - скорость водного потока, измеренная вертушкой, м/с;

а и b - коэффициенты ИФП;

n - частота оборотов лопастного винта вертушки, с-1.

7.3.9 ИФП вертушки определяют в диапазоне скоростей в соответствии с 7.3.2. Используют кусочно-линейную аппроксимацию.

7.3.10 ИФП рассчитывают методом наименьших квадратов по методике, приведенной в приложении Г.

7.4 Определение относительной основной погрешности вертушки

7.4.1 Относительную основную погрешность вертушки δi (в процентах) в заданной точке диапазона измерения скорости в соответствии с требованиями ГОСТ 8.009 определяют по формуле

(2)

где Vi - скорость потока по ИФП вертушки в i-й точке, м/с;

 - скорость движения тележки, м/с;

i - номер заданной точки скорости движения тележки в диапазоне измерения.

7.4.2 Вертушку считают прошедшей поверку с положительным результатом, если значение δi по всему скоростному диапазону удовлетворяет условию

(3)

где  - предел допускаемой относительной погрешности, %. Значение  определяют по следующим формулам:

а) для пластмассового винта

(4)

б) для металлического винта

(5)

7.4.3 Значения δi и , определяемые по формулам (2), (4) и (5), для всех i-x точек (12 точек согласно 7.3.2), заносят в таблицу приложения В.

7.5 Определение абсолютной основной погрешности датчика направления течения

7.5.1 Поверка датчика направления течения сводится к поверке компасной коробки. Поверку производят на поворотном столе с использованием буссоли (приложение А, рисунок А.1). Поворотный стол должен быть удален от предметов, содержащих ферромагнитные сплавы и металлы, на расстояние не менее 2 м.

7.5.2 Лимб буссоли устанавливают так, чтобы нулевое деление совпало с нулевым делением верньеров алидады. Затем поворотный стол разворачивают так, чтобы магнитная стрелка северным концом была ориентирована на 90° относительно совмещенных нитей диоптр.

7.5.3 Компасную коробку устанавливают на кронштейне 13, разворачивают в гнезде 14 так, чтобы северный конец ее магнитной стрелки вставал ровно на середине нулевого сектора. Положение фиксируют винтом 15.

7.5.4 Поворотный стол разворачивают в диапазоне 0 - 360° по часовой стрелке и обратно в диапазоне 360 - 0°. Измерения проводят через каждые 30° следующим образом: устанавливают угол по лимбу буссоли и подают в отверстие компасной коробки через трубочку по три шарика. По окончании первой серии измерений (от 0 до 360°) открывают крышку компасной коробки и подсчитывают число шариков в 12 отсеках.

По выходу шарика в соседний (уже наполненный шариками) отсек определяют значение погрешности угла направления, которая не должна превышать ±10°. Результаты измерений заносят в таблицу (приложение Д).

Затем проводят аналогичные измерения второй серии при развороте стола против часовой стрелки: от 360° до 0°.

7.5.5 Абсолютную основную погрешность Δα измерения направления определяют по формуле

Δα = αи - αд.

(5)

где αи - измеренное значение угла разворота оси прибора относительно плоскости магнитного меридиана (отсчет по шкале указателя направления), °;

αд - действительное значение этого угла (отсчет по лимбу буссоли поворотного стола), °.

7.5.6 Датчик направления течения считается прошедшим поверку с положительным результатом, если в пределах угла поворота ±360° его абсолютная основная погрешность не превышает ±10°.

7.6 Оформление результатов поверки

7.6.1 Результаты поверки оформляют в виде протокола согласно приложению Е. К протоколу прилагают результаты измерений, оформленные согласно приложениям В и Д.

7.6.2 При выполнении условий 7.4.2 и 7.5.6 на вертушки ВММ выдают свидетельство о поверке сроком на 2 года (приложение Ж).

7.6.3 При отрицательных результатах поверки вертушки и (или) датчика направления течения выдают извещение о непригодности к применению вертушки ВММ (приложение И).

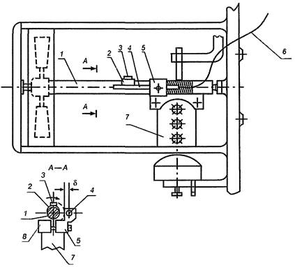
Приложение А
(обязательное)
Описание и работа поворотного стола
для поверки датчика направления течения
вертушки морской ВММ

А.1 Устройство поворотного стола

Поворотный стол состоит из следующих основных функциональных узлов и деталей (рисунок А.1):

- основания 1;

- собственно поворотного стола 2, вращающегося на оси 3;

- оси 3, установленной в подшипнике 4, монтируемом на основании 1.

1 - основание; 2 - поворотный стол; 3 - ось; 4 - подшипник; 5 - стойка;
6 - панель; 7 - буссоль БГ-1 (круговая); 8 - алидада буссоли; 9 - державка;
10 - штанга; 11 - верньер ; 12 - компасная коробка; 13 - кронштейн для
установки компасной коробки 12; 14 - гнездо; 15 - винт фиксации; 16 - винт
установочный; 17 - уровень; 18 - винт.

Рисунок А.1 - Поворотный стол для поверки датчика направления
течения вертушки морской ВММ.

На столе 2 на четырех стойках 5 установлена панель 6, на которой жестко крепят буссоль 7 соосно с осью вращения 3 стола 2.

Алидаду 8 буссоли 7 через державку 9 и штангу 10 жестко фиксируют на основании 1, что позволяет вести отсчет угла вращения поворотного стола 2 по лимбу буссоли 7 относительно верньера 11, установленного на алидаде в буссоли 7.

Поверяемую компасную коробку 12 крепят на поворотном столе 2 на кронштейне 13 и фиксируют в гнезде 14 при помощи двух винтов 15 при повороте ее на определенный угол. Все детали поворотного стола изготавливаются из диамагнитных материалов.

А.2 Работа на поворотном столе

А.2.1 При измерениях не допускается нахождение в радиусе 2 м от поворотного стола предметов, содержащих ферромагнитные металлы и сплавы.

А.2.2 Перед измерениями выполняют следующие подготовительные работы:

- размещают поворотный стол на деревянном столе;

- устанавливают горизонтальное положение основания 1 при помощи четырех установочных винтов 16 по уровню 17;

- выставляют поворотный стол 2 по лимбу буссоли 7 так, чтобы нулевое деление лимба совпало с нулевым делением верньера 11, затем фиксируют это положение винтом 18;

- разворачивают основание 1 на деревянном столе так, чтобы северный конец магнитной стрелки буссоли 7 находился под прямым углом относительно совмещенных нитей диоптр алидады 8, после чего окончательно выставляют основание 1 по уровню 17;

- компасную коробку 12 выставляют (при снятой крышке) в гнезде 14 по ее магнитной стрелке, северный конец которой должен устанавливаться по середине нулевого отсека компасной коробки, и фиксируют это положение винтом 15;

- в измерениях устанавливают задаваемые углы поворота компасной коробки, фиксируют эти положения винтом 18, снимают и регистрируют показания лимба буссоли 7 и считают число шариков, опускаемых в компасную коробку через отверстие, в соответствующих отсеках компасной коробки, определяя тем самым погрешность датчика направления.

Приложение Б
(обязательное)
Приспособление для преобразования
вращения винта вертушки в электрические сигналы

1 - ось винта вертушки морской ВММ; 2 - кольцо бронзовое разрезное подпружиненное
для установки на оси 1 магнита 3; 3 - дисковый постоянный магнит, воздействующий
на контакты геркона 4; 4 - геркон в герметичном латунном корпусе;
5 - кронштейн для крепления корпуса геркона 4; в - провод гибкий (МГШВ - 0,6 мм2)
для соединения одного из контактов геркона с сигнальным входом регистратора ПГБ [2];
7 - коробка счетчика вертушки; 8 - скоба для крепления кронштейна 5 к коробке 7;
δ - зазор между магнитом 3 и корпусом геркона 4, который выставляется
при помощи прокладок между кронштейном 5 и коробкой 7.

Рисунок Б.1

Приложение В
(обязательное)
Форма таблицы оформления результатов измерений скорости потока

Вертушка типа _________ № _______

Номер заданной точки скорости, i

Скорость движения тележки , м/с

Частота оборотов лопастного винта вертушки ni, c-1

Скорость потока, измеренная вертушкой Vi, м/с

Относительная основная погрешность вертушки δi, %

Предел допускаемой относительной основной погрешности вертушки , %

1

 

 

 

 

 

2

 

 

 

 

 

3

 

 

 

 

 

 

 

 

 

 

 

 

Поверитель _______________________

подпись

____________________________________

инициалы, фамилия

Приложение Г
(обязательное)
Расчет коэффициентов ИФП вертушки
методом наименьших квадратов

Результатом наблюдений при определении ИФП вертушки является совокупность значений (, ni), приведенная в протоколе (приложение Е). ИФП вертушки имеет вид

V = b + an.

(Г.1)

При использовании метода наименьших квадратов требование наилучшего согласования прямой и экспериментальных точек сводится к тому, чтобы сумма квадратов отклонений экспериментальных точек от сглаженной прямой была минимальной:

(Г.2)

Коэффициент а определяют по формуле

(Г.3)

где  - центр распределения:

(Г.4)

 - среднеарифметическое значение скорости тележки , м/с (i изменяется от 1 до N):

(Г.5)

 - среднеарифметическое значение частоты оборотов лопастного винта вертушки ni, с-1 (i изменяется от 1 до N):

(Г.6)

Dn - дисперсия:

(Г.7)

N - число заданных скоростных точек в диапазоне измерения скорости.

Коэффициент b определяют по формуле

(Г.8)

Приложение Д
(обязательное)
Форма таблицы оформления результатов измерений угла датчика направления течения

Датчик направления течения: компасная коробка № ______

Номер измерения в серии, n

1-я серия измерений

2-я серия измерений

Действительное значение угла αд, градус

Измеренное значение угла αи, градус

Погрешность измерения Δα, градус

Действительное значение угла αд, градус

Измеренное значение угла αи, градус

Погрешность измерения Δα, градус

1

2

3

4

5

6

7

1

0

 

 

0 (360)

 

 

2

30

 

 

330

 

 

3

60

 

 

300

 

 

4

90

 

 

270

 

 

5

120

 

 

240

 

 

6

150

 

 

210

 

 

7

180

 

 

180

 

 

8

210

 

 

150

 

 

9

240

 

 

120

 

 

10

270

 

 

90

 

 

11

300

 

 

60

 

 

12

330

 

 

30

 

 

13

360

 

 

(0)

 

 

 

Поверитель _______________________

подпись

____________________________________

инициалы, фамилия

Приложение Е
(обязательное)
Форма протокола проведения поверки вертушки ВММ

ПРОТОКОЛ № __________

результатов поверки вертушки и датчика направления

1 Поверяемое средство измерения _____________________________________________

(наименование, тип, заводской номер)

2 Где проведена поверка _____________________________________________________

(наименование организации)

3 Эталонные средства измерений, используемые при поверке ______________________

___________________________________________________________________________

(наименование,

___________________________________________________________________________

тип,

___________________________________________________________________________

номер свидетельства о поверке

___________________________________________________________________________

или аттестации)

___________________________________________________________________________

4 Результаты измерений ______________________________________________________

5 Индивидуальная функция преобразования (ИФП)

в диапазоне _____________ м/с _____________

_____________ м/с _____________

6 Относительная основная погрешность, %, не более _____________________________

7 Абсолютная основная погрешность датчика направления, градус, не более _________

Поверитель _______________________

подпись

____________________________________

инициалы, фамилия

____________________ 20__ г.

Приложение Ж
(обязательное)
Форма свидетельства о поверке вертушки морской ВММ

______________________________________________________________

(наименование органа Государственной метрологической службы,
юридического лица)

СВИДЕТЕЛЬСТВО О ПОВЕРКЕ

№ _______

Действительно до

_____________ г.

Средство измерения _________________________________________________________

(наименование, тип)

заводской номер ____________________________________________________________

принадлежащее _____________________________________________________________

(наименование юридического (физического) лица)

поверено и на основании результатов первичной (периодической) поверки признано пригодным к применению.

Поверительное клеймо

_______________________

должность руководителя подразделения

_______________________

подпись

_______________________

инициалы, фамилия

Поверитель _______________________

подпись

____________________________________

инициалы, фамилия

____________________ 20__ г.

Примечание - Обратная сторона свидетельства о поверке заполняется результатами поверки из протокола:

1) индивидуальная функция преобразования (ИФП) вертушки;

2) абсолютная основная погрешность датчика направления.

Приложение И
(обязательное)
Форма извещения о непригодности к применению

______________________________________________________________

(наименование органа Государственной метрологической службы,
юридического лица)

ИЗВЕЩЕНИЕ

о непригодности к применению

№ _______

Средство измерения _________________________________________________________

(наименование, тип)

заводской номер ____________________________________________________________

принадлежащее _____________________________________________________________

(наименование юридического (физического) лица)

поверено и на основании результатов поверки признано непригодным к применению в сферах распространения государственного метрологического контроля и надзора.

Причина непригодности _____________________________________________________

___________________________________________________________________________

___________________________________________________________________________

___________________________________________________________________________

___________________________________________________________________________

___________________________________________________________________________

_______________________

должность руководителя подразделения

_______________________

подпись

_______________________

инициалы, фамилия

Поверитель _______________________

подпись

____________________________________

инициалы, фамилия

____________________ 20__ г.

Приложение К
(справочное)
Библиография

1 Методика аттестации и поверки прямолинейных градуировочных бассейнов.

2 ИЛАН.416221.001РЭ. Регистратор скорости водного потока PC. Руководство по эксплуатации.

Лист регистрации изменений Р 52.08.665-2004

Номер изменения

Номер листа (страницы)

Номер документа

Подпись

Дата

измененного

замененного

нового

аннулированного

внесения изменения

введения изменения