Cutting tool data representation and exchange. Part 5. Reference dictionary for assembly items

ФЕДЕРАЛЬНОЕ АГЕНТСТВО
ПО ТЕХНИЧЕСКОМУ РЕГУЛИРОВАНИЮ И МЕТРОЛОГИИ

НАЦИОНАЛЬНЫЙ
СТАНДАРТ
РОССИЙСКОЙ
ФЕДЕРАЦИИ

ГОСТ Р 54131-
2010/ISO/
TS

13399-5:2007

ПРЕДСТАВЛЕНИЕ И ОБМЕН ДАННЫМИ
ПО РЕЖУЩИМ ИНСТРУМЕНТАМ

Часть 5

Справочный словарь по сборочным элементам

ISO/TS 13399-5:2007
Cutting tool data representation and exchange - Part 5:
Reference dictionary for assembly items
(IDT)

Москва

Стандартинформ

2014

Предисловие

1 ПОДГОТОВЛЕН Научно-техническим центром «ИНТЕК» на основе собственного аутентичного перевода на русский язык международного документа, указанного в пункте 4

2 ВНЕСЕН Техническим комитетом по стандартизации ТК 100 «Стратегический и инновационный менеджмент»

3 УТВЕРЖДЕН И ВВЕДЕН В ДЕЙСТВИЕ Приказом Федерального агентства по техническому регулированию и метрологии от 21 декабря 2010 г. № 876-ст

4 Настоящий стандарт идентичен международному документу ISO/TS 13399-5:2007 «Представление и обмен данными по режущим инструментам. Часть 5. Справочный словарь по сборочным элементам» (ISO/TS 13399-5:2007 «Cutting tool data representation and exchange - Part 5: Reference dictionary for assembly items»).

При применении настоящего стандарта рекомендуется использовать вместо ссылочных международных стандартов и документов, соответствующие им национальные стандарты Российской Федерации, сведения о которых приведены в дополнительном приложении ДА

5 ВВЕДЕН ВПЕРВЫЕ

Правила применения настоящего стандарта установлены в ГОСТ Р 1.0-2012 (раздел 8). Информация об изменениях к настоящему стандарту публикуется в ежегодном (по состоянию на 1 января текущего года) информационном указателе «Национальные стандарты», а официальный текст изменений и поправок-в ежемесячном информационном указателе «Национальные стандарты». В случае пересмотра (замены) или отмены настоящего стандарта соответствующее уведомление будет опубликовано в ближайшем выпуске ежемесячного информационного указателя «Национальные стандарты». Соответствующая информация, уведомление и тексты размещаются также в информационной системе общего пользования - на официальном сайте Федерального агентства по техническому регулированию и метрологии в сети Интернет (gost.ru)

Содержание

1 Область применения. 5

2 Нормативные ссылки. 6

3 Термины и определения. 7

4 Сокращения. 8

5 Представление концепций онтологии в качестве статей словаря. 9

6 Свойства особенностей интерфейса соединения. 15

Приложение А (справочное) Регистрация информационного объекта. 16

Приложение В (справочное) Структура классификации. 16

Приложение С (справочное) Определения классов. 19

Приложение D (справочное) Определения свойств элементов сборки. 27

Приложение Е (справочное) Иллюстрация классов сборочных элементов. 33

Приложение ДА (справочное) Сведения о соответствии ссылочных международных стандартов ссылочным национальным стандартам Российской Федерации. 46

Библиография. 46

Введение

Комплекс международных документов ИСО/ТС 13399 подготовлен Техническим комитетом ИСО/ТК 29 «Ручной инструмент» и состоит из следующих частей, имеющих общий заголовок «Представление и обмен данными по режущим инструментам»:

- часть 1. Обзор, основные принципы и общая информационная модель;

- часть 2. Справочный словарь по режущим элементам;

- часть 3. Справочный словарь по элементам резцов;

- часть 4. Справочный словарь по адаптивным элементам;

- часть 5. Справочный словарь по сборочным элементам;

- часть 50. Справочный словарь по системам ссылок и общим понятиям;

- часть 60. Справочный словарь по системам соединения;

- часть 100. Определения, принципы и методы для справочных словарей.

Комплекс международных документов ИСО 13399 представляет собой средство электронного представления данных по режущим инструментам с помощью информационной структуры, необходимой для описания данных о режущих инструментах и компоновках режущих инструментов, и предназначен для облегчения использования, манипулирования и обмена данными по режущим инструментам в процессе производства, распределения и использования.

В настоящем стандарте установлены термины, свойства и определения тех частей режущего инструмента, которые обеспечивают соединение компонентов режущего инструмента, за исключением элементов обработки резанием, и подсоединение инструмента к станку. Адаптивные элементы включают в себя зажимные патроны и инструментальные оправки. Цель настоящего стандарта - предоставить словарь ссылок, обеспечивающих поддерживание использования общей информационной модели, определенной в ИСО 13399-1.

Режущий инструмент с определенными режущими кромками используют на металлорежущем станке для удаления части материала заготовки путем сдвига режущих кромок резца. Данные режущего инструмента являются характеристиками режущего инструмента и его использования, которые должны быть известны и которые необходимо оценивать с целью принятия решений и выполнения производственных операций.

Комплекс международных документов ИСО 13399 включает в себя представление данных по всем объектам, начиная с заготовок и заканчивая металлорежущим станком. Происходит обмен информацией о вставках (например, сменных режущих пластинах правильной и сложной конфигурации), твердотельных резцах (например, сплошном сверле и концевой фрезе), сборных инструментах (например, расточных оправках, сверле и фрезах с многогранными режущими пластинами), адаптерах (например, фрезерных оправках и зажимных патронах), компонентах (например, регулировочных шайбах, винтах и зажимах) или о любых комбинациях вышеуказанных инструментов.

Примеры разных типов сборок компонентов режущего инструмента приведены на рисунке 1.

Описание режущего инструмента включает в себя геометрические данные и данные о размерах, данные идентификации и назначения, смешанные данные и данные о запасных частях, режущем материале и о возможных соединениях компонентов.

Использование инструментальной информационной модели, представленной в комплексе международных документов ИСО 13399, должно обеспечивать повышенную производительность как пользователя, так и инструментальных средств. Эффективное управление инструментальной информацией улучшает использование инструментальных средств. Использование инструментальной информационной модели позволяет идентифицировать «правильный» инструмент для каждой операции, начиная с закупки инструментов, и затем - при планировании, установке в металлорежущем станке, техническом обслуживании и повторном использовании этих инструментов. При этом сокращается время производственного цикла и повышается надежность и качество продукции. Пользователи инструментов получают прямую выгоду в результате улучшения поддержки со стороны предприятия - поставщика инструментов, которые получают возможность предоставлять стандартную сопроводительную информацию к инструментальной продукции. Компьютерные интерфейсы для информационного обмена становятся более эффективными.

Целью комплекса международных документов ИСО 13399 является обеспечение заинтересованных сторон средствами представления информации, которая характеризует режущие инструменты в компьютеризированной форме, независимой от конкретной компьютерной системы. Такое представление облегчает обработку и обмен данными по режущим инструментами при использовании различного программного обеспечения и компьютерных комплексов, а также обеспечивает поддержку применения этих данных при производственном планировании, обработке резанием и поставке инструментальных средств. Характер описания режущих инструментов позволяет осуществлять не только нейтральный обмен файлами, но также является основой для внедрения и совместного использования баз данных о продукции для достижения поставленных целей. Методы, используемые для этих представлений, разработаны Техническим комитетом ТК 184 «Системы промышленной автоматизации и интеграция» и подкомитетом ПК 4 «Промышленные данные для представления данных о продукции» с использованием стандартизованных информационных моделей и словарей ссылок.

Информационная модель представляет собой формальную спецификацию различных идей, фактов и процессов, которые вместе дают описание реального мира, представляющего интерес, и которые предоставляют набор правил интерпретации. Информация представляет собой знание идей, фактов и/или процессов. Данные являются символами или функциями, которые отображают информацию с использованием правил, указывающих, как следует выполнять конкретную операцию, и словаря для определения терминов, идентифицирующих эти данные. Все участники коммуникационного процесса должны использовать одну и ту же информационную модель, одинаковый набор правил и один и тот же словарь во избежание путаницы и неправильного понимания. Если информационная модель и ее словарь реализованы на машинно-ориентированном языке, дополнительную выгоду получают в случае, если модель и язык подходят для обработки на ЭВМ.

Следовательно, техническая информационная модель является спецификацией данных, определяющей смысл этих данных, в частности, их технический контекст. Модель должна быть разработана с помощью формальных методов для обеспечения того, что она будет удовлетворять потребностям конкретной ситуации. Техническая информационная модель определяет информационные объекты, которые представляют концепции технического приложения, атрибуты определенных объектов и их взаимоотношения, а также ограничения, имеющие дополнительные значения. Информационная модель является абстрактной концепцией, которую можно использовать многократно в любой ситуации в рамках представляемого реального мира. После заполнения модели элементами данных и их значениями, которые являются приемлемыми в частной ситуации реального мира, получают экземпляр модели.

Настоящий стандарт использует следующие ресурсы, разработанные ИСО ТК 184/ПК 4:

a) язык EXPRESS, соответствующий требованиям ИСО 10303-11 к определению информационной модели;

b) формат обмена данными, полученный из модели и определенный в ИСО 10303-21;

c) словарь данных, определенный в ИСО 13584.

Комплекс международных документов ИСО 13399 предназначен для использования на производстве, изготовителями и поставщиками инструментов, а также разработчиками производственного программного обеспечения. Он устанавливает общую структуру обмена данными о режущих инструментах (см. рисунок 1) и предназначен для обеспечения возможности или улучшения:

- представления общей совокупности определений для описания отдельных режущих инструментов и режущих инструментов в сборе;

- интеграции и совместного использования данных режущего инструмента и режущих инструментов в сборе между приложениями программного обеспечения;

- прямого импорта данных режущих инструментов поставщиков в базы данных заказчиков или прикладные программы;

- снижения усилий производителей в отношении представления точной текущей информации о режущих инструментах из разных источников и для множественных применений.

Разные компании используют разные бизнес-модели для определения потребности в передаче информации о своей продукции. Например, один производитель режущих инструментов может сам перетачивать инструменты для своих клиентов, в то время как другой производитель может разрешать покупателям выполнять перетачивание самостоятельной предоставляет информацию о том, как это осуществить. Следовательно, два производителя режущих инструментов при общении могут использовать разные наборы свойств режущих инструментов, используя информационную модель и словари, установленные в комплексе международных документов ИСО 13399.

Комплекс международных документов ИСО 13339 определяет только ту информацию, которую можно передавать, но не устанавливает, какую информацию следует передавать.

Рисунок 1 - Примеры разных типов сборок элементов

ГОСТ Р 54131-2010/ISO/TS 13399-5:2007

НАЦИОНАЛЬНЫЙ СТАНДАРТ РОССИЙСКОЙ ФЕДЕРАЦИИ

ПРЕДСТАВЛЕНИЕ И ОБМЕН ДАННЫМИ ПО РЕЖУЩИМ ИНСТРУМЕНТАМ

Часть 5

Справочный словарь по сборочным элементам

Cutting tool data representation and exchange. Part 5.
 Reference dictionary for assembly items

Дата введения - 2011 - 09 - 01

1 Область применения

Настоящий стандарт устанавливает словарь ссылок на сборочные элементы режущих инструментов вместе с описательными свойствами и доменами значений, содержащий:

a) определения и идентификацию классов сборочных элементов с ассоциированной схемой классификации;

b) определения и идентификацию типов элементов данных, которые представляют свойства сборочных элементов;

c) определения и идентификацию доменов значений, необходимых для описания вышеуказанных типов элементов данных.

Каждый класс, свойство или домен значений данной области составляет часть справочного словаря, что в свою очередь ассоциируется с машинно-ориентированным и удобочитаемым определением и машинно-ориентированной идентификацией. Идентификация словарной статьи допускает однозначную ссылку на нее из любого приложения, которое реализует информационную модель, определенную в ИСО 13399-11).

__________

1) Определения и идентификацию словарных статей определяют с помощью стандартных данных, состоящих из экземпляров типов данных логических объектов языка EXPRESS, полученных на основе общепринятой словарной схемы в результате совместной работы ИСО ТК 184/ПК 4 и МЭК ПК 3D, и ее дополнений согласно ИСО 13584-24 и ИСО 13584-25.

Настоящий стандарт распространяется на:

- стандартные данные, представляющие разные классы сборочных элементов;

- стандартные данные, представляющие разные свойства сборочных элементов;

- стандартные данные, представляющие домены значений, используемых для свойств элементов сборок;

- метод реализации, с помощью которого можно обмениваться стандартными данными, определенными в настоящем стандарте (см. ИСО 10303-21).

Настоящий стандарт не распространяется на:

- специализированные или экспертные знания, имеющие отношение к проектированию и использованию режущих инструментов;

- правила, используемые для установления информации, которой следует обмениваться;

- приложения в случае, когда вышеуказанные стандартные данные могут храниться или на них можно ссылаться;

- методы реализации, не соответствующие указанным в настоящем стандарте, с помощью которых стандартными данными можно обмениваться или на них можно ссылаться;

- информационные модели режущих инструментов;

- определения классов и свойств режущих элементов, конкретных инструментов (резцов), адаптивных элементов, систем отсчета и общих понятий или систем соединения. Данные определения приведены в других частях комплекса ИСО 13399;

- определения элементов, предназначенные для общего технического использования, которые могут быть установлены другими организациями и включены в другие словари, одобренные ИСО.

2 Нормативные ссылки

В настоящем стандарте использованы нормативные ссылки на следующие стандарты, которые необходимо учитывать при использовании настоящего стандарта. В случае ссылок на документы, у которых указана дата утверждения, необходимо пользоваться только указанной редакцией. В случае, когда дата утверждения не приведена, следует пользоваться последней редакцией ссылочных документов, включая любые поправки и изменения к ним:

ИСО/ТС 13399-100 Представление и обмен данными по режущим инструментам. Часть 100. Определения, принципы и методы для справочных словарей (ISO/TS 13399-100, Cutting tool data representation and exchange - Part 100: Definitions, principles and methods for reference dictionaries)

3 Термины и определения

В настоящем стандарте применены термины, установленные в ИСО/ТС 13399-100, а также следующие термины с соответствующими определениями:

3.1 приемлемое свойство (applicable property): Свойство, определяемое для некоторого семейства изделий и применимое для любого элемента этого семейства.

[ИСО 13584-24]

3.2 основная семантическая единица (basic semantic unit): Логический объект, предоставляющий абсолютную и универсальную идентификацию классов и типов элементов данных в конкретной области применения.

[ИСО 13584-42]

3.3 стружка (chip): Материал, удаляемый с обрабатываемой детали (заготовки) в процессе резания.

[ИСО/ТС 13399-2]

3.4 режущий инструмент (cutting tool): Устройство, предназначенное для удаления материала с обрабатываемой детали с помощью сдвигающих действий режущей кромки.

Примечание - Режущий инструмент может состоять из одной или более адаптивных деталей, элементов резца и нескольких режущих элементов на устройстве резца (см. рисунок 1).

[ИСО 13399-1]

3.5 данные (data): Представление концепций фактов или инструкций в виде, который может быть использован для коммуникации, интерпретации или их обработки человеком или на компьютере.

[ИСО 10303-1]

3.6 тип элементов данных (data element type): Единица данных, для которой определена идентификация, описание и представление.

[ИСО 13584-42]

3.7 обмен данными (data exchange): Хранение, оценка, передача и архивирование данных.

[ИСО 10303-1]

3.8 тип данных (data type): Домен значений.

[ИСО 10303-11]

3.9 словарь (dictionary): Структурированный набор статей, имеющих значение, соответствующее каждой статье, и статью, идентифицирующую одно значение.

[ИСО 13584-511]

Примечание - В соответствии с ИСО 13399 словарь - это формальное и машинно-ориентированное представление онтологии.

3.10 сущность (entity): Класс информации, определенной ее атрибутами, которые устанавливают область значений в соответствии с общими атрибутами и ограничениями.

Примечание - Определение соответствует приведенному в ИСО 10303-11.

3.11 тип данных сущности (entity data type): Представление логического объекта.

[ИСО 10303-11]

3.12 экземпляр сущности (entity instance): Единица данных, представляющая единицу информации в пределах класса, определенного сущностью.

Примечание - Экземпляр сущности - это элемент домена, установленного типом данных сущности.

[ИСО 10303-11]

3.13 семейство элементов (family of items): Простое или родовое семейство элементов.

[ИСО 13584-42]

3.14 родовое семейство элементов (generic family of items): Группирование простых или родовых семейств элементов с целью классификации или для обобщения общей информации.

[ИСО 13584-42]

3.15 метод реализации (implementation method): Средства, предназначенные для обработки данных или обмена данными на компьютере.

[ИСО 10303-1]

3.16 информация (information): Факты, понятия или инструкции.

[ИСО 10303-1]

3.17 информационная модель (information model): Формальное описание ограниченного количества информации с целью приведения в соответствие особому требованию.

[ИСО 10303-1]

3.18 сторона станка (machine side): Направление, указывающее местоположение станка.

3.19 обработанная поверхность (machined surface): Поверхность, полученная в результате воздействия на нее режущего инструмента.

[ИСО 3002-1]

3.20 онтология (ontology): Подробная согласованная спецификация концепций области применения, независимая от любого использования этих концепций.

[ИСО 13584-511]

Примечание - В соответствии с ИСО 13339 словарь - это формальное и машинно-ориентированное представление онтологии.

3.21 свойство (property): Характеристика продукта или процесса, которая может быть представлена типом элементов данных.

Примечание - Определение соответствует приведенному в ИСО 13584-42.

3.22 простое семейство элементов (simple family of items): Совокупность элементов, в которой каждый элемент может характеризоваться одной и той же группой свойств.

[ИСО 13584-42]

3.23 видимое свойство (visible property): Свойство, определяемое для семейства элементов, которое приемлемо или нет для разных элементов этого семейства.

[ИСО 13584-42]

3.24 обрабатываемая деталь или заготовка (workpiece): Объект, подвергаемый воздействию резанием.

[ИСО/ТС 13399-2]

3.25 сторона расположения обрабатываемой детали или заготовки (workpiece side): Направление, указывающее расположение обрабатываемой детали или заготовки.

[ИСО/ТС 13399-2]

4 Сокращения

BSU - основная семантическая единица (basic semantic unit);

DET - тип элементов данных (data element type).

5 Представление концепций онтологии в качестве статей словаря

В настоящем разделе концепция в онтологии идентифицирована по имени в символах нижнего регистра. Имя класса, который представляет понятие в словаре, идентифицировано полужирными символами нижнего регистра с несколькими словами, соединенными линиями внизу.

Пример - «insert clamp» [«зажим вставки (вставной режущей пластины, вставного резца)»] - это имя понятия в онтологии; insertjciamp - это идентификатор класса в словаре, который представляет это понятие.

Каждая статья в словаре независимо от того, класс это или свойство, идентифицируется цифровым кодом BSU, который создается случайным образом при составлении словаря. Основная семантическая единица может быть единственной в своем роде, если к ней добавлен код, который является ссылкой на поставщика словаря. Каждый классифицированный элемент в следующих подразделах ассоциируется с его определением в словаре.

Структура классификации приведена в приложении B. Полные определения классов приведены в приложении С. Определение свойств, приемлемых для этих классов, приведены в приложении D.

5.1 assemblyitemtype

Тип элементов сборки является семейством объектов, формирующих комбинации элементов режущего инструмента.

assembly_item_type включает в себя следующие подклассы:

- bearing (подшипник);

- bush (вкладыш);

- centre_pin (центровочный штифт);

- collet (цанга);

- coolant_deflector (отражатель смазочно-охлаждающей жидкости);

- driving key (ведущая шпонка);

- driving ring (ведущее кольцо);

- externally_threaded_fastener_component (крепежная деталь с наружной резьбой);

- insert_clamp (зажим для вставки);

- insert_clamping_system (система зажимных приспособлений для вставок);

- insertjever (рычаг прижима вставки);

- insert_shim (шайба для вставки);

- insert_wedge (клин для вставки);

- nest (гнездо);

- nozzle (сопло);

- pin (штифт);

- pin (шпилька);

- retaining ring (стопорное кольцо);

- screw_thread_lining (рихтовка резьбы винта);

- sealing ring (уплотнительное кольцо);

- sleeve (втулка);

- spacer (распорка);

- spring (пружина).

5.1.1 bearing

Подшипник представляет собой деталь, предназначенную для уменьшения нагрузки на поверхность, а также для уменьшения трения между двумя поверхностями.

Примечание 1 - Этот класс предназначен для общего технического использования и не является специфическим для режущих инструментов.

Примечание 2 - Этот класс может быть также классом элементов (item_class_case) в другом словаре, соответствующем ИСО 13584.

5.1.2 bush

Вкладыш представляет собой полую цилиндрическую деталь, без зазора входящую в отверстие.

Примечание 1 - Вкладыш может действовать как подшипник.

Примечание 2 - Этот класс предназначен для общего технического использования и не является специфическим для режущих инструментов.

Примечание 3 - Этот класс может быть также классом элементов (item_class_case) в другом словаре, соответствующем ИСО 13584.

5.1.3 centre_pin

Центровочный штифт представляет собой жесткую деталь, закрепленную на инструменте, который размещает и удерживает вставку (режущую деталь) и/или шайбу с помощью центрального отверстия.

5.1.4 collet

Цанга представляет собой сегментированный обод, который может расширяться и сжиматься для захвата вала.

Примечание 1 - Этот класс предназначен для общего технического использования и не является специфическим для режущих инструментов.

Примечание 2 - Этот класс может быть также классом элементов (item_class_case) в другом словаре, соответствующем ИСО 13584.

5.1.5 coolant_deflector

Отражатель смазочно-охлаждающей жидкости (далее - СОЖ) представляет собой устройство, предназначенное для изменения направления потока подаваемой смазочно-охлаждающей жидкости.

5.1.6 driving_key

Ведущая шпонка представляет собой деталь, которая без зазора входит в пазы компонентов сборки, передает вращающий момент от одного компонента к другому и/или определяет местоположение таких компонентов.

Примечание 1 - Этот класс предназначен для общего технического использования и не является специфическим для режущих инструментов.

Примечание 2 - Этот класс может быть также классом элементов (item_class_case) в другом словаре, соответствующем ИСО 13584.

5.1.7 driving_ring

Ведущее кольцо представляет собой деталь кольцевой формы, имеющую шпонки или шпоночные канавки, которые составляют одно целое с кольцом и предназначены для передачи вращающего момента от одного компонента сборки к другому.

Примечание 1 - Этот класс предназначен для общего технического использования и не является специфическим для режущих инструментов.

Примечание 2 - Этот класс может быть также классом элементов (item_class_case) в другом словаре, соответствующем ИСО 13584.

5.1.8 externally_threaded_fastener_component

Крепежная деталь с наружной резьбой представляет собой разновидность класса элемента для более общего класса.

Примечание 1 - Определение крепежной детали с наружной резьбой приведено в ИСО 13584-511.

Примечание 2 - Определение BSU крепежной детали с наружной резьбой приведено в ИСО 13584-511.

Примечание 3 - Свойства, применимые для этих классов, установлены в ИСО 13584-111.

externally_threaded_fastener_component включает в себя следующие подклассы:

- deflection_screw (винт упругой деформации);

- deflerential_screw (дифференциальный винт);

- essentric_screw (эксцентриковый винт);

- insert_screw (винт для вставки);

- lever_screw (винт для рычага прижима вставки);

- hollow_screw (полый винт);

5.1.8.1 deflection_screw

Винт упругой деформации представляет собой винт с конической частью тела, которая может упруго деформироваться для того, чтобы опираться на вставку и удерживать ее на месте.

5.1.8.2 deflerential_screw

Дифференциальный винт представляет собой крепежную деталь с наружной резьбой без головки. Стержень детали имеет две части с левой и правой резьбой разного шага (один шаг больше другого), предназначенные главным образом для крепления клиньев или консольных зажимов вставки.

5.1.8.3 eccentric_screw

Эксцентриковый винт представляет собой крепежную деталь с наружной резьбой и круглой головкой, не концентричной стержню детали.

5.1.8.4 insert_screw

Винт для вставки представляет собой крепежную деталь с конической головкой, предназначенную главным образом для удерживания режущей детали на инструментальном изделии (резце).

5.1.8.5 lever_screw

Винт для рычага представляет собой крепежную деталь с наружной резьбой без головки. Стержень детали имеет суженную часть, предназначенную для удерживания рычага вставки в контакте со вставкой.

5.1.8.6 hollow_screw

Полый винт представляет собой крепежную деталь с наружной резьбой, предназначенную для удерживания шайбы в углублении, имеющем сквозное резьбовое отверстие, в которое может проходить винт, чтобы удерживать вставку.

5.1.9 insert_clamp

Зажим вставки представляет собой деталь, являющуюся частью системы зажимных приспособлений для вставок, предназначенную для приложения усилия на вставку.

Insert_clamp (зажим вставки) включает в себя следующие подклассы:

- cantilever_clamp (кронштейный зажим);

- floating_wedge_clamp (плавающий клиновой зажим);

- lever_top_clamp (рычажный нажимной зажим);

- wedge_clamp (клиновой зажим).

5.1.9.1 cantilever_clamp

Кронштейный зажим представляет собой жесткую деталь с удлиненным плечом рычага, предназначенным для приложения усилия, направленного вниз на вставку.

5.1.9.2 floating_wedge_clamp

Плавающий клиновый зажим представляет собой деталь, предназначенную для приложения усилия, направленного вниз на вставку, путем перемещения части данной детали вдоль поверхности клина.

5.1.9.3 lever_top_clamp

Рычажный нажимной зажим представляет собой деталь, предназначенную для приложения усилия, направленного на вставку с помощью рычага.

5.1.9.4 wedge_clamp

Клиновый зажим представляет собой деталь, являющуюся частью системы зажимных приспособлений для вставок, которая предназначена для приложения усилия, направленного вниз и в сторону для фиксации режущего элемента.

5.1.9.5 insert_wedge

Клин для вставки представляет собой деталь, имеющую форму клина, предназначенную для приложения усилия, направленного вниз для удерживания вставки в определенном положении.

5.1.10 insert_clamping_system

Система зажимных приспособлений для вставок представляет собой семейство сборочных объектов (сборок), предназначенных для крепления режущего элемента на инструментальном изделии (резце). Insert_clamping_system включает в себя следующие подклассы:

- cantilever_clamping (кронштейный зажим);

- deflection_screw_clamping (зажим отклонением винта);

- eccentric_screw_clamping (зажим эксцентриковым винтом);

- floating_wedge_clamping (зажим плавающим клином);

- insert_screw_clamping (зажим винтом для вставки);

- integrated_clamping (встроенный зажим)

- lever_insert_clamping (зажим рычагом для прижима вставки);

- lever_top_clamping (зажим рычагом сверху)

- wedge_clamping (зажим клином).

5.1.10.1 cantilever_clamping

Кронштейный зажим представляет собой устройство, предназначенное для приложения удерживающего усилия с помощью жесткого консольного рычага.

5.1.10.2 deflection_screw_clamping

Зажим отклонением винта представляет собой устройство, предназначенное для приложения удерживающего усилия путем отклонения симметричного винта и воздействия на инструмент (тело резца).

5.1.10.3 eccentric_screw_clamping

Зажим эксцентриковым винтом представляет собой устройство, предназначенное для приложения удерживающего усилия путем эксцентричного поворота винта на некоторый угол.

5.1.10.4 floating_wedge_clamping

Зажим плавающим клином представляет собой устройство, предназначенное для приложения удерживающего усилия путем комбинированного эффекта направленного вниз усилия и бокового перемещения клина, вызванного его поверхностью.

5.1.10.5 insert_screw_clamping

Зажим винтом для вставки представляет собой устройство, предназначенное для приложения удерживающего усилия с помощью опорной поверхности симметричного винта, действующего на поверхность отверстия режущего элемента.

Примечание - Ось резьбового отверстия в инструментальном изделии не совпадает с осью отверстия вставки.

5.1.10.6 integrated clamping

Встроенный зажим представляет собой устройство, предназначенное для удерживания режущего элемента в инструментальном изделии (теле резца) путем отклонения части этого изделия.

5.1.10.7 lever_insert_clamping

Зажим вставки рычагом представляет собой устройство, предназначенное для приложения удерживающего усилия с помощью конца рычага путем нажима на внутреннюю поверхность отверстия режущего элемента.

5.1.10.8 lever_top_clamping

Зажим рычагом сверху представляет собой устройство, предназначенное для приложения удерживающего усилия на верхнюю поверхность ржущего элемента путем вращения рычага вокруг оси поворота.

5.1.10.9 wedge_clamping

Зажим клином представляет собой устройство, предназначенное для приложения удерживающего усилия на вставку путем бокового перемещения одной или более клиновых поверхностей.

5.1.11 insert_lever

Рычаг прижима вставки представляет собой устройство, поворачивающееся вокруг своей оси для приложения усилия, обеспечивающего удерживание вставки на инструменте (резце).

5.1.12 insert_shim

Шайба для вставки представляет собой деталь, расположенную между режущим элементом и инструментом (резцом).

Примечание - Шайба обеспечивает создание твердой поверхности с целью удерживания режущего элемента в определенном положении и предохранения инструментального изделия от повреждения в случае поломки режущего элемента.

5.1.13 insert_wedge

Клин для вставки представляет собой деталь, имеющую не менее двух поверхностей, расположенных наклонно, предназначенную для удерживания вставки в определенном положении.

5.1.14 nest

Гнездо представляет собой деталь, состоящую из опорной поверхности или углубления, предназначенную для установки и позиционирования сменного режущего элемента, но без его закрепления в определенном положении.

5.1.15 nozzle

Сопло представляет собой деталь, имеющую отверстие, предназначенное для направления потока жидкости или газа.

5.1.16 pin

Штифт представляет собой деталь в виде стержня параллельной или конической формы.

Примечание 1 - Этот класс предназначен для общего технического использования и не является специфическим для режущих инструментов.

Примечание 2 - Этот класс может быть также классом элементов (item_class_case) в другом словаре, соответствующем ИСО 13584.

5.1.17 retaining_ring

Стопорное кольцо представляет собой деталь кольцеобразной формы, без зазора входящую в паз для предотвращения разделения двух компонентов.

Примечание 1 - Этот класс предназначен для общего технического использования и не является специфическим для режущих инструментов.

Примечание 2 - Этот класс может быть также классом элементов (item_class_case) в другом словаре, соответствующем ИСО 13584.

5.1.18 screw_thread_lining

Рихтовка резьбы винта представляет собой катушку, предназначенную для сохранения целостности и восстановления внутренних нарезок.

Примечание 1 - Этот класс предназначен для общего технического использования и не является специфическим для режущих инструментов.

Примечание 2 - Этот класс может быть также классом элементов (item_class_case) в другом словаре, соответствующем ИСО 13584.

5.1.19 sealing_ring

Уплотнительное кольцо представляет собой деталь кольцеобразной формы, предназначенную для предотвращения проникновения жидкости или газа.

Примечание 1 - Этот класс предназначен для общего технического использования и не является специфическим для режущих инструментов.

Примечание 2 - Этот класс может быть также классом элементов (item_class_case) в другом словаре, соответствующем ИСО 13584.

5.1.20 sleeve

Втулка представляет собой деталь цилиндрической формы, внутренняя поверхность которой может быть цилиндрической, конической или профильной, которая плотно прилегает к валу.

Примечание 1 - Длина цилиндра больше толщины его стенки, а критическим размером является диаметр детали.

Примечание 2 - Этот класс предназначен для общего технического использования и не является специфическим для режущих инструментов.

Примечание 3 - Этот класс может быть также классом элементов (item_class_case) в другом словаре, соответствующем ИСО 13584.

5.1.21 spacer

Распорка представляет собой деталь, предназначенную для отделения двух элементов на определенное расстояние друг от друга.

Примечание 1 - Этот класс предназначен для общего технического использования и не является специфическим для режущих инструментов.

Примечание 2 - Этот класс может быть также классом элементов (item_class_case) в другом словаре, соответствующем ИСО 13584.

5.1.22 spring

Пружина представляет собой деталь, которая под действием приложенной нагрузки сохраняет энергию упругой деформации, высвобождает эту энергию и возвращает свою первоначальную форму или позицию после снятия нагрузки.

Примечание 1 - Этот класс предназначен для общего технического использования и не является специфическим для режущих инструментов.

Примечание 2 - Этот класс может быть также классом элементов (item_class_case) в другом словаре, соответствующем ИСО 13584.

Spring включает в себя следующие подклассы:

- flat_wire_compression_spring (пружина сжатия из плоской проволоки);

- gas_spring (газовая пружина);

- helical_coil_spring (цилиндрическая винтовая пружина);

- helical_disc_spring (цилиндрическая тарельчатая пружина);

- leaf_spring (пластинчатая пружина);

- cup_spring (чашевидная пружина)

5.1.22.1 flat_wire_compression_spring

Пружина сжатия из плоской проволоки представляет собой цилиндрическую пружину, образованную витой полосой.

Примечание 1 - Этот класс предназначен для общего технического использования и не является специфическим для режущих инструментов.

Примечание 2 - Этот класс может быть также классом элементов (item_class_case) в другом словаре, соответствующем ИСО 13584.

5.1.22.2 gas_spring

Газовая пружина представляет собой деталь, в которой энергия упругой деформации аккумулируется в сжатом газе.

Примечание 1 - Этот класс предназначен для общего технического использования и не является специфическим для режущих инструментов.

Примечание 2 - Этот класс может быть также классом элементов (item_class_case) в другом словаре, соответствующем ИСО 13584.

5.1.22.3 helical_coil_spring

Цилиндрическая винтовая пружина представляет собой деталь, в которой энергия упругой деформации аккумулируется в винтовой проволоке прямоугольного или круглого поперечного сечения.

Примечание 1 - Этот класс предназначен для общего технического использования и не является специфическим для режущих инструментов.

Примечание 2 - Этот класс может быть также классом элементов (item_class_case) в другом словаре, соответствующем ИСО 13584.

5.1.22.4 helical_disc_spring

Цилиндрическая тарельчатая пружина представляет собой пружину, образованную двумя пересекающимися спиральными дисками.

Примечание 1 - Этот класс предназначен для общего технического использования и не является специфическим для режущих инструментов.

Примечание 2 - Этот класс может быть также классом элементов (item_class_case) в другом словаре, соответствующем ИСО 13584.

5.1.22.5 leaf_spring

Пластинчатая пружина представляет собой пружину, в которой энергия упругой деформации аккумулируется вследствие упругой деформации изогнутой полосы.

Примечание 1 - Этот класс предназначен для общего технического использования и не является специфическим для режущих инструментов.

Примечание 2 - Этот класс может быть также статьей класса элементов (item_class_case) в другом словаре, соответствующем ИСО 13584.

5.1.22.6 cup_spring

Чашевидная пружина представляет собой деталь, в которой энергия упругой деформации аккумулируется за счет деформации кольцевидной структуры.

Примечание 1 - Этот класс предназначен для общего технического использования и не является специфическим для режущих инструментов;

Примечание 2 - Этот класс может быть также классом элементов (item_class_case) в другом словаре, соответствующем ИСО 13584.

6 Свойства особенностей интерфейса соединения

Свойства, приемлемые для элементов, приведенных в разделе 5, определены в приложении D в случае, когда также задана ассоциация свойства с классом. При составлении словаря все свойства являются свойствами в корневом классе словаря и становятся актуальными в случае применения на уровне класса. Имена свойств, применимые для типов элементов сборки с кодами идентификации (BSU), приведены в таблице 1.

Примечание - Домены значений для свойств установлены в ИСО/ТС 13399-10.

Пример - BSU для pin_end_shape (формы конца штифта): 112/1Z//13399/71EC5E54A9B4F.

Таблица 1 - Имена свойств и коды идентификации

Имя свойства

Код идентификации
(BSU)

Регулируемость

71ЕВВА9Е78025

Код соединения на стороне обрабатываемой детали

71D102AE8A5A9

Минимальный диаметр расточки для соединения

71EBDBF49F96C

Наружный диаметр

71FAD51880679

(Механическая) рука

71CF29872F0AB

Градиент конуса

71CEAEC02FEBD

Код соединения на стороне станка

71D102AE3B252

Максимальный диаметр расточки для соединения

71EBDBF4D0F49

Внутренний диаметр

71FAD51836C93

С фланцами

71ЕС659ВС21Е3

Высота

71EC61D8F250D

Код размера посадки вставки

71CEAEBF2A69F

Длина

71ЕС61D6B66E6

Метод фиксирования штифта

71FAD53253A1В

Диаметр вала

71FAD52B8F653

Коэффициент пружины

71FAE06BBB597

Код формы вставки

71CE7A9F0C79F

Форма конца штифта

71EC5E54A9B4F

Стиль сечения

71ЕС65А21E9D4

Длина вала

71FAD52C3FC9E

Угол конуса

71ЕАС4А2В6544

Приложение А
(справочное)
Регистрация информационного объекта

А.1 Идентификация документа

Для идентификации информационного объекта в открытой системе настоящему стандарту присвоен следующий идентификатор объекта:

{ISO technical specification 13399 part (5) version (1)}

Смысл этого значения аналогичен приведенному в ИСО/МЭК 8824-1 и ИСО 13584-1.

А.2 Идентификация словаря

Словарь, определенный в настоящем стандарте, имеет следующий идентификатор объекта:

{ISO technical specification 13399 part (5) version (1) object (1) tool items (1)}

Приложение B
(справочное)
Структура классификации

Структура классификации родовых семейств в словаре с расширенной структурой класса типа элементов сборки приведена в таблице B.1 с целью показать взаимоотношения между классами, имеющими отношение к типам элементов сборки и другим классам, приведенными в комплексе стандартов ИСО 13399.

Примечание - Полные определения классов, являющихся подклассами типа элементов сборки, приведены в приложении С.

Таблица B.1 - Структура классификации

Наименование класса

Родительский класс

Класс BSU

Библиотека режущих инструментов

Класс корня

71CE7A72B6DA7

Тип адаптивных элементов

71CE7A72B6DA7

71EAD37F18F34

Регулировка

71CE7A72B6DA7

71ED884159C90

Тип элементов сборки

71CE7A72B6DA7

71СЕ7А795С05С

Подшипник

71СЕ7А795С05С

71EC56BC68ED7

Вкладыш

71СЕ7А795С05С

71ЕС61Е259139

Центровочный штырь

71СЕ7А795С05С

71FAD519268DE

Цанга

71СЕ7А795С05С

71ЕС61Е726811

Отражатель СОЖ

71СЕ7А795С05С

71ED80E62E75A

Ведущая шпонка

71СЕ7А795С05С

71ЕС56В51596Е

Ведущее кольцо

71СЕ7А795С05С

71ЕС56В58А355

Крепежная деталь с наружной резьбой

71СЕ7А795С05С

71FA4B678C52A

Винт упругой деформации

71FA4B678C52A

71FC030E04050

Дифференциальный винт

71FA4B678C52A

71FAE07C0A4A6

Эксцентриковый винт

71FA4B678C52A

71FAE07B90EEC

Винт для вставки

71FA4B678C52A

71ED798F61ВС2

Винт для рычага прижима вставки

71FA4B678C52A

71FAE07BCAC80

Полый винт

71FA4B678C52A

71FC81BA3ECE9

Зажим вставки

71СЕ7А795С05С

71ED80DF6F976

Консольный зажим

71ED80DF6F976

71FAD54E002D6

Плавающий клиновой зажим

71ED80DF6F976

71FAD54E5A5BF

Рычажный нажимной зажим

71ED80DF6F976

71FAD54E2FE26

Клиновой зажим

71ED80DF6F976

71FAD54EABA17

Система зажимных приспособлений для вставок

71СЕ7А795С05С

71ЕС56ВАС1А7Е

Консольный зажим

71ЕС56ВАС1А7Е

71EC56D6D0499

Зажим отклонением винта

71ЕС56ВАС1А7Е

71EC56D97E8B0

Зажим эксцентриковым винтом

71ЕС56ВАС1А7Е

71EC56D908782

Зажим плавающим клином

71ЕС56ВАС1А7Е

71EC56D7601AD

Зажим винтом для вставки

71ЕС56ВАС1А7Е

71EC56D8A655A

Встроенный зажим

71ЕС56ВАС1А7Е

71FAD547E744B

Зажим рычагом для прижима вставки

71ЕС56ВАС1А7Е

71ЕС6588А8С9Е

Зажим рычагом сверху

71ЕС56ВАС1А7Е

71EC56D71В815

Зажим клином

71ЕС56ВАС1А7Е

71EC56D828198

Рычаг прижима вставки

71СЕ7А795С05С

71ED80DFB6371

Шайба для вставки

71СЕ7А795С05С

71EC56BD5DCD8

Клин для вставки

71СЕ7А795С05С

71EC56B608ADC

Гнездо

71СЕ7А795С05С

71EAD70F1В95А

Сопло

71СЕ7А795С05С

71ED80E1EC9F6

Штифт

71СЕ7А795С05С

71ЕС56В5В6465

Стопорное кольцо

71СЕ7А795С05С

71EC5A6E9F6F0

Рихтовка резьбы винта

71СЕ7А795С05С

71ЕС56ВА2Е64Е

Уплотнительное кольцо

71СЕ7А795С05С

71EC5A6E85D77

Втулка

71СЕ7А795С05С

71ЕС56ВВА9А2Е

Распорка

71СЕ7А795С05С

71EC5A6CFD68B

Пружина

71СЕ7А795С05С

71ЕС56ВА16АСВ

Чашевидная пружина

71ЕС56ВА16АСB

71ЕС56Е165ВС7

Пружина сжатия плоской проволоки

71ЕС56ВА16АСB

71ЕС56Е106606

Газовая пружина

71ЕС56ВА16АСB

71EC56E1C4C7D

Цилиндрическая винтовая пружина

71ЕС56ВА16АСB

71EC56E04199D

Цилиндрическая тарельчатая пружина

71ЕС56ВА16АСB

71EC56E0D4D19

Пластинчатая пружина

71ЕС56ВА16АСB

71ЕС56Е223664

Круг отверстия под болт

71CE7A72B6DA7

71E02520881F1

Признак интерфейса соединения

71CE7A72B6DA7

71DF8C37D9115

Подача СОЖ

71CE7A72B6DA7

71DF8C3C065EB

Признак режущего элемента

71CE7A72B6DA7

71DD6C82F72DA

Тип режущего элемента

71CE7A72B6DA7

71D1AA6C8FC75

Операция резания

71CE7A72B6DA7

71DFF83D21D50

Режущий инструмент

71CE7A72B6DA7

71СЕ7А7А5038В

Фланец

71CE7A72B6DA7

71ЕС5А767182Е

Шпоночная канавка

71CE7A72B6DA7

71DF5C026BCE7

Блокирующий механизм

71CE7A72B6DA7

71EBAB85BB5FA

Система координат

71CE7A72B6DA7

71CF2968F7A9E

Осевое биение

71CE7A72B6DA7

71EDD2B84143C

Радиальное биение

71CE7A72B6DA7

71EDD2B858274

Признак изделия-инструмента

71CE7A72B6DA7

71DD70376771D

Тип изделия-инструмента

71CE7A72B6DA7

71Е01А004С775

Наружная резьба инструмента

71CE7A72B6DA7

71FC1D22BF4CD

Внутренняя резьба инструмента

71CE7A72B6DA7

71CE7A72B6DA7

Приложение С
(справочное)
Определения классов

Настоящее приложение распространяется на классы элементов сборки.

Информация по каждому классу представлена следующим образом:

Код BSU-номер версии

Номер пересмотра

предпочтительное имя

краткое имя

Определение

Примечание

Замечания

Свойства:

Подклассы:

Ссылка на иллюстрацию: <BSU ссылочной диаграммы> Рисунок <Приложение. Номер рисунка>

Примечание - Статья может не содержать всю вышеуказанную информацию.

71СЕ7А795С05С-1

1

assembly item type (тип элемента сборки)

spare part (запасная часть)

Семейство деталей, обеспечивающих комбинацию элементов с целью создания режущего инструмента.

Подклассы:

 

71EAD70F1В95А-001

- гнездо;

71ЕС56В51596Е-001

- ведущая шпонка;

71ЕС56В58А355-001

- ведущее кольцо;

71ЕС56В5В6465-001

- штырь;

71EC56B608ADC-001

- клин для вставки;

71ЕС56ВА16АСВ-001

- пружина;

71ЕС56ВА2Е64Е-001

- рихтовка резьбы винта;

71ЕС56ВАС1А7Е-001

- система зажимных приспособлений для вставок;

71ЕС56ВВА9А2Е-001

- втулка;

71EC56BC68ED7-001

- подшипник;

71EC56BD5DCD8-001

- шайба для вставки;

71EC5A6CFD68B-001

- распорка;

71EC5A6E85D77-001

- уплотнительное кольцо;

71EC5A6E9F6F0-001

- стопорное кольцо;

71ЕС61Е259139-001

- вкладыш;

71ЕС61Е726811-001

- цанга;

71ED80DF6F976-001

- зажим вставки;

71ED80DFB6371-001

- рычаг прижима вставки;

71ED80E1EC9F6-001

- сопло;

71ED80E62E75A-001

- отражатель СОЖ;

71FAD519268DE-001

- центровочный штифт;

71EC56BC68ED7-1

                     1

bearing (подшипник)

                     bearing

Деталь, предназначенная для уменьшения нагрузки на поверхность трения между двумя поверхностями.

Примечание - Этот класс предназначен для общего технического использования и не является специфическим для режущих инструментов.

Примечание - Этот класс может быть также классом элементов в другом словаре, соответствующем ИСО 13584.

71ЕС61Е259139-1

                      1

bush (вкладыш)

                      bush

Полый цилиндрический объект, без зазора входящий в отверстие.

Примечание 1 - Вкладыш может быть использован в качестве подшипника.

Примечание 2 - Этот класс предназначен для общего технического использования и не является специфическим для режущих инструментов.

Примечание 3 - Этот класс может быть также классом элементов в другом словаре, соответствующем ИСО 13584.

71FAD519268DE-1

1

center pin (центровочный штифт)

ctpn

Жесткая деталь, закрепленная на инструменте, который размещает и удерживает вставку (режущую деталь) и/или шайбу с помощью центрального отверстия.

Свойства:

71EC5E54A9B4F-1

- форма конца штифта;

71EC61D6B66E6-1

- длина;

71ЕС659ВС21Е3-1

- фланцевый;

71FAD52B8F653-1

- диаметр стержня;

71FAD52C3FC9E-1

- длина стержня;

71FAD53253A1В-1

- метод крепления штифта.

Ссылка на иллюстрацию: 71FC81ВВ78797, рисунок Е.1.

71ЕС61Е726811-1

1

collet (цанга)

       collet

Сегментированный обод, диаметр которого можно изменять (расширять и сжимать) для захвата вала.

Примечание 1 - Этот класс предназначен для общего технического использования и не является специфическим для режущих инструментов.

Примечание 2 - Этот класс может быть также классом элементов в другом словаре, соответствующем ИСО 13584.

Свойства:

71CEAEC02FEBD-1

- градиент конуса;

71D102AE3B252-1

- код соединения на стороне станка;

71D102AE8A5A9-1

- код соединения на стороне обрабатываемой детали;

71ЕАС4А2В6544-1

- угол конуса;

71EBDBF49F96C-1

- минимальный диаметр расточенного отверстия для соединения;

71EBDBF4D0F49-1

- максимальный диаметр расточенного отверстия для соединения.

Ссылка на иллюстрацию: 71FC81BB81C3F, рисунок Е.2.

71ED80E62E75A-1

1

coolant deflector (отражатель СОЖ)

cndf

Устройство, предназначенное для изменения направления потока подаваемой смазочно-охлаждающей жидкости.

71ЕС56В51596Е-1

1

driving key (ведущая шпонка)

key

Деталь, входящая без зазора в пазы компонентов сборки с целью передачи вращающего момента с одного компонента на другой и/или для определения местоположения двух компонентов.

Примечание 1 - Этот класс предназначен для общего технического использования и не является специфическим для режущих инструментов.

Примечание 2 - Этот класс может быть также классом элементов в другом словаре, соответствующем ИСО 13584.

71ЕС56В58А355-1

1

driving ring (ведущее кольцо)

drvr

Деталь, имеющая форму кольца со шпонками или шпоночными канавками, которые составляют одно целое с кольцом и предназначены для передачи вращающего момента с одного компонента сборки на другой.

Примечание 1 - Этот класс предназначен для общего технического использования и не является специфическим для режущих инструментов.

Примечание 2 - Этот класс может быть также классом элементов в другом словаре, соответствующем ИСО 13584.

71FC030E04050-1

1

deflection screw (винт упругой деформации)

dflscw

Винт, имеющий стержень с конической частью, которая может упруго деформироваться для того, чтобы опираться на вставку и удерживать ее в определенном положении.

Ссылка на иллюстрацию: 71FC81BF6A3D7-1, рисунок Е.3.

71FAE07C0A4A6-1

1

differential screw (дифференциальный винт)

dfscw

Крепежная деталь с наружной резьбой без головки, стержень которой состоит из двух частей с левой и правой резьбой разного шага (один из которых больше другого), предназначенная для крепления клиньев вставки.

Ссылка на иллюстрацию: 71FC81BF90A1C-1, рисунок Е.4.

71FAE07B90EEC-1

1

eccentric_screw (эксцентриковый винт)

esccw

Крепежная деталь с наружной резьбой и круглой головкой, не концентричной стержню детали.

Ссылка на иллюстрацию: 71FC81BFA8EB2-1, рисунок Е.5.

71ED798F61ВС2-1

1

insert_screw (винт для вставки)

inscw

Винт с потайной опорной поверхностью, предназначенный для удерживания режущего элемента на инструментальном изделии (резце).

Ссылка на иллюстрацию: 71FC81C00A9DC-1, рисунок Е.6.

71FAE07BCAC80-1

1

lever screw (винт для рычага прижима вставки)

lvscw

Крепежная деталь с наружной резьбой без головки, стержень которой имеет суженную часть, предназначенную для удерживания рычага вставки в контакте с ней.

Ссылка на иллюстрацию: 71FC81C06F18-1, рисунок Е.7.

71FC81ВА3ЕСЕ9-1

1

hollow screw (полый винт)

hlwscw

Крепежная деталь с наружной резьбой, предназначенная для удерживания шайбы в углублении, имеющем в середине сквозное резьбовое отверстие, в которое может проходить винт для вставки, предназначенный для удерживания вставки в определенном положении.

Ссылка на иллюстрацию: 71FC81C09F745-1, рисунок Е.8.

71ED80DF6976-1

1

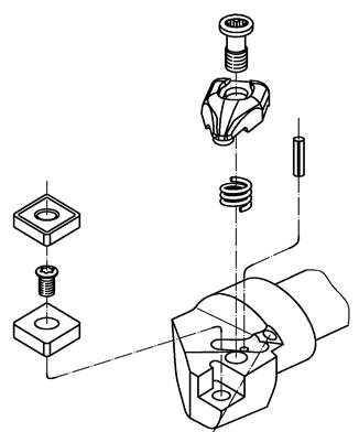
insert clamp (зажим вставки)

insclp

Деталь, предназначенная для приложения зажимающего усилия на вставку.

Подклассы:

71FAD54E002D6-001

- консольный зажим;

71FAD54E2FE26-001

- рычажный нажимной зажим;

71FAD54E5A5BF-001

- плавающий клиновой зажим;

71FAD54EABA17-001

- клиновой зажим.

71FAD54E002D6-1

1

 

cantilever clamp (кронштейный зажим)

cantcip

 

Деталь с удлиненным плечом рычага, предназначенная для приложения усилия, направленного на вставку.

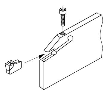
Ссылка на иллюстрацию: 71FC81BB600E1-1, рисунок Е.9.

71FAD54E5A5BF-1

1

floating wedge clamp (плавающий клиновой зажим)

flwdclp

Деталь, предназначенная для приложения усилия, направленного на вставку, путем перемещения зажима вдоль поверхности клина.

Ссылка на иллюстрацию: 71FC81BFDA994-1, рисунок Е.10.

71FAD54E2FE26-1

1

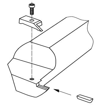
lever top clamp (верхний рычажный зажим)

lvtclp

Деталь, предназначенная для приложения усилия, направленного на вставку, с помощью рычага.

Свойства:

71CF29872F0AB-1 - рука.

Ссылка на иллюстрацию: 71FC81C058D8C-1, рисунок Е.11.

71FAD54E АВА17-1

1

wedge clamp (клиновой зажим)

wdgclp

Деталь, имеющая форму клина, предназначенная для приложения усилия, направленного вниз на вставку, и прижимания вставки к центровочному штифту.

Ссылка на иллюстрацию: 71FC81C0C226C-1, рисунок Е.12.

71ЕС56ВАС1А7Е-1

1

insert clamping system (система зажимных приспособлений для вставки)

insclp

Подклассы:

71EC56D6D0499-001

- консольный зажим;

71EC56D71В815-001

- зажим рычагом сверху;

71EC56D7601AD-001

- зажим плавающим клином;

71EC56D828198-001

- зажим клином;

71EC56D8A655A-001

- зажим винтом для вставки;

71EC56D908782-001

- зажим эксцентриковым винтом;

71EC56D97E8B0-001

- зажим отклонением винта;

71ЕС6588А8С9Е-001

- зажим вставки рычагом;

71FAD547E744B-001

- встроенный зажим.

71EC56D6D0499-1

1

cantilever clamping (кронштейный зажим)

ctlclp

Устройство, предназначенное для приложения удерживающего усилия с помощью жесткого консольного рычага.

Ссылка на иллюстрацию: 71FC81BB47CB6-1, рисунок Е.13.

71EC56D97E8B0-1

1

deflection screw clamping (зажим отклонением винта)

dfscp

Устройство, предназначенное для приложения удерживающего усилия путем отклонения симметричного винта, вызванного препятствием в виде инструмента.

Ссылка на иллюстрацию: 71FC81BF7C967-1, рисунок Е.14.

71EC56D908782-1

1

eccentric screw clamping (зажим эксцентриковым винтом)

ecscp

Устройство, предназначенное для приложения удерживающего усилия путем эксцентричного вращения части винта.

Ссылка на иллюстрацию: 71FC81BFB0906-1, рисунок Е.15.

71EC56D7601AD-1

1

floating wedge clamping (зажим плавающим клином)

fwgcp

Устройство, предназначенное для приложения удерживающего усилия путем одновременного приложения усилия, направленного вниз, и бокового перемещения, приведенного в действие поверхностью клина.

Ссылка на иллюстрацию: 71FC81BFC67A8-1, рисунок Е.16.

71EC56D8A655A-1

1

insert screw clamping (зажим винтом для вставки)

scwcp

Устройство, предназначенное для приложения удерживающего усилия с помощью опорной поверхности симметричного винта, действующего на поверхность отверстия режущего элемента.

Примечание - Ось резьбового отверстия инструмента (резца) не совпадает с осью отверстия вставки (режущего элемента).

Ссылка на иллюстрацию: 71FC81BFF7E00-1, рисунок Е.17.

71FAD547E744B-1

1

integrated clamping (встроенный зажим)

intclp

Устройство, предназначенное для удерживания режущего элемента в инструменте (резце) путем отклонения (упругой деформации) части этого инструмента.

Ссылка на иллюстрацию: 71FC81C013D25-1, рисунок Е.18.

71ЕС6588А8С9Е-1

1

lever insert clamping (зажим рычагом вставки)

lvicp

Устройство, предназначенное для приложения удерживающего усилия с помощью рычага, оказывающего нажим на внутреннюю поверхность отверстия в режущем элементе.

Ссылка на иллюстрацию: 71FC81C045E35-1, рисунок Е.19.

71EC56D71B815-1

1

lever top clamping (зажим рычагом сверху)

lvtcp

Устройство, предназначенное для приложения удерживающего усилия на верхнюю поверхность режущего элемента путем вращения рычага вокруг своей оси поворота.

Ссылка на иллюстрацию: 71FC81C0B61A4-1-1, рисунок Е.20.

71EC56D828198-1

1

wedge clamping (зажим клином)

wgcp

Устройство, предназначенное для приложения удерживающего усилия путем бокового перемещения одной или более клиновых поверхностей.

Ссылка на иллюстрацию: 71FC81C0DB15E-1-1, рисунок Е.21.

71ED80DFB6371

1

insert lever (рычаг прижима вставки)

lvr

Деталь, поворачивающаяся вокруг своей оси с целью приложения усилия для удерживания вставки на инструменте (резце).

Ссылка на иллюстрацию: 71FC81C03BC41-1, рисунок Е.22.

71EC56BD5DCD8-1

1

insert shim (шайба для вставки)

shim

Деталь, расположенная между режущим элементом и инструментом (резцом).

Примечание - Шайба предназначена для позиционирования режущего элемента и предохранения его от повреждения.

Ссылка на иллюстрацию: 71FC81C08B291-1, рисунок Е.23.

71EC56B608ADC-1

1

insert wedge (клин для вставки)

wedge

Деталь, имеющая не менее двух поверхностей, расположенных наклонно друг к другу, предназначенная для удерживания вставки.

Свойства:

71CF29872F0AB-1 - рука.

Ссылка на иллюстрацию: 71FC81C0EF5E9-1, рисунок Е.24.

71EAD70F1В95А-1

1

nest (гнездо)

nest

Устройство, имеющее опорную поверхность или углубление, принимающие и позиционирующие сменный режущий элемент без его фиксации.

Свойства:

71CE7A9F0C79F-1

- код формы вставки;

71CEAEBF2A69F-1

- код размера посадки вставки.

Ссылка на иллюстрацию: 71FC81C077498-1, рисунок Е.25.

71ED80E1EC9F6-1

1

nozzle (сопло)

nzl

Деталь с отверстием, предназначенная для направления потока жидкости или газа.

Свойства:

71ЕВВА9Е78025-1 - регулируемость;

71FAD51836C93-1 - внутренний диаметр.

71ЕС56В5В6465-1

1

pin (штифт)

pin

Деталь, имеющая тонкую стержнеобразную параллельную или коническую форму.

Примечание 1 - Этот класс предназначен для общего технического использования и не является специфическим для режущих инструментов.

Примечание 2 - Этот класс может быть также классом элементов в другом словаре, соответствующем ИСО 13584.

71EC5A6E9F6F0-1

1

retaining ring (стопорное кольцо)

rtrg

Деталь, имеющая кольцеобразную форму без зазора, входящая в паз, предназначенная для предотвращения разделения двух компонентов.

Примечание 1 - Этот класс предназначен для общего технического использования и не является специфическим для режущих инструментов.

Примечание 2 - Этот класс может быть также классом элементов в другом словаре, соответствующем ИСО 13584.

71ЕС56ВА2Е64Е-1

1

screw thread lining (рихтовка резьбы винта)

thread lining

Винтовая катушка, предназначенная для предохранения и восстановления внутренней резьбы.

Примечание 1 - Этот класс предназначен для общего технического использования и не является специфическим для режущих инструментов.

Примечание 2 - Этот класс может быть также классом элементов в другом словаре, соответствующем ИСО 13584.

71EC5A6E85D77-1

1

sealing ring (уплотнительное кольцо)

slrg

Деталь, имеющая кольцеобразную форму, предназначенная для предотвращения проникновения жидкости или газа.

Примечание 1 - Этот класс предназначен для общего технического использования и не является специфическим для режущих инструментов.

Примечание 2 - Этот класс может быть также классом элементов в другом словаре, соответствующем ИСО 13584.

71ЕС56ВВА9А2Е-1

1

sleeve (втулка)

sleeve

Деталь, имеющая цилиндрическую форму, внутренняя поверхность которой может быть цилиндрической, конической или профильной, плотно прилегающая к стержню.

Примечание 1 - Этот класс предназначен для общего технического использования и не является специфическим для режущих инструментов.

Примечание 2 - Этот класс может быть также классом элементов в другом словаре, соответствующем ИСО 13584.

71EC5A6CFD68B-1

1

spacer (распорка)

spcr

Деталь, предназначенная для удерживания двух компонентов на определенном расстоянии друг от друга.

Примечание 1 - Этот класс предназначен для общего технического использования и не является специфическим для режущих инструментов.

Примечание 2 - Этот класс может быть также классом элементов в другом словаре, соответствующем ИСО 13584.

71ЕС56ВА16АСВ-1

1

spring (пружина)

spring

Деталь, сохраняющая упругую энергию за счет деформации под воздействием приложенной нагрузки и высвобождающая эту энергию, и возвращающая свою первоначальную форму или позиции после снятия нагрузки.

Примечание 1 - Этот класс предназначен для общего технического использования и не является специфическим для режущих инструментов.

Примечание 2 - Этот класс может быть также классом элементов (item_class_case) в другом словаре, соответствующем ИСО 13584.

Свойства:

71FAE06BBB597-1 - коэффициент пружины.

Подклассы:

71ЕС56Е04199D-001

- цилиндрическая винтовая пружина;

71EC56E0D4D19-001

- цилиндрическая тарельчатая пружина;

71ЕС56Е106606-001

- пружина сжатия плоской проволоки;

71ЕС56Е165ВС7-001

- чашевидная пружина;

71ЕС56Е1C4C7D-001

- газовая пружина;

71ЕС56Е1C4C7D-001

- пластинчатая пружина.

71ЕС56Е165ВС7-1

1

 

cup spring (чашевидная пружина)

spcp

 

Деталь, аккумулирующая энергию в результате упругой деформации колец.

Примечание 1 - Этот класс предназначен для общего технического использования и не является специфическим для режущих инструментов.

Примечание 2 - Этот класс может быть также классом элементов в другом словаре, соответствующем ИСО 13584.

71ЕС56Е1106606-1

1

flat wire compression spring (пружина сжатия из плоской проволоки)

spfwc

Цилиндрическая пружина, имеющая форму витой полосы.

Примечание 1 - Этот класс предназначен для общего технического использования и не является специфическим для режущих инструментов.

Примечание 2 - Этот класс может быть также классом элементов в другом словаре, соответствующем ИСО 13584.

Свойства:

71EC61D6B66E6-1

- длина;

71FAD51836C93-1

- внутренний диаметр;

71FAD51880679-1

- наружный диаметр.

71EC56E1C4C7D-1

1

 

gas spring (газовая пружина)

spgs

 

Деталь, аккумулирующая упругую энергию в сжатом газе.

Примечание 1 - Этот класс предназначен для общего технического использования и не является специфическим для режущих инструментов.

Примечание 2 - Этот класс может быть также классом элементов в другом словаре, соответствующем ИСО 13584.

71EC56E04199D-1

1

helical coil spring (цилиндрическая винтовая пружина)

sphc

Деталь, аккумулирующая упругую энергию в винтовой проволоке прямоугольного или круглого поперечного сечения.

Примечание 1 - Этот класс предназначен для общего технического использования и не является специфическим для режущих инструментов.

Примечание 2 - Этот класс может быть также классом элементов в другом словаре, соответствующем ИСО 13584.

71EC56E0D4D19-1

1

helical disk spring (цилиндрическая тарельчатая пружина)

sphc

Цилиндрическая пружина, образованная двумя пересекающимися спиральными дисками.

Примечание 1 - Этот класс предназначен для общего технического использования и не является специфическим для режущих инструментов.

Примечание 2 - Этот класс может быть также классом элементов в другом словаре, соответствующем ИСО 13584.

Свойства:

71FAD51836C93-1 - внутренний диаметр;

71FAD51880679-1 - наружный диаметр.

71ЕС56Е223664-1

1

leaf spring (пластинчатая пружина)

splf

Деталь, аккумулирующая энергию в результате упругой деформации изогнутой полосы.

Примечание 1 - Этот класс предназначен для общего технического использования и не является специфическим для режущих инструментов.

Примечание 2 - Этот класс может быть также классом элементов в другом словаре, соответствующем ИСО 13584.

Свойства:

71ЕС61D6B66E6-1 - длина;

71EC61D8F250D-1 - высота.

Приложение D
(справочное)
Определения свойств элементов сборки

В этом приложении использовано следующее представление статей:

BSU - номер версии

Номер пересмотра

Формат значения

группа типов данных

тип данных

идентификатор элемента

предпочтительное имя

краткое имя

СИМВОЛ

Определение

источник определения

BSU свойства состояния = имя свойства состояния

Неколичественный код = значение кода

Источник определения кода

Примечание

Замечания

Ссылка на иллюстрацию: <BSU ссылочной диаграммы> Рисунок <Приложение. Номер рисунка>

Видимый класс:

Применимые классы:

Примечание 1 - Статья может не включать в себя всю вышеуказанную информацию.

Примечание 2 - Форматы значений свойств установлены в ИСО 13399-100.

71ЕВВА9Е78025-1

1

Х1

простая

булево выражение

 

adjustability (регулируемость)

adjby

ADJBY

Индикатор того, является ли элемент регулируемым или нет.

Примечание - Значение 0 означает, что элемент является нерегулируемым, значение 1 - регулируемый.

Видимый класс:

71CE7A72B6DA7-1 - библиотека режущих инструментов

Применимые классы:

71D1066F279AD-1

- картридж;

71Е01А04А8АЕС-1

- развертывать;

71Е01A04C377D-1

- протяжка;

71ED80E1EC9F6-1

- сопло.

71D102AE3B252-1

1

X 14

простая

строка

 

conn code niachine side (код соединения на стороне станка)

ccms

CCMS

Идентификатор возможности соединения компонента режущего инструмента с компонентом на стороне станка.

Примечание 1 - Значение кода включает в себя краткое имя класса признака элемента и значения кода размера соединения, варианта, базиса единиц измерения соединения, свойства подачи СОЖ и типа формы.

Примечание 2 - Два элемента могут быть соединены в том случае, если значения их кодов совпадают.

Примечание 3 - Код соединения не применим к элементам сборки, но применим к определенному классу цанги.

Примечание 4 - Значение кода определяет параметры соединения на стороне станка. Примером кода цилиндрического хвостовика инструмента, соответствующего ИСО 3338-2, имеющего диаметр 25 мм и внешнюю подачу СОЖ, является код ZYL025010M1EXT.

Ссылка на иллюстрацию: 71FC0E0CEB7FE-1.

Видимый класс:

71CE7A72B6DA7-1 - библиотека режущих инструментов

Применимые классы:

71DF8C37D9115-1

- особенность интерфейса соединения;

71Е01А004С775-1

- тип отдельного инструмента;

71EAD37F18F34-1

- тип адаптивных элементов;

71ЕС61Е726811-1

- цанга.

71D102АЕ8А5А9

1

X14

простая

строка

 

conn code workpiece side (код соединения на стороне обрабатываемой детали)

ccws

CCWS

Идентификатор способности соединять компонент режущего инструмента с другим компонентом на стороне обрабатываемой детали.

Примечание 1 - Значение кода включает в себя краткое имя класса признака элемента и значения кода размера соединения, варианта, базиса единиц измерения соединения, свойства подачи СОЖ и типа формы.

Примечание 2 - Два элемента могут быть соединены вместе, если значения их кодов совпадают.

Примечание 3 - Код соединения не применим к элементам сборки, но применим к определенному классу цанги.

Примечание 4 - Значение кода определяет параметры соединения на стороне обрабатываемой детали. Примером кода переходника цангового патрона, соответствующего цанге DIN 6499 размером 16 мм без СОЖ, является код ZYD016002M0INT.

Ссылка на иллюстрацию: 71FC0E0CF0C10-1.

Видимый класс:

71CE7A72B6DA7-1 - библиотека режущих инструментов

Применимые классы:

71DF8C37D9115-1

- особенность интерфейса соединения;

71E01A008D13F-1

- фреза;

71E01A00BD93C-1

- сверло;

71E01A04C377D-1

- протяжка;

71E01A05104CF-1

- обтачивать;

71F0251F304E1-1

- вращающееся сверло;

71EAD37F18F34-1

- тип адаптивных элементов;

71ЕС61Е726811-1

- цанга.

71EBDBF4D0F49

1

NR2 S..3.3

 

максимальный уровень

реальная мера

м м

 

connection bore diameter max

dcbx

DCBX

 

Наибольший внутренний диаметр адаптивного элемента, допускаемый для соединения.

71EBDBF130AE6-1 = side (сторона).

Примечание - Данный элемент определяет максимальный диаметр расточенного отверстия соединения.

Ссылка на иллюстрацию: 71FC0A6DE2884-1.

Видимый класс:

71CE7A72B6DA7-1 - библиотека режущих инструментов

Применимые классы:

71EAD3871D313-1 - преобразователь;

71ЕС61Е726811-1 - цанга.

171EBDBF49F96C-1

1

NR2 S..3.3

минимальный уровень

реальная мера

м м

connection bore diameter min

dcbn

DCBN

Наименьший внутренний диаметр адаптивного элемента, допускаемый для соединения.

71EBDBF130AE6-1 = side (сторона).

Ссылка на иллюстрацию: 71FC0A6DFD0F8-1.

Видимый класс:

71CE7A72B6DA7-1- библиотека режущих инструментов

Применимые классы:

71EAD3871D313-1- преобразователь;

71ЕС61Е726811-1- цанга.

71FAD51836С93-1

1

NR2 S..3.3

простая

реальная мера

м м

diameter inner (внутренний диаметр)

dinn

DINN

Расстояние между параллельными линиями, касательными к внутренней поверхности цилиндрического объекта.

Видимый класс:

71CE7A72B6DA7-1 - библиотека режущих инструментов

Применимые классы:

71EC56E04199D-1

- цилиндрическая винтовая пружина;

71EC56E0D4D19-1

- цилиндрическая тарельчатая пружина;

71ЕС56Е106606-1

- пружина сжатия плоской проволоки;

71ED80E1EC9F6-1

- сопло.

71FAD51880679-1

1

NR2 S..3.3

простая

реальная мера

м м

diameter outer (наружный диаметр)

diout

DIOUT

Расстояние между касательными, параллельными наружной поверхности цилиндрического объекта.

Видимый класс:

71CE7A72B6DA7-1 - библиотека режущих инструментов

Применимые классы:

71ЕС56Е04199D-1

- цилиндрическая винтовая пружина;

71EC56E0D4D19-1

- цилиндрическая тарельчатая пружина;

71ЕС56Е106606-1

- пружина сжатия плоской проволоки.

71ЕС659ВС21Е3-1

1

Х1

простая

булево выражение

 

flanged (фланцевый)

flgd

FLGD

Индикатор, указывающий на то, входит ли фланец в состав объекта.

Видимый класс:

71CE7A72B6DA7-1 - библиотека режущих инструментов

Применимые классы:

71FAD519268DE-1 - центровочный штифт.

71CF29872F0AB-1

1

Х1

простая

неколичественный код

 

hand (рука)

hand

FIAND

Идентификатор, используемый для установления направления вращения инструментов и адаптивных элементов, а также позиций режущей кромки стационарного инструмента и соединения, использованного для инструмента или адаптивного элемента относительно оси элемента и для ориентации сменного режущего элемента относительно системы координат вставки, а также для ориентации зажима.

L = левостороннее направление вращение;

N = нейтральное двустороннее направление вращения;

R = правостороннее направление вращения.

ИСО 3002-1.

Видимый класс:

71CE7A72B6DA7-1 - библиотека режущих инструментов

Применимые классы:

710808DA853B-1

- вставка-шаблон;

71Е01А004С775-1

- тип отдельного инструмента;

71EC56B608ADC-1

- клин вставки;

71FAD54E2FE26-1

- зажим верхом рычага.

71ЕС61D8F250D-1

1

NR2 S..3.3

простая

реальная мера

м м

height (высота)

hth

НТН

Наибольший размер объекта выше базового уровня.

Ссылка на иллюстрацию: 71FC0A6FF9CF8-1.

Видимый класс:

71CE7A72B6DA7-1 - библиотека режущих инструментов

Применимые классы:

71ЕС56Е223664-1 - пластинчатая пружина.

71CEAEBF2A69F-1

1

Х17

простая

строка

 

insert seat size code

ssc

SSC

Идентификатор размера сменного режущего элемента и его посадки на инструмент (резец) или элемент сборки.

Примечание - Значение этого идентификатора зависит от формы и размера режущего элемента.

Видимый класс:

71CE7A72B6DA7-1 - библиотека режущих инструментов

Применимые классы:

71D0808DA853B-1

- вставка-шаблон;

71D1066F279AD-1

- картридж;

71Е01A00BD93C-1

- сверло;

71Е01А04А8АЕС-1

- развертывать;

71Е01A04C377D-1

- протяжка;

71E01A05104CF-1

- обтачивать;

71F0251F304E1-1

- вращающееся сверло;

71EAD70F1В95А-1

- гнездо.

71CE7A9F0C79F-1

1

X 17

 

простая

неколичественный код

 

 

insert shape code (код формы вставки)

sc

SC

 

Идентификатор формы стандартной вставки:

Е - ромб с прилежащим углом 75°;

А - параллелограмм с прилежащим углом 85°;

В - параллелограмм с прилежащим углом 82°;

С - ромб с прилежащим углом 80°;

D - ромб с прилежащим углом 55°;

Н - шестиугольная форма;

К - параллелограмм с прилежащим углом 55°;

L - прямоугольная форма;

М - ромб с прилежащим углом 86°;

О - восьмиугольная форма;

Р - пятиугольная форма;

S - квадратная форма;

Т - треугольник с прилежащим углом 60°;

V - ромб с прилежащим углом 35°;

W - тригон.

ИСО 1832:2004, подраздел 4.1.

Видимый класс:

71CE7A72B6DA7-1 - библиотека режущих инструментов

Применимые классы:

71D0808DA853B-1

- вставка-шаблон;

71D1AA486FF89-1

- равносторонняя равноугольная вставка;

71D1AA489FD6E-1

- неравносторонняя неравноугольная вставка;

71D1AA6635E76-1

- круглая вставка;

71D1AE11B8B77-1

- равносторонняя неравноугольная вставка;

71D1AE120D96E-1

- неравносторонняя равноугольная вставка;

71EAD70F1В95А-1

- гнездо.

71ЕС61D6B66E6-1

1

NR2 S..3.3

простая

реальная мера

м м

length (длина)

lth

LTH

Расстояние между концами объекта или признак.

Видимый класс:

71CE7A72B6DA7-1 - библиотека режущих инструментов

Применимые классы:

71ЕС56Е106606-1

- пружина сжатия плоской проволоки;

71ЕС56Е223664-1

- пластинчатая пружина;

71FAD519268DE-1

- центровочный штифт.

71EC5E54A9B4F-1

1

X 17

простая

неколичественный код

 

pin end shape (форма конца штифта)

pnes

PNES

Идентификатор формы верхнего окончания жесткого центровочного штифта:

con - коническая;

cyl - цилиндрическая.

Видимый класс:

71CE7A72B6DA7-1 - библиотека режущих инструментов

Применимые классы:

71FAD519268DE-1 - центровочный штифт.

71FAD53253A1В-1

1

X 17

простая

неколичественный код

 

pin fixing method (метод фиксации штифта)

pnfx

PNFX

Метод крепления жесткого центровочного штифта с помощью отдельного инструмента (резца):

groove - паз для крепления штифта;

hole - нарезное отверстие;

null - метод крепления не предусмотрен;

thread - наружная резьба.

Видимый класс:

71CE7A72B6DA7-1 - библиотека режущих инструментов

Применимые классы:

71FAD519268DE-1 - центровочный штифт.

71ЕС65А21E9D4-1

1

Х 17

простая

неколичественный код

 

section style (стиль сечения)

scty

SCTY

Описание формы поперечного сечения детали или признак:

circular - круглая:

profiled - профилированная;

rectangular - прямоугольная;

square - квадратная.

Видимый класс:

71CE7A72B6DA7-1 - библиотека режущих инструментов

Применимые классы:

71EC56E04199D-1 - цилиндрическая винтовая пружина.

71FAD52B8F653-1

1

NR2 S..3.3

простая

реальная мера

м м

shaft diameter (диаметр стержня)

sfdm

SFDM

Ширина основной функциональной части цилиндрического объекта.

Видимый класс:

71CE7A72B6DA7-1 - библиотека режущих инструментов

Применимые классы:

71FAD519268DE-1 - центровочный штифт.

71FAD52C3EC9E-1

1

NR2 S..3.3

простая

реальная мера

м м

shaft length (длина стержня)

sftl

SFTL

Продольный размер основной функциональной части цилиндрического объекта.

Видимый класс:

71CE7A72B6DA7-1 - библиотека режущих инструментов

Применимые классы:

71FAD519268DE-1 - центровочный штифт.

71FAE06BBB597-1

1

NR2 S..3.3

простая

реальная мера

м м

spring coefficient (коэффициент пружины)

spcf

SPCF

Отношение между приложенным усилием и упругой обратной деформацией.

Видимый класс:

71CE7A72B6DA7-1 -библиотека режущих инструментов

Применимые классы:

71ЕС56ВА16АСВ-1 - пружина.

71ЕАС4А2В6544-1

1

NR2 S..3.3

простая

реальная мера

градус

taper angle (угол конуса)

ta

ТА

Угол конуса между его образующими в осевом плоском сечении.

ИСО 1119.

Видимый класс:

71CE7A72B6DA7-1 -библиотека режущих инструментов

Применимые классы:

71Е01А0540ВЕ7-1

- цилиндрическая фреза;

71E01A05D27A8-1

- концевая фреза;

71Е01А06А8А08-1

- сверло-зенковка;

71Е01А0751456-1

- коническое сверло;

71E01A07D2A1B-1

- конусный расширитель;

71E01A081855D-1

- конусная протяжка;

71E01A0E34C7F

- конический метчик;

71ЕС61Е726811-1

- цанга;

71EF07E037025-1

- пазовая фреза.

71CEAEC02FEBD-1

1

NR2 S..3.3

простая

вещественное число

 

taper gradient (градиент конуса)

tg

TG

Отношение разности между диаметрами двух сечений к дистанции между этими сечениями.

ИСО 1119.

Примечание - Синоним названия - пропорция конуса.

Ссылка на иллюстрацию: 71ЕС1960Е0485-1.

Видимый класс:

71CE7A72B6DA7-1 - библиотека режущих инструментов

Применимые классы:

71DD700C151B5-1

- профиль нарезания резьбы;

71Е01А0540ВЕ7-1

- цилиндрическая фреза;

71E01A05D27A8-1

- концевая фреза;

71Е01А06А8А08-1

- сверло-зенковка;

71Е01А0751456-1

- коническое сверло;

71E01A07D2A1B-1

- конусный расширитель;

71E01A081855D-1

- конусная протяжка;

71E01A0E34C7F

- конический метчик;

71ЕС61Е726811-1

- цанга;

71EF07E037025-1

- пазовая фреза.

Приложение E
(справочное)
Иллюстрация классов сборочных элементов

Классы сборочных элементов приведены на рисунках E.1 - E.25.

Рисунок Е.1 - Центровочный штифт

Рисунок E.2 – Цанга

Рисунок E.3 - Винт упругой деформации

Рисунок E.4 - Дифференциальный винт

Рисунок E.5 - Эксцентриковый винт

Рисунок E.6 - Винт для вставки

Рисунок E.7 - Винт для рычага

Рисунок E.8 - Полый винт

Рисунок E.9 - Консольный зажим

Рисунок E.10 - Плавающий клиновой зажим

Рисунок E.11 - Зажим рычагом сверху

Рисунок E.12 - Зажим клином

Рисунок E.13 - Кронштейный зажим

Рисунок E.14 - Зажим отклонением винта

Рисунок E.15 - Зажим эксцентриковым винтом

Рисунок E.16 - Зажим плавающим клином

Рисунок E.17 - Зажим винтом для вставки

Рисунок E.18 – Встроенный зажим

Рисунок E.19 - Зажим рычагом, прижимающим вставку

Рисунок E.20 - Зажим рычагом сверху

Рисунок E.21 - Зажим клином

Рисунок E.22 - Рычаг для вставки

Рисунок E23 – Шайба для вставки

Рисунок E.24 - Клин для вставки

Рисунок E.25 - Гнездо

Приложение ДА
(справочное)
Сведения о соответствии ссылочных международных стандартов
ссылочным национальным стандартам Российской Федерации

Таблица ДА.1

Обозначение ссылочного
международного стандарта

Степень
соответствия

Обозначение и наименование соответствующего
национального стандарта

ИСО/ТС 13399-100

-

*

* Соответствующий национальный стандарт находится в стадии разработки. До его утверждения рекомендуется использовать перевод на русский язык данного международного стандарта. Перевод данного международного стандарта находится в Федеральном информационном фонде технических регламентов и стандартов.

Библиография

[1]

ИСО 1119

Геометрические характеристики изделий (GPS). Ряды конусов и углов конусов

 

(ISO 1119)

(Geometrical Product Specifications (GPS) - Series of conical tapers and taper angles)

[2]

ИСО 1832-1:2004

Многогранные режущие пластинки для режущих инструментов. Обозначение

 

(ISO 1832-1:2004)

(Indexable inserts for cutting tools - Designation)

[3]

ИСО 3002-1:1982

Основные величины, относящиеся к процессам резания и шлифования. Часть 1. Геометрия рабочей части режущих инструментов. Общие термины, системы отсчета, резец и рабочие углы, стружколомы

 

(ISO 1832-1:2004)

(Basic quantities in cutting and grinding - Part 1: Geometry of the active part of cutting tools - General terms, reference systems, tool and working angles, chip breakers)

[4]

ИСО 3338-2

Хвостовики цилиндрические для режущих фрез. Часть 2. Размерные характеристики цилиндрических хвостовиков с лыской

 

(ISO 3338-2)

(Cylindrical shanks for milling cutters - Part 2: Dimensional characteristics of flatted cylindrical shanks)

[5]

ИСО 8824-1

Информационные технологии. Нотация абстрактного синтаксиса версии 1 (ASN.1). Спецификация базовой нотации

 

(ISO/IEC 8824-1)

(Information technology - Abstract Syntax Notation One (ASN.1): Specification of basic notation - Part 1)

[6]

ИСО 10303-1

Системы промышленной автоматизации и интеграция. Представление данных о продукции и обмен данными. Часть 1. Обзор и основные принципы

 

(ISO 10303-1)

(Industrial automation systems and integration - Product data representation and exchange - Part 1: Overview and fundamental principles)

[7]

ИСО 10303-11

Системы промышленной автоматизации и интеграция. Представление данных о продукции и обмен данными. Часть 11. Методы описания. Справочное руководство по языку EXPRESS

 

(ISO 10303-11)

(Industrial automation systems and integration - Product data representation and exchange - Part 11: Description methods: The EXPRESS language reference manual)

[8]

ИСО 10303-21

Системы промышленной автоматизации и интеграция. Представление данных о продукции и обмен данными. Часть 21. Методы реализации. Кодирование открытого текста структуры обмена

 

(ISO 10303-21)

(Industrial automation systems and integration - Product data representation and exchange - Part 21: Implementation methods: Clear text encoding of the exchange structure)

[9]

ИСО 13584-1

Системы промышленной автоматизации и интеграция. Библиотека данных на детали. Часть 1. Обзор и основные принципы

 

(ISO 13584-1)

(Industrial automation systems and integration - Parts library - Part 1: Overview and fundamental principles)

[10]

ИСО 13584-24

Системы промышленной автоматизации и интеграция. Библиотека данных на детали. Часть 24. Логический ресурс: логическая модель библиотеки поставщика

 

(ISO 13584-24)

(Industrial automation systems and integration - Parts library - Part 24: Logical resource: Logical model of supplier library)

[11]

ИСО 13584-25

Системы промышленной автоматизации и интеграция. Библиотека данных на детали. Часть 25. Логический ресурс: логическая модель библиотеки поставщика с объединенными значениями и явным содержанием

 

(ISO 13584-25)

(Industrial automation systems and integration - Parts library - Part 25: Logical resource: Logical model of supplier library with aggregate values and explicit content)

[12]

ИСО 13584-26

Системы промышленной автоматизации и интеграция. Библиотека данных на детали. Часть 26. Логический ресурс: идентификация поставщика информации

 

(ISO 13584-26)

(Industrial automation systems and integration - Parts library - Part 26: Logical resource: Information supplier identification)

[13]

ИСО 13584-42

Системы промышленной автоматизации и интеграция. Библиотека данных на детали. Часть 42. Методология описания: методология структурирования групп деталей

 

(ISO 13584-42)

(Industrial automation systems and integration - Parts library - Part 42: Description methodology: Methodology for structuring part families)

[14]

ИСО 13584-511

Системы промышленной автоматизации и интеграция. Библиотека данных на детали. Часть 511. Механические системы и компоненты общего назначения. Справочный словарь по крепежным средствам

 

(ISO 13584-511)

(Industrial automation systems and integration - Parts library - Part 511: Mechanical systems and components for general use - Reference dictionary for fasteners)

 

 

Ключевые слова: режущий инструмент, библиотека данных, обмен данными по режущим инструментам, адаптивный элемент, свойства адаптивных элементов