МИНИСТЕРСТВО ТРАНСПОРТНОГО СТРОИТЕЛЬСТВА
СССР
ГОСУДАРСТВЕННЫЙ
ВСЕСОЮЗНЫЙ ДОРОЖНЫЙ
НАУЧНО-ИССЛЕДОВАТЕЛЬСКИЙ ИНСТИТУТ
(СОЮЗДОРНИИ)
МЕТОДИЧЕСКИЕ РЕКОМЕНДАЦИИ
ПО ПРИМЕНЕНИЮ ГРАВИЙНЫХ МАТЕРИАЛОВ
РУСЛОВОЙ ЧАСТИ р. КАМЫ И ЕЕ ПРИТОКОВ
В ДОРОЖНОМ СТРОИТЕЛЬСТВЕ
|
Одобрены Главдорстроем |
|
Минтрансстроя |
Москва 1974
Охарактеризованы сырьевые ресурсы гравийных материалов русловой части р. Камы и ее притоков. Изучены петрографический состав, физико-механические свойства гравийных материалов. Даны рекомендации по улучшению физико-механических свойств гравийных материалов, а также по их применению в асфальтобетонах и битумоминеральных смесях, цементобетоне и в смесях, укрепленных цементом и гранулированным доменным шлаком.
Использование гравийных материалов русловой части р. Камы и ее притоков для строительства автомобильных дорог в районе крупного комплекса сосредоточенного промышленного строительства - г. Набережные Челны имеет большое народнохозяйственное значение. Однако часто из-за недостаточной крупности зерен, их окатанной формы и шлифованной поверхности эти гравийные материалы не находят широкого применения в дорожном строительстве. Сдерживается использование гравия и присутствием в нем зерен окремнелых пород и кремня, способных к коррозионному химическому взаимодействию со щелочами цемента.
На основе лабораторных и опытно-экспериментальных исследований, проведенных в Союздорнии, разработаны рекомендации по применению речных гравийных материалов бассейна р. Камы в цементобетонных, асфальтобетонных и битумоминеральных смесях, а также в смесях, укрепляемых цементом и гранулированным шлаком; предложены способы улучшения свойств гравийных материалов.
«Методические рекомендации» составили кандидаты технических наук Н.В. Горелышев, А.Н. Защепин, В.С. Исаев, К.Я. Лобзова, В.Н. Сотникова, В.М. Юмашев, канд. геолого-минерал. наук И.П. Тимченко, инженеры Н.Н. Янбых, Ю.Н. Сементовский.
1. Настоящие «Методические рекомендации» распространяются на применение гравия русловой части р. Камы и ее притоков для приготовления цементо-, асфальтобетонных (при дроблении гравия), битумоминеральных смесей и для смесей, укрепленных органическими и неорганическими вяжущими, при строительстве автомобильных дорог.
2. Гравий р. Камы и ее притоков в слоях дорожных одежд используется в соответствии с данными «Методическими рекомендациями» и действующими строительными нормами и правилами на проектирование и строительство, ГОСТами, техническими указаниями и инструкциями.
3. Технико-экономическая эффективность использования гравийного материала в дорожном строительстве должна определяться в каждом конкретном случае с учетом местных условий.
__________
* Настоящий раздел составлен с использованиием проектных материалов Гипроречтранса.
4. По объемам запасов, средней мощности песчаногравийных отложений, количеству гравия и его зерновому составу месторождения гравия бассейна р. Камы подразделены на месторождения р. Чусовой, р. Камы и р. Белой (табл. 1).
5. Вскрышные породы на русловых песчано-гравийных месторождениях, как правило, отсутствуют. На пойменных месторождениях вскрышные породы - супеси и суглинки - имеют мощность 0,5 - 2,5 м.
6. Петрографический состав и физико-механические свойства гравия следует определять по ГОСТ 8268-62 и ГОСТ 8269-64 для стандартных фракций 5 - 10, 10 - 20, 20 - 40 и 40 - 70 мм (приложение 1, табл. 1).
7. При проведении петрографического анализа следует выделять в самостоятельную группу зерна кремня и окремнелых пород, содержащих растворимый кремнезем (приложение 1, табл. 2).
8. Содержание растворимого кремнезема в гравийном материале (приложение 1, табл. 3) следует определять в соответствии с «Рекомендациями по определению реакционной способности заполнителей бетона со щелочами цемента» (НИИЖБ, М., 1972).
9. Песчано-гравийные материалы следует перерабатывать в соответствии с общими рекомендациями, изложенными в «Технических указаниях по изысканиям, проектированию и разработке притрассовых карьеров для железнодорожного и автодорожного строительства» (ВСН 182-74).
10. Для улучшения формы и поверхности зерен гравия, улучшения его сцепления с вяжущим и повышения сдвиговых характеристик необходимо гравий дробить.
Технологическую схему дробления гравия выбирают с учетом зернового состава гравийной массы.
11. Для дробления гравия фракций крупнее 20 мм следует использовать серийные конусные и щековые дробилки в соответствии с требуемой производительностью, крупностью исходного и дробленого продуктов.
При содержании в гравии фракции 5 - 20 мм до 20 - 25 % его дробление целесообразно осуществлять совместно с фракциями крупнее 20 мм в конусных дробилках мелкого и среднего дробления типов КМД и КСД-А при ширине разгрузочной щели дробилок 8 - 12 мм.
12. При содержании в гравии фракции 5 - 20 мм свыше 25 % (для гравия месторождений русловой части р. Камы и ее притоков содержание этой фракции составляет 65 - 80 % см. табл. 1) целесообразно организовать ее самостоятельную переработку. При этом следует иметь ввиду, что дробление гравия фракции 5 - 20 мм на обычных дробилках неэффективно, так как связано с резким сокращением выхода щебня.
Характеристика месторождений русловой части р. Камы и ее притоков
|
Месторождения |
Запасы, млн. м3 |
Мощность полезной толщи, м |
Содержание гравия в полезной толще, % |
Зерновой состав гравия |
|||
|
Процентное содержание фракций, мм: |
|||||||
|
5 - 10 |
10 - 20 |
20 - 40 |
> 40 |
||||
|
р. Чусовой |
69,4 |
6,25 |
66,4 |
27,2 |
31,8 |
28,3 |
10,5 |
|
|
|
(3,8 - 9,2) |
(55 - 74,5) |
(25 - 30,2) |
(29 - 35) |
(26 - 32) |
(7,5 - 14,0) |
|
р. Камы |
207,3 |
5,9 |
46,7 |
35,5 |
37,4 |
23,4 |
5,2 |
|
|
|
(2,0 - 9,2) |
(24,0 - 78,8) |
(0 - 51) |
(21,1 - 48,7) |
(6,7 - 51,2) |
(0 - 27,7) |
|
р. Белой |
6,5 |
7,1 |
50,1 |
43 |
38 |
15,4 |
2,2 |
|
|
|
(5,4 - 8,2) |
(31,7 - 66,3): |
(30,4 - 62,9) |
(31,5 - 37,5) |
(4,5 - 25,9) |
(0,5 - 4,8) |
|
Все месторождения русловой части р. Камы и ее притоков |
353,2 |
6,1 |
50,4 |
33,9 |
34,9 |
23,8 |
6,2 |
|
283,2 |
(2,0 - 9,2) |
(24,0 - 78,8) |
(0 - 62,9) |
(21,1 - 48,7; |
(4,5 - 51,2) |
(0 - 27,7) |
|
Примечание. В скобках приведены пределы колебаний характеристик месторождений.
13. Для дробления гравия фракции 5 - 20 мм может быть использована изготовленная Воскресенским РМЗ пневмоударная установка конструкции Союздорнии, работающая на принципе отражательного дробления и состоящая из пневмометателей эжекционного типа, приемного бункера, питателей, камеры дробления с отражательной плитой и пылеотсосом, а также системы воздухоподачи (рис. 1).
Рис. 1. Схема пневмоударной установки:
1 - загрузочный бункер; 2 -
питатель;
3 - приемная воронка пневмометателя; 4 - пневмометатель;
5 - камера дробления; 6 - отражательная плита; 7 - отсос пыли
Техническая характеристика пневмоударной установки и характеристика материала, дробленого в ней, приведены в приложении 2.
14. При переработке мелкого гравия с использованием пневмоударной установки рекомендуется фракцию 5 - 20 мм выделять на вибрационных грохотах с размером ячейки верхнего сита 20 - 25 мм и нижнего - 5 - 10 мм. Гравий крупнее 20 мм при этом направляют для дробления на щебень в конусные дробилки мелкого и среднего дробления (рис. 2).
При наличии в гравии фракций, превышающих размер приемной щели конусной дробилки, их предварительно дробят на щековой дробилке, а затем уже направляют в конусную.
Продукты дробления разделяют на стандартные фракции и складируют. Дробленый и природный песок складируют отдельно.
При низком содержании фракции крупнее 20 мм технологическая схема переработки ограничивается дроблением в пневмоударной установке гравия фракции 5 - 20 мм с выпуском фракции крупнее 20 мм (рис. 3) в виде гравия.
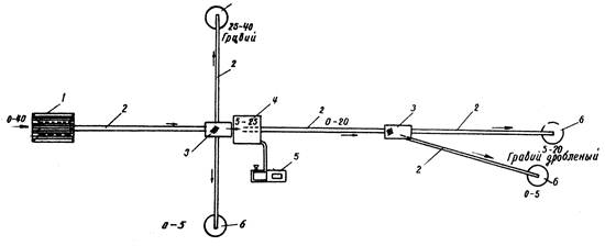
Для упрощения компоновки схем переработки рекомендуется использовать агрегаты передвижных дробильно-сортировочных установок (ПДСУ), например, СМ-740 (рис. 4).
15. Для выделения из гравийного материала зерен кремня и окремнелых пород, характеризующихся пониженным удельным весом, рекомендуется применять способ отсадки.
Для практического применения рекомендуется отсадочная машина ОМЩГ-2,5 с производительностью 40 т/час. Техническая характеристика машины и характеристика материала, полученного на ней, приведены в приложении 3.
16. Организовать обогащение лучше на месте складирования гравия на берегу реки, где устроены причалы для барж.
Затраты на обогащение гравия по опыту работы этих машин составляют около 10 коп/м3.
Рис. 2. Схема переработки гравия на пневмоударной и конусной дробилках:
1 - бункер-питатель; 2 -
ленточный конвейер; 3 - грохот; 4 - пневмоударная установка;
5 - конусная дробилка; 6 - склад; 7 - воздуходувка
Рис. 3. Схема переработки гравия на пневмоударной установке:
1 - бункер-питатель; 2 -
ленточный конвейер; 3 - грохот;
4 - пневмоударная установка; 5 - воздуходувка; 6 - склад
Рис. 4. Схема переработки гравия фракции 0 - 70 мм (а) и
фракции
0 - 120 мм (б) с использованием ПДСУ:
1 - бункер-питатель; 2 -
ленточный конвейер; 3 - грохот;
4 - пневмоударная установка; 5 - ПДСУ; 6 - склад; 7 - воздуходувка;
8 - щековая дробилка
17. Гравий и дробленый гравий для устройства цементобетонных покрытий и оснований должен отвечать ГОСТ 10260-62 и 8268-62.
Для бетона однослойных и верхнего слоя двухслойных покрытий должен применяться чистый промытый гравий.
18. Содержание в гравии пылеватых, илистых и глинистых частиц и других примесей не должно превышать величин, указанных в табл. 2.
19. Содержание растворимого кремнезема в гравии для бетона цементобетонных покрытий и оснований не должно превышать 50 ммоль/л.
20. Содержание зерен слабых пород в гравии для бетона однослойных и верхнего слоя двухслойных покрытий не должно быть более 7 % по весу; для бетона, укладываемого в основание и нижний слой двухслойных покрытий - не более 10 % по весу.
|
Наименование примесей |
Назначение гравия |
|
|
для однослойных и верхнего слоя двухслойных покрытий |
для нижнего слоя двухслойных покрытий и оснований |
|
|
Глинистые, илистые и пылевидные частицы, определяемые отмучиванием, % по весу, не более |
1 |
2 |
|
Органические примеси, определяемые методом окрашивания |
Окраска не темнее цвета эталона по ГОСТ 8269-64 |
|
|
Опал, опаловидные породы и минералы |
Не допускаются |
|
21. Максимальный размер зерен гравия должен быть не более: для бетона оснований капитальных покрытий - 70 мм; для бетона однослойных и нижнего слоя двухслойных покрытий - 40 мм; для верхнего слоя двухслойных покрытий - 20 мм.
22. Содержание зерен пластинчатой (лещадной) и игловатой формы в гравии не должно превышать норм, указанных в табл. 3.
|
Назначение гравия |
Содержание в гравии зерен пластинчатой (лещадной) и игловатой формы, % по весу, не более |
|
Для однослойных и верхнего слоя двухслойных покрытий |
25 |
|
Для нижнего слоя двухслойных покрытий и оснований |
Не нормируется |
23. По прочности и морозостойкости гравий должен удовлетворять требованиям табл. 4.
24. Бетон для дорожных покрытий и оснований на гравии по прочности и морозостойкости должен удовлетворять требованиям ГОСТ 8424-72 «Бетон дорожный».
25. Для приготовления бетона на гравии рекомендуется применять низкощелочные цементы с содержанием щелочей не более 0,6 % в пересчете на Na2O.
26. Для повышения морозостойкости бетона покрытия и стойкости бетона против многократного совместного агрессивного воздействия отрицательных температур и растворов хлористых солей, применяемых для устранения гололеда на дорожных покрытиях, а также для улучшения удобоукладываемости бетонной смеси следует применять воздухововлекающие и пластифицирующие поверхностно-активные добавки: концентраты сульфитно-дрожжевой бражки (СДБ) и ее производные; смолу нейтрализованную воздухововлекающую (СНБ), мылонафт.
Для обеспечения морозостойкости бетона содержание вовлеченного воздуха в бетонной смеси должно быть при устройстве однослойных и верхнего слоя двухслойных покрытий 5 - 6 %; при устройстве нижнего слоя двухслойных покрытий - 3,5 - 4,5 %.
Для обеспечения необходимого количества вовлеченного воздуха в бетоне, без снижения его прочности, при применении бетонной смеси на гравии следует использовать комплексные пластифицирующие и воздухововлекающие добавки (приложение 4).
Соотношение веса пластифицирующей и воздухововлекающей добавок определяют при подборе бетона на конкретных материалах строительства.
|
Назначение гравия |
Классы прочности и морозостойкость |
|||||
|
Категория автомобильных дорог |
||||||
|
I - II |
III |
|||||
|
суровые |
умеренные |
мягкие |
суровые |
умеренные |
мягкие |
|
|
Для однослойных и верхнего слоя двухслойных покрытий |
1 - 2 |
1 - 2 |
1 - 2 |
1 - 2 |
1 - 2 |
1 - 2 |
|
Мрз. 150 |
Мрз. 100 |
Мрз. 50 |
Мрз. 100 |
Мрз. 50 |
Мрз. 25 |
|
|
Для нижнего слоя двухслойных |
|
|
|
|
|
|
|
покрытий |
1 - 3 |
1 - 3 |
1 - 3 |
1 - 3 |
1 - 3 |
1 - 3 |
|
Мрз. 100 |
Мрз. 50 |
Мрз. 25 |
Мрз. 50 |
Мрз. 50 |
Мрз. 25 |
|
|
оснований |
1 - 3 |
1 - 3 |
1 - 3 |
1 - 4 |
1 - 4 |
1 - 4 |
|
Мрз. 50 |
Мрз. 50 |
Мрз. 25 |
Мрз. 50 |
Мрз. 50 |
Мрз. 25 |
|
27. Дробленый гравий рассмотренных месторождений фракции 2,5 - 20 мм содержит дробленых зерен от 50 до 62 %, по дробимости в цилиндре соответствует маркам «Др. 8» - «Др. 12», по морозостойкости выдерживает 25 и более циклов и может быть использован для приготовления битумоминеральных смесей I и II марки, а также для асфальтобетонных II марки с гранулометрией типа В.
28. При применении дробленого гравия в вышеуказанных смесях для верхнего слоя покрытия кремня и окремнелых пород должно быть не более 25 %.
29. В битумоминеральных и асфальтобетонных смесях (приложение 5) исследовали дробленый гравий Мензулинского (кремня 31,9 %) и Нижнечусовского (кремня 16,2 %) месторождений, смеси приготавливали с применением местного одномерного речного песка (Тарловского) с модулем крупности МK = 1,95, содержанием кремня 51,7 % и активированного минерального порошка Альметьевского завода (трест «Каздорстрой»).
30. Битумоминеральные и асфальтобетонные смеси имеют достаточно высокую водостойкость как после насыщения водой в условиях вакуума, так и после длительного выдерживания в воде.
31. Применение в смесях минеральных зерен, дробленых и недробленых (окатанной формы), создает высокую плотность минерального остова, снижает расход битума в смесях и повышает их сдвигоустойчивость.
32. Битумоминеральные смеси на основе дробленого гравия Нижнечусовского и Мензелинского месторождений, отвечающие требованиям ГОСТ 17060-71, могут быть использованы:
- для устройства покрытий на дорогах III и IV категорий (плотные I и II марки при содержании минерального порошка - частиц мельче 0,071 мм - на верхнем пределе);
- для устройства оснований из среднезернистых и крупнозернистых смесей слоями 10 - 18 см под асфальтобетонное покрытие на дорогах I, II, III - п категорий.
33. Асфальтобетонные смеси на основе дробленого гравия тех же месторождений, отвечающие ГОСТ 9128-67, могут быть использованы:
- для устройства нижнего слоя асфальтобетонных покрытий толщиной от 4 до 8 см на дорогах I, II и III - п категорий при обязательном содержании минерального порошка;
- для устройства верхних слоев покрытия на дорогax II и III категорий (при опытном строительстве) с заменой речного Тарловского песка горным.
34. При приготовлении дробленого гравия и щебня из гравия, отличающегося высоким содержанием кремня, необходимо организовать контроль за степенью окола поверхности частиц, зерновым составом, загрязненностью, а также петрографическим составом.
35. В условиях Татарской АССР целесообразно устраивать основания дорожных одежд из местных гравийных и песчаных материалов, укрепленных портландцементом или гранулированным шлаком.
При этом следует руководствоваться «Методическими рекомендациями по строительству дорожных одежд с основаниями из каменных материалов, укрепленных органическими и неорганическими вяжущими» (М., Союздорнии, 1974).
36. Для обеспечения требуемых физико-механических характеристик укрепленных гравийных материалов, как показали проведенные испытания (приложение 6), расход цемента в цементоминеральных смесях должен находиться в пределах 5 - 10 %; в шлакоминеральных смесях расход гранулированного шлака - в пределах 10 - 15 %, а расход цемента-активатора - 3 - 5 %.
Перед началом строительства рекомендуется провести подбор составов на конкретных материалах с технико-экономическим расчетом.
37. Для снижения расхода вяжущего рекомендуется в качестве каменного материала использовать щебень из гравия вместо гравия или песка.
38. Дорожные одежды со шлакоминеральными и цементоминеральными основаниями следует рассчитывать в соответствии с «Инструкцией по проектированию дорожных одежд нежесткого типа» (ВСН 46-72). Расчетные параметры следует принимать по «Методическим рекомендациям по строительству дорожных одежд с основаниями из каменных материалов, укрепленных органическими и неорганическими вяжущими».
39. Приготовлять смеси рекомендуется на смесительных установках типа С-780. Распределять смеси можно автогрейдером. Уплотнять смеси целесообразно катками на пневматических шинах типа Д-551, Д-624. Максимальная толщина слоя в плотном теле не должна превышать 25 см. Для уплотнения необходимо, как правило, не менее 12 проходов катка по одному следу.
40. Уход за основанием, устройство следующего слоя и открытие движения по основанию должно осуществляться в соответствии с «Методическими рекомендациями по строительству дорожных одежд с основаниями из каменных материалов, укрепленных органическими и неорганическими вяжущими».
Физико-механические свойства гравия
|
Месторождение |
Вид материала |
Фракция, мм |
Объемный насыпной вес, кг/см3 |
Объемный вес, г/см3 |
Водопоглощение, % по весу |
Содержание пыли и глины, % по весу |
Показатель дробимости в цилиндре |
Износ в полочном барабане, % по весу |
Содержание пластинчатых зерен, % по весу |
Морозостойкость, циклы |
|
|
% по весу |
марка |
||||||||||
|
Мензелинское |
Гравий |
5 - 10 |
1680 |
2,52 |
1,8 |
- |
7,5 |
Др. 8 |
22,9 |
До 5 |
50 |
|
10 - 20 |
2,57 |
1,0 |
11,6 |
Др. 12 |
22,5 |
200 |
|||||
|
20 - 40 |
2,59 |
0,6 |
9,4 |
Др. 12 |
- |
- |
|||||
|
Дробленый гравий |
5 - 10 |
1537 |
2,54 |
1,3 |
- |
4,9 |
Др. 8 |
- |
До 15 |
- |
|
|
10 - 20 |
2,58 |
0,8 |
3,6 |
Др. 8 |
|||||||
|
Тарловское |
Гравий |
5 - 10 |
1600 |
2,50 |
2,2 |
0,52 |
2,6 |
Др. 8 |
22,0 |
До 5 |
200 |
|
10 - 20 |
2,50 |
1,6 |
7,2 |
Др. 8 |
20,8 |
50 |
|||||
|
Дробленый гравий |
5 - 10 |
1489 |
2,49 |
1,6 |
До 0,5 |
2,9 |
Др. 8 |
- |
До 15 |
- |
|
|
10 - 20 |
2,49 |
1,3 |
4,5 |
Др. 8 |
|||||||
|
Нижнечусовское |
Гравий |
5 - 10 |
1816 |
2,5 |
1,6 |
2,1 |
4,3 |
Др. 8 |
25,2 |
- |
25 |
|
10 - 20 |
2,53 |
1,2 |
6,3 |
Др. 8 |
27,2 |
150 |
|||||
|
20 - 40 |
2,58 |
0,7 |
10,2 |
Др. 12 |
- |
150 |
|||||
|
Дробленый гравий |
5 - 101) |
1587 |
2,50 |
2,1 |
4,5 |
10,9 |
Др. 12 |
28,4 |
До 14 |
25 |
|
|
10 - 20 |
2,54 |
1,2 |
7,1 |
Др. 8 |
29,3 |
150 |
|||||
|
5 - 102) |
1526 |
2,46 |
2,2 |
- |
7,0 |
Др. 8 |
26 |
До 15 |
- |
||
|
10 - 20 |
2,54 |
1,1 |
- |
5,8 |
Др. 8 |
25,5 |
|||||
|
Бельское |
Гравий |
5 - 10 |
1715 |
2,30 |
4,7 |
0,2 |
3,6 |
Др. 8 |
20,5 |
До 5 |
15 |
|
10 - 20 |
2,26 |
4,6 |
5,1 |
Др. 8 |
21,9 |
100 |
|||||
|
20 - 40 |
2,28 |
3,6 |
11,0 |
Др. 12 |
- |
100 |
|||||
____________
1) Дробленый гравий получен на АБЗ треста «Каздорстрой».
2) Дробленый гравий получен при опытном дроблении на Дмитровском щебеночном заводе на пневмоударной дробилке Союздорнии.
Средний петрографический состав гравия
|
Породы, минералы |
Процентное содержание пород и минералов в гравии месторождений: |
|||
|
Нижнечусовское |
Мензелинское |
Тарловское, Бетьки, Красный Ключ |
Бельское |
|
|
Жильный кварц |
15,8 |
6,4 |
5,3 |
2,7 |
|
Метаморфические породы: |
|
|
|
|
|
кварцит |
0,6 |
- |
- |
- |
|
песчаники |
46,2 |
33,5 |
23,1 |
10,2 |
|
кремнистые породы |
16,0 |
21,3 |
35,7 |
18,0 |
|
Гидротермально измененные породы, микрокристаллический кварц и окварцованные породы |
10,7 |
21,4 |
22,4 |
12,6 |
|
Изверженные породы |
0,7 |
6,2 |
3,3 |
0,3 |
|
Карбонатные породы |
1,0 |
3,0 |
0,1 |
2,8 |
|
Кремни и окремнелые породы |
8,8 |
8,2 |
10,1 |
53,4 |
|
Прочие |
0,2 |
- |
- |
- |
|
Сумма |
100 |
100 |
100 |
100 |
Содержание кремня, окремнелых пород и растворимого кремнезема в гравии и песке в пробах потенциально реакционноспособных пород
|
Месторождение, материал |
Содержание |
|||
|
% по весу |
Миллимоль-литр |
|||
|
потенциально реакционно-способных пород |
кремня и окремнелых пород |
растворимого кремнезема |
||
|
по данным |
||||
|
ЦНИИС |
Союздорнии |
|||
|
Нижнечусовское, гравий, фракция до 20 мм |
- |
7,4 |
81,7 |
94,6 |
|
Проба потенциально реакционно-способных пород |
100,0 |
2,4 |
52,3 |
56,0 |
|
Вся фракция |
86,8 |
2,1 |
46,9 |
49,5 |
|
Фракция 20 мм, проба потенциально реакционноспособных пород |
100,0 |
12,1 |
136,2 |
157,0 |
|
Вся фракция |
84,0 |
10,2 |
117,4 |
136,3 |
|
Мензелинское, гравий, фракция до 20 мм |
- |
9,2 |
100,4 |
89,5 |
|
Проба потенциально реакционно-способных пород |
100,0 |
5,4 |
102,9 |
97,0 |
|
Вся фракция |
85,8 |
4,6 |
90,1 |
84,9 |
|
Фракция > 20 мм, проба потенциально реакционноспособных пород |
100,0 |
13,2 |
112,5 |
99,0 |
|
Вся фракция |
90,7 |
12,0 |
102,9 |
90,6 |
|
Тарловское, гравий, фракция 20 мм |
- |
27,7* |
234,3 |
300,2 |
|
Проба потенциально реакционноспособных пород |
100,0 |
34,2* |
309,0 |
419,0 |
|
Вся фракция |
94,8 |
33,5* |
293,7 |
398,3 |
|
Бельское, гравий, фракция до 20 мм |
- |
60,4 |
471,2 |
641,3 |
|
Проба потенциально реакционноспособных пород |
100,0 |
65,8 |
507,8 |
707,0 |
|
Вся фракция |
90,8 |
59,7 |
465,0 |
647,0 |
|
Фракция 20 мм, проба потенциально реакционноспособных пород |
100,0 |
68,3 |
499,5 |
657 |
|
Вся фракция |
94,4 |
64,5 |
473,0 |
639,5 |
|
Тарловское, песок |
Нефракционированный |
11,7 |
56,0 |
69,0 |
_________
* Суммарное содержание зерен кремня, окремнелых и выщелочных пород.
Техническая характеристика пневмоударной установки
|
Производительность по исходному продукту, м3/час |
12 |
|
Расход сжатого воздуха, м3/мин |
45 |
|
Давление воздуха, кгс/см2 |
0,8 - 1,5 |
|
Мощность электродвигателей (без турбовоздуходувки), квт |
6,6 |
|
Масса установки, кг |
3600 |
|
Источник сжатого воздуха-турбовоздуходувка ТВ-50-1,9 с мощностью электродвигателя, квт |
160 |
Характеристика гравия, дробленого в пневмоударной установке
|
Гравий |
Количество зерен по степени окола поверхности, % по весу |
|||||||||||
|
Фракция 10 - 20 мм |
Фракция 2,5 - 10 мм |
Фракция 2,5 - 20 мм |
||||||||||
|
Недробленых |
Степень окола поверхности, % |
Недробленых |
Степень окола поверхности, % |
Недробленых |
Степень окола поверхности, % |
|||||||
|
30 |
31 - 49 |
50 и более |
30 |
31 - 49 |
50 и более |
30 |
31 - 49 |
50 и более |
||||
|
Мензелинский |
13,9 |
26,3 |
32,8 |
27 |
11 |
6 |
12,2 |
70,8 |
10,9 |
10,5 |
15,9 |
62,7 |
|
Нижнечусовской |
11,9 |
28,6 |
28,6 |
30,9 |
5,7 |
8,7 |
17,6 |
68 |
8,2 |
19 |
22,1 |
50,5 |
|
Нижнечусовской дробленый на дробилках АБЗ |
|
Не oпределяли |
|
|
|
|
32,6 |
5,70 |
7,7 |
54,0 |
||
|
|
|
|
|
|
|
|
|
|
|
|
||
|
Тарловский |
- |
- |
- |
- |
- |
- |
- |
- |
13,5 |
13,5 |
11,3 |
61,7 |
Примечание. В продукте дробления зерен фракции 10 - 20 мм содержится 45 - 60 %; 2,5 - 10 мм - 30 - 40 %.
Техническая характеристика отсадочной машины ОМЩГ 2,5
|
Производительность, т/час |
40 |
|
Крупность обогащаемого материала, мм |
5 - 40 |
|
Площадь отсадочного решета (рабочая), м2 |
2,5 |
|
Ход решета, мм |
10 - 80 |
|
Количество ходов в минуту |
80 - 180 |
|
Мощность, квт |
10,5 |
|
Габариты, мм |
4727×5048×5263 |
|
Масса, кг |
8500 |
Характеристика гравийных материалов, обогащенных методом отсадки
|
Месторождение, материал |
Объемный вес, г/см3 |
Содержание зерен реакционно-способных пород, % по весу |
|
Мензелинское - гравий |
|
|
|
исходный |
2,55 |
12,0 |
|
обогащенный |
2,58 - 2,61 |
0,4 - 2,5 |
|
отходы |
2,48 - 2,52 |
4,6 - 19,3 |
|
Тарловское - гравий |
|
|
|
исходный |
2,56 |
15,3 |
|
обогащенный |
2,55 - 2,58 |
1,4 - 4,1 |
|
отходы |
2,37 - 2,49 |
6,2 - 18,6 |
|
Нижнечусовское - гравий |
|
|
|
исходный |
2,52 |
10,2 |
|
обогащенный |
2,55 - 2,59 |
2,7 - 4,7 |
|
отходы |
- |
- |
|
Нижнечусовское - щебень из гравия |
|
|
|
исходный |
2,52 |
4,6 |
|
обогащенный |
2,55 - 2,58 |
3,7 - 4,5 |
|
отходы |
2,47 - 2,50 |
8,8 - 10,2 |
Состав и физико-механические свойства бетонов на гравии русловой части р. Камы
|
№ состава |
Вид крупного заполнителя |
Расход материалов на 1 м3 бетона, кг |
В/Ц |
Подвижность бетонной смеси, см |
Жесткость бетонной смеси, сек |
Содержание вовлеченного воздуха, % по объему |
Предел прочности бетона, кгс/см2 |
Предел прочности при сжатии после 150 циклов замораживания и оттаивания кубов 10×10×10 см, кгс/см2 |
||||||||
|
на растяжение при изгибе балок 10×10×40 см в возрасте, сутки |
при сжатии в возрасте, сутки |
|||||||||||||||
|
7 |
28 |
в эквивалентном возрасте |
испытанных |
|||||||||||||
|
цемент |
песок |
гравий |
вода |
7 |
28 |
половинок балок |
кубов 10×10×10 |
|||||||||
|
1 |
Гравий Мензелинский недробленый |
380 |
645 |
1265 |
147,2 |
0,39 |
2,2 |
8 |
5,8 |
40,6 |
49,2 |
304 |
343 |
353 |
415 |
423 |
|
2 |
То же дробленый |
380 |
642 |
1261 |
152 |
0,40 |
1,6 |
18 |
5,4 |
44,3 |
53,1 |
355 |
393 |
469 |
432 |
298 |
|
3 |
Гравий Нижнечусовской недробленый |
380 |
641 |
1281 |
146,3 |
0,385 |
1,9 |
13 |
5,4 |
46,0 |
51,2 |
344 |
382 |
400,7 |
415 |
371 |
|
4 |
То же дробленый |
380 |
635 |
1275 |
152 |
0,40 |
1,3 |
20 |
5,0 |
48,8 |
49,2 |
362 |
409 |
524 |
459 |
434 |
|
5 |
Гравий Тарловский недробленый |
380 |
644 |
1278 |
146,3 |
0,385 |
1,2 |
14 |
5,5 |
38,7 |
43,4 |
339 |
319 |
420 |
393 |
399,3 |
|
6 |
То же дробленый |
380 |
640 |
1270 |
152 |
0,40 |
1,8 |
15 |
6,1 |
45,5 |
41,7 |
342 |
337 |
439 |
373 |
477,3 |
|
7 |
Гравий Тарловский недробленый |
380 |
645 |
1275 |
144,4 |
0,38 |
1 |
20 |
4,6 |
48,7 |
45,4 |
369 |
420,7 |
428 |
478 |
486 |
|
8 |
То же дробленый |
380 |
642 |
1276 |
148,2 |
0,39 |
1 |
20 |
5,4 |
48,1 |
44,3 |
373 |
393 |
457 |
433 |
497 |
Примечание. Образцы изготавливали: на гравии и щебне из гравия крупностью 5 - 20 мм; песке Тарловского месторождения с Мк = 2,19; портландцементе Себряковского завода марки «400» с фактической активностью на сжатие 382 кгс/см2 и на изгиб 62,7 кгс/см2. В качестве добавок использовали абиетиновую смолу (АС) и сульфитно-дрожжевую бражку (СДБ).
Физико-механические свойства битумоминеральных и асфальтобетонных смесей
|
№ смеси |
Состав смеси, % по объему |
Объемный вес, г/см3 |
Водонасыщение, % по объему |
Набухание, % по объему |
Предел прочности при сжатии, кгс/см2 |
|||||||
|
Дробленый гравий |
Песок |
Минеральный порошок активированный, % по весу |
Битум, % по весу |
|||||||||
|
Мензелинский 2,5 - 15 мм |
Нижнечусовской 2,5 - 15 мм |
Тарловский речной |
Ростокинский горный |
R50 |
R20 |
R0 |
||||||
|
1 |
55 |
- |
33 |
- |
12 |
5 |
2,38 |
1,5 |
0 |
|||
|
2 |
55 (1) |
- |
33 |
- |
12 |
4,8 |
2,38 |
1,6 |
0,9 |
7,0 |
34,8 |
90,0 |
|
3 |
- |
55 |
33 |
- |
12 |
4,6 |
2,36 |
2,6 |
0,1 |
7,9 |
35,5 |
95,8 |
|
4 |
- |
55 |
33 |
- |
12 |
4,8 |
2,38 |
1,5 |
0,11 |
7,5 |
32,0 |
- |
|
5 |
55 |
- |
27 |
- |
18 |
4,6 |
2,41 |
1,4 |
0,24 |
9,2 |
36,8 |
- |
|
6 |
55 |
- |
- |
33 |
12 |
4,8 |
2,37 |
2,6 |
0,14 |
9,1 |
38,8 |
- |
|
7 |
55 |
- |
- |
28 |
17 |
4,8 |
2,39 |
2,1 |
0,14 |
10,7 |
45,6 |
- |
|
8 |
- |
55 |
27 |
- |
18 |
4,6 |
2,39 |
1,7 |
0,06 |
10,0 |
37,8 |
88,6 |
|
9 |
55 |
- |
26 |
- |
19 (2) |
4,8 |
2,37 |
2,41 |
0,1 |
10,8 |
44,2 |
- |
|
10 |
55 (3) |
- |
33 |
- |
12 |
4,7 |
2,37 |
1,95 |
0,03 |
7,3 |
45,3 |
- |
|
11 |
55 (4) |
- |
33 |
- |
12 |
4,7 |
2,36 |
3,53 |
0,13 |
7,3 |
45,5 |
- |
|
12 |
55 |
- |
33 |
- |
12 |
4,7 (5) |
2,36 |
2,5 |
0,08 |
7,4 |
47,9 |
- |
Продолжение таблицы
|
№ смеси |
Коэффициент водостойкости |
Пористость минерального остова, % по объему |
Остаточная пористость, % по объему |
После длительного водонасыщения (15 суток): |
После 25 циклов замораживания-оттаивания |
||||
|
Водонасыщение, % по объему |
Набухание, % по объему |
Коэффициент длительной водостойкости |
Водонасыщение, % по объему |
Набухание, %, по объему |
Коэффициент морозостойкости |
||||
|
1 |
0,91 |
14,3 |
3,0 |
3,1 |
0,4 |
0,88 |
1,4 |
0 |
0,86 |
|
2 |
0,99 |
14,34 |
3,6 |
5,0 |
0,8 |
0,86 |
4,5 |
1,55 |
0,62 |
|
3 |
1,0 |
14,5 |
4,3 |
3,30 |
0,21 |
0,99 |
3,31 |
0,48 |
0,99 |
|
4 |
0,99 |
14,3 |
3,4 |
- |
- |
- |
- |
- |
- |
|
5 |
0,80 |
13,6 |
3,1 |
- |
- |
- |
- |
- |
- |
|
6 |
0,91 |
15,3 |
4,4 |
- |
- |
- |
- |
- |
- |
|
7 |
0,96 |
14,6 |
3,7 |
- |
- |
- |
- |
- |
- |
|
8 |
0,92 |
14,3 |
3,8 |
2,72 |
0,1 |
0,97 |
2,2 |
0,05 |
1,0 |
|
9 |
0,94 |
14,9 |
4,3 |
- |
- |
- |
- |
- |
- |
|
10 |
0,97 |
14,8 |
4,2 |
- |
- |
- |
- |
- |
- |
|
11 |
0,99 |
15,6 |
5,0 |
- |
- |
- |
- |
- |
- |
|
12 |
0,92 |
15,2 |
4,6 |
- |
- |
- |
- |
- |
- |
Примечания: В смесях № 1 - 4, 6, 10 - 12 частиц менее 0,071 мм - 10 %, а в смесях 5, 7 - 9 соответственно - 15 %; частиц 5 - 15 мм во всех смесях - 46 %.
2. Свойства применяемого битума Уфимского НПЗ марки БНД-60/90: глубина проникания при 25 °С - 60; растяжимость при 25 °С - больше 100 см, температура размягчения по КиШ - 49 °С.
_____________
(1) Дробление гравия произведено на лабораторной пневмоударной установке.
(2) Минеральный порошок известняковый - обидимский (неактивированный).
(3) Дробленый гравий обработан пенообразующей добавкой № 24.
(4) Щебень гранитный клессовский фракции 2,5 - 15 мм.
(5) Битум одесский марки БН-П.
|
№ смеси |
Состав смеси, % по весу |
Объемный вес, г/см3 |
Водонасыщение, % по объему |
Предел прочности при сжатии, кгс/см2, в возрасте, сутки |
Предел прочности раскола, кгс/см2, в возрасте, сутки |
Предел прочности при сжатии, кгс/см2, после 25 циклов замораживания и оттаивания в возрасте, сутки |
||||||||
|
щебень |
гравий |
песок |
|
|
7 |
28 |
60 |
28 |
60 |
28 |
60 |
|||
|
1 |
|
|
|
7,05 |
8,9 |
- |
1,0 |
- |
15ц |
- |
||||
|
2 |
- |
- |
90 |
10 |
- |
1,95 |
7,07 |
26,1 |
27,9 |
- |
7,0 |
- |
27,2 |
- |
|
3 |
- |
- |
82 |
3 |
15 |
1,82 |
10,9 |
- |
4,9 |
5,8 |
- |
0,45 |
15ц |
15ц |
|
4 |
- |
- |
80 |
5 |
15 |
1,81 |
11,3 |
- |
6,5 |
10,0 |
- |
1,9 |
5,2 |
83 |
|
5 |
- |
48,5 |
48,5 |
3 |
- |
2,14 |
3,3 |
5,0 |
12,7 |
- |
2,7 |
- |
6,4 |
- |
|
6 |
- |
46,6 |
46,6 |
7 |
- |
2,18 |
1,8 |
43,3 |
47,0 |
- |
10,3 |
- |
47,5 |
- |
|
7 |
- |
41 |
41 |
3 |
15 |
2,04 |
4,3 |
- |
8,5 |
9,7 |
- |
1,4 |
4,2 |
7,6 |
|
8 |
- |
40 |
40 |
5 |
15 |
2,03 |
4,3 |
- |
17,8 |
23,7 |
- |
5,75 |
16,6 |
20,3 |
|
9 |
77,6 |
- |
19,5 |
3 |
- |
2,28 |
1,20 |
20,5 |
28,8 |
37,6 |
3,8 |
- |
20,8 |
- |
|
10 |
74,5 |
- |
18,5 |
7 |
- |
2,29 |
1,15 |
77,5 |
94,5 |
101,0 |
18,2 |
- |
103,0 |
- |
|
11 |
65,5 |
- |
16,5 |
3 |
15 |
2,1 |
2,5 |
- |
26,4 |
31,4 |
- |
3,7 |
11,2 |
24,4 |
|
12 |
64,0 |
- |
16,0 |
5 |
15 |
2,08 |
2,35 |
- |
48,5 |
54,6 |
- |
6,7 |
42,2 |
46 |
Примечания: 1. В смесях использовали щебень из гравия Нижнечусовского месторождения, гравий и песок Тарловского месторождения, портландцемент марки «400» Белгородского завода и гранулированный доменный шлак Ново-Тульского металлургического завода.
2. Воды в состав смеси добавляют 5 %.
3. В графе прочность после 25 циклов замораживания и оттаивания для образцов, которые не выдержали указанного испытания, показано количество выдержанных циклов.
Содержание