МИНИСТЕРСТВО ТРАНСПОРТНОГО СТРОИТЕЛЬСТВА

ГОСУДАРСТВЕННЫЙ ВСЕСОЮЗНЫЙ ДОРОЖНЫЙ
НАУЧНО-ИССЛЕДОВАТЕЛЬСКИЙ ИНСТИТУТ
(СОЮЗДОРНИИ)

МЕТОДИЧЕСКИЕ РЕКОМЕНДАЦИИ

ПО ТЕХНОЛОГИИ УСТРОЙСТВА
ПОВЕРХНОСТНЫХ ОБРАБОТОК
С ПРИМЕНЕНИЕМ
КАТИОННЫХ БИТУМНЫХ ЭМУЛЬСИЙ

Одобрены Минтрансстроем

Москва 1977

Рекомендованы три способа устройства шероховатых поверхностных обработок на асфальтобетонных покрытиях с использованием катионных эмульсий: из щебня, черного дробленого песка и литых эмульсионно-минеральных смесей.

Приведены требования к материалам, составы эмульсий и эмульсионно-минеральных смесей, технология выполнения работ для каждого из перечисленных видов поверхностных обработок и нестандартные методики испытаний.

Предисловие

В последние годы большое значение придается совершенствованию технологии и повышению качества поверхностных обработок, устраиваемых на асфальтобетонных покрытиях для придания им надлежащей шероховатости. Одним из эффективных решений этой проблемы является применение в качестве вяжущего новой разновидности битумных эмульсий - катионных, имеющих ряд преимуществ не только перед вязкими битумами, но и перед анионными эмульсиями. Технология приготовления катионных эмульсий уже освоена многими эмульсионными базами в нашей стране.

В «Методических рекомендациях по технологии устройства поверхностных обработок с применением катионных битумных эмульсий» приведены три способа устройства шероховатых поверхностных обработок с использованием катионных эмульсий: из щебня, черного дробленого песка и литых эмульсионно-минеральных смесей. Первые два способа выполняют дорожными машинами, серийно выпускаемыми промышленностью.

Технология устройства шероховатых поверхностных обработок разрабатывалась на опытном строительстве в различных дорожно-климатических зонах. Опытные участки находятся в хорошем состоянии, поэтому в настоящее время есть все предпосылки для широкого внедрения в производство этих видов шероховатых поверхностных обработок.

Для устройства слоев из литых эмульсионно-минеральных смесей необходима специальная машина, которая в настоящее время серийно не выпускается, поэтому данный вид поверхностных обработок рекомендуется для опытного строительства.

Настоящие «Методические рекомендации» составлены канд. техн. наук И.А. Плотниковой и инж. Э.М. Рвачевой.

При составлении «Методических рекомендаций» учтены разработки, выполненные кандидатами технических наук И.И. Рабом, А.П. Архиповой, Л.Ф. Ступаковой, Г.Н. Фабрикантовым и Л.М. Гохманом.

Общие положения

1. Одним из мероприятий по обеспечению безопасности движения на автомобильных дорогах является устройство шероховатой поверхности покрытия. Значения коэффициента сцепления шины с таким покрытием для дорог I - III категорий в зависимости от условий движения регламентированы СНиП II-Д.5-72.

2. Эффективным способом обеспечения необходимого коэффициента сцепления на дорогах с асфальтобетонным покрытием является устройство поверхностных обработок из дробленых каменных материалов, имеющих шероховатую поверхность, состоящую из выступов и впадин, образуемых отдельными зернами, а также имеющую собственную шероховатость поверхности скола частиц каменного материала.

3. Стабильность во времени коэффициента сцепления шероховатых поверхностных обработок обеспечивается применением каменных материалов, устойчивых против шлифуемости под воздействием движения автомобильного транспорта.

4. Прочность и долговечность поверхностной обработки обусловлены в основном свойствами вяжущего, склеивающего зерна каменного материала между собой и приклеивающего их к покрытию.

5. Одним из наиболее эффективных путей повышения качества и долговечности шероховатых поверхностных обработок является использование активных вяжущих. К таким вяжущим относятся катионные битумные эмульсии. Благодаря наличию в их составе катионных поверхностно-активных веществ (ПАВ), названные эмульсии, в отличие от битумов и анионных эмульсий, вступают в активное физико-химическое взаимодействие с зернами каменного материала кислых пород, используемых при устройстве шероховатых поверхностных обработок. Катионные битумные эмульсии обеспечивают прочную склейку зерен каменного материала между собой и с покрытием, которое выдерживает в течение многих лет действие транспортных нагрузок и атмосферных факторов.

Катионные эмульсии позволяют проводить работы во влажную прохладную погоду (температура до +5 °С), использовать влажные каменные материалы и устраивать поверхностную обработку на влажном покрытии.

6. Разработано три способа устройства шероховатых поверхностных обработок на асфальтобетонных покрытиях с использованием катионных эмульсий:

из белого щебня (не обработанного органическим вяжущим);

черного дробленого песка (обработанного органическим вяжущим);

литых эмульсионно-минеральных смесей.

7. Шероховатые поверхностные обработки из белого щебня обеспечивают коэффициент сцепления шины с покрытием не менее 0,60. Такие поверхностные обработки рекомендуется устраивать на дорогах I - III категорий.

8. Шероховатые коврики из черного песка и литых эмульсионно-минеральных смесей обеспечивают коэффициент сцепления не менее 0,45. Такие коврики рекомендуется устраивать на дорогах III - IV категорий.

Устройство поверхностных обработок из белого щебня

9. Данный способ устройства поверхностных обработок заключается в приклейке зерен щебня к покрытию битумной эмульсией.

10. Для устройства щебеночных поверхностных обработок используют быстро- и среднераспадающиеся катионные эмульсии, отвечающие требованиям «Технических указаний по приготовлению и применению дорожных эмульсий» ВСН 115-75.

11. Составы эмульгаторов, рекомендуемые для приготовления катионных эмульсий, приведены в табл. 1.

Таблица 1

Наименование вещества

Количество вещества, вводимого

в воду, % массы воды

в битум, % массы битума

БП-3

-

2

Соляная кислота

1

-

БП-3

-

1

ОП-1-

1

-

Уксусная кислота

0,7

-

Амины C17 - C21

-

1 - 2

Соляная кислота

1

-

12. Для приготовления катионных эмульсий, используемых для устройства поверхностных обработок на дорогах с движением преимущественно легковых автомобилей, следует применять битумы марок БНД-60/90, БНД-90/130, БН-60/90, БН-90/130 (ГОСТ 22245-76 «Битумы нефтяные дорожные вязкие»).

13. Для приготовления катионных эмульсий, используемых для устройства поверхностных обработок на дорогах с большой грузонапряженностью, с движением преимущественно грузовых автомобилей, а также в районах с резко континентальным климатом, рекомендуется применять полимерно-битумное вяжущее (ПБВ). ПБВ приготавливают на эмульсионной базе путем введения в битум марки БНД-60/90 или БНД-90/130 дивинилстирольного термоэластопласта (ДСТ) (ТУ 38-40374) в количестве 2 - 2,5 % к массе битума. Технология приготовления ПБВ приведена в «Методических рекомендациях по строительству асфальтобетонных покрытий с применением полимерно-битумного вяжущего» (Союздорнии. М., 1975).

14. Технология приготовления катионных эмульсий из битумов и ПБВ и их свойства должны соответствовать ВСН 115-75.

15. Концентрация вяжущего в эмульсиях, используемых для поверхностных обработок, должна быть не менее 50 %.

16. Температура нагрева эмульсии при производстве работ в сухую и жаркую (свыше +20 °С) погоду не ограничивается. Во влажную погоду при температуре воздуха ниже 20 °С эмульсия должна иметь температуру 40 - 50 °С. Если с эмульсионной базы получена холодная эмульсия, ее следует подогреть в автогудронаторе при транспортировании к месту работ.

17. Для устройства поверхностных обработок с применением катионных эмульсий рекомендуется использовать щебень из трудношлифуемых изверженных горных пород марки не ниже 1000 фракций 5 - 10, 10 - 15 или 15 - 20 мм с преимущественно кубовидной формой зерен. В щебне не допускаются примеси пыли и глины, поэтому загрязненный щебень перед использованием необходимо промыть.

18. Прочность приклейки щебня битумной эмульсией предварительно проверяют испытанием по методике, приведенной в приложении 1.

19. Нормы расхода щебня и эмульсии назначают в соответствии с табл. 2.

20. Покрытие, на котором устраивают поверхностную обработку, непосредственно перед распределением эмульсии тщательно очищают от пыли и грязи механическими щетками, а при сухой жаркой погоде смачивают водой.

Таблица 2

Фракция щебня, мм

Расход щебня, м3 на 1000 м2 уложенного покрытия

Расход эмульсии при концентрации вяжущего 50 %, л на 1 м2 уложенного покрытия

5 - 10

9 - 11

1,6 - 1,8

10 - 15

11 - 12

1,8 - 2,0

15 - 20

12 - 14

2,0 - 2,4

21. Эмульсии в количестве 0,5 - 0,7 л/м2 (примерно 30 % нормы) разливают автогудронатором. Для их равномерного розлива необходима бесперебойная работа сопел и насоса, а также постоянная скорость перемещения автогудронатора.

Щебень в количестве 6 - 9 м3 на 1000 м2 покрытия (примерно 60 - 70 % нормы) равномерно распределяют по слою эмульсии самоходным распределителем Д-708А, автомобилем-самосвалом с навесным приспособлением (рис. 1) или другим механизмом, обеспечивающим равномерное распределение щебня. Названный механизм должен двигаться на расстоянии не более 20 м от автогудронатора и рассыпать щебень перед собой, не допуская наезда на слой эмульсии.

Сразу после распределения щебня разливают эмульсию в количестве 1,0 - 1,4 л на 1 м2 покрытия (примерно 70 % нормы), затем распределяют щебень в количестве 2,7 - 3,5 м3 на 1000 м2 покрытия (примерно 30 - 40 % нормы).

22. Прикатывают слой поверхностной обработки за 3 - 4 прохода легкого (5 т) катка с металлическими вальцами или катка на пневматических шинах с давлением в них не более 5 атм.

Операцию прикатки следует производить в момент начала распада эмульсии.

Рис. 1. Принципиальная схема распределителя щебня:

а - кузов автомобиля с распределителем; б - конструкпия распределителя;
1 - распределитель; 2 - цепь; 3 - гофрированное кровельное железо

23. После окончания работ по устройству поверхностной обработки в течение 1 - 2 суток скорость движения автомобильного транспорта ограничивают до 40 - 60 км/час.

Устройство поверхностных обработок из черного дробленого песка

24. Данный способ устройства поверхностных обработок заключается в приклейке к покрытию катионной битумной эмульсией слоя черного дробленого песка.

25. Дробленый песок должен изготавливаться из трудношлифуемых горных пород марки не ниже 1000. В качестве дробленого песка допускается применять отходы дробления вышеуказанных горных пород фракции 0 - 5 мм. Песок должен соответствовать требованиям ГОСТ 9128-76, п. 3.3.4.

26. Дробленый песок предварительно чернят вязким битумом или смесью битума с дегтем в асфальтобетонном смесителе по способу горячей обработки. Расход вяжущего составляет 2 - 3 % массы песка.

27. Эмульсию используют в соответствии с пп. 10 - 12 настоящих «Методических рекомендаций». Концентрация битума в эмульсии должна быть не менее 55 %.

28. На очищенное покрытие автогудронатором разливают эмульсию в количестве 0,7 - 1,0 л/м2. По слою эмульсии рассыпают черный песок в количестве 10 м3 на 1000 м2 покрытия с помощью навесного приспособления (см. рис. 1) или другого механизма, обеспечивающего равномерное распределение песка. Механизм, распределяющий черный песок, должен двигаться на расстоянии не более 20 м от автогудронатора.

29. Прикатку песка выполняют в соответствии с п. 22, а содержание слоя поверхностной обработки в процессе формирования - в соответствии с п. 23 настоящих «Методических рекомендаций».

Устройство поверхностных обработок из литых эмульсионно-минеральных смесей

30. Данный способ устройства поверхностных обработок заключается в нанесении на покрытие тонкого (не более 10 мм) слоя мелкозернистой эмульсионно-минеральной смеси.

31. Эмульсионно-минеральные смеси, предназначенные для устройства шероховатых поверхностных обработок, по составу и свойствам существенно отличаются от смесей, используемых для устройства конструктивных слоев дорожных одежд.

Особенностями таких смесей являются:

содержание сравнительно большого количества вяжущего (7 - 10 %) в пересчете на битум;

литая консистенция, позволяющая распределить смесь по покрытию тонким слоем путем розлива;

быстрое формирование слоя;

быстрый переход из жидкого в твердое состояние;

естественное уплотнение смеси за счет отделения и испарения воды;

образование шероховатой поверхности типа наждачной бумаги зернами минерального материала, выступающими над поверхностью слоя после испарения воды из смеси.

32. Литые эмульсионно-минеральные смеси для шероховатых поверхностных обработок относятся к типу песчаных. Их зерновой состав подбирается по принципу кривых плотных смесей (рис. 2).

Рис. 2. Кривые зернового состава литых
эмульсионно-минеральных смесей

33. Минеральная часть смесей состоит из природного песка, дробленого песка фракции 0 - 5 мм, полученной при дроблении изверженных горных пород прочностью не ниже 1000 кгс/см2, и минерального порошка. Соотношение природного и дробленого песков в смеси может меняться в пределах от 1:1 до 1:2 в зависимости от их зерновых составов и заданного коэффициента сцепления.

Пески должны отвечать требованиям ГОСТ 9128-76, пп. 3.3.1, 3.3.4, 3.3.5, минеральный порошок - требованиям ГОСТ 16557-71.

Минеральный порошок необходимо добавлять в смесь в таком количестве, чтобы общее содержание частиц мельче 0,071 мм было в пределах 5 - 15 %. Кроме вышеуказанных минеральных материалов, в литых эмульсионно-минеральных смесях могут быть использованы портландцемент, гашеная известь, цементная пыль, зола гидроулавливания и др.

34. При приготовлении литых эмульсионно-минеральных смесей для шероховатых поверхностных обработок используют средне- и медленнораспадающиеся катионные эмульсии, отвечающие требованиям ВСН 115-75.

Рекомендуемые составы эмульгаторов приведены в табл. 3.

Таблица 3

Наименование веществ

Количество вещества, вводимого

в воду, % массы воды

в битум, % массы битума

ATM С17 - C20 (четвертичная соль аммония)

1 - 2

-

Соляная кислота

0,2

-

БП-3

-

3 - 4

Соляная кислота

2,0

-

35. Для приготовления катионных эмульсий следует применять битумы согласно п. 12 настоящих «Методических рекомендаций». Концентрация битума в эмульсиях должна быть 50 - 60 %.

36. Минеральные материалы перед смешением с эмульсией обрабатывают водным раствором ПАВ - водой предварительного смачивания, ориентировочное количество которой дано в табл. 4. Расход воды уточняют на месте работ с учетом влажности минеральных материалов и их температуры.

В качестве ПАВ рекомендуется использовать четвертичные соли аммония (например ATM) в количестве 0,1 - 0,6 % или БП-3 в количестве 0,5 - 1,0 % к массе воды.

При использовании четвертичной соли аммония ее растворяют в горячей воде (60 - 70 °С) при перемешивании. После остывания раствор готов к употреблению.

БП-3 добавляют в горячую воду вместе с соляной кислотой в соотношении 1:0,5 и оставляют на сутки. 3атем тщательно перемешивают.

37. Рекомендуемые составы эмульсионно-минеральных смесей приведены в табл. 4.

Таблица 4

Компоненты эмульсионно-минеральной смеси

Количество компонентов, %, в составах

1

2

3

4

5

6

7

Песок природный

37

40

45

-

-

-

37

Песок дробленый

60

55

50

95

94

50 - 60

60

Минеральный порошок

3

5

5

-

-

-

-

Портландцемент

-

-

-

-

-

-

1 - 3

Цементная пыль

-

-

-

5

-

-

-

Зола сухого улавливания

-

-

-

-

6

-

-

Зола гидроулавливания

-

-

-

-

-

40 - 50

-

Вода смачивания

8 - 12

8 - 12

8 - 12

15

15

25 - 30

8 - 12

Эмульсия

14 - 20

14 - 20

14 - 20

15

15

15

14 - 20

38. Важным технологическим свойством песчаных эмульсионно-минеральных смесей является скорость распада эмульсии в смеси. Распад должен произойти немедленно после распределения смеси по поверхности покрытия. При слишком быстром распаде смесь преждевременно загустевает и становится неудобоукладываемой, при слишком медленном возникает опасность стекания жидкой смеси с покрытия или расслоения ее. В результате снижаются темпы выполнения работ.

Время от момента приготовления смеси до потери ею подвижности вследствие распада эмульсии называется временем схватывания. Оно зависит от целого ряда факторов: минералогического и зернового составов минеральной части, состава эмульсии, температуры, соотношения компонентов в смеси. По условиям технологии производства работ время схватывания должно составлять 1 - 2 мин. Методика оценки времени схватывания дана в приложении 2.

39. Время схватывания смеси можно регулировать двумя способами: изменением концентрации ПАВ в воде предварительного смачивания и изменением вида минерального порошка.

Увеличение времени схватывания достигается за счет увеличения содержания ПАВ в воде предварительного смачивания, использования в качестве минерального порошка портландцемента, использования минерального порошка, активированного катионным ПАВ.

Уменьшение времени схватывания достигается за счет уменьшения содержания ПАВ в воде предварительного смачивания, использования минерального порошка, активированного нефтяным битумом.

40. Приготовление и распределение песчаных эмульсионно-минеральных смесей для устройства шероховатого коврика производится специальной машиной (рис. 3).

Технология приготовления смесей следующая: в смеситель при непрерывном перемешивании подают минеральные материалы, затем воду предварительного смачивания; перемешивание производят до однородного увлажнения, затем подают эмульсию.

При использовании в качестве минерального порошка золы гидроулавливания ее рекомендуется подавать в смеситель после эмульсии.

41. Готовую эмульсионно-минеральную смесь распределяют при непрерывном движении машины по предварительно очищенному и обработанному эмульсией покрытию слоем 5 - 10 мм.

Уплотнения слоя катками не требуется.

Рис. 3. Схема работы машины для приготовления и распределения
литых эмульсионно-минеральных смесей:

1 - дробленый песок; 2 - природный песок; 3 - минеральный порошок;
4 - вода предварительного смачивания; 5 - эмульсия; 6 - транспортер;
7 - мешалка; 8 - заслонка; 9 - распределитель

42. Движение автомобилей можно открывать через 2 - 3 час после устройства слоя. Скорость движения следует ограничивать до 40 км/час в течение 1 - 2 суток.

43. Шероховатость слоя поверхностной обработки из литых эмульсионно-минеральных смесей контролируют маятниковым прибором МП-3.

Приложение 1

Методика определения прочности приклейки щебня битумной эмульсией

1. Применяемая аппаратура и принадлежности.

При определении прочности приклейки щебня битумной эмульсией применяют:

прибор по определению прочности приклейки (рис. 4);

металлические пластинки размером 100×100×2 мм;

ручной резиновый каток;

шпатель или нож;

фарфоровую чашку.

2. Подготовка к испытанию.

Подготовку образцов эмульсии и щебня к испытанию проводят следующим образом:

в фарфоровой чашке взвешивают необходимое количество (5 г) эмульсии;

по поверхности металлической пластинки распределяют эмульсию шпателем или ножом;

на эмульсию укладывают 50 щебенок чистого сухого испытуемого щебня;

пластинки выдерживают в течение суток при температуре 20 °С.

3. Проведение испытания.

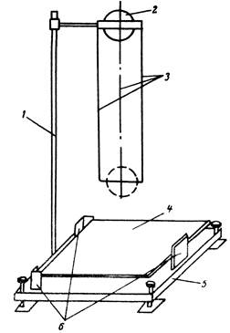
При испытании прочности приклейки щебня битумной эмульсией приготовленную пластинку устанавливают на трехточечную опору прибора так, чтобы слой щебня находился внизу, и на пластинку с высоты 50 см сбрасывают металлический шар массой 0,5 кг.

После чего определяют:

число щебенок, отлетевших с пленкой вяжущего (a);

число щебенок, закрепившихся на пластинке (b).

Значения a и b подставляют в формулу для определения прочности приклейки щебня П в процентах от количества щебенок:

Считается, что вяжущее выдержало испытание, если П = 100 %.

Рис. 4. Схема прибора по определению прочности
приклейки щебня битумной эмульсией:

1 - стойка; 2 - металлический шар; 3 - направляющие;
4 - пластина; 5 - подставка; 6 - опоры

Приложение 2

Методика определения времени схватывания литой эмульсионно-минеральной смеси

1. Применяемая аппаратура и принадлежности.

При определении времени схватывания эмульсионноминеральной смеси применяют:

весы технические, чашечные или циферблатные;

фарфоровую чашку;

металлический шпатель;

секундомер.

2. Подготовка к испытанию.

Подготовку к испытанию по определению времени схватывания смеси проводят следующим образом:

в фарфоровой чашке взвешивают необходимое количество испытуемых минеральных материалов и тщательно перемешивают;

добавляют необходимое количество воды предварительного смачивания и снова перемешивают;

вливают необходимое количество испытуемой эмульсии, одновременно включают секундомер и перемешивают смесь до однородного состояния.

3. Проведение испытания.

При испытании по определению времени схватывания смеси, периодически наклоняя чашку, определяют момент, когда смесь теряет текучесть.

4. Обработка результатов.

За время схватывания литой эмульсионно-минеральной смеси принимается время в секундах от момента введения битумной эмульсии в минеральные материалы до момента потери текучести смеси.

Содержание

Предисловие. 1

Общие положения. 2

Устройство поверхностных обработок из белого щебня. 2

Устройство поверхностных обработок из черного дробленого песка. 4

Устройство поверхностных обработок из литых эмульсионно-минеральных смесей. 5

Приложение 1. Методика определения прочности приклейки щебня битумной эмульсией. 7

Приложение 2. Методика определения времени схватывания литой эмульсионно-минеральной смеси. 8