МЕТОДИЧЕСКИЕ УКАЗАНИЯ
ГОСУДАРСТВЕННАЯ
СИСТЕМА ОБЕСПЕЧЕНИЯ ЕДИНСТВА
ИЗМЕРЕНИЙ
ВОЛЬТАМПЕРОММЕТР ЦИФРОВОЙ ПОСТОЯННОГО ТОКА
Щ1518
Методика поверки
МИ 1356-86
РАЗРАБОТАНА Министерством приборостроения, средств автоматизации и систем управления, ПО «Вибратор».
ИСПОЛНИТЕЛИ В.Р. Романовский, кандидат технических наук (руководитель темы), А.М. Ионтов, кандидат технических наук.
УТВЕРЖДЕНА НПО «ВНИИМ им. Менделеева» 03.07.1986
ВНЕСЕНО изменение № 1.
Настоящие методические указания распространяются на вольтамперомметр цифровой постоянного тока Щ1518, в дальнейшем - прибор, соответствующий требованиям ГОСТ 14014-82 и ТУ 25-7501.023-87, и устанавливают методику их первичной и периодической поверок.
При проведении поверки должны быть выполнены операции, указанные в табл. 1.
Таблица 1
|
Наименование операции |
Номер пункта методики поверки |
Обязательность проведения операции при |
|
|
первичной поверке |
эксплуатации и хранении |
||
|
Внешний осмотр |
Да |
Да |
|
|
Проверка электрической прочности изоляции электрических цепей прибора |
Да |
Нет |
|
|
Опробование |
Да |
Да |
|
|
Проверка работы дисплея |
Да |
Да |
|
|
Проверка режимов работы |
Да |
Да |
|
|
Проверка диапазонов измерений |
Да |
Да |
|
|
Определение метрологических характеристик |
Да |
Да |
|
|
Определение параметров входной цепи |
Да |
Да |
|
|
Определение основной погрешности в режиме измерения напряжения постоянного тока |
Да |
Да |
|
|
Определение основной погрешности в режиме измерения постоянного тока |
Да |
Да |
|
|
Определение основной погрешности в режиме измерения сопротивления постоянному току |
Да |
Да |
|
|
Определение подавления помех нормального вида |
Да |
Да |
|
|
Оформление результатов поверки |
Да |
Да |
|
При проведении поверки должны быть применены средства, указанные в табл. 2.
|
Номер пункта методики поверки |
Наименование образцового средства измерений или вспомогательного средства поверки; номер документа, регламентирующего технические требования к средству или метрологические и основные технические характеристики |
|
Компаратор напряжения Р3003; класс точности 0,0005, диапазон измерений 0 - 10 V Нормальный элемент Х488/1 класса точности 0,001 ГОСТ 1954-82 Делитель напряжения Р3027-2; класс точности 0,0005; ГОСТ 11282-75 Калибратор программируемый П320; напряжение от 0 до
1000 V; погрешность |
|
|
Установка для проверки прочности изоляции УПУ-1М, Uисп = 0 - 3 kV |
|
|
Резистор МЛТ-0,25-1 МΩ ± 5 % ОЖО.461.180ТУ; Конденсатор К71-4-1 μF ± 10 % ОЖО.461.086ТУ |
|
|
Катушки электрического сопротивления: Р331 - 1000 Ω - 0,01 %; Р331 - 10000 Ω - 0,01 %; Р332 - 100000 Ω - 0,01 %; Р4013-1 MΩ - 0,005 %; Р4023 - 10 MΩ - 0,005 %, ГОСТ 23737-79 |
|
|
Автотрансформатор РНО-250-2, диапазон измерений 0 - 250 V, Iнагр = 2 А, ГОСТ 23064-78 Трансформатор понижающий ТН1-127/220-50; коэффициент передачи от 1/30 до 1/200; частота 50 Hz; ГОСТ 11677-85 Осциллограф электронный С1-83; коэффициент развертки 0,5 - 5∙106 μs/дел |
Примечания: 1. Возможно применение средств, не приведенных в перечне, но обеспечивающих контроль метрологических характеристик поверяемых средств измерений с требуемой точностью. При замене оборудования, используемого для определения основной погрешности, на более точное допуски на поверку должны быть рассчитаны в соответствии с МИ 1202-86.
2. Каждое средство поверки должно иметь свидетельство государственной или ведомственной поверки.
При проведении поверки должны быть соблюдены требования безопасности по ГОСТ 22261-82.
4.1. При проведении поверки должны быть соблюдены следующие условия:
температура окружающего воздуха (20 ± 2) °С;
относительная влажность окружающего воздуха 30 - 80 %;
атмосферное давление 84 - 106,7 кПа (630 - 800 mm Hg);
напряжение питающей сети переменного тока (220 ± 22) V;
частота питающей сети (50 ± 0,5) Hz;
внешнее магнитное поле - магнитное поле Земли.
4.2. Перед проведением поверки должны быть выполнены следующие подготовительные работы:
1) прибор должен быть установлен в горизонтальное положение;
2) время выдержки прибора перед поверкой в нормальных условиях применения 4 h;
3) поверяемый прибор и средства поверки перед включением в сеть должны быть заземлены, а после включения прогреты под током в течение времени, указанного в технических описаниях и инструкциях по эксплуатации на эти изделия.
При внешнем осмотре должно быть установлено соответствие прибора постоянного тока Щ1518 следующим требованиям:
комплексность прибора должна соответствовать указанной в паспорте;
маркировка должна быть четко обозначена;
выводы соединительных шнуров должны иметь следующую окраску: высокопотенциальный - красную (допустима розовая, оранжевая, желтая); низкопотенциальный - белую; экранный - синюю (допустима голубая, зеленая);
наружные части прибора должны быть жестко закреплены;
механических повреждений, которые могли бы повлиять на работу, не должно быть;
внутри прибора не должны находиться незакрепленные предметы;
кнопки должны иметь четкую фиксацию положений.
Для проверки электрической прочности изоляции между цепью питания и корпусом следует:
1) вставить шнур питания в гнездо «220 V, 50 Hz» испытуемого прибора;
2) испытательное напряжение приложить между корпусом прибора и соединенными вместе штекерами вилки шнура питания. При этом кнопка СЕТЬ должна находиться в выключенном положении.
При испытаниях электрической прочности соединительного шнура (для измерения напряжений свыше 100 mV, токов свыше 100 μА) испытательное напряжение следует прикладывать между соединенными вместе высокопотенциальным, низкопотенциальным и экранным выводами соединительного шнура и его поверхностью.
При испытании щупа испытательное напряжении должно прикладываться между зажимами щупа и его корпусом.
Изоляция должна выдерживать в течение 1 min действие испытательного напряжения переменного тока частотой (50 ± 1) Hz, среднеквадратическое значение которого равно:
1,5 kV - между цепью питания и корпусом прибора;
3 kV - между высоковольтной и низковольтной жилами соединительного шнура и поверхностью его оболочки (для измерения напряжений свыше 100 mV, токов свыше 100 μА);
3 kV - между зажимами щупа и его корпусом.
Проверка соединительного шнура и щупа при 100 % установленного значения испытательного напряжения допускается только при первичной поверке. Последующие испытания допускается проводить только при 80 % значения испытательного напряжения.
Прибор считается выдержавшим испытания, если не произошло пробоя или перекрытия изоляции.
Включение прибора. При опробовании прибора следует подключить его к питающей сети, нажать кнопку на лицевой панели и подать на любой из входов регулируемое напряжение от источника, указанного в табл. 2.
Прогреть его в течение 1 h, установить режим автокалибровки в соответствии с техническим описанием и инструкцией по эксплуатации.
5.3.1. Проверка работы дисплея
Для проверки исправности дисплея необходимо, плавно регулируя напряжение на входе прибора, визуально убедиться в том, что в старших разрядах включены цифры 0 и 1, а во всех остальных декадах - цифры от 0 до 9; при изменении диапазона измерений меняется положение десятичного знака, а при перемене полярности входного напряжения изменяются символы «+» и «-» на дисплее.
Приборы, у которых невозможно получить хотя бы один из символов, указанных выше, или в значащем разряде появляется более одной цифры одновременно, бракуются.
5.3.2. Проверка режимов работы
Проверка режимов работы производится в режиме измерения напряжения постоянного тока.
При проверке работы прибора в режиме разовых измерений необходимо нажать кнопку РАЗ и убедиться, что каждое изменение напряжения на входе прибора будет регистрироваться на дисплее только после повторного нажатия кнопки РАЗ.
При проверке работы прибора в режиме периодических измерений необходимо нажать кнопку ПЕРИОД и, подавая на вход прибора различные значения напряжений, убедиться, что на дисплее будет регистрироваться каждое изменение напряжения на входе прибора.
Проверка работы прибора в режиме дистанционного управления производится в процессе выполнения интерфейсной функции RL в соответствии с разделом 5 технического описания и инструкции по эксплуатации.
5.3.3. Проверка диапазонов измерений
Проверка автоматического выбора диапазона измерений, кроме диапазона измерений 0 - 1000 V, производится в режиме периодических измерений следующим образом:
1) включить кнопку АВТ;
2) подключить ко входу прибора источник калиброванных напряжений (например, П320);
3) в каждом из диапазонов измерений 0 - 0,1; 0 - 1; 0 - 10; 0 - 100 V подать на вход прибора напряжение 0,9 Un (Un - конечное значение диапазона измерений); убедиться при этом, что диапазон измерений выбран правильно;
4) увеличивая напряжение на входе прибора ступенями по 0,1 Un, убедиться, что переключение на больший диапазон измерений происходит при напряжении, равном 1,1 Un;
5) в каждом из диапазонов измерений 0 - 1; 0 - 10; 0 - 100 и 0 - 1000 V подать на вход прибора напряжение 0,12 Un; убедиться при этом, что диапазон измерений выбран правильно;
6) уменьшая напряжение на входе прибора ступенями по 0,01 Un, убедиться, что переключение на меньший диапазон измерений происходит при числе не более 010000.
5.4.1. Определение параметров входной цепи прибора
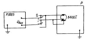
5.4.1.1. Входной ток прибора следует определять косвенным методом в режиме периодических измерений в диапазоне 0 - 0,1 V при времени измерения 400 ms по схеме рис. 1.
Производятся измерения напряжения постоянного тока при обоих положениях переключателя S.
Значение входного тока Iвх в амперах вычисляется по формуле
|
|
(1) |
где U1 - показание испытуемого прибора при положении «1» переключателя S, V;
U2 - показание испытуемого прибора при положении «2» переключателя S, V;
R - сопротивление по схеме рис. 1, Ω.
Примечания: 1. Допускается при определении входного тока использовать входной фильтр прибора.
2. Допускается при определении входного тока использовать калибратор тока.
Рис. 1. Схема проверки входного тока и входного сопротивления прибора
С -
конденсатор К71-4-1 μF ±10 %; Р - испытуемый прибор; R -
резистор МЛТ-0,25-1 MΩ ±5 %;
S - переключатель; ВП, НП и Э - высокопотенциальный, низкопотенциальный
и экранный выводы
соединительного шнура; Э' - электростатический экран
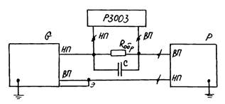
5.4.2. Определение основной погрешности в режиме измерения напряжения постоянного тока
5.4.2.1. Определение основной погрешности прибора должно осуществляться при обеих полярностях измеряемого напряжения сравнением показаний поверяемого и образцового приборов в режиме периодических измерений для времени измерений 80, 400 и 20 ms по схеме рис. 2 для диапазонов измерений 0 - 0,1, 0 - 1 и 0 - 10 V и рис. 3 - для диапазонов 0 - 100 и 0 - 1000 V для значений, приведенных в табл. 3.

Рис. 2. Схема определения основной погрешности прибора в
диапазонах измерений
0 - 0,1; 0 - 1 и 0 - 10 V
Р3003 - компаратор напряжений; Р - испытуемый прибор; S - переключатель полярности
Рис. 3. Схема определения основной погрешности прибора в
диапазонах измерений
0 - 100 и 0 - 1000 V
Е - делитель
напряжения класса точности 0,0005 (например, Р3027-2);
G - регулируемый источник напряжения; нестабильность Uвых не более 0,0005 % за 30
min;
шумы на выходе не более 0,0005 % (например, П320); Р - испытуемый
прибор;
Робр - образцовый прибор класса точности 0,0005 (например,
Р3003); S1, S2 - переключатели
Предел допускаемых значений абсолютной основной погрешности Δg рассчитывается по формулам, приведенным в табл. 5а.
Определение основной погрешности прибора следует начинать с основного диапазона измерений 0 - 10 V.
|
Время измерения, ms |
Диапазон измерений, V |
Поверяемая точка, N0 |
Абсолютное значение предела допускаемых значений абсолютной основной погрешности, V |
|||
|
│Δg│ рассчитанное по формулам табл. 5а |
при поверке прибора │Δк1│ |
при предъявительских испытаниях │Δк2│ |
при превышении которого прибор бракуется │Δкmax│ |
|||
|
80 |
0 - 0,1 |
0,000010 |
5,0∙10-6 |
4,5∙10-6 |
3,6∙10-6 |
5,0∙10-6 |
|
0,050000 |
10,0∙10-6 |
9,0∙10-6 |
7,2∙10-6 |
10,3∙10-6 |
||
|
0,100000 |
15,0∙10-6 |
13,5∙10-6 |
11,0∙10-6 |
15,5∙10-6 |
||
|
0 - 1 |
0,00050 |
5,0∙10-5 |
4,5∙10-5 |
3,6∙10-5 |
5,0∙10-5 |
|
|
0,50000 |
10,0∙10-5 |
9,0∙10-5 |
7,2∙10-5 |
10,3∙10-5 |
||
|
1,00000 |
15,0∙10-5 |
13,5∙10-5 |
11,0∙10-5 |
15,5∙10-5 |
||
|
0 - 10 |
00,0050 |
5,0∙10-4 |
4,5∙10-4 |
3,6∙10-4 |
5,0∙10-4 |
|
|
01,0000 |
5,5∙10-4 |
5,0∙10-4 |
4,0∙10-4 |
5,6∙10-4 |
||
|
03,0000 |
6,5∙10-4 |
5,9∙10-4 |
4,7∙10-4 |
6,7∙10-4 |
||
|
05,0000 |
7,5∙10-4 |
6,8∙10-4 |
5,4∙10-4 |
7,8∙10-4 |
||
|
08,0000 |
9,0∙10-4 |
8,1∙10-4 |
6,5∙10-4 |
9,4∙10-4 |
||
|
10,0000 |
10,0∙10-4 |
9,0∙10-4 |
7,2∙10-4 |
10,5∙10-4 |
||
|
10,2000 |
10,0∙10-4 |
9,1∙10-4 |
7,3∙10-4 |
10,6∙10-4 |
||
|
0 - 100 |
000,050 |
5,0∙10-3 |
4,5∙10-3 |
3,6∙10-3 |
5,5∙10-4 |
|
|
050,000 |
10,0∙10-3 |
9,0∙10-3 |
7,8∙10-3 |
12,5∙10-4 |
||
|
100,000 |
15,0∙10-3 |
13,5∙10-3 |
11,0∙10-3 |
19,5∙10-4 |
||
|
0 - 1000 |
0000,50 |
5,0∙10-2 |
4,5∙10-2 |
3,6∙10-2 |
5,5∙10-2 |
|
|
0500,00 |
10,0∙10-2 |
9,0∙10-2 |
7,2∙10-2 |
12,5∙10-2 |
||
|
1000,00 |
15,0∙10-2 |
13,5∙10-2 |
11,0∙10-3 |
19,5∙10-2 |
||
|
400 |
0 - 10 |
00,5000 |
2,8∙10-4 |
2,5∙10-4 |
2,0∙10-4 |
2,8∙10-4 |
|
05,0000 |
6,2∙10-4 |
5,6∙10-4 |
4,5∙10-4 |
6,5∙10-4 |
||
|
10,0000 |
10,0∙10-4 |
9,0∙10-4 |
7,2∙10-4 |
10,5∙10-4 |
||
|
20 |
0 - 10 |
00,500 |
5,3∙10-3 |
4,8∙10-3 |
3,8∙10-3 |
5,3∙10-3 |
|
05,000 |
7,5∙10-3 |
6,8∙10-3 |
5,4∙10-3 |
7,6∙10-3 |
||
|
10,000 |
10,0∙10-3 |
9,0∙10-3 |
7,2∙10-3 |
10,1∙10-3 |
||
Примечание. Указанные в табл. 3 значения напряжений допускается устанавливать с погрешностью ±1 %.
При предъявительских испытаниях прибор считается выдержавшим испытание, если его погрешность │Δ│ не превышает продела допускаемой абсолютной основной погрешности │Δк2│.
Значения │Δк2│ при предъявительских испытаниях прибора для каждой из поверяемых точек, приведенные в табл. 4, определяются по формуле
|
│Δк2│ = 0,8∙γ∙│Δg│, |
(2) |
где 0,8 - коэффициент, установленный в соответствии с правилами приемки при предъявительских испытаниях по ГОСТ 22261-82;
γ - коэффициент, выбираемый в соответствии с МИ 1202-86.
При всех видах испытаний прибор считается выдержавшим испытания, если его погрешность на каждой поверяемой точке не превышает предела допускаемых значений абсолютной основной погрешности │Δк1│.
Значение │Δк1│ определяется по формуле
|
│Δк1│ = γ∙│Δg│. |
(3) |
При проведении поверки прибор считается выдержавшим испытания, если его погрешность на каждой поверяемой точке не превышает │Δк1│ и не выдержавшим испытаний, если его погрешность превышает │Δкmax│, указанных в табл. 3.
Значение │Δкmax│ определяется как сумма погрешностей испытуемого прибора и образцового оборудования на каждой поверяемой точке.
Если погрешность прибора в каждой из поверяемых точек │Δ│ удовлетворяет условию │Δк1│ ≤ │Δ│ ≤ │Δкmax│, то вопрос о признании прибора годным должен быть решен дополнительным испытанием на новом комплекте оборудования для данного прибора. Если и при повторном испытании │Δ│ > │Δк1│, то прибор бракуется.
5.4.2.2. Определение абсолютной основной погрешности прибора │Δ│ для любой поверяемой точки, приведенной в табл. 3, должно производиться в следующей последовательности:
1) включить прибор в сеть и прогреть его в течение 1 h;
2) откалибровать при необходимости встроенный эталон прибора по внешнему в соответствии с разделом 13 технического описания и инструкции по эксплуатации;
3) нажать кнопку КАЛИБР, при этом должна произойти калибровка прибора; в дальнейшем калибровка прибора будет осуществляться каждый час автоматически по заданной программе;
4) установить на поверяемом приборе режим и диапазон измерений, соответствующий выбранной поверяемой точке, приведенной в табл. 3;
5) установить по поверяемому прибору значение N0, равное выбранной поверяемой точке;
6) записать полученное показание Ni образцового прибора;
7) произвести расчет погрешности по формуле
|
Δ = N0 - Ni |
(4) |
8) повторить перечисления 4 - 7 для всех значений поверяемых точек, приведенных в табл. 3.
Примечания: 1. Допускается определять основную погрешность прибора с помощью мер и средств измерений, обладающих погрешностью в три раза меньшей погрешности испытуемого прибора.
2. При работе с включенным фильтром в диапазоне 0 - 0,1 V необходимо ввести отрицательное смещение, равное значению отсчета при закороченных концах соединительного шнура (функция А + X).
Прибор считается выдержавшим испытание, если его основная погрешность не превышает значения │Δк1│, указанного в табл. 3.
5.4.3. Определение основной погрешности приборе в режиме измерения постоянного тока следует проводить по методике п. 5.4.2.2 по схеме рис. 4.

Рис. 4. Схема определения основной погрешности
прибора при измерении постоянного тока
G - источник
тока, например, калибратор П320; Rобр - образцовая катушка
сопротивления Р331, Р332 или Р4022 (значения Rобр для каждого диапазона измерений
приведены в табл. 4); Р3003 - компаратор напряжений; Р - испытуемый
прибор;
С - конденсатор К71-4-1 μF ±10 %.
Проверку прибора следует проводить в режиме периодических измерений для любой полярности измеряемого тока для показаний прибора, приведенных в табл. 4.
|
Конечное значение диапазона измерений, μА |
Поверяемая точка, N0 |
Значение напряжения Р3003, V |
Значение образцовой катушки сопротивления Rобр, Ω |
Абсолютное значение предела допускаемых значений абсолютной основной погрешности, μА |
|||
|
│Δg│ рассчитанное по формулам табл. 5а |
при поверке прибора │Δк1│ |
при предъявительских испытаниях │Δк2│ |
при превышении которого прибор бракуется │Δкmax│ |
||||
|
1 |
1,0000 |
0,100000 |
100000 |
100,0∙10-5 |
90,0∙10-5 |
72,6∙10-5 |
110,0∙10-5 |
|
10 |
10,000 |
0,10000 |
10000 |
100,0∙10-4 |
90,0∙10-4 |
72,6∙10-4 |
110,0∙10-4 |
|
100 |
100,00 |
0,10000 |
1000 |
100,0∙10-3 |
90,0∙10-3 |
72,6∙10-3 |
110,0∙10-3 |
|
1000 |
1000,0 |
1,00000 |
1000 |
100,0∙10-2 |
90,0∙10-2 |
72,6∙10-2 |
110,0∙10-2 |
|
10000 |
10000 |
10,0000 |
1000 |
100,0∙10-1 |
90,0∙10-1 |
72,6∙10-1 |
110,0∙10-1 |
Примечание. Указанные в табл. 4 поверяемые точки устанавливаются с погрешностью ±1 %.
Прибор считается выдержавшим испытание, если его основная погрешность не превышает значений, указанных в табл. 4 (Δкi).
5.4.4. Определение основной погрешности прибора и режима измерения сопротивления постоянному току следует проводить по методике п. 5.4.2.2 по схеме рис. 5.

Рис. 5. Схема определения основной погрешности прибора в
режиме измерения
сопротивления постоянному току
Р -
испытуемый прибор; Rобр - образцовая катушка сопротивления
(значения Rобр приведены в табл. 5);
С - конденсатор K71-4-I μF ±10 %
Проверку следует проводить в режиме периодических измерений для показаний прибора, приведенных в табл. 5.
Таблица 5
|
Конечное значение диапазона измерений, kΩ |
Поверяемая точка, N0 |
Абсолютное значение предела допускаемых значений абсолютной основной погрешности, kΩ |
|||
|
│Δg│ рассчитанное по формулам табл. 5а |
при поверке прибора │Δк1│ |
при предъявительских испытаниях │Δк2│ |
при превышении которого прибор бракуется │Δкmax│ |
||
|
1 |
1,0000 |
100,0∙10-5 |
90,0∙10-5 |
72,0∙10-5 |
110,0∙10-5 |
|
10 |
10,000 |
50,0∙10-4 |
45,0∙10-4 |
36,0∙10-4 |
60,0∙10-4 |
|
100 |
100,00 |
50,0∙10-3 |
45,0∙10-3 |
36,0∙10-3 |
60,0∙10-3 |
|
1000 |
1000,0 |
50,0∙10-2 |
45,0∙10-2 |
36,0∙10-2 |
60,0∙10-2 |
|
10000 |
10000 |
100,0∙10-1 |
45,0∙10-1 |
72,0∙10-1 |
110,0∙10-1 |
Примечание. Поверяемые точки выставляются с помощью образцовых катушек с погрешностью установления ±1 %.
Прибор считается выдержавшим испытание, если его основная погрешность не превышает значений, указанных в табл. 5 (Δк1).
Примечания: 1. При измерении сопротивления в диапазоне 0 - 1 kΩ при необходимости ввести отрицательное смещение, равное значению отсчета при закороченных концах соединительного шнура (режим А + Х).
2. Измерение сопротивления в диапазонах 0 - 1000 и 0 - 10000 kΩ рекомендуется производить с включенным фильтром.
|
Измеряемая величина |
Конечное значение диапазона измерений |
Предел допускаемой абсолютной основной погрешности, Δg, для времени измерения |
||
|
400 ms |
80 ms |
20 ms |
||
|
Uz |
0,1 V |
(125Nx + 2,5)∙10-6 V |
(100Nx + 5)∙10-6 V |
(50Nx + 5)∙10-5 V |
|
1 V |
(12,5Nx + 2,5)∙10-5 V |
(10Nx + 5)∙10-5 V |
(5Nx + 5)∙10-4 V |
|
|
10 V |
(0,75Nx + 2,5)∙10-4 V |
(0,5Nx + 5)∙10-4 V |
(0,5Nx + 5)∙10-3 V |
|
|
100 V |
(0,125Nx + 2,5)∙10-3 V |
(0,1Nx + 5)∙10-3 V |
(0,05Nx + 5)∙10-2 V |
|
|
1000 V |
(0,0125Nx + 2,5)∙10-2 V |
(0,01Nx + 5)∙10-2 V |
(0,005Nx + 5)∙10-1 V |
|
|
Iz |
1 μА |
(9Nx + 1)∙10-4 μА |
|
|
|
10 μА |
(0,9Nx + 1)∙10-3 μА |
|
|
|
|
100 μА |
(0,09Nx + 1)∙10-2 μА |
|
|
|
|
1000 μА |
(0,009Nx + 1)∙10-1 μА |
|
|
|
|
10000 μА |
(0,0009Nx + 1) μА |
|
|
|
|
R |
1 kΩ |
(9Nx + 1)∙10-4 kΩ |
|
|
|
10 kΩ |
(0,4Nx + 1)∙10-3 kΩ |
|
|
|
|
100 kΩ |
(0,04Nx + 1)∙10-2 kΩ |
|
|
|
|
1000 kΩ |
(0,004Nx + 1)∙10-1 kΩ |
|
|
|
|
10000 kΩ |
(0,0009 Nx + 1) kΩ |
|
|
|
Примечание. Nx - показание испытуемого прибора.
5.4.5. Определение подавления помех нормального вида
Определение подавления помех нормального вида должно производиться в режиме периодических измерений для времени измерения 80 и 20 ms по схеме рис. 6.

Рис. 6. Схема определения подавления помех нормального вида
Р -
испытуемый прибор; РV - электронный осциллограф (например, Cl-83);
S - переключатель; Т1 - автотрансформатор 250 V; 2,0 А;
Т2 - трансформатор понижающий с коэффициентом передачи 1:100, частотой 50 Hz;
ВП, НП и Э - высокопотенциальный, низко потенциальный и экранный выводы
соединительного шнура;
Э' - электростатический экран
Операции должны производиться в следующей последовательности:
1) нажать кнопки «Ш» и «80 ms»;
2) подключить ко входу прибора источник напряжения переменного тока амплитудой 10 V (U = 1,41 U2) и частотой (50 ± 0,5) Hz;
U2 - напряжение источника переменного тока, контролируемое электронным осциллографом РV, V;
3) установить переключатель S в положение «1» и записать показание испытуемого прибора - U1, V;
4) установить переключатель S в положение «2» и записать показание испытуемого прибора - U3, V;
5) вычислить и записать U1 - U3, поставив переключатель в положение «1»;
6) убедиться, что показание испытуемого прибора не превышает 1 mV;
7) вычислить коэффициент подавления помех нормального вида K по формуле
|
|
(5) |
где U1 - показание испытуемого прибора при положении «1» переключателя S, V;
U2 - напряжение источника переменного тока, V;
U3 - показание испытуемого прибора при положении «2» переключателя S, V;
8) нажать кнопку «20 ms»;
9) повторить операции по перечислениям 3 - 7 и убедиться, что результат измерения не превышает 100 mV.
Прибор считается выдержавшим испытание, если величина коэффициента подавления помех не менее 86 dB для времени измерения 400 ms; не менее 80 dB для времени измерения 80 ms; не менее 40 dB для времени измерения 20 ms.
6.1. При положительных результатах поверки на прибор ставится клеймо; в паспорте производится запись о годности прибора к применению, ставится дата поверки и подпись лица, выполнившего поверку.
Поверка прибора должна производиться не позже, чем через год после выпуска в обращение и не реже одного раза в год при последующей эксплуатации.
Результаты поверки записываются в протокол поверки (см. приложение).
6.2. При отрицательных результатах поверки прибор не допускается к выпуску из ремонта; находящийся в эксплуатации прибор должен быть запрещен к дальнейшему применению, а в паспорте производится запись о непригодности прибора к применению с указанием причин. В этом случае клеймо предыдущей поверки должно быть погашено.
6.3. После проведения ремонта должна осуществляться повторная поверка прибора.
|
||||||||||||||||||||||||||||||||||||||||||||||||||||||||||||||||||||||||||||||||||||||||||||||||||||||||||||||||||||||||||||||||||||||||||||||||||||||||||||||||||||||||||||||||||||||||||||||||||||||||||||
Содержание
|
4. Условия поверки и подготовка к ней. 2 5.2. Проверка электрической прочности изоляции электрических цепей прибора. 3 5.4. Определение метрологических характеристик. 4 |