|
МИНИСТЕРСТВО
ПРИРОДНЫХ РЕСУРСОВ |
|
|
Федеральная
служба |
|
|
РУКОВОДЯЩИЙ ДОКУМЕНТ |
РД 52.08.758-2011 |
УРОВНЕМЕР ГИДРОСТАТИЧЕСКИЙ DST-22
Методика поверки
Санкт-Петербург 2011
Данный документ регламентирует поверку гидростатических уровнемеров типа DST-22 на местах эксплуатации с помощью калибратора давления типа СРН 6000.
Предисловие
1 РАЗРАБОТАН Федеральным государственным бюджетным учреждением «Государственный гидрологический институт» (ФГБУ «ГГИ») Росгидромета.
2 РАЗРАБОТЧИКИ: Д.А. Коновалов, канд. физ. наук (руководитель темы); Г.В. Рышма, канд. тех. наук; А.Ю. Тимофеев, ведущий инженер.
3 СОГЛАСОВАН с УГТР Росгидромета 17.10.2011, ФГУП «ВНИИМ им. Д.И. Менделеева» 05.10.2011, ФГБУ «НПО «Тайфун» 12.09.2011.
4 УТВЕРЖДЕН заместителем руководителя Росгидромета И.А. Шумаковым 25.10.2011.
5 ЗАРЕГИСТРИРОВАН ФГБУ «НПО «Тайфун» за номером РД 52.08.758-2011 от 07.11.2011.
6 ВВЕДЕН ВПЕРВЫЕ.
СОДЕРЖАНИЕ
РУКОВОДЯЩИЙ ДОКУМЕНТ
|
УРОВНЕМЕР ГИДРОСТАТИЧЕСКИЙ DST-22 |
|
Методика поверки |
Дата введения - 2012-04-01
1.1. Настоящий руководящий документ распространяется на гидростатический уровнемер типа DST-22 (далее - уровнемер DST-22) производства компании SEBA Hydrometrie GmbH (Германия), представляющий собой комбинированный гидростатический датчик для измерения уровня поверхностных и подземных вод, уровня водных емкостей и резервуаров [1].
Руководящий документ устанавливает методику поверки уровнемера DST-22 на местах эксплуатации при помощи комплекта калибратора давления типа СРН 6000 (далее - комплект СРН 6000) производства компании WIKA GmbH & Со. (Германия) [2].
Для регистрации измеренных данных применяется многоканальный регистратор (контроллер) «UNILOG» (далее - регистратор UNIEOG) производства фирмы SEBA Hydrometrie GmbH (Германия) [3].
1.2. Настоящий руководящий документ предназначен для периодической поверки уровнемеров DST-22 в метрологических службах организаций Росгидромета, аккредитованных на право проведения поверки в установленном порядке. Первичная поверка уровнемера DST-22 производится по МП 2550-0138. Межповерочный интервал составляет 1 год.
В настоящем руководящем документе использованы ссылки на следующие нормативные документы:
- ГОСТ 8.009-84. Государственная система обеспечения единства измерений. Нормируемые метрологические характеристики средств измерений;
- ПР 50.2.006-94. Государственная система обеспечения единства измерений. Порядок проведения поверки средств измерений;
- РТ 02-2008. Организация поверки средств измерений и порядок разработки документов на методики поверки;
- МП 2550-0138-2010. Комплексы гидрологические автоматизированные АГК-1. Методика поверки.
3.1. Организация поверки осуществляется в соответствии с требованиями РТ 02.
3.2. При проведении периодической поверки уровнемеров DST-22 должны выполняться операции, представленные в таблице.
|
Наименование операции поверки |
Номер подраздела |
|
Внешний осмотр |
|
|
Опробование |
|
|
Выполнение измерений |
|
|
Определение метрологических характеристик |
4.1. Проведение поверки уровнемера DST-22 [1] осуществляется с помощью комплекта СРН 6000 [2], который включает в себя:
а) калибратор давления СРН 6000 (далее - калибратор СРН 6000);
б) преобразователь давления СРТ 6000 (далее - эталонный датчик СРТ 6000):
|
- диапазон измеряемого уровня воды, м |
от 0 до 10; |
|
- предел допускаемой приведенной погрешности, % |
0,25; |
в) устройство создания давления СРР 30 (далее - насос СРР 30).
4.2. При проведении поверки используются вспомогательные средства измерений:
а) термометр:
|
- диапазон измерения температуры, °С |
от 0 до +45; |
|
- погрешность измерения температуры, °С, не более |
±0,5; |
б) средство измерения влажности воздуха:
|
- диапазон измерения, % |
от 0 до 100; |
|
- погрешность измерения, %, не более |
±10; |
в) средство измерения атмосферного давления:
|
- диапазон измерения, кПа |
от 66,7 до 106,7; |
|
- погрешность измерения, кПа, не более |
±1. |
4.3. При проведении поверки используется дополнительное оборудование - регистратор UNILOG [3].
Допускается применение средств измерений, имеющих аналогичные технические характеристики и обеспечивающих определение метрологических характеристик поверяемых средств измерений с требуемой точностью.
4.4. Все эталонные и вспомогательные средства измерений должны иметь действующие свидетельства по их поверке.
5.1. К выполнению поверки допускаются лица - поверители, которым предоставлено право поверки средств гидрометеорологических измерений. Поверитель должен быть ознакомлен с нормативной и технической документацией на средства измерений и объект поверки.
5.2. При подготовке и проведении поверки уровнемеров следует соблюдать требования по технике безопасности, установленные в эксплуатационной документации на приборы [1] - [3].
6.1. Поверка уровнемеров DST-22 проводится в месте его непосредственной установки.
6.2. При проведении поверки должны соблюдаться следующие условия:
|
- температура окружающего воздуха, °С |
от 0 до ±45; |
|
- относительная влажность воздуха, %. |
от 0 до 85; |
|
- атмосферное давление, кПа |
от 66,7 до 106,7. |
7.1. Перед проведением поверки уровнемер DST-22 следует извлечь из воды и просушить. В зависимости от способа установки изъятие уровнемера DST-22 выполняется двумя способами.
1. Уровнемер DST-22 размещен в трубе. Со стороны поверяемого датчика вытягивается кабель на длину, достаточную для извлечения уровнемера DST-22 из воды;
2. Уровнемер DST-22 размещен в цилиндрической конструкции, представленной на рисунке А.1 (приложение А). Необходимо вытянуть достаточное количество кабеля, затем изъять уровнемер DST-22 из воды.
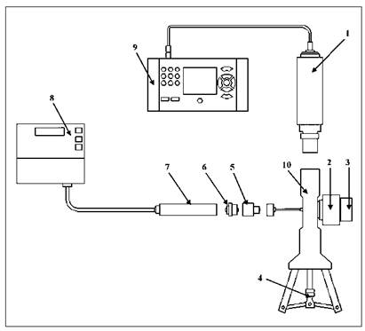
7.2. После изъятия уровнемера DST-22, подключенного к регистратору UNILOG (см. руководство по эксплуатации [3]), необходимо подключить его к элементам комплекта СРН 6000 в соответствии со схемой (рисунок 1).
Во время сборки и разборки схемы, вентиль спуска/запора давления 3 (см. рисунок 1) должен быть вывернут, чтобы избежать повышенного давления в системе и повреждения мембран эталонного датчика СРТ 6000 и уровнемера DST-22.
7.3. Эталонный датчик СРТ 6000 1 подключается к насосу СРР 30 10 (см. рисунок 1).
7.4. Уровнемер DST-22 7 подключается к насосу СРР 30 10 посредством дополнительных переходников № 15 и № 26. Предварительно в месте посадки уровнемера DST-22 необходимо плотно обмотать резьбу переходника № 1 уплотнительным материалом (например, лентой ФУМ) для исключения утечки воздуха или предпринять другие меры по герметизации узла.
Сборка системы должна выполняться при полном отсутствии влаги на резьбовых элементах, мембране уровнемера DST-22 и внутренних полостях переходников.
Рисунок 1 - Схема сборки системы для поверки уровнемера DST-22:
1 - эталонный датчик СРТ 6000;
2 - вентиль регулировки давления;
3 - вентиль спуска/запора давления; 4 - стопорные гайки; 5 -переходник № 1
(входит в комплект поставки); 6 - переходник № 2 (дополнительная
комплектация); 7 - уровнемер DST-22; 8 - регистратор
UNILOG; 9 - калибратор СРН 6000; 10 - насос СРР 30
7.5. Интерфейс пользователя калибратора СРН 6000 включает в себя «Меню установок», пронумерованные клавиши, клавиши выбора и подтверждения команд и др. [2]. Калибратор СРН 6000 имеет три режима работы:
- «MEASUARING/измерения»*;
- «CALIBRATION/калибровка»;
- «SWITCH TEST/проверка переключателей».
7.6. Для поверки уровнемера DST-22 необходимо использовать режим «CALIBRATION/калибровка».
________
* Здесь и далее через дробь приведен перевод элементов интерфейса калибратора СРН 6000 на русский язык.
Рисунок 2 - Настройки режима «CALIBRATION/калибровка»
Перед началом поверки выполняется настройка режима, как показано на рисунке 2. С этой целью следует выставить следующие параметры настройки:
- в поле «Testitem/тип» поверяемого устройства установить «mechan»;
- поле «IDno/заводской номер» поверяемого уровнемера и «Tag no/порядковый или иной номер» поверки не менять, так как данная информация нигде не сохраняется;
- в полях «R.-Start/начало» и «Range-End/конец» диапазона измерений установить «0» и «1000» соответственно;
- в поле «Class/класс» указан тип погрешности, определяемой калибратором СРН 6000. Информационный канал поверяемого уровнемера DST-22 к калибратору СРН 6000 не подключен. Так как калибратор не воспринимает измерительную информацию уровнемера, заданное значение менять не следует;
- если выделить поле «Unit/размерность» и нажать клавишу с левой или правой стрелкой, появится список единиц измерения давления, как показано на рисунке 3; далее необходимо выделить размерность cmH2O*. Ниже списка в поле «Resolution/разрядность» установить «0.0» и нажать «Select/выбор» [2];
РД 52.08.758-2011
- в поле «Pressuretype/тип» давления установить «rel» (избыточное);
- в поле «Medium/среда» установить «gas»;
- в поле «PowerSupply/наличие источника питания» установить «OFF».
________
* Используемая калибратором СРН 6000 размерность давления cmH2O см вод. ст., соответствующая размерности уровня воды, необходима потому, что регистратор UNILOG также выдает результаты измерения в см.
Рисунок 3 - Настройки единиц измерения давления
7.7. В режиме «CALIBRATION/калибровка» следует установить измерительные точки:
- в поле «Set/установка» (левая сторона) заданное по умолчанию значение «0» не менять;
- выделить правую сторону поля «Set/установка» (появится черный прямоугольник) и с помощью клавиш со стрелками влево-право установить значение поля «TestPoint/измерительные точки», равным «1». С помощью цифровых клавиш калибратора СРН 6000 назначить значение первой измерительной точки, равной «0»;
- не снимая выделения поля «Set/установка» (правая сторона), с помощью клавиши с правой стрелкой установить значение поля «TestPoint/измерительные точки», равным «2». С помощью цифровых клавиш назначить значение второй измерительной точки, равным «500.0»;
- далее аналогично ввести значения всех измерительных точек: «0.0», «500.0», «1000.0», «500.0», «0.0» см вод. ст.
Калибратор СРН 6000 сохранит в памяти все измерительные точки. После их ввода нажать клавишу «Select/выбор» на панели калибратора СРН 6000. Все значения параметров настройки и точек поверки сохранятся в памяти калибратора СРН 6000; система готова для непосредственных измерений.
7.8. Далее необходимо перейти в режим «CALIBRATION/ калибровка».
Если показания эталонного датчика СРТ 6000 отличны от нуля при отсутствии давления в системе, необходимо перейти в пункт главного меню «Functions/функции» [2]. В появившемся окне (см. рисунок 3) появятся параметры корректировки:
- поле «Ref/текущие показания» эталонного датчика СРТ 6000;
- поле «Tare/значение» сдвижки нуля.
Необходимо установить параметры корректировки, равные начальным показаниям эталонного датчика СРТ 6000, как показано на рисунке 4.
Рисунок 4 - Элемент меню «Functions/функции»
7.9. Регистратор UNILOG должен быть переведен в режим отображения информационного канала, отвечающего за показания уровнемера DST-22 [3].
При проведении внешнего осмотра уровнемера DST-22 устанавливают:
- соответствие прибора эксплуатационной документации;
- отсутствие и/или наличие механических повреждений и следов коррозии на корпусе и деталях прибора, что может повлиять на его метрологические характеристики.
8.2.1. При опробовании необходимо провести следующие действия (см. рисунок 1):
- вывернуть стопорные насоса гайки 4 до крайнего нижнего положения;
- завернуть вентиль спуска/запора давления 3;
- скорректировать начальные показания калибратора СРН 6000, если это необходимо по 7.8;
- осуществить опрос регистратора UNILOG с целью проверки начального значения показаний уровнемера DST-22;
- установить насосом СРР 30 давление, равное 1000 см вод. ст. и выдержать 60 с, наблюдая за значениями давления на дисплее калибратора СРН 6000 и через 60 с опросить регистратор UNILOG.
Если в течение 60 с падение давления на калибраторе СРН 6000 и регистраторе UNILOG составит менее 0,5 см вод. ст., то систему следует считать достаточно герметичной для обеспечения условий поверки, а уровнемер DST-22 - работоспособным.
8.2.2. Далее необходимо устранить давление в системе, вывернув вентиль спуска/запора давления 3. Показания эталонного датчика СРТ 6000 и уровнемера DST-22 в этом случае должны вернуться к начальным. В противном случае необходимо проверить мембрану уровнемера DST-22 на наличие воды и/или инородных включений и протереть его резьбовое соединение.
8.2.3. Для обеспечения измерений следует:
- при отпущенном вывернутом вентиле спуска/запора давления 3 открутить вентиль регулировки давления 2 так, чтобы расстояние между ним и корпусом насоса СРР 30 по вскрывшейся резьбе составляло 1,5 - 2 см, что обеспечит точную настройку давления в дальнейшем;
- завернуть вентиль спуска/запора давления 3.
Для выполнения измерений необходимо:
- перейти в режим «CALIBRATION/калибровка»;
- нажать кнопку «Select/выбор» на панели калибратора СРН 6000, чтобы перейти в режим непосредственных измерений;
- установить на калибраторе СРН 6000 первую измерительную точку;
- задать давление (насосом СРР 30), равное значению, указанному на дисплее калибратора СРН 6000, как показано на рисунке 5 (в красной рамке - показания эталонного датчика СРТ 6000, а в зеленой - заданная измерительная точка);
- если значение давления на эталонном датчике СРТ 6000 совпадает с заданным значением не точно, необходимо осуществить корректировку путем закручивания или выкручивания винта регулировки давления 2 (см. рисунок 1);
- осуществить опрос регистратора UNILOG, нажав клавишу «ОК» на панели регистратора UNILOG;
- после опроса регистратора UNILOG записать значения давления с дисплеев регистратора UNILOG (Нэталон) и калибратора СРН 6000 (Нэталон) в протокол по форме, представленной в приложении Б.
- с помощью клавиши правой стрелки-указателя на панели калибратора СРН 6000 перейти к следующей измерительной точке и повторить задание значений давления, указанного на дисплее калибратора СРН 6000, опрос регистратора UNILOG и запись этих значений в протокол (см. приложение Б);
- задать поочередно давления всех точек измерения, производя опрос регистратора, и записать все значения в протокол.
Примечания
1. Полученные с дисплея регистратора UNILOG значения давления при необходимости следует перевести в сантиметры.
2. Первые три измерительные точки («0.0»,« 500.0», «1000.0») относятся к прямому ходу давления, а последние (1000.0», «500.0», «0.0») - к обратному.
3. При снятии показаний давления при прямом ходе после достижения измерительной точкой значения давления, равного 1000.0 см вод. ст., необходимо выждать 30 с и повторить снятие показаний. Полученные после 30 с показания давления будут относиться к обратному ходу и измерительной точке со значением 1000.0 см вод. ст.
4. При необходимости могут проводиться измерения в других дополнительных точках, отличных по значению от обязательных.

Рисунок 5 - Меню непосредственных измерений
8.4.1. Погрешность измерений уровня воды с помощью уровнемера DST-22 определяется в соответствии с требованиями ГОСТ 8.009.
8.4.2. Абсолютную погрешность уровнемера DST-22 определяют как разность между его показаниями, снятым с регистратора UNILOG, и показаниями эталонного датчика СРТ 6000, снятым с калибратора СРН 6000 в i-й измерительной (контрольной) точке при прямом и обратном ходах.
Абсолютная погрешность для уровнемера DST-22 определяется по формулам
|
|
(1) |
|
|
(2) |
где
и
- абсолютная погрешность
уровнемера DST-22 при прямом и обратном ходах изменения давления,
соответственно, см вод. ст;
,
,
,
- показания уровне-мера DST-22 и
эталонного датчиков СРТ 6000 при прямом и обратном ходах изменения давления,
соответственно, см вод. ст.
Максимально допустимое значение абсолютной погрешности для прямого и обратного хода равно 1,0 см вод. ст.
8.4.3. Относительная приведенная погрешность δприв, %, определяется по формуле
|
δприв = ΔH/H⋅100, |
(3) |
где H - верхний предел диапазона измерений, равный 1000 см вод. ст.; ΔH - наибольшая абсолютная погрешность, полученная по результатам расчета прямого и обратного хода.
Для уровнемера DST-22 предельно допустимое значение относительной приведенной погрешности равно 0,1 %.
9.1. После расчета абсолютной и относительной приведенных погрешностей поверитель принимает решение о результате поверки уровнемера DST-22.
Уровнемер DST-22 признается прошедшим поверку, если выполняются условие
|
δприв ≤ ±0,1 %. |
(4) |
9.2. Результаты поверки оформляются в виде протокола. Форма протокола результатов поверки уровнемера DST-22 приведена в приложении Б.
9.3. При выполнении условия (4) на уровнемер DST-22 выдают свидетельство о поверке сроком на 1 год по форме, представленной в ПР 50.2.006 (приложение А).
9.4. При отрицательных результатах поверки уровнемера DST-22 выдается извещение о его непригодности к применению по форме, приведенной в ПР 50.2.006 (приложение В). Свидетельство о поверке аннулируется.
Установка уровнемера DST-22 в цилиндрической конструкции
Рисунок А.1 - Установка уровнемера DST-22 в цилиндрической конструкции:
1) глубина погружения
уровнемера DST-22 h зависит от вида грунта;
2) размеры даны в миллиметрах
Форма протокола проведения поверки уровнемера DST-22
|
ПРОТОКОЛ
№__________________ от«__» ___________ 20 г. 1. Заводской номер уровнемера DST-22: ______________________________________ 2. Место и время проведения поверки: _______________________________________ 3. Условия проведения поверки: _____________________________________________ 4. Эталонные средства измерений: ___________________________________________ 5. Результаты поверки:
Поверитель ___________________________________ (подпись) (инициалы, фамилия) |
||||||||||||||||||||||||||||||||||||||||||||||||||||||||||||||||
[1] Датчик давления и температуры DS(T)-22/30. Руководство пользователя. Kaufbeuren, Germany. Seba Hydrometrie. 2007. - 8 с.
[2] Калибратор давления СРН 6000. Руководство пользователя. Klingenberg, Germany. WIKA Alexander Wiegand Gmbh & Co. KG. 2005. - 50 c.
[3] Контроллер Unilog. Инструкция по эксплуатации. Kaufbeuren, Germany. Seba Hydrometrie. 2009. - 32 c.
|
Ключевые слова: гидростатический уровнемер, калибратор давления, поверка, средства измерений, уровень воды |
Лист регистрации изменений
|
Номер изменения |
Номер страницы |
Номер документа (ОРН) |
Подпись |
Дата |
||||
|
измененной |
замененной |
новой |
аннулированной |
внесения изменений |
введения изменений |
|||
|
|
|
|
|
|
|
|
|
|