НАУЧНО-ИССЛЕДОВАТЕЛЬСКИЙ
ИНСТИТУТ
ГИГИЕНЫ ВОДНОГО ТРАНСПОРТА
МЕТОДИЧЕСКИЕ УКАЗАНИЯ
НА МЕТОДЫ ОПРЕДЕЛЕНИЯ
ВРЕДНЫХ ВЕЩЕСТВ В ВОЗДУХЕ
ВЫПУСК XII
РЕКЛАМИНФОРМБЮРО
ММФ
Москва 1977
Начиная с данного выпуска, методики определения вредных веществ в воздухе будут издаваться как Методические указания.
Методические указания, утвержденные заместителем Главного государственного санитарного врача СССР, имеют ту же юридическую силу, что и Технические условия.
Методические указания на методы определения вредных веществ в воздухе предназначены для химиков научно-исследовательских институтов, санитарно-эпидемиологических станций, промышленных лабораторий заводов и медико-санитарных частей, а также для промышленно-санитарных врачей.
Сборник методических указаний составлен методической секцией по промышленно-санитарной химия при проблемной комиссии «Научные основы гигиены труда и профессиональной патологии».
Редакционная коллегия: И.С. Новикова, М.Д. Бабина, Т.В. Соловьева, О.Н. Васильева, И.К. Рыжова.
|
УТВЕРЖДАЮ. Заместитель
Главного ________
А.И. ЗАЙЧЕНКО № 1388-75 |
МЕТОДИЧЕСКИЕ УКАЗАНИЯ НА ФОТОМЕТРИЧЕСКОЕ ОПРЕДЕЛЕНИЕ МОНОМЕТИЛОВОГО ЭФИРА РЕЗОРЦИНА В ВОЗДУХЕ
1. Определение основано на взаимодействии монометилового эфира резорцина с диазотированным паравитроанилином.
2. Чувствительность определения - 2 мкг в анализируемом объеме раствора.
3. Определению мешают другие фенолы.
4. Предельно допустимая концентрация монометилового эфира резорцина в воздухе - 0,5 мг/м3.
5. Применяемые реактивы и растворы.
Монометилавый эфир резорцина. Температура кипения ±243 °C.
Стандартный раствор монометилового эфира резорцина № 1. В мерную колбу емкостью 25 - 30 мл вносят 10 мл дистиллированной воды, взвешивают, прибавляют 2 - 3 капли монометилового эфира резорцина и снова взвешивают. Содержимое колбы доводят до метки дистиллированной водой. По разности второго и первого взвешиваний определяют навеску монометилового эфира резорцина.
Стандартный раствор № 2, содержащий 10 мкг/мл монометилового эфира резорцина, готовят соответствующим разбавлением дистиллированной водой раствора № 1.
Натрий углекислый (10-водный), ГОСТ 84-66, 0,8 %-ный водный раствор.
Кислота соляная, ГОСТ 3118-67.
n-Нитроанилин, ТУ 6-09-258-70.
Натрий азотистокислый, ГОСТ 4197-66, 25 %-ный водный раствор.
Диазотированный n-нитроанилин. 10 мг n-нитроанилина растворяют в 10 мл дистиллированной воды и 2,5 мл соляной кислоты, прибавляют 2,5 мл 25 % иного раствора азотистокислого натрия и через несколько минут раствор разбавляют водой до 50 мл. Раствор хранят в прохладном месте не более двух - трех дней.
6. Применяемые посуда и приборы.
Аспирационное устройство.
Поглотительные приборы Зайцева.
Колбы мерные, ГОСТ 1770-74, емкостью 25, 50 и 100 мл.
Пипетки, ГОСТ 1770-74, емкостью 1, 2, 5 и 10 мл с делениями на 0,01 и 0,1 мл.
Пробирки колориметрические, плоскодонные из бесцветного стекла, высотой 120 мм, с внутренним диаметром 15 мм.
Фотоэлектро колориметр.
7. Воздух со скоростью 1 л/мин аспирируют через два последовательно соединенных поглотительных прибора Зайцева, содержащих по 7 мл 0,8 %-ного раствора углекислого натрия. Для анализа следует отобрать 15 л воздуха.
8. Из каждого поглотительного прибора 5 мл пробы вносят в колориметрическую пробирку, прибавляют 0,2 мл диазотированного n-нитроанилина, перемешивают и через 10 мин фотометрируют в кюветах с толщиной слоя 10 мм при синем светофильтре по сравнению с контролем, который готовят одновременно и аналогично пробам. Содержание манометилового эфира резорцина в анализируемом объеме определяют по предварительно построенному калибровочному графику. Для построения калибровочного графика готовят шкалу стандартов согласно табл. 13.
ШКАЛА СТАНДАРТОВ
|
Номер стандарта |
Содержание монометилового эфира резорцина, мкг |
Стандартный раствор № 2, мл |
0,8 %-ный раствор углекислого натрия, мл |
|
1 |
0 |
0 |
5 |
|
2 |
2 |
0,2 |
4,8 |
|
3 |
4 |
0,4 |
4,6 |
|
4 |
6 |
0,6 |
4,4 |
|
5 |
10 |
1,0 |
4,0 |
|
6 |
15 |
1,5 |
3,5 |
Все пробирки шкалы обрабатывают аналогично пробам, измеряют оптическую плотность и строят график. Шкалой стандартов можно пользоваться для визуального определения, ее готовят в колориметрических пробирках одновременно с пробами.
Концентрацию монометилового эфира резорцина в мг/м3 воздуха X вычисляют по формуле:
|
|
где: G - количество вещества, найденное в анализируемом объеме пробы, мкг;
V1 - общий объем пробы, мл;
V - объем пробы, взятый для анализа, мл;
V0 - объем воздуха, л, отобранный для анализа и приведенный к нормальным условиям по формуле (см. приложение 1).
Примечание. Определение монометилового эфира резорцина можно проводить с раствором 4-аминоантипирина (см. определение феноксифенола).
Приведение объема воздуха к нормальным условиям производят согласно газовым законам Бойля-Мариотта и Гей-Люссака по следующей формуле:
|
|
где Vt - объем воздуха, отобранный для анализа, л;
р - барометрическое давление, мм. рт. ст.;
t - температура воздуха в месте отбора пробы, °С.
Для удобства расчета V0 следует пользоваться таблицей коэффициентов (приложение 2). Для приведения объема воздуха к нормальным условиям надо умножить Vt на соответствующий коэффициент.
ТАБЛИЦА КОЭФФИЦИЕНТОВ ДЛЯ
РАЗЛИЧНЫХ ТЕМПЕРАТУР
И ДАВЛЕНИЯ, НА КОТОРЫЕ НАДО УМНОЖИТЬ
ДЛЯ ПРИВЕДЕНИЯ ОБЪЕМА ВОЗДУХА
К НОРМАЛЬНЫМ УСЛОВИЯМ
|
t газа, °С |
Давление р, мм. рт. ст. |
|||||||||||||||||||||||||
|
730 |
732 |
734 |
736 |
738 |
740 |
742 |
744 |
746 |
748 |
750 |
752 |
754 |
756 |
758 |
760 |
762 |
764 |
766 |
768 |
770 |
772 |
774 |
776 |
778 |
780 |
|
|
5 |
0,9432 |
0,9458 |
0,9484 |
0,9510 |
0,9536 |
0,9561 |
0,9587 |
0,9613 |
0,9638 |
0,9665 |
0,9691 |
0,9717 |
0,9742 |
0,9768 |
0,9794 |
0,9820 |
0,9846 |
0,9871 |
0,9897 |
0,9923 |
0,9949 |
0,9975 |
1,0001 |
1,0026 |
1,0051 |
1,0078 |
|
6 |
0,9398 |
0,9424 |
0,9450 |
0,9476 |
0,9501 |
0,9527 |
0,9553 |
0,9579 |
0,9604 |
0,9630 |
0,9658 |
0,9682 |
0,9707 |
0,9733 |
0,9759 |
0,9785 |
0,9810 |
0,9836 |
0,9862 |
0,9888 |
0,9913 |
0,9939 |
0,9965 |
0,9990 |
1,0016 |
1,0042 |
|
7 |
0,9365 |
0,9390 |
0,9416 |
0,9442 |
0,9467 |
0,9493 |
0,9518 |
0,9544 |
0,9570 |
0,9596 |
0,9621 |
0,9647 |
0,9673 |
0,9698 |
0,9724 |
0,9750 |
0,9775 |
0,9801 |
0,9827 |
0,9852 |
0,9878 |
0,9904 |
0,9929 |
0,9955 |
0,9980 |
1,0006 |
|
8 |
0,9331 |
0,9357 |
0,9383 |
0,9408 |
0,9434 |
0,9459 |
0,9485 |
0,9510 |
0,9536 |
,9561 |
0,9587 |
0,9613 |
0,9638 |
0,9664 |
0,9689 |
0,9715 |
0,9741 |
0,9766 |
09792 |
0,9817 |
0,9843 |
0,9868 |
0,9894 |
1,9919 |
0,9945 |
0,9970 |
|
9 |
0,9298 |
0,9324 |
0,9349 |
0,9375 |
0,9400 |
0,9426 |
0,9451 |
0,9477 |
0,9502 |
0,9528 |
0,9553 |
0,9578 |
0,9604 |
0,9629 |
0,9655 |
0,9680 |
0,9706 |
0,9731 |
0,9757 |
0,9782 |
0,9807 |
0,9833 |
0,9859 |
0,9884 |
0,9910 |
0,9935 |
|
10 |
0,9265 |
0,9291 |
0,9316 |
0,9341 |
0,9367 |
0,9392 |
0,9418 |
0,9443 |
0,9468 |
0,9494 |
0,9519 |
0,9544 |
0,9570 |
0,9595 |
0,9621 |
0,9646 |
0,9671 |
0,9697 |
0,9722 |
0,9747 |
0,9773 |
0,9798 |
0,9824 |
0,9849 |
0,9874 |
0,9900 |
|
11 |
0,9233 |
0,9258 |
0,9283 |
0,9308 |
0,9334 |
0,9359 |
0,9384 |
0,9410 |
0,9435 |
0,9460 |
0,9486 |
0,9511 |
0,9536 |
0,9562 |
0,9587 |
0,9612 |
0,9637 |
0,9663 |
0,9688 |
0,9713 |
0,9739 |
0,9764 |
0,9789 |
0,9814 |
0,9839 |
0,9865 |
|
12 |
0,9200 |
0,9225 |
0,9251 |
0,9276 |
0,9301 |
0,9326 |
0,9351 |
0,9376 |
0,9402 |
0,9427 |
0,9452 |
0,9477 |
0,9503 |
0,9528 |
0,9553 |
0,9578 |
0,9603 |
0,9629 |
0,9654 |
0,9679 |
0,9704 |
0,9730 |
0,9754 |
0,9780 |
0,9805 |
0,9830 |
|
13 |
0,9168 |
0,9193 |
0,9218 |
0,9243 |
0,9269 |
0,9294 |
0,9319 |
0,9344 |
0,9369 |
0,9394 |
0,9419 |
0,9444 |
0,9469 |
0,9495 |
0,9520 |
0,9545 |
0,9570 |
0,9595 |
0,9620 |
0,9645 |
0,9670 |
0,9695 |
0,9720 |
0,9745 |
0,9771 |
0,9796 |
|
14 |
0,9136 |
0,9161 |
0,9186 |
0,9211 |
0,9236 |
0,9261 |
0,9286 |
0,9311 |
0,9336 |
0,9363 |
0,9386 |
0,9411 |
0,9436 |
0,9461 |
0,9486 |
0,9511 |
0,9536 |
0,9561 |
0,9586 |
0,9612 |
0,9637 |
0,9661 |
0,9686 |
0,9711 |
0,9736 |
0,9762 |
|
15 |
0,9104 |
0,9129 |
0,9154 |
0,9179 |
0,9204 |
0,9229 |
0,9254 |
0,9279 |
0,9304 |
0,9329 |
0,9354 |
0,9378 |
0,9404 |
0,9428 |
0,9453 |
0,9478 |
0,9503 |
0,9528 |
0,9553 |
0,9578 |
0,9603 |
0,9628 |
0,9653 |
0,9678 |
0,9703 |
0,9728 |
|
16 |
0,9073 |
0,9097 |
0,9122 |
0,3147 |
0,9172 |
0,9197 |
0,9222 |
0,9247 |
0,9271 |
0,9296 |
0,9321 |
0,9346 |
0,9371 |
0,9396 |
0,9420 |
0,9445 |
0,9470 |
0,9495 |
0,9520 |
0,9545 |
0,9570 |
0,9595 |
0,9619 |
0,9644 |
0,9669 |
0,9694 |
|
17 |
0,9041 |
0,9066 |
0,9092 |
0,9116 |
0,9140 |
0,9165 |
0,9190 |
0,9215 |
0,9239 |
0,9264 |
0,9289 |
0,9314 |
0,9339 |
0,9363 |
0,9388 |
0,9413 |
0,9438 |
0,9462 |
0,9487 |
0,9512 |
0,9537 |
0,9561 |
0,9586 |
0,9611 |
0,9636 |
0,9661 |
|
18 |
0,9010 |
0,9035 |
0,9059 |
0,9084 |
0,9109 |
0,9134 |
0,9158 |
0,9183 |
0,9207 |
0,9232 |
0,9257 |
0,9282 |
0,9306 |
0,9331 |
0,9356 |
0,9380 |
0,9405 |
0,9430 |
0,9454 |
0,9479 |
0,9504 |
0,9528 |
0,9553 |
0,9578 |
0,9602 |
0,9627 |
|
19 |
0,8979 |
0,9004 |
0,9028 |
0,9053 |
0,9078 |
0,9102 |
0,9127 |
0,9151 |
0,9176 |
0,9200 |
0,9225 |
0,9260 |
0,9275 |
0,9299 |
0,9324 |
0,9348 |
0,9373 |
0,9397 |
0,9422 |
0,9447 |
0,9471 |
0,9496 |
0,9520 |
0,9545 |
0,9569 |
0,9594 |
|
20 |
0,8948 |
0,8973 |
0,8997 |
0,9022 |
0,9046 |
0,9041 |
0,9096 |
0,9120 |
0,9145 |
0,9169 |
0,9194 |
0,9218 |
0,9243 |
0,9267 |
0,9292 |
0,9316 |
0,9341 |
0,9365 |
0,9390 |
0,9414 |
0,9439 |
0,9463 |
0,9488 |
0,9512 |
0,9537 |
0,9561 |
|
21 |
0,8918 |
0,8942 |
0,8967 |
0,8991 |
0,9016 |
0,9040 |
0,9065 |
0,9089 |
0,9113 |
0,9138 |
0,9162 |
0,9187 |
0,9211 |
0,9236 |
0,9260 |
0,9285 |
0,9309 |
0,9333 |
0,9359 |
0,9382 |
0,9407 |
0,9431 |
0,9455 |
0,9480 |
0,9504 |
0,9529 |
|
22 |
0,8888 |
0,8912 |
0,8936 |
0,8961 |
0,8985 |
0,9010 |
0,9034 |
0,9058 |
0,9083 |
0,9107 |
0,9131 |
0,9155 |
0,9180 |
0,9204 |
0,9229 |
0,9253 |
0,9277 |
0,9302 |
0,9326 |
0,9350 |
0,9375 |
0,9399 |
0,9423 |
0,9448 |
0,9472 |
0,9496 |
|
23 |
0,8858 |
0,8882 |
0,8906 |
0,8930 |
0,8955 |
0,8979 |
0,9003 |
0,9028 |
0,9052 |
0,9076 |
0,9100 |
0,9125 |
0,9149 |
0,9173 |
0,9197 |
0,9222 |
0,9246 |
0,9270 |
0,9294 |
0,9319 |
0,9343 |
0,9367 |
0,9391 |
0,9416 |
0,9440 |
0,9464 |
|
24 |
0,8828 |
0,8852 |
0,8876 |
0,8900 |
0,8924 |
0,8949 |
0,8973 |
0,8997 |
0,9021 |
0,9045 |
0,9070 |
0,9094 |
0,9118 |
0,9142 |
0,9165 |
0,9191 |
0,9215 |
0,9239 |
0,9263 |
0,9287 |
0,9311 |
0,9336 |
0,9360 |
0,9384 |
0,9408 |
0,9432 |
|
25 |
0,8798 |
0,8822 |
0,8846 |
0,8870 |
0,8894 |
0,8919 |
0,8943 |
0,8967 |
0,8991 |
0,9015 |
0,9039 |
0,9063 |
0,9087 |
0,9112 |
0,9135 |
0,9160 |
0,9184 |
0,9208 |
0,9232 |
0,9256 |
0,9280 |
0,9304 |
0,9328 |
0,9352 |
0,9377 |
0,9401 |
|
26 |
0,8769 |
0,8793 |
0,8817 |
0,8841 |
0,8865 |
0,8889 |
0,8913 |
0,8937 |
0,8961 |
0,8985 |
0,9009 |
0,9033 |
0,9057 |
0,9081 |
0,9105 |
0,9120 |
0,9153 |
0,9177 |
0,9201 |
0,9225 |
0,9249 |
0,9273 |
0,9297 |
0,9321 |
0,9345 |
0,9369 |
|
27 |
0,8739 |
0,8763 |
0,8787 |
0,8811 |
0,8835 |
0,8859 |
0,8883 |
0,8907 |
0,8931 |
0,8955 |
0,8979 |
0,9003 |
0,9027 |
0,9051 |
0,9074 |
0,9099 |
0,9122 |
0,9146 |
0,9170 |
0,9194 |
0,9218 |
0,9242 |
0,9266 |
0,9290 |
0,9314 |
0,9338 |
|
28 |
0,8710 |
0,8734 |
0,8758 |
0,8782 |
0,8806 |
0,8830 |
0,8853 |
0,8877 |
0,8901 |
0,8925 |
0,8949 |
0,8973 |
0,8997 |
0,9021 |
0,9044 |
0,9068 |
0,9092 |
0,9116 |
0,9140 |
0,9164 |
0,9187 |
0,9211 |
0,9235 |
0,9259 |
0,9283 |
0,9307 |
|
29 |
0,8681 |
0,8705 |
0,8729 |
0,8753 |
0,8776 |
0,8800 |
0,8824 |
0,8848 |
0,8872 |
0,8895 |
0,8919 |
0,8943 |
0,8967 |
0,8990 |
0,9018 |
0,9038 |
0,9062 |
0,9086 |
0,9109 |
0,9133 |
0,9157 |
0,9181 |
0,9205 |
0,9228 |
0,9252 |
0,9276 |
|
30 |
0,8653 |
0,8676 |
0,8700 |
0,8724 |
0,8724 |
0,8771 |
0,8795 |
0,8819 |
0,8842 |
0,8866 |
0,8890 |
0,8914 |
0,8937 |
0,8961 |
0,8985 |
0,9008 |
0,9032 |
0,9056 |
0,9079 |
0,9109 |
0,9127 |
0,9151 |
0,9174 |
0,9198 |
0,9222 |
0,9245 |
|
31 |
0,8624 |
0,8648 |
0,8672 |
0,8695 |
0,8719 |
0,8742 |
0,8766 |
0,8790 |
0,8812 |
0,8837 |
0,8861 |
0,8884 |
0,8907 |
0,8931 |
0,8955 |
0,8979 |
0,9002 |
0,9026 |
0,9050 |
0,9073 |
0,9097 |
0,9121 |
0,9144 |
0,9168 |
0,9191 |
0,9215 |
|
32 |
0,8596 |
0,8619 |
0,8643 |
0,8667 |
0,8691 |
0,8714 |
0,8736 |
0,8761 |
0,8784 |
0,8808 |
0,8831 |
0,8855 |
0,8878 |
0,8802 |
0,8926 |
0,8949 |
0,8973 |
0,8996 |
0,9020 |
0,9043 |
0,9067 |
0,9091 |
0,9114 |
0,9138 |
0,9161 |
0,9185 |
|
33 |
0,3568 |
0,8591 |
0,8615 |
0,8638 |
0,8662 |
0,8685 |
0,8709 |
0,8732 |
0,8756 |
0,8779 |
0,8803 |
0,8826 |
0,8850 |
0,8873 |
0,8897 |
0,8920 |
0,8943 |
0,8967 |
0,8990 |
0,9014 |
0,9037 |
0,9061 |
0,9084 |
0,9108 |
0,9131 |
0,9154 |
|
34 |
0,8540 |
0,8563 |
0,8587 |
0,8610 |
0,8634 |
0,8658 |
0,8680 |
0,8704 |
0,8727 |
0,8750 |
0,8774 |
0,8797 |
0,8821 |
0,8844 |
0,8867 |
0,8891 |
0,8914 |
0,8938 |
0,8961 |
0,8984 |
0,9008 |
0,9031 |
0,9055 |
0,9078 |
0,9101 |
0,9125 |
|
35 |
0,8512 |
0,8535 |
0,8559 |
0,8582 |
0,8605 |
0,8629 |
0,8652 |
0,8675 |
0,8699 |
0,8722 |
0,8745 |
0,8768 |
0,8792 |
0,8815 |
0,8839 |
0,8862 |
0,8885 |
0,8908 |
0,8932 |
0,8955 |
0,8978 |
0,9002 |
0,9025 |
0,9048 |
0,9072 |
0,9092 |
|
36 |
0,8484 |
0,8508 |
0,8531 |
0,8554 |
0,8577 |
0,8601 |
0,8624 |
0,8647 |
0,8670 |
0,8694 |
0,8717 |
0,8740 |
0,8763 |
0,8787 |
0,8810 |
0,8833 |
0,8856 |
0,8880 |
0,8903 |
0,8926 |
0,8949 |
0,8972 |
0,8996 |
0,9019 |
0,9042 |
0,9065 |
|
37 |
0,8457 |
0,8480 |
0,8503 |
0,8526 |
0,8549 |
0,8573 |
0,8596 |
0,8619 |
0,8642 |
0,8665 |
0,8689 |
0,8712 |
0,8735 |
0,8758 |
0,8781 |
0,8804 |
0,8828 |
0,8851 |
0,8874 |
0,8897 |
0,8920 |
0,8943 |
0,8987 |
0,8990 |
0,9013 |
0,9036 |
|
38 |
0,8430 |
0,8453 |
0,8476 |
0,8499 |
0,8522 |
0,8545 |
0,8568 |
0,8591 |
0,8615 |
0,8638 |
0,8661 |
0,8684 |
0,8707 |
0,8703 |
0,8753 |
0,8776 |
0,8799 |
0,8822 |
0,8845 |
0,8869 |
0,8892 |
0,8915 |
0,8938 |
0,8961 |
0,8984 |
0,9007 |
|
39 |
0,8403 |
0,8426 |
0,8449 |
0,8472 |
0,8495 |
0,8518 |
0,8541 |
0,8564 |
0,8587 |
0,8610 |
0,8633 |
0,8656 |
0,8679 |
0,8702 |
0,8725 |
0,8748 |
0,8771 |
0,8794 |
0,8817 |
0,8840 |
0,8863 |
0,8886 |
0,8909 |
0,8932 |
0,8955 |
0,8978 |
|
40 |
0,8376 |
0,8399 |
0,8422 |
0,8444 |
0,8467 |
0,8490 |
0,8513 |
0,8536 |
0,8559 |
0,8582 |
0,8605 |
0,8628 |
08651 |
0,8674 |
0,8697 |
0,8720 |
0,8743 |
0,8766 |
0,8789 |
0,8812 |
0,8835 |
0,8857 |
0,8881 |
0,8903 |
0,8926 |
0,8949 |

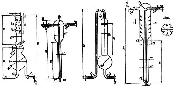
а - Рихтера; б - Зайцева; в - с пористой пластинкой; г - Яворовской.
СПИСОК ИНСТИТУТОВ,
ПРЕДСТАВИВШИХ МЕТОДИКИ
В ДАННЫЙ СБОРНИК
|
Вещество |
Наименование института |
|
Аминопеларгоновая кислота |
Московский институт гиганты труда и профзаболеваний |
|
Аминоэнантовая кислота |
То же |
|
Ацетонциангидрин |
Горьковский институт гигиены труда и профзаболеваний |
|
Ацетооксиизопропил-N-фенилкарбамат (ацилат-1), изопропил-N-фенилкарбамат (ИФК), изопропил-N-хлорфенилкарбамат (хлор-ИФК) |
Ереванский государственный медицинский институт |
|
3,4-Бензпирен и другие полициклические ароматические углеводороды |
Московский институт охраны труда ВЦСПС |
|
Бутилкаптакс |
Узбекский НИИ санитарии, гигиены и профзаболеваний |
|
Винилхлорид |
Горьковский институт гигиены труда и профзаболеваний |
|
Диметилэтаноламин, диэтилэтаноламин |
То же |
|
3,4-Дихлорфенилизоцианат |
» |
|
Изопропилнитрит |
Московский институт гигиены труда и профзаболеваний |
|
Метилизотиоцианат (действующее начало карбатиона) |
Киевский институт гигиены труда и профзаболеваний |
|
Монометиловый эфир резорцина |
ВНИИГИНТОКС, г. Киев |
|
Нитрофен |
Киевский институт гигиены труда и профзаболеваний |
|
Прометрин |
Саратовский институт сельской гигиены |
|
Пропанид |
ВНИИГИНТОКС, г. Киев |
|
Севин |
То же |
|
Тетраметилтиурамдисульфид |
Киевский институт гигиены труда и профзаболеваний |
|
м-Феноксифенол |
ВНИИГИНТОКС, г. Киев |
|
Фтористый бор |
Московский институт гигиены труда и профзаболеваний |
|
Фторкарбоновые кислоты |
То же |
|
4-Хлорбутин-2-ил-N-3-Хлорфенил-карбамат (карбин), изопропил-N-фенилкарбамат (ИФК), изопропил-N-3-хлорфенилкарбамат (хлор-ИФК) |
Киевский институт гигиены труда и профзаболеваний |
|
Цианамид |
Узбекский НИИ санитарии, гигиены и профзаболеваний |
|
Цианистый аллил |
Ленинградский институт гигиены труда и профзаболеваний |
|
Этилтолуол |
НИИМСК, г. Ярославль |
СОДЕРЖАНИЕ