|
МИНИСТЕРСТВО
СТРОИТЕЛЬСТВА |
|
|
СВОД ПРАВИЛ |
СП 94.13330.2016 |
ПРИСПОСОБЛЕНИЕ ОБЪЕКТОВ
КОММУНАЛЬНО-БЫТОВОГО НАЗНАЧЕНИЯ
ДЛЯ САНИТАРНОЙ ОБРАБОТКИ ЛЮДЕЙ,
СПЕЦИАЛЬНОЙ ОБРАБОТКИ ОДЕЖДЫ
И ПОДВИЖНОГО СОСТАВА
АВТОТРАНСПОРТА
Актуализированная
редакция
СНиП
2.01.57-85
|
|
Москва
|
Предисловие
Сведения о своде правил
1 ИСПОЛНИТЕЛЬ - Федеральное государственное бюджетное учреждение «Всероссийский научно-исследовательский институт по проблемам гражданской обороны и чрезвычайных ситуаций МЧС России» (ФГБУ ВНИИ ГОЧС (ФЦ))
2 ВНЕСЕН Техническим комитетом по стандартизации ТК 465 «Строительство»
3 ПОДГОТОВЛЕН к утверждению Департаментом градостроительной деятельности и архитектуры Министерства строительства и жилищно-коммунального хозяйства Российской Федерации (Минстрой России)
4 УТВЕРЖДЕН Приказом Министерства строительства и жилищно-коммунального хозяйства Российской Федерации от 9 сентября 2016 г. № 625/пр и введен в действие с 10 апреля 2017 г.
5 ЗАРЕГИСТРИРОВАН Федеральным агентством по техническому регулированию и метрологии (Росстандарт). Пересмотр СП 94.13330.2011
В случае пересмотра (замены) или отмены настоящего свода правил соответствующее уведомление будет опубликовано в установленном порядке. Соответствующая информация, уведомление и тексты размещаются также в информационной системе общего пользования - на официальном сайте разработчика (Минстрой России) в сети Интернет
СОДЕРЖАНИЕ
Введение
Настоящий свод правил, разработан с учетом требований Федерального закона от 3 декабря 2004 г. № 190-ФЗ «Градостроительный кодекс Российской Федерации», Федерального закона от 27 декабря 2002 г. № 184-ФЗ «О техническом регулировании», Федерального закона от 12 февраля 1998 г. № 28-ФЗ «О гражданской обороне», Постановления Правительства РФ от 29 ноября 1999 г. № 1309 «О порядке создания убежищ и иных объектов гражданской обороны», Федерального закона от 21 декабря 1994 г. № 68-ФЗ «О защите населения и территорий от чрезвычайных ситуаций природного и техногенного характера», Федерального закона от 30 декабря 2009 г. № 384-ФЗ «Технический регламент о безопасности зданий и сооружений», Федерального закона от 7 декабря 2011 г. № 416-ФЗ «О водоснабжении и водоотведении».
Актуализация выполнена авторским коллективом: канд. техн. наук И.В. Сосунов, канд. техн. наук Д.В. Антипов, канд. техн. наук П.Н. Косырев, Н.Н. Посохов (ФГБУ ВНИИ ГОЧС (ФЦ)).
|
СВОД ПРАВИЛ |
|
ПРИСПОСОБЛЕНИЕ
ОБЪЕКТОВ КОММУНАЛЬНО-БЫТОВОГО |
|
Facilities public utility for sanitary processing of people,
special treatment of clothing and |
Дата введения 2017-04-10
1.1 Настоящий свод правил устанавливает требования к проектированию объектов коммунально-бытового назначения, приспосабливаемых для санитарной обработки населения, обеззараживания одежды и специальной обработки техники* (подвижного состава автотранспорта).
Положения настоящего свода правил распространяются на вновь строящиеся, реконструируемые или технически перевооружаемые объекты коммунально-бытового назначения, независимо от форм их собственности и ведомственной принадлежности, которые по решению уполномоченного федерального органа исполнительной власти или органа исполнительной власти субъекта Российской Федерации признаны продолжающими работу в военное время, и (или) имеющие мобилизационное задание (заказ), и (или) обеспечивающие жизнедеятельность территорий, отнесенных к группам по гражданской обороне:
- для санитарной обработки населения - банно-прачечные комбинаты и спортивно-оздоровительные комплексы;
- для обеззараживания одежды - предприятия стирки и химической чистки белья (одежды);
- для специальной обработки (обеззараживания) техники (подвижного состава автотранспорта) - посты мойки и уборки подвижного состава автотранспорта.
Положения настоящего свода правил не распространяются на объекты капитального строительства, проектная документация которых до вступления в силу настоящего свода правил получила положительное заключение государственной экспертизы, а также на документы территориального планирования и документацию по планировке территории, утвержденные до вступления в силу настоящего свода правил.
____________
* Далее - объекты или помещения.
В настоящем своде правил использованы нормативные ссылки на следующие документы:
СП 30.13330.2012 Внутренний водопровод и канализация зданий
СП 31.13330.2012 Водоснабжение. Наружные сети и сооружения
СП 44.13330.2011 «СНиП 2.09.04-87 Административные и бытовые здания»
СП 60.13330.2012 «СНиП 41-01-2003 Отопление, вентиляция и кондиционирование воздуха»
СанПиН 2.6.1.2523-09 Нормы радиационной безопасности НРБ-99/2009
Примечание - При пользовании настоящим сводом правил целесообразно проверить действие ссылочных документов в информационной системе общего пользования - на официальном сайте федерального органа исполнительной власти в сфере стандартизации в сети Интернет или по ежегодному информационному указателю «Национальные стандарты», который опубликован по состоянию на 1 января текущего года, и по выпускам ежемесячного информационного указателя «Национальные стандарты» за текущий год. Если заменен ссылочный документ, на который дана недатированная ссылка, то рекомендуется использовать действующую версию этого документа с учетом всех внесенных в данную версию изменений. Если заменен ссылочный документ, на который дана датированная ссылка, то рекомендуется использовать версию этого документа с указанным выше годом утверждения (принятия). Если после утверждения настоящего свода правил в ссылочный документ, на который дана датированная ссылка, внесено изменение, затрагивающее положение на которое дана ссылка, то это положение рекомендуется применять без учета данного изменения. Если ссылочный документ отменен без замены, то положение, в котором дана ссылка на него, рекомендуется применять в части, не затрагивающей эту ссылку. Сведения о действии сводов правил целесообразно проверить в Федеральном информационном фонде стандартов.
В настоящем своде правил применены следующие термины с соответствующими определениями:
3.1
аварийно химически опасное вещество: Опасное химическое вещество, применяемое в промышленности и сельском хозяйстве, при аварийном выбросе (разливе) которого может произойти заражение окружающей среды в поражающих живой организм концентрациях (токсодозах).
[ГОСТ Р 55201-2012, статья 3.1]
3.2 вещества, применяемые при специальной обработке: Средства для проведения дегазации, дезактивации и дезинфекции личного состава войск, спасательных воинских формирований МЧС России, населения, вооружения и техники, материальных средств, местности и сооружений; включают в себя дегазирующие, дезактивирующие и дезинфицирующие вещества и рецептуры (растворы).
3.3 «грязная» зона: Помещения, часть территории объекта или территории, прилегающей к объекту, на которых проводят санитарную обработку людей, обеззараживание одежды и специальную обработку техники.
3.4 дегазация: Разрушение молекул отравляющих веществ под действием химикатов, в результате которого прекращается их вредное воздействие на организм человека.
3.5 дезактивация: Удаление или снижение радиоактивного загрязнения с какой-либо поверхности или из какой-либо среды.
3.6
дезинфекция: Процесс уничтожения или удаления возбудителей инфекционных болезней человека и животных во внешней среде физическими, химическими и биологическими методами.
[ГОСТ Р 22.8.01-96, статья 3.1.9]
3.7
детоксикация: Разрушение во внешней среде токсинов, представляющих собой соединения бактериального, растительного и животного происхождения.
[ГОСТ Р 22.8.01-96, статья 3.1.10]
3.8 загрязнение: Наличие в окружающей среде и соответственно на находившихся в этой среде предметах, одежде людей отравляющих веществ, радиоактивных веществ и бактериальных средств или любой их комбинации.
3.9 изолирующие средства защиты кожи: Средства индивидуальной защиты кожи, изготовленные с применением полимерных материалов и изолирующие человека и его одежду от окружающей среды.
3.10 обычный режим работы предприятия: Режим работы, для которого это предприятие предназначено (например, для прачечной - гигиеническая обработка белья для бань - гигиеническая помывка людей и т.д.).
3.11
обеззараживание: Уменьшение до предельно допустимых норм загрязнения и заражения территории, объектов, воды, продовольствия, пищевого сырья и кормов радиоактивными и опасными химическими веществами путем дезактивации, дегазации и демеркуризации, а также опасными биологическими веществами путем дезинфекции и детоксикации.
[ГОСТ Р 22.0.02-94, статья 2.4.12]
3.12 обеззараживающие вещества: Химикаты, применяемые при дезинфекции для уничтожения патогенных микроорганизмов.
3.13 одежда, подлежащая специальной обработке: Одежда, пригодная к импрегнированию или прошедшая импрегнирование; нательное белье, изготовленное из хлопчатобумажных или смешанных тканей; простыни, полотенца и подобные изделия, применяемые при санитарной обработке людей. Специальная обработка проводится на типовом оборудовании прачечной и отделений мокрой чистки фабрик химической чистки. Любые виды одежды могут подвергаться специальной обработке штатными средствами гражданской обороны.
3.14
опасное химическое вещество: Химическое вещество, прямое или опосредованное, воздействие которого на человека может вызвать острые и хронические заболевания людей или их гибель.
[ГОСТ Р 22.0.05-94, статья 3.2.15]
3.15
опасное биологическое вещество: Биологическое вещество природного или искусственного происхождения, неблагоприятно воздействующее на людей, сельскохозяйственных животных и растения в случае соприкосновения с ними, а также на окружающую среду.
[ГОСТ Р 22.0.05-94, статья 3.2.21]
3.16 отравляющие вещества: Высокотоксичные химические соединения, способные поражать живую силу противника и население.
3.17
радиоактивные вещества: Продукты ядерного взрыва, а также вещества в любом агрегатном состоянии, содержащие радионуклиды с активностью, на которые распространяются требования СанПиН 2.6.1.2523-09 (НРБ-99).
[3]
3.18
санитарная обработка: Механическая очистка и мытье кожных покровов и слизистых оболочек людей, подвергшихся заражению и загрязнению радиоактивными, опасными химическими и биологическими веществами, а также обеззараживание их одежды и обуви при выходе из зоны чрезвычайной ситуации.
[ГОСТ Р 22.0.02-94, статья 2.4.10]
3.19 санитарная обработка полная: Обработка открытых участков тела дезинфицирующими, дезактивирующими или дегазирующими веществами (растворами) с последующим мытьем всего тела под душем теплой водой с мылом.
3.20 санитарная обработка частичная: Протирание открытых участков тела, одежды, обуви, средств индивидуальной защиты тампонами (из ваты, марли, ткани и т.п.), смоченными дезинфицирующими или дегазирующими растворами (при дезактивации - водой), а также (только при дезактивации) механическая чистка одежды вытряхиванием или выколачиванием.
3.21 санитарно-обмывочный пункт: Комплекс помещений, технических и материальных средств, предназначенный для смены одежды, обуви, санитарной обработки населения, контроля радиоактивного загрязнения кожных покровов, средств индивидуальной защиты, специальной и личной одежды людей.
3.22 санитарный пропускник: Помещение, предназначенное для смены одежды, санитарной обработки персонала и контроля радиоактивного загрязнения кожных покровов и спецодежды.
3.23 специальная обработка: Дегазация, дезактивация и дезинфекция.
3.24
средства индивидуальной защиты населения; СИЗ: Предмет или группа предметов, предназначенных для защиты человека или животного от радиоактивных, опасных химических и биологических веществ и светового излучения ядерного взрыва.
[ГОСТ Р 22.0.02-94, статья 2.3.14]
3.25 станция обеззараживания одежды: Комплекс помещений, технических и материальных средств, предназначенный для специальной обработки одежды, обуви, а также для пропитки одежды защитными составами.
3.26 станция обеззараживания техники: Комплекс помещений, технических и материальных средств, предназначенный для специальной обработки подвижного состава автотранспорта.
3.27 фильтрующие средства защиты кожи: Средства индивидуальной защиты кожи человека, изготовленные из тканых материалов и допускающие воздухообмен между окружающей средой и под одежным пространством.
3.28 «чистая» зона: Помещения, часть территории объекта или территории, прилегающей к объекту, не загрязненные аварийно химически опасными и другими опасными химическими веществами, радиоактивными веществами и биологически опасными агентами.
4.1 В настоящем своде правил рассматриваются следующие объекты коммунально-бытового назначения:
- бани, банно-прачечные комбинаты, спортивно-оздоровительные комплексы, душевые промышленных предприятий - для санитарной обработки населения в качестве санитарно-обмывочных пунктов;
- предприятия стирки и химической чистки белья (одежды) - для специальной обработки одежды, в качестве станций обеззараживания одежды;
- посты мойки и уборки подвижного состава автотранспорта в автотранспортных предприятиях, на базах централизованного технического обслуживания и станциях технического обслуживания - для специальной обработки техники, в качестве станций обеззараживания техники.
4.2 При проектировании приспособления объектов коммунально-бытового назначения, предназначенных для использования в качестве санитарно-обмывочных пунктов, станций обеззараживания одежды и специальной обработки (обеззараживания) техники, для санитарной обработки населения, обеззараживания одежды и специальной обработки техники, подвергшихся заражению (загрязнению) отравляющими веществами, аварийно химически опасными веществами, радиоактивными веществами или бактериальными средствами, следует предусматривать круглосуточную бесперебойную работу этих объектов и поточность обработки, не допуская пересечения загрязненных потоков с потоками, прошедшими санитарную или специальную обработку.
Примечание - К одежде, подлежащей специальной обработке, следует относить также нательное белье, обувь и средства индивидуальной защиты кожи человека.
4.3 Вход и выход (въезд и выезд) из объектов следует располагать с разных сторон здания. Допускается размещать вход и выход (въезд и выезд) с одной стороны здания при условии, что расстояние между ними составляет не менее 20 м.
4.4 В объектах или помещениях следует выделять «грязную» и «чистую» зоны с целью отделения загрязненных потоков от потоков, прошедших санитарную или специальную обработку.
4.5 Санитарную обработку персонала, обслуживающего объекты, приспособленные для обеззараживания одежды и специальной обработки техники, а при необходимости и лиц, доставивших на специальную обработку одежду или технику, следует проводить в санитарных пропускниках, оборудованных на базе душевых помещений объектов.
При проектировании приспособления бань, банно-прачечных комбинатов и спортивно-оздоровительных комплексов для санитарной обработки населения необходимо предусматривать пост или пункт медицинского осмотра площадью не менее 9 м2.
Помещение (участок) для уличной и домашней одежды лиц, доставивших на специальную обработку одежду или технику, следует оборудовать во вспомогательных помещениях, не приспосабливаемых для специальной обработки одежды и техники.
В «чистой» зоне объектов должна быть предусмотрена комната отдыха обслуживающего персонала, площадь которой определяется из расчета 1 м2 на одного человека, но не менее 12 м2.
4.6 Полы основных помещений (цехов, участков) объектов должны иметь уклон 0,01 - 0,02 в сторону трапов и лотков.
Стены и потолки помещений следует окрашивать влагостойкими красками. Рекомендуется отделка стен глазурованной плиткой на всю высоту помещения. Деревянные и стальные конструкции следует окрашивать масляными красками или эмалями два раза. Окна следует закрывать и герметизировать.
Все трещины, щели, места прохода инженерных коммуникаций в перегородках и стенах между «чистой» и «грязной» зонами, а также дверные притворы неиспользуемых выходов из здания следует герметизировать и перед окраской шпатлевать.
4.7 Проход между «чистой» и «грязной» зонами следует оборудовать тамбурами, оснащенными двумя дверьми.
4.8 Объекты следует оборудовать приточно-вытяжной вентиляцией в соответствии с СП 60.13330, при этом необходимо обеспечить направленное движение воздуха из «чистой» зоны «в грязную».
При проектировании вентиляции следует предусматривать перераспределение воздухоподачи между отдельными помещениями в соответствии с нормами воздухообмена помещений. Пересмотр проектов магистральных воздуховодов не допускается.
При необходимости допускается предусматривать повышение скоростей воздушного потока в воздуховодах, несмотря на появление в связи с этим шума повышенного уровня.
При недостаточной воздухоподаче в системе вентиляции следует предусматривать возможность увеличения производительности вентиляторов или при необходимости установку дополнительных вентиляторов.
Температура воздуха, подаваемого в помещения в холодное время года, должна быть не ниже 15 °С.
4.9 Система канализационных выпусков, лотков и колодцев на объектах должна быть доступной для периодической чистки.
Локальные очистные сооружения следует проектировать с учетом возможности их работы в режиме специальной обработки сточных вод в соответствии с требованиями СП 31.13330 [1].
При отсутствии на объектах локальных очистных сооружений сточные воды следует подвергать специальной обработке на городских сооружениях биологической и физико-химической очистки сточных вод.
4.10 На территории объекта (или прилегающей к нему) следует оборудовать участок площадью 10 - 20 м2 для временного хранения загрязненных отходов и ветоши до их вывоза в места, определяемые по согласованию с местной санитарно-эпидемиологической станцией.
Участок складирования с твердым покрытием и водоотводом в дождеприемный колодец, а при отсутствии дождевой канализации - в испарительный колодец, следует располагать в «грязной» зоне.
4.11 На территории объекта или вблизи него следует предусматривать выделение площадок для частичной санитарной обработки прибывающих людей, которые следует располагать с учетом направления ветров в данной местности.
«Грязная» зона площадки должна находиться с подветренной стороны по отношению к «чистой» зоне и к объекту.
На площадке частичной санитарной обработки следует предусматривать твердое покрытие и организованный водоотвод. Сточные воды следует сбрасывать в дождеприемный колодец, а при отсутствии дождевой канализации - в испарительный колодец.
При проектировании приспособления объекта только для импрегнирования одежды площадку для частичной санитарной обработки предусматривать не следует.
4.12 Проектно-сметную документацию на приспособление объектов коммунально-бытового назначения следует разрабатывать в соответствии с требованиями [2] и паспортами объектов.
На каждый объект коммунально-бытового назначения должен быть разработан проект его приспособления для санитарной обработки населения, обеззараживания одежды и специальной обработки техники.
В проекте следует выделять два этапа:
I этап - подготовительные мероприятия, подлежащие выполнению заблаговременно, в ходе строительства новых, реконструкции и расширения существующих объектов, а также при различных видах ремонта действующих объектов. В этот этап следует включать наиболее трудоемкие строительно-монтажные работы, обеспечивающие перевод объекта на режим санитарной обработки населения, обеззараживания одежды и специальной обработки техники в течение 24 ч, но не затрудняющие работу предприятия в режиме мирного времени;
II этап - мероприятия по переводу объекта на режим санитарной обработки населения, обеззараживания одежды и специальной обработки техники. В этот этап следует включать мероприятия, выполнение которых заблаговременно нецелесообразно. Осуществление мероприятий по II этапу следует предусматривать в «особый период».
5.1 При проектировании приспособления бань (банно-прачечных комбинатов и спортивно-оздоровительных комплексов) в качестве санитарно-обмывочных пунктов для санитарной обработки населения следует предусматривать на их территориях площадки для частичной специальной обработки протиранием дегазирующими, дезинфицирующими и дезактивирующими растворами изолирующих средств индивидуальной защиты (защитных костюмов, резиновых сапог, защитных перчаток, противогазов) и обуви. Площадка должна быть оборудована вешалками для выколачивания одежды, загрязненной радиоактивными веществами.
Указанные средства индивидуальной защиты (за исключением противогазов) и обувь после специальной обработки следует упаковывать в пронумерованные пластиковые пакеты и на транспортных тележках перевозить в одевальную, где содержимое пакетов возвращают их владельцам, прошедшим полную санитарную обработку.
В сырую или холодную погоду специальную обработку средств индивидуальной защиты и обуви необходимо проводить в вестибюле бани.
В проекте приспособления бань (банно-прачечных комбинатов и спортивно-оздоровительных комплексов) в качестве основных помещений следует предусматривать использование помещений мужского и женского отделений (через которые необходимо организовать поточное движение людей при санитарной обработке): вестибюль, ожидальную раздевальную, мыльное и душевое отделения, одевальную (раздевальную смежного отделения), а также выход на улицу.
Остальные помещения бань (ванные, отдельные номера, оздоровительно-профилактические отделения, служебные и подсобные помещения) следует использовать в качестве вспомогательных.
Помещения бани для санитарной обработки населения следует использовать согласно таблице 5.1.
Таблица 5.1 - Назначение помещений бань
|
Назначение помещений |
|
|
для работы в обычном режиме |
для санитарной обработки населения |
|
Вестибюли с гардеробом |
Вестибюли, помещения приемки верхней одежды, загрязненной отравляющими веществами, аварийно химически опасными веществами, радиоактивными веществами и бактериальными средствами (далее - загрязненная одежда) |
|
Ожидальная |
Ожидальная, пункт медицинского осмотра и пост дозиметрического контроля |
|
Раздевальная |
Раздевальная, места сбора загрязненной одежды, дополнительной специальной обработки противогазов, упаковывания их в пронумерованные пластиковые пакеты и укладки в транспортную тележку |
|
Уборная |
Уборная |
|
Мыльное отделение |
Душевая |
|
Душевые кабины |
Душевая |
|
Раздевальная (смежного отделения) |
Одевальная, посты медицинского осмотра и дозиметрического контроля |
|
Остальные помещения |
Помещение (участок) для сортировки и упаковывания загрязненной одежды и средств индивидуальной защиты в тарные мешки для отправки на станцию обеззараживания одежды; помещение (участок) для хранения запаса мыла и мочалок; помещение для хранения обеззараживающих средств; комната отдыха обслуживающего персонала; гардероб персонала (для хранения обработанной одежды и средств индивидуальной защиты); помещение для хранения обменного фонда одежды, обуви и средств индивидуальной защиты |
|
Примечание - В теплую сухую погоду при функционировании площадки частичной санитарной обработки пост дозиметрического входного контроля из ожидальной переносится во вход в баню. |
|
5.2 В состав «грязной» зоны необходимо включать следующие основные помещения: вестибюль, помещения для приемки верхней (уличной) одежды, сортировки и упаковывания в тарные мешки загрязненного имущества, ожидальную, раздевальную, душевую и смежные с ними вспомогательные помещения.
В «грязной» зоне следует предусматривать помещение (участок) для парикмахерской.
Остальные помещения следует относить к «чистой» зоне.
5.3 При проектировании приспособления бани движение людей следует предусматривать в один поток при этом женщины и мужчины обслуживаются попеременно.
Примерная схема работы бани при санитарной обработке населения приведена в приложении А на рисунке А.1.
5.4 В раздевальной должно быть предусмотрено место (участок) для дополнительной специальной обработки надетых противогазов протиранием дегазирующими или дезинфицирующими растворами.
Рядом с раздевальной следует предусматривать помещения или участки (места) для сортировки, упаковывания загрязненной одежды и отправки ее на станцию обеззараживания одежды. Загрязненная одежда обезличивается.
Допускается предусматривать дезинфекционные камеры для обеззараживания одежды от бактериальных средств поражения.
В «грязной» зоне между ожидальной и раздевальной следует предусматривать уборную, используемую только при заражении бактериальными средствами.
5.5 Смежно расположенные мыльные и душевые мужского и женского отделений бани необходимо приспосабливать под единое душевое помещение для санитарной обработки людей. С этой целью в перегородке между отделениями следует предусматривать запасные двери.
Допускается предусматривать между мыльными и душевыми мужского и женского отделений бани помещения другого назначения при условии обеспечения прохода через эти помещения из одной мыльной или душевой в другую.
5.6 Санитарную обработку населения необходимо предусматривать в главном проходе и проходах между скамьями мыльных отделений, приспособленных под душевые, а также в душевых кабинах.
При входе в мыльное отделение, приспособленное под душевую, следует предусматривать участок для снятия противогазов, упаковывания их в пронумерованные пластиковые пакеты и укладки на транспортную тележку для перевозки в одевальную, где противогазы возвращают их владельцам.
Допускается между раздевальной и душевой устраивать тамбуры для специальной обработки (протиранием) шлем-масок противогазов, снятия их, упаковывания в пронумерованные пластиковые пакеты и укладки на транспортную тележку перед входом в душевую.
По степени радиоактивной загрязненности одежда и средства индивидуальной защиты делятся на три группы согласно таблице 5.2.
Таблица 5.2 - Группы по степени радиоактивной загрязненности одежды и средств индивидуальной защиты
|
Группа |
Радиоактивная загрязненность с площади 150 см2/мин |
|
|
Альфа-частиц до |
Бета-частиц до |
|
|
1 |
500 |
25 000 |
|
2 |
2000 |
100 000 |
|
3 |
7000 |
500 000 |
Работники вестибюлей и помещений приемки верхней одежды и белья, загрязненного бета- и альфа-гамма-активными веществами, на время работы должны снабжаться индивидуальными дозиметрами. Данные дозиметрического контроля должны регистрироваться в журнале. На основании данных дозиметрического контроля должны подсчитываться суммарные дозы облучения обслуживающего персонала.
На объектах и в помещениях санитарно-обмывочных пунктов запрещается курение. Курение, прием и хранение пищи разрешается только в местах, строго отведенных для этих целей.
5.7 Раздевальную одного из отделений бани необходимо приспосабливать под одевальную.
При ожидальной и одевальной следует предусматривать посты: медицинские и дозиметрического контроля.
Допускается отделять помещения медицинского поста, поста дозиметрического и химического контроля от других помещений ширмами или легкими перегородками.
Площадь медицинского поста должна быть не менее 9 м2.
5.8 Число мест в раздевальной и одевальной (в отдельности) должно соответствовать числу людей, одновременно проходящих санитарную обработку, которое должно быть равно удвоенному числу душевых сеток.
Площадь помещений раздевальной (одевальной) следует принимать из расчета 4 м2 на одну душевую сетку, предусматривая при этом по два места для раздевания (одевания).
Пропускную способность бани или душевой (чел/ч) в режиме санитарной обработки людей следует принимать равной числу душевых сеток, умноженному на коэффициент 7,2.
Число потоков в душевой в режиме санитарной обработки людей следует определять из расчета проведения санитарной обработки в течение не более 2 ч наибольшей работающей смены в военное время.
5.9 Помещение (участок) для сбора, сортировки и упаковывания загрязненной одежды следует располагать в «грязной» зоне. Это помещение должно быть связано с раздевальной и гардеробом вестибюля.
При размещении этого помещения (участка) на первом этаже допускается предусматривать погрузку загрязненного имущества (при отправке его на специальную обработку) через окно.
5.10 Помещение, оборудованное стеллажами для размещения и хранения рассортированных по размерам фонда одежды, обуви и средств индивидуальной защиты, следует предусматривать в одном из помещений бани, расположенном смежно с одевальной или связанной с ним в «чистой зоне».
Помещения для хранения обменного фонда следует проектировать из расчета замены нательного белья, одежды и фильтрующих средств защиты кожи для всех лиц, прошедших санитарную обработку, а обуви, изолирующих средств защиты кожи и противогазов - для 10 - 20 % лиц, прошедших санитарную обработку.
Площадь помещений (участков) для сортировки и упаковывания загрязненной одежды, а также для хранения обменного фонда следует принимать из расчета 0,06 м2 на 1 кг одежды, обуви и средств индивидуальной защиты, но не менее 6 м2.
Площадь помещений (участков) для сбора загрязненной и выдачи чистой одежды следует принимать из расчета 0,02 м2 на 1 кг одежды, но не менее 6 м2.
Площадь помещения для хранения мыла и мочалок следует принимать из расчета 0,16 м2 на одну душевую сетку, но не менее 3 м2.
5.11 Для переоборудования мыльных помещений в душевые под потолком главного прохода и под потолком между скамьями необходимо укрепить трубопроводы с переходными фитингами для подсоединения к ним душевых сеток на расстоянии 1,1 м одна от другой. Душевые сетки следует располагать на высоте 2,2 м от пола.
5.12 Трубопроводы, к которым присоединяют душевые сетки, должны питаться от одного общего смесителя горячей и холодной воды, устанавливаемого со стороны «чистой» зоны. Температура горячей воды должна быть не менее 38 - 40 °С при одновременной работе всех душевых сеток.
5.13 Трубопроводы следует проектировать из расчета пропуска по ним воды 5 - 7 л/мин на каждую душевую сетку.
При использовании тупиковых кабин расход воды следует увеличивать на 2 л/мин на каждую сетку.
5.14 Запасные уравнительные баки холодной и горячей воды следует предусматривать в соответствии с СП 30.13330.
5.15 Вентиляция в помещениях бани, приспосабливаемой для санитарной обработки людей, должна предусматривать:
- вытяжку из душевой, раздевальной и других помещений «грязной» зоны;
- подачу свежего воздуха в одевальную и другие помещения «чистой» зоны;
- кратность воздухообмена в 1 ч не менее: 10 - в помещении (на участке) для хранения загрязненной одежды, 5 - в остальных помещениях «грязной» зоны.
Количество воздуха, подаваемого в помещения бани, должно быть не менее предусматриваемого в СП 60.13330.
5.16 Ширина дверных проемов основных помещений санитарного обмывочного пункта, а также проходов между душевыми кабинами должна быть не менее 0,9 м и предусматривать проезд транспортных тележек, идентичных применяемым в прачечных для транспортирования белья. Проезд транспортных тележек следует предусматривать из помещения приемки верхней одежды в одевальную.
6.1 При проектировании приспособления санитарно-бытовых помещений промышленных предприятий в качестве санитарно-обмывочных пунктов для санитарной обработки населения следует предусматривать использование гардероба и душевых в качестве основных помещений. Через эти помещения следует организовать поточное движение людей в последовательности: ожидальная - раздевальная - участок для специальной обработки противогазов - посты медицинского осмотра и дозиметрического контроля - душевая - одевальная - посты медицинского осмотра, химического и дозиметрического контроля. Остальные санитарно-бытовые помещения (умывальные, кладовые и т.д.) следует использовать в качестве вспомогательных помещений, необходимых для санитарной обработки людей.
Санитарно-бытовые и другие близлежащие вспомогательные помещения промышленных предприятий для санитарной обработки населения следует применять в соответствии с таблицей 6.1.
Таблица 6.1 - Назначение санитарно-бытовых помещений промышленных предприятий
|
Назначение помещений |
|
|
для работы в обычном режиме |
для санитарной обработки населения |
|
Гардероб специальной одежды |
Участок для сбора загрязненной одежды; участок для сортировки и упаковывания загрязненной одежды в тарные мешки; участок для специальной обработки противогазов; раздевальная |
|
Кладовая чистой спецодежды |
Медицинский пункт |
|
Кладовая грязной спецодежды |
Помещение для хранения и выдачи мыла и мочалок |
|
Преддушевая, душевая |
Душевая |
|
Уборная |
Уборная |
|
Гардероб домашней одежды |
Пост дозиметрического контроля; одевальная; медицинский пункт; место хранения и выдачи обменного фонда одежды, обуви и средств индивидуальной защиты |
|
Места для дежурного персонала, глажения и чистки одежды |
Комната отдыха обслуживающего персонала; гардероб обслуживающего персонала |
6.2 При проектировании приспособления санитарно-бытовых помещений для санитарной обработки населения следует предусматривать поточное движение людей, при этом женщины и мужчины должны проходить санитарную обработку попеременно или двумя параллельными потоками.
Пропускную способность душевой санитарно-бытовых помещений (чел/ч) в режиме санитарной обработки людей следует принимать равной числу душевых сеток, умноженному на коэффициент 7,2.
Число потоков в душевой в режиме санитарной обработки людей следует определять из расчета проведения санитарной обработки в течение не более 2 ч наибольшей работающей смены в военное время.
Для обеспечения требуемого режима движения и сокращения времени, затрачиваемого на санитарную обработку, необходимо основные санитарно-бытовые помещения (гардероб, душевые, преддушевые, кладовые) предусматривать смежными, а вспомогательные помещения, предназначенные для хранения моющих средств и обменного фонда одежды и обуви, для сбора, сортировки и упаковывания загрязненного имущества и для обслуживающего персонала, - по возможности смежными с основными помещениями.
6.3 В состав «грязной» зоны необходимо включать участок для сбора, сортировки и упаковывания загрязненной одежды, раздевальную и душевую.
Приспособление помещений для санитарной обработки населения и их планировочные решения следует выполнять в соответствии с 5.2, 5.4 - 5.7, 5.9 и 5.10.
6.4 Примерная схема приспособления санитарно-бытовых помещений промышленных предприятий для санитарной обработки населения приведена в приложении А на рисунке А.2.
6.5 Число мест в раздевальной и одевальной, а также площади основных и вспомогательных помещений определяются в соответствии с 5.8.
Площадь помещения раздевальной (одевальной) следует принимать из расчета 4 м2 на одну душевую сетку, предусматривая при этом по два места для раздевания (одевания).
Площади медицинского поста, помещений (участков) для сбора, сортировки и упаковывания загрязненной одежды, хранения и выдачи обменного фонда следует принимать в соответствии с требованиями 5.7 и 5.10.
6.6 Полы в раздевальных, местах санитарной обработки людей, в помещениях для сбора, сортировки и упаковывания загрязненной одежды должны быть оборудованы трапами. Покрытие полов должно обеспечивать их чистку и влажную уборку с применением дезинфицирующих и дегазирующих средств.
Облицовку стен и перегородок, а также устройство полов остальных помещений следует предусматривать в соответствии с требованиями СП 44.13330 и 4.6 настоящего свода правил.
6.7 Вентиляцию и отопление в приспосабливаемых помещениях следует проектировать в соответствии с требованиями СП 60.13330 и 5.15 настоящего свода правил.
6.8 Требования к трубопроводам, температуре воды и ее расходу следует принимать в соответствии с 5.12 и 5.13.
6.9 Помещения или участки для сбора, сортировки и упаковывания загрязненной одежды следует предусматривать в соответствии с требованиями 5.4.
6.10 Ширину дверных проемов следует предусматривать в соответствии с 5.16.
7.1 Помещения предприятий стирки белья, применяемые для обеззараживания одежды, приведены в таблице 7.1.
Таблица 7.1 - Назначение помещений предприятий стирки белья
|
Назначение помещений |
|
|
для работы в обычном режиме |
для обеззараживания одежды |
|
Цех приемки и сортировки грязного белья |
Цех приемки и сортировки загрязненной одежды; пост дозиметрического контроля |
|
Склад материального обеспечения |
Склад загрязненной одежды |
|
Стиральный цех |
Цех специальной обработки; участок приготовления растворов для специальной обработки одежды |
|
Кладовая моющих средств |
Склад моющих средств и препаратов для специальной обработки |
|
Сушильно-гладильный цех |
Цех окончательного обезвоживания и отделки одежды |
|
Цех разборки, починки и упаковки белья: |
Цех разборки, починки и упаковывания специально обработанной одежды: |
|
- помещение для разборки белья |
участок подборки специально обработанной одежды |
|
- помещение для хранения белья |
склад одежды, прошедшей специальную обработку |
|
Вспомогательные и бытовые помещения прачечных |
Комната отдыха обслуживающего персонала; кладовая обменного фонда одежды, обуви и средств индивидуальной защиты; санитарный пропускник |
При проектировании приспособления прачечных, включая прачечные самообслуживания и кооперированные предприятия, следует предусматривать помещение для лаборатории площадью не менее 20 м2, оснащенное отдельной системой вентиляции, обеспечивающей работу вытяжного шкафа, а также кратность воздухообмена в помещении не менее 5 в 1 ч в соответствии с СП 60.13330. К помещению лаборатории должна быть подведена горячая и холодная вода, а также электросеть, обеспечивающая работу сушильного шкафа и сушильного барабана загрузочной массой не менее 5 кг белья.
7.2 В состав «грязной» зоны следует включать цех приемки и сортировки загрязненной одежды, склад загрязненной одежды, цех обеззараживания одежды, а также помещения для санитарной обработки обслуживающего персонала. Остальные помещения необходимо относить к «чистой» зоне.
Производственная мощность предприятий стирки белья при работе в режиме обеззараживания одежды определяется производительностью оборудования и видом загрязнения.
Ориентировочную суточную производственную мощность при непрерывной работе станции обеззараживания одежды на базе предприятий стирки белья следует принимать равной (в процентах от сменной производственной мощности прачечной в режиме мирного времени):
- 200 % - при дезактивации;
- 120 - 150 % - при дегазации;
- 60 - 90 % - при дезинфекции.
7.3 Приспосабливаемые помещения необходимо размещать в соответствии с принципом поточности обработки: загрязненная одежда от участка сортировки подается на склад (планировочное решение и оборудование которого должны предусматривать возможность раздельного хранения загрязненной одежды по видам загрязнения), затем поступает на обеззараживание и далее в «чистую» зону на глажение, починку, подборку, упаковывание и отправку.
7.4 При одноэтажной планировке производственных цехов «грязная» и «чистая» зоны должны находиться с разных сторон здания, а внутри здания разделяться перегородкой, в которой следует предусматривать тамбур для проезда внутрицехового транспорта. При многоэтажной планировке цехов «грязную» зону следует располагать на нижних, а «чистую» - на верхних этажах.
7.5 Немеханизированные склады для хранения загрязненной и обработанной одежды следует оснащать металлическими стеллажами. На складе обработанного белья допускается применять деревянные стеллажи, окрашенные масляной краской два раза.
7.6 Цех приемки и сортировки, а также склад загрязненной одежды должны быть ограждены от остального помещения стирального цеха сплошными перегородками. В перегородках следует предусматривать ворота (двери) для проезда внутрицехового транспорта.
7.7 Для обеззараживания одежды следует применять только циклические стирально-отжимные и стиральные машины.
Стиральные тоннельные и карусельные установки разрешается применять только для дополнительной гигиенической стирки после обеззараживания одежды.
7.8 Сушильно-растрясочные машины должны быть вмонтированы в перегородку между стиральным и гладильным цехами так, чтобы отверстие загрузки машины находилось в «грязной», а отверстие выгрузки - в «чистой» зоне.
При проектировании приспособления предприятий стирки белья для импрегнирования одежды следует увеличивать мощность сушильного (сушильно-растрясочного) оборудования до 30 - 40 % мощности установленного в прачечной циклического стирального оборудования (стиральных и стирально-отжимных машин).
7.9 При проектировании приспособления новых и реконструируемых предприятий стирки белья для обеззараживания одежды, как правило, следует предусматривать подачу сухого перегретого пара давлением, МПа (кгс/см2):
- 0,3 - 0,5 (3 - 5) - к отечественным стирально-отжимным и стиральным машинам;
- 0,5 - 0,8 (5 - 8) - к импортным стирально-отжимным машинам;
- 0,6 - 1,2 (6 - 12) - к гладильному оборудованию;
- 0,5 - 0,7 (5 - 7) - подачу сжатого воздуха давлением.
7.10 Между двумя смежными машинами циклического действия, выполняющими операции стирки и (или) отжима, трубопроводы горячей и холодной воды необходимо оборудовать смесителями со штуцерами под шланг для специальной обработки крышек загрузочных люков и прилегающих к ним участков корпуса машины перед выгрузкой из нее одежды.
Примерная схема приспособления предприятий стирки белья для работы в режиме обеззараживания одежды приведена в приложении А на рисунке А.3.
7.11 Вспомогательные помещения, в том числе и душевые предприятий стирки белья, необходимо приспосабливать под санитарный пропускник для санитарной обработки персонала, обслуживающего объект, а при необходимости и лиц, обеспечивших доставку в прачечную загрязненной одежды.
Число потоков при санитарной обработке людей и число душевых сеток в каждом потоке необходимо определять из расчета проведения санитарной обработки наиболее многочисленной смены не более чем за 2 ч с учетом того, что работающие в «грязной» зоне в этот же срок должны перед санитарной обработкой (на площадке частичной санитарной обработки протиранием) самостоятельно провести специальную обработку принадлежащих им изолирующих средств защиты кожи и противогазов.
Требования к помещениям для санитарной обработки персонала, инженерным сетям и ширине дверных проемов должны соответствовать требованиям 5.4 - 5.8, 5.10, 5.12, 5.13, 5.15, 5.16, 6.3 и 6.8.
7.12 В составе санитарного пропускника должны быть предусмотрены помещения, приведенные в таблице 7.2.
Таблица 7.2 - Назначение помещений санитарного пропускника
|
Назначение помещений |
|
|
для работы в обычном режиме |
для санитарной обработки населения |
|
Гардероб и раздевальная |
Пост дозиметрического контроля; участки сбора, сортировки и упаковывания загрязненной одежды; кладовая загрязненной одежды; раздевальная |
|
Преддушевая |
Медицинский пост; место специальной обработки и снятия противогазов, их упаковывания и укладки в транспортную тележку; место выдачи мыла и мочалок |
|
Душевая |
Помещение для полной санитарной обработки населения |
|
Ожидальная |
Пост дозиметрического контроля; медицинский пост |
|
Одевальная |
Гардероб уличной и домашней одежды, средств индивидуальной защиты обслуживающего персонала; место выдачи чистой одежды; места хранения обменного фонда одежды, противогазов, изолирующих средств защиты кожи, мыла и мочалок; комната отдыха обслуживающего персонала |
|
Примечания 1 На случай повреждения средств защиты, находящихся в пользовании персонала и лиц, сопровождающих прибывшую на объект технику, необходимо предусматривать обменный фонд средств индивидуальной защиты. 2 Для персонала, обслуживающего объект, следует предусматривать гардероб уличной, домашней и рабочей одежды и средств индивидуальной защиты. |
|
7.13 Примерная схема санитарного пропускника на один поток и расположение основных помещений приведены в приложении А на рисунке А.4.
7.14 Вспомогательные помещения санитарного пропускника целесообразно располагать смежно с соответствующими основными помещениями. Изолированные вспомогательные помещения следует располагать в той же («грязной» или «чистой») зоне, что и соответствующие основные помещения.
7.15 В гардеробе санитарных пропускников следует предусматривать хранение уличной одежды открытым способом, домашней и рабочей одежды, белья, обуви, а также средств индивидуальной защиты в закрытых одинарных шкафчиках.
Размеры вспомогательных помещений должны соответствовать указанным в разделе 6.
7.16 Систему водоснабжения санитарного пропускника следует проектировать в соответствии с 5.12 и 5.13.
7.17 При приспособлении новых и реконструкции действующих предприятий стирки белья умывальники и душевые следует предусматривать в помещениях, смежных с уборными и гардеробом, из расчета:
- один умывальник на 25 чел.;
- одна душевая сетка на 6 чел., но не менее двух сеток.
Число уборных следует предусматривать в соответствии с требованиями СП 44.13330.
7.18 Бесперебойная подача воды при работе предприятий стирки белья (производительностью при гигиенической обработке белья 3 т в смену и более) в режиме обеззараживания одежды должна обеспечиваться с помощью баков для хранения запаса воды. Проектировать запасные баки следует в соответствии с требованиями СП 44.13330.
7.19 Систему приточно-вытяжной вентиляции предприятий стирки белья следует предусматривать в соответствии с 4.8 и 5.15.
8.1 Предприятия химической чистки одежды следует приспосабливать в качестве станций обеззараживания одежды, для специальной обработки одежды.
При проектировании приспособления предприятий химической чистки одежды необходимо предусматривать помещения (цехи) под следующие технологические потоки:
- обеззараживание одежды в водной среде (стиркой);
- дегазация одежды в среде органических растворителей (химической чисткой).
При наличии на предприятии красильного отделения его оборудование следует включать в поток дегазации или дезинфекции одежды бучением.
Следует также предусматривать возможность обеззараживания в водной среде (стиркой или бучением).
Помещения предприятий химической чистки при обеззараживании одежды следует принимать согласно таблице 8.1.
Таблица 8.1 - Назначение помещений предприятий химической чистки одежды
|
Назначение помещений |
|
|
для работы в обычном режиме |
для обеззараживания одежды |
|
Отделение первичной сортировки одежды; отделение обработки ковров; отделение обработки пухоперовых изделий |
Отделение сортировки одежды, подлежащей обеззараживанию |
|
Отделение обработки одежды в водных растворах |
Отделение обеззараживания одежды в водной среде (стиркой) |
|
Отделение химической чистки |
Отделение дегазации одежды или снятия с нее защитного состава в среде органических растворителей химической чисткой |
|
Материальный склад; кладовая основного производства |
Материальный склад моющих средств и органических растворителей для специальной обработки одежды |
|
Отделение влажно-тепловой обработки |
Отделение окончательного обезвоживания одежды |
|
Участок ремонта одежды |
Участок ремонта одежды |
|
Экспедиция |
Участок подборки и упаковки одежды, прошедшей специальную обработку |
|
Гардероб, бытовые помещения |
Санитарный пропускник |
|
Красильное отделение (при наличии) |
Отделение дегазации и дезинфекции бучением |
8.2 Примерная схема приспособления предприятий химической чистки для обеззараживания одежды приведена в приложении А на рисунке А.5.
8.3 В состав «грязной» зоны необходимо включать следующие отделения: сортировки одежды; специальной обработки одежды бучением или стиркой; дегазации одежды химической чисткой. К «чистой» зоне следует относить отделение влажно-тепловой обработки, участок ремонта одежды, экспедицию.
8.4 Размещение остальных помещений предприятий химической чистки следует предусматривать с учетом 7.3 - 7.4.
8.5 Производственная мощность предприятий химической чистки при работе в режиме обеззараживания одежды определяется производительностью оборудования и видом загрязнения.
Ориентировочную производственную мощность станции обеззараживания одежды на базе предприятий химической чистки одежды следует принимать в соответствии с таблицей 8.2.
Таблица 8.2 - Производственная мощность предприятий химической чистки одежды
|
Производственная мощность предприятий химической чистки одежды (кг за 8-часовую рабочую смену) при работе в режиме |
|||
|
обычном (мирного времени) |
дезактивации (в водной среде методом стирки) |
дегазации (в среде органических растворителей методом химической чистки) |
дезинфекции (в водной среде методом бучения) |
|
350 |
300 |
320 |
200 |
|
1000 |
700 |
850 |
600 |
|
2000 |
1300 |
1500 |
1200 |
8.6 Требования к планировке, вентиляции и водоснабжению предприятий (в том числе санитарного пропускника), а также к составу и площадям ее основных и вспомогательных помещений аналогичны изложенным в разделах 5 и 7.
9.1 При проектировании приспособления новых или реконструкции действующих автотранспортных предприятий, баз централизованного технического обслуживания автомобилей, станций технического обслуживания автомобилей посты мойки и уборки автомобилей в качестве станций обеззараживания техники следует предусматривать проездными.
9.2 Специальную обработку техники следует производить на поточных линиях и проездных постах помещений мойки и уборки автомобилей. На действующих предприятиях тупиковые посты мойки и уборки автомобилей не следует приспосабливать для специальной обработки техники. При проектировании объектов для специальной обработки техники необходимо учитывать последовательность операций в соответствии с принципом поточности обработки:
- контроль загрязненности и/или зараженности техники (при дезактивации, дегазации и дезинфекции);
- чистка и мойка наружных и внутренних поверхностей техники (при дезактивации, дегазации и дезинфекции);
- нанесение на поверхность техники обезвреживающих веществ (при дегазации и дезинфекции);
- выдержка (при дезинфекции) нанесенных веществ на поверхности техники;
- смывание (снятие) обеззараживающих веществ;
- повторный контроль степени загрязненности (зараженности) радиоактивными веществами, отравляющими веществами, аварийно химически опасными веществами, бактериальными средствами техники и в случае необходимости повторение дезактивации, дегазации, дезинфекции;
- смазка поверхностей деталей и инструмента, изготовленных из легкокорродирующих материалов.
9.3 При специальной обработке техники следует принимать не менее двух последовательно расположенных рабочих постов.
Рабочий пост «чистой» зоны, предназначенный для повторного контроля загрязненности и смазки, допускается располагать отдельно от «грязной» зоны в смежном помещении или вне здания - на территории предприятия.
Рабочие посты «грязной» и «чистой» зон, расположенные в одном помещении, следует отделять перегородками с проемами для проезда автомобилей. Проемы должны быть оснащены водонепроницаемыми шторами.
9.4 В помещениях рабочих постов «грязной» и «чистой» зон следует предусматривать пост дозиметрического контроля. В теплую сухую погоду пост дозиметрического входного и выходного контроля из помещений может быть перенесен на территорию, не допуская нарушения последовательности операций специальной обработки и принципа поточности обработки.
9.5 В одном помещении допускается размещать два и более параллельно расположенных потоков для специальной обработки техники, при этом посты «грязных» зон параллельных потоков должны быть изолированы один от другого перегородками или экранами высотой не менее 2,4 м.
Расстояния между боковыми сторонами техники и экранами должны быть не менее:
- 1,2 м - для легковых автомобилей;
- 1,5 м - для грузовых автомобилей и автобусов.
Расстояния между торцевыми сторонами техники, перегородками, шторами или наружными воротами приведены в [4].
9.6 На постах специальной обработки техники в «грязной» зоне следует предусматривать установку рабочих столов с металлическим или пластмассовым покрытием, а также металлических емкостей с обезвреживающими растворами для специальной обработки узлов, деталей и инструмента, снимаемых с автомобилей.
В «чистой» зоне следует предусматривать установку рабочих столов для повторного контроля и смазки снятых узлов, деталей и инструмента.
9.7 К моечному оборудованию и рабочим столам, расположенным в «грязной» и «чистой» зонах, следует предусматривать подвод через смеситель холодной и горячей воды, а также сжатого воздуха.
Температура воды для мойки подвижного состава с применением механизированных установок не нормируется. При ручной шланговой мойке температура воды должна быть 20 - 40 °С.
9.8 Рабочие посты «грязной» и «чистой» зон для работ в нижней части подвижного состава должны быть оборудованы осмотровыми канавами, эстакадами или подъемниками. Габариты рабочей зоны осмотровых канав следует принимать в соответствии с таблицей 9.1.
Таблица 9.1
|
Тип подвижного состава |
Габариты рабочей зоны осмотровых канав, м |
||
|
длина |
ширина |
глубина |
|
|
Легковые автомобили |
Не менее наибольшей длины автомобиля |
0,9 - 1,1 |
1,1 - 1,5 |
|
Грузовые автомобили и автопоезда |
Не менее наибольшей длины автомобиля или автопоезда |
1,0 - 1,2 |
1,1 - 1,3 |
|
Автобусы |
Не менее наибольшей длины автобуса |
1,2 - 1,3 (при внутренней реборде); 1,4 - 1,6 (при наружной реборде) |
1,1 - 1,3 |
Ступени в осмотровой канаве следует предусматривать в торцевой части со стороны въездов автомобилей на рабочие посты без устройства тоннелей (переходов).
9.9 Пропускную способность (автомобилей в час) участка по специальной обработке техники следует принимать в соответствии с таблицей 9.2.
Таблица 9.2
|
Тип автомобиля |
Дезактивация |
Дегазация и дезинфекция |
||||
|
Один пост |
Поточная линия |
Один пост |
Поточная линия |
|||
|
На два поста |
На три поста |
На два поста |
На три поста |
|||
|
Легковые автомобили |
5 |
10 |
15 |
2 |
4 |
6 |
|
Грузовые автомобили и автобусы |
4 |
8 |
12 |
2 |
3 |
4 |
Обработку единицы техники на каждом посту одновременно ведут:
- не менее двух человек - грузового автомобиля или автобуса;
- один человек - легкового автомобиля.
Примерная схема размещения и оборудования рабочих постов в помещении станции обеззараживания техники на две параллельные поточные линии и на один проездной пост приведена в приложении А на рисунке А.6.
9.10 В одном здании с помещением для специальной обработки техники необходимо предусматривать раздельные вспомогательные помещения для хранения средств специальной обработки и материалов. Площадь помещения следует принимать в зависимости от пропускной способности участка обеззараживания техники, но не менее 8 м2. Вход в помещение следует предусматривать из «чистой» зоны. Помещение должно быть оборудовано стеллажами.
9.11 Помещение для обслуживающего персонала и санитарный пропускник, как правило, следует располагать в одном здании с постами специальной обработки техники.
Вход в помещение для обслуживающего персонала должен быть со стороны «чистой» зоны.
Для санитарных пропускников допускается приспосабливать санитарно-бытовые помещения (с двумя душевыми сетками и более), находящиеся в других корпусах предприятия.
9.12 Требования к санитарному пропускнику для обслуживания персонала, водителей автомобилей и сопровождающих лиц, к составу и размерам его помещений аналогичны требованиям, изложенным в разделе 6.
9.13 Требования к отделке стен, перегородок, а также устройству полов помещений специальной обработки техники (приведены в [4]) должны соответствовать 4.6.
Полы помещений специальной обработки техники должны иметь уклон 0,02 в сторону осмотровых канав, полы которых должны иметь уклон в сторону выпуска сточных вод.
9.14 В помещениях специальной обработки техники, помещениях для обслуживающего персонала и на складе загрязненной одежды следует предусматривать поливочные краны для мытья полов.
9.15 Сточные воды из помещений, приспосабливаемых для специальной обработки техники, должны поступать на очистные сооружения оборотного водоснабжения. Применяемые в обычное время при специальной обработке техники очистные сооружения должны быть переведены на прямоточную схему без изменений схемы очистки.
Время пребывания сточных вод в очистных сооружениях должно быть не менее 30 мин. Сточные воды после очистки должны быть сброшены в бытовую или дождевую канализацию.
Осадок или масла из очистных сооружений следует вывозить в места, согласованные с местной санитарно-эпидемиологической станцией.
9.16 Приточно-вытяжная вентиляция должна обеспечивать в «грязной» зоне производственных помещений и санитарного пропускника кратность обмена воздуха не менее 10 м3/ч. Приточный воздух следует подавать только в «чистую» зону.
Вытяжка должна быть сосредоточенной из верхней части помещения, причем из «грязной» зоны - 2/3, из «чистой» - 1/3 объема отсасываемого воздуха.
При расположении рабочих постов «чистой» зоны отдельно от «грязной» (вне здания - на территории предприятия) приточный воздух следует подавать к рабочим постам «грязной» зоны.
Объем воздуха при вытяжке должен быть на 20 % больше объема приточного воздуха.
Примерная схема размещения оборудования для одного проездного поста с использованием эстакады приведена в приложении А на рисунке А.7.
(справочное)

1 - тамбур; 2 - вестибюль; 3 - пост дозиметрического
контроля; 4 - пункт приемки верхней одежды;
5 - помещение для хранения тарных мешков и упаковочных пластиковых пакетов; 6 -
помещение для
хранения химических препаратов; 7 - помещение для хранения медикаментов; 8 -
пост медицинского
контроля; 9 - ожидальная; 10 - парикмахерская; 11 - помещение для сортировки и
упаковывания
загрязненной одежды и вещевого имущества; 12 - раздевальная, место сбора
загрязненной одежды и
противогазов; 13 - место для специальной обработки противогазов; 14 - помещение
для хранения запаса
мыла и мочалок; 15 - кладовая; 16 - душевая; 17 - одевальная; 18 - помещение
для хранения обменного
фонда одежды, обуви и средств индивидуальной защиты; 19 - гардероб персонала
(для хранения
обработанной одежды и средств индивидуальной защиты); 20 - помещение для
хранения полотенец и
простыней (для вытирания после санитарной обработки); 21 - комната отдыха
обслуживающего
персонала «чистой» зоны; 22 - тепловой пункт; 23 - комната отдыха
обслуживающего персонала
«грязной» зоны; 24 - парильная; 25 - уборная
Рисунок А.1 - Примерная схема работы бани при санитарной обработке населения

1 - раздевальная; 2 - участок для сбора загрязненной
одежды; 3 - место для хранения тарных мешков;
4 - участок для сортировки и упаковывания загрязненной одежды; 5 - комната для
приема пищи;
6 - помещение для хранения и выдачи мыла и мочалок; 7 - участок для специальной
обработки
противогазов; 8 - душевая; 9 - место для хранения и выдачи обменного фонда
одежды; 10 - одевальная;
11 - уборная; 12 - пост дозиметрического контроля; 13 - комната отдыха
обслуживающего персонала;
14 - гардероб обслуживающего персонала; 15 - пункт приемки верхней одежды с
местом для хранения
тарных мешков; 16 - помещение для хранения химических препаратов; 17 - место
для специальной
обработки изолирующих средств защиты кожи обуви и противогазов; 18 - ожидальная
Рисунок А.2 - Примерная схема приспособления
санитарно-бытовых помещений
промышленных предприятий для санитарной обработки населения

1 - ожидальная; 2 - помещение для приемки загрязненной
одежды; 3 - пост дозиметрического контроля;
4 - помещение для сортировки и хранения загрязненной одежды; 5 - цех
обеззараживания одежды;
6 - гладильный цех; 7 - склад одежды, прошедшей обеззараживание; 8 - помещение
для выдачи одежды,
прошедшей обеззараживание; 9 - склад обеззараживающих средств; 10 - склад
обменного фонда одежды;
11 - вентиляционная камера; 12 - электрощитовая; 13 - участок для приготовления
моющих и
обеззараживающих растворов; 14 - кладовая моющих средств; 15 - тепловой узел;
16 - механическая
мастерская; 17 - санитарный пропускник; 18 - компрессорная; 19 - насосная
Рисунок А.3 - Примерная схема приспособления
предприятий стирки белья для
обеззараживания одежды

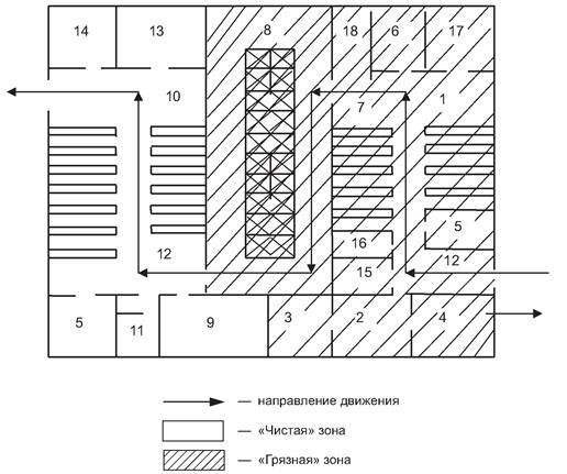
1 - участок для сбора загрязненного имущества; 2 -
участок сортировки и упаковывания загрязненного
имущества; 3 - кладовая загрязненной одежды; 4 - пост дозиметрического
контроля; 5 - раздевальная;
6 - место для специальной обработки противогазов; 7 - парикмахерская; 8 - пункт
выдачи мыла, мочалок
и дезинфицирующего раствора; 9 - медицинский пост; 10 - душевая; 11 -
ожидальная; 12 - одевальная;
13 - склад мыла, мочалок и обеззараживающих средств; 14 - склад обменного фонда
одежды и обуви;
15 - гардероб обслуживающего персонала (для хранения домашней обеззараженной
рабочей одежды и
средств индивидуальной защиты); 16 - гардероб уличной одежды обслуживающего
персонала;
17 - склад обеззараживающих средств; 18 - комната отдыха обслуживающего
персонала
Рисунок А.4 - Примерная схема санитарного пропускника на один поток

1 - отделение сортировки и складирования одежды,
подлежащей обеззараживанию; 2 - отделение
обеззараживания одежды стиркой; 3 - отделение дегазации одежды химической
чисткой;
4 - склад моющих и специальных средств для обработки одежды; 5 - отделение
глажения одежды;
6 - участок ремонта одежды; 7 - отделение складирования и отправки обработанной
одежды;
8 - вход персонала в «грязную» зону; 9 - гардероб уличной и домашней одежды; 10
- санитарный
пропускник; 11 - пост дозиметрического контроля; 12 - медицинский пункт; 13 -
уборная; 14 - вход
персонала в «чистую» зону; 15 - комната отдыха персонала; 16 - помещение для
приема пищи
Рисунок А.5 - Примерная схема приспособления
предприятий химической чистки
одежды для обеззараживания одежды

1 - рабочий пост, пост дозиметрического контроля; 2 - осмотровая
канава; 3 - стол для деталей;
4 - ларь для обтирочных материалов; 5 - емкость металлическая для приготовления
обеззараживающих
растворов; 6 - установка для мойки шланговая; 7 - установка для мойки
двигателей снаружи;
8 - механизированная установка для мойки автомобилей; 9 - конвейер для
перемещения автомобилей;
10 - водонепроницаемая штора; 11 - экран; 12 - перегородка
Рисунок А.6 - Примерная схема помещения мойки и
уборки автомобилей,
приспособленного для специальной обработки техники, при двух параллельных
поточных линиях

1 - рабочий пост, пост дозиметрического контроля; 2 -
осмотровая канава; 3 - ларь для обтирочных
материалов; 4 - стол для деталей; 5 - емкость металлическая для приготовления
растворов при
специальной обработке; 6 - установка для мойки шланговая; 7 - установка для
мойки двигателей
снаружи; 8 - эстакада
Рисунок А.7 - Примерная схема размещения
оборудования для одного проездного
поста с использованием эстакады
[1] Федеральный закон от 7 декабря 2011 г. № 416-ФЗ «О водоснабжении и водоотведении»
[2] Постановление Правительства РФ от 16 февраля 2008 г. № 87 «О составе разделов проектной документации и требованиях к их содержанию»
[3] СП 2.6.1.2612-2010 «Основные санитарные правила обеспечения радиационной безопасности (ОСПОРБ-99/2010)»
[4] Общественные нормы технологического проектирования предприятий автомобильного транспорта ОНТП-01-91/РОСАВТОТРАНС
|
Ключевые слова: объекты коммунально-бытового назначения, санитарная обработка, специальная обработка, санитарно-обмывочный пункт, станция обеззараживания одежды, станция обеззараживания техники |